JP2010036684A - 航空機座席用の衝撃吸収装置 - Google Patents

航空機座席用の衝撃吸収装置 Download PDF

Info

Publication number
JP2010036684A
JP2010036684A JP2008200511A JP2008200511A JP2010036684A JP 2010036684 A JP2010036684 A JP 2010036684A JP 2008200511 A JP2008200511 A JP 2008200511A JP 2008200511 A JP2008200511 A JP 2008200511A JP 2010036684 A JP2010036684 A JP 2010036684A
Authority
JP
Japan
Prior art keywords
airbag
aircraft seat
flat plate
absorbing device
gas
Prior art date
Legal status (The legal status is an assumption and is not a legal conclusion. Google has not performed a legal analysis and makes no representation as to the accuracy of the status listed.)
Granted
Application number
JP2008200511A
Other languages
English (en)
Other versions
JP5105289B2 (ja
Inventor
Hirokazu Shoji
宏和 少路
Kazuo Katayama
一夫 片山
Norio Enomoto
典男 榎本
Yoji Yutani
洋司 湯谷
Current Assignee (The listed assignees may be inaccurate. Google has not performed a legal analysis and makes no representation or warranty as to the accuracy of the list.)
Daicel Corp
Japan Aerospace Exploration Agency JAXA
Original Assignee
Japan Aerospace Exploration Agency JAXA
Daicel Chemical Industries Ltd
Priority date (The priority date is an assumption and is not a legal conclusion. Google has not performed a legal analysis and makes no representation as to the accuracy of the date listed.)
Filing date
Publication date
Application filed by Japan Aerospace Exploration Agency JAXA, Daicel Chemical Industries Ltd filed Critical Japan Aerospace Exploration Agency JAXA
Priority to JP2008200511A priority Critical patent/JP5105289B2/ja
Priority to PCT/JP2009/003676 priority patent/WO2010016220A1/ja
Priority to EP09804707.9A priority patent/EP2311730B1/en
Priority to US13/057,442 priority patent/US8573690B2/en
Publication of JP2010036684A publication Critical patent/JP2010036684A/ja
Application granted granted Critical
Publication of JP5105289B2 publication Critical patent/JP5105289B2/ja
Active legal-status Critical Current
Anticipated expiration legal-status Critical

Links

Images

Classifications

    • BPERFORMING OPERATIONS; TRANSPORTING
    • B64AIRCRAFT; AVIATION; COSMONAUTICS
    • B64DEQUIPMENT FOR FITTING IN OR TO AIRCRAFT; FLIGHT SUITS; PARACHUTES; ARRANGEMENT OR MOUNTING OF POWER PLANTS OR PROPULSION TRANSMISSIONS IN AIRCRAFT
    • B64D11/00Passenger or crew accommodation; Flight-deck installations not otherwise provided for
    • B64D11/06Arrangements of seats, or adaptations or details specially adapted for aircraft seats
    • B64D11/0619Arrangements of seats, or adaptations or details specially adapted for aircraft seats with energy absorbing means specially adapted for mitigating impact loads for passenger seats, e.g. at a crash
    • BPERFORMING OPERATIONS; TRANSPORTING
    • B60VEHICLES IN GENERAL
    • B60NSEATS SPECIALLY ADAPTED FOR VEHICLES; VEHICLE PASSENGER ACCOMMODATION NOT OTHERWISE PROVIDED FOR
    • B60N2/00Seats specially adapted for vehicles; Arrangement or mounting of seats in vehicles
    • B60N2/24Seats specially adapted for vehicles; Arrangement or mounting of seats in vehicles for particular purposes or particular vehicles
    • B60N2/42Seats specially adapted for vehicles; Arrangement or mounting of seats in vehicles for particular purposes or particular vehicles the seat constructed to protect the occupant from the effect of abnormal g-forces, e.g. crash or safety seats
    • B60N2/4207Seats specially adapted for vehicles; Arrangement or mounting of seats in vehicles for particular purposes or particular vehicles the seat constructed to protect the occupant from the effect of abnormal g-forces, e.g. crash or safety seats characterised by the direction of the g-forces
    • B60N2/4242Seats specially adapted for vehicles; Arrangement or mounting of seats in vehicles for particular purposes or particular vehicles the seat constructed to protect the occupant from the effect of abnormal g-forces, e.g. crash or safety seats characterised by the direction of the g-forces vertical
    • BPERFORMING OPERATIONS; TRANSPORTING
    • B64AIRCRAFT; AVIATION; COSMONAUTICS
    • B64DEQUIPMENT FOR FITTING IN OR TO AIRCRAFT; FLIGHT SUITS; PARACHUTES; ARRANGEMENT OR MOUNTING OF POWER PLANTS OR PROPULSION TRANSMISSIONS IN AIRCRAFT
    • B64D11/00Passenger or crew accommodation; Flight-deck installations not otherwise provided for
    • B64D11/06Arrangements of seats, or adaptations or details specially adapted for aircraft seats
    • BPERFORMING OPERATIONS; TRANSPORTING
    • B64AIRCRAFT; AVIATION; COSMONAUTICS
    • B64DEQUIPMENT FOR FITTING IN OR TO AIRCRAFT; FLIGHT SUITS; PARACHUTES; ARRANGEMENT OR MOUNTING OF POWER PLANTS OR PROPULSION TRANSMISSIONS IN AIRCRAFT
    • B64D11/00Passenger or crew accommodation; Flight-deck installations not otherwise provided for
    • B64D11/06Arrangements of seats, or adaptations or details specially adapted for aircraft seats
    • B64D11/0647Seats characterised by special upholstery or cushioning features
    • BPERFORMING OPERATIONS; TRANSPORTING
    • B64AIRCRAFT; AVIATION; COSMONAUTICS
    • B64DEQUIPMENT FOR FITTING IN OR TO AIRCRAFT; FLIGHT SUITS; PARACHUTES; ARRANGEMENT OR MOUNTING OF POWER PLANTS OR PROPULSION TRANSMISSIONS IN AIRCRAFT
    • B64D25/00Emergency apparatus or devices, not otherwise provided for
    • B64D25/02Supports or holding means for living bodies
    • B64D25/04Seat modifications
    • BPERFORMING OPERATIONS; TRANSPORTING
    • B64AIRCRAFT; AVIATION; COSMONAUTICS
    • B64DEQUIPMENT FOR FITTING IN OR TO AIRCRAFT; FLIGHT SUITS; PARACHUTES; ARRANGEMENT OR MOUNTING OF POWER PLANTS OR PROPULSION TRANSMISSIONS IN AIRCRAFT
    • B64D2201/00Airbags mounted in aircraft for any use

Landscapes

  • Engineering & Computer Science (AREA)
  • Aviation & Aerospace Engineering (AREA)
  • Transportation (AREA)
  • Mechanical Engineering (AREA)
  • Business, Economics & Management (AREA)
  • Emergency Management (AREA)
  • Air Bags (AREA)
  • Seats For Vehicles (AREA)

Abstract

【課題】 乗客・乗員への衝撃が軽減される航空機座席用の衝撃吸収装置の提供。
【解決手段】 最大膨脹未満の状態で板状に膨らんだ状態のエアバッグ11と、エアバッグ11の一面に配置された上側平板12と、エアバッグ11の他面に配置された下側平板13と、エアバッグ11にガスを供給するためのガス供給手段15と、予め設定された条件により、ガス供給手段15を作動させるための信号を送る検知器とを有している。乗客に衝撃が加えられる前にエアバッグ11を膨脹させることで前記衝撃を吸収する。
【選択図】 図2

Description

本発明は、航空機座席用の衝撃吸収装置とそれを用いた航空機座席に関する。
航空機が胴体着陸するような場合の衝撃から乗員を保護する目的で、エアバッグを利用した装置が知られている。
特許文献1には、着地衝撃が加えられた場合に、座席を所定の位置から降下させる座席保持降下手段と、座席と床面との間に設けたエアバッグを備えた着地衝撃吸収装置が開示されている。この装置は、座席の降下と予め所定圧で膨らませたエアバッグの両方で衝撃を吸収するものである。
特許文献2には、搭乗者を上下、前後、左右からエアバッグで挟み込んで保持する搭乗者用保護装置が開示されている。
特開2006−123802号公報 特開平4−224437号公報
本発明は、エアバッグの膨脹又はエアバッグの膨脹と収縮を利用した航空機座席用の衝撃吸収装置と、それを用いた航空機座席を提供することを課題とする。
本発明は、課題の解決手段として、下記の各発明を提供する。
1.航空機座席用の衝撃吸収装置であって、
最大膨脹未満の状態で板状に膨らんだ状態のエアバッグと、
前記エアバッグにガスを供給するためのガス供給手段と、
予め設定された条件により、前記ガス供給手段を作動させるための信号を送る検知器とを有している、航空機座席用の衝撃吸収装置。
2.前記エアバッグの上面に配置された上側平板と下面に配置された下側平板の少なくとも一方を備えている、請求項1記載の航空機座席用の衝撃吸収装置。
3.航空機座席用の衝撃吸収装置であって、
最大膨脹未満の状態で板状に膨らんだ状態のエアバッグと、
前記エアバッグの一面に配置された上側平板と、
前記エアバッグの他面に配置された下側平板と、
前記エアバッグにガスを供給するためのガス供給手段と、
予め設定された条件により、前記ガス供給手段を作動させるための信号を送る検知器とを有している、航空機座席用の衝撃吸収装置。
4.前記エアバッグに前記ガス供給手段からガスが供給された後、前記エアバッグから過剰量のガスを放出してエアバッグを収縮させるためのガス放出手段を有している、請求項1〜3のいずれか1項記載の航空機座席用の衝撃吸収装置。
5.前記上側平板が、エアバッグ側に垂設された下降制限部材を有しており、
前記下側平板が、前記下降制限部材と間隔をおいて配置されており、
作動後において、エアバッグが収縮したとき、前記上側平板の下降制限部材が前記下側平板に当接することで、前記上側平板の下降が抑制される、請求項3又は4記載の航空機座席用の衝撃吸収装置。
6.前記上側平板が、エアバッグ側に垂設された上昇制限部を有しており、
作動後において、エアバッグの膨脹により、前記下側平板が前記上昇制限部に当接して前記上側平板と前記下側平板との距離が制限されてエアバッグの過度の膨脹が抑制される、請求項3〜5のいずれか1項記載の航空機座席用の衝撃吸収装置。
7.装置全体が伸縮自在の袋状部材で包囲されている、請求項1〜6のいずれか1項記載の航空機座席用の衝撃吸収装置。
8.航空機座席の着座部内部又は着座部上に設置されるものである、請求項1〜7のいずれか1項記載の航空機座席用の衝撃吸収装置。
9.請求項1〜8のいずれか1項記載の衝撃吸収装置が、航空機座席の着座部内部又は着座部上に設置されている、航空機用座席。
本発明の航空機座席用の衝撃吸収装置を使用することにより、機体に衝撃が加えられたときの乗客・乗員の保護性能が高められる。
(1)図1、図2の航空機座席用の衝撃吸収装置
図1、図2の航空機座席用の衝撃吸収装置を説明する。図1は、衝撃吸収装置の幅方向への断面図(図2のI−I線に沿う断面図)、図2は、厚さ方向への断面図(図1のII−II線に沿う断面図)である。
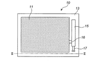
衝撃吸収装置10は、最大膨脹未満の状態(即ち、未だ膨脹する余地がある状態)で板状に膨らんだ状態のエアバッグ11と、エアバッグ11の一面に配置された上側平板12と、エアバッグ11の他面に配置された下側平板13を有している。上側平板12上には、乗員・乗客が着座するクッション14が配置されている。
衝撃吸収装置10は、更にエアバッグ11にガスを供給するためのガス供給手段15を有している。エアバッグ11とガス供給手段15は、ガス供給管16で接続されている。
エアバッグ11は、自動車のエアバッグ装置等で汎用されているナイロン等のプラスチック製の織布を用いることができるが、気密性を高めるため、更にシリコーン樹脂等をコートしたものや気密性の袋を挿入して二重構造としたものを用いることもできる。
上側平板12と下側平板13は、金属、合成樹脂、布、厚紙、木材又はこれらの複合材からなるものである。
エアバッグ11は、上側平板12と下側平板13の一方又は両方により保持されている(長さ方向に「ずれ」ないように保持されている)か、固定されていてもよい。
エアバッグの保持乃至固定方法としては、接着剤で固着する方法、エアバッグ11に空気が入っていない部分を設け、ボルトやナットを用いて、上側平板12や下側平板13に固定する方法、上側平板12や下側平板13に枠で囲んだ凹部を設けて、そこにエアバッグ11が嵌め込まれるようにする方法等を適用できる。
ガス供給手段15は、自動車のエアバッグ装置等で汎用されている周知の各種インフレータを用いることができる。このインフレータとしては、ガス発生源が主としてガス発生剤であるもの、ガス発生剤と加圧ガス(アルゴン、ヘリウム等)との併用であるもの、主として加圧ガスであるもののいずれでもよい。
ガス供給手段15は、導線(リードワイヤ)17を介して、予め設定された条件により、前記ガス供給手段を作動させるための信号を送る検知器(図示せず)に接続されている。前記検知器としては、自動車のエアバッグ装置等で汎用されている、センサとコントロールユニットを組み合わせたものを用いることができる。前記検知器における予め設定された条件は、航空機の高度変化(急速な降下による気圧の変化)、座席に加えられる重力、加速度の変化、座席の変形の程度等を挙げることができる。
衝撃吸収装置10には、エアバッグ11にガス供給手段15からガスが供給された後、エアバッグ11から過剰量のガスを放出してエアバッグ11を収縮させるためのガス放出手段18を設けることができる。ガス放出手段18は、電磁弁のような開閉弁、オリフィス弁、破裂板等を備えており、エアバッグ11に過剰量のガスが供給された場合のみ、弁が開放されてガスが放出されるようなものであればよい。
衝撃吸収装置10は、装置全体が伸縮自在の袋状部材、例えば、薄いゴムやプラスチック製の袋で包囲されている形態にすることもできる。このように装置全体が伸縮自在の袋状部材で包囲された形態にすることで保管や運搬が容易になるほか、そのまま航空機座席に取り付けることもできるため、作業性が向上される。
本発明の衝撃吸収装置10は、図1、図2に示すように上側平板12と下側平板13の両方を有するものにすることができるが、上側平板12のみを有するものや、図3に示すとおり、下側平板13のみを有するものにすることもできる。
図3は、下側平板13のみを有する航空機座席用の衝撃吸収装置10の図2と同様の厚さ方向への断面図である。図3の衝撃吸収装置は、上側平板12を備えていないほかは、図2の衝撃吸収装置と同じものである。
(2)図4の航空機座席
次に、図4により、図1、図2の航空機座席用の衝撃吸収装置を用いた航空機座席について説明する。なお、図3の航空機座席用の衝撃吸収装置を用いることもできる。図4では、乗客70がシートベルト60を締め、航空機座席50に着座している状態が示されている。航空機座席50は、着座部51、背もたれ部52、脚部53を有している。
衝撃吸収装置10は、航空機座席50の着座部51の内部に設置されており、外側からは見えない状態になっている。なお、衝撃吸収装置10のクッション14上にそのまま乗客70が座るようにしてもよいし、更に他のクッションを組み合わせも良い。
衝撃吸収装置10の取り付け状態は座席50の構造により異なるが、例えば、下側平板13が着座部51の内部の金属又は合成樹脂フレームで支持されるようにして取り付けることができる。なお、このように着座部51の内部の金属又は合成樹脂フレームで支持するように取り付けるときは、前記金属又は合成樹脂フレーム自体を下側平板13として機能させることで、下側平板13を略すことができる。また、衝撃吸収装置10は、座席の形態によっては、着座部51の上に設置するようにしてもよい。
衝撃吸収装置10のガス供給手段15は、導線(リードワイヤ)17を介して図示していない必要な検知器及び電源に接続されている。
次に、航空機座席50に内蔵された衝撃吸収装置10の動作を説明する。正常な飛行状態のとき、衝撃吸収装置10のエアバッグ11は、最大膨脹未満の状態、好ましくは乗客70が快適な座り心地を感じることができる程度の膨脹圧力で膨脹した状態にある。
その後、航空機が急降下等の異常飛行をしたとき、その異常を検知した検知器からガス供給手段15に作動信号が送られる。すると、ガス供給手段15が作動してガス供給管16を経て、エアバッグ11内にガスが供給され、航空機が着地する前又は着陸したとき、即ち、乗客70が衝撃を受ける前又は衝撃を受けたときにエアバッグが所定の最大圧まで膨脹される。そして、航空機が胴体着陸等をしたとき、内圧が高められたエアバッグ11により着陸時の衝撃が吸収され、乗客70に対する衝撃が軽減される。
また、衝撃吸収装置10がガス放出手段18を備えているようにすると、乗客70が受ける衝撃の程度に応じて、一旦は内圧が高められたエアバッグ11により衝撃を吸収した後、ガス放出手段18によりガスが放出されることでエアバッグ11の反発力が低減され、乗客70に対する衝撃がさらに軽減される。
(3)図5の航空機座席用の衝撃吸収装置
図5の航空機座席用の衝撃吸収装置100を説明する。図5は、図2に相当する断面図であり、図1、図2と同じ番号の部分は同じものであることを意味する。
図5に示す装置100では、上側平板12が、エアバッグ11側に垂設された板状の下降制限部材21、22を有している。下降制限部材21、22は、上側平板12の短辺方向(図1の下側平板13の短辺方向と同じ方向)のほぼ全長に亘って形成されている。下降制限部材21、22と下側平板13との間には、間隔hが存在している。下降制限部材21、22の設置位置は、衝撃吸収装置の作動に支障がなければ特に制限はなく、例えば、上側平板12の全周に間隔を開けて複数の下降制限部材を配置してもよい。
次に、図5に示す装置100を図4に示すように航空機座席50に設置したものの動作を説明する。
正常な飛行状態のとき、衝撃吸収装置10のエアバッグ11は、最大膨脹未満の状態、好ましくは乗客70が快適な座り心地を感じることができる程度の膨脹圧力で膨脹した状態にある。
航空機が急降下等の異常飛行をしたとき、その異常を検知した検知器からガス供給手段15に作動信号が送られる。すると、ガス供給手段15が作動してガス供給管16を経て、エアバッグ11内にガスが供給され、航空機が着地する前又は着陸したとき、即ち、乗客70が衝撃を受ける前又は衝撃を受けたときにエアバッグが所定の最大圧まで膨脹される。そして、航空機が胴体着陸等をしたとき、内圧が高められたエアバッグ11により、乗客70に対する衝撃が軽減される。
また、衝撃吸収装置10がガス放出手段18を備えているようにすると、乗客70が受ける衝撃の程度に応じて、一旦は内圧が高められたエアバッグ11により衝撃を吸収した後、ガス放出手段18によりガスが放出されることでエアバッグ11の反発力が低減され、乗客70に対する衝撃が軽減される。
このとき、エアバッグ11の収縮の程度が大きすぎると、上側平板12の下降に連動して着座部51が急激に沈み込むことで乗客70が下降方向に加速されて、乗客70に対して衝撃が加えられるおそれもある。しかし、図5に示す装置100では、エアバッグ11が収縮したとき、下降制限部材21、22が間隔hだけ下降して下側平板13に当たった時点で着座部51の沈み込みが停止されるため、下降による乗客70への衝撃が軽減される。前記下降制限部材21、22は、金属製や合成樹脂製にすることができ、また適度に変形して衝撃を緩和する材料、例えば、耐圧ゴム等の弾性体を用いてもよく、そうすることで着地時の衝撃を2段階に吸収することができる。
(4)図6、図7の航空機座席用の衝撃吸収装置
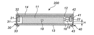
図6、図7の航空機座席用の衝撃吸収装置200を説明する。図6は作動前の状態を示し、図7は作動後又は作動途中の状態を示しており、いずれも、図2に相当する断面図である。図6、図7において、図1、図2、図5と同じ番号の部分は同じものであることを意味する。
図6に示す装置200では、下降制限部材21、22に加えて、上昇制限部材30、40を有している。上昇制限部材30、40は、上側平板12の短辺方向(図1の下側平板13の短辺方向と同じ方向)のほぼ全長に亘って配置されている。上昇制限部材30、40は、金属製や合成樹脂製にすることができる。下降制限部材21、22設置位置は、衝撃吸収装置の作動に支障がなければ特に制限はなく、例えば、上側平板12の全周に間隔を開けて複数の下降制限部材を配置してもよい。
上昇制限部材30は、側板31、側板31の両端から同じ方向に同じ長さで垂設された上部突起板32と下部突起板33を有している。上昇制限部材40は、側板41、側板41の両端から同じ方向に同じ長さで垂設された上部突起板42と下部突起板43を有している。
上昇制限部材30は、上部突起板32が上側平板12の端部に固定されている。上昇制限部材40は、上部突起板42が上側平板12の端部に固定されている。
図6に示すように、作動前には、下側平板13と、下部突起板33と下部突起板43の間には間隔が設けられている。なお、図4に示すように装置200を航空機座席50の着座部51内に設置するときは、下側平板13を着座部51内の金属又は合成樹脂フレームに取り付けることにより、装置200全体が支持される。
次に、図6、7に示す装置200を図4に示すように航空機座席50に設置したものの動作を説明する。
正常な飛行状態のとき、衝撃吸収装置200のエアバッグ11は、最大膨脹未満の状態、好ましくは乗客70が快適な座り心地を感じることができる程度の膨脹圧力で膨脹した状態にある。
航空機が急降下等の異常飛行をしたとき、その異常を検知した検知器からガス供給手段15に作動信号が送られる。すると、ガス供給手段15が作動してガス供給管16を経て、エアバッグ11内にガスが供給され、航空機が着地する前、即ち、乗客70が衝撃を受ける前にエアバッグ11が所定の最大圧まで膨脹される。
このとき、下側平板13が上昇制限部材30、40の下部突起部33、43に当接することで上側平板12と下側平板13との距離が制限されて、エアバッグ11の上方への膨脹が抑制されるため、エアバッグ11の膨脹による上側平板12の上昇が抑制される。即ち、上側平板12に連動する着座部51の上昇が抑制される。このため、着座部51の上昇により、乗客70がシートベルト60で過度に締め付けられることがなくなる。なお、下側平板13が下部突起板33、43で制限されるため、エアバッグ11は衝撃を吸収できる程度の内圧が維持される。
図7は、下側平板13が下部突起板33、43により制限されることにより、上昇制限部材30、40に連結されている上側平板12の上昇を制限している状態を示しており、図7の状態では、下降制限部材21、22と下側平板13との間には、間隔Hが存在している。間隔Hは、図4に示す間隔hと同じ距離か、又は乗客70がシートベルト60により過度に締め付けられることがない程度に間隔hよりも大きい距離であってもよい。よって、乗客70が受ける衝撃の程度に応じて、一旦は内圧が高められたエアバッグ11により衝撃が軽減された後、ガス放出手段18からガスを放出してエアバッグ11を収縮させることにより、乗客70の衝撃からの保護がより強化される。
このとき、エアバッグ11の収縮の程度が大きすぎると、着座部51が急激に沈み込むことで、乗客70に対して衝撃が加えられるおそれもある。しかし、図6に示す装置200では、エアバッグ11が収縮したとき、下降制限部材21、22が下側平板13に当たった時点で着座部51の沈み込みが停止されるため、下降による乗客70への衝撃が軽減される。
本発明の衝撃吸収装置は、航空機、特に小型航空機、ヘリコプター等に使用することができる。
本発明の衝撃吸収装置の幅方向への断面図。 本発明の衝撃吸収装置の厚さ方向への断面図。 本発明の別実施形態である衝撃吸収装置の図2と同様の厚さ方向への断面図。 本発明の衝撃吸収装置を取り付けた、人が着座している状態の航空機用座席の側面図。 本発明の別実施形態である衝撃吸収装置の厚さ方向への断面図。 本発明の別実施形態である衝撃吸収装置(作動前)の厚さ方向への断面図。 図6の衝撃吸収装置の作動後の断面図。
符号の説明
10、100、200 航空機座席用の衝撃吸収装置
11 エアバッグ
12 上側平板
13 下側平板
14 クッション
15 ガス供給手段
16 ガス供給管
18 ガス放出手段

Claims (9)

  1. 航空機座席用の衝撃吸収装置であって、
    最大膨脹未満の状態で板状に膨らんだ状態のエアバッグと、
    前記エアバッグにガスを供給するためのガス供給手段と、
    予め設定された条件により、前記ガス供給手段を作動させるための信号を送る検知器とを有している、航空機座席用の衝撃吸収装置。
  2. 前記エアバッグの上面に配置された上側平板と下面に配置された下側平板の少なくとも一方を備えている、請求項1記載の航空機座席用の衝撃吸収装置。
  3. 航空機座席用の衝撃吸収装置であって、
    最大膨脹未満の状態で板状に膨らんだ状態のエアバッグと、
    前記エアバッグの一面に配置された上側平板と、
    前記エアバッグの他面に配置された下側平板と、
    前記エアバッグにガスを供給するためのガス供給手段と、
    予め設定された条件により、前記ガス供給手段を作動させるための信号を送る検知器とを有している、航空機座席用の衝撃吸収装置。
  4. 前記エアバッグに前記ガス供給手段からガスが供給された後、前記エアバッグから過剰量のガスを放出してエアバッグを収縮させるためのガス放出手段を有している、請求項1〜3のいずれか1項記載の航空機座席用の衝撃吸収装置。
  5. 前記上側平板が、エアバッグ側に垂設された下降制限部材を有しており、
    前記下側平板が、前記下降制限部材と間隔をおいて配置されており、
    作動後において、エアバッグが収縮したとき、前記上側平板の下降制限部材が前記下側平板に当接することで、前記上側平板の下降が抑制される、請求項3又は4記載の航空機座席用の衝撃吸収装置。
  6. 前記上側平板が、エアバッグ側に垂設された上昇制限部を有しており、
    作動後において、エアバッグの膨脹により、前記下側平板が前記上昇制限部に当接して前記上側平板と前記下側平板との距離が制限されてエアバッグの過度の膨脹が抑制される、請求項3〜5のいずれか1項記載の航空機座席用の衝撃吸収装置。
  7. 装置全体が伸縮自在の袋状部材で包囲されている、請求項1〜6のいずれか1項記載の航空機座席用の衝撃吸収装置。
  8. 航空機座席の着座部内部又は着座部上に設置されるものである、請求項1〜7のいずれか1項記載の航空機座席用の衝撃吸収装置。
  9. 請求項1〜8のいずれか1項記載の衝撃吸収装置が、航空機座席の着座部内部又は着座部上に設置されている、航空機用座席。
JP2008200511A 2008-08-04 2008-08-04 航空機座席用の衝撃吸収装置 Active JP5105289B2 (ja)

Priority Applications (4)

Application Number Priority Date Filing Date Title
JP2008200511A JP5105289B2 (ja) 2008-08-04 2008-08-04 航空機座席用の衝撃吸収装置
PCT/JP2009/003676 WO2010016220A1 (ja) 2008-08-04 2009-08-03 航空機座席用の衝撃吸収装置
EP09804707.9A EP2311730B1 (en) 2008-08-04 2009-08-03 Impact absorbing device for aircraft seat
US13/057,442 US8573690B2 (en) 2008-08-04 2009-08-03 Shock absorbing apparatus for aircraft seat

Applications Claiming Priority (1)

Application Number Priority Date Filing Date Title
JP2008200511A JP5105289B2 (ja) 2008-08-04 2008-08-04 航空機座席用の衝撃吸収装置

Publications (2)

Publication Number Publication Date
JP2010036684A true JP2010036684A (ja) 2010-02-18
JP5105289B2 JP5105289B2 (ja) 2012-12-26

Family

ID=41663449

Family Applications (1)

Application Number Title Priority Date Filing Date
JP2008200511A Active JP5105289B2 (ja) 2008-08-04 2008-08-04 航空機座席用の衝撃吸収装置

Country Status (4)

Country Link
US (1) US8573690B2 (ja)
EP (1) EP2311730B1 (ja)
JP (1) JP5105289B2 (ja)
WO (1) WO2010016220A1 (ja)

Families Citing this family (7)

* Cited by examiner, † Cited by third party
Publication number Priority date Publication date Assignee Title
WO2012167245A1 (en) * 2011-06-03 2012-12-06 Cvg Management Corporation Blast protection
EP3018056B1 (en) * 2014-11-04 2017-05-31 Fusioncopter Sp. z o.o Aircraft seat
US9776724B2 (en) * 2015-05-13 2017-10-03 Ami Industries, Inc. Varying tube size of seat to prolong comfort in aerospace vehicle
EP3481721B1 (en) * 2016-07-07 2024-04-10 Safran Seats USA LLC Composite seating components
US11708164B2 (en) * 2021-04-20 2023-07-25 B/E Aerospace, Inc. Combination energy impact attenuation, vibration mitigation and flotation device for aircraft seating applications
CN114056578A (zh) * 2021-10-15 2022-02-18 泰州市宇航航空器材有限公司 一种基于指纹识别的飞机用航空座椅
US12139096B2 (en) 2022-08-04 2024-11-12 B/E Aerospace, Inc. Rotary lap belt shackle assembly

Citations (3)

* Cited by examiner, † Cited by third party
Publication number Priority date Publication date Assignee Title
JPH04224437A (ja) * 1990-12-26 1992-08-13 Mitsubishi Heavy Ind Ltd 搭乗者用保護装置
JPH05116589A (ja) * 1991-10-29 1993-05-14 Toyota Motor Corp エアバツグ装置
JP2006123802A (ja) * 2004-10-29 2006-05-18 Fuji Heavy Ind Ltd 着地衝撃吸収装置

Family Cites Families (9)

* Cited by examiner, † Cited by third party
Publication number Priority date Publication date Assignee Title
US2434641A (en) * 1946-02-20 1948-01-20 Henry L Burns Resilient seat cushion
US2987735A (en) * 1957-07-26 1961-06-13 Walter P Nail Control of inflatable articles
US5791597A (en) * 1995-06-22 1998-08-11 East/West Industries, Inc. Energy attenuation system
WO1998041126A1 (en) * 1997-03-18 1998-09-24 Mccord Winn Textron Inc. Passive pressure control of seat cushion and back for airline seat
US5918696A (en) * 1997-09-05 1999-07-06 Automotive Systems Laboratory, Inc. Seat weight sensor with means for distributing loads
US6560803B2 (en) * 2000-09-05 2003-05-13 Levy Zur Pressure relief pneumatic area support device and system
US6682141B2 (en) 2001-09-14 2004-01-27 The Boeing Company Seat assembly having a seat repositioning device and an associated method
WO2005104904A1 (en) * 2004-04-30 2005-11-10 Tactex Controls Inc. Body support apparatus having automatic pressure control and related methods
US8104125B2 (en) * 2007-10-31 2012-01-31 Stryker Corporation Self-contained gatching, rotating and adjustable foot section mattress

Patent Citations (3)

* Cited by examiner, † Cited by third party
Publication number Priority date Publication date Assignee Title
JPH04224437A (ja) * 1990-12-26 1992-08-13 Mitsubishi Heavy Ind Ltd 搭乗者用保護装置
JPH05116589A (ja) * 1991-10-29 1993-05-14 Toyota Motor Corp エアバツグ装置
JP2006123802A (ja) * 2004-10-29 2006-05-18 Fuji Heavy Ind Ltd 着地衝撃吸収装置

Also Published As

Publication number Publication date
EP2311730A4 (en) 2013-08-14
EP2311730A1 (en) 2011-04-20
US8573690B2 (en) 2013-11-05
JP5105289B2 (ja) 2012-12-26
US20110133539A1 (en) 2011-06-09
WO2010016220A1 (ja) 2010-02-11
EP2311730B1 (en) 2016-04-13

Similar Documents

Publication Publication Date Title
JP5105289B2 (ja) 航空機座席用の衝撃吸収装置
JP3960394B2 (ja) 薄膜エアバッグ
US7717506B2 (en) Child restraint apparatus for vehicle
CN107206956B (zh) 气囊模块
US20130015642A1 (en) Bonnet airbag
CN107107792B (zh) 气囊模块
JP5513044B2 (ja) エアバッグ装置
US8944461B2 (en) Airbag in privacy wall
ITVR20100042A1 (it) Assieme di copertura per un sedile e sedile adatto per una protezione di un utilizzatore.
CN107148374A (zh) 自适应气囊
MX2008006008A (es) Sistema de atenuacion del impacto para aeronaves.
CN103648839A (zh) 具有安全气囊的儿童座椅
JP4889622B2 (ja) 車両用シートおよびエアバッグ装置
JP2007001362A (ja) エアバッグ装置
CN210760354U (zh) 带柔性和刚性吸能装置的椅背、座部和头枕,及车辆座椅
US11708164B2 (en) Combination energy impact attenuation, vibration mitigation and flotation device for aircraft seating applications
US10399530B2 (en) Vehicle seat frame
IT202200002935U1 (it) Dispositivo di assorbimento d’energia perfezionato per sedili aeronautici o dispositivi di protezione individuale
ITMI20100006U1 (it) Dispositivo assorbitore d'energia per un sedile di elicottero
CN112693376A (zh) 包括柔性和刚性吸能装置的椅背和座部,及车辆座椅
SE518254C2 (sv) Fordonsstol
ITMI20110071U1 (it) Sedile di sicurezza con assorbimento d'energia

Legal Events

Date Code Title Description
A521 Request for written amendment filed

Free format text: JAPANESE INTERMEDIATE CODE: A523

Effective date: 20110121

A621 Written request for application examination

Free format text: JAPANESE INTERMEDIATE CODE: A621

Effective date: 20110121

A131 Notification of reasons for refusal

Free format text: JAPANESE INTERMEDIATE CODE: A131

Effective date: 20120703

A521 Request for written amendment filed

Free format text: JAPANESE INTERMEDIATE CODE: A523

Effective date: 20120807

TRDD Decision of grant or rejection written
A01 Written decision to grant a patent or to grant a registration (utility model)

Free format text: JAPANESE INTERMEDIATE CODE: A01

Effective date: 20120828

A01 Written decision to grant a patent or to grant a registration (utility model)

Free format text: JAPANESE INTERMEDIATE CODE: A01

A61 First payment of annual fees (during grant procedure)

Free format text: JAPANESE INTERMEDIATE CODE: A61

Effective date: 20120921

R150 Certificate of patent or registration of utility model

Ref document number: 5105289

Country of ref document: JP

Free format text: JAPANESE INTERMEDIATE CODE: R150

Free format text: JAPANESE INTERMEDIATE CODE: R150

FPAY Renewal fee payment (event date is renewal date of database)

Free format text: PAYMENT UNTIL: 20151012

Year of fee payment: 3

S533 Written request for registration of change of name

Free format text: JAPANESE INTERMEDIATE CODE: R313533

R350 Written notification of registration of transfer

Free format text: JAPANESE INTERMEDIATE CODE: R350

S531 Written request for registration of change of domicile

Free format text: JAPANESE INTERMEDIATE CODE: R313531

R350 Written notification of registration of transfer

Free format text: JAPANESE INTERMEDIATE CODE: R350

R250 Receipt of annual fees

Free format text: JAPANESE INTERMEDIATE CODE: R250

R250 Receipt of annual fees

Free format text: JAPANESE INTERMEDIATE CODE: R250

R250 Receipt of annual fees

Free format text: JAPANESE INTERMEDIATE CODE: R250

S111 Request for change of ownership or part of ownership

Free format text: JAPANESE INTERMEDIATE CODE: R313117

R350 Written notification of registration of transfer

Free format text: JAPANESE INTERMEDIATE CODE: R350

R250 Receipt of annual fees

Free format text: JAPANESE INTERMEDIATE CODE: R250

R250 Receipt of annual fees

Free format text: JAPANESE INTERMEDIATE CODE: R250