JP2010036182A - 塗装システム - Google Patents

塗装システム Download PDF

Info

Publication number
JP2010036182A
JP2010036182A JP2009009335A JP2009009335A JP2010036182A JP 2010036182 A JP2010036182 A JP 2010036182A JP 2009009335 A JP2009009335 A JP 2009009335A JP 2009009335 A JP2009009335 A JP 2009009335A JP 2010036182 A JP2010036182 A JP 2010036182A
Authority
JP
Japan
Prior art keywords
paint
mixer
color
supply line
spray gun
Prior art date
Legal status (The legal status is an assumption and is not a legal conclusion. Google has not performed a legal analysis and makes no representation as to the accuracy of the status listed.)
Granted
Application number
JP2009009335A
Other languages
English (en)
Other versions
JP4388998B1 (ja
Inventor
Kazunori Haitani
員典 灰谷
Yoichi Sakamoto
洋一 坂本
Current Assignee (The listed assignees may be inaccurate. Google has not performed a legal analysis and makes no representation or warranty as to the accuracy of the list.)
KAZUNORI DENKI KOGYO KK
O Well Corp
Original Assignee
KAZUNORI DENKI KOGYO KK
O Well Corp
Priority date (The priority date is an assumption and is not a legal conclusion. Google has not performed a legal analysis and makes no representation as to the accuracy of the date listed.)
Filing date
Publication date
Application filed by KAZUNORI DENKI KOGYO KK, O Well Corp filed Critical KAZUNORI DENKI KOGYO KK
Priority to JP2009009335A priority Critical patent/JP4388998B1/ja
Application granted granted Critical
Publication of JP4388998B1 publication Critical patent/JP4388998B1/ja
Publication of JP2010036182A publication Critical patent/JP2010036182A/ja
Active legal-status Critical Current
Anticipated expiration legal-status Critical

Links

Images

Landscapes

  • Application Of Or Painting With Fluid Materials (AREA)
  • Nozzles (AREA)
  • Coating Apparatus (AREA)

Abstract

【課題】混合効率が良好で均一なカラー塗装を行うことができる塗装システムを提供する。
【解決手段】ベース塗料をスプレーガンまで供給する第1の供給ライン2と、ベース塗料とは異なる種類のカラー塗料を供給する第2の供給ライン3と、スプレーガン1の上流側に、ベース塗料とカラー塗料とを混合する混合機4が設けられ、この混合機により、ベース塗料とカラー塗料とを攪拌混合してスプレーガン1に供給する。そのため、混合効率を向上させて、均一な色合いの塗料を作成することができる。しかも、色替えのときは、第2の供給ライン3のカラー塗料のみを変更すればよいので、色替え作業も容易に行うことができる。
【選択図】 図1

Description

本発明は、船舶の外装材や土木建築の基礎材として使用されるコイル状鋼板などの塗装対象物に対して塗装を施こすための塗装システムに関するものである。
従来、この種の塗装システムでは、例えば、ベース塗料を塗料タンク内に注入し、硬化剤と混合して、ポンプを介してスプレーガンに送り、スプレーガンにより吹き付け塗装するのが一般的である。
また、色彩を施す場合、ベース塗料とカラー塗料とを塗料タンクに注入・混合し、そこからポンプを介してスプレーガンで吹き付け塗装するようにしているため、カラー塗料の色替は、前記塗料タンクに入っている塗料を全て抜き、塗料タンクを含む塗装機全体を洗浄した後に色替えしていた。
そのため、色彩を施す塗装において色替えをするのに、色替えの度に残存する塗料を除去しなければならず、残存塗料除去の手間、塗料ロス、除去した塗料の廃棄の問題があり、また、タンク、ホース、エアレスポンプ等、塗装ライン全てを洗浄する必要があり、ライン稼働時間のロス、或いは洗浄のために大量の有機溶剤を必要とし、有機溶剤を含む洗浄液の廃棄の問題及びコストが嵩むという問題があった。
特許文献1では、上記問題を解決するために、ベース塗料の供給ラインと、カラー塗料の供給ラインとをスプレーガンに接続し、そのガン先においてベース塗料にカラー塗料を添加、混合して吹付塗装を行うようにした。
これにより、色替えの際には、カラー塗料の入った容器及び該容器とスプレーガンとを接続するパイプのみを、入れ替え、洗浄等すれば足り、色替えの労力を軽減することができるようにしている。
特開2001−340788号公報
ところで、特許文献1のように、ベース塗料とカラー塗料との混合を、スプレーガンの吐出口よりも先の位置、つまり、スプレーガンの吐出口外側で行われる、いわゆるガン先混合に代わる、新たな塗装システムの出現も望まれているところである。
本発明は、混合効率が良好で均一なカラー塗装を行うことができる、新たな塗装システムの提供を目的としている。
上記目的を達成するため、本発明の塗装システムは、ベース塗料をスプレーガンまで供給する第1の供給ラインと、前記ベース塗料とは異なる種類のカラー塗料を供給する第2の供給ラインと、前記スプレーガンの上流側に、前記ベース塗料と前記カラー塗料とを混合する混合機が設けられ、前記混合機により、ベース塗料とカラー塗料とが混合されて前記スプレーガンに供給されることを特徴としている。
上記構成によると、スプレーガンの上流側に混合機が設けられ、この混合機によりベース塗料とカラー塗料とが混合されてスプレーガンに供給されるので、混合効率を向上させて、均一な色合いの塗料を作成することができる。しかも、色替えのときは、第2の供給ラインのカラー塗料のみを変更すればよいので、色替えも容易に行うことができる。
混合機は、筒状のケーシングの内側に複数の規制板が軸方向に配列されたスタティックミキサーであり、内部の塗料流路が軸方向でジグザグ状に蛇行するよう、隣り合う規制板同士がケーシングの内周面から軸中心方向に交互に突出され、前記ケーシングの軸方向一側に前記ベース塗料の供給配管が接続され、前記ベース塗料供給配管の近くに前記カラー塗料の供給配管が接続される。
上記構成によると、複数の規制板が軸方向に配列されて、隣り合う規制板同士がケーシングの内周面から軸中心方向に交互に突出され、内部の塗料流路が軸方向でジグザグ状に蛇行するようにしているので、ベース塗料とカラー塗料とが攪拌混合される。
この場合、複数の規制板同士の間隔が相対的に長い第1の間隔と、それよりも短い第2の間隔とが設定され、第1の間隔と第2の間隔とが軸方向で交互に配列されている。
上記構成によると、間隔の異なる規制板間同士で、圧力変化を生じさせるので、流体の流れが意図的に変化し、混合効率を上げることができる。しかも、流体経路をジグザグ状に変化させることによって、さらに、混合効率を上げることができる。
また、別の混合機として、筒状のケーシング内に複数のミキシングギヤが互いに噛み合い、かつ回転可能に設けられたダイナミックミキサーを例示することができる。
上記構成によると、混合機としてダイナミックミキサーを採用した場合、高圧で、かつ流速が速いので、混合しやすくなる。しかも、ギヤ方式のため、ギヤを変更することにより注入量を変更することができる。
また、第2の供給ラインの混合機よりも上流側には、カラー塗料タンクから供給するカラー塗料のうち余分なカラー塗料を前記カラー塗料供給タンクに戻す戻りラインが分岐形成され、該分岐部にサーキュレーションバルブを設けることができる。このサーキュレーションバルブは制御部により制御される。制御部は、第1の供給ラインに設けられた流量計からの流量信号に基づいてベース塗料の流量を把握し、第2の供給ラインから混合機側に吐出するカラー塗料の流量を制御する。このとき、サーキュレーションバルブの制御は、弁体をパルス周波数的にオン・オフを繰り返し制御する。そうすると、バランスの取れた着色が可能となる。
以上のとおり、本発明によると、スプレーガンの上流側に設けられた混合機により、ベース塗料とカラー塗料とが混合されてスプレーガンに供給されるので、混合効率を向上させて、均一な色合いの塗料を作成することができる。しかも、色替えのときは、カラー塗料が供給される第2の供給ラインのみを変更すればよいので、色替えも容易に行うことができる。
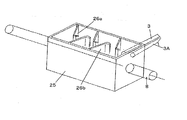
本発明の一実施形態を示す塗装システムにおける吹付ステーションの斜視図 スタティック式混合機の分解斜視図 図2の混合機の断面図で、(a)は混合機の軸方向に沿って切断したときの縦断面図、(b)は同図(a)に示す断面1の切断断面図、(c)は同図(a)に示す断面2の切断断面図、(d)は同図(a)に示す断面3の切断断面図、(e)は同図(a)に示す断面4の切断断面図 図3における各通過流路A〜Eの断面積を表わし、(a)は通過流路Aの断面積、(b)は通過流路Bの断面積、(c)は通過流路Cの断面積、(d)は通過流路Dの断面積、(e)は通過流路Eの断面積をそれぞれ示す図 本発明の別のスタティック式混合機の塗装ラインを示す構成図 図5の混合機の概略断面図 図5の混合機の一部を開放した状態の斜視図 図5の混合機の下流側にスプレーガンを接続した状態を示す斜視図 本発明の第3の実施形態を示すダイナミック式混合機を用いた塗装システムの概念図 (a)は図9のダイナミック式混合機の正面断面図、(b)は同じく側面図 図9のダイナミック式混合機の斜視図 本発明の第4の実施形態を示す塗装システムの概念図 エアシリンダ式パルスサーキュレーションバルブの概念図 電気式パルスサーキュレーションバルブの概念図
<第1の実施形態>
以下、本発明の実施形態を図面に基づいて説明する。図1は本発明の一実施形態を示す塗装システムにおける吹付ステーションの斜視図である。
本実施形態の塗装システムは、図1に示すように、ベース塗料をスプレーガン1まで供給する第1の供給ライン2と、前記ベース塗料とは異なる種類のカラー塗料を供給する第2の供給ライン3と、前記スプレーガンの上流側に設けられ、前記ベース塗料と前記カラー塗料とを混合する混合機4とを備え、前記混合機4により、ベース塗料とカラー塗料とが混合されて前記スプレーガン1に供給される。
第1の供給ラインは、ベース塗料5を貯留するタンク7と、該タンクからスプレーガン1に至る配管路8と、該配管路8に介在されたエアレスポンプ9とを備えている(図9参照)。
タンク7には、ベース塗料が貯留される。ベース塗料は、顔料(例えば、グレー系顔料)を含む主剤、硬化剤および溶剤から構成される。
このベース塗料は、中継タンク7に一時的に貯留される。なお、主剤、硬化剤および溶剤の供給は、主剤の入ったコンテナ、硬化剤が入ったコンテナ、および溶剤の入ったコンテナ(共に図示せず)から配管および圧送ポンプを介してタンク7側に圧送され、タンク7内で攪拌機(図示略)により混合攪拌されて所望のベース塗料が得られる。あるいは、タンク7に至る供給路で混合機で攪拌混合されてタンク7に供給される。
この供給ラインにおいて、主剤、硬化剤および溶剤の配合割合は、供給ラインの途中に設けられた流量センサ(図示略)により流量が検出され、その信号に基づいて流量調整弁が作動して所望量の主剤、硬化剤および溶剤が供給される。
タンク7とスプレーガン1とは配管8により接続される。配管8の途中にはエアレスポンプ9が介在される。
スプレーガン1は、図1に示すように、吹付けステーション12に配置される。タンク7の設置場所は、塗装対象物から搬送ラインから離れた場所に設定される。そのため、タンク7およびエアレスポンプ9の設置位置は、吹付けステーションから通常30m〜50m離れた場所に設定される。エアレスポンプ9は、通常10MPa〜20MPaでベース塗料を圧送する。
スプレーガン1は、公知構造のエアレス式のスプレーガンであって、吹付けステーションにおいて、塗装対象物の搬送方向に直交する方向で往復動可能に設けられている。
この吹付ステーション12には、第2の供給ライン3と混合機4とを備えている。第2の供給ライン3は、カラー塗料が収容されたタンク13を備えている。カラー塗料は、例えば、顔料(ブラウン)に溶剤が混入されたものである。タンク13から混合機4に至る供給配管14には、圧送ポンプ15が設けられる。その他、図9に示すように、逆止め弁16、可変型の流量制御弁17、圧力調整弁18が介在され、所望の流量のカラー塗料が所定圧力で送出されるようになっている。
なお、図1に示す自動塗装機20は、塗装対象物21の搬送方向に多数配列された搬送用のローラコンベヤ22と、該ローラコンベヤ22を跨ぐように配置された門型の支柱23と、該門型支柱23のクロスレールに沿って塗装対象物21の搬送方向と直交する方向で往復動自在とされたスプレーガン1とを備え、塗装対象物である鋼板21がローラコンベヤ22上を搬送されて門型支柱23を通過する際に、スプレーガン1から噴出する塗料により塗装される。この門型支柱23は、吹付けステーション12を構成する。
図2はスタティック式混合機の分解斜視図、図3はその断面図である。図に示すように、混合機4は、筒状のケーシング25の内側に複数の規制板26が軸方向に配列されたスタティックミキサーである。隣り合う規制板26同士は、ケーシング20の内部の塗料流路が軸方向でジグザグ状に蛇行するよう、ケーシング25の内周面から軸27の中心方向に交互に突出されている。
ケーシング25の軸方向一側の蓋28には、ベース塗料の接続口29が形成され、該ベース塗料側の接続口29の近くにカラー塗料の供給接続口30が形成され、夫々配管が接続されている。なお、図中、符号31は、ケーシング25の軸方向他側の蓋を示す。この蓋31には、軸27を挟んでベース塗料及びカラー塗料の供給口と対抗する位置に吐出口32が形成されている。
そして、混合機4では、複数の規制板26同士の間隔が相対的に長い第1の間隔L1と、それよりも短い第2の間隔L2とが設定され、第1の間隔L1と第2の間隔L2とが軸27の軸方向で交互に配列されている。
図3に混合機の詳細を示す。同図(a)は混合機の軸方向に沿って切断したときの縦断面図であり、以後の図面における切断位置を図示している。断面1は、軸27に沿って切断した場合であり、同図(b)にその断面図を示す。
断面2は軸27をこれに直交する方向で切断した場合であり、同図(c)にその切断断面図を示す。
断面3は、片側の第1の規制板26aに沿って切断した場合であり、同図(d)にその切断断面図を示す。
断面4は、他側の第2の規制板26bに沿って切断した場合であり、同図(e)はその切断断面図を示す。
ケーシング25内の通過流路の断面積は、塗料供給側から順次通過流路断面積C⇒D⇒C⇒E⇒C⇒D⇒C⇒E⇒C⇒D⇒C⇒E⇒Cとなる。流路断面積C=ケーシング25の内周断面積―軸部の断面積、流路断面積D=ケーシング25の内周断面積―[第1規制板26aの断面積(軸部断面を含む)]、流路断面積E=ケーシング25の内周断面積―[第2規制板26bの断面積(軸部断面を含む)]である。第1規制板26aの断面積と第2規制板26bの断面積は等しいから、断面積D=Eとなる。
ただ、第1の規制板26aと隣り合う第2の規制板26bとの間隔は、相対的に長い第1の間隔L1と、それよりも短い第2の間隔L2とが設定され、第1の間隔L1と第2の間隔L2とが軸27の軸方向で交互に配列されているので、それぞれの間隔L1、L2で特定される通過流路Aと通過流路Bとでは、その容積が異なることになる。図3では、通過流路Aは、通過流路Bよりも流路容積が大きく設定されることになる。そのため、通過流路Aと通過流路Bとでは、圧力変動が生じ、かつ、軸方向に沿ったジグザグ状の流路となるので、ここを流れる塗料は十分攪拌混合されることになる。
図4は図3における各通過流路A〜Eの断面積を表わす。同図(a)は通過流路Aの縦断面積、(b)は通過流路Bの縦断面積、(c)は通過流路Cの横断面積、(d)は通過流路Dの横断面積、(e)は通過流路Eの横断面積をそれぞれ示す。
上記構成においては、第1の供給ライン2からベース塗料が混合機4に送られ、また、第2の供給ライン3からカラー塗料が混合機4の一側に送られる。そして、この混合機4で、ベース塗料とカラー塗料とが混合されてスプレーガン1に供給される。
混合機4は、筒状のケーシング25の内側に複数の規制板26が軸方向に配列されたスタティックミキサーであり、内部の塗料流路が軸方向でジグザグ状に蛇行するよう、隣り合う規制板26同士がケーシング25の内周面から軸中心方向に交互に突出される。また、第1の規制板26aと隣り合う第2の規制板26bとの間隔は、相対的に長い第1の間隔L1と、それよりも短い第2の間隔L2とが設定され、第1の間隔L1と第2の間隔L2とが軸方向で交互に配列されているので、流路断面積および流路容積の相違により、圧力変動が生じる。
したがって、混合機4のケーシング25内を通る塗料は、軸方向でジグザグ状に蛇行しながら、かつ流路断面積の相違並びに流路容積の相違に起因する圧力変動により、ベース塗料とカラー塗料とが確実かつ迅速に攪拌混合されることになる。
そのため、混合機4の下流側に設けられたスプレーガン1には、混合効率の良い塗料が供給されることになり、混合効率を向上させて、均一な色合いの塗料を作成することができる。
しかも、色替えのときは、第2の供給ライン3のカラー塗料タンク13を交換する。この際、ベース塗料を供給する第1の供給ライン2の洗浄は基本的に不要である。
洗浄は、第2の供給ライン3から混合機4およびスプレーガン1まで行うか、あるいは、供給するカラー塗料が少量であるため洗浄を行わずに、色替えしても、色替え後の吹き捨てを行えば、色替えもスムーズに行うことができる。
<第2の実施形態>
図5は、本発明の第2の実施形態であるスタティック式混合機を用い塗装ラインを示す構成図である。図6はその混合機の概略断面図、図7はその混合機の一部を開放した状態の斜視図、図8は、混合機の下流側にスプレーガンを接続した状態を示す斜視図である。
本実施形態では、2色のカラー塗料供給ライン3,3Aを設けた点と、混合機4として別のスタティックミキサーを用いた点を特徴としている。
すなわち、本実施形態では、ベース塗料とは異なる種類の2色のカラー塗料を供給するために、第2の供給ライン3として、2本の供給ライン3、3Aを設けている。
各供給ライン3,3Aには、図5に示すように、供給元側から流量計37が設けられ、その下流側に圧力調整弁18、流量制御弁17および逆止弁16が配設されている。そして、流量計37からの流量信号に基づいて流量制御弁17の絞り量が制御されるようになっている。
供給ライン3では、例えば、A顔料がブラウンの塗料が供給される。また、供給ライン3Aでは、B顔料がグリーンの塗料が供給される。また、第1の供給ライン2から供給されるベース塗料としてグレー系の塗料が例示できる。
第1の供給ライン2および第2の供給ライン3,3Aは、混合機4に接続される。混合機4は、筒状のケーシング25の内側に複数の規制板26が軸方向に配列されたスタティックミキサーである。隣り合う規制板26a,26b同士は、ケーシング20の内部の塗料流路が軸方向でジグザグ状に蛇行するよう、ケーシング25の内周面から流路中心方向に交互に突出されている。
第1の実施形態における混合機との相違は、軸27に相当する部材がない点と、規制板26a,26b同士の間隔は、軸方向で一定である点と、規制板26a、26bの形状が軸中心方向が流路の下流側に向いて傾斜しており、その先端26cがさらに流路下流側に折れている点である。
また、混合機4において、ケーシング25の軸方向一側蓋部にベース塗料の接続口29が形成され、該ベース塗料側の接続口29の近くで、ケーシング25の周面に2つカラー塗料の供給接続口30,30aが形成され、夫々配管が接続されている。また、混合塗料の吐出口32は、ケーシング25の軸方向他側に形成されている。
この混合機4の下流側に配管33を介して接続されるスプレーガン1は、第1の実施形態と同様であるので、その説明を省略する。なお、図8において、スプレーガン1には、流路を開閉する流路開閉弁駆動用のエア入口34が設けられている。その他の構成は第1の実施形態と同様であるので、その説明を省略する。
上記構成においては、第1の供給ライン2からベース塗料が混合機4に送られ、また、第2の供給ラインの2本の供給ライン3,3Aから2種類のカラー塗料のうち、1種類または2種類のカラー塗料が混合機4の一側に送られる。そして、この混合機4で、ベース塗料とカラー塗料とが混合されてスプレーガン1に供給される。
混合機4は、筒状のケーシング25の内側に複数の規制板26a、26bが軸方向に配列されたスタティックミキサーであり、内部の塗料流路が軸方向でジグザグ状に蛇行しながら圧送されるので、ベース塗料とカラー塗料とが迅速かつ確実に攪拌混合されることになる。
そのため、混合機4の下流側に設けられたスプレーガン1には、混合効率の良い塗料が供給されることになり、混合効率を向上させて、均一な色合いの塗料を作成することができる。
しかも、色替えのときは、第2の供給ライン3,3Aのうち、いままで使用してきた供給ライン3または3Aの供給ポンプ15を停止してカラー塗料の供給を停止し、他方のカラー塗料の供給ライン3Aまたは3の供給ポンプを稼働すれば、その供給ラインからカラー塗料が混合機4に送られ、ベース塗料と混合されてスプレーガン1に供給される。供給ラインの切り替え当初は、色替え前のカラー塗料がスプレーガン1に残っているが、短時間の吹き捨てにより、色替えをスムーズに行うことができる。
<第3の実施形態>
図9は本発明の第3の実施形態を示すダイナミック式混合機を用いた塗装システムの概念図、図10は図9の混合機の断面図、図11は同じく混合機の斜視図である。
本実施形態では、第1実施形態および第2の実施形態と異なり、混合機4が、筒状のケーシング40内に複数(本実施形態では2個)のミキシングギヤ41,42が互いに回転可能に噛み合うように設けられたダイナミックミキサーである。
ケーシング40は、楕円型の円筒形状とされ、内部にミキシングギヤ41,42が内装されている。
ギヤ41,42は、そのギヤ軸が平行に配列され、ギヤの外周面に沿って流入した液体(塗料)をギヤの噛み合い部で圧縮して攪拌混合し、ギヤの回転方向で下流側に位置する吐出口46から噴出する。ギヤの駆動は、外部サーボモータ48により行われる。ギヤ41,42は、可変速とされ、供給ラインの流量により可変速制御することができる。
ケーシング40の周面には、ギヤ軸に直交する方向で、ベース塗料の供給口43、2種類のカラー塗料の供給口44,45、および混合塗料の吐出口46が形成される。ベース塗料の供給口43と吐出口46とはケーシング40の中心を挟んで、対向位置に形成される。カラー塗料の供給口44,45は、ケーシング40の中心を挟んで、対向位置で、かつベース塗料供給口43および吐出口46と90度の位相差をもって形成される。
上記構成において、ギヤ41,42を外部サーボモータ48により回転駆動すると、ベース塗料の供給口43から流入したベース塗料と、カラー塗料の供給口44,45から流入したカラー塗料とが混合され、ギヤ41,42の噛み合い地点で圧縮混合されるので、例えば、10MPa〜20MPa程度の高圧で、かつ流速の高い状態で混合することができ、混合効率の良好な混合塗料を得ることができる。
また、ギヤ41,42の回転によりケーシング内は負圧になるため、供給口43,44,45から塗料が流入しやすくなり、かつ攪拌混合されやすくなる。
また、ギヤ41,42の回転駆動速度を可変速にしているので、ケーシング内の負圧力を調整することができ、塗料の注入量を変更することができる。
このように、スプレーガン1の上流側に設けられた混合機4により、ベース塗料とカラー塗料とが混合されてスプレーガン1に供給されるので、混合効率を向上させて、均一な色合いの塗料を速やかに作成することができる。しかも、色替えのときは、カラー塗料が供給される第2の供給ライン3のみを変更すればよいので、色替えも容易に行うことができる。
<第4の実施形態>
図12は本発明の第4の実施形態を示す塗装システムの概念図、図13はエアシリンダ式パルスサーキュレーションバルブの概念図、図14は電気式パルスサーキュレーションバルブの概念図である。
図に示すように、本実施形態では、第2の供給ライン3の混合機4よりも上流側に、カラー塗料タンク13から供給するカラー塗料のうち、余分なカラー塗料をカラー塗料供給タンク13に戻す戻りライン51が分岐形成されている。この分岐部にはサーキュレーションバルブ52が設けられ、該サーキュレーションバルブを制御する制御部53が設けられている。
前記制御部53は、一般的なマクロコンピュータから構成され、内部にCPU、ROM、RAMを有している。制御部53の入力側には、第1の供給ライン2の混合機4よりも上流側に配置された流量計37と、第2の供給ラインのサーキュレーションバルブ52よりも上流側に配置された流量計37からの信号が入力される。制御部53の出力側は、サーキュレーションバルブ52の駆動部54に接続される。
制御部53では、第1の供給ライン2の流量計37からの流量信号に基づいてベースとなる主液の流量を算出する。同時に、制御部53では、第2の供給ライン3の流量計37からの信号により、第2の供給ライン3に流れる流量も把握する。
両供給ライン2,3の流量を把握することにより、サーキュレーションバルブ52からの混合機4側に吐出する流量をパルス的に制御する。
サーキュレーションバルブ52の構造は、図13および図14に示す。いずれも、バルブハウジング55にカラー塗料タンク側からの流入口56が形成され、ハウジング55に対向するように、混合機4側への流出口57と戻りライン51に接続される戻り口58とが対向配置され、流出口57と戻り口58との間で往復動して流出口57および戻り口58のいずれか一方を開放し、他方を閉鎖する開閉弁60と、この開閉弁を往復駆動する駆動部54とを備えている。
駆動部54は、図13に示すエアシリンダ式のものと、図14に示す電磁式のものとがある。いずれの場合も、開閉弁60の中間位置からL字形の作動部61が形成される。この作動部は、ハウジング55の案内部に移動自在に支持案内されると共に、その一部がハウジング55から外部に突出されている。
図13においては、ハウジング55の外側に筒状のシリンダ室62が形成され、前記作動部61の外端部にピストン63が作動部61の軸方向に移動自在に設けられている。そして、シリンダ室62のエアポート64から給排されるエアにより、前記ピストン63がシリンダ室内を往復動することにより作動部61が移動し、この作動部61と一体化された開閉弁60が往復移動するようになっている。
なお、シリンダ室62の一側にはピストン63とシリンダ室の室壁との間には復帰バネ65が介在され、開閉弁60を常時流出口57の閉弁方向に付勢している。
一方、図14に示す駆動部54は、作動部61、復帰バネ65の構成は、図13と同様である。図13に示すピストン63の配置位置には、ピストン63に代わり、復帰バネ65のバネ座として機能するフランジ69が形成されている。また、シリンダ室62には、図13に示すエアに代わり、作動部61の周囲を囲むように直流電磁コイル67が配置される。
この電磁コイル67は、制御部53からの駆動信号により励磁されると、作動部61に形成されたフランジ68を吸着する。これにより、作動部61は戻り口58方向に移動することになり、開閉弁60が開弁するようになっている。なお、開閉弁60は、流出口57および戻り口58に着弁しやすいニードル方式であってもよい。
図13及びズ14に示すいずれの方式の駆動部54も制御部53からの制御信号により制御される。このとき、開閉弁60は、第1供給ライン2と第2の供給ライン3の流量計37によりインターバルにパルス制御される。そのため、サーキュレーションバルブ52から吐出するカラー塗料は、あたかも点滴のようにインターバルに供給され、混合機4で効率よく混合される。
さらに、詳述すると、例えばジンク(Zn)塗料の着色顔料は、ベンガラ等の酸化第二鉄で粒子が大きく、また、比重が大である。したがって、小流量吐出のオリフィス制御では困難である。また、比重が大であるため、塗料供給ラインで塗料が沈降し、成分分離を起こす可能性がある。そのため、自働スプレーガン手前で着色を行うことによりバランスの取れた着色を行うことができる。
この際、ベース塗料となる主液に対して、混合する顔料は少量で十分な場合がある。この場合、インターバルに点滴のごとく少量づつ供給する機構が必要となる。
本実施形態は、このような要求に答えることができるものである。ず2に示すように、カラー塗料供給タンク13からポンプ15を介して供給されたカラー塗料は、流量調整弁17を介してサーキュレーションバルブ52に供給される。サーキュレーションバルブ52では、ベース塗料の第1の供給ライン2の流量計37からの流量信号によりサーキュレーションバルブ52の駆動部54に供給するパルス幅を決定し、エアもしくは電力供給を行う。
そうすると、サーキュレーションバルブ52の開閉弁60は、駆動部54の制御により、パルス幅に応じて流出口57の開閉動作を行う。流出口57が閉動作すれば、これに対向する戻り口58は開動作して戻りライン51からタンク13に戻る塗料の循環を行う。
このように、本実施形態では、第2の供給ラインの混合機よりも上流側に、サーキュレーションバルブを設け、このサーキュレーションバルブを制御部によりインターバルにパルス制御することにより、バランスの取れた着色が可能となる。
なお、本発明は、上記実施形態に限定されるものではなく、本発明の範囲内で多くの修正・変更を加えることができるのは勿論である。
本発明は、スプレーガンの上流側に設けられた混合機により、ベース塗料とカラー塗料とが混合されてスプレーガンに供給されるので、混合効率を向上させることができ、船舶の外装材や土木建築の基礎材として使用されるコイル状鋼板などの塗装対象物に対して均一な色合いの塗装を施こすのに有効に利用することができる。
1 スプレーガン
2 第1の供給ライン
3 第2の供給ライン
4 混合機
5 ベース塗料
7 タンク
8 配管路
9 エアレスポンプ
12 吹付けステーション
13 タンク
15 圧送ポンプ
16 逆止め弁
17 流量制御弁
18 圧力調整弁
20 自動塗装機
21 塗装対象物
22 ローラコンベヤ
23 門型支柱
25 ケーシング
26 規制板
27 軸
28 蓋
29 接続口
30 接続口
31 蓋
32 吐出口
33 配管
34 エア入口
37 流量計
40 ケーシング
41,42 ミキシングギヤ
43 ベース塗料供給口
44、45 カラー塗料供給口
46 吐出口

Claims (5)

  1. ベース塗料をスプレーガンまで供給する第1の供給ラインと、前記ベース塗料とは異なる種類のカラー塗料を供給する第2の供給ラインと、前記スプレーガンの上流側に、前記ベース塗料と前記カラー塗料とを混合する混合機が設けられ、前記混合機により、ベース塗料とカラー塗料とが混合されて前記スプレーガンに供給されることを特徴とする塗装システム。
  2. 前記混合機は、筒状のケーシングの内側に複数の規制板が軸方向に配列されたスタティックミキサーであり、内部の塗料流路が軸方向でジグザグ状に蛇行するよう、隣り合う規制板同士がケーシングの内周面から軸中心方向に交互に突出され、前記ケーシングの軸方向一側に前記ベース塗料の供給配管が接続され、前記ベース塗料供給配管の近くに前記カラー塗料の供給配管が接続されたことを特徴とする請求項1記載の塗装システム。
  3. 前記複数の規制板同士の間隔が相対的に短い第1の間隔と、それよりも長い第2の間隔とが設定され、第1の間隔と第2の間隔とが軸方向で交互に位置するように設定されていることを特徴とする請求項2に記載の塗装システム。
  4. 前記混合機は、筒状のケーシング内に複数のミキシングギヤが互いに回転可能に噛み合うように設けられたダイナミックミキサーであることを特徴とする請求項1に記載の塗装システム。
  5. 前記第2の供給ラインの混合機よりも上流側に、カラー塗料タンクから供給するカラー塗料のうち余分なカラー塗料を前記カラー塗料供給タンクに戻す戻りラインが分岐形成され、該分岐部にサーキュレーションバルブが設けられ、該サーキュレーションバルブを制御する制御部が設けられ、前記制御部は、第1の供給ラインの流量計からの流量信号に基づいて混合機側に吐出する流量をパルス的に制御するようにしたことを特徴とする請求項1に記載の塗装システム。
JP2009009335A 2008-07-09 2009-01-19 塗装システム Active JP4388998B1 (ja)

Priority Applications (1)

Application Number Priority Date Filing Date Title
JP2009009335A JP4388998B1 (ja) 2008-07-09 2009-01-19 塗装システム

Applications Claiming Priority (3)

Application Number Priority Date Filing Date Title
JP2008179137 2008-07-09
JP2008179137 2008-07-09
JP2009009335A JP4388998B1 (ja) 2008-07-09 2009-01-19 塗装システム

Publications (2)

Publication Number Publication Date
JP4388998B1 JP4388998B1 (ja) 2009-12-24
JP2010036182A true JP2010036182A (ja) 2010-02-18

Family

ID=41549831

Family Applications (1)

Application Number Title Priority Date Filing Date
JP2009009335A Active JP4388998B1 (ja) 2008-07-09 2009-01-19 塗装システム

Country Status (1)

Country Link
JP (1) JP4388998B1 (ja)

Also Published As

Publication number Publication date
JP4388998B1 (ja) 2009-12-24

Similar Documents

Publication Publication Date Title
US5810254A (en) Low pressure polyurethane spraying assembly
EP1346761B9 (en) Coating material feeding apparatus and valve unit
EP2098302A1 (en) Painting apparatus
TWI574740B (zh) Liquid material discharge mechanism and liquid material discharge device
CN101850312A (zh) 双组份喷涂系统
US6050498A (en) Multiple color painting apparatus
JP4388998B1 (ja) 塗装システム
US20060177565A1 (en) Paint circulation system
KR101037650B1 (ko) 유압을 이용한 페인트 분사장치
JP2008302315A (ja) 塗料供給装置及び塗装方法
JP3145041U (ja) 塗装システム
JP2011020107A (ja) 多液塗料混合方法及び装置
JP3701181B2 (ja) 多液混合圧送装置
KR101206096B1 (ko) 직관 및 곡관의 2액형 도장장치
KR101083264B1 (ko) 유압식 도료분사시스템
US20100061179A1 (en) Paint system
US6601733B1 (en) Multi-component proportioning system and delivery system utilizing same
JPS6048160A (ja) 二液混合吐出方法及び装置
JP2002066396A (ja) 2液混合型吐出装置
KR101535290B1 (ko) 이액형 도료용 차선 도색장치
EP4426474A1 (en) Systems, methods, and apparatuses for foam air mixing
JP3929587B2 (ja) ロボット搭載型2液混合塗装装置
JP2000033328A (ja) 2液混合方法
JP4409819B2 (ja) 多液混合装置
RU2166357C2 (ru) Устройство для струйного смешения жидкостей

Legal Events

Date Code Title Description
TRDD Decision of grant or rejection written
A01 Written decision to grant a patent or to grant a registration (utility model)

Free format text: JAPANESE INTERMEDIATE CODE: A01

Effective date: 20090929

A01 Written decision to grant a patent or to grant a registration (utility model)

Free format text: JAPANESE INTERMEDIATE CODE: A01

A61 First payment of annual fees (during grant procedure)

Free format text: JAPANESE INTERMEDIATE CODE: A61

Effective date: 20091005

R150 Certificate of patent or registration of utility model

Ref document number: 4388998

Country of ref document: JP

Free format text: JAPANESE INTERMEDIATE CODE: R150

Free format text: JAPANESE INTERMEDIATE CODE: R150

FPAY Renewal fee payment (event date is renewal date of database)

Free format text: PAYMENT UNTIL: 20121009

Year of fee payment: 3

FPAY Renewal fee payment (event date is renewal date of database)

Free format text: PAYMENT UNTIL: 20151009

Year of fee payment: 6

R250 Receipt of annual fees

Free format text: JAPANESE INTERMEDIATE CODE: R250

R250 Receipt of annual fees

Free format text: JAPANESE INTERMEDIATE CODE: R250

R250 Receipt of annual fees

Free format text: JAPANESE INTERMEDIATE CODE: R250

R250 Receipt of annual fees

Free format text: JAPANESE INTERMEDIATE CODE: R250

R250 Receipt of annual fees

Free format text: JAPANESE INTERMEDIATE CODE: R250