JP2010035707A - 小物吊り下げ具 - Google Patents

小物吊り下げ具 Download PDF

Info

Publication number
JP2010035707A
JP2010035707A JP2008199963A JP2008199963A JP2010035707A JP 2010035707 A JP2010035707 A JP 2010035707A JP 2008199963 A JP2008199963 A JP 2008199963A JP 2008199963 A JP2008199963 A JP 2008199963A JP 2010035707 A JP2010035707 A JP 2010035707A
Authority
JP
Japan
Prior art keywords
plate body
spring material
fitting
operating member
distal end
Prior art date
Legal status (The legal status is an assumption and is not a legal conclusion. Google has not performed a legal analysis and makes no representation as to the accuracy of the status listed.)
Granted
Application number
JP2008199963A
Other languages
English (en)
Other versions
JP5204580B2 (ja
Inventor
Masayoshi Izumi
正義 泉
Current Assignee (The listed assignees may be inaccurate. Google has not performed a legal analysis and makes no representation or warranty as to the accuracy of the list.)
KENTOKU KK
Seiban Ltd
Original Assignee
KENTOKU KK
Seiban Ltd
Priority date (The priority date is an assumption and is not a legal conclusion. Google has not performed a legal analysis and makes no representation as to the accuracy of the date listed.)
Filing date
Publication date
Application filed by KENTOKU KK, Seiban Ltd filed Critical KENTOKU KK
Priority to JP2008199963A priority Critical patent/JP5204580B2/ja
Publication of JP2010035707A publication Critical patent/JP2010035707A/ja
Application granted granted Critical
Publication of JP5204580B2 publication Critical patent/JP5204580B2/ja
Active legal-status Critical Current
Anticipated expiration legal-status Critical

Links

Images

Landscapes

  • Purses, Travelling Bags, Baskets, Or Suitcases (AREA)

Abstract

【課題】袋のひもを掛ける場合や外す場合に、学童に限らず大人においても、従来と同様に簡単に操作ができ、しかも指などに怪我をすることない小物吊り下げ具を提供する。
【解決手段】なす環2に基端を固着したばね材10の先端側に操作部材11を取り付け、この操作部材11の先端をなす環2の鉤部9の先端内面に圧接するようにし、前記操作部材11を丸みを帯びた指当て部14を両側部に有したものとし、これら指当て部14を前記鉤部9の左右に食み出すようにしたものとしている。
【選択図】図1

Description

この発明は、ランドセルやリュックサック等の背負い鞄、学生鞄やビジネスバッグ等のショルダーバッグ、その他各種の鞄などに用いられる小物吊り下げ具に関するものである。
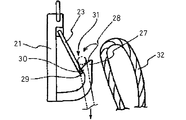
従来、この種の小物吊り下げ具としては、図8に示したようなランドセル用などの袋掛けが存在する。この袋掛けは、鉤状のフック本体21と、その上端の支持部22に連結される押え部材23および吊り金具24とからなるものとしている。フック本体21は、ランドセルの側面などに沿って配置される板状の背面部25と、その背面部25の下端より前方へ延び、さらに上方に湾曲する引っ掛け部26と、背面部25の上端に前方に突出するように設けられる支持部22とから構成されている。そして、フック本体21の引っ掛け部26の先端部27に、内側に向かって下がるように傾斜する傾斜面28を設け、その傾斜面28の下部に、押え部材23の先端部29が内側から当接する顎部30を設けることにより、その傾斜面28と押え部材23の先端近辺との間に、ひもを案内するV溝31を形成している(特許文献1)。
このような小物吊り下げ具では、袋のひもを掛ける場合には、図9に示したように、ひも32をそのV溝31に引っ掛け、そのまま下側に引っ張ると、押え部材23は自然に開き、ひも32はそのままフック本体21の内部に入り込むとしている。次に、袋のひもを外す場合には、図10に示したように、輪のようになっているひも32の先端を横方向にずらし、フック本体21の外側のひも32の部分を前述と同様にしてフック本体21に引っ掛け、そのまま横方向に引き出せばよいとしている。また、袋のひもを外す場合には、従来と同様に、押え部材23を指などで押し込み、フック本体21の顎部29との間に隙間を開け、その隙間にひも32を通して、ひも32を引き抜くこともできるとしている。
特開平9−51845号公報(図1、図3、図5)
しかしながら、上記従来の小物吊り下げ具では、袋のひもを掛ける場合や外す場合の操作は、大人にとってはそれほど難しくはないが、ランドセルの袋掛けとして使用する場合には、学童にとっては難しいという問題点を有してした。
上記従来の小物吊り下げ具において、学童にとっては袋のひもを掛ける場合や外す場合には、押え部材23を指などで押し込み、フック本体21の顎部30との間に隙間を開け、その隙間にひも32を通したり、その隙間からひも32を引き抜くのが簡単であり、一般的であるので、学童に限らず大人においても、このような操作を行ってしまう場合がある。
ところが、このような場合、上記従来の小物吊り下げ具では、ひも32を案内するV溝31を形成しているため、フック本体21の引っ掛け部26の先端部27は尖っており、押え部材23を指などで押し込む場合に、その引っ掛け部26の先端部27で指に怪我をしてしまうという問題点がある。
また、上記従来の小物吊り下げ具では、押え部材23は、弾力を有する金属線や金属板で作成されており、その金属部が露出しているため、この押え部材23を指などで押し込む場合に、その押え部材23自体によって指に怪我をしてしまうという問題点がある。
さらに、上記従来の小物吊り下げ具では、押え部材23の幅がフック本体21の顎部30の幅よりも少し広くしているだけであるので、この押え部材23を指などで押し込む場合に、その押え部材23が操作し難く、押え部材23と顎部30の間に指を挟んで、怪我をしてしまうという問題点がある。
そこで、この発明は、上記従来の問題点を解決するものであり、袋のひもを掛ける場合や外す場合に、学童に限らず大人においても、従来と同様に簡単に操作ができ、しかも指などに怪我をすることがない小物吊り下げ具を提供することを目的としてなされたものである。
この発明の小物吊り下げ具は、なす環2に基端を固着したばね材10の先端側に操作部材11を取り付け、この操作部材11の先端をなす環2の鉤部9の先端内面に圧接するようにし、前記操作部材11を丸みを帯びた指当て部14を両側部に有したものとし、これら指当て部14を前記鉤部9の左右に食み出すようにしたものとしている。
そして、この発明の小物吊り下げ具は、前記指当て部14を鉤部9の左右にそれぞれ5〜10mm食み出すようにしたものとしている。
さらに、この発明の小物吊り下げ具は、前記操作部材11を、合成樹脂製の表板体11aと合成樹脂製の裏板体11bとからなるものとし、表板体11aには、ばね材10の嵌合溝15aと、裏板体11bとの嵌合穴16aが設けられ、裏板体11bには、ばね材10の嵌合溝15bと、表板体11aとの嵌合突起16bが設けられたものとし、表板体11aと裏板体11bとを重ね合わせることにより、ばね材10が両嵌合溝15a、15bの間に嵌合されて、操作部材11に固着されると共に、嵌合穴16aに嵌合突起16bが嵌合して、表板体11aと裏板体11bとが固着されるようにしている。
また、この発明の小物吊り下げ具は、前記操作部材11を、上面に形成した開口から下に向かって差込み穴17を設けた合成樹脂製の被覆体とし、この差込み穴17にばね材10の先端を差し込むことにより、このばね材10が操作部材11に固着されるようにしている。
この発明の小物吊り下げ具は、以上に述べたように構成されているので、袋のひもを掛ける場合や外す場合に、学童に限らず大人においても、従来と同様に簡単に操作ができ、しかも指などに怪我をすることがないものとなり、非常に扱い易いものとなった。
以下、この発明の小物吊り下げ具を実施するための最良の形態を、図面に基づいて詳細に説明する。
この発明の小物吊り下げ具は、ランドセルなどの鞄Bへの固着部1と、なす環2と、なす環2の鞄Bへの接触を防ぐための当接板3と、なす環2の上部を回動自在に保持する保持部4とを備えている。
固着部1は、断面形状を略コ字状とした表当板1aと、前記当接板3の上部に突設した裏当板1bで囲まれた部分に空間Sを形成している。そして、この空間Sにランドセルなどの鞄Bのマチ部5に設けたマチベルト5aを挿入し、表当板1aに設けたリベット孔6から裏当板1bに設けたリベット孔7にリベットRを貫通させて、このマチベルト5aにリベット止めして、固着するようにしている。
なす環2は、金属ダイカストなどの金属製としており、横長の丸形状とした上リング体2aと縦長の丸形状とした下リング体2bとを連結したものとし、その連結部に突起8を設け、この突起8と対向する位置の下リング体2bの下部に鉤部9を設けている。そして、前記突起8に縦長の長方形状としたばね材10の基端を固着し、このばね材10の先端側に操作部材11を取り付け、この操作部材11の先端を前記鉤部9の先端内面に圧接するようにしている。なお、下リング体2bには、この下リング体2bを左右に二等分するように補強枠12を設けたものとしている。
当接板3は、下端が丸みを帯びた縦長の長方形状とし、前記なす環2の外形より大きく形成している。
保持部4は、鉤状に曲げ加工して弾性を有するものとしており、取付空間4aを設けると共に、当接板3側に開口4bを設け、当接板3との間にはなす環2の上リング体2aを通すための隙間13を形成している。この隙間13は、上リング体2aの厚さより狭くしたものとしている。
そして、この発明の小物吊り下げ具において、前記ばね材10は、図示したように金属鋼線を縦長の長方形状に折り曲げたものとしたり、図示していないが金属鋼板を長方形状にしたものなどとすることができる。
操作部材11は、丸みを帯びた指当て部14を両側部に有している。この指当て部14は、前記鉤部9の左右に、少なくともそれぞれ3mm程度、好ましくはそれぞれ5〜10mm程度、食み出すようにしている。なお、前記指当て部14が鉤部9の左右に、それぞれ15mm以上、食み出すようにすると、邪魔になったりするので、好ましくない。
図1〜4示した操作部材11は、合成樹脂製の表板体11aと合成樹脂製の裏板体11bとからなる。
表板体11aには、ばね材10の嵌合溝15aと、裏板体11bとの嵌合穴16aが設けられている。嵌合溝15aは、図示したものでは略U字状溝としているが、ばね材10の外形に対応した各形状の溝とすることができる。嵌合穴16aは、図示したものでは、四角形状の穴を縦方向に2個形成したものとしているが、形状や個数は任意のものとすることができる。
裏板体11bには、ばね材10の嵌合溝15bと、表板体11aとの嵌合突起16bが設けられている。嵌合溝15bは、嵌合溝15aと同様のものにすることができ、また嵌合穴16aも、嵌合突起16bに対応した任意のものとすることができる。
したがって、表板体11aと裏板体11bとを重ね合わせれば、ばね材10は両嵌合溝15a、15bの間に嵌合されて、このばね材10が操作部材11に固着されると共に、嵌合穴16aに嵌合突起16bが嵌合して、表板体11aと裏板体11bとが固着される。このようにすることにより、操作部材11は、ばね材10に非常に簡単に取り付けることができると共に、この操作部材11によって、ばね材10の大半を簡単に被覆して安全性と外観を良くすることができる。
図5、6に示した操作部材11は、上面に形成した開口から下に向かって差込み穴17を設けた合成樹脂製の被覆体としている。
差込み穴17は、ばね材10の外形に対応した各形状の穴とすることができる。図示したものでは、開口を横長の四角形状とし、ばね材10の下半部が入り込む深さとしているが、穴の形状や深さは任意のものとすることができる。
そして、操作部材11の差込み穴17にばね材10の先端を確りと差し込むことにより、このばね材10が操作部材11に固着されるようにしている。なお、差込み穴17の前側には、上方遮断部17aが設けられ、ばね材10の上部を覆い隠すようにしている。このようにすることにより、操作部材11は、ばね材10に非常に簡単に取り付けることができると共に、操作部材11によって、ばね材10の大半を簡単に被覆して安全性と外観を良くすることができる。
このように構成されたこの発明の小物吊り下げ具は、図7に示したように、ランドセルなどの鞄Bのマチ部5に取り付けられ、次のようにして使用される。
先ず、学童などの使用者が給食袋などの小物を吊り下げる場合には、操作部材11の両側部の指当て部14の何れかを片方の手の指先で押圧して、この操作部材11と鉤部9との間に隙間を開け、その隙間に、もう片方の手で持った給食袋などのひもを通せば良い。
次に、吊り下げた給食袋などの小物を外す場合には、吊り下げる場合と同様に、操作部材11の両側部の指当て部14の何れかを片方の手の指先で押圧して、この操作部材11と鉤部9との間に隙間を開け、その隙間から、もう片方の手で持った給食袋などのひもを引き抜けば良い。
この発明の小物吊り下げ具では、このような操作を行っても、操作部材11の指当て部14は、鉤部9の左右に食み出しているので、片手の指先で簡単に押圧操作することができ、またその指先が鉤部9に当たることもないので、怪我をすることもない。
この発明の小物吊り下げ具の一実施形態を示す斜視図である。 図1に示すこの発明の小物吊り下げ具の縦断面図である。 図1に示すこの発明の小物吊り下げ具の分解斜視図である。 図1に示すこの発明の小物吊り下げ具の操作部材の分解斜視図である。 この発明の小物吊り下げ具の他の実施形態を示す斜視図である。 図5に示すこの発明の小物吊り下げ具の操作部材の斜視図である。 この発明の小物吊り下げ具をランドセルのマチ部に取り付けた状態を示す説明図である。 従来の小物吊り下げ具の一例を示す斜視図である。 図8に示す従来の小物吊り下げ具にひもを掛ける手順を示す側面図である。 図8に示す従来の小物吊り下げ具からひもを取り外す手順を示す正面図である。
符号の説明
2 なす環
9 鉤部
10 ばね材
11 操作部材
11a 表板体
11b 裏板体
14 指当て部
15a 嵌合溝
15b 嵌合溝
16a 嵌合穴
16b 嵌合突起
17 差込み穴

Claims (4)

  1. なす環(2)に基端を固着したばね材(10)の先端側に操作部材(11)を取り付け、この操作部材(11)の先端をなす環(2)の鉤部(9)の先端内面に圧接するようにし、前記操作部材(11)を丸みを帯びた指当て部(14)を両側部に有したものとし、これら指当て部(14)を前記鉤部(9)の左右に食み出すようにしたことを特徴とする小物吊り下げ具。
  2. 前記指当て部(14)を鉤部(9)の左右にそれぞれ5〜10mm食み出すようにしたことを特徴とする請求項1記載の小物吊り下げ具。
  3. 前記操作部材(11)を、合成樹脂製の表板体(11a)と合成樹脂製の裏板体(11b)とからなるものとし、表板体(11a)には、ばね材(10)の嵌合溝(15a)と、裏板体(11b)との嵌合穴(16a)が設けられ、裏板体(11b)には、ばね材(10)の嵌合溝(15b)と、表板体(11a)との嵌合突起(16b)が設けられたものとし、表板体(11a)と裏板体(11b)とを重ね合わせることにより、ばね材(10)が両嵌合溝(15a、15b)の間に嵌合されて、操作部材(11)に固着されると共に、嵌合穴(16a)に嵌合突起(16b)が嵌合して、表板体(11a)と裏板体(11b)とが固着されるようにしたことを特徴とする請求項1記載の小物吊り下げ具。
  4. 前記操作部材(11)を、上面に形成した開口から下に向かって差込み穴(17)を設けた合成樹脂製の被覆体とし、この差込み穴(17)にばね材(10)の先端を差し込むことにより、このばね材(10)が操作部材(11)に固着されるようにしたことを特徴とする請求項1記載の小物吊り下げ具。


JP2008199963A 2008-08-01 2008-08-01 小物吊り下げ具 Active JP5204580B2 (ja)

Priority Applications (1)

Application Number Priority Date Filing Date Title
JP2008199963A JP5204580B2 (ja) 2008-08-01 2008-08-01 小物吊り下げ具

Applications Claiming Priority (1)

Application Number Priority Date Filing Date Title
JP2008199963A JP5204580B2 (ja) 2008-08-01 2008-08-01 小物吊り下げ具

Publications (2)

Publication Number Publication Date
JP2010035707A true JP2010035707A (ja) 2010-02-18
JP5204580B2 JP5204580B2 (ja) 2013-06-05

Family

ID=42008862

Family Applications (1)

Application Number Title Priority Date Filing Date
JP2008199963A Active JP5204580B2 (ja) 2008-08-01 2008-08-01 小物吊り下げ具

Country Status (1)

Country Link
JP (1) JP5204580B2 (ja)

Citations (5)

* Cited by examiner, † Cited by third party
Publication number Priority date Publication date Assignee Title
JPS6195312U (ja) * 1984-11-29 1986-06-19
JPH0226523U (ja) * 1988-08-05 1990-02-21
JPH10318242A (ja) * 1997-03-17 1998-12-02 Tetsuya Furuta ナス環
JP2001008722A (ja) * 1999-06-30 2001-01-16 Matsuo Kaban:Kk 吊下げ具
JP3120260U (ja) * 2005-12-08 2006-03-30 義之 後藤 バインダークリップ

Patent Citations (5)

* Cited by examiner, † Cited by third party
Publication number Priority date Publication date Assignee Title
JPS6195312U (ja) * 1984-11-29 1986-06-19
JPH0226523U (ja) * 1988-08-05 1990-02-21
JPH10318242A (ja) * 1997-03-17 1998-12-02 Tetsuya Furuta ナス環
JP2001008722A (ja) * 1999-06-30 2001-01-16 Matsuo Kaban:Kk 吊下げ具
JP3120260U (ja) * 2005-12-08 2006-03-30 義之 後藤 バインダークリップ

Also Published As

Publication number Publication date
JP5204580B2 (ja) 2013-06-05

Similar Documents

Publication Publication Date Title
US7343651B2 (en) Buckle
JP5204580B2 (ja) 小物吊り下げ具
JP2010517668A (ja) 音を発するフックロック
JP3113984U (ja) スカート吊りクリップ
KR101703188B1 (ko) 신분증 착용 목걸이
KR102299893B1 (ko) 자석 부착 타입 버클
JP3158154U (ja) スライドファスナー開閉具
JP3199858U (ja) 傘ホルダー
WO2012173150A1 (ja) コードロック
JP4543288B2 (ja) 背負い鞄用背環
JP2006006713A (ja) ランドセル
JP2008264092A (ja) 連結具
TWM544812U (zh) 繩尾定位扣
JP6065814B2 (ja) ベルトガイド
TW200930317A (en) Zipper pull fastener
JP3224870U (ja) 洗濯バサミ
JP7483258B2 (ja) 鞄用小物吊り下げ具
JP3167978U (ja) 背負い鞄の肩ベルト
JP4423141B2 (ja) ベルト取付具及びランドセル
JP7304270B2 (ja) 背負いバッグ
KR200309831Y1 (ko) 양복바지 전후방부의 앵커장치
JP3114143U (ja)
JP3157321U (ja) スカート押さえ具
JP2008104490A (ja) 繊維シート吊下げ具
US776741A (en) Garment-fastener.

Legal Events

Date Code Title Description
A621 Written request for application examination

Free format text: JAPANESE INTERMEDIATE CODE: A621

Effective date: 20110419

RD02 Notification of acceptance of power of attorney

Free format text: JAPANESE INTERMEDIATE CODE: A7422

Effective date: 20120201

A977 Report on retrieval

Free format text: JAPANESE INTERMEDIATE CODE: A971007

Effective date: 20130110

TRDD Decision of grant or rejection written
A01 Written decision to grant a patent or to grant a registration (utility model)

Free format text: JAPANESE INTERMEDIATE CODE: A01

Effective date: 20130122

A61 First payment of annual fees (during grant procedure)

Free format text: JAPANESE INTERMEDIATE CODE: A61

Effective date: 20130215

R150 Certificate of patent or registration of utility model

Ref document number: 5204580

Country of ref document: JP

Free format text: JAPANESE INTERMEDIATE CODE: R150

Free format text: JAPANESE INTERMEDIATE CODE: R150

FPAY Renewal fee payment (event date is renewal date of database)

Free format text: PAYMENT UNTIL: 20160222

Year of fee payment: 3

R250 Receipt of annual fees

Free format text: JAPANESE INTERMEDIATE CODE: R250

R250 Receipt of annual fees

Free format text: JAPANESE INTERMEDIATE CODE: R250

R250 Receipt of annual fees

Free format text: JAPANESE INTERMEDIATE CODE: R250

R250 Receipt of annual fees

Free format text: JAPANESE INTERMEDIATE CODE: R250

R250 Receipt of annual fees

Free format text: JAPANESE INTERMEDIATE CODE: R250

S531 Written request for registration of change of domicile

Free format text: JAPANESE INTERMEDIATE CODE: R313531

R350 Written notification of registration of transfer

Free format text: JAPANESE INTERMEDIATE CODE: R350

R250 Receipt of annual fees

Free format text: JAPANESE INTERMEDIATE CODE: R250

R250 Receipt of annual fees

Free format text: JAPANESE INTERMEDIATE CODE: R250

R250 Receipt of annual fees

Free format text: JAPANESE INTERMEDIATE CODE: R250

R250 Receipt of annual fees

Free format text: JAPANESE INTERMEDIATE CODE: R250

R250 Receipt of annual fees

Free format text: JAPANESE INTERMEDIATE CODE: R250

S111 Request for change of ownership or part of ownership

Free format text: JAPANESE INTERMEDIATE CODE: R313117

R350 Written notification of registration of transfer

Free format text: JAPANESE INTERMEDIATE CODE: R350

R250 Receipt of annual fees

Free format text: JAPANESE INTERMEDIATE CODE: R250