JP2010035307A - アキシャルギャップ型モータ - Google Patents

アキシャルギャップ型モータ Download PDF

Info

Publication number
JP2010035307A
JP2010035307A JP2008193583A JP2008193583A JP2010035307A JP 2010035307 A JP2010035307 A JP 2010035307A JP 2008193583 A JP2008193583 A JP 2008193583A JP 2008193583 A JP2008193583 A JP 2008193583A JP 2010035307 A JP2010035307 A JP 2010035307A
Authority
JP
Japan
Prior art keywords
metal plate
axial gap
contact
stator
circumferential direction
Prior art date
Legal status (The legal status is an assumption and is not a legal conclusion. Google has not performed a legal analysis and makes no representation as to the accuracy of the status listed.)
Granted
Application number
JP2008193583A
Other languages
English (en)
Other versions
JP5163341B2 (ja
Inventor
Tomoki Sakamoto
知己 阪本
Yoshinari Asano
能成 浅野
Hideki Fujii
秀樹 藤井
Atsushi Kito
敦之 木藤
Current Assignee (The listed assignees may be inaccurate. Google has not performed a legal analysis and makes no representation or warranty as to the accuracy of the list.)
Daikin Industries Ltd
Original Assignee
Daikin Industries Ltd
Priority date (The priority date is an assumption and is not a legal conclusion. Google has not performed a legal analysis and makes no representation as to the accuracy of the date listed.)
Filing date
Publication date
Application filed by Daikin Industries Ltd filed Critical Daikin Industries Ltd
Priority to JP2008193583A priority Critical patent/JP5163341B2/ja
Publication of JP2010035307A publication Critical patent/JP2010035307A/ja
Application granted granted Critical
Publication of JP5163341B2 publication Critical patent/JP5163341B2/ja
Expired - Fee Related legal-status Critical Current
Anticipated expiration legal-status Critical

Links

Images

Landscapes

  • Iron Core Of Rotating Electric Machines (AREA)
  • Permanent Magnet Type Synchronous Machine (AREA)

Abstract

【課題】本発明は、ステータが複数の分割コアで形成されており、当該分割コアが複数の金属板の積層体から構成されている場合において、高いモータ駆動効率を有するアキシャルギャップ型モータを提供する。
【解決手段】アキシャルギャップ型モータ100は、回転軸AXの方向に距離を置いてロータ10と対向するステータ20を備えている。ステータ20は、複数の分割コア21により構成されており、各分割コア21は、積層された複数の金属板21aから構成されている。第一の分割コア21Sを構成する第一の金属板21saの第一の端縁部21spは、第一の分割コア21Sと隣接する第二の分割コア21Tを構成する第二の金属板21taの側面部の、第二の端縁部を除く領域21tdと接している。
【選択図】図4

Description

この発明は、アキシャルギャップ型モータに係る発明である。
アキシャルギャップ型モータは、厚さを薄くしても磁極面の面積を広くとることができるとともに、電機子のアキシャルコイルを整列巻きすることが容易である。したがって、アキシャルギャップ型モータは銅損を減らすことができる、という利点を有している。近年では、圧粉磁心等の、透磁率が高く鉄損も小さい等方性の磁性材料を利用することができるようになってきたため、高出力、高効率が要求される用途にアキシャルギャップ型モータを採用するための研究も進んできている。
特許文献1に係るアキシャルギャップ型モータでは、ステータは複数の分割コアにより構成されている。そして、ステータがハウジングに収納された状態で、分割コア同士は互いに接触して固定されている。さらに、各分割コアは、複数の鋼鈑を積層させることにより構成されている。
特開2006−50745号公報
特許文献1に係るアキシャルギャップ型モータでは、分割コアが複数の鋼板の積層体として構成されているので、円周方向に隣接している分割コア同士の間に大きな隙間が形成される。当該隙間の形成はステータにおける磁束の流れに悪影響を及ぼし、結果としてアキシャルギャップ型モータの駆動効率を低下させる。
そこで、本発明は、ステータが複数の分割コアで形成されており、当該分割コアが複数の金属板の積層体から構成されている場合において、モータの駆動効率を向上させることができるアキシャルギャップ型モータを提供することを目的とする。
上記の目的を達成するために、本発明に係る請求項1に記載のアキシャルギャップ型モータは、回転軸(AX)を中心として周方向に回転するロータ(10)と、前記回転軸の方向に距離を置いて、前記ロータと対向するステータ(20)とを備え、前記ステータは、前記周方向に配設された複数の分割コア(21)により構成されており、前記分割コアは、前記回転軸を中心とした径方向に積層された複数の金属板(21a)から構成されており、第一の前記分割コア(21S)を構成する第一の前記金属板(21sa)の前記周方向に現れる前記回転軸に近い側の第一の端縁部(21sp)は、前記第一の分割コアと隣接する第二の前記分割コア(21T)を構成する第二の前記金属板(21ta)の前記周方向に現れる側面部の、前記第二の金属板の第二の端縁部を除く領域(21td)と接している。
また、本発明に係る請求項2に記載のアキシャルギャップ型モータは、請求項1に記載のアキシャルギャップ型モータであって、前記第一の端縁部は、前記第二の金属板の前記側面部に対し、前記第二の金属板の厚み方向の半分の位置で接している。
また、本発明に係る請求項3に記載のアキシャルギャップ型モータは、請求項1に記載のアキシャルギャップ型モータであって、前記第一の端縁部(21spm)は面取りされている。
本発明の請求項1に記載のアキシャルギャップ型モータでは、周方向に隣接する分割コア間の空隙量を少なくすることができる。したがって、アキシャルギャップ型モータの駆動効率を向上させることができる。
請求項2,3に記載のアキシャルギャップ型モータでは、周方向に隣接する分割コア間の空隙量をより少なくすることができる。したがって、駆動効率がより高いアキシャルギャップ型モータを提供することができる。
以下、この発明をその実施の形態を示す図面に基づいて具体的に説明する。
<実施の形態1>
図1は、実施の形態1に係るアキシャルギャップ型モータ100の構造を示す断面図である。
図1に示すように、アキシャルギャップ型モータ100は、回転軸AXを中心として周方向に回転する界磁子たるロータ10と、回転軸AXの方向に距離を置いてロータ10と対向する電機子たるステータ20と、ロータ10に勘合されるシャフト30とを備えている。
図1に示すように、ロータ10は、バックヨーク10a、永久磁石10bおよびリラクタンスコア10cを備える。リラクタンスコア10cは、リラクタンストルクを発生させる磁束を導く役割を有する。なお、永久磁石10bおよびリラクタンスコア10cは各々、上記周方向に複数配設されている。また、永久磁石10bの個数とリラクタンスコア10cの個数とは、一般的に同数である。
バックヨーク10aは円板形状を有しており、当該バックヨーク10aの中央にはシャフト30が勘合される円形の孔が形成されている。なお、バックヨーク10aの材質は、軟磁性体である。
永久磁石10bおよびリラクタンスコア10cは板形状を有している。永久磁石10bおよびリラクタンスコア10cはバックヨーク10aの表面10aaの異なる位置に各々固定されている。永久磁石10bおよびリラクタンスコア10cは、回転軸AXが対称軸となるように、回転軸AXを中心とした周方向に各々配置されている。また図1に示すように、永久磁石10bおよびリラクタンスコア10cの下面は、ステータ20のティース部20aの上面とギャップGaを挟んで対向している。ここで、永久磁石10bとリラクタンスコア10cとは、互いに接触せずに配設されている。なお、リラクタンスコア10cの材質は、軟磁性体である。
図1に示すように、ステータ20のティース部20aには、当該ティース部20aを磁心として巻線50が巻回されている。ここで当該巻線50は、絶縁部材を介して当該ティース部20aに巻回される。当該ティース20aはロータ10へ向かって回転軸AX方向に屹立している。ティース部20aの材質は磁性体である。またステータ20は基板40に設置されている。後述するように、ステータ20は複数の分割コア21により構成されており、当該分割コア21同士の接触確実性の向上およびステータ20の回転軸AX方向固定性の向上のために、当該基板40が設けられている。
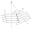
図2は、基板40に設置されるステータ20の構成を示す斜視図である。また図3は、ステータ20を構成する分割コア21の構成を示す斜視図である。
アキシャルギャップ型モータ100が構成されている状態において、図2に示すように、ステータ20は回転軸AXを中心として周方向に配設された複数(図2の例では12個)の分割コア21により構成されている。図3に示すように、各分割コア21は基部20bとティース部20aから成る凸状の形状を有している。ここで、ティース部20aは、基部20bの表面からロータ10の配設方向に向かって、回転軸AXに沿って突出している。また、回転軸AX方向から各分割コア21を眺めると、基部20bの表面はティース部20aの両側に現れる。
なお、各分割コア21において基部20bを基板40に固定させることにより、上記周方向に隣接する分割コア21同士の側面同士を互いに接触・固定させることができ、当該分割コア21同士の位置が固定される。分割コア21の側面部とは、アキシャルギャップ型モータ100が構成されている状態において、上記周方向側に現れる基部20bの部分である。
また、図3に示す形状を有する各分割コア21は、複数の金属板(たとえば、鋼板)21aを積層させることにより構成されている。アキシャルギャップ型モータ100が構成されている状態において、各金属板21aは回転軸AXを中心として径方向Lに沿って積層されている。なお、各金属板21a同士は、たとえば接着剤等で固着されている。
アキシャルギャップ型モータ100が構成されている状態において、図2示すように磁束は、分割コア21の接触部においても流れる。
さて、本実施の形態では、アキシャルギャップ型モータ100が構成されている状態において、隣接する分割コア21同士は図4に示すような態様で接触している。図4は、分割コア21S,21Tの基部20bを回転軸AX方向から眺めた、接触部付近の拡大平面図である。
第一の分割コア21Sは複数の第一の金属板21saの積層構造であり、第二の分割コア21Tは複数の第二の金属板21taの積層構造である。第一の分割コア21Sの側面部は、第二の分割コア21Tの側面部と接触している。
図4に示すように、基部20bを構成している部分の各第一の金属板21saの上記周方向に現れる側面部が、基部20bを構成している部分の各第二の金属板21taの上記周方向に現れる側面部と接している。より具体的に、アキシャルギャップ型モータ100が構成されている状態において、各第一の金属板21saの上記周方向に現れる回転軸AXに近い側の第一の端縁部21spは、第二の金属板21taの上記周方向に現れる側面部と、各々接触している(図4参照)。
ここで当該第一の端縁部21spは、第二の金属板21taの上記側面部において、上記周方向に現れる第二の金属板21taの第二の端縁部21tpを除く領域(以下、限定領域と称する)21tdと接している。つまり本実施の形態では、図5に示すように、上記第一の端縁部21spは上記第二の端縁部21tpと接することは無い。
金属板21sa,21taの端縁部21sp,21tp同士が接する図5に示す分割コア21S,21T同士の接触態様の場合には、基部20bを構成している部分の各第一の金属板21saの上記側面部と、基部20bを構成している部分の各第二の金属板21taの上記側面部との間に、大きな空隙Vaが生じてしまう。このような大きな空隙Vaの存在は、分割コア21S,21Tに流れる磁束の流れに悪影響を及ぼし、結果としてアキシャルギャップ型モータ100の駆動効率を低下させる原因となる。
そこで、本実施の形態では、図4に示す分割コア21S,21T同士の接触態様を採用している。これにより、基部20bを構成している部分の各第一の金属板21saの上記側面部と基部20bを構成している部分の各第二の金属板21taの上記側面部との間に形成される空隙Vbの大きさを、図5に示した接触態様の場合に形成される上記空隙Vaの大きさよりも小さくすることができる。したがって、本実施の形態に係る分割コア21S,21T同士の接触態様(図4)を採用することにより、アキシャルギャップ型モータ100の駆動効率を向上させることができる。
なお、第一の端縁部21spは、第二の金属板21taの上記側面部において、上記周方向に現れる第二の金属板21taの第二の端縁部21tpを除く限定領域21tdと接していれば、何れの箇所で接触していても良い。しかしながら図6に示すように、第一の端縁部21spが第二の金属板21taの側面部に対し、当該第二の金属板21taの厚み方向の半分の位置で接していることがより望ましい。つまり、第二の金属板21taが厚さdaを有する場合、第一の端縁部21spが第二の金属板21taの側面部の厚み方向の半分の位置1/2daで接していることがより望ましい。
当該図6の分割コア21S,21T同士の接触態様を採用することにより、上記空隙Vbの大きさをより小さくすることができる。これにより、アキシャルギャップ型モータ100の駆動効率をより向上させることができる。
<実施の形態2>
分割コア21を構成する金属板21aを整形処理する場合には、プレス裁断が採用される。当該プレス裁断を採用した場合には、裁断された側の金属板21aの縁には、図7に示すように、面取り部21mとバリ部21nとが形成される。金属板21aにおいて、プレス裁断開始側に面取り部21mが形成され、プレス裁断終了側においてバリ部21nが形成される。
さて、プレス裁断により整形加工された各金属板21aを用いて各分割コア21を構成し、実施の形態1で説明した分割コア21同士の接触態様(図4,6)を実現する場合には、次の二つの接触態様が考えられる。
第一の分割コア21Sと第二の分割コア21Tとの第一の接触態様を、図8に示す。当該第一の接触態様では、第一の金属板21saのバリ部形成側の第一の端縁部21npが、第二の金属板21taの側面部の限定領域21tdと接している。当該第一の接触態様を採用した場合には、図8から分かるように、バリ部21nの形状に起因して、基部20bを構成している部分の各第一の金属板21saの上記側面部と、基部20bを構成している部分の各第二の金属板21taの上記側面部との間に形成される空隙Vbの大きさが、大きくなってしまう。
そこで、本実施の形態に係る構成では、図9に示す第一の分割コア21Sと第二の分割コア21Tとの第二の接触態様を採る。本実施の形態に係る当該第二の接触態様では、第一の金属板21saの面取り部形成側の第一の端縁部21spmが、第二の金属板21taの側面部の限定領域21tdと接している。つまり、限定領域21tdと接する上記第一の端縁部21spmは面取りされている(換言すれば、丸みを帯びている)。なお図9に示す例では、金属板21sa,21taの積層方向(径方向L)において金属板21sa,21ta同士がより密着することができるように、端縁部21rにおいてバリ部21nが除去されている。
以上のように、本実施の形態では、第二の金属板21taの限定領域21tdと接触する第一の金属板21saの第一の端縁部21spmは、面取りされている。
したがって、図9から分かるように、面取り部21mの形状に起因して、基部20bを構成している部分の各第一の金属板21saの上記側面部と、基部20bを構成している部分の各第二の金属板21taの上記側面部との間に形成される空隙Vbの大きさを、たとえば図4,6の構成よりもさらに小さくさせることができる。よって、アキシャルギャップ型モータ100の更なる駆動効率向上を図ることができる。
なお、本実施の形態に記載した各金属板21aの整形方法は一例であり、第二の金属板21taの限定領域21tdと接触する第一の端縁部21spmが、最終的に面取りされている(丸みを帯びている)構成が形成されれば、他の整形方法を採用することもできる。
<実施の形態3>
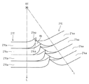
実施の形態1,2では、図3に示した凸形状の分割コア21を回転軸AXの周方向に配設することにより、図2で示したステータ20を構成していた。この場合、図2に示すように隣接する分割コア21同士の接続位置は、各ティース部20a間の基部20bに存する。
しかしながら、図10に示す凹形状の分割コア51を回転軸AXの周方向に配設することにより、図2で示したステータ20と同じ形状のステータを構成することもできる。この場合、図11に示すように隣接する分割コア51同士の接続位置は、ステータ20が有するティース部20aに存する。図10に示す各分割コア51では、基部20bの両側の表面から、ティース部20aが回転軸AXに沿って突出している。なお、隣接する分割コア51のティース部20aの側面部同士を接触させることにより、図11に示すステータ20が構成する一つのティース部20aが形成される。分割コア51の側面部とは、アキシャルギャップ型モータ100が構成されている状態において、上記周方向側に現れるティース部20aの部分である。
図10に示すように各分割コア51は、複数の金属板(たとえば、鋼板)51aを積層させることにより構成されている。アキシャルギャップ型モータ100が構成されている状態において、各金属板51aは回転軸AXを中心として径方向Lに沿って積層されている。なお、各金属板51a同士は、たとえば接着剤等で固着されている。また、各金属板51aの側面部とは、アキシャルギャップ型モータ100が構成されている状態において、上記周方向側に現れるティース部20aを構成している部分である。
上記の通り、隣接する分割コア51の側面部同士(ティース部20a構成部分同士)を接触させることにより、図11に示したステータ20が構成される。隣接する分割コア51同士間における、当該ティース部20aを構成する部分である金属板51aの側面部同士の接触態様として、実施の形態1,2で説明した接触態様を適用することができる(図4,6,9)。具体的には、以下の通りである。
図10に示した凹形状を有する第一の分割コア51の側面部が、第二の分割コア51の側面部と接触しているとする。なお、第一の分割コア51を構成する金属板51aを第一の金属板51aと称し、第二の分割コア51を構成する金属板51aを第二の金属板51aと称する。
この場合には、ティース部20aを構成している部分の各第一の金属板51aの上記周方向に現れる側面部が、ティース部20aを構成している部分の各第二の金属板51aの上記周方向に現れる側面部と接している。より具体的に、アキシャルギャップ型モータ100が構成されている状態において、各第一の金属板51aの上記周方向に現れる回転軸AXに近い側の第一の端縁部は、第二の金属板51aの上記周方向に現れる側面部と、各々接触している(図4に示した接触態様参照)。ここで当該第一の端縁部は、第二の金属板51aの上記側面部において、上記周方向に現れる第二の金属板51aの第二の端縁部を除く領域(限定領域)と接している(図4に示した接触態様参照)。
また、上記第二の金属板51aが厚さdaを有する場合、第一の端縁部が、第二の金属板51aの側面部の厚み方向の半分の位置1/2daで接していることがより望ましい(図6に示した接触態様参照)。
また、上記第二の金属板51aの限定領域と接触する第一の金属板51aの第一の端縁部は、面取りされていることがより望ましい(図9に示した接触態様参照)。
分割コア51同士の接触態様としても、実施の形態1,2で説明した各接触態様(図4,6,9)を適用することにより、各分割コア51間の接触位置に形成される空隙の大きさを小さくすることができる。したがって、凹形状を有する分割コア51を用いて図11に示したステータ20を構成した場合においても、実施の形態1,2で説明した接触態様を採用することにより、アキシャルギャップ型モータ100の駆動効率を向上させることができる。
アキシャルギャップ型モータの構成を示す断面図である。 ステータの構成を示す斜視図である。 凸形状を有する分割コアの構成を示す斜視図である。 実施の形態1に係る分割コアの接触態様を説明するための図である。 分割コアの他の接触態様を説明するための図である。 第一の端縁部の限定領域における接触位置を限定する構成を説明する図である。 面取り部およびバリ部が形成されている金属板を示す図である。 分割コア同士の第一の接触態様を示す図である。 分割コア同士の第二の接触態様(実施の形態2に係る接触態様)を示す図である。 凹形状を有する分割コアの構成を示す斜視図である。 ステータの構成を示す斜視図である。
符号の説明
10 ロータ
10a バックヨーク
10b 永久磁石
10c リラクタンスコア
20 ステータ
20a ティース部
20b 基部
21,51 分割コア
21S 第一の分割コア
21T 第二の分割コア
21a,51a 金属板
21sa 第一の金属板
21sp,21np,21spm 第一の端縁部
21ta 第二の金属板
21tp 第二の端縁部
21td 限定領域
21m 面取り部
21n バリ部
30 シャフト
40 基板
50 巻線
100 アキシャルギャップ型モータ
da 金属板の厚さ
Vb 空隙
L 径方向
AX 回転軸
Ga 間隙

Claims (3)

  1. 回転軸(AX)を中心として周方向に回転するロータ(10)と、
    前記回転軸の方向に距離を置いて、前記ロータと対向するステータ(20)と
    を備え、
    前記ステータは、前記周方向に配設された複数の分割コア(21)により構成されており、
    前記分割コアは、前記回転軸を中心とした径方向に積層された複数の金属板(21a)から構成されており、
    第一の前記分割コア(21S)を構成する第一の前記金属板(21sa)の前記周方向に現れる前記回転軸に近い側の第一の端縁部(21sp)は、前記第一の分割コアと隣接する第二の前記分割コア(21T)を構成する第二の前記金属板(21ta)の前記周方向に現れる側面部の、前記第二の金属板の第二の端縁部を除く領域(21td)と接していること、を特徴とするアキシャルギャップ型モータ。
  2. 前記第一の端縁部は、前記第二の金属板の前記側面部に対し、前記第二の金属板の厚み方向の半分の位置で接していること、を特徴とする請求項1に記載のアキシャルギャップ型モータ。
  3. 前記第一の端縁部(21spm)は面取りされていること、を特徴とする請求項1に記載のアキシャルギャップ型モータ。
JP2008193583A 2008-07-28 2008-07-28 アキシャルギャップ型モータ Expired - Fee Related JP5163341B2 (ja)

Priority Applications (1)

Application Number Priority Date Filing Date Title
JP2008193583A JP5163341B2 (ja) 2008-07-28 2008-07-28 アキシャルギャップ型モータ

Applications Claiming Priority (1)

Application Number Priority Date Filing Date Title
JP2008193583A JP5163341B2 (ja) 2008-07-28 2008-07-28 アキシャルギャップ型モータ

Publications (2)

Publication Number Publication Date
JP2010035307A true JP2010035307A (ja) 2010-02-12
JP5163341B2 JP5163341B2 (ja) 2013-03-13

Family

ID=41739137

Family Applications (1)

Application Number Title Priority Date Filing Date
JP2008193583A Expired - Fee Related JP5163341B2 (ja) 2008-07-28 2008-07-28 アキシャルギャップ型モータ

Country Status (1)

Country Link
JP (1) JP5163341B2 (ja)

Citations (6)

* Cited by examiner, † Cited by third party
Publication number Priority date Publication date Assignee Title
JPS5532696U (ja) * 1978-08-25 1980-03-03
JP2005224054A (ja) * 2004-02-06 2005-08-18 Fujitsu General Ltd アキシャルギャップ型電動機
JP2006050745A (ja) * 2004-08-03 2006-02-16 Nissan Motor Co Ltd アキシャルギャップ回転電機
JP2008017552A (ja) * 2006-07-03 2008-01-24 Jtekt Corp モータ及び電動パワーステアリング装置
JP2010031670A (ja) * 2008-07-25 2010-02-12 Daikin Ind Ltd 圧縮機
JP2010035268A (ja) * 2008-07-25 2010-02-12 Daikin Ind Ltd アキシャルギャップ型モータ

Patent Citations (6)

* Cited by examiner, † Cited by third party
Publication number Priority date Publication date Assignee Title
JPS5532696U (ja) * 1978-08-25 1980-03-03
JP2005224054A (ja) * 2004-02-06 2005-08-18 Fujitsu General Ltd アキシャルギャップ型電動機
JP2006050745A (ja) * 2004-08-03 2006-02-16 Nissan Motor Co Ltd アキシャルギャップ回転電機
JP2008017552A (ja) * 2006-07-03 2008-01-24 Jtekt Corp モータ及び電動パワーステアリング装置
JP2010031670A (ja) * 2008-07-25 2010-02-12 Daikin Ind Ltd 圧縮機
JP2010035268A (ja) * 2008-07-25 2010-02-12 Daikin Ind Ltd アキシャルギャップ型モータ

Also Published As

Publication number Publication date
JP5163341B2 (ja) 2013-03-13

Similar Documents

Publication Publication Date Title
CN101461119B (zh) 分割型定子铁心及其制造方法、定子铁心
JP5238231B2 (ja) 回転電機の回転子
CN101741153A (zh) 电枢铁心、使用了该电枢铁心的电动机、轴向间隙型旋转电动机、及其制造方法
JP6385588B2 (ja) 回転子および回転電機
JP2008271652A (ja) 永久磁石式回転電機
JP2010106908A (ja) 磁気軸受
JP2018057155A (ja) 回転電機の回転子
WO2017195498A1 (ja) 回転子および回転電機
JP2013115899A (ja) 永久磁石式電動機の回転子及びその製造方法並びに永久磁石式電動機
CN102916510A (zh) 旋转电机
JP2010115017A (ja) アキシャルギャップ型回転電機
JP2010183792A (ja) 電動機
JP5674962B2 (ja) 永久磁石埋込型電動機
JP2012125111A (ja) アウターロータ型回転機のロータ
JP2010081776A (ja) 同期電動機の回転子及び同期電動機の回転子の製造方法
JP2010035268A (ja) アキシャルギャップ型モータ
JP5163341B2 (ja) アキシャルギャップ型モータ
JP2006136130A (ja) 永久磁石式回転電機、それに用いる永久磁石の製造方法およびその製造方法を用いた永久磁石式回転電機の製造方法
JP4568639B2 (ja) ステータ
CN106063085A (zh) 转子
JP2005057865A (ja) 回転子の構造
JP6080734B2 (ja) 回転電機及びエレベータ用巻上機
JP2013207805A (ja) 積層固定子鉄心、積層固定子鉄心の製造方法
JP5750995B2 (ja) 同期電動機
JP2009038897A (ja) アキシャルギャップ型モータ

Legal Events

Date Code Title Description
A621 Written request for application examination

Free format text: JAPANESE INTERMEDIATE CODE: A621

Effective date: 20110520

A977 Report on retrieval

Free format text: JAPANESE INTERMEDIATE CODE: A971007

Effective date: 20121024

TRDD Decision of grant or rejection written
A01 Written decision to grant a patent or to grant a registration (utility model)

Free format text: JAPANESE INTERMEDIATE CODE: A01

Effective date: 20121120

A61 First payment of annual fees (during grant procedure)

Free format text: JAPANESE INTERMEDIATE CODE: A61

Effective date: 20121203

FPAY Renewal fee payment (event date is renewal date of database)

Free format text: PAYMENT UNTIL: 20151228

Year of fee payment: 3

FPAY Renewal fee payment (event date is renewal date of database)

Free format text: PAYMENT UNTIL: 20151228

Year of fee payment: 3

LAPS Cancellation because of no payment of annual fees