JP2010035150A - 撮像装置 - Google Patents

撮像装置 Download PDF

Info

Publication number
JP2010035150A
JP2010035150A JP2009141955A JP2009141955A JP2010035150A JP 2010035150 A JP2010035150 A JP 2010035150A JP 2009141955 A JP2009141955 A JP 2009141955A JP 2009141955 A JP2009141955 A JP 2009141955A JP 2010035150 A JP2010035150 A JP 2010035150A
Authority
JP
Japan
Prior art keywords
low
pass filter
imaging
vibration
foam
Prior art date
Legal status (The legal status is an assumption and is not a legal conclusion. Google has not performed a legal analysis and makes no representation as to the accuracy of the status listed.)
Granted
Application number
JP2009141955A
Other languages
English (en)
Other versions
JP5381366B2 (ja
Inventor
Osamu Katsuta
治 勝田
Current Assignee (The listed assignees may be inaccurate. Google has not performed a legal analysis and makes no representation or warranty as to the accuracy of the list.)
Nikon Corp
Original Assignee
Nikon Corp
Priority date (The priority date is an assumption and is not a legal conclusion. Google has not performed a legal analysis and makes no representation as to the accuracy of the date listed.)
Filing date
Publication date
Application filed by Nikon Corp filed Critical Nikon Corp
Priority to JP2009141955A priority Critical patent/JP5381366B2/ja
Priority to US12/457,945 priority patent/US7978966B2/en
Publication of JP2010035150A publication Critical patent/JP2010035150A/ja
Application granted granted Critical
Publication of JP5381366B2 publication Critical patent/JP5381366B2/ja
Expired - Fee Related legal-status Critical Current
Anticipated expiration legal-status Critical

Links

Images

Classifications

    • GPHYSICS
    • G02OPTICS
    • G02BOPTICAL ELEMENTS, SYSTEMS OR APPARATUS
    • G02B27/00Optical systems or apparatus not provided for by any of the groups G02B1/00 - G02B26/00, G02B30/00
    • G02B27/0006Optical systems or apparatus not provided for by any of the groups G02B1/00 - G02B26/00, G02B30/00 with means to keep optical surfaces clean, e.g. by preventing or removing dirt, stains, contamination, condensation
    • GPHYSICS
    • G03PHOTOGRAPHY; CINEMATOGRAPHY; ANALOGOUS TECHNIQUES USING WAVES OTHER THAN OPTICAL WAVES; ELECTROGRAPHY; HOLOGRAPHY
    • G03BAPPARATUS OR ARRANGEMENTS FOR TAKING PHOTOGRAPHS OR FOR PROJECTING OR VIEWING THEM; APPARATUS OR ARRANGEMENTS EMPLOYING ANALOGOUS TECHNIQUES USING WAVES OTHER THAN OPTICAL WAVES; ACCESSORIES THEREFOR
    • G03B17/00Details of cameras or camera bodies; Accessories therefor
    • HELECTRICITY
    • H04ELECTRIC COMMUNICATION TECHNIQUE
    • H04NPICTORIAL COMMUNICATION, e.g. TELEVISION
    • H04N23/00Cameras or camera modules comprising electronic image sensors; Control thereof
    • H04N23/50Constructional details
    • H04N23/52Elements optimising image sensor operation, e.g. for electromagnetic interference [EMI] protection or temperature control by heat transfer or cooling elements
    • HELECTRICITY
    • H04ELECTRIC COMMUNICATION TECHNIQUE
    • H04NPICTORIAL COMMUNICATION, e.g. TELEVISION
    • H04N23/00Cameras or camera modules comprising electronic image sensors; Control thereof
    • H04N23/80Camera processing pipelines; Components thereof
    • H04N23/81Camera processing pipelines; Components thereof for suppressing or minimising disturbance in the image signal generation
    • H04N23/811Camera processing pipelines; Components thereof for suppressing or minimising disturbance in the image signal generation by dust removal, e.g. from surfaces of the image sensor or processing of the image signal output by the electronic image sensor

Landscapes

  • Physics & Mathematics (AREA)
  • General Physics & Mathematics (AREA)
  • Engineering & Computer Science (AREA)
  • Multimedia (AREA)
  • Signal Processing (AREA)
  • Optics & Photonics (AREA)
  • Electromagnetism (AREA)
  • Studio Devices (AREA)
  • Camera Bodies And Camera Details Or Accessories (AREA)

Abstract

【課題】加振時の振動性能の低下を適切に抑える撮像装置を提供する。
【解決手段】撮像装置は、被写体を撮像する撮像素子250と、撮像素子250の撮像面10側に配設される光学部材212と、光学部材212に振動を与える加振部材261、262と、振動する光学部材212の変形に追従する速度が互いに異なる非金属の第1部材241A、241Bおよび第2部材242によって光学部材212を支持する支持部材とを備える。
【選択図】図6

Description

本発明は、撮像装置に関する。
撮像素子の撮像面側を封止して保護する防塵部材を振動させることにより、該防塵部材に付着した塵埃を除去する技術が知られている(特許文献1参照)。特許文献1には、防塵部材と防塵部材受け部材とを軟性部材を介して接合することにより、気密的に接合し、防塵部材の振動が減衰するのを抑制する旨が開示されている。
特開2003−348397号公報
従来の技術では、軟性部材が防塵部材の振動による変形に追従する速度について考慮されておらず、単に軟性を有するだけでは振動性能が低下するという問題があった。
(1)請求項1に記載の発明による撮像装置は、被写体を撮像する撮像素子と、撮像素子の撮像面側に配設される光学部材と、光学部材に振動を与える加振部材と、振動する光学部材の変形に追従する速度が互いに異なる非金属の第1部材および第2部材によって光学部材を支持する支持部材とを備えることを特徴とする。
(2)請求項10に記載の発明による撮像装置は、被写体を撮像する撮像素子と、撮像素子の撮像面側に配設される光学部材と、光学部材に振動を与える加振部材と、発泡材料によって形成され、光学部材を支持する支持部材とを備える。
本発明による撮像装置では、加振時の振動性能の低下を適切に抑えることができる。
デジタルカメラを側面から見た断面図である。 デジタルカメラの構成を説明するブロック図である。 撮像ユニットの斜視図である。 撮像ユニットの分解図である。 図4の要部を拡大した図である。 撮像ユニットを上から見た断面を例示する図である。 様々な種類の発泡体における圧縮荷重と圧縮率の関係を表したグラフを例示する図である。 第2ローパスフィルタが振動する状態を説明する図であり、(a)は振動開始当初を例示する図、(b)は次の振動状態を例示する図、(c)は振動停止の瞬間を例示する図である。 第二の実施形態による撮像ユニットを上から見た断面を例示する図である。 変形例1による撮像ユニットを上から見た断面を例示する図である。
以下、図面を参照して本発明を実施するための形態について説明する。
(第一の実施形態)
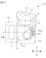
図1〜8を参照して、本発明の第一の実施形態によるデジタルカメラを説明する。図1は、デジタルカメラを側面から見た断面図である。なお、説明の便宜上、各図に示すように前後左右および上下方向を規定する。左右方向については、デジタルカメラを正面から見たときの左右方向と一致するように規定する。このデジタルカメラCAはレンズ交換式の一眼レフタイプであり、撮影レンズLを有する交換レンズLBがレンズマウント21を介してカメラ本体CBに装着される。撮影レンズLを透過した被写体光束は、レンズマウント21の開口21aを通ってカメラ本体CB内に導かれ、ミラー22で反射されてファインダスクリーン23上に結像され、ペンタプリズム24、接眼レンズ25を介して観察される。
レリーズ操作がなされると、ミラー22が跳ね上げられて撮影光路から退避し、続いてシャッタ装置であるフォーカルプレーンシャッタ100が駆動され、撮影レンズLの透過光束は、撮像ユニット200に設けられたCCDなどの撮像素子250に入射する。撮像素子250の光電変換出力は、後述する画像処理部にて種々の処理が施され、デジタル画像データが生成される。なお、撮像素子250には、CCD以外の撮像素子(例えば、CMOSセンサ)を用いてもよい。
図2は、デジタルカメラCAの構成を説明するブロック図である。演算回路101は、マイクロコンピュータなどによって構成される。演算回路101は、後述する各部から出力される信号を入力して所定の演算を行い、演算結果に基づく制御信号を各部へ出力する。演算回路101と後述する各部とは互いに接続されている。
撮像素子250は、撮影レンズLを通過した被写体光による像を撮像し、撮像信号を画像処理部123へ出力する。画像処理部123は、A/D変換回路やASICなどによって構成される。画像処理部123は、アナログ撮像信号をデジタル信号に変換して、デジタル変換後の画像データにホワイトバランス処理などの画像処理を行う。また画像処理部123は、画像処理後の画像データを所定の形式で圧縮する圧縮処理、圧縮された画像データを伸長する伸長処理などを行う。
レリーズスイッチ141は、不図示のレリーズボタンに連動してレリーズ操作信号を演算回路101に出力する。レリーズ操作信号には、レリーズボタンの半押し操作に対応する半押し操作信号と、半押し操作より深く押下される全押し操作に対応する全押し操作信号とがある。操作スイッチ143は、カメラ本体CBに設けられて不図示の各操作ボタンが操作されると、それぞれ操作信号を演算回路101に出力するスイッチ群である。
振動板制御装置151は、演算回路101から出力される信号に基づいて後述する振動板261、262を駆動する。表示制御部161は、演算回路101から出力される信号に基づいて、たとえばカメラ本体CBの背面に設けられた表示装置7aの表示制御を行う制御部である。レンズ駆動制御部163は、演算回路101から出力される信号に基づいて、合焦動作や焦点距離変更動作を行うように交換レンズLBのレンズ群(撮影レンズL)を駆動する。シーケンスモータ駆動部164は、演算回路101から出力される信号に基づいてシーケンスモータ164aを駆動する。シーケンスモータ164aは、ミラー22の回動や、フォーカルプレーンシャッタ100のチャージ動作などを行うためのモータである。
記憶媒体装着部165は、不図示の記憶媒体を着脱可能に保持し、装着された記憶媒体に記録されたデータの読み込みや消去、記憶媒体へのデータの書き込みを行う。記憶媒体には、画像処理後の画像データが記録される。なお、フォーカルプレーンシャッタ100の動作を開始させるためのマグネットや露光制御のための測光センサなどについては本願発明に直接関係しないため記載を省略する。
<撮像ユニット>
図3は撮像ユニット200の斜視図であり、図4は撮像ユニット200の分解図である。図3および図4に示すように、撮像ユニット200は、ホルダー201と、撮像基板251と、撮像素子250と、マスク202と、第1ローパスフィルタ211と、固定部材203と、シール部材243と、第2ローパスフィルタ212と、ローパスフィルタ押さえ枠205と、固定部材押さえバネ206とを備えている。ホルダー201は、撮像素子250や撮像基板251、固定部材203などが取り付けられる部材である。撮像基板251は、撮像素子250が接続される基板であり、上述した画像処理部123と接続される。
撮像素子250は、上述したCCDなどの固体撮像素子である。撮像素子250は、撮像基板251と電気的に接続された状態で、図4において符号201aで示したホルダー201の凸部に接着されて固定されている。マスク202は、たとえばゴムなどの弾性体で形成された枠状の部材であり、撮像素子250の前方に配設されている。マスク202は、撮像素子250の撮像領域以外への被写体光の進入を遮断するほか、後述する第1ローパスフィルタ211と撮像素子250との間の空間への異物の侵入を防止するとともに、撮像素子250に対する第1ローパスフィルタ211の位置を決定する。
第1ローパスフィルタ211は、たとえば、複屈折板、1/4波長板および赤外カットガラス板が積層された光学部材である。第1ローパスフィルタ211は、赤外光をカットするとともにモアレなどの発生を防止する。第1ローパスフィルタ211は、後述する固定部材203を介して固定部材押さえバネ206の付勢力によってマスク202に対して押圧されることで、撮像素子250に対して位置決めされて固定される。
固定部材203は、後述する第2ローパスフィルタ212、シール部材243、ローパスフィルタ押さえ枠205が取り付けられるとともに、第1ローパスフィルタ211やマスク202をホルダー201に向かって押圧する部材である。シール部材243は、たとえば、ゴムなどの弾性体で形成された枠状の部材であり、固定部材203と第2ローパスフィルタ212との間で固定部材203に対する第2ローパスフィルタ212の位置を決定する。
第2ローパスフィルタ212は、上述した第1ローパスフィルタ211と同様の複屈折板で構成された光学部材であり、モアレなどを防止する。第2ローパスフィルタ212の前面の左右端近傍には、後述する振動板261、262が接着されて固定されている。
図5は、図4に例示した分解図の要部を拡大した図である。第2ローパスフィルタ212の前面左側に振動板261が配設され、第2ローパスフィルタ212の前面右端に振動板262が配設される。
ローパスフィルタ押さえ枠205は、第2ローパスフィルタ212を固定部材203との間で挟持させるための略矩形形状の枠状の部材である。ローパスフィルタ押さえ枠205は、固定部材203に対してネジ291などで固定される。このとき、第2ローパスフィルタ212の前後にそれぞれ第1発泡体241(241A、241B)および第2発泡体242を介挿させることにより、第2ローパスフィルタ212が固定部材203とローパスフィルタ押さえ枠205との間で、第1発泡体241A、241Bと第2発泡体242とによって挟むように支持される。
第1発泡体241A、241Bおよび第2発泡体242による第2ローパスフィルタ212の挟持について、図6を参照して説明する。図6は、撮像ユニットを上から見た断面を例示する略図である。なお、わかりやすく図示するために実際より前後方向の距離を長くしている。
図6において、撮像素子250上の撮像面10を覆うようにカバーガラス10Aが設けられており、その上(前方)にマスク202が配される。そして、第1ローパスフィルタ211が固定部材203によってカバーガラス10A方向(後方)へ押圧されている。
上述したように、シール部材243はゴムなどで形成された枠状部材である。第2発泡体242は、たとえば、ウレタン系発泡体のポロン(登録商標)で形成された枠状部材である。第2ローパスフィルタ212の上(前方)に配設される第1発泡体241A、241Bは、たとえば、オレフィン系発泡体のSCF(登録商標)で形成された線状部材である。あるいは、第1発泡体241A、241Bおよび第2発泡体242に代えて、植毛紙や、形状記憶合金を用いた超弾性合金などを使用してもよい。第1発泡体241Aは振動板262と平行に配設され、第1発泡体241Bは振動板261と平行に配設される。
第1発泡体241A、241Bおよび第2発泡体242は、ローパスフィルタ押さえ枠205が固定部材203に固定された状態において、その前後方向の厚さが所定量潰れるように構成されている。これにより、第1発泡体241A、241Bおよび第2発泡体242が第2ローパスフィルタ212を所定の圧力で挟持することができる。すなわち、第1発泡体241A、241Bおよび第2発泡体242が元の厚さに対してそれぞれ所定の圧縮率で圧縮されることで、その圧縮率に応じた反発力(復元力)が第1発泡体241A、241Bおよび第2発泡体242においてそれぞれ発生し、これが第2ローパスフィルタ212を挟持するように作用する。
なお、ローパスフィルタ押さえ枠205を固定部材203に固定したときの第1発泡体241A、241Bおよび第2発泡体242の圧縮率は、その発泡性を損なわない範囲とすることが好ましい。これを図7を用いて以下に説明する。図7は、第1発泡体241A、241Bおよび第2発泡体242として用いられる様々な種類の発泡体における圧縮荷重と圧縮率の関係を表したグラフの例を示している。この図において、圧縮率が約70%を超える領域では、いずれの発泡体でもグラフが線形を示している。このような線形領域では、発泡体内部の気泡が潰れてしまって発泡性が損なわれており、通常のゴム等の弾性体と同様の振る舞いをすると考えられるため、後述するように第2ローパスフィルタ212を振動させたときにその振動を減衰させやすくなる。したがって、これよりも低い圧縮率でグラフが非線形を示す非線形領域の範囲となるように圧縮率を設定することで、発泡性を損なわないようにする。
たとえば、第1発泡体241A、241Bおよび第2発泡体242の元の厚さがそれぞれ0.5mmであれば、ローパスフィルタ押さえ枠205を固定部材203に固定した後のこれらの厚さが0.2〜0.3mmとなるように、また第1発泡体241A、241Bおよび第2発泡体242の元の厚さがそれぞれ1mmであれば、ローパスフィルタ押さえ枠205を固定部材203に固定した後のこれらの厚さが0.4〜0.6mmとなるように、ローパスフィルタ押さえ枠205の形状を決定する。これにより、圧縮率を40〜60%に設定して非線形領域の範囲内とすることができる。
図3、図4において、固定部材押さえバネ206は、固定部材203をホルダー201に固定するためのバネ部材である。固定部材押さえバネ206は、ネジ292によってホルダー201に取り付けられる。これにより、ローパスフィルタ押さえ枠205が取り付けられた固定部材203をホルダー201に向かって付勢しつつ、固定部材203をホルダー201に固定する(図3)。
また、ネジ292によって固定部材押さえバネ206がホルダー201に取り付けられると、上述したように、固定部材押さえバネ206によって付勢された固定部材203が第1ローパスフィルタ211やマスク202をホルダー201に向かって押圧して固定する。このようにして、撮像基板251と、撮像素子250と、マスク202と、第1ローパスフィルタ211と、固定部材203と、シール部材243と、第2ローパスフィルタ212とがホルダー201に対して固定される。これらの各部材が取り付けられたホルダー201、すなわち撮像ユニット200は、カメラ本体CBに取り付けられて固定される。
以上説明した構成により、撮像素子250のカバーガラス10Aの前側表面から第1ローパスフィルタ211の後側表面まで、および、第1ローパスフィルタ211の前側表面から第2ローパスフィルタ212の後側表面までは、密閉された空間が形成される。したがって、これらの空間内に外部から異物が侵入することはない。しかし、第2ローパスフィルタ212の前側表面はカメラ本体CB内の空間に露出しているため、塵埃などの異物が付着することがある。そこで、本実施の形態のデジタルカメラCAでは、振動板261、262を振動させることによって第2ローパスフィルタ212を振動させて、第2ローパスフィルタ212の前側表面に付着した異物を払い落とす。
<塵埃除去>
第2ローパスフィルタ212に付着した塵埃を除去する動作について説明する。振動板261、262は、圧電素子によって構成される。図3に例示したように、第2ローパスフィルタ212の前側表面の左右端近傍で、第2ローパスフィルタ212の上下方向に延在する辺(短辺)に沿って延在する。振動板261、262は、それぞれ可撓性を有するフレキシブルプリント基板(FPC)263、264によって振動板制御装置151(図2)と電気的に接続されている。振動板261、262は、それぞれに振動板制御装置151から所定周波数の駆動信号が供給されると振動する。この振動が第2ローパスフィルタ212に伝達されると、第2ローパスフィルタ212自体が振動する。
図8は、第1発泡体241A、241Bおよび第2発泡体242で挟持されている部分において第2ローパスフィルタ212が振動する状態を説明する図である。図8(a)は振動開始当初を例示する図、図8(b)は次の振動状態を例示する図、図8(c)は振動停止の瞬間を例示する図である。振動中(すなわち、塵埃除去中)は、図8(b)の状態→図8(c)の状態→図8(b)の反転状態→図8(c)の状態を繰り返す。
図8(b)および図8(c)によれば、第1発泡体241A、241Bを構成するSCF(登録商標)は、振動定常波の節で第2ローパスフィルタ212を支えるので、振動の際の変形に伴う弾性エネルギーの損失を抑えられる。すなわち、SCF(登録商標)の第2ローパスフィルタ212に対する密着性が低く、接触面積が少ないことから第2ローパスフィルタ212の振動を減衰させにくい。密着性が低いことは、第2ローパスフィルタ212の変形に合わせるようにSCF(登録商標)自身が変形する(追従する)場合の応答速度が遅いことに起因する。
一方、第2発泡体242を構成するポロン(登録商標)は、第2ローパスフィルタ212に対する密着性が高く、ポロン(登録商標)の面で第2ローパスフィルタ212を支える。接触面積が広いことから第1発泡体241A、241Bに比べて第2ローパスフィルタ212の振動を減衰させやすいものの、第2ローパスフィルタ212に対する密着性がよいことから防塵性能が高い。密着性が高いことは、第2ローパスフィルタ212の変形に合わせるようにポロン(登録商標)自身が変形する(追従する)場合の応答速度が速いことに起因する。
換言すると、第2発泡体242は、第1発泡体241A、241Bと比較して、変形させたときに元に戻ろうとする力(復元力、反発力)が強い。すなわち、第2発泡体242の弾性率は、第1発泡体241A、241Bの弾性率よりも高く、変形(ひずみ)に対する応力が大きい。
なお、振動板261、262の振動によって第2ローパスフィルタ212が振動することにより、第2ローパスフィルタ212において生じる定常波の周波数は、振動板制御装置151から振動板261、262に供給される駆動信号の位相および周波数を変化させることによって制御される。本実施形態では、第2ローパスフィルタ212の左右方向に延在する辺(長辺)に沿って振動定常波の腹が所定数現れ、かつ、第2発泡体242を構成するポロン(登録商標)が追従する周波数であって、第1発泡体241A、241Bを構成するSCF(登録商標)が追従しえない周波数となるように振動定常波の周波数を制御する。
これにより、第1発泡体241A、241Bが振動定常波の節で第2ローパスフィルタ212を支えるとともに、第2発泡体242がその面で第2ローパスフィルタ212を支える。
以上説明した第一の実施形態によれば、以下の作用効果が得られる。
(1)振動する第2ローパスフィルタ212の変形に追従する応答速度が互いに異なる第1発泡体241A,241Bおよび第2発泡体242によって第2ローパスフィルタ212を支持するようにした。たとえば、防塵性能が要求される場合と塵埃を除去する際の振動性能が要求される場合とで上記発泡体を使い分ければ、振動性能の低下を適切に抑えることができる。
(2)第2ローパスフィルタ212の撮像素子250側に第2発泡体242を配し、第2ローパスフィルタ212の撮像素子250と反対側に第1発泡体241A,241Bを配したので、空間を密閉したい側と、振動性能が要求される側とにそれぞれ適した発泡材料を配することができる。
(3)第2発泡体242による第2ローパスフィルタ212の変形に対する応答速度が、第1発泡体241A,241Bによる第2ローパスフィルタ212の変形に対する応答速度より速い構成にしたので、撮像素子250側で第2ローパスフィルタ212との密着性を高め、反対側で第2ローパスフィルタ212の振動性能を低下させにくくなる。つまり、塵埃の侵入を防止したい側の面に対して密着性を高め、塵埃を除去したい側の面で振動の減衰を抑えることができる。
(4)振動板261、262を第2ローパスフィルタ212の撮像素子250と反対側に配したので、塵埃を除去したい側の面から効率よく振動を与えることができる。
(5)第2ローパスフィルタ212の両面側に発泡体241A,241B、242を配するようにした。発泡体はゴムに比べて応答速度が遅いので、一方の面側にゴムなどの材料を用いる場合に比べて、振動の減衰を適切に抑えることができる。
(6)振動板261、262に沿って平行に第1発泡体241A,241Bを配したので、振動板261、262と直交するように第1発泡体241A,241Bを配する場合に比べて、振動の減衰を適切に抑えることができる。
(7)第2発泡体242を枠状に構成して塵埃の侵入を防止したい空間のシールド部材を兼ねたので、発泡体による支持部材と別に枠状のシールド部材を配する場合に比べて、第2ローパスフィルタ212に接する部材の数を抑えて振動の減衰を適切に抑えることができる。
(8)第2発泡体242が追従する周波数であって、第1発泡体241A、241Bが追従しえない周波数となるように振動定常波の周波数を制御するようにしたので、確実に、塵埃の侵入を防止したい側の面に対して密着性を高め、塵埃を除去したい側の面で振動の減衰を抑えることができる。
(第二の実施形態)
第一の実施形態では、固定部材203によって第1ローパスフィルタ211やマスク202をホルダー201に向かって押圧した。この代わりに、ローパスフィルタ押さえ枠205Bによって各部材をホルダー201に向けて押圧する構成にしてもよい。
図9は、第二の実施形態による第2ローパスフィルタ212の挟持を説明する図である。図6と同様に、撮像ユニットを上から見た断面を例示する。なお、わかりやすく図示するために実際より前後方向の距離を長くしている。第一の実施形態における図6に比べて、第2発泡体242、シール部材243、およびマスク202が省略されている。さらに、固定部材203のうち第1ローパスフィルタ211をホルダー201へ向けて押圧する部位が省略される点と、位置決め部材202Bが追加されている点とが図6の場合と異なる。
図9において、撮像素子250上の撮像面10を覆うようにカバーガラス10Aが設けられており、その上(前方)に位置決め部材202Bが介挿される。位置決め部材202Bは、たとえばゴムなどで形成された枠状部材である。
ローパスフィルタ押さえ枠205Bは、第2ローパスフィルタ212をはじめとする各部材をホルダー201との間で挟持させるための略矩形形状の枠状の部材である。ローパスフィルタ押さえ枠205Bは、固定部材203に対してネジ291などで固定される。そして、固定部材203が固定部材押さえバネ206を用いてホルダー201に固定されることにより、固定部材203と一体化されているローパスフィルタ押さえ枠205Bをホルダー201に向かって付勢しつつ、該ローパスフィルタ押さえ枠205Bをホルダー201に固定する(図3)。
上述したように、位置決め部材202Bが介挿されているので、第2ローパスフィルタ212の前の第1発泡体241(241A、241B)と、第2ローパスフィルタ212の後ろの位置決め部材202Bとで、第2ローパスフィルタ212を挟むように支持する。なお、シート244は、第2ローパスフィルタ212の振動時に第1ローパスフィルタ211と第2ローパスフィルタ212とが接触しないように介挿される。
第1発泡体241A、241Bおよび位置決め部材202Bは、、ローパスフィルタ押さえ枠205Bがホルダー201に固定された状態において、その前後方法の厚さが所定量潰れるように構成されている。これにより、第1発泡体241A、241Bおよび位置決め部材202Bが第2ローパスフィルタ212を所定の圧力で挟持することができる。すなわち、第1発泡体241A、241Bおよび位置決め部材202Bが元の厚さに対してそれぞれ所定の圧縮率で圧縮されることで、その圧縮率に応じた反発力(復元力)が第1発泡体241A、241Bおよび位置決め部材202Bにおいてそれぞれ発生し、これが第2ローパスフィルタ212を挟持するように作用する。
本実施形態では、第2ローパスフィルタ212の左右方向に延在する辺(長辺)に沿って振動定常波の腹が所定数現れ、かつ、位置決め部材202Bを構成するゴムが追従する周波数であって、第1発泡体241A、241Bを構成するSCF(登録商標)が追従しえない周波数となるように振動定常波の周波数を制御する。
これにより、第1発泡体241A、241Bが振動定常波の節で第2ローパスフィルタ212を支えるとともに、位置決め部材202Bがその面で第2ローパスフィルタ212を支える。
以上説明した第二の実施形態によれば、第2ローパスフィルタ212の撮像素子250と反対側に第1発泡体241A,241Bを配するようにした。第2ローパスフィルタ212の撮像素子250側にはゴム製の位置決め部材202Bを配する。発泡体はゴムより応答速度が遅いので、ゴムが追従する周波数であって、SCF(登録商標)が追従しえない周波数となるように振動定常波の周波数を制御すれば、塵埃を除去したい側の面で第2ローパスフィルタ212の振動性能を低下させにくくなる。この結果、確実に、塵埃の侵入を防止したい側の面に対して密着性を高め、塵埃を除去したい側の面で振動の減衰を抑えることができる。
(変形例1)
第一の実施形態および第二の実施形態では、第2ローパスフィルタ212を前後からそれぞれ異なる部材で挟む例を説明した。この代わりに、一体化した発泡体で構成される挟持部材301によって第2ローパスフィルタ212を挟持するようにしてもよい。
図10は、変形例による第2ローパスフィルタ212の挟持を説明する図である。図6と同様に、撮像ユニットを上から見た断面を例示する。なお、わかりやすく図示するために実際より前後方向の距離を長くしている。第一の実施形態における図6に比べて、第1発泡体241A、241B、第2発泡体242、シール部材243、およびローパスフィルタ押さえ枠205が省略されている。さらに、挟持部材301が追加されている点が図6の場合と異なる。
図10において、撮像素子250上の撮像面10を覆うようにカバーガラス10Aが設けられており、その上(前方)にマスク202が配される。そして、第1ローパスフィルタ211が固定部材203によってカバーガラス10A方向(後方)へ押圧される点は図6の場合と同様である。
挟持部材301は、オレフィン系発泡体のSCF(登録商標)で形成された部材であり、固定部材203の上(前方)に接着されて固定されている。挟持部材301は、第2ローパスフィルタ212を挟み込んで挟持する。挟持部材301は、第2ローパスフィルタ212を挟んだ状態でその前後方向の厚さが所定量潰れるように構成されている。これにより、挟持部材301が第2ローパスフィルタ212を所定の圧力で挟持することができる。
以上説明した変形例によれば、発泡部材301によって第2ローパスフィルタ212を支持するようにした。発泡体はゴムより応答速度が遅いので、ゴムなどの材料を用いる場合に比べて、第2ローパスフィルタ212の振動の減衰を適切に抑えることができる。
(変形例2)
上述した説明では、オレフィン系発泡体としてSCF(登録商標)を、ウレタン系発泡体としてポロン(登録商標)を例にあげたが、他の発泡材料を用いても構わない。発泡材料が第2ローパスフィルタ212の振動に追従する速度は、当該発泡材料に含まれる気泡の密度や気泡の大小と関連が深い。したがって、挟持する第2ローパスフィルタ212のサイズや振動時の定在波の周波数に応じて、使用する発泡材料の種類を適宜使い分けるとよい。同系(たとえば、オレフィン系同士、ウレタン系同士)の発泡体材料でもその気泡の密度、大小が異なる場合は、異なる発泡体材料を用いる場合と同様の作用効果が得られる。さらに、発泡材料以外の物を用いて第2ローパスフィルタ212を挟持してもよい。撮像素子250側、すなわち塵埃の侵入を防止したい側の面には、第2ローパスフィルタ212の変形に追従する応答速度がより速い材料を使用し、反対側、すなわち塵埃を除去したい側の面には、第2ローパスフィルタ212の変形に追従する応答速度がより遅い材料を使用する限り、どのような材料を用いて第2ローパスフィルタ212を挟持してもよい。
以上の説明はあくまで一例であり、上記の実施形態の構成に何ら限定されるものではない。
200…撮像ユニット
205、205B…ローパスフィルタ押さえ枠
211…第1ローパスフィルタ
212…第2ローパスフィルタ
241A、241B…第1発泡体
242…第2発泡体
243…シール部材
250…撮像素子
261、262…振動板
CA…デジタルカメラ
CB…カメラ本体

Claims (10)

  1. 被写体を撮像する撮像素子と、
    前記撮像素子の撮像面側に配設される光学部材と、
    前記光学部材に振動を与える加振部材と、
    振動する前記光学部材の変形に追従する速度が互いに異なる非金属の第1部材および第2部材によって前記光学部材を支持する支持部材とを備えることを特徴とする撮像装置。
  2. 請求項1に記載の撮像装置において、
    前記支持部材は、前記光学部材の前記撮像素子側に配される前記第2部材と、前記光学部材に対して前記第2部材と反対側に配される前記第1部材とで前記光学部材を挟むことを特徴とする撮像装置。
  3. 請求項1または2に記載の撮像装置において、
    前記光学部材の変形に追従する速度は、前記第2部材による速度が前記第1部材による速度より速いことを特徴とする撮像装置。
  4. 請求項1〜3のいずれか一項に記載の撮像装置において、
    前記加振部材は、前記撮像素子と反対側の面から前記光学部材に振動を与えることを特徴とする撮像装置。
  5. 請求項1〜4のいずれか一項に記載の撮像装置において、
    前記支持部材のうち少なくとも前記第1部材は発泡材料で形成されていることを特徴とする撮像装置。
  6. 請求項5に記載の撮像装置において、
    前記支持部材のうち前記第2部材も発泡材料で形成されていることを特徴とする撮像装置。
  7. 請求項1〜6のいずれか一項に記載の撮像装置において、
    前記第1部材は、前記加振部材に沿って配設されることを特徴とする撮像装置。
  8. 請求項1〜7のいずれか一項に記載の撮像装置において、
    前記第2部材は、前記光学部材の前記撮像素子側の空間を閉じるシールド部材を兼ねることを特徴とする撮像装置。
  9. 請求項1〜8のいずれか一項に記載の撮像装置において、
    前記加振部材は、前記第2部材が追従する周波数であって、前記第1部材が追従しない定常波の周波数で振動するように前記光学部材を加振することを特徴とする撮像装置。
  10. 被写体を撮像する撮像素子と、
    前記撮像素子の撮像面側に配設される光学部材と、
    前記光学部材に振動を与える加振部材と、
    発泡材料によって形成され、前記光学部材を支持する支持部材とを備えることを特徴とする撮像装置。
JP2009141955A 2008-06-26 2009-06-15 撮像装置 Expired - Fee Related JP5381366B2 (ja)

Priority Applications (2)

Application Number Priority Date Filing Date Title
JP2009141955A JP5381366B2 (ja) 2008-06-26 2009-06-15 撮像装置
US12/457,945 US7978966B2 (en) 2008-06-26 2009-06-25 Image capturing device

Applications Claiming Priority (3)

Application Number Priority Date Filing Date Title
JP2008167279 2008-06-26
JP2008167279 2008-06-26
JP2009141955A JP5381366B2 (ja) 2008-06-26 2009-06-15 撮像装置

Publications (2)

Publication Number Publication Date
JP2010035150A true JP2010035150A (ja) 2010-02-12
JP5381366B2 JP5381366B2 (ja) 2014-01-08

Family

ID=41447059

Family Applications (1)

Application Number Title Priority Date Filing Date
JP2009141955A Expired - Fee Related JP5381366B2 (ja) 2008-06-26 2009-06-15 撮像装置

Country Status (2)

Country Link
US (1) US7978966B2 (ja)
JP (1) JP5381366B2 (ja)

Families Citing this family (5)

* Cited by examiner, † Cited by third party
Publication number Priority date Publication date Assignee Title
KR20110092545A (ko) * 2010-02-09 2011-08-18 삼성전자주식회사 촬상 장치
KR101720772B1 (ko) * 2010-08-27 2017-04-03 삼성전자주식회사 이미지 센서 조립체
US8576188B2 (en) * 2010-10-14 2013-11-05 Lexmark International, Inc. Haptic based user interface for an electronic device
KR101881923B1 (ko) * 2011-05-13 2018-07-27 삼성전자주식회사 촬상 장치
US12520023B2 (en) * 2022-09-30 2026-01-06 Canon Kabushiki Kaisha Lens apparatus and image pickup apparatus

Citations (4)

* Cited by examiner, † Cited by third party
Publication number Priority date Publication date Assignee Title
JP2003348403A (ja) * 2002-05-27 2003-12-05 Olympus Optical Co Ltd カメラ及びこれに用いる撮像素子ユニット
JP2003348397A (ja) * 2002-05-27 2003-12-05 Olympus Optical Co Ltd カメラ及びこれに用いる撮像素子ユニット
JP2007047323A (ja) * 2005-08-08 2007-02-22 Canon Inc 光学機器及びその制御方法
JP2010288238A (ja) * 2009-06-15 2010-12-24 Canon Inc 異物除去装置

Family Cites Families (4)

* Cited by examiner, † Cited by third party
Publication number Priority date Publication date Assignee Title
JP4282226B2 (ja) * 2000-12-28 2009-06-17 オリンパス株式会社 カメラ
US7365788B2 (en) * 2003-02-07 2008-04-29 Olympus Corporation Imager apparatus
JP4695963B2 (ja) * 2005-11-07 2011-06-08 キヤノン株式会社 撮像装置
JP4759462B2 (ja) 2006-07-20 2011-08-31 キヤノン株式会社 撮像装置及び撮像ユニット

Patent Citations (4)

* Cited by examiner, † Cited by third party
Publication number Priority date Publication date Assignee Title
JP2003348403A (ja) * 2002-05-27 2003-12-05 Olympus Optical Co Ltd カメラ及びこれに用いる撮像素子ユニット
JP2003348397A (ja) * 2002-05-27 2003-12-05 Olympus Optical Co Ltd カメラ及びこれに用いる撮像素子ユニット
JP2007047323A (ja) * 2005-08-08 2007-02-22 Canon Inc 光学機器及びその制御方法
JP2010288238A (ja) * 2009-06-15 2010-12-24 Canon Inc 異物除去装置

Also Published As

Publication number Publication date
US20090323187A1 (en) 2009-12-31
US7978966B2 (en) 2011-07-12
JP5381366B2 (ja) 2014-01-08

Similar Documents

Publication Publication Date Title
US7719612B2 (en) Image pickup apparatus with foreign object removal capabilities
US9897802B2 (en) Image pickup apparatus and image pickup unit having device for removing foreign substance deposited on surface of optical member
JP5381366B2 (ja) 撮像装置
US7645079B2 (en) Image pickup apparatus having device for removing foreign substance deposited on surface of optical member
JP5344134B2 (ja) 撮像装置および光学装置
JP4924095B2 (ja) 撮像装置および光学装置
JP2009038741A (ja) デジタルカメラ、制御装置および撮像素子ユニット
JP5332622B2 (ja) 撮像装置
JP5262135B2 (ja) 光学部品および光学機器
JP4759462B2 (ja) 撮像装置及び撮像ユニット
JP5115341B2 (ja) 光学部品および光学機器
JP5228507B2 (ja) 光学部品、撮像装置および光学機器
JP2013038659A (ja) 撮像ユニット及び撮像装置
JP2009130615A (ja) 撮像装置および光学機器
JP5170991B2 (ja) 撮像装置
JP2010136189A (ja) 光学部材の振動装置およびデジタルカメラ
JP2009033441A (ja) 撮像装置
JP5268236B2 (ja) 撮像装置及び撮像ユニット
JP2008028615A (ja) 撮像装置
JP4652953B2 (ja) 撮像装置
JP2008026530A (ja) 撮像装置
JP2007134802A (ja) 撮像装置
JP2008026531A (ja) 撮像装置
JP2008026564A (ja) 撮像装置及び撮像ユニット
JP2010041659A (ja) 光学部品および光学機器

Legal Events

Date Code Title Description
A621 Written request for application examination

Free format text: JAPANESE INTERMEDIATE CODE: A621

Effective date: 20120605

A977 Report on retrieval

Free format text: JAPANESE INTERMEDIATE CODE: A971007

Effective date: 20130531

A131 Notification of reasons for refusal

Free format text: JAPANESE INTERMEDIATE CODE: A131

Effective date: 20130625

A521 Request for written amendment filed

Free format text: JAPANESE INTERMEDIATE CODE: A523

Effective date: 20130809

TRDD Decision of grant or rejection written
A01 Written decision to grant a patent or to grant a registration (utility model)

Free format text: JAPANESE INTERMEDIATE CODE: A01

Effective date: 20130903

A61 First payment of annual fees (during grant procedure)

Free format text: JAPANESE INTERMEDIATE CODE: A61

Effective date: 20130916

R150 Certificate of patent or registration of utility model

Ref document number: 5381366

Country of ref document: JP

Free format text: JAPANESE INTERMEDIATE CODE: R150

Free format text: JAPANESE INTERMEDIATE CODE: R150

R250 Receipt of annual fees

Free format text: JAPANESE INTERMEDIATE CODE: R250

R250 Receipt of annual fees

Free format text: JAPANESE INTERMEDIATE CODE: R250

R250 Receipt of annual fees

Free format text: JAPANESE INTERMEDIATE CODE: R250

R250 Receipt of annual fees

Free format text: JAPANESE INTERMEDIATE CODE: R250

R250 Receipt of annual fees

Free format text: JAPANESE INTERMEDIATE CODE: R250

R250 Receipt of annual fees

Free format text: JAPANESE INTERMEDIATE CODE: R250

R250 Receipt of annual fees

Free format text: JAPANESE INTERMEDIATE CODE: R250

LAPS Cancellation because of no payment of annual fees