JP2010034436A - 半導体集積回路装置 - Google Patents

半導体集積回路装置 Download PDF

Info

Publication number
JP2010034436A
JP2010034436A JP2008197277A JP2008197277A JP2010034436A JP 2010034436 A JP2010034436 A JP 2010034436A JP 2008197277 A JP2008197277 A JP 2008197277A JP 2008197277 A JP2008197277 A JP 2008197277A JP 2010034436 A JP2010034436 A JP 2010034436A
Authority
JP
Japan
Prior art keywords
integrated circuit
mem
terminal
signal
semiconductor integrated
Prior art date
Legal status (The legal status is an assumption and is not a legal conclusion. Google has not performed a legal analysis and makes no representation as to the accuracy of the status listed.)
Granted
Application number
JP2008197277A
Other languages
English (en)
Other versions
JP4643691B2 (ja
Inventor
Tadahiro Kuroda
忠広 黒田
Kenichi Osada
健一 長田
Makoto Saen
真 佐圓
Current Assignee (The listed assignees may be inaccurate. Google has not performed a legal analysis and makes no representation or warranty as to the accuracy of the list.)
Hitachi Ltd
Keio University
Original Assignee
Hitachi Ltd
Keio University
Priority date (The priority date is an assumption and is not a legal conclusion. Google has not performed a legal analysis and makes no representation as to the accuracy of the date listed.)
Filing date
Publication date
Application filed by Hitachi Ltd, Keio University filed Critical Hitachi Ltd
Priority to JP2008197277A priority Critical patent/JP4643691B2/ja
Publication of JP2010034436A publication Critical patent/JP2010034436A/ja
Application granted granted Critical
Publication of JP4643691B2 publication Critical patent/JP4643691B2/ja
Expired - Fee Related legal-status Critical Current
Anticipated expiration legal-status Critical

Links

Images

Classifications

    • HELECTRICITY
    • H01ELECTRIC ELEMENTS
    • H01LSEMICONDUCTOR DEVICES NOT COVERED BY CLASS H10
    • H01L2924/00Indexing scheme for arrangements or methods for connecting or disconnecting semiconductor or solid-state bodies as covered by H01L24/00
    • H01L2924/10Details of semiconductor or other solid state devices to be connected
    • H01L2924/11Device type
    • H01L2924/13Discrete devices, e.g. 3 terminal devices
    • H01L2924/1304Transistor
    • H01L2924/1306Field-effect transistor [FET]
    • H01L2924/13091Metal-Oxide-Semiconductor Field-Effect Transistor [MOSFET]

Landscapes

  • Semiconductor Integrated Circuits (AREA)

Abstract

【課題】積層チップ内の各チップ間で、低遅延で安定した動作を実現可能な半導体集積回路装置を提供する。
【解決手段】論理チップLOG上に、メモリチップMEM_A,MEM_Bを積層し、LOGとMEM_A,MEM_B間とのコマンド、アドレス、データ等の送受信を誘導結合送信端子群211,214,218,219および誘導結合受信端子群212,213,215〜217を用いた無線通信によって行う。MEM_A,MEM_Bの電源は、ワイヤボンディング225,227によって供給し、MEM_A,MEM_Bの内部状態を初期化するリセット信号も、ワイヤボンディング222,224によって供給する。無線通信を用いることで各チップ間の動作電圧が異なっていても低遅延で通信でき、電源や信頼性が必要な信号を有線で供給することで安定した動作も実現できる。
【選択図】図2

Description

本発明は、半導体集積回路装置に関し、特に、マイクロプロセッサチップやメモリチップ等を積層して構成されたSiP(System in Package)等の半導体集積回路装置に関する。
例えば、特許文献1には、パッケージ基板上に論理チップとDRAMとフラッシュメモリを積層搭載し、論理チップとDRAMをバンプで接続し、フラッシュメモリをワイヤボンディングでパッケージ基板に接続した半導体装置が開示されている。論理チップは、そのバンプ下の多層配線層などに入出力バッファ回路が形成され、また、多層配線層の下層部分から半導体基板の裏面に向けて形成された貫通電極を介してパッケージ基板との配線が行われる。これによって、半導体装置の高速化や配線効率の向上などが実現可能となる。
また、特許文献2には、積層した半導体チップそれぞれにコイルを形成し、データ送信側の半導体チップのコイルに電流を流して磁界を発生させ、この磁界を受信側の半導体チップのコイルで受信し、電流に変換して情報を伝達する誘導結合方式が開示されている。これによって、効率のよい信号伝送が可能となる。
特開2005−268670号公報 特開2005−228981号公報
半導体製造技術の微細化に伴い、半導体チップのI/O性能不足が深刻化しつつある。これは、微細化に伴って半導体チップに搭載される回路が増加し、さらに各回路の動作が速くなるため、半導体チップが所望の機能を実現するために必要なI/O処理量が増加する一方、半導体チップの端子数は、ワイヤボンディングなどに制約されるために基本的にはチップサイズによって決まり、微細化によっては増加しないためである。
半導体チップのI/O性能不足を解決するためには、例えば、特許文献1に記載されているように、端子を半導体チップの上面や下面に二次元状に配置し、半導体チップを複数個積層することによって積層されたチップ間で情報の伝送を行う、三次元結合技術を用いることが考えられる。しかしながら、特許文献1の技術のように、論理チップとDRAMを有線であるバンプで接続すると、通常はDRAMと論理チップの内部電圧が異なるためインターフェース用の電圧に変換する必要性が生じ、遅延時間の大幅な増加を招く恐れがある。
そこで、特許文献2に記載されているように、非接触方式で積層チップ間の通信を行うことが考えられる。非接触方式を用いると、前述したような遅延時間を低減でき、3チップ以上の積層チップ間でも効率のよい通信が実現可能となる。しかしながら、非接触方式では、無線信号を用いるため外部環境等によって誤動作が生じる恐れがある。また、非接触方式で電力供給を行う場合には、送信側に比較的大きなアンテナが必要とされ、受信側にも、安定した電源を生成するための各種回路が必要となることからチップ面積効率の低下などが懸念される。さらに、外部環境等によっては、安定した電源を常時生成することが困難となる恐れもある。
本発明は、このようなことを鑑みてなされたものであり、本発明の前記ならびにそれ以外の目的と新規な特徴は、本明細書の記述および添付図面から明らかになるであろう。
本願において開示される発明の代表的な実施の形態の概要を簡単に説明すれば、次のとおりである。
本実施の形態による半導体集積回路装置は、積層チップ内の各チップ間で、誘導結合方式を用いて各種信号の無線通信を行うものであって、上層チップへの電力供給を有線で行うものとなっている。これよって、上層チップに対して安定した電源を供給でき、信頼性の向上が図れる。
また、本実施の形態による半導体集積回路装置は、論理チップの上に単数または複数のメモリチップが積層され、論理チップとメモリチップ間で誘導結合方式を用いてコマンド、アドレス、データといった信号の無線通信を行うものであって、上層となるメモリチップへの電力供給を有線で行うものとなっている。さらに、メモリチップは、自身の内部状態を初期化するためのリセット入力を備え、このリセット入力が有線によって供給されるものとなっている。これによって、リセットの誤入力を防止でき、また、仮に無線通信で誤動作が生じた場合にも容易に通常の動作状態へ復帰できるようになり、信頼性の向上が図れる。
本願において開示される発明のうち代表的なものによって得られる効果を簡単に説明すれば、積層チップ内の各チップ間で無線通信によって信号の送受信を行う半導体集積回路装置において、信頼性の向上が実現可能になる。
以下の実施の形態において、要素の数等(個数、数値、量、範囲等を含む)に言及する場合、特に明示した場合および原理的に明らかに特定の数に限定される場合等を除き、その特定の数に限定されるものではなく、特定の数以上でも以下でも良い。また、以下の実施の形態において、その構成要素(要素ステップ等も含む)は、特に明示した場合および原理的に明らかに必須であると考えられる場合等を除き、必ずしも必須のものではないことは言うまでもない。同様に、以下の実施の形態において、構成要素等の形状、位置関係等に言及するときは、特に明示した場合および原理的に明らかにそうでないと考えられる場合等を除き、実質的にその形状等に近似または類似するもの等を含むものとする。このことは、上記数値および範囲についても同様である。
以下、本発明の実施の形態を図面に基づいて詳細に説明する。なお、実施の形態を説明するための全図において、同一の部材には原則として同一の符号を付し、その繰り返しの説明は省略する。
図1は、本発明の一実施の形態による半導体集積回路装置において、その構成の一例を示すブロック図である。本実施の形態による半導体集積回路装置DEVは、例えば、論理チップLOGと、2個のメモリチップMEM_A,MEM_Bを積層搭載し、これらを1個のパッケージ基板に実装したシステムインパッケージ(以下、SiPと記載する)の形態となっている。なお、SiPは、MCP(マルチチップパッケージ)等と呼ばれることもある。図1には、これらの各チップの接続関係を示している。図1のDEV(SiP)は、例えばシステムオンチップ(以下、SoCと記載する)等の論理チップLOGと、メモリチップ[A]MEM_Aと、メモリチップ[B]MEM_Bを内蔵し、外部との間の通信機能を備えている。通信機能は、LOGがMEM_AおよびMEM_Bに格納されたプログラムを読み出して実行することなどによって実現される。また、LOGは、MEM_AおよびMEM_Bに対する書き込み機能を備えている。
LOG、MEM_A、およびMEM_Bのそれぞれは、公知のCMOS(相補型MOSトランジスタ)やバイポーラトランジスタなどを形成する半導体集積回路技術によって単結晶シリコンのような半導体基板の主面上に形成された集積回路であり、動作時には電源と接地電位に接続される。DEV(SiP)は、外部端子(外部信号)として、外部電源端子(外部電源)P_VDD,P_VDDM、外部接地電位端子(外部接地電位)P_VSS、外部データ入力端子(外部データ入力信号)P_DI、外部データ出力端子(外部データ出力信号)P_DO、外部リセット端子(外部リセット信号)P_RSTなどを備える。
LOGは、外部端子(外部信号)として、リセット端子(リセット信号)RST、データ入力端子(データ入力信号)DI、データ出力端子(データ出力信号)DO、電源端子(電源)VDD、接地電位端子(接地電位)VSSを備える。また、これらに加えてMEM_AおよびMEM_Bとアクセスするためのクロック端子(クロック信号)CLK、アドレス端子(アドレス信号)ADD、コマンド端子(コマンド信号)CMD、ライトデータ端子(ライトデータ信号)DWおよびリードデータ端子(リードデータ信号)DRを備える。RST、DI、DO、VDD、VSSは、それぞれ、前述したDEV(SiP)の外部端子となるP_RST、P_DI、P_DO、P_VDD、P_VSSに接続される。
MEM_AおよびMEM_Bのそれぞれは、外部端子(外部信号)として、チップ識別端子(チップ識別信号)CSL、リセット端子(リセット信号)RSTM、電源端子(電源)VDDM、接地電位端子(接地電位)VSSを備える。また、これらに加えて、LOGとアクセスするためのクロック端子(クロック信号)CLK、アドレス端子(アドレス信号)ADD、コマンド端子(コマンド信号)CMD、ライトデータ端子(ライトデータ信号)DWおよびリードデータ端子(リードデータ信号)DRを備える。RSTM、VDDM、VSSは、それぞれ、前述したDEV(SiP)の外部端子となるP_RST、P_VDDM、P_VSSに接続される。なお、通常、VDDとVDDMは異なる電圧であり、特に限定はされないが、例えば、VDDは1.2V、VDDMは1.8Vなどである。
MEM_AおよびMEM_BのCLK、ADD、CMD、DW、DRは、それぞれ、LOGのCLK、ADD、CMD、DW、DRに接続される。また、MEM_AおよびMEM_Bのチップ識別端子CSLの内、一方はVSSに接続され、他方はVDDMに接続される(ここではMEM_AのCSLがVSSに接続されている)。CSLは、LOGからMEM_AおよびMEM_Bに入力されるアドレス信号ADDに応じて、どちらかのメモリチップを選択させるための信号であり、MEM_AとMEM_Bで異なる信号が入力される。すなわち、図1の場合は、CSLの値に基づいて、例えば、ADDの最上位ビットが‘0’の時にはMEM_Aが選択され、‘1’の時にはMEM_Bが選択される。
図2は、図1の半導体集積回路装置DEV(SiP)の外形例を示す側面図である。図2の半導体集積回路装置DEV(SiP)は、パッケージ基板205上に、論理チップLOG(SoC)が搭載され、LOGの上にメモリチップMEM_Aが搭載され、MEM_Aの上にスペーサ204を介してメモリチップMEM_Bが搭載された構成となっている。LOG(SoC)は、パッケージ基板205の表面上に、バンプ206が形成された端子面を下にして搭載される。MEM_Aは、端子面を上にしてLOG(SoC)上に積層され、その上にスペーサ204が積層され、更にその上にMEM_Bが端子面を上にして積層される。スペーサ204は、ワイヤボンディングを接続するための空間を確保するために必要な部材であり、熱膨張率がシリコンと同一の素材が望ましい。
パッケージ基板205は、バンプで形成された外部端子207を裏面に持ち、表面電極と裏面の外部端子207とを接続する配線層を内蔵した部材である。パッケージ基板205は、LOG(SoC)、MEM_A、MEM_Bと接続され、外部端子207は、実装ボードに接続され、これによって実装ボード上の外部デバイスと接続される。外部端子207の中には、図1に示したP_RST,P_DI,P_DO,P_VDD,P_VSS,P_VDDMが含まれる。ワイヤボンディング(223,224,227,228)は、MEM_Aとパッケージ基板205を接続するための配線であり、ワイヤボンディング(221,222,225,226)は、MEM_Bとパッケージ基板205を接続するための配線である。
ワイヤボンディング223は、MEM_Aのチップ識別端子CSLとパッケージ基板205を接続する配線であり、このCSLはパッケージ基板205を介して外部端子207の一部である外部接地電位端子P_VSSに接続される。ワイヤボンディング224は、MEM_Aのリセット端子RSTMとパッケージ基板205を接続する配線であり、このRSTMはパッケージ基板205を介して外部端子207の一部である外部リセット端子P_RSTに接続される。ワイヤボンディング227は、MEM_Aの電源端子VDDMとパッケージ基板205を接続する配線であり、このVDDMはパッケージ基板205を介して外部端子207の一部である外部電源端子P_VDDMに接続される。ワイヤボンディング228は、MEM_Aの接地電位端子VSSとパッケージ基板205を接続する配線であり、このVSSはパッケージ基板205を介して外部端子207の一部であるP_VSSに接続される。
ワイヤボンディング221は、MEM_Bのチップ識別端子CSLとパッケージ基板205を接続する配線であり、このCSLはパッケージ基板205を介して外部端子207の一部であるP_VDDMに接続される。ワイヤボンディング222は、MEM_Bのリセット端子RSTMとパッケージ基板205を接続する配線であり、このRSTMはパッケージ基板205を介して外部端子207の一部であるP_RSTに接続される。ワイヤボンディング225は、MEM_Bの電源端子VDDMとパッケージ基板205を接続する配線であり、このVDDMはパッケージ基板205を介して外部端子207の一部であるP_VDDMに接続される。ワイヤボンディング226は、MEM_Bの接地電位端子VSSとパッケージ基板205を接続する配線であり、このVSSはパッケージ基板205を介して外部端子207の一部であるP_VSSに接続される。
また、論理チップLOG(SoC)の主面(端子面)には、誘導結合送信端子群211,214および誘導結合受信端子群217が形成される。メモリチップMEM_Aの主面(端子面)には、誘導結合受信端子群212,215および誘導結合送信端子群218が形成される。メモリチップMEM_Bの主面(端子面)には、誘導結合受信端子群213,216および誘導結合送信端子群219が形成される。誘導結合送信端子群は、誘導結合方式によってデータを伝送するためのコイル群であり、コイル群のそれぞれは例えば半導体基板上の多層配線層を用いて1回巻き以上の配線パターンを形成することで実現される。誘導結合受信端子群は、誘導結合方式によってデータを受信するためのコイル群であり、コイル群のそれぞれは例えば半導体基板上の多層配線層を用いて1回巻き以上の配線パターンを形成することで実現される。なお、図2では簡略化して示しているが、実際には、各送信端子群および各受信端子群のそれぞれは、必要な信号本数に応じた複数のコイルからなる。
誘導結合送信端子群211は、LOG(SoC)がMEM_AおよびMEM_Bにアドレス、コマンド、クロックを送信するための端子である。誘導結合受信端子群212は、MEM_AがLOG(SoC)からアドレス、コマンド、クロックを受信するための端子である。誘導結合受信端子群213は、MEM_BがLOG(SoC)からアドレス、コマンド、クロックを受信するための端子である。
誘導結合送信端子群214は、LOG(SoC)がMEM_AおよびMEM_Bにライトデータを送信するための端子であり、誘導結合受信端子群215、216は、それぞれ、MEM_A、MEM_BがLOG(SoC)からライトデータを受信するための端子である。誘導結合送信端子群218、219は、それぞれ、LOG(SoC)に向けてMEM_A、MEM_Bがリードデータを送信するための端子であり、誘導結合受信端子群217は、MEM_AまたはMEM_BからLOG(SoC)がリードデータを受信するための端子である。
このように、誘導結合を代表とする無線方式を用いて信号の送受信を行うことで、高い実装効率で半導体チップ間通信が実現可能となる。また、誘導結合方式の無線通信を用いると、コイルに電流を流すことで情報伝送を行うため、論理チップLOGとメモリチップMEMとで動作電圧が異なっていても特にインターフェース用の電圧変換を行う必要はなく、低遅延での通信が可能となる。更に、MEM_AおよびMEM_Bの電源電圧を有線(ここではワイヤボンディング)で供給することで、論理チップLOG内に大きなコイルを設ける必要がなく、MEM_A,MEM_B内にも整流回路等を設ける必要がないため高い面積効率を実現でき、更に、MEM_AおよびMEM_Bに対する安定した電源供給も実現できる。このようなことから、本実施の形態の半導体集積回路装置は、効率がよく安定した動作を実現可能となる。なお、有線の中でも特にワイヤボンディングを用いることで、低コスト化が図れる。
図3は、図1のメモリチップMEM_A,MEM_Bのより詳細な構成例を示すブロック図である。図3のメモリチップMEMは、誘導結合による通信を行なうための通信マクロ部TRXと、制御論理部CTLと、メモリコア部MCRなどから構成される。通信マクロ部TRXは、クロック信号CLK、アドレス信号ADD、コマンド信号CMD、ライトデータ信号DWが論理チップLOG(SoC)から無線によって入力され、また、リードデータ信号DRを無線によってLOG(SoC)へ出力する。
制御論理部CTLは、通信マクロ部TRXとメモリコア部MCRを接続するブロックであり、TRXからの出力信号を受けて、内部クロック信号ICLKや、メモリセルを選択するワード選択信号WLSELおよびブロック選択信号BLKSELをMCRへ出力する。また、ライトかリードを選択するライト選択信号WEやライトデータ信号DWもMCRへ出力する。更に、CTLは、MCRからのリードデータ信号DRを受けて、それを通信マクロ部TRXへ出力する。MCRは、明記してはいないが、メモリセル、ワードドライバ、センスアンプなどより構成されるメモリアレイを含み、例えば、SRAMやDRAM等といった揮発性メモリであっても、EEPROMやフラッシュメモリ等といった不揮発性メモリであってもよい。
図3のメモリチップMEMには、ワイヤボンディングによる接続やプローカードによるプロービングが可能なパッドPDが形成されている。図3の例では、リセット信号パッドPD0、データ信号パッドPD1、アドレス信号パッドPD2、チップ識別信号パッドPD3、テストモード信号パッドPD4、外部クロック信号パッドPD5、電源パッドPD6、接地電位パッドPD7が形成されている。メモリチップMEMを単体でテストする際には、PD4よりハイレベルのテストモード信号TMODを入力する。このTMODのハイレベルを受けて、全てのパッドPD0〜PD3,PD5〜PD7からの入出力が有効となる。これによりプローブカードの針からパッドPDを介して各種データを入出力でき、メモリコア部MCRのテストが可能となる。ここでは、PD0よりリセット信号RSTM、PD1よりデータ信号TD、PD2よりアドレス信号TADD、PD3よりチップ識別信号CSL、PD5よりクロック信号TCLKを入力(または出力)でき、PD6およびPD7より電源電圧VDDMおよび接地電位VSSを供給できる。
このテストモード信号TMODがハイレベルの際には、通信マクロ部TRXは無効化される。製品として図2のようなパッケージに実装する際には、PD4は、ワイヤボンディングによりロウレベルに固定され、これによってデータ信号パッドPD1、アドレス信号パッドPD2、外部クロック信号パッドPD5は無効化されオープン状態となる。なお、図2では、このPD4に伴うワイヤボンディングは図示していないが、当該テスト機能を適用する場合には、MEM_AおよびMEM_Bからパッケージ基板205を介して外部接地電位端子P_VSSに接続するワイヤボンディングが加わることになる。また、パッケージに実装する際、リセット信号パッドPD0、チップ識別信号パッドPD3、電源パッドPD6、接地電位パッドPD7は、図2に示したように、ワイヤボンディングでパッケージ基板205の所定の場所に接続される。
図4は、図3のメモリチップMEMにおける通信マクロ部TRXの詳細な構成例を示すブロック図である。通信マクロ部TRXは、クロック受信回路RX_CLK、受信回路RX1,RX2、送信回路TX1,TX2、バッファ回路BF1〜BF4、ラッチ回路LT1〜LT4などから構成される。クロック受信回路RX_CLKは、明示していないが、コイルとバッファを含み、外部から誘導結合で送信されたクロック信号CLKを受信し、チップ内部へ受信クロック信号CLKrを出力する。
受信回路RX1,RX2は、明示していないが、コイルとアンプを含み、RX_CLKからBF1を介して出力された受信クロック信号CLKrによりアンプを活性化し、外部から誘導結合で送信された各種入力信号(ここではアドレス信号ADD、コマンド信号CMD、ライトデータ信号DW)を受信する。この受信した信号は、ラッチ回路LT1,LT2へ出力される。送信回路TX1,TX2は、明示してないが、コイルとドライバを含み、BF1およびBF3を介した受信クロック信号CLKrによりドライバを活性化し、ドライバによりコイルに電流を流してチップ外部へ各種出力信号(ここではリードデータ信号DR)を送信する。この際の送信回路TX1,TX2に対する入力信号は、ラッチ回路LT3,LT4から送られる。
ラッチ回路LT1,LT2は、BF1およびBF2を介した受信クロック信号CLKrによってRX1,RX2からの出力信号をラッチし、このラッチ後の各種信号(ここでは受信アドレス信号ADDr、受信コマンド信号CMDr、受信ライトデータ信号DWr)をそれぞれ出力する。ラッチ回路LT3,LT4は、BF1、BF2およびBF4を介した受信クロック信号CLKrによって外部(ここではメモリコア部MCR)からの入力信号(ここでは送信リードデータ信号DRt)をラッチし、このラッチ後の各種信号をTX1,TX2に出力する。
また、ラッチ回路LT1〜LT4には、外部よりリセット信号RSTMが入力される。例えば、リセット信号RSTMがロウレベルの時にはLT1〜LT4に保持されるデータはロウレベルとなる。なお、図4では、メモリチップMEM内に備わる通信マクロ部TRXの構成例を示したが、図1の論理チップLOG(SoC)内にも同様の通信マクロ部が備わり、これによってメモリチップMEMとの間で無線信号の送受信が可能となっている。
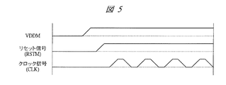
図5は、図3および図4のメモリチップMEMにおける電源投入シーケンスの一例を示す波形図である。図5に示すように、メモリチップMEMを起動する際には、MEMの電源VDDMを立ち上げ、VDDMがロウからハイになる間、リセット信号RSTMはロウレベルを維持し、ラッチ回路LT1〜LT4はリセット状態を維持する。VDDMが安定した後は、RSTMをロウレベルからハイレベルとし、LT1〜LT4のリセット状態を解除する。その後、外部よりクロック信号CLKが入力され、コマンド信号CMDの受信等といった通常の動作が開始される。
このようなリセット信号RSTMは、図2に示したように有線(ワイヤボンディング)によって供給される。これによって、通常の動作前には通信マクロ部TRXを所定の内部状態に確実に保つことが可能となるため、例えば、その出力信号(CMD,ADD,DW)によって誤ってメモリコア部MCRが誤動作するようなこともなく、信頼性が高い動作を実現可能となる。また、仮にリセット信号RSTMを無線とした場合は、外部環境等に応じて通常の動作中にリセット信号の誤入力が行われる可能性を否定できず、これに伴い半導体集積回路装置DEVの致命的な誤動作に繋がる恐れがあるが、有線とすることで、このような誤動作を防止でき、信頼性が高い動作が実現可能となる。
図6は、図1の半導体集積回路装置におけるリセット機能の概要を示す説明図である。図6には、リセット時と通常動作時の状態遷移図を示している。S0はリセット状態を示しており、S1、S2、S3、S4はそれぞれ通常動作中の状態を示している。それぞれの状態は入力により同一または別の状態に変化する。しかし、どの状態にあってもリセット信号RST(RSTM)がロウレベルとなるとリセット状態に遷移する。
例えば、論理チップLOGにおいては、電源状態(通常電源状態やスタンバイ状態)やクロック周波数の状態(高速モード状態、低速モード状態)などを各種コントロールレジスタや設定レジスタ等に所定の値を設定することで変更できる場合がある。また、論理チップLOG内の搭載モジュールによっては、コマンドに応じて内部のコントロールレジスタや設定レジスタ等に所定の値を設定することで、自身の内部状態(例えば送信モードや受信モード等)を切り替えながら所定の動作を行うようなものがある。また、例えば、メモリチップMEMにおいては、制御論理部CTL内の各種コントロールレジスタや設定レジスタ等に動作モード(例えばバースト読み出しデータ長等)を設定し、当該動作モード(内部状態)の上で所定の動作を行うようなものがある。
このように、様々な内部状態を備えている各種半導体チップに対して、リセット信号RST(RSTM)を入力すると、各種コントロールレジスタや設定レジスタ等が初期化され、リセット状態S0に遷移させることができる。仮に、通常の動作状態に誤ってリセット信号が入力された場合、全ての設定等が初期化されるため、半導体集積回路装置DEVの致命的な誤動作に繋がる恐れがある。また、別の観点として、何らかの誤入力によって半導体集積回路装置DEVの内部状態が意図しない状態となっても、一度、リセット状態S0に遷移させれば、その後、所定の入力による状態遷移によって通常の動作状態に復帰させることができる。リセット信号RST(RSTM)を有線で構成した場合は、このようなリセット信号の誤入力を防止できると共に、何らかの不具合が生じた場合の通常の動作状態への復帰も確実かつ容易に行える。一方、無線で構成した場合には、外部環境等によってリセット信号の誤入力が生じたり、あるいは、逆にリセット信号の入力が行えず、目的とする通常の動作状態への復帰が困難となる恐れがある。このような観点でリセット信号RST(RSTM)を有線で構成することが有益となる。
図7は、図3のメモリチップMEMにおいて、その制御論理部CTLの一部の構成例を示す概略図である。図7に示す制御論理部CTLは、比較回路CMPと、メモリ制御回路PERIなどを含んでいる。比較回路CMPは、通信マクロ部TRXを介して入力されたnビットのアドレス信号ADD内の1ビット(例えば最上位ビット)と、チップ識別信号CSLとの一致・不一致を判定し、一致した場合にイネーブル信号ENに‘H’レベル、不一致の場合にENに‘L’レベルを出力する。
メモリ制御回路PERIは、通信マクロ部TRXからの受信クロック信号CLKr、受信コマンド信号CMDrおよび受信アドレス信号ADDrなどを受けて、コマンド判定やアドレスデコード等を行い、内部クロック信号ICLK、ブロック選択信号BLKSEL、ワード選択信号WLSEL、ライト選択信号WEなどを出力する。この際に、PERIは、イネーブル信号ENが‘H’レベルの場合には、コマンド判定結果やアドレスデコード結果に応じて所定のBLKSEL、WLSEL、WE等を出力するが、‘L’レベルの場合には、これらの信号を例えば‘H’レベル等に固定し、メモリコア部MCRを動作させないように制御する。したがって、図1の半導体集積回路装置DEVの場合、論理チップLOGが出力したアドレス信号ADDの例えば最上位ビットが‘0’(‘L’レベル)の場合にはMEM_Aがアクセスされ、‘1’(‘H’レベル)の場合にはMEM_Bがアクセスされることになる。
ここで、図2から判るように、LOGが誘導結合送信端子群211から送信したアドレス信号は、同一縦方向に配置されたMEM_Aの誘導結合受信端子群212とMEM_Bの誘導結合受信端子群213の両方によりバス形式で受信されることになる。一方、他の構成例として、MEM_AとMEM_Bのそれぞれが、自身のチップを活性化させるための所謂チップ選択信号(CS信号)を備えているような場合、例えば、LOG上のそれぞれ異なる位置にMEM_AとMEM_Bの各CS信号用の誘導結合送信端子を設けることでMEM_AとMEM_Bを区別するようなことも可能である。ただし、この場合、MEM_AとMEM_Bにおいて、そのCS信号受信用の誘導結合受信端子をそれぞれ異なる位置に配置する必要があるため、MEM_AとMEM_Bを同一設計のチップとすることができなくなり、さらに、LOGおよびMEM_A,MEM_B共に面積効率も低下する。
そこで、図7に示したようなチップ識別端子CSLを用いた方式を採用すると、効率的にMEM_AとMEM_Bを区別することが可能となる。すなわち、CSLは、有線によってパッケージ基板205上で電源(VDDM)または接地電位(VSS)のいずれかの配線層に接続すればよく、CSLに伴い図2に示すLOGのバンプ206やパッケージ基板205の外部端子207が別途必要になるようなことはないため実装効率がよい。また、MEM_AとMEM_Bは同一設計のチップとすることが可能である。さらに、LOGから見た場合、MEM_AとMEM_Bを1個の誘導結合送信端子によって区別できるため面積効率がよく、またMEM_AとMEM_Bを連続する一つのアドレス空間として扱えるため、効率的な動作も行える。
以上、本実施の形態の半導体集積回路装置によって得られる主要な効果を挙げると以下のようになる。
論理チップと、その上に積層されたメモリチップ間で、コマンド信号、アドレス信号、データ信号などを無線によって送受信することで、チップの電圧に依存せずに低遅延(高速)で通信することができ、システム性能の向上が実現可能となる。この際に、例えばリセット信号といった信頼性の必要な信号や電源を有線で送れるように構成することで安定した動作が実現可能となる。また、通常動作中に誤ってリセット信号を送ってしまう可能性もないため、信頼性の高い動作が実現できる。
以上、本発明者によってなされた発明を実施の形態に基づき具体的に説明したが、本発明は前記実施の形態に限定されるものではなく、その要旨を逸脱しない範囲で種々変更可能である。
例えば、これまでの実施の形態では、例えば、「特許文献2」(特開2005−228981号公報)に記載されているような、誘導結合方式(電磁結合方式)による無線通信を用いた例で説明を行った。耐ノイズ性に伴う信頼性の観点などからは、この誘導結合方式を用いることが望ましいが、これに限定されるものではなく、場合によっては電波方式などを用いることも可能である。
また、これまでの実施の形態では、1個の論理チップLOGと2個のメモリチップMEMによる3段の積層構造を示したが、例えば、1個の論理チップLOGの上に3個以上のメモリチップMEMを積層した4段以上の積層構造であっても同様に拡張可能である。この場合、原則的にm個のメモリチップMEMに対してn(=logm)本のチップ識別端子CSLを設けるようにして、m個のメモリチップMEMを識別できるように構成すればよい。
本発明の一実施の形態による半導体集積回路装置は、特に、複数のメモリチップと、この複数のメモリチップの情報を用いて所定の動作を行う論理チップとが1つのパッケージ内に実装された製品に適用して有益な技術であり、これに限らずSiPの製品全般に対して広く適用可能である。
本発明の一実施の形態による半導体集積回路装置において、その構成の一例を示すブロック図である。 図1の半導体集積回路装置の外形例を示す側面図である。 図1のメモリチップのより詳細な構成例を示すブロック図である。 図3のメモリチップにおける通信マクロ部の詳細な構成例を示すブロック図である。 図3および図4のメモリチップにおける電源投入シーケンスの一例を示す波形図である。 図1の半導体集積回路装置におけるリセット機能の概要を示す説明図である。 図3のメモリチップにおいて、その制御論理部の一部の構成例を示す概略図である。
符号の説明
204 スペーサ
205 パッケージ基板
206 バンプ
207 外部端子
211,214,218,219 誘導結合送信端子群
212,213,215,216,217 誘導結合受信端子群
221〜228 ワイヤボンディング
DEV 半導体集積回路装置
LOG 論理チップ
MEM メモリチップ
P_RST 外部リセット端子
P_DI 外部データ入力端子
P_DO 外部データ出力端子
P_VDD,P_VDDM 外部電源端子
P_VSS 外部接地電位端子
RST,RSTM リセット端子
DI データ入力端子
DO データ出力端子
VDD,VDDM 電源端子
VSS 接地電位端子
DW ライトデータ端子
DR リードデータ端子
CLK クロック端子
ADD アドレス端子
CMD コマンド端子
CSL チップ識別端子
PD パッド
TD データ信号
TADD アドレス信号
TMOD テストモード信号
TCLK クロック信号
TRX 通信マクロ部
CTL 制御論理部
MCR メモリコア部
ICLK 内部クロック信号
WLSEL ワード選択信号
WE ライト選択信号
BLKSEL ブロック選択信号
BF バッファ回路
LT ラッチ回路
RX 受信回路
TX 送信回路
RX_CLK クロック受信回路
CMP 比較回路
PERI メモリ制御回路
EN イネーブル信号

Claims (8)

  1. 無線通信機能を備えた第1集積回路と、
    無線通信機能を備えた第2集積回路と、
    を具備してなり、
    前記第2集積回路は、前記第1集積回路の上に積層され、
    前記第2集積回路の電源は、有線で供給されるように構成されたことを特徴とする半導体集積回路装置。
  2. 請求項1記載の半導体集積回路装置において、
    前記第2集積回路は、リセット信号が入力された際に自身の内部状態を初期化するように構成され、
    前記第2集積回路に向けたリセット信号は、有線で供給されるように構成されたことを特徴とする半導体集積回路装置。
  3. 請求項2記載の半導体集積回路装置において、
    前記第2集積回路は、
    テストモード端子と、
    前記テストモード端子が第1電位レベルの際に前記第2集積回路の動作制御が可能に設定され、第2電位レベルの際に前記第2集積回路の動作制御が不可能に設定される複数のテスト用信号端子と、を備え、
    前記テストモード端子は、有線によって前記第2電位レベルに固定されていることを特徴とする半導体集積回路装置。
  4. 請求項2記載の半導体集積回路装置において、
    前記第2集積回路の電源と前記第2集積回路に向けたリセット信号は、ワイヤボンディングによって供給されるように構成されたことを特徴とする半導体集積回路装置。
  5. 請求項1記載の半導体集積回路装置において、
    前記無線通信機能は、誘導結合方式を用いた無線通信回路であることを特徴とする半導体集積回路装置。
  6. 無線通信機能を備えた第1集積回路と、
    前記第1集積回路によってアクセスされ、無線通信機能を備えた第1集積記憶回路および第2集積記憶回路と、
    を具備してなり、
    前記第1集積記憶回路は、前記第1集積回路の上に積層され、
    前記第2集積記憶回路は、前記第1集積記憶回路の上に積層され、
    前記第1集積記憶回路は、第1チップ識別端子を備え、前記第1集積回路からそれぞれの前記無線通信機能を介して受信した第1信号の電位レベルと前記第1チップ識別端子の電位レベルとを比較し、この比較結果に応じて自身のアクセス可否を制御し、
    前記第2集積記憶回路は、第2チップ識別端子を備え、前記第1集積回路からそれぞれの前記無線通信機能を介して受信した前記第1信号の電位レベルと前記第2チップ識別端子の電位レベルとを比較し、この比較結果に応じて自身のアクセス可否を制御し、
    前記第1集積記憶回路と前記第2集積記憶回路の電源は、それぞれ有線によって供給され、
    前記第1チップ識別端子と前記第2チップ識別端子は、有線によってそれぞれ異なる電位レベルに固定されていることを特徴とする半導体集積回路装置。
  7. 請求項6記載の半導体集積回路装置において、
    前記第1集積記憶回路および前記第2集積記憶回路のそれぞれは、リセット信号が入力された際に自身の内部状態を初期化するように構成され、
    前記第1集積記憶回路および前記第2集積記憶回路のそれぞれに向けたリセット信号は、有線で供給されるように構成されたことを特徴とする半導体集積回路装置。
  8. 請求項6記載の半導体集積回路装置において、
    前記無線通信機能は、誘導結合方式を用いた無線通信回路であることを特徴とする半導体集積回路装置。
JP2008197277A 2008-07-31 2008-07-31 半導体集積回路装置 Expired - Fee Related JP4643691B2 (ja)

Priority Applications (1)

Application Number Priority Date Filing Date Title
JP2008197277A JP4643691B2 (ja) 2008-07-31 2008-07-31 半導体集積回路装置

Applications Claiming Priority (1)

Application Number Priority Date Filing Date Title
JP2008197277A JP4643691B2 (ja) 2008-07-31 2008-07-31 半導体集積回路装置

Publications (2)

Publication Number Publication Date
JP2010034436A true JP2010034436A (ja) 2010-02-12
JP4643691B2 JP4643691B2 (ja) 2011-03-02

Family

ID=41738541

Family Applications (1)

Application Number Title Priority Date Filing Date
JP2008197277A Expired - Fee Related JP4643691B2 (ja) 2008-07-31 2008-07-31 半導体集積回路装置

Country Status (1)

Country Link
JP (1) JP4643691B2 (ja)

Cited By (3)

* Cited by examiner, † Cited by third party
Publication number Priority date Publication date Assignee Title
WO2011102067A1 (ja) 2010-02-19 2011-08-25 ソニーケミカル&インフォメーションデバイス株式会社 保護回路、バッテリ制御装置、及び、バッテリパック
KR20200065270A (ko) * 2018-11-30 2020-06-09 한국생산기술연구원 다종 소자를 이용한 3차원 적층형 패키지 구조
US11817422B2 (en) 2018-11-13 2023-11-14 Shinko Electric Industries Co., Ltd. Semiconductor device

Citations (6)

* Cited by examiner, † Cited by third party
Publication number Priority date Publication date Assignee Title
JP2007029435A (ja) * 2005-07-27 2007-02-08 Juki Corp 玉縁縫いミシン
JP2007073600A (ja) * 2005-09-05 2007-03-22 Mitsubishi Electric Corp 半導体装置およびその製造方法
JP2007251394A (ja) * 2006-03-14 2007-09-27 Sony Corp 3次元集積化装置
WO2007111036A1 (ja) * 2006-03-24 2007-10-04 Nec Corporation 半導体装置
JP2008004714A (ja) * 2006-06-22 2008-01-10 Nec Corp チップ積層型半導体装置
JP2008091627A (ja) * 2006-10-02 2008-04-17 Toshiba Corp 半導体集積チップ及び半導体装置

Patent Citations (6)

* Cited by examiner, † Cited by third party
Publication number Priority date Publication date Assignee Title
JP2007029435A (ja) * 2005-07-27 2007-02-08 Juki Corp 玉縁縫いミシン
JP2007073600A (ja) * 2005-09-05 2007-03-22 Mitsubishi Electric Corp 半導体装置およびその製造方法
JP2007251394A (ja) * 2006-03-14 2007-09-27 Sony Corp 3次元集積化装置
WO2007111036A1 (ja) * 2006-03-24 2007-10-04 Nec Corporation 半導体装置
JP2008004714A (ja) * 2006-06-22 2008-01-10 Nec Corp チップ積層型半導体装置
JP2008091627A (ja) * 2006-10-02 2008-04-17 Toshiba Corp 半導体集積チップ及び半導体装置

Cited By (4)

* Cited by examiner, † Cited by third party
Publication number Priority date Publication date Assignee Title
WO2011102067A1 (ja) 2010-02-19 2011-08-25 ソニーケミカル&インフォメーションデバイス株式会社 保護回路、バッテリ制御装置、及び、バッテリパック
US11817422B2 (en) 2018-11-13 2023-11-14 Shinko Electric Industries Co., Ltd. Semiconductor device
KR20200065270A (ko) * 2018-11-30 2020-06-09 한국생산기술연구원 다종 소자를 이용한 3차원 적층형 패키지 구조
KR102131648B1 (ko) * 2018-11-30 2020-07-08 한국생산기술연구원 다종 소자를 이용한 3차원 적층형 패키지 구조

Also Published As

Publication number Publication date
JP4643691B2 (ja) 2011-03-02

Similar Documents

Publication Publication Date Title
US11960418B2 (en) Semiconductor memory systems with on-die data buffering
KR101751045B1 (ko) 3d 반도체 장치
US9209160B2 (en) Semiconductor devices compatible with mono-rank and multi-ranks
CN111739875B (zh) 叠层半导体器件及其测试方法
US7391634B2 (en) Semiconductor memory devices having controllable input/output bit architectures
US9230619B2 (en) Semiconductor device
US8837191B2 (en) Semiconductor apparatus
US8174115B2 (en) Multi-chip package memory device
US20120051113A1 (en) Semiconductor integrated circuit
CN101635162A (zh) 堆叠存储器模块和系统
KR20110138099A (ko) 관통 전극을 갖는 3차원 적층 구조의 반도체 장치 및 그 반도체 장치의 시그널링 방법
TWI886157B (zh) 包括堆疊在控制器晶粒上方的核心晶粒的堆疊封裝件
US9263371B2 (en) Semiconductor device having through-silicon via
US7721010B2 (en) Method and apparatus for implementing memory enabled systems using master-slave architecture
CN113220601B (zh) 传输小摆幅数据信号的存储器装置及其操作方法
US20140063990A1 (en) Multi-chip semiconductor apparatus
US20040015807A1 (en) Semiconductor device and semiconductor integrated circuit
JP4643691B2 (ja) 半導体集積回路装置
CN104733007B (zh) 半导体器件和包括半导体器件的半导体系统
KR20180026898A (ko) 반도체 장치 및 이를 포함하는 반도체 시스템
US8896340B2 (en) Semiconductor modules
US11289174B2 (en) Stacked semiconductor device and semiconductor system including the same
US20100074043A1 (en) Semiconductor device
JP2016091576A (ja) 半導体装置
US7486532B2 (en) Semiconductor multi-chip package including two semiconductor memory chips having different memory densities

Legal Events

Date Code Title Description
A977 Report on retrieval

Free format text: JAPANESE INTERMEDIATE CODE: A971007

Effective date: 20100813

A131 Notification of reasons for refusal

Free format text: JAPANESE INTERMEDIATE CODE: A131

Effective date: 20100824

A521 Request for written amendment filed

Free format text: JAPANESE INTERMEDIATE CODE: A523

Effective date: 20101020

TRDD Decision of grant or rejection written
A01 Written decision to grant a patent or to grant a registration (utility model)

Free format text: JAPANESE INTERMEDIATE CODE: A01

Effective date: 20101109

A01 Written decision to grant a patent or to grant a registration (utility model)

Free format text: JAPANESE INTERMEDIATE CODE: A01

A61 First payment of annual fees (during grant procedure)

Free format text: JAPANESE INTERMEDIATE CODE: A61

Effective date: 20101202

R150 Certificate of patent or registration of utility model

Free format text: JAPANESE INTERMEDIATE CODE: R150

FPAY Renewal fee payment (event date is renewal date of database)

Free format text: PAYMENT UNTIL: 20131210

Year of fee payment: 3

LAPS Cancellation because of no payment of annual fees