JP2010033965A - 有極電磁継電器 - Google Patents

有極電磁継電器 Download PDF

Info

Publication number
JP2010033965A
JP2010033965A JP2008196886A JP2008196886A JP2010033965A JP 2010033965 A JP2010033965 A JP 2010033965A JP 2008196886 A JP2008196886 A JP 2008196886A JP 2008196886 A JP2008196886 A JP 2008196886A JP 2010033965 A JP2010033965 A JP 2010033965A
Authority
JP
Japan
Prior art keywords
coil
electromagnet
electromagnetic relay
armature
conductive plate
Prior art date
Legal status (The legal status is an assumption and is not a legal conclusion. Google has not performed a legal analysis and makes no representation as to the accuracy of the status listed.)
Granted
Application number
JP2008196886A
Other languages
English (en)
Other versions
JP5106299B2 (ja
Inventor
Kazuo Kubono
和男 窪野
Current Assignee (The listed assignees may be inaccurate. Google has not performed a legal analysis and makes no representation or warranty as to the accuracy of the list.)
FCL Components Ltd
Original Assignee
Fujitsu Component Ltd
Priority date (The priority date is an assumption and is not a legal conclusion. Google has not performed a legal analysis and makes no representation as to the accuracy of the date listed.)
Filing date
Publication date
Application filed by Fujitsu Component Ltd filed Critical Fujitsu Component Ltd
Priority to JP2008196886A priority Critical patent/JP5106299B2/ja
Publication of JP2010033965A publication Critical patent/JP2010033965A/ja
Application granted granted Critical
Publication of JP5106299B2 publication Critical patent/JP5106299B2/ja
Active legal-status Critical Current
Anticipated expiration legal-status Critical

Links

Images

Landscapes

  • Electromagnets (AREA)

Abstract

【課題】永久磁石を含む磁性可動体をコイル中心軸線に平行な方向へ直線移動させる有極電磁継電器の、応答性を改善し、外形寸法及び製造コストを削減する。
【解決手段】有極電磁継電器の接極子は、永久磁石をその磁化方向に挟持するとともに磁化方向をコイル中心軸線に平行に方向付けて配置される第1及び第2の導電板要素を有する。接極子は、第1の導電板要素の一部分を、電磁石の鉄心頭部の外縁領域と継鉄主部分の末端領域との間に挿入した状態で、コイル中心軸線に平行な方向へ直線移動可能に設置される。電磁石に使用されるコイル組立90は、中心軸線92aを有するコイル92と、コイル92が巻き付けられる巻枠94と、コイル中心軸線92aに直交する方向へ整列して巻枠94に支持され、コイル92を形成する導線96がそれぞれに接続される4個のコイル端子98、100、102、104とを備える。
【選択図】図3

Description

本発明は、有極電磁継電器に関する。
有極電磁継電器において、電磁石及び永久磁石を含む電磁石装置と、複数の接点部材を含む接点部とを、互いに絶縁して基部に組み付けるとともに、電磁石装置と接点部との間に、電磁石装置の作用により移動して接点部の接点部材を開閉動作させる力伝達部材を設置したものが知られている。例えば特許文献1は、この種の有極電磁継電器であって、電磁石装置が、一対の鉄板の間に永久磁石を挟持してなる磁性可動体(接極部と称されている)を、電磁石の励磁によりコイルの中心軸線に平行な方向へ直線移動させるように構成される有極電磁継電器を開示する。このような電磁石装置の構成は、永久磁石を含む磁性可動体を電磁石の励磁によりコイル中心軸線に直交する方向へ直線移動させる構成に比べて、一般に、コイル径方向への電磁継電器の外形寸法を効果的に削減できる利点を有する。
特許文献1に開示される有極電磁継電器では、大小2個のコ字形の鉄板が、それらの中央部分の間に磁石をその磁化方向へ挟持して組み合わされ、それにより、磁性可動体の長手方向各端部に、磁石による磁極をそれぞれに形成した両鉄板の端部分が互いに対向して配置される。また、電磁石の鉄心は、同様にコ字形の部材であって、その長手方向両端部分がコイルの径方向外方へ延出して配置される。磁性可動体の長手方向各端部では、互いに異なる磁極を形成した一対の鉄板の端部分の間に、電磁石の鉄心の端部分が挿入される。磁性可動体は、モールド部品である力伝達部材に一体的に組み込まれ、上記相対配置の下で電磁石が作動することにより、力伝達部材が磁性可動体と共に直線移動して、接点部を開閉動作させる。
また、有極電磁継電器において、電磁石が、コイルを形成する導線を巻き付ける巻枠と、巻枠に固定して支持され、コイルの導線をそれぞれに接続する3個以上のコイル端子とを備えるものが知られている(例えば特許文献2参照)。この種の有極電磁継電器では、コイルに、3個以上のコイル端子のうちいずれか2個のコイル端子からなる端子対をそれぞれに含む2つの励磁回路を構成させることで、動作状態(すなわちメーク接点閉成状態)と復帰状態(すなわちブレーク接点閉成状態)との迅速な切り換えが可能で、しかもいずれの状態においても接点部を安定して接点閉成状態に保持できる利点が得られる。
なお、本願の出願人は、永久磁石を含む磁性可動体を電磁石の励磁によりコイルの中心軸線に平行な方向へ直線移動させる電磁石装置を備えた有極電磁継電器において、磁性可動体の構造及びその駆動構成を単純化した発明を開示する先行出願(特願2007−255377)を、本願に先立って出願している。
特開昭58−181227号公報 特開2005−243367号公報
上記した特許文献1に開示される有極電磁継電器では、磁性可動体を構成する一対のコ字形鉄板が、電磁石のコ字形鉄心の全長に相当する長さを有するので、力伝達部材を含む可動部の寸法及び重量が比較的大きくなり、結果として継電器の応答性(すなわち動作時間)及び外形寸法に影響が及ぼされる危惧がある。また、電磁石のコ字形鉄心と磁性可動体の両コ字形鉄板とが、それぞれの長手方向両端で同時に磁気作用を及ぼし合う構成であるから、動作性能のばらつきを低減するためには、各構成部品の寸法精度を向上させる必要があり、結果として製造コストが上昇することが懸念される。
また、上記した特許文献2に記載されるように、電磁石が3個以上のコイル端子を備える有極電磁継電器においては、それらコイル端子のそれぞれに導線を結線して巻枠上にコイルを形成する自動巻線作業を、安全かつ正確に実施することが課題となっている。
上記した先行出願は、これらの課題を解決する発明の幾つかの実施形態を開示している。
本発明の目的は、永久磁石を含む磁性可動体を電磁石の励磁によりコイルの中心軸線に平行な方向へ直線移動させる電磁石装置を備えた有極電磁継電器において、磁性可動体の構造及びその駆動構成を単純化することで、応答性(動作時間)を改善でき、しかも外形寸法及び製造コストを効果的に削減できる有極電磁継電器を、先行出願に開示した実施形態とは異なる形態で提供することにある。
上記目的を達成するために、請求項1に記載の発明は、基部と、基部に組み付けられる電磁石装置と、電磁石装置から絶縁されて基部に組み付けられる接点部と、電磁石装置と接点部との間に配置され、電磁石装置の作用により移動して接点部を開閉動作させる力伝達部材とを具備し、電磁石装置が、電磁石と、電磁石によって駆動される接極子と、接極子に担持される永久磁石とを備えて構成される、有極電磁継電器において、電磁石は、中心軸線を有するコイルと、コイルの中心軸線に沿って配置される軸部及び軸部の軸線方向一端からコイルの径方向外方へ延長される頭部を有する鉄心と、鉄心の軸部の軸線方向他端に連結されてコイルの外側に延設され、中心軸線に略平行に延びる主部分を含む継鉄とを備え、鉄心の頭部の外縁領域と継鉄の主部分の末端領域とが互いに対向かつ離間して配置され、接極子は、永久磁石をその磁化方向に挟持するとともに磁化方向をコイルの中心軸線に平行に方向付けて配置される第1及び第2の導電板要素を有し、第1の導電板要素の一部分を、鉄心の頭部の外縁領域と継鉄の主部分の末端領域との間に挿入した状態で、中心軸線に平行な方向へ直線移動可能に設置され、力伝達部材は、電磁石の駆動による中心軸線に平行な方向への接極子の直線移動に伴い、中心軸線に平行な方向へ直線移動して、接点部を開閉動作させるように構成され、電磁石は、コイルが巻き付けられる巻枠と、コイルの中心軸線に直交する方向へ整列して巻枠に支持され、コイルを形成する導線がそれぞれに接続される4個のコイル端子とを備えること、を特徴とする有極電磁継電器を提供する。
請求項2に記載の発明は、請求項1に記載の有極電磁継電器において、4個のコイル端子は、それらの整列方向に見て両端に位置する第1及び第2のコイル端子と、第1及び第2のコイル端子の間で第1のコイル端子に近い側に位置する第3のコイル端子と、第1及び第2のコイル端子の間で第2のコイル端子に近い側に位置する第4のコイル端子とを含み、コイルは、第1及び第3のコイル端子に接続される導線により1つの励磁回路を構成するとともに、第2及び第4のコイル端子に接続される導線により他の1つの励磁回路を構成する、有極電磁継電器を提供する。
請求項3に記載の発明は、請求項2に記載の有極電磁継電器において、コイルが2本の導線を有し、1本の導線の両線端部が第1及び第3のコイル端子に接続されるとともに、他の1本の導線の両線端部が第2及び第4のコイル端子に接続されて、互いに電気的に絶縁された2つの励磁回路が構成される、有極電磁継電器を提供する。
請求項4に記載の発明は、請求項1〜3のいずれか1項に記載の有極電磁継電器において、基部は、電磁石を部分的に収容して、電磁石と接点部との間に介在する筒状壁を有し、筒状壁の外面に、コイルの中心軸線に平行な方向へ延びる溝が形成され、力伝達部材は、溝に摺動式に係合する突起を有する、有極電磁継電器を提供する。
請求項5に記載の発明は、請求項1〜4のいずれか1項に記載の有極電磁継電器において、接極子の第1の導電板要素は、鉄心の頭部の外縁領域と継鉄の主部分の末端領域との間に挿入される一部分の、コイルに対向する外縁に、コイルの外周形状に対応する湾曲形状の凹所を有する、有極電磁継電器を提供する。
請求項6に記載の発明は、請求項1〜5のいずれか1項に記載の有極電磁継電器において、接極子の第1及び第2の導電板要素は、導電板素材から打抜き成形した結果のダレを縁に有する表面と、表面の反対側の裏面とを各々に備えて、裏面を互いに対向させた配置で力伝達部材に固定され、第1及び第2の導電板要素の各々に、力伝達部材に対する表面及び裏面の向きを明示する印が設けられる、有極電磁継電器を提供する。
請求項7に記載の発明は、請求項1〜6のいずれか1項に記載の有極電磁継電器において、接極子の第1及び第2の導電板要素の少なくとも一方は、表面及び裏面の少なくとも一方に埋め込まれた非磁性金属層を一体的に備える、有極電磁継電器を提供する。
本発明によれば、接極子と永久磁石とを含む磁性可動体の移動方向、永久磁石の磁化方向、及び力伝達部材の移動方向を、いずれもコイル中心軸線に平行な方向としたことにより、磁性可動体の構造及びその駆動構成が単純化される。その結果、有極電磁継電器の応答性(動作時間)が改善されるとともに、外形寸法及び製造コストが効果的に削減される。また、電磁石の4個のコイル端子が、コイル中心軸線に直交する方向へ整列して巻枠に支持されているから、個々のコイル端子に導線を結線して巻枠上にコイルを形成する自動巻線作業を、断線等の欠陥を生じることなく安全かつ正確に実施することができる。
また、4個のコイル端子を用いて、コイルが2つの励磁回路を構成するようにすれば、動作状態(すなわちメーク接点閉成状態)と復帰状態(すなわちブレーク接点閉成状態)との迅速な切り換えが可能で、しかもいずれの状態においても接点部を安定して接点閉成状態に保持できるものとなる。
このとき、2つの励磁回路を互いに電気的に絶縁することで、それら励磁回路用の2つのコイル部分を巻枠に径方向へ重ねて巻き付ける場合に、それらコイル部分を互いに線径の異なる導線で形成することにより、両コイル部分の巻線効率を均等化することができる。
基部の筒状壁に溝を設けるとともに、溝に係合する突起を力伝達部材に設けた場合には、溝と突起とが互いに協働して、電磁石装置の作動時に、力伝達部材をコイル中心軸線に平行な方向へ案内する。
接極子の第1の導電板要素に凹所を形成すれば、鉄心頭部及び継鉄主部分に交互に吸着される第1の導電板要素の寸法を、所要の吸着力及び剛性を確保できる範囲に維持しつつ、接極子をコイルに可及的に接近させて配置することができる。その結果、遊休空間が排除され、有極電磁継電器の小形化(特に低背化)が促進される。
第1及び第2の導電板要素の各々に、力伝達部材に対する表面及び裏面の向きを明示する印を設ければ、作業者は、印を目視確認することで、各導電板要素の表裏を正確に方向付けて力伝達部材に固定することができる。
第1及び第2の導電板要素の少なくとも一方が、表面及び裏面の少なくとも一方に埋め込まれた非磁性金属層を一体的に備える構成とすれば、接極子が鉄心頭部と継鉄主部分との間で受ける磁気吸引力を適宜に調整でき、しかも、導電板要素が鉄心頭部及び継鉄主部分に対し衝突を繰返した場合にも、めっきに比べて剥離等の構造的欠陥を生じ難いから、長期に渡り、接極子が受ける磁気吸引力を適正に調整した状態を維持することができる。
以下、添付図面を参照して、本発明の実施の形態を詳細に説明する。全図面に渡り、対応する構成要素には共通の参照符号を付す。
まず、図1及び図2を参照して、先行出願(特願2007−255377)に本発明の関連技術として記載した有極電磁継電器10の構成を説明する。
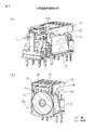
有極電磁継電器10は、基部12と、基部12に組み付けられる電磁石装置14と、電磁石装置14から絶縁されて基部12に組み付けられる接点部16と、電磁石装置14と接点部16との間に配置され、電磁石装置14の作用により移動して接点部16を開閉動作させる力伝達部材18とを備える。
基部12は、電気絶縁性の樹脂成形品からなり、電磁石装置14を設置する第1部分20と、接点部16を設置する第2部分22とを一体に備える(図1)。第1部分20は、電磁石装置14の一部を包囲する筒状壁24を有する。また第2部分22は、接点部16の後述する複数の接点部材を個別に取り付ける複数の取付孔(図示せず)を有する。第1部分20の筒状壁24は、電磁石装置14と接点部16との間に介在して両者間の電気的絶縁を確保する。
電磁石装置14は、電磁石26と、電磁石26によって駆動される接極子28と、接極子28に担持される永久磁石30とを備える。図2に示すように、電磁石26は、巻枠32と、巻枠32に巻き付けて支持され、中心軸線34aを有するコイル34と、巻枠32に受容される鉄心36と、鉄心36に連結されてコイル34の外側に延設される継鉄38とを備える。巻枠32は、電気絶縁性の樹脂成形品であり、所定長さを有する中空円筒状の胴部40と、胴部40の長手方向両端に設けられる環状平板状の第1及び第2鍔部42、44とを有する。コイル34は、巻枠32の胴部40に導線の所要長さ部分を密に巻着して形成され、巻枠32の両鍔部42、44の間に固定的に保持される。
鉄心36は、例えば磁性鋼から形成される柱状部材であり、コイル34の中心軸線34aに沿って配置されて巻枠32の胴部40に収容される円柱状の軸部46と、軸部46の軸線方向一端からコイル34の径方向外方へ延長される平板状の頭部48とを一体に備える(図2)。鉄心36の頭部48は、巻枠32の第1鍔部42の外面上に露出して配置され、その外縁領域48aが、第1鍔部42からコイル径方向外方へ僅かに突出する。
継鉄38は、例えば磁性鋼から形成されるL字板状部材であり、鉄心36の軸部46の、頭部48とは反対側の軸線方向他端46aに、例えばかしめにより固定的に連結されて、コイル34の周辺に磁路を形成する(図2)。継鉄38は、鉄心36の軸部46に連結されて巻枠32の第2鍔部44に沿って配置される短尺の連結部分50と、連結部分50に略直交して配置され、コイル34の一側方に離間してコイル中心軸線34aに略平行に延びる長尺の主部分52とを一体に備える。継鉄38の主部分52の末端領域52aは、巻枠32の第1鍔部42の側方近傍で、鉄心36の頭部48の外縁領域48aに対し、所定間隔を空けて対向配置される。
接極子28は、互いに同一形状でそれぞれが例えば磁性鋼から形成される平板状の第1及び第2の導電板要素54、56を有する。また、永久磁石30は、直方体形状を有し、最長縁を含む一対の側面に、それぞれN極及びS極が形成される。第1及び第2の導電板要素54、56は、互いに間隔を空けて対面配置され、両者間に永久磁石30をその磁化方向(図示のNS極間の磁界の方向)に固定的に挟持するとともに、この磁化方向をコイル34の中心軸線34aに平行に方向付けて、巻枠32の第1鍔部42の側方近傍に配置される(図2)。
接極子28(第1及び第2の導電板要素54、56)は、永久磁石30と協働して、電磁石26の励磁により移動する磁性可動体を構成する。この磁性可動体は、第1の導電板要素54の一部分(図で下半部分)54aを、鉄心36の頭部48の外縁領域48aと継鉄38の主部分52の末端領域52aとの間に挿入した状態で、コイル中心軸線34aに平行な方向(図2の矢印α方向)へ直線往復移動可能に設置される。したがって、接極子28の往復移動範囲は、第1の導電板要素54の下半部分54aが、鉄心36の頭部48の外縁領域48aと継鉄38の主部分52の末端領域52aとのそれぞれに当接される位置を、前後両端の移動限界点として規定される。
図2に示すように、接点部16は、力伝達部材18に連動する可動接点58を担持する可動接点ばね部材60と、可動接点ばね部材60の一方の面に離間かつ対向して配置され、可動接点58に接触可能に対向するメーク固定接点62を担持する第1の固定接点部材64と、第1の固定接点部材64とは反対側で可動接点ばね部材60の他方の面に離間かつ対向して配置され、可動接点58に接触可能に対向するブレーク固定接点66を担持する第2の固定接点部材68とを備えて構成される。可動接点ばね部材60は、例えばばね用燐青銅の薄板から打ち抜いて形成され、力伝達部材18から受ける力に応じて、所要のばね付勢力を発揮する。これら3個の接点部材60、64、68を含む接点部16は、第2の固定接点部材68が基部12の筒状壁24(図1)を介して電磁石26に近い側に配置されるとともに、それぞれの接点58、62、66が電磁石26のコイル34の中心軸線34aに平行な方向へ整列するように配置される。
可動接点ばね部材60が担持する可動接点58は、基部12の第2部分22(図1)の上方で、前述した磁性可動体(接極子28及び永久磁石30)の直線移動動作に対応して揺動的に変位して、その揺動方向に対向するメーク固定接点62及びブレーク固定接点66に対し、交互的に接点開閉動作できるようになっている。なお、可動接点58は、メーク固定接点62に接触するメーク可動接点要素58aと、ブレーク固定接点66に接触するブレーク可動接点要素58bとを含む(図2)。
力伝達部材18は、平面視で略矩形の枠状部材であり、例えば樹脂材料から一体成形される。力伝達部材18は、その矩形輪郭の長軸を、電磁石26のコイル34の中心軸線34aに平行な方向へ配置して、基部12の筒状壁24の上端部分70(図1)に、長手方向摺動可能に支持される。力伝達部材18の長手方向一端には、接点部16の可動接点ばね部材60に係合する一対の着力点72が設けられる。また、力伝達部材18の長手方向他端領域には、接極子28が、第1及び第2の導電板要素54、56の間に永久磁石30を挟持した状態で、固定して連結される。図示実施形態では、力伝達部材18の長手方向他端領域に、接極子28及び永久磁石30を固定的に受容する空所74(図1)が形成され、この空所74に接極子28及び永久磁石30が、例えば圧入や接着剤使用により固定される。接極子28及び永久磁石30を適正に固定した力伝達部材18を、基部12の筒状壁24及び接点部16の可動接点ばね部材60に適正に取り付けると、接極子28及び永久磁石30と電磁石26とが、前述した相対配置に位置決めされる。
有極電磁継電器10は、電磁石装置14、接点部16及び力伝達部材18を収容して基部12に固定されるケース76をさらに備える(図1)。ケース76は、直方体輪郭を有する電気絶縁性の樹脂成形品からなり、直方体輪郭の一面に相当する部分に、電磁石装置14、接点部16及び力伝達部材18を内部に挿入するための開口78が画定される。他方、基部12は、ケース76に固定されたときにケース76から露出して外方へ隆起する隆起部分80aを含む底壁80を有する。基部12の底壁80には、隆起部分80aを囲繞する略平坦な環状面(図示せず)が形成され、この環状面に沿って、ケース76を基部12に固定するための接着剤(図示せず)が塗布される。
以下、有極電磁継電器10の動作を説明する。力伝達部材18は、電磁石26の駆動による前述した接極子28のコイル中心軸線34aに平行な方向への直線移動に伴い、同様にコイル中心軸線34aに平行な方向へ直線移動して、接極子28の動作を接点部16の可動接点ばね部材60に伝達し、以って接点部16を開閉動作させる。ここで、可動接点ばね部材60は、それ自体のばね作用により、可動接点58を第1の固定接点部材64のメーク固定接点62から離れる方向へ弾性付勢し、外力を受けていない状態では、可動接点58(ブレーク可動接点要素58b)を第2の固定接点部材68のブレーク固定接点66に押し付けるように構成されている。
したがって、電磁石26の休止(非励磁)時には、接極子28は、力伝達部材18を介して伝達される可動接点ばね部材60のばね付勢力の下で、第1の導電板要素54の下半部分54aが、継鉄38の主部分52の末端領域52aから離隔して鉄心36の頭部48の外縁領域48aに当接される休止位置に置かれる。このとき、第1の導電板要素54と鉄心36の頭部48との間には、永久磁石30による磁気吸引力が作用し、それにより接点部16は、可動接点58がブレーク固定接点66に導通接触するブレーク接点閉成位置に静止保持される。
この休止位置で、電磁石26がメーク接点閉成方向へ作動する(励磁される)と、電磁石26と永久磁石30との相乗的に作用する磁気吸引力により、接極子28は、第1の導電板要素54の下半部分54aが継鉄38の主部分52の末端領域52aに当接されるとともに、第2の導電板要素56の下半部分56aが鉄心36の頭部48の外縁領域48aに当接される第1の作動位置に変位する(図2)。接極子28のこの直線的な変位動作が、接極子28と一体的に直線移動する力伝達部材18により、接点部16の可動接点ばね部材60に伝達される。第1の作動位置では、第1の導電板要素54と継鉄主部分52との間、及び第2の導電板要素56と鉄心頭部48との間に、電磁石26及び永久磁石30による相乗的な磁気吸引力が作用し、それにより接点部16は、可動接点ばね部材60のばね付勢力に抗して、可動接点58がメーク固定接点62に導通接触するメーク接点閉成位置に安定して静止保持される。
上記した第1の作動位置で電磁石の励磁を止めると、接極子28は、永久磁石30の作用により第1の作動位置に保持され、したがって接点部16も、メーク接点閉成位置に静止保持される。そこで、電磁石26をブレーク接点閉成方向へ作動させる(励磁する)と、電磁石26と永久磁石30との間の磁気反発力により、接極子28は、第1の導電板要素54の下半部分54aが継鉄38の主部分52の末端領域52aから離隔して鉄心36の頭部48の外縁領域48aに当接される第2の作動位置に変位する。この変位動作の間、力伝達部材18は、接点部16の可動接点ばね部材60のばね付勢力を、接極子28に伝えるようにも作用する。第2の作動位置では、第1の導電板要素54と鉄心頭部48との間に、電磁石26及び永久磁石30による相乗的な磁気吸引力が作用し、それにより接点部16は、可動接点58がブレーク固定接点66に導通接触するブレーク接点閉成位置に安定して静止保持される。
上記構成を有する有極電磁継電器10は、電磁石装置14が、磁性可動体である接極子28及び永久磁石30を、電磁石26の作動によりコイル34の中心軸線34aに平行な方向へ直線移動させる構成を有するものであるから、継電器全体のコイル径方向への外形寸法を効果的に削減できる利点を有する。しかも、接極子28を構成する第1及び第2の導電板要素54、56が、永久磁石30をその磁化方向に挟持するとともに磁化方向をコイル中心軸線34aに平行に方向付けるように構成されているから、接極子28と永久磁石30とからなる磁性可動体の構造を単純化及び小形化できる。さらに、電磁石26が、鉄心36とは別部材として、コイル外部に所望の磁路を形成できる継鉄38を用いて、コイル周辺の所望位置に、電磁石26の鉄心36の頭部48の外縁領域48aと継鉄38の主部分52の末端領域52aとが互いに対向かつ離間して配置される接極子駆動空間を容易に確保できるようにしているから、電磁石26と接極子28との相対配置の自由度が向上する。そして、接極子28が、第1の導電板要素54の一部分54aを、この接極子駆動空間に挿入した状態で、コイル中心軸線34aに平行な方向へ直線移動可能に設置されているから、主として第1の導電板要素54の形状及び寸法を最適化することで、接極子28の動作精度を確保できる。このように、有極電磁継電器10においては、接極子28と永久磁石30とを含む磁性可動体の移動方向、永久磁石30の磁化方向、並びに力伝達部材18の移動方向を、いずれもコイル中心軸線34aに平行な方向としたことにより、磁性可動体の構造及びその駆動構成が単純化され、以って、有極電磁継電器10の応答性(動作時間)が改善されるとともに、外形寸法及び製造コストが効果的に削減される。
また、上記構成を有する有極電磁継電器10では、接極子28が、第1及び第2の導電板要素54、56の間に永久磁石30を挟持した状態で、力伝達部材18に固定して連結されるので、接極子28の直線移動動作を力伝達部材18が効率良く正確に接点部16に伝達できる。しかも、力伝達部材18が、コイル中心軸線34aに平行な方向へ長軸を配置する矩形輪郭を有して、その長手方向一端に接点部16への着力点72を備えるとともに、長手方向他端領域(空所74)に接極子28を固定する構成であるから、接極子28及び永久磁石30を含む磁性可動体と接点部16との間を十分に離隔して、両者間の電気的及び磁気的な影響を可及的に低減することができる。
有極電磁継電器10において、電磁石26の巻枠32は、その第1鍔部42(図2)から外方へ延長される延長部分82(図1)をさらに備える。巻枠32の延長部分82には、コイル34を形成する導線84がそれぞれに接続される3個のコイル端子86が、コイル中心軸線34aに直交する方向へ整列して、固定して支持される。なお、巻枠32、コイル34及びコイル端子86から構成される組立体(つまり電磁石26から鉄心36及び継鉄38を除去したもの)を、本願では「コイル組立」と称する。
次に、図3〜図7を参照して、本発明に係る有極電磁継電器の構成を説明する。なお、本発明に係る有極電磁継電器は、主としてコイル組立の構成が異なることを除いて、前述した有極電磁継電器10と実質的同一の構成を有するので、対応する構成要素には共通の参照符号を付して、その詳細な説明を省略する。
図3は、本発明に係る有極電磁継電器のコイル組立90を示す。コイル組立90は、前述した有極電磁継電器10のコイル組立と置換して、電磁石26(図1)を構成することができるものであり、それにより、本発明の一実施形態による有極電磁継電器が提供される。
コイル組立90は、中心軸線92aを有するコイル92と、コイル92が巻き付けられる巻枠94と、巻枠94に固定して支持され、コイル92を形成する導線96がそれぞれに接続される4個のコイル端子98、100、102、104とを備える。巻枠94は、有極電磁継電器10の巻枠32と同様に、中空円筒状の胴部106と、胴部106の長手方向両端に設けられる環状平板状の第1及び第2鍔部108、110と、第1鍔部108から外方へ延長される延長部分112とを備える。コイル92は、巻枠94の胴部106に導線96の所要長さ部分を密に巻着して形成され、巻枠94の両鍔部108、110の間に固定的に保持される。4個のコイル端子98、100、102、104は、巻枠94の延長部分112に、コイル中心軸線92aに直交する方向へ整列して略等間隔に配置されている。
コイル92は、4個のコイル端子98、100、102、104のうちいずれか2個のコイル端子からなる端子対をそれぞれに含む2つの励磁回路を構成する。具体的には、整列方向に見て両端に位置する第1及び第2コイル端子98、100と、第1及び第2のコイル端子98、100の間で第1のコイル端子98に近い側に位置する第3のコイル端子102と、第1及び第2のコイル端子98、100の間で第2のコイル端子100に近い側に位置する第4のコイル端子104とに対し、図示のように一対のコイル電源114が切り換え可能に接続されて、第1及び第3コイル端子98、102が1つの励磁回路116aの端子対を構成し、第2及び第4コイル端子100、104が他の1つの励磁回路116bの端子対を構成するようになっている。これら励磁回路116a、116bはそれぞれ、コイル組立90を有する電磁石(例えば電磁石26)をメーク接点閉成方向及びブレーク接点閉成方向に励磁するための回路であって、図示構成では、コイル92の導線96は、いずれの励磁回路116a、116bにおいても巻枠胴部106に同一方向へ巻着されている。
4個のコイル端子98、100、102、104の各々は、導線96が接続される絡げ部分98a、100a、102a、104aと、絡げ部分98a、100a、102a、104aから離隔した端末部分98b、100b、102b、104bとを有し、絡げ部分98a、100a、102a、104aと端末部分98b、100b、102b、104bとが巻枠94の外方へ突出して配置される。また、巻枠94は、2つの励磁回路116a、116bのそれぞれの端子対における一方のコイル端子(図では第1及び第2コイル端子98、100)の絡げ部分(図では絡げ部分98a、100a)が突出する側の第1表面(図では延長部分112の第1表面112a)と、第1表面の反対側であって、当該一方のコイル端子の端末部分(図では端末部分98b、100b)が突出する側の第2表面(図では延長部分112の第2表面112b)とを備える。
さらに詳述すれば、図示実施形態では、第1及び第2コイル端子98、100は、巻枠94の延長部分112の第1表面112aからコイル中心軸線92aに略直交する方向へ突出する一端の絡げ部分98a、100aと、延長部分112の第2表面112bからコイル中心軸線92aに略直交する方向へ突出する他端の端末部分98b、100bとをそれぞれに有し、絡げ部分98a、100a同士及び端末部分98b、100b同士を互いに平行に配置して延長部分112に設置される。他方、第3及び第4コイル端子102、104は、巻枠94の延長部分112からコイル中心軸線92aに略平行な方向へ突出する一端の絡げ部分102a、104aと、延長部分112の第2表面112bからコイル中心軸線92aに略直交する方向へ突出する他端の端末部分102b、104bとをそれぞれに有し、端末部分102b、104bを第1及び第2コイル端子98、100の端末部分98b、100bに平行に配置して延長部分112に設置される。このような端子形態により、コイル組立90を作製するための、既存の巻線機を用いた自動巻線作業を、円滑に遂行することができる。
このように、上記したコイル組立90では、4個のコイル端子98、100、102、104が、巻枠94の第1鍔部108から外方へ延長される延長部分112に、コイル中心軸線92aに直交する方向へ整列して固定的に支持されているから、個々のコイル端子98、100、102、104に導線96を結線して巻枠94上にコイル92を形成する自動巻線作業を、断線等の欠陥を生じることなく安全かつ正確に実施することができる。したがって、コイル組立90を有する電磁石26(図1)を備えた本発明の一実施形態による有極電磁継電器は、コイル組立90の歩留まりを向上させて製造コストを削減でき、安価でかつ構造信頼性に優れた高品質のものとなる。また、この有極電磁継電器は、コイル92が2つの励磁回路116a、116bを構成しているから、動作状態(すなわちメーク接点閉成状態)と復帰状態(すなわちブレーク接点閉成状態)との迅速な切り換えが可能で、しかもいずれの状態においても接点部16(図1)を安定して接点閉成状態に保持できるものである。
上記したコイル組立90では、連続する1本の導線96によってコイル92の全体を形成し、第1及び第2コイル端子98、100に導線96の両線端部をそれぞれ接続するとともに、第3及び第4コイル端子102、104に導線96の中間部を接続する構成とすることができる。この場合も、第1及び第3コイル端子98、102が1つの励磁回路116aの端子対として機能し、かつ第2及び第4コイル端子100、104が他の1つの励磁回路116bの端子対として機能する。このような構成によれば、導線96でコイル92を形成する自動巻線作業が一層迅速化され、コイル組立90を用いた有極電磁継電器の製造コストが削減される。
或いは、連続する1本の導線96によってコイル92の全体を形成する代わりに、2つの励磁回路116a、116bのそれぞれに互いに異なる導線96を用いて、2本の導線96でコイル92を形成することもできる。この場合、1本の導線96の両線端部が第1及び第3コイル端子98、102に接続され、他の1本の導線96の両線端部が第2及び第4コイル端子100、104に接続されて、2つの励磁回路116a、116bが互いに電気的に絶縁された構成となる。このような構成によれば、例えば、上記した自動巻線作業において、巻枠94の胴部106上で径方向内側に配置される(つまり先に巻かれる)励磁回路116a用のコイル部分と、同径方向外側に配置される(つまり後で巻かれる)励磁回路116b用のコイル部分とを、互いに線径の異なる導線で形成することにより、両コイル部分の巻線効率を均等化することができる。電磁石をメーク接点閉成方向及びブレーク接点閉成方向に励磁するための2つの励磁回路116a、116bの巻線効率を均等化することで、接点部におけるメーク接点閉成動作及びブレーク接点閉成動作の応答性や速度を均等化できる。
上記構成を有するコイル組立90は、4個のコイル端子98、100、102、104の整列方向内側に配置される第3及び第4コイル端子102、104の絡げ部分102a、104aが予め、巻枠94の延長部分112からコイル中心軸線92aに略平行な方向へ突出するように形成されているから、例えばコイル組立90を用いて図1に示す電磁石26を組み立てる際に、図4に示すように、鉄心36の軸部46を巻枠94の第1鍔部108側から胴部106の中に容易に挿入することができる(図4(a))。その後、第3及び第4コイル端子102、104の絡げ部分102a、104aを、巻枠94の延長部分112上で、第1及び第2コイル端子98、100の絡げ部分98a、100aに略平行な位置まで折り曲げることにより、ケース76(図1)に収納可能な形態にすることができる(図4(b))。
本発明に係る有極電磁継電器は、コイル組立90の構成以外にも、前述した有極電磁継電器10の構成に様々な修正を施したものとすることができる。
例えば、図5に示すように、基部12は、電磁石26を部分的に収容して電磁石26と接点部16との間に介在する筒状壁24の外面に、コイル中心軸線92aに平行な方向へ延設される溝118を備えることができる(図5(a))。図示実施形態では、継鉄38の主部分52を収容する筒状壁24の上端部分70の下側に隣接して、筒状壁24の両側面に一対の溝118が、コイル中心軸線92aに平行な方向へ直線状に延設される(図5(b))。他方、力伝達部材18は、平面視で一対の長辺に相当する両側壁の内側に、筒状壁24の一対の溝118に個々に摺動式に係合する一対の突起120を備えることができる(図5(b))。対応する溝118及び突起120は、互いに協働して、電磁石装置14の作動時に、力伝達部材18をコイル中心軸線92aに平行な方向へ案内する。なお、図5に示す力伝達部材18は、図1の力伝達部材18に対し、突起120の周辺の材料を除去して、より軽量化を図ったものとなっている。
また、図6に示すように、接極子28の第1の導電板要素54は、鉄心36の頭部48の外縁領域48aと継鉄38の主部分52の末端領域52aとの間(図2)に挿入される一部分(下半部分)54aの、コイル92に対向する側の外縁に、コイル92の外周形状に対応する湾曲形状の凹所122を有することができる。第1の導電板要素54に凹所122を設けることにより、鉄心頭部48及び継鉄主部分52に交互に吸着される接極子28の第1の導電板要素54の寸法を、所要の吸着力及び剛性を確保できる範囲に維持しつつ、接極子28をコイル92に可及的に接近させて配置することができる。その結果、遊休空間が排除され、有極電磁継電器の小形化(特に低背化)が促進される。なお、第2の導電板要素56も同様に凹所122を有する構成とすることで、第1及び第2の導電板要素54、56に共通部品を使用できる利点が得られる(図7)。
ここで、接極子28の第1及び第2の導電板要素54、56は、磁性鋼板等の導電板素材から打抜き成形した結果として、輪郭に沿った縁にダレが形成される場合がある。このようなダレは、例えば、第1及び第2の導電板要素54、56を力伝達部材18の空所74(図1)に圧入する際に、導電板要素54、56及び力伝達部材18の双方の損傷を防止しつつ円滑な圧入を可能にする面取り部分124(図6、図7)として機能する。そこで、接極子28の圧入工程に際しては、最初に第1及び第2の導電板要素54、56を、そのようなダレ(面取り部分124)を縁に有する表面54b、56bを互いに離反する外側に向けた配置(図7)で、力伝達部材18の空所74に圧入している。そしてその後に、永久磁石30を、力伝達部材18の空所74内に有る第1及び第2の導電板要素54、56の間に圧入する。なお、図6及び図7の例では、各導電板要素54、56の凹所122に隣接する下縁に、打抜き成形時のダレに重ねて後加工した面取り部分124が形成されている。
上記圧入工程において、第1及び第2の導電板要素54、56の、ダレ(面取り部分124)を縁に有する表面54b、56bを、作業者が目視で確認し難いことに起因して、それら導電板要素54、56を表裏反対の配置で力伝達部材18の空所74に圧入してしまう場合がある。このような誤挿入を防止する目的で、第1及び第2の導電板要素54、56の各々に、力伝達部材18に対する表面54b、56b及びその反対側の裏面54c、56cの向きを、作業者が容易に目し確認できるように明示する印を設けることが有利である。図6の例では、各導電板要素54、56の面取り部分124とは反対側の上縁の一方の隅に、印として機能する切欠き126が形成されている。作業者は、第1及び第2の導電板要素54、56を力伝達部材18の空所74に圧入する際に、印(切欠き126)を目視確認することで、各導電板要素54、56の表裏を正確に方向付けて圧入し、両導電板要素54、56の裏面54c、56cを互いに対向させた配置で力伝達部材18に固定することができる。
ところで、有極電磁継電器では、接極子が電磁石から受ける磁気吸引力を適宜に調整する目的で、接極子の表面に非磁性材料の層を形成する場合がある。このような層は、通常、銅等の非磁性金属のめっきによって形成される。しかし、本発明に係る有極電磁継電器は、接極子28が電磁石26の励磁によりコイル中心軸線92a(図3)に平行な方向へ直線移動する構成を有するから、磁気吸引力による各導電板要素54、56と鉄心36の頭部48及び継鉄38の主部分52との衝突速度が比較的大きくなる傾向がある。そのため、各導電板要素54、56の表面に非磁性めっき層を形成した場合には、衝突の繰り返しによりめっき層が剥がれることが危惧される。そこで、本発明に係る有極電磁継電器は、図7に示すように、接極子28の第1及び第2の導電板要素54、56の表面54b、56b及び裏面54c、56cに、銅等の非磁性金属材料の層128を埋め込んで一体化した構成を採用している。
各導電板要素54、56に埋め込んで一体化された非磁性金属層128は、その表面積や厚みを適当に選定することにより、接極子28が鉄心頭部48と継鉄主部分52との間で受ける磁気吸引力を適宜に調整することを可能にする。しかも、各導電板要素54、56が鉄心頭部48及び継鉄主部分52に対して衝突を繰返した場合にも、めっきに比べて剥離等の構造的欠陥を生じ難いから、長期に渡り、接極子28が受ける磁気吸引力を適正に調整した状態を維持することができる。なお、第1及び第2導電板要素54、56に共通部品を用いる場合は、上記したように、各導電板要素54、56の表面54b、56b及び裏面54c、56cの双方に非磁性金属層128を形成することが望ましい。他方、第1及び第2導電板要素54、56に異種部品を用いることが許容される場合は、それら導電板要素54、56の少なくとも一方が、表面54b、56b及び裏面54c、56cの少なくとも一方に非磁性金属層128を埋め込んだ構成であれば良い。
本発明の関連技術による有極電磁継電器を示す分解斜視図である。 図1の有極電磁継電器の主要構成要素を、その機能を説明するべく模式図的に示す断面図である。 本発明の一実施形態による有極電磁継電器で使用されるコイル組立の斜視図である。 図3のコイル組立を用いた電磁石の組立手順を示す図で、(a)鉄心組込前の状態、及び(b)鉄心組込後の状態を示す。 図3のコイル組立を有する有極電磁継電器を、カバー以外の構成要素を適正に組み立てた状態で示す図で、(a)斜視図、及び(b)断面図である。 図3のコイル組立を、接極子及び永久磁石を含む磁性可動体と共に示す斜視図である。 図6の磁性可動体の変形例を示す拡大断面図である。
符号の説明
10 有極電磁継電器
12 基部
14 電磁石装置
16 接点部
18 力伝達部材
24 筒状壁
26 電磁石
28 接極子
30 永久磁石
32、94 巻枠
34、92 コイル
34a、92a 中心軸線
36 鉄心
38 継鉄
40 胴部
46 軸部
48 頭部
48a 外縁領域
52 主部分
52a 末端領域
54 第1の導電板要素
56 第2の導電板要素
54a、56a 一部分
54b、56b 表面
54c、56c 裏面
82、112 延長部分
86、98、100、102、104 コイル端子
90 コイル組立
96 導線
116a、116b 励磁回路
118 溝
120 突起
122 凹所
124 面取り部分
126 切欠き

Claims (7)

  1. 基部と、該基部に組み付けられる電磁石装置と、該電磁石装置から絶縁されて該基部に組み付けられる接点部と、該電磁石装置と該接点部との間に配置され、該電磁石装置の作用により移動して該接点部を開閉動作させる力伝達部材とを具備し、該電磁石装置が、電磁石と、該電磁石によって駆動される接極子と、該接極子に担持される永久磁石とを備えて構成される、有極電磁継電器において、
    前記電磁石は、中心軸線を有するコイルと、該コイルの該中心軸線に沿って配置される軸部及び該軸部の軸線方向一端から該コイルの径方向外方へ延長される頭部を有する鉄心と、該鉄心の該軸部の軸線方向他端に連結されて該コイルの外側に延設され、該中心軸線に略平行に延びる主部分を含む継鉄とを備え、該鉄心の該頭部の外縁領域と該継鉄の該主部分の末端領域とが互いに対向かつ離間して配置され、
    前記接極子は、前記永久磁石をその磁化方向に挟持するとともに該磁化方向を前記コイルの前記中心軸線に平行に方向付けて配置される第1及び第2の導電板要素を有し、該第1の導電板要素の一部分を、前記鉄心の前記頭部の前記外縁領域と前記継鉄の前記主部分の前記末端領域との間に挿入した状態で、前記中心軸線に平行な方向へ直線移動可能に設置され、
    前記力伝達部材は、前記電磁石の駆動による前記中心軸線に平行な方向への前記接極子の直線移動に伴い、前記中心軸線に平行な方向へ直線移動して、前記接点部を開閉動作させるように構成され、
    前記電磁石は、前記コイルが巻き付けられる巻枠と、前記コイルの前記中心軸線に直交する方向へ整列して該巻枠に支持され、前記コイルを形成する導線がそれぞれに接続される4個のコイル端子とを備えること、
    を特徴とする有極電磁継電器。
  2. 前記4個のコイル端子は、それらの整列方向に見て両端に位置する第1及び第2のコイル端子と、該第1及び第2のコイル端子の間で該第1のコイル端子に近い側に位置する第3のコイル端子と、該第1及び第2のコイル端子の間で該第2のコイル端子に近い側に位置する第4のコイル端子とを含み、前記コイルは、該第1及び第3のコイル端子に接続される前記導線により1つの励磁回路を構成するとともに、該第2及び第4のコイル端子に接続される前記導線により他の1つの励磁回路を構成する、請求項1に記載の有極電磁継電器。
  3. 前記コイルが2本の前記導線を有し、1本の前記導線の両線端部が前記第1及び第3のコイル端子に接続されるとともに、他の1本の前記導線の両線端部が前記第2及び第4のコイル端子に接続されて、互いに電気的に絶縁された2つの前記励磁回路が構成される、請求項2に記載の有極電磁継電器。
  4. 前記基部は、前記電磁石を部分的に収容して、前記電磁石と前記接点部との間に介在する筒状壁を有し、該筒状壁の外面に、前記コイルの前記中心軸線に平行な方向へ延びる溝が形成され、前記力伝達部材は、該溝に摺動式に係合する突起を有する、請求項1〜3のいずれか1項に記載の有極電磁継電器。
  5. 前記接極子の前記第1の導電板要素は、前記鉄心の前記頭部の前記外縁領域と前記継鉄の前記主部分の前記末端領域との間に挿入される前記一部分の、前記コイルに対向する外縁に、前記コイルの外周形状に対応する湾曲形状の凹所を有する、請求項1〜4のいずれか1項に記載の有極電磁継電器。
  6. 前記接極子の前記第1及び第2の導電板要素は、導電板素材から打抜き成形した結果のダレを縁に有する表面と、該表面の反対側の裏面とを各々に備えて、該裏面を互いに対向させた配置で前記力伝達部材に固定され、前記第1及び第2の導電板要素の各々に、前記力伝達部材に対する該表面及び該裏面の向きを明示する印が設けられる、請求項1〜5のいずれか1項に記載の有極電磁継電器。
  7. 前記接極子の前記第1及び第2の導電板要素の少なくとも一方は、前記表面及び前記裏面の少なくとも一方に埋め込まれた非磁性金属層を一体的に備える、請求項1〜6のいずれか1項に記載の有極電磁継電器。
JP2008196886A 2008-07-30 2008-07-30 有極電磁継電器 Active JP5106299B2 (ja)

Priority Applications (1)

Application Number Priority Date Filing Date Title
JP2008196886A JP5106299B2 (ja) 2008-07-30 2008-07-30 有極電磁継電器

Applications Claiming Priority (1)

Application Number Priority Date Filing Date Title
JP2008196886A JP5106299B2 (ja) 2008-07-30 2008-07-30 有極電磁継電器

Publications (2)

Publication Number Publication Date
JP2010033965A true JP2010033965A (ja) 2010-02-12
JP5106299B2 JP5106299B2 (ja) 2012-12-26

Family

ID=41738188

Family Applications (1)

Application Number Title Priority Date Filing Date
JP2008196886A Active JP5106299B2 (ja) 2008-07-30 2008-07-30 有極電磁継電器

Country Status (1)

Country Link
JP (1) JP5106299B2 (ja)

Cited By (2)

* Cited by examiner, † Cited by third party
Publication number Priority date Publication date Assignee Title
JP2015041608A (ja) * 2013-08-23 2015-03-02 オムロン株式会社 電磁石装置およびこれを用いた電磁継電器
CN113160664A (zh) * 2021-04-27 2021-07-23 刘雪婷 服装设计与工程教学专用操作台

Citations (3)

* Cited by examiner, † Cited by third party
Publication number Priority date Publication date Assignee Title
JPS58181227A (ja) * 1982-04-19 1983-10-22 日本電気株式会社 有極電磁継電器
JPS6178106A (ja) * 1984-09-25 1986-04-21 Matsushita Electric Works Ltd 電磁石装置
JPH03254035A (ja) * 1990-03-02 1991-11-13 Fujitsu Ltd 二捲線継電器

Patent Citations (3)

* Cited by examiner, † Cited by third party
Publication number Priority date Publication date Assignee Title
JPS58181227A (ja) * 1982-04-19 1983-10-22 日本電気株式会社 有極電磁継電器
JPS6178106A (ja) * 1984-09-25 1986-04-21 Matsushita Electric Works Ltd 電磁石装置
JPH03254035A (ja) * 1990-03-02 1991-11-13 Fujitsu Ltd 二捲線継電器

Cited By (2)

* Cited by examiner, † Cited by third party
Publication number Priority date Publication date Assignee Title
JP2015041608A (ja) * 2013-08-23 2015-03-02 オムロン株式会社 電磁石装置およびこれを用いた電磁継電器
CN113160664A (zh) * 2021-04-27 2021-07-23 刘雪婷 服装设计与工程教学专用操作台

Also Published As

Publication number Publication date
JP5106299B2 (ja) 2012-12-26

Similar Documents

Publication Publication Date Title
JP5142652B2 (ja) 有極電磁継電器及びコイル組立
JP4471859B2 (ja) 電磁継電器
JP4190379B2 (ja) 複合型電磁継電器
JP5991778B2 (ja) 電磁継電器
JP6168785B2 (ja) 有極電磁継電器
EP2328165B1 (en) Electromagnetic relay
JP2014049315A (ja) 電磁継電器
JP4212248B2 (ja) 電磁継電器
JP5106299B2 (ja) 有極電磁継電器
JP5566517B2 (ja) 電磁石の製造方法
JP6714947B2 (ja) 気中遮断器
JP2009211831A (ja) リレー
JP4363462B2 (ja) 高周波リレー
JP3937483B2 (ja) 電磁継電器
JP6624384B2 (ja) 電磁継電器
JP2004342589A (ja) リレー
JP6697732B2 (ja) 電磁継電器
JP2012199142A (ja) 接点装置及びそれを用いた電磁開閉装置
JP2025043190A (ja) 電磁継電器
JP3089767B2 (ja) 端子構造
JPH0112369Y2 (ja)
JP2018037164A (ja) 外部端子及び電磁リレー
JPH04277429A (ja) 電磁継電器
JP2015201551A (ja) 電磁アクチュエータ、電磁アクチュエータの製造方法および電磁リレー

Legal Events

Date Code Title Description
A621 Written request for application examination

Free format text: JAPANESE INTERMEDIATE CODE: A621

Effective date: 20110609

TRDD Decision of grant or rejection written
A01 Written decision to grant a patent or to grant a registration (utility model)

Free format text: JAPANESE INTERMEDIATE CODE: A01

Effective date: 20120904

A01 Written decision to grant a patent or to grant a registration (utility model)

Free format text: JAPANESE INTERMEDIATE CODE: A01

A61 First payment of annual fees (during grant procedure)

Free format text: JAPANESE INTERMEDIATE CODE: A61

Effective date: 20121002

R150 Certificate of patent or registration of utility model

Ref document number: 5106299

Country of ref document: JP

Free format text: JAPANESE INTERMEDIATE CODE: R150

Free format text: JAPANESE INTERMEDIATE CODE: R150

FPAY Renewal fee payment (event date is renewal date of database)

Free format text: PAYMENT UNTIL: 20151012

Year of fee payment: 3

S531 Written request for registration of change of domicile

Free format text: JAPANESE INTERMEDIATE CODE: R313531

R350 Written notification of registration of transfer

Free format text: JAPANESE INTERMEDIATE CODE: R350

R250 Receipt of annual fees

Free format text: JAPANESE INTERMEDIATE CODE: R250

R250 Receipt of annual fees

Free format text: JAPANESE INTERMEDIATE CODE: R250

R250 Receipt of annual fees

Free format text: JAPANESE INTERMEDIATE CODE: R250

R250 Receipt of annual fees

Free format text: JAPANESE INTERMEDIATE CODE: R250

R250 Receipt of annual fees

Free format text: JAPANESE INTERMEDIATE CODE: R250

R250 Receipt of annual fees

Free format text: JAPANESE INTERMEDIATE CODE: R250

R250 Receipt of annual fees

Free format text: JAPANESE INTERMEDIATE CODE: R250

R250 Receipt of annual fees

Free format text: JAPANESE INTERMEDIATE CODE: R250

R250 Receipt of annual fees

Free format text: JAPANESE INTERMEDIATE CODE: R250

R250 Receipt of annual fees

Free format text: JAPANESE INTERMEDIATE CODE: R250

R250 Receipt of annual fees

Free format text: JAPANESE INTERMEDIATE CODE: R250