JP2010032397A - 位置測定装置および位置測定方法 - Google Patents
位置測定装置および位置測定方法 Download PDFInfo
- Publication number
- JP2010032397A JP2010032397A JP2008195559A JP2008195559A JP2010032397A JP 2010032397 A JP2010032397 A JP 2010032397A JP 2008195559 A JP2008195559 A JP 2008195559A JP 2008195559 A JP2008195559 A JP 2008195559A JP 2010032397 A JP2010032397 A JP 2010032397A
- Authority
- JP
- Japan
- Prior art keywords
- radio wave
- emission source
- wave emission
- self
- information
- Prior art date
- Legal status (The legal status is an assumption and is not a legal conclusion. Google has not performed a legal analysis and makes no representation as to the accuracy of the status listed.)
- Granted
Links
- 238000000691 measurement method Methods 0.000 title claims description 9
- 238000004891 communication Methods 0.000 claims abstract description 43
- 238000001514 detection method Methods 0.000 claims description 31
- 238000005259 measurement Methods 0.000 claims description 31
- 230000010365 information processing Effects 0.000 claims description 13
- 238000000034 method Methods 0.000 claims description 7
- 230000002123 temporal effect Effects 0.000 claims 2
- 238000010586 diagram Methods 0.000 description 18
- 238000010295 mobile communication Methods 0.000 description 5
- 230000005540 biological transmission Effects 0.000 description 3
- 238000005516 engineering process Methods 0.000 description 3
- 238000013459 approach Methods 0.000 description 1
- 230000000593 degrading effect Effects 0.000 description 1
- 238000012544 monitoring process Methods 0.000 description 1
- 238000012545 processing Methods 0.000 description 1
Images
Landscapes
- Position Fixing By Use Of Radio Waves (AREA)
Abstract
【解決手段】 位置測定装置は同一経路を同一速度かつ一定の間隔を置いて移動しながら電波発射源20からの電波を受信しかつ自己位置情報を取得する複数の移動体受信部1a,1bと、複数の移動体受信部1a,1bが受信する受信信号および自己位置情報を複数の移動体受信部1a,1bから取得する基地局通信部2と、基地局通信部2から受信信号および自己位置情報を取得し、それらの受信信号および自己位置情報に基づき電波発射源20の位置曲線を演算し、異なる時刻における複数の位置曲線の交点から電波発射源の位置を測定する電波発射源位置測定部10とを含む。
【選択図】 図1
Description
2 基地局通信部
3 周波数差検出部
4 位置情報処理部
5 位置曲線演算部
6 発射源位置演算部
7 制御部
8 プログラム格納部
10 電波発射源位置測定部
20 電波発射源
31 受信アンテナ
32 受信部
33 位置取得部
34 移動体通信部
41 乗算部
42 信号検出部
51a,51b FM検波部
52 減算部
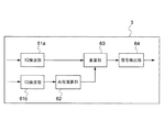
61a,61b IQ検波部
62 共役演算部
63 乗算部
64 信号検出部
Claims (11)
- 同一経路を同一速度かつ一定の間隔を置いて移動しながら電波発射源からの電波を受信しかつ自己位置情報を取得する複数の移動体受信部と、
前記複数の移動体受信部が受信する受信信号および自己位置情報を前記複数の移動体受信部から取得する基地局通信部と、
前記基地局通信部から前記受信信号および自己位置情報を取得し、それらの受信信号および自己位置情報に基づき前記電波発射源の位置曲線を演算し、異なる時刻における複数の前記位置曲線の交点から前記電波発射源の位置を測定する電波発射源位置測定部とを含むことを特徴とする位置測定装置。 - 前記電波発射源位置測定部は、前記基地局通信部から2つの前記受信信号を取得し、2つの前記受信信号間の周波数差を検出する周波数差検出部と、
前記基地局通信部から2つの自己位置情報を取得し、2つの前記移動体受信部の位置情報の時間変化から信号受信時の前記移動体受信部の位置情報および速度情報を算出する位置情報処理部と、
前記周波数差検出部で検出される周波数差と、前記位置情報処理部で検出される位置情報および速度情報とに基づき前記電波発射源の位置曲線を演算する位置曲線演算部と、
複数の前記位置曲線の交点から前記電波発射源の位置を演算する発射源位置演算部とを含むことを特徴とする請求項1記載の位置測定装置。 - 前記周波数差検出部は、2つの受信信号をFM(Frequency Modulation)検波し、差分をとることにより2つの前記受信信号間の周波数差を検出することを特徴とする請求項2記載の位置測定装置。
- 前記周波数差検出部は、2つの受信信号をIQ(In−phase Quadrature phase)検波して複素受信信号に変換し、2つの信号間を乗算して受信信号間の位相差を求め、その位相差に基づき2つの前記受信信号間の周波数差を検出すること特徴とする請求項2記載の位置測定装置。
- 異なる経路を異なる速度かつ異なる間隔を置いて移動しながら電波発射源からの電波を受信しかつ自己位置情報を取得する複数の移動体受信部と、
前記複数の移動体受信部が受信する受信信号および自己位置情報を前記複数の移動体受信部から取得する基地局通信部と、
前記基地局通信部から前記受信信号および自己位置情報を取得し、それらの受信信号および自己位置情報に基づき前記電波発射源の位置曲線を演算し、異なる時刻における複数の前記位置曲線の交点から前記電波発射源の位置を測定する電波発射源位置測定部とを含むことを特徴とする位置測定装置。 - 複数の移動体受信部により実行され、同一経路を同一速度かつ一定の間隔を置いて移動しながら電波発射源からの電波を受信しかつ自己位置情報を取得する電波受信ステップと、
基地局通信部により実行され、前記複数の移動体受信部が受信する受信信号および自己位置情報を前記複数の移動体受信部から取得する情報取得ステップと、
電波発射源位置測定部により実行され、前記基地局通信部から前記受信信号および自己位置情報を取得し、それらの受信信号および自己位置情報に基づき前記電波発射源の位置曲線を演算し、異なる時刻における複数の前記位置曲線の交点から前記電波発射源の位置を測定する位置測定ステップとを含むことを特徴とする位置測定方法。 - 前記位置測定ステップは、前記基地局通信部から2つの前記受信信号を取得し、2つの前記受信信号間の周波数差を検出する周波数差検出ステップと、
前記基地局通信部から2つの自己位置情報を取得し、2つの前記移動体受信部の位置情報の時間変化から信号受信時の前記移動体受信部の位置情報および速度情報を算出する位置情報処理ステップと、
前記周波数差検出ステップで検出される周波数差と、前記位置情報処理ステップで検出される位置情報および速度情報とに基づき前記電波発射源の位置曲線を演算する位置曲線演算ステップと、
複数の前記位置曲線の交点から前記電波発射源の位置を演算する発射源位置演算ステップとを含むことを特徴とする請求項6記載の位置測定方法。 - 前記周波数差検出ステップは、2つの受信信号をFM(Frequency Modulation)検波し、差分をとることにより2つの前記受信信号間の周波数差を検出する特徴とする請求項7記載の位置測定方法。
- 前記周波数差検出ステップは、2つの受信信号をIQ(In−phase Quadrature phase)検波して複素受信信号に変換し、2つの信号間を乗算して受信信号間の位相差を求め、その位相差に基づき2つの前記受信信号間の周波数差を検出すること特徴とする請求項7記載の位置測定方法。
- 複数の移動体受信部により実行され、異なる経路を異なる速度かつ異なる間隔を置いて移動しながら電波発射源からの電波を受信しかつ自己位置情報を取得する電波受信ステップと、
基地局通信部により実行され、前記複数の移動体受信部が受信する受信信号および自己位置情報を前記複数の移動体受信部から取得する情報取得ステップと、
電波発射源位置測定部により実行され、前記基地局通信部から前記受信信号および自己位置情報を取得し、それらの受信信号および自己位置情報に基づき前記電波発射源の位置曲線を演算し、異なる時刻における複数の前記位置曲線の交点から前記電波発射源の位置を測定する位置測定ステップとを含むことを特徴とする位置測定方法。 - 同一経路を同一速度かつ一定の間隔を置いて移動しながら電波発射源からの電波を受信しかつ自己位置情報を取得する複数の移動体受信部を含む位置測定装置における位置測定方法のプログラムであって、
コンピュータに、基地局通信部により実行され、前記複数の移動体受信部が受信する受信信号および自己位置情報を前記複数の移動体受信部から取得する情報取得ステップと、
電波発射源位置測定部により実行され、前記基地局通信部から前記受信信号および自己位置情報を取得し、それらの受信信号および自己位置情報に基づき前記電波発射源の位置曲線を演算し、異なる時刻における複数の前記位置曲線の交点から前記電波発射源の位置を測定する位置測定ステップとを実行させるためのプログラム。
Priority Applications (1)
| Application Number | Priority Date | Filing Date | Title |
|---|---|---|---|
| JP2008195559A JP5359094B2 (ja) | 2008-07-30 | 2008-07-30 | 位置測定装置および位置測定方法 |
Applications Claiming Priority (1)
| Application Number | Priority Date | Filing Date | Title |
|---|---|---|---|
| JP2008195559A JP5359094B2 (ja) | 2008-07-30 | 2008-07-30 | 位置測定装置および位置測定方法 |
Publications (2)
| Publication Number | Publication Date |
|---|---|
| JP2010032397A true JP2010032397A (ja) | 2010-02-12 |
| JP5359094B2 JP5359094B2 (ja) | 2013-12-04 |
Family
ID=41737040
Family Applications (1)
| Application Number | Title | Priority Date | Filing Date |
|---|---|---|---|
| JP2008195559A Expired - Fee Related JP5359094B2 (ja) | 2008-07-30 | 2008-07-30 | 位置測定装置および位置測定方法 |
Country Status (1)
| Country | Link |
|---|---|
| JP (1) | JP5359094B2 (ja) |
Cited By (3)
| Publication number | Priority date | Publication date | Assignee | Title |
|---|---|---|---|---|
| JP2011085391A (ja) * | 2009-10-13 | 2011-04-28 | Nec Corp | 位置測定方法及び位置測定装置 |
| JP2011153877A (ja) * | 2010-01-27 | 2011-08-11 | Nec Corp | 位置測定装置および位置測定方法 |
| JP2015025691A (ja) * | 2013-07-25 | 2015-02-05 | 日本電気株式会社 | 電波監視装置および電波監視方法 |
Citations (2)
| Publication number | Priority date | Publication date | Assignee | Title |
|---|---|---|---|---|
| JPH05302971A (ja) * | 1992-04-10 | 1993-11-16 | Nec Corp | 電波源位置標定システム |
| JP2003507747A (ja) * | 1999-08-19 | 2003-02-25 | キネテイツク・リミテツド | 未知の信号の発信源を位置探知するための方法および装置 |
-
2008
- 2008-07-30 JP JP2008195559A patent/JP5359094B2/ja not_active Expired - Fee Related
Patent Citations (2)
| Publication number | Priority date | Publication date | Assignee | Title |
|---|---|---|---|---|
| JPH05302971A (ja) * | 1992-04-10 | 1993-11-16 | Nec Corp | 電波源位置標定システム |
| JP2003507747A (ja) * | 1999-08-19 | 2003-02-25 | キネテイツク・リミテツド | 未知の信号の発信源を位置探知するための方法および装置 |
Cited By (3)
| Publication number | Priority date | Publication date | Assignee | Title |
|---|---|---|---|---|
| JP2011085391A (ja) * | 2009-10-13 | 2011-04-28 | Nec Corp | 位置測定方法及び位置測定装置 |
| JP2011153877A (ja) * | 2010-01-27 | 2011-08-11 | Nec Corp | 位置測定装置および位置測定方法 |
| JP2015025691A (ja) * | 2013-07-25 | 2015-02-05 | 日本電気株式会社 | 電波監視装置および電波監視方法 |
Also Published As
| Publication number | Publication date |
|---|---|
| JP5359094B2 (ja) | 2013-12-04 |
Similar Documents
| Publication | Publication Date | Title |
|---|---|---|
| US11474258B2 (en) | System for determining a physical metric such as position | |
| EP2816374B1 (en) | Vehicle positioning in high-reflection environments | |
| JP4781313B2 (ja) | マルチパス検出装置、測位装置、姿勢方位標定装置、マルチパス検出方法およびマルチパス検出プログラム | |
| EP2572545B1 (en) | Determining the geographic locaton of a portable electronic device | |
| US8370064B1 (en) | Integrated global navigation satellite system and inertial navigation system for navigation and tracking | |
| US20160131751A1 (en) | Doppler aided inertial navigation | |
| EP3215864A1 (en) | Determining the geographic location of a portable electronic device with a synthetic antenna array | |
| JP5599371B2 (ja) | 測位装置 | |
| US20230261767A1 (en) | System and method for determining a direction of arrival of a radio signal being emitted by a radio emitter and a geolocation of the radio emitter using a single antenna | |
| JP5359094B2 (ja) | 位置測定装置および位置測定方法 | |
| WO2020149014A1 (ja) | 衛星選択装置、及びプログラム | |
| JP2006349515A (ja) | 変位計測システム及び変位計測方法 | |
| JP2014010110A (ja) | 測角装置及び測角方法 | |
| US20150192678A1 (en) | Satellite positioning method, satellite positioning apparatus, and computer-readable medium | |
| JP5326982B2 (ja) | 位置測定方法及び位置測定装置 | |
| JP6261831B1 (ja) | 測位装置及び測位方法 | |
| JP4215264B2 (ja) | 位置及び姿勢推定装置 | |
| JPH08114664A (ja) | ソノブイ位置検出方式 | |
| JP2019178974A (ja) | 移動端末の位置測位方法、通信装置、及び、移動端末 | |
| JP5392112B2 (ja) | 位置測定装置および位置測定方法 | |
| KR200364690Y1 (ko) | 전파 방향 탐지기를 이용한 전파원 위치 탐지 시스템 | |
| RU2671921C2 (ru) | Способ определения погрешностей при траекторных измерениях межпланетных космических аппаратов за счет распространения радиосигналов в ионосфере земли и межпланетной плазме | |
| WO2017109951A1 (ja) | 速度推定装置 | |
| JP2004198120A (ja) | 監視装置 | |
| JPH08110373A (ja) | ソノブイ位置評定装置 |
Legal Events
| Date | Code | Title | Description |
|---|---|---|---|
| A621 | Written request for application examination |
Free format text: JAPANESE INTERMEDIATE CODE: A621 Effective date: 20110513 |
|
| A977 | Report on retrieval |
Free format text: JAPANESE INTERMEDIATE CODE: A971007 Effective date: 20120809 |
|
| A131 | Notification of reasons for refusal |
Free format text: JAPANESE INTERMEDIATE CODE: A131 Effective date: 20121002 |
|
| A521 | Request for written amendment filed |
Free format text: JAPANESE INTERMEDIATE CODE: A523 Effective date: 20121203 |
|
| TRDD | Decision of grant or rejection written | ||
| A01 | Written decision to grant a patent or to grant a registration (utility model) |
Free format text: JAPANESE INTERMEDIATE CODE: A01 Effective date: 20130806 |
|
| A61 | First payment of annual fees (during grant procedure) |
Free format text: JAPANESE INTERMEDIATE CODE: A61 Effective date: 20130819 |
|
| R150 | Certificate of patent or registration of utility model |
Ref document number: 5359094 Country of ref document: JP Free format text: JAPANESE INTERMEDIATE CODE: R150 Free format text: JAPANESE INTERMEDIATE CODE: R150 |
|
| LAPS | Cancellation because of no payment of annual fees |
