JP2010032366A - 電子式指示計器 - Google Patents

電子式指示計器 Download PDF

Info

Publication number
JP2010032366A
JP2010032366A JP2008194904A JP2008194904A JP2010032366A JP 2010032366 A JP2010032366 A JP 2010032366A JP 2008194904 A JP2008194904 A JP 2008194904A JP 2008194904 A JP2008194904 A JP 2008194904A JP 2010032366 A JP2010032366 A JP 2010032366A
Authority
JP
Japan
Prior art keywords
setting
display
unit
key
electronic
Prior art date
Legal status (The legal status is an assumption and is not a legal conclusion. Google has not performed a legal analysis and makes no representation as to the accuracy of the status listed.)
Granted
Application number
JP2008194904A
Other languages
English (en)
Other versions
JP5129056B2 (ja
Inventor
Shinji Shinohara
慎二 篠原
Masahiro Ishizaka
昌大 石阪
Yuji Kame
裕二 亀
Current Assignee (The listed assignees may be inaccurate. Google has not performed a legal analysis and makes no representation or warranty as to the accuracy of the list.)
Mitsubishi Electric Corp
Original Assignee
Mitsubishi Electric Corp
Priority date (The priority date is an assumption and is not a legal conclusion. Google has not performed a legal analysis and makes no representation as to the accuracy of the date listed.)
Filing date
Publication date
Application filed by Mitsubishi Electric Corp filed Critical Mitsubishi Electric Corp
Priority to JP2008194904A priority Critical patent/JP5129056B2/ja
Priority to CN2009100072653A priority patent/CN101639494B/zh
Publication of JP2010032366A publication Critical patent/JP2010032366A/ja
Application granted granted Critical
Publication of JP5129056B2 publication Critical patent/JP5129056B2/ja
Expired - Fee Related legal-status Critical Current
Anticipated expiration legal-status Critical

Links

Images

Landscapes

  • Measurement Of Current Or Voltage (AREA)
  • Controls And Circuits For Display Device (AREA)
  • Measurement Of Resistance Or Impedance (AREA)

Abstract

【課題】主要な設定項目を一覧で表示することによる設定内容の確認が容易で、さらに設定内容変更時に不要なキー操作を減少することにより、設定操作ミスを軽減することができる電子式指示計器を得る。
【解決手段】電路から入力された電流、電圧から演算された計測値や設定内容を表示する表示部を備え、この表示部に、設定項目ごとに割り当てられた表示面を有し、上記表示面には個々の設定項目、選択内容を予め数値化した設定コード表に従ったコード(数値)を表示させるようにしたもの。
【選択図】図1

Description

この発明は、例えば三相交流回路の電圧と電流を計測し、電圧、電流、電力、無効電力、力率、周波数などの電気量を演算して設定・表示する電子式指示計器に係り、特に、設定項目の表示方式の改良に関するものである。
従来の電子式指示計器は、設定項目表示欄と設定内容表示欄とを有する主表示部と、選択された設定項目との関係で定まる設定内容一覧表示が可能な一覧ガイド表示部と、この表示部の所定位置の表示項目に対し必要な操作処理を行うための操作部とを備えている。そして、この操作部は、例えば、所望する表示項目の位置に向けて左右方向からのカーソルの移動を可能にするようなカーソル移動キーや、このカーソルにより選択された特定位置の表示項目との対応でその表示内容を変更するためのプラスキーとマイナスキーとからなるセレクトキーなどを備えている。
上記主表示部における設定項目表示欄、設定内容表示欄の設定内容を変更したいとき、一覧ガイド表示部に一覧表示されているすべての設定内容を確認することで、選択可能な設定内容を予見性をもって知ることができ、操作部を介しての設定内容の変更処理を迅速に行うようにしたものが既に提案されている。(例えば特許文献1を参照)
ところが、上記特許文献1のものでも、設定項目に応じた設定内容を選択的に設定することが必要である。すなわち、特定の設定項目表示欄の表示、例えば一次電流についての設定項目表示欄が表示されるまでは順次表示を切替える必要があり、その後、この設定内容表示欄に表示させるべく予め用意されている具体的な設定内容、つまり設定可能な一次電流値を個別に順次表示させ、所望する設定内容が表示されるまでの間、その変更処理を繰り返し行うことで所望の設定内容を選択的に設定していた。
特公平7−11434号公報
従来の電子式指示計器は以上のように構成されており、また表示部のセグメント数が限られているため一度に複数の設定項目を表示することができず、一つの設定項目のみ表示すると共に一項目毎に設定内容を変更して設定内容を確認する方法しか考えられなかった。しかし、上記の表示では相線式設定、一次電圧設定、一次電流設定、表示パターン設定、アナログ出力設定、パルス出力設定など設定項目毎に画面を順次切替えて設定・設定内容確認を行う必要がある。そのため設定内容の確認をしたい場合、キーにより順次画面を切替えて一項目ずつ確認しなければならないという煩わしさがあった。
また、例えば一次電流設定から一次電圧設定に変更を行いたい場合、設定変更不要な相線式設定、一次電圧設定などの設定画面を順次通過した後、一次電圧の設定画面に到達し、設定変更を行わなければならない。そのため、設定画面切替えのためのキー操作回数の増加により、選択操作ミスが起こるという問題があった。
本発明は、上記のような課題を解決するためになされたもので、設定項目をコード化(数値化)することにより、一画面に設定項目の一覧を表示させ、設定・設定内容確認時に画面を切替える煩わしさをなくすことができる電子式指示計器を得るものである。
本発明に係る電子式指示計器は、電路から入力された電流、電圧から各種計測値を演算する計測演算部と、この計測演算部で演算した計測値や設定内容を表示する表示部と、上記計測演算部による計測演算や、上記表示部における表示のための各種設定、表示内容の切替え制御を行う表示制御部と、この表示制御部の切替え操作を行う操作部と、各設定項目の選択可能な設定値を記憶する選択内容記憶部と、上記操作部により入力された数字を上記選択内容記憶部に照会するデコード化部と、上記選択内容記憶部の選択内容をコード化(数値化)し、上記表示制御部に送るコード化部とを備え、上記表示部には設定項目ごとに割り当てられた表示面を有し、上記表示面には個々の設定項目、選択内容を予め数値化した設定コード表に従ったコード(数値)を表示させるようにしたことを特徴とするものである。
本発明に係る電子式指示計器によれば、主要な設定項目をコード化して一画面に表示させることにより、不要な画面切替えをなくし、設定作業、設定変更作業、設定内容確認作業を効率化することができる。
実施の形態1.
図1は、本発明の実施形態1における電子式指示計器の主要構成を示すブロック図であ
る。図1において、電子式指示計器100は、電路1から入力された電流、電圧から電圧、電流、電力、無効電力、力率、周波数などの各種電気量を演算する計測演算部2と、この計測演算部2で演算した計測値や設定項目を表示する表示部3と、上記計測演算部2による計測演算や、上記表示部3における表示のための各種設定や表示内容の切替え制御を行う表示制御部4と、この表示制御部4の切替え操作を行う操作部5を備えている。
上記電子式指示計器100は、更に、相線式設定記憶部6a、一次電流設定記憶部6b、一次電圧設定記憶部6c、アナログ出力設定記憶部6d、パルス出力設定記憶部6e等の各設定項目の選択可能な設定値を記憶する選択内容記憶部6と、操作部5により入力された数字を選択内容記憶部6に照会するデコード化部7と、上記選択内容記憶部6の選択内容をコード化(数値化)し、表示制御部4に送るコード化部8と、決定された設定値を記憶し、計測演算に反映させる設定値記憶部9と、計測値に応じた電流またはパルスを出力する出力部19から構成されている。
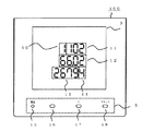
図2は、本発明の実施形態1における電子式指示計器の正面図である。図2において、表示部3は、一画面上に設定項目ごとに割り当てられた桁数を有する設定項目表示面からなっており、例えば、相線式の設定を表示する相線式設定表示部10(一桁)と、電路1の定格電流の設定を表示する一次電流設定表示部11(三桁)と、電路1の定格電圧の設定を表示する一次電圧設定表示部12(四桁)と、アナログ出力を行う計測項目の選択を表示するアナログ出力設定表示部13(四桁)と、パルス出力の設定内容を表示するパルス出力設定表示部14(一桁)から構成される。
上記表示面には個々の設定項目、選択内容を予め数値化した設定コード表に従ったコード(数値)を表示することにより、後述するように、一画面で各種設定、設定内容の確認を行うようになっている。また、操作部5は設定モードと計測モードの切替えや選択内容決定時に使用する設定キー15と、選択内容を切替えるマイナスキー16、プラスキー17と、選択内容取り消し時に使用するリセットキー18から構成される。
図3は設定コード表の実施例で、各設定項目と選択内容の対応と、その表示例が記載されている。例えば相線式設定表示部10については、「1」は三相3線式、「2」は三相
4線式、「3」は単相3線式、「4」は単相2線式と関連付けされている。次に一次電流設定表示部11については、設定コードが3桁で構成されており、「上位2桁」の数字と、「下位1桁」を10のべき数とした一次電流値を表している。ここでは1000Aの場合を示している。
次に一次電圧設定表示部12については、設定コードが4桁で構成されており「上位3桁」の数字と、「下位1桁」を10のべき数とした一次電圧値を表している。ここでは6600Vの場合を示している。次にアナログ出力設定表示部13については、設定コードがCH1からCH4の4桁で構成されており、CH1はアナログ出力なしが「0」、R相電流が「1」、S相電流が「2」、T相電流が「3」に関連付けされており、CH2はR−S相間電圧が「4」、S−T相間電圧が「5」、T−R相間電圧が「6」に関連付けされており、CH3は有効電力が「7」、無効電力が「8」に、更に、CH4は力率「9」にそれぞれ関連付けられている。
なお、上記表示例ではアナログ出力として、CH1がS相電流、CH2がT−R相間電圧、CH3が有効電力、CH4が力率の場合を示している。また、出力部19から出力されるパルス出力についても同様に数字が各設定値に関連付けされている。「1」はパルス出力なし、「2」は1kWh/pulse、「3」は0.1kWh/pulse、「4」は0.001kWh/pulseに関連付けられており、この表示例では、パルス出力が0.001kWh/pulseの場合を示している。
図4は、このような構成からなる電子式指示計器を用いた設定内容表示方式の一例を処理手順に従って説明するフローチャートである。
図4のフローチャートにおいて、先ず、操作部5(図2)における設定キー15により計測モードから設定モードに切替える(S101)。
次いでプラスキー17またはマイナスキー16を押すことによりカーソルを移動させ、所望の設定項目表示部を選択し、設定キー15により決定する(S102)。
今、相線式を変更する場合、プラスキー17またはマイナスキー16を押す毎に、相線式設定表示部10の表示は「1」〜「4」に切替わる(S103)。図3の設定コード表を用いて所望の相線式に対応した数字を選択し(S104)、設定キー15を押すことにより決定する(S105)。他に設定変更がない場合は設定キー15により、計測モードに切替えて設定を終了する(S118)。また、続けて他の設定項目を変更する場合はS102で再び所望の設定項目表示部を選択し、設定キーにより例えば一次電流を決定する(S106)。
一次電流を変更する場合、プラスキー17またはマイナスキー16を押す毎に、一次電流設定表示部11の最上位桁の数字が切り替わり、所望の値で設定キー15により決定する。次にプラスキー17またはマイナスキー16を押す毎に一次電流設定表示部11の上位2桁目の数字が切り替わり、所望の値で設定キー15により決定する。次にプラスキー17またはマイナスキー16を押す毎に10のべき数を表す一次電流設定表示部11の最下位桁の数字が切り替わり(S107)、所望の値で設定キー15により決定する(S108)。他に設定変更がない場合は設定キー15により、計測モードに切替えて設定を終了する(S118)。また、続けて他の設定項目を変更する場合はS102で再び所望の設定項目表示部を選択し、設定キーにより例えば一次電圧を決定する(S109)。
次に、一次電圧を変更する場合、プラスキー17またはマイナスキー16を押す毎に、一次電圧設定表示部12の最上位桁の数字が切り替わり、所望の値で設定キー15により決定する。次にプラスキー17またはマイナスキー16を押す毎に一次電圧設定表示部12の上位2桁目の数字が切り替わり、所望の値で設定キー15により決定する。次にプラスキー17またはマイナスキー16を押す毎に一次電圧設定表示部12の上位3桁目の数字が切り替わり、所望の値で設定キー15により決定する。
続いて、プラスキー17またはマイナスキー16を押す毎に10のべき数を表す一次電圧設定表示部12の最下位桁の数字が切り替わり(S110)、所望の値で設定キー15により決定する(S111)。他に設定変更がない場合は設定キー15により、計測モードに切替えて設定を終了する(S118)。また、続けて他の設定項目を変更する場合はS102で再び所望の設定項目表示部を選択し、設定キーにより例えばアナログ出力に決定する(S112)。
アナログ出力項目を変更する場合、プラスキー17またはマイナスキー16を押す毎に、アナログ出力設定表示部13の表示は「0」〜「9」が切替わる(S113)。設定コード表を用いて所望のアナログ出力項目に対応した数字を選択し(S113)、設定キー15を押すことにより決定する(S114)。他に設定変更がない場合は設定キー15により、計測モードに切替えて設定を終了する(S118)。また、続けて他の設定項目を変更する場合はS102で再び所望の設定項目表示部を選択し、設定キーにより例えばパルス出力を決定する(S115)。
パルス出力を変更する場合、プラスキー17またはマイナスキー16を押す毎に、パルス出力設定表示部14の表示は「0」〜「4」が切替わる(S116)。設定コード表を用いて所望の設定に対応した数字を選択し(S116)、設定キー15を押すことにより決定する(S117)。他に設定変更がない場合は設定キー15により、計測モードに切替えて設定を終了する(S118)。また、続けて他の設定項目を変更する場合はS102で再び所望の設定項目表示部を選択し、設定キーにより決定して、同様に変更を行う。
図5は設定内容終了および設定内容を確認する際の画面例であり、例えば相線式は三相3線式、一次電流は1000A、一次電圧は6600V、アナログ出力のCH1はS相の電流値に対応した出力、アナログ出力のCH2はT−R間の電圧値に対応した出力、アナログ出力のCH3は有効電力の値に対応した出力、アナログ出力のCH4は力率に対応した出力、パルス出力は0.001kWh/pulseを設定した場合である。設定された設定内容はこのように一画面に表示、設定内容を確認される。
このように構成された電子式指示計器100においては、主要な設定内容が一画面に表示されるため、設定確認画面を順次切り替えながら設定内容を表示させる手間が省ける。また一項目のみを変更したい場合にも、不要なキー操作が減少するため、設定操作ミスを軽減することができる。
また、前記設定において、所定の相線式を選択した場合、ありえない一次電圧値や一次電流値はスキップするよう設定される。例えば相線式設定で単相3線を選択した場合、一次電圧設定は自動的に220Vが選択される。このようにすることで、不要なキー操作をさらに減少させることができ、また、ありえない設定値を選択してしまう設定ミスも軽減することができる。
本発明の実施形態1における電子式指示計器のブロック図である。 本発明の実施形態1における電子式指示計器の正面図である。 本発明の実施形態1における設定コード表の実施例である。 本発明の実施形態1における電子式指示計器を介して実現されるこの発明に係る処理手順の一実施例を示すフローチャートである。 本発明の実施形態1における設定内容確認画面の例を示す。
符号の説明
100 電子式指示計器、 1 電路、2 計測演算部、 3 表示部、
4 表示制御部、 5 操作部、 6 選択内容記憶部、
6a 相線式設定記憶部、 6b 一次電流設定記憶部、
6c 一次電圧設定記憶部、 6d アナログ出力設定記憶部、
6e パルス出力設定記憶部、 7 デコード化部、
8 コード化部、 9 設定値記憶部、 10 相線式設定表示部、
11 一次電流設定表示部、 12 一次電圧設定表示部、
13 アナログ出力設定表示部、 14 パルス出力設定表示部、
15 設定キー、 16 −キー、 17 +キー、
18 リセットキー、 19 出力部。

Claims (5)

  1. 電路から入力された電流、電圧から各種計測値を演算する計測演算部と、この計測演算部で演算した計測値や設定内容を表示する表示部と、上記計測演算部による計測演算や、上記表示部における表示のための各種設定、表示内容の切替え制御を行う表示制御部と、この表示制御部の切替え操作を行う操作部と、各設定項目の選択可能な設定値を記憶する選択内容記憶部と、上記操作部により入力された数字を上記選択内容記憶部に照会するデコード化部と、上記選択内容記憶部の選択内容をコード化(数値化)し、上記表示制御部に送るコード化部とを備え、上記表示部には設定項目ごとに割り当てられた表示面を有し、上記表示面には個々の設定項目、選択内容を予め数値化した設定コード表に従ったコード(数値)を表示させるようにしたことを特徴とする電子式指示計器。
  2. 請求項1に記載の電子式指示計器において、上記表示部の設定項目表示は、相線式の設定を表示する相線式設定表示部と、電路の定格電流の設定を表示する一次電流設定表示部と、電路の定格電圧の設定を表示する一次電圧設定表示部と、アナログ出力を行う計測項目の選択を表示するアナログ出力設定表示部と、パルス出力の設定内容を表示するパルス出力設定表示部の少なくともいずれかの組み合わせから構成されることを特徴とする電子式指示計器。
  3. 請求項2に記載の電子式指示計器において、上記設定表示部の少なくとも一つは、設定コードが複数桁で構成されており、そのうち「下位1桁」を10のべき数として表示するようにしたことを特徴とする電子式指示計器。
  4. 請求項1に記載の電子式指示計器において、上記設定項目を変更するときは、プラスキーまたはマイナスキーを押すことにより、設定コード表に従ったコード(数値)を順次表示させ、所望の値で設定キーにより決定するようになされていることを特徴とする電子式指示計器。
  5. 請求項1に記載の電子式指示計器において、所定の相数を入力した時には、所定の一次電圧、一次電流が設定されるようにしたことを特徴とする電子式指示計器。
JP2008194904A 2008-07-29 2008-07-29 電子式指示計器 Expired - Fee Related JP5129056B2 (ja)

Priority Applications (2)

Application Number Priority Date Filing Date Title
JP2008194904A JP5129056B2 (ja) 2008-07-29 2008-07-29 電子式指示計器
CN2009100072653A CN101639494B (zh) 2008-07-29 2009-02-17 电子式指示器

Applications Claiming Priority (1)

Application Number Priority Date Filing Date Title
JP2008194904A JP5129056B2 (ja) 2008-07-29 2008-07-29 電子式指示計器

Publications (2)

Publication Number Publication Date
JP2010032366A true JP2010032366A (ja) 2010-02-12
JP5129056B2 JP5129056B2 (ja) 2013-01-23

Family

ID=41614580

Family Applications (1)

Application Number Title Priority Date Filing Date
JP2008194904A Expired - Fee Related JP5129056B2 (ja) 2008-07-29 2008-07-29 電子式指示計器

Country Status (2)

Country Link
JP (1) JP5129056B2 (ja)
CN (1) CN101639494B (ja)

Cited By (2)

* Cited by examiner, † Cited by third party
Publication number Priority date Publication date Assignee Title
JP2012083199A (ja) * 2010-10-12 2012-04-26 Mitsubishi Electric Corp 電子式指示計器
JP2012247245A (ja) * 2011-05-26 2012-12-13 Mitsubishi Electric Corp エネルギー計測ユニット

Families Citing this family (3)

* Cited by examiner, † Cited by third party
Publication number Priority date Publication date Assignee Title
CN103884890B (zh) * 2012-12-21 2018-03-16 北京普源精电科技有限公司 一种具有解码功能的示波器
JP6116493B2 (ja) * 2014-01-27 2017-04-19 三菱電機株式会社 電子式指示計器
CN108732409A (zh) * 2018-05-21 2018-11-02 南京丹迪克科技开发有限公司 一种谐波数据展示方法和装置

Citations (8)

* Cited by examiner, † Cited by third party
Publication number Priority date Publication date Assignee Title
JPS6134472A (ja) * 1985-06-21 1986-02-18 Minolta Camera Co Ltd 測光装置
JPH07500908A (ja) * 1991-11-08 1995-01-26 ライボルト アクチエンゲゼルシヤフト 測定装置等用ディスプレイ
JPH0711434B2 (ja) * 1989-07-28 1995-02-08 日置電機株式会社 計測器の表示部への設定内容表示方法
JPH08122371A (ja) * 1994-10-24 1996-05-17 Osaki Electric Co Ltd 電子式電力量計
JPH09184856A (ja) * 1995-12-28 1997-07-15 Tokyo Seimitsu Co Ltd ディジタル表示計測装置
JPH09229981A (ja) * 1996-02-21 1997-09-05 Hitachi Ltd 高調波の監視に用いる監視装置および高調波監視システム
JPH118930A (ja) * 1997-04-25 1999-01-12 Mitsubishi Electric Corp 回路遮断器の通電情報計測装置
JP2007003329A (ja) * 2005-06-23 2007-01-11 Hitachi Industrial Equipment Systems Co Ltd 絶縁監視装置

Family Cites Families (3)

* Cited by examiner, † Cited by third party
Publication number Priority date Publication date Assignee Title
GB2039372A (en) * 1979-01-08 1980-08-06 Bendix Corp Test apparatus for electrical control systems of internal combustion engines
CN100383535C (zh) * 2006-01-24 2008-04-23 北京工业大学 一种校准宽带取样示波器的方法及其设备
CN100504400C (zh) * 2007-09-11 2009-06-24 电子科技大学 一种示波器的高速信号重构方法

Patent Citations (8)

* Cited by examiner, † Cited by third party
Publication number Priority date Publication date Assignee Title
JPS6134472A (ja) * 1985-06-21 1986-02-18 Minolta Camera Co Ltd 測光装置
JPH0711434B2 (ja) * 1989-07-28 1995-02-08 日置電機株式会社 計測器の表示部への設定内容表示方法
JPH07500908A (ja) * 1991-11-08 1995-01-26 ライボルト アクチエンゲゼルシヤフト 測定装置等用ディスプレイ
JPH08122371A (ja) * 1994-10-24 1996-05-17 Osaki Electric Co Ltd 電子式電力量計
JPH09184856A (ja) * 1995-12-28 1997-07-15 Tokyo Seimitsu Co Ltd ディジタル表示計測装置
JPH09229981A (ja) * 1996-02-21 1997-09-05 Hitachi Ltd 高調波の監視に用いる監視装置および高調波監視システム
JPH118930A (ja) * 1997-04-25 1999-01-12 Mitsubishi Electric Corp 回路遮断器の通電情報計測装置
JP2007003329A (ja) * 2005-06-23 2007-01-11 Hitachi Industrial Equipment Systems Co Ltd 絶縁監視装置

Cited By (2)

* Cited by examiner, † Cited by third party
Publication number Priority date Publication date Assignee Title
JP2012083199A (ja) * 2010-10-12 2012-04-26 Mitsubishi Electric Corp 電子式指示計器
JP2012247245A (ja) * 2011-05-26 2012-12-13 Mitsubishi Electric Corp エネルギー計測ユニット

Also Published As

Publication number Publication date
JP5129056B2 (ja) 2013-01-23
CN101639494A (zh) 2010-02-03
CN101639494B (zh) 2011-08-24

Similar Documents

Publication Publication Date Title
JP5129056B2 (ja) 電子式指示計器
US5675754A (en) Graphical display for an energy management device
AU721604B2 (en) Electrical system monitoring apparatus with programmable custom display
EP0731359B1 (en) AC load control device having a graphical display
EP3125388B1 (en) Power failure monitoring device of digital protection relay
JP4986940B2 (ja) 電子式指示計器
US6555785B2 (en) Welding condition inputting equipment
KR101023106B1 (ko) 탭 지시계
JP2012083199A (ja) 電子式指示計器
CA2414750A1 (en) Method and apparatus employing a scaling factor for measuring and displaying an electrical parameter of an electrical system
JP2012083199A5 (ja)
KR20000021434A (ko) 가전제품 통합 제어 시스템
RU100285U1 (ru) Счетчик электрической энергии
JP2006184090A (ja) 計測方法および計測装置ならびに回路遮断器
JP3892735B2 (ja) 電気量測定方法及び装置、並びに保護継電器
JP4380906B2 (ja) 電源装置の電圧、電流設定表示装置
JP5687134B2 (ja) エネルギー計測ユニット
JP6967384B2 (ja) 交流信号発生器
JP4439931B2 (ja) ガスメータ装置
JP2008145184A (ja) 電力量計
CN117999721A (zh) 供电装置
JP2007312508A (ja) ディジタル過電流保護継電器システム
KR20040065679A (ko) 저항용접측정장치
JPH085069A (ja) 燃焼機の燃焼モード設定装置
KR19980061362U (ko) 다중 설정값을 갖는 디지털 계측장치

Legal Events

Date Code Title Description
A621 Written request for application examination

Free format text: JAPANESE INTERMEDIATE CODE: A621

Effective date: 20101217

A977 Report on retrieval

Free format text: JAPANESE INTERMEDIATE CODE: A971007

Effective date: 20120406

A131 Notification of reasons for refusal

Free format text: JAPANESE INTERMEDIATE CODE: A131

Effective date: 20120417

A521 Request for written amendment filed

Free format text: JAPANESE INTERMEDIATE CODE: A523

Effective date: 20120613

A02 Decision of refusal

Free format text: JAPANESE INTERMEDIATE CODE: A02

Effective date: 20120703

A521 Request for written amendment filed

Free format text: JAPANESE INTERMEDIATE CODE: A523

Effective date: 20120912

A911 Transfer to examiner for re-examination before appeal (zenchi)

Free format text: JAPANESE INTERMEDIATE CODE: A911

Effective date: 20120919

TRDD Decision of grant or rejection written
A01 Written decision to grant a patent or to grant a registration (utility model)

Free format text: JAPANESE INTERMEDIATE CODE: A01

Effective date: 20121023

A01 Written decision to grant a patent or to grant a registration (utility model)

Free format text: JAPANESE INTERMEDIATE CODE: A01

A61 First payment of annual fees (during grant procedure)

Free format text: JAPANESE INTERMEDIATE CODE: A61

Effective date: 20121101

R151 Written notification of patent or utility model registration

Ref document number: 5129056

Country of ref document: JP

Free format text: JAPANESE INTERMEDIATE CODE: R151

FPAY Renewal fee payment (event date is renewal date of database)

Free format text: PAYMENT UNTIL: 20151109

Year of fee payment: 3

R250 Receipt of annual fees

Free format text: JAPANESE INTERMEDIATE CODE: R250

R250 Receipt of annual fees

Free format text: JAPANESE INTERMEDIATE CODE: R250

R250 Receipt of annual fees

Free format text: JAPANESE INTERMEDIATE CODE: R250

R250 Receipt of annual fees

Free format text: JAPANESE INTERMEDIATE CODE: R250

R250 Receipt of annual fees

Free format text: JAPANESE INTERMEDIATE CODE: R250

R250 Receipt of annual fees

Free format text: JAPANESE INTERMEDIATE CODE: R250

LAPS Cancellation because of no payment of annual fees