JP2010031897A - 固定具及び固定構造 - Google Patents

固定具及び固定構造 Download PDF

Info

Publication number
JP2010031897A
JP2010031897A JP2008191830A JP2008191830A JP2010031897A JP 2010031897 A JP2010031897 A JP 2010031897A JP 2008191830 A JP2008191830 A JP 2008191830A JP 2008191830 A JP2008191830 A JP 2008191830A JP 2010031897 A JP2010031897 A JP 2010031897A
Authority
JP
Japan
Prior art keywords
diameter
male screw
flexible ring
anchor portion
mounting hole
Prior art date
Legal status (The legal status is an assumption and is not a legal conclusion. Google has not performed a legal analysis and makes no representation as to the accuracy of the status listed.)
Granted
Application number
JP2008191830A
Other languages
English (en)
Other versions
JP5014279B2 (ja
Inventor
Yasuzo Imoto
保三 井本
Current Assignee (The listed assignees may be inaccurate. Google has not performed a legal analysis and makes no representation or warranty as to the accuracy of the list.)
Individual
Original Assignee
Individual
Priority date (The priority date is an assumption and is not a legal conclusion. Google has not performed a legal analysis and makes no representation as to the accuracy of the date listed.)
Filing date
Publication date
Application filed by Individual filed Critical Individual
Priority to JP2008191830A priority Critical patent/JP5014279B2/ja
Publication of JP2010031897A publication Critical patent/JP2010031897A/ja
Application granted granted Critical
Publication of JP5014279B2 publication Critical patent/JP5014279B2/ja
Expired - Fee Related legal-status Critical Current
Anticipated expiration legal-status Critical

Links

Images

Classifications

    • FMECHANICAL ENGINEERING; LIGHTING; HEATING; WEAPONS; BLASTING
    • F16ENGINEERING ELEMENTS AND UNITS; GENERAL MEASURES FOR PRODUCING AND MAINTAINING EFFECTIVE FUNCTIONING OF MACHINES OR INSTALLATIONS; THERMAL INSULATION IN GENERAL
    • F16BDEVICES FOR FASTENING OR SECURING CONSTRUCTIONAL ELEMENTS OR MACHINE PARTS TOGETHER, e.g. NAILS, BOLTS, CIRCLIPS, CLAMPS, CLIPS OR WEDGES; JOINTS OR JOINTING
    • F16B13/00Dowels or other devices fastened in walls or the like by inserting them in holes made therein for that purpose
    • F16B13/04Dowels or other devices fastened in walls or the like by inserting them in holes made therein for that purpose with parts gripping in the hole or behind the reverse side of the wall after inserting from the front
    • F16B13/08Dowels or other devices fastened in walls or the like by inserting them in holes made therein for that purpose with parts gripping in the hole or behind the reverse side of the wall after inserting from the front with separate or non-separate gripping parts moved into their final position in relation to the body of the device without further manual operation
    • F16B13/0858Dowels or other devices fastened in walls or the like by inserting them in holes made therein for that purpose with parts gripping in the hole or behind the reverse side of the wall after inserting from the front with separate or non-separate gripping parts moved into their final position in relation to the body of the device without further manual operation with an expansible sleeve or dowel body driven against a tapered or spherical expander plug
    • FMECHANICAL ENGINEERING; LIGHTING; HEATING; WEAPONS; BLASTING
    • F16ENGINEERING ELEMENTS AND UNITS; GENERAL MEASURES FOR PRODUCING AND MAINTAINING EFFECTIVE FUNCTIONING OF MACHINES OR INSTALLATIONS; THERMAL INSULATION IN GENERAL
    • F16BDEVICES FOR FASTENING OR SECURING CONSTRUCTIONAL ELEMENTS OR MACHINE PARTS TOGETHER, e.g. NAILS, BOLTS, CIRCLIPS, CLAMPS, CLIPS OR WEDGES; JOINTS OR JOINTING
    • F16B13/00Dowels or other devices fastened in walls or the like by inserting them in holes made therein for that purpose
    • F16B2013/007Dowels or other devices fastened in walls or the like by inserting them in holes made therein for that purpose to be fastened in undercut holes

Landscapes

  • Engineering & Computer Science (AREA)
  • General Engineering & Computer Science (AREA)
  • Mechanical Engineering (AREA)
  • Securing Of Glass Panes Or The Like (AREA)
  • Connection Of Plates (AREA)
  • Standing Axle, Rod, Or Tube Structures Coupled By Welding, Adhesion, Or Deposition (AREA)
  • Dowels (AREA)

Abstract

【課題】対象物の表面に形成した穴に対して固定することができ、製造の手間及びコストが低く、且つ安定した固定が可能な固定具及び固定構造を提供する。
【解決手段】対象物80の表面から傾斜面82により拡径した取付け穴に固定される固定具1であって、最大径を有する先端部31から基端部側へ縮径するテーパ面32を備えたアンカー部30、及び該アンカー部に結合された雄ねじ部20を備えた取付け部材10と、アンカー部30の最大径に対しより大きい外径及びより小さい内径を有し雄ねじ部20を通し得る可撓性リング50と、雄ねじ部20に螺合可能でありアンカー部30に臨む側に締結面622を有した締結部材60とを備え、締結面622の外径が可撓性リング30の内径より大きくされていることを特徴とする固定具。
【選択図】図1

Description

本発明は、ガラス板等の種々の対象物の表面に設けられた取付け穴に固定される固定具及び該固定具を用いた固定構造に関する。
ガラス板に取っ手、支持部材、スタッドボルト等の部材を固定するための構造が従来から種々採用されている。接着剤を用いたものは最も簡単であるが、強度不足や経年劣化の問題がある。そこで、接着剤を用いず或いは接着剤と併用する機械的な固定構造が種々提案されている。
例えば、特許文献1には、ガラス板に形成した貫通孔にボルトを通してナットを締結する構造のものが記載されている。これは、裏面側を皿穴とし、該皿穴に適合する形状のヘッドを有したボルトをガラス板の裏面側から貫通孔に通して表面側へ突出させ、表面側からナットを締結し、皿穴とヘッドとの間、ガラス板表面とナットとの間に緩衝材を介在させたものである。この構造においては、ボルトヘッドの端面がガラス板裏面と同一平面となるようにしておくことにより、ガラス板裏面からボルトヘッドが突出しない構造となる。しかしながら、裏面からボルトヘッドが露出して見えることとなり、ガラス板の平滑性や装飾性を損なってしまう。
これに対し、特許文献2には、ガラス板の表面から内側へ広がる形状の穴を形成し、この穴にカップ状のインサートを挿入し、該インサートの凹部に連結部材を結合する構造が記載されている。インサートは穴の開口径より大きい外径を有するが、穴への挿入を可能にするために径方向に複数のスロットが形成されている。また、インサートの凹部には雌ねじ、連結部材の先端部には雄ねじが各々形成されている。したがって、インサートを径方向に縮小させて穴内に挿入し、連結部材の先端をインサートの凹部に螺入することにより、インサートは元の径に広がった状態で穴内に保持される。これにより、連結部材は、ガラス板の表面から突出した状態で固定される。この構造においては、ガラス板に形成する穴は表面から裏面に貫通する必要はなく、これにより、ガラス板裏面の平滑性や装飾性が保持される。
特開平9−13561号公報 特表2006−507453号公報
しかしながら、特許文献2の記載の構造は、複数のスロットを利用して径を縮小させてガラス板の穴内に挿入したインサートが、再び拡径することにより穴の内面に接触するようになっっているので、インサートが穴内で固定されるためには、インサートの外形と穴の内面とが正確に一致する必要がある。そのために、インサートの外形及び穴の内面の寸法に高い精度が要求され、そのための加工コストが高いものとなる。
また、高い精度でインサートを加工するには、金属製とするのが有利であるが、その場合は一旦穴内に挿入され拡径すると、穴内でインサートを再び縮径させるのは困難である。したがって、インサートを破壊することなく穴内から取り出すことが困難であり、その取り外しや付け替えを行ない難い。
一方、引用文献2には、インサートを弾性変形可能な部材としてもよい旨記載されている。その場合は、穴内からの取出しは容易になるが、弾性変形可能な部材に形成された雌ねじ部では、連結部材の雄ねじ部の保持力が十分に得られず、連結部材の固定が不安定になってしまう。
本発明は、これら従来技術の問題点を解消するものであり、対象物の表面に形成した穴に対して固定することができ、製造の手間及びコストが低く、且つ安定した固定が可能な固定具及び該固定具を用いた固定構造を提供することを目的とする。
本発明は、前記目的を達成するため、対象物の表面から内方へ向かう傾斜面により拡径した取付け穴に固定される固定具であって、最大径を有する先端部から基端部側へ縮径するテーパ面を備えたアンカー部、及び該アンカー部の基端側に結合され該アンカー部と同一軸線上に位置する雄ねじ部を備えた取付け部材と、前記アンカー部の最大径に対しより大きい外径及びより小さい内径を有し前記雄ねじ部を通し得る可撓性リングと、前記雄ねじ部に螺合可能であり螺合状態において前記アンカー部に臨む側に締結面を有した締結部材とを備え、前記締結面の外径が前記可撓性リングの内径より大きくされていることを特徴とする固定具。を提供するものである。
本発明はまた、前記目的を達成するため、上記固定具を用いた固定構造であって、対象物の表面から内方へ向かう傾斜面により拡径した取付け穴に対し請求項1または2に記載の固定具を固定した固定構造であって、前記取付け穴の開口部の径は、前記アンカー部の最大径より大きく、前記可撓性リングの外径及び前記締結面の外径より小さくされており、前記アンカー部は前記取付け穴内に挿入され、該アンカー部のテーパー面と前記取付け穴の傾斜面との間に前記可撓性リングが挟持され、前記締結部材が前記雄ねじ部に螺合され前記締結面を前記表面に接した状態で前記可撓性リングの弾性変形を伴って前記アンカー部を引き寄せるように緊く締結されていることを特徴とする固定構造を提供するものである。
本発明に係る固定具は、可撓性リングが、アンカー部の最大径に対しより大きい外径及びより小さい内径を有し且つ前記雄ねじ部を通し得るようになっている。また、締結部材の締結面の外径が可撓性リングの内径より大きくされている。したがって、対象物表面に形成する取付け穴の径を、アンカー部の最大径より大きく、可撓性リングの外径及び締結面の外径より小さくしておくことにより、次のようにして、固定具を対象物に固定することができる。
すなわち、アンカー部を取付け穴に挿入し、さらに雄ねじ部に通した可撓性リングを撓ませて取付け穴に押し込むと、アンカー部の最大径に対しより大きい外径及びより小さい内径を有した可撓性リングは、アンカー部のテーパー面と取付け穴の傾斜面との間に位置する。この状態で締結部材を雄ねじ部に螺合し、対象物表面に接するように螺入すれば、締結面は、径の小さい開口部の縁より外側にで対象物表面に接する。この状態で締結部材を締結すれば、可撓性リングの弾性変形を伴ってアンカー部が引き寄せられる。そして、締結部材を緊く締結することにより、対象物に対して固定具が固定される。したがって、対象物の表面に形成した穴に対して固定具を固定することができる。また、固定具は、アンカー部及び雄ねじ部を備えた取付け部材、可撓性リング、及び締結部材を備えた簡単な構造であるので、製造コストを低くすることができる。さらに、締結部材は、アンカー部を引き寄せ可撓性リングを弾性変形させて緊く締結されるので、固定具の固定が安定したものとなる。
本発明に係る固定構造は、前述の開口部の径を有する取付け穴に対して、上記固定具を用い、アンカー部及び可撓性リングを取付け穴内に挿入し、締結部材を雄ねじ部に螺合して締結することにより、アンカー部を引き寄せて堅固に固定される。したがって、前述と同様に、対象物表面に形成した穴に対して固定具を固定することができ、簡単な構造の固定具により製造コストが低く抑えられ、締結部材の緊い締結により固定具の固定が安定したものとなる。
以下、本発明の実施形態について添付図面を参照しつつ説明する。図面中の同一又は同種の部分については、同じ番号を付して説明を省略することがある。図1は本発明の一実施形態に係る固定具をガラス板に取り付けた固定構造を示す縦断面図であり、図2はその固定具及びガラス板を分解して示す断面図である。
この固定具1は、ボルト状の取付け部材10と、可撓性リング50と、締結部材60とを備えている。該取付け部材10は、雄ねじ部20の一端にアンカー部30が結合され、アンカー部30は雄ねじ部20に対して同一軸線上に設けられている。アンカー部30は、最大径の先端部31から基端部側へ縮径するテーパ面32を備え、側面視台形状に形成されている。
可撓性リング50は、部材断面が円形であり、全体形状は平面視において円環状をなす。締結部材60は、この実施形態では、ナット61と中間プレート62との2つの部材からなっている。ナット61には、雄ねじ部20に螺合可能な雌ねじ部611が形成されている。中間プレート62は、雄ねじ部20を緩く通す内径C62の貫通孔621が形成され、雄ねじ部20に通された状態においてアンカー部30に臨む側が締結面622となっている。締結面622の外径は、可撓性リング50の内径C5より大きくされている。中間プレート62にはまた、締結面622から突出した環状突部623が設けられている。環状突部623の外径E623は、可撓性リングの外径E5より小さくその内径C5より大きくされている。
対象物であるガラス板80には、表面から内方へ向かう傾斜面82により拡径した取付け穴81が形成されている。取付け穴81の開口部83の径C8は、アンカー部30の最大径D3及び中間プレート62の環状突部623の外径E623より大きく、可撓性リング50の外径E5及び締結面622の外径E62より小さくされている。この実施形態では、取付け穴81の開口部83は僅かな高さ部分が垂直壁84とされ、開口縁の強度が高められている。
取付け穴81の奥端面とアンカー部30の最大径側の端面との間には、取付け穴の奥端面の内径より小さくアンカー部30の最大径側の端面より大きい径の緩衝板90が介在している。
以上の部材の主な部分の寸法は、以下の通りである。尤も、本発明はこれらの寸法に限定されるものではない。
・取付け部材10
アンカー部30の最大径D3:13mm
雄ねじ部20の外径D2:8mm
アンカー部30の高さH3:5mm
雄ねじ部軸線方向に対するテーパ面32の傾斜角θ3:55度
・可撓性リング50
外径E5:16mm
内径C5:10mm
部材断面の径D5:3mm
・ナット61
外径E61:19mm
・中間プレート62
外径E62:22mm
内径C62:8mm
環状突部623の外径E623:14.6mm
環状突部623の高さH623:1.6mm
・ガラス板80の取付け穴81
開口部83の径C8:15mm
底部85の径E8:17mm
深さH8:6mm
傾斜面82の傾斜角θ8:80度
・緩衝板90
外径D90:16mm
厚さT90:1.2mm
この固定具1は、次のようにしてガラス板80に取り付けられる。先ず、ガラス板80に形成した取付け穴81に緩衝板90を挿入し、奥端面上に敷く。次に、取付け穴81内に取付け部材10のアンカー部30を挿入する。取付け穴81の開口部83の径C8は、アンカー部30の最大径D3より大きくされているので、アンカー部30は抵抗なく挿入され、緩衝板90上に位置する。
次に、可撓性リング50を雄ねじ部20の上から通してガラス板80上まで下ろし、雄ねじ部20と開口部83との隙間から取付け穴81内に押し込む。可撓性リング50の外径E5は開口部83の径C8より大きいが、その可撓性に基づき弾性変形させて取付け穴81内に押し込むことができる。また可撓性リング50は、アンカー部30の最大径D3に対しより大きい外径E5及びより小さい内径C5を有しているので、取付け穴81内では、アンカー部30のテーパ面32と取付け穴81の傾斜面82との間に位置する。
次に、中間プレート62を雄ねじ部20の上から通してガラス板80上まで下ろす。取付け穴81の開口部83の径C8は、締結面622の外径E62より小さくされているので、締結面622はガラス板80の表面に当接する。また、取付け穴81の開口部83の径C8は、中間プレート62の環状突部623の外径E623より大きくされているので、締結面622をガラス板表面に当接させると、環状突部623は開口部83内に挿入される。そして、環状突部623の外径は、可撓性リング50の外径より小さくその内径より大きくされているので、開口部83内に挿入された開口部83は、可撓性リング50に接触することとなる。
次に、ナット61を雄ねじ部20の上から螺合し、回転させながら下降させ、中間プレート62上に至らせる。そして、ナット61を雄ねじ部20に対し緊く締結すれば、アンカー部30が引き寄せられ、取付け穴81の傾斜面82との間で可撓性リング50を弾性変形させる。これにより、固定具1はガラス板80に対して堅固に固定される。
取り付け部材10、中間プレート62、ナット61は、機械的強度の点から金属製とするのが望ましく、硬質樹脂製とすることもできる。
可撓性リング50は、その外径より小さいガラス板80の開口部83を通すために弾性変形が可能であり、且つ取り付け部材10の固定が堅固になるように締結部材60による締結時の弾性変形量が小さいものが望ましい。そのような材料として、ニトリルゴム、フッ素ゴム、シリコーンゴム、フロロシリコーンゴム、エチレンプロピレンゴム、スチレンブタジエンゴム、アクリルゴム等のゴム、或いは同様の機械的性質を有する樹脂を使用することができる。
緩衝板90は、取付け穴81内においてガラス板80とアンカー部30との間の緩衝作用をなすように、柔軟性のある合成樹脂、ゴム等の材料で作成される。緩衝板90を介在させることにより、ナット61の過度な締め付けや組立て後に受ける衝撃によってガラス板80が損傷を受けるのが防止される。このためには、ナット61の締め付けによって、取付け穴81の奥端面とアンカー部30との間に隙間ができないように、緩衝板90、アンカー部30及び可撓性リング50を取付け穴81内に挿入したときに、緩衝板90が厚さ方向に弾性的に圧縮されるように厚さが決められるのが望ましい。 ガラス板80の取付け穴81は、例えば、図3に示すようにして形成することができる。先ず図3(a) に示すように開口部83に相当する径の下穴81aをドリルDR1によって必要な深さに穿孔する。次に径の細いドリルDR2を下穴81aの側面に当てがい、旋回させながら次第に傾斜させて行き、これにより下穴81aの下部を径方向に拡げる。こうして傾斜面82が形成され、取付け穴81が完成する。この他、刃部が径方向に進退するドリルを用い、穿孔が進むに従って刃部を径方向により大きく突出させることによっても、取付け穴81を形成することができる。或いは、対象物がモールド成形可能な材料であれば、対象物の成形時に開口部83を型成形することもできる。
次に本発明の他の実施形態に係る固定具を用いた固定構造について説明する。図4は、その固定構造の縦断面図である。この固定具1は、先の実施形態と基本的な形態は同じであるが、取り付け部材10及び中間プレート62の形態が以下の点において異なっている。
取り付け部材10のアンカー部30は、テーパ面32と雄ねじ部20との間に中間部35を備えている。中間部35はテーパ面32上端の最小径部分から同一の径で円柱状に短く延びている。これにより、テーパ面32の傾斜角θ3は、先の実施形態のものより大きくなっている。これに伴って、締結部材60による締結時に、可撓性リング50に作用する押圧力がより強くなる。
締結部材60の中間プレート62は、平らな円板状であり、先の実施形態に存在した環状突部623が省略されている。この場合にも、可撓性リング50の太さ、またはアンカー部30と取付け穴81との間隙の大きさを変更する等により、可撓性リング50が中間プレート62下面に接触し、或いは接触しなくても、締結により可撓性リング50の位置を保持して適切な固定力が得られる。
次に、図1に示した固定具を用いた試験例について説明する。
(引張り強度試験)
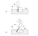
取付け穴を形成したガラス板に固定具を取り付けてナットを締結し図1に示した状態とし、これを図5に示す引張り試験用治具に固定した。図5の(a) は取付け状態の正面図、(b) はその側面図、(c) は固定具付きガラス及び治具を分解して示す斜視図である。
治具は、直方体状の箱体A1の下部に突片A2、上部に貫通孔A3を備え、対向する側面が開口A4とされた支持体Aと、雌ねじ付き穴を形成した金属棒Bとからなっている。固定具付きガラス板を開口A4から箱体A1内に挿入し、貫通孔A3から雄ねじ部20を上方へ突出させ、金属棒Bの雌ねじに螺合させる。そして、インストロン万能試験機5528型の上下のつかみ部で金属棒B及び突片A2を各々つかむ。この状態で、上下つかみ部間に引っ張り荷重を掛け、荷重−変位曲線と最大荷重を求めた。試験速度は2mm/分、試験温度は23℃であった。
その荷重−変位曲線を図7に示す。図7のグラフから明らかなとおり、固定具は、最大荷重1.48kNという大きな荷重に至るまで、安定してガラス板に固定されていた。
(剪断強度試験)
取付け穴を形成したガラス板に固定具を取り付けてナットを締結し図1に示した状態とし、これを図6に示す剪断試験用治具Aに固定した。図6の(a) は取付け状態の正面図、(b) はその側面図、(c) は固定具付きガラス及び治具を分解して示す斜視図である。
治具Cは、水平台C1上に垂直壁C2を立設し、補強部C3を設けて一体的に構成されたものである。垂直壁C2は、中央に開口部C5が形成され、その両側の起立部C4に内向きの縦溝C6が形成されている。補強部C3は1対備えられ、各々起立部C4と水平台C1とに結合されている。固定具付きガラス板を縦溝C6に通し、開口部C5に取付け部材10を位置させる。そして、インストロン万能試験機5528型の荷重金具で取付け部材10の雄ねじ部20を上方から押し下げ、荷重−変位曲線と最大荷重を求めた。試験速度は2mm/分、試験温度は23℃であった。
その荷重−変位曲線を図8に示す。図8のグラフから明らかなとおり、固定具は、最大荷重3.24KkNという大きな荷重に至るまで、安定してガラス板に固定されていた。なお、途中で0.67kNのピーク荷重を示したのは、取付け部材10の雄ねじ部20のねじ山部に当接していた試験機の荷重金具の先端部が、荷重の増加に伴ってねじの谷部へ移動したことによる。
本発明は、上記実施形態に限定されるものではなく、種々の変形が可能である。例えば、締結部材60は、雌ねじを備えたナット61と雄ねじ部20を緩く通す貫通孔を備えた中間プレート62とを一体的に形成することもできる。また、中間プレート62を省略してもよく、その場合は、ナット61の下端を平らな面にし、或いは、環状突部623に相当する突部を形成することもできる。
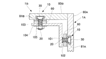
固定具の一部をなす取付け部材は、少なくともアンカー部と雄ねじ部とを備えるが、これに種々の構造物を結合することができる。図9は、図の右側に位置する固定具1Aの雄ねじ部20の先端にアングル金具101を溶接部102により溶接した例を示している。固定具1Aは、ガラス板80Aの取付け穴81Aに固定されている。図の左側に位置する固定具1Bは、ガラス板80Bの取付け穴81Bに固定され、アングル金具101の貫通孔103に雄ねじ部20が通され、ワッシャ104及びナット105によりアングル金具101に固定されている。ガラス板80A、80Bは図の紙面に対して垂直方向に長く延び、アングル金具101は同方向に複数配置されており、これにより、ガラス板80Aとガラス板80Bが固定されている。
本発明に係る固定具は、ガラス板以外の板材、その他種々の対象物に取り付けることができる。図10は、ブロック状の対象物107に固定具1を取り付けた状態を示している。図示のように取付け面は曲面であってもよく、その場合は、取付け面に中間プレート62の接触面の形状を合わせるのが望ましい。
本発明の一実施形態に係る固定具をガラス板に取り付けた固定構造を示す縦断面図である。 図1に示した固定具及びガラス板を分解して示す断面図である。 図1に示した固定構造のための取付け穴の形成工程を示す断面図である。 本発明の他の実施形態に係る固定具をガラス板に取り付けた固定構造を示す縦断面図である。 図1の固定構造の引張り強度試験に使用する治具の説明図である。 図1の固定構造の剪断強度試験に使用する治具の説明図である。 図5に示した治具による引張り強度試験の結果を示すグラフである。 図6に示した治具による剪断強度試験の結果を示すグラフである。 本発明に係る固定具を用いた固定構造の他の例の断面図である。 本発明に係る固定具を用いた固定構造のさらに他の例の断面図である。
符号の説明
1,1A,1B 固定具
10 取付け部材
20 雄ねじ部
30 アンカー部
31 最大径の先端部
32 テーパ面
50 可撓性リング
60 締結部材
61 ナット
62 中間プレート
80,80A,80B ガラス板
81 取付け穴
82 傾斜面
83 開口部
62 中間プレート
107 対象物
622 締結面
623 環状突部

Claims (4)

  1. 対象物の表面から内方へ向かう傾斜面により拡径した取付け穴に固定される固定具であって、
    最大径を有する先端部から基端部側へ縮径するテーパ面を備えたアンカー部、及び該アンカー部の基端側に結合され該アンカー部と同一軸線上に位置する雄ねじ部を備えた取付け部材と、
    前記アンカー部の最大径に対しより大きい外径及びより小さい内径を有し前記雄ねじ部を通し得る可撓性リングと、
    前記雄ねじ部に螺合可能であり螺合状態において前記アンカー部に臨む側に締結面を有した締結部材とを備え、
    前記締結面の外径が前記可撓性リングの内径より大きくされていることを特徴とする固定具。
  2. 前記締結部材が、前記締結面から突出し前記雄ねじ部への螺合状態において前記テーパー面上の前記可撓性リングに接し得る環状突部を備え、該環状突部の外径は、前記可撓性リングの外径より小さくその内径より大きくされていることを特徴とする請求項1に記載の固定具。
  3. 前記取付け穴の奥端面と前記アンカー部の最大径側の端面との間に緩衝板が介在していることを特徴とする請求項1または2に記載の固定具。
  4. 請求項1から3のいずれかに記載の固定具を用いた固定構造であって、
    対象物の表面から内方へ向かう傾斜面により拡径した取付け穴に対し請求項1または2に記載の固定具を固定した固定構造であって、
    前記取付け穴の開口部の径は、前記アンカー部の最大径より大きく、前記可撓性リングの外径及び前記締結面の外径より小さくされており、
    前記アンカー部は前記取付け穴内に挿入され、該アンカー部のテーパー面と前記取付け穴の傾斜面との間に前記可撓性リングが挟持され、前記締結部材が前記雄ねじ部に螺合され前記締結面を前記表面に接した状態で前記可撓性リングの弾性変形を伴って前記アンカー部を引き寄せるように緊く締結されていることを特徴とする固定構造。
JP2008191830A 2008-07-25 2008-07-25 固定具及び固定構造 Expired - Fee Related JP5014279B2 (ja)

Priority Applications (1)

Application Number Priority Date Filing Date Title
JP2008191830A JP5014279B2 (ja) 2008-07-25 2008-07-25 固定具及び固定構造

Applications Claiming Priority (1)

Application Number Priority Date Filing Date Title
JP2008191830A JP5014279B2 (ja) 2008-07-25 2008-07-25 固定具及び固定構造

Publications (2)

Publication Number Publication Date
JP2010031897A true JP2010031897A (ja) 2010-02-12
JP5014279B2 JP5014279B2 (ja) 2012-08-29

Family

ID=41736610

Family Applications (1)

Application Number Title Priority Date Filing Date
JP2008191830A Expired - Fee Related JP5014279B2 (ja) 2008-07-25 2008-07-25 固定具及び固定構造

Country Status (1)

Country Link
JP (1) JP5014279B2 (ja)

Families Citing this family (1)

* Cited by examiner, † Cited by third party
Publication number Priority date Publication date Assignee Title
CN108843833B (zh) * 2018-06-13 2019-08-23 鹤山市波士顿卫浴实业有限公司 一种控制水阀的壳体及其安装方法

Citations (4)

* Cited by examiner, † Cited by third party
Publication number Priority date Publication date Assignee Title
GB2145445A (en) * 1982-01-28 1985-03-27 Beton Es Vasbetonipari Muevek Anchorage for concrete
JPH051709A (ja) * 1990-01-30 1993-01-08 Artur Fischer Gmbh 固定部材及びこの固定部材を取り付ける正面プレート
JP2000110285A (ja) * 1998-10-01 2000-04-18 Central Glass Co Ltd 板状体の支持構造
JP2003533648A (ja) * 2000-05-13 2003-11-11 フィッシャーヴェルケ アルツール フィッシャー ゲゼルシャフト ミット ベシュレンクテル ハフツング ウント コンパニー コマンディートゲゼルシャフト 合わせガラス用の固定部材及びプレート状の多層体中に固定された固定部材を有する装置

Patent Citations (4)

* Cited by examiner, † Cited by third party
Publication number Priority date Publication date Assignee Title
GB2145445A (en) * 1982-01-28 1985-03-27 Beton Es Vasbetonipari Muevek Anchorage for concrete
JPH051709A (ja) * 1990-01-30 1993-01-08 Artur Fischer Gmbh 固定部材及びこの固定部材を取り付ける正面プレート
JP2000110285A (ja) * 1998-10-01 2000-04-18 Central Glass Co Ltd 板状体の支持構造
JP2003533648A (ja) * 2000-05-13 2003-11-11 フィッシャーヴェルケ アルツール フィッシャー ゲゼルシャフト ミット ベシュレンクテル ハフツング ウント コンパニー コマンディートゲゼルシャフト 合わせガラス用の固定部材及びプレート状の多層体中に固定された固定部材を有する装置

Also Published As

Publication number Publication date
JP5014279B2 (ja) 2012-08-29

Similar Documents

Publication Publication Date Title
US8246281B2 (en) Captive fasteners with multiple retaining functionality
KR20100114919A (ko) 가변적인 파지 블라인드 리벳
CN105452680B (zh) 地脚螺栓
ATE523702T1 (de) Befestigungsanordnung
HU222312B1 (hu) Csavar fém és/vagy műanyag profilnak vagy lapnak egy aljzatra történő rögzítésére
KR20100049600A (ko) 블라인드 리벳
JP5014279B2 (ja) 固定具及び固定構造
KR101404938B1 (ko) 펀칭작업이 필요없는 개선된 세트 앵커볼트
JP7139183B2 (ja) ブラインドボルト
US10570945B2 (en) Pressing-type screw
US20100239384A1 (en) Molly bolt
JP2007198572A (ja) 金属拡張アンカー、金属拡張アンカーの施工方法
KR101168164B1 (ko) 앵커볼트
CN215805569U (zh) 拉钉结构
KR20160071860A (ko) 사출부품의 이탈방지용 체결장치
KR20160008803A (ko) 앵커볼트 조립체
WO2018168732A1 (ja) ブラインドナット
JP2014237988A (ja) 後施工アンカーおよび後施工アンカーシステム
CN201288749Y (zh) 一种快速螺钉副
KR200386889Y1 (ko) 리벳볼트
KR200490602Y1 (ko) 콘크리트폼 체결구
US20150158163A1 (en) Nail puller
KR20170002262A (ko) 고정안정성 증대용 결합면을 갖는 고정구 세트
KR102127681B1 (ko) 확장형 앙카볼트
EP2407676A1 (en) Structure of a build-in screw in a bushing and corresponding sensor housing

Legal Events

Date Code Title Description
A621 Written request for application examination

Free format text: JAPANESE INTERMEDIATE CODE: A621

Effective date: 20110510

A131 Notification of reasons for refusal

Free format text: JAPANESE INTERMEDIATE CODE: A131

Effective date: 20120228

A977 Report on retrieval

Free format text: JAPANESE INTERMEDIATE CODE: A971007

Effective date: 20120229

A521 Written amendment

Free format text: JAPANESE INTERMEDIATE CODE: A523

Effective date: 20120411

TRDD Decision of grant or rejection written
A01 Written decision to grant a patent or to grant a registration (utility model)

Free format text: JAPANESE INTERMEDIATE CODE: A01

Effective date: 20120515

A01 Written decision to grant a patent or to grant a registration (utility model)

Free format text: JAPANESE INTERMEDIATE CODE: A01

A61 First payment of annual fees (during grant procedure)

Free format text: JAPANESE INTERMEDIATE CODE: A61

Effective date: 20120605

FPAY Renewal fee payment (event date is renewal date of database)

Free format text: PAYMENT UNTIL: 20150615

Year of fee payment: 3

R150 Certificate of patent or registration of utility model

Free format text: JAPANESE INTERMEDIATE CODE: R150

S531 Written request for registration of change of domicile

Free format text: JAPANESE INTERMEDIATE CODE: R313531

R350 Written notification of registration of transfer

Free format text: JAPANESE INTERMEDIATE CODE: R350

LAPS Cancellation because of no payment of annual fees