JP2010029922A - 押し出しによる金属管の製造方法、マンドレル及び押出装置 - Google Patents

押し出しによる金属管の製造方法、マンドレル及び押出装置 Download PDF

Info

Publication number
JP2010029922A
JP2010029922A JP2008196348A JP2008196348A JP2010029922A JP 2010029922 A JP2010029922 A JP 2010029922A JP 2008196348 A JP2008196348 A JP 2008196348A JP 2008196348 A JP2008196348 A JP 2008196348A JP 2010029922 A JP2010029922 A JP 2010029922A
Authority
JP
Japan
Prior art keywords
mandrel
extrusion
temperature
metal tube
longitudinal direction
Prior art date
Legal status (The legal status is an assumption and is not a legal conclusion. Google has not performed a legal analysis and makes no representation as to the accuracy of the status listed.)
Granted
Application number
JP2008196348A
Other languages
English (en)
Other versions
JP5182629B2 (ja
Inventor
Keigo Matsuo
圭悟 松尾
Current Assignee (The listed assignees may be inaccurate. Google has not performed a legal analysis and makes no representation or warranty as to the accuracy of the list.)
Mitsubishi Materials Corp
Original Assignee
Mitsubishi Materials Corp
Priority date (The priority date is an assumption and is not a legal conclusion. Google has not performed a legal analysis and makes no representation as to the accuracy of the date listed.)
Filing date
Publication date
Application filed by Mitsubishi Materials Corp filed Critical Mitsubishi Materials Corp
Priority to JP2008196348A priority Critical patent/JP5182629B2/ja
Publication of JP2010029922A publication Critical patent/JP2010029922A/ja
Application granted granted Critical
Publication of JP5182629B2 publication Critical patent/JP5182629B2/ja
Expired - Fee Related legal-status Critical Current
Anticipated expiration legal-status Critical

Links

Images

Landscapes

  • Extrusion Of Metal (AREA)

Abstract

【課題】製造する金属管の周方向や長手方向の偏肉不良を防止し、焼き付き不良等の外観不良を防止して、品質を向上できる、押し出しによる金属管の製造方法、マンドレル及び押出装置を提供する。
【解決手段】金属材料を押し出す方向に延在し、製造される金属管の内周を形成するマンドレルと、金属管の外周を形成するダイスとを用いた押し出しによる金属管の製造方法であって、前記マンドレルを加熱する加熱工程と、前記マンドレルの温度を押し出しの目標設定温度に調整する温度調整工程と、金属材料を押し出す押出工程と、を有し、前記温度調整工程が、前記マンドレルをバーナーで加熱するとともに潤滑剤を塗布する作業と、前記マンドレルの内部に流体を流すことで該マンドレルの温度を降下させる作業と、前記マンドレルの延在する長手方向の温度差を確認する作業と、を備えることを特徴とする。
【選択図】図3

Description

本発明は、押し出しによる金属管の製造方法、金属管の内周を形成するマンドレル及び押出装置に関する。
従来、例えば円柱状の金属材料(ビレット)を押し出すことで金属管を製造する技術が知られている(例えば、特許文献1参照)。
一般に、このような押し出しによる金属管の製造では、押出装置に金属管の内周を形成するマンドレル及び金属管の外周を形成するダイスが備えられ、これらマンドレルとダイスとの間隙からビレットを押し出すことで、金属管が製造される。
特開平8−71634号公報
ところで、押し出しによる金属管の製造では、押し出された金属管に周方向や長手方向の偏肉不良が発生することがあり、特に押し出し初期には、マンドレル位置が安定せず偏肉不良が生じやすいという問題があった。押し出し初期に生じる偏肉不良は、従来では例えば2000mmにも及び、このように製造された金属管の偏肉不良部分は製品として出荷できないため、切断して廃棄され、無駄となっていた。
また、押し出し加工を滑らかに行うため、マンドレルには押し出し前に予め潤滑油(潤滑剤)が塗布されるが、潤滑油の塗布斑等によって、製造された金属管に焼き付き不良等の外観不良が発生することがあった。
このように偏肉不良や外観不良が生じることで、製品の歩留まりが悪くなり、金属管の製造には多くの費用が掛かっていた。
また、近年では、押し出しで製造した金属管を切断してそのまま製品とする所謂ネットシェイプ部品への要望があり、このような要望に対応するため、押し出しの加工精度(寸法精度)を向上する必要があった。また、ネットシェイプ部品の場合には、従来よりも表面品質を向上させる必要があった。
本発明は、このような事情に鑑みてなされたものであって、製造する金属管の周方向や長手方向の偏肉不良を防止し、焼き付き不良等の外観不良を防止して、品質を向上できる、押し出しによる金属管の製造方法、マンドレル及び押出装置を提供することを目的とする。
前記目的を達成するために、本発明は以下の手段を提案している。
すなわち本発明は、金属材料を押し出す方向に延在し、製造される金属管の内周を形成するマンドレルと、金属管の外周を形成するダイスとを用いた押し出しによる金属管の製造方法であって、前記マンドレルを加熱する加熱工程と、前記マンドレルの温度を押し出しの目標設定温度に調整する温度調整工程と、金属材料を押し出す押出工程と、を有し、前記温度調整工程が、前記マンドレルをバーナーで加熱するとともに潤滑剤を塗布する作業と、前記マンドレルの内部に流体を流すことで該マンドレルの温度を降下させる作業と、前記マンドレルの延在する長手方向の温度差を確認する作業と、を備えることを特徴とする。
本発明に係る押し出しによる金属管の製造方法によれば、まず、加熱工程でマンドレルを加熱した後、該マンドレルの温度を押し出しの目標設定温度に調整する温度調整工程を行うこととしている。この温度調整工程は、マンドレルをバーナーで加熱するとともに潤滑剤を塗布する作業と、マンドレルの内部に流体を流すことで該マンドレルの温度を降下させる作業と、マンドレルの延在する長手方向の温度差を確認する作業と、を有している。
すなわち、マンドレルの温度調整工程として、マンドレルをバーナーで再加熱するとともに潤滑油等の潤滑剤を塗布する作業を有するので、作業者が、マンドレルの表面温度を、該マンドレルの色、潤滑剤の蒸発状態又は燃焼状態、潤滑剤が燃焼する炎の色等から判断して、バーナーで加熱しながらマンドレル全体に略均一の設定温度となるように調整するとともに潤滑剤の塗布を斑無く均一に行える。
また、マンドレルの内部に冷却水等の流体を流すことでマンドレルの温度を降下させる作業を有するので、温度調整が短時間で行える。
また、マンドレルの長手方向の温度差を確認する作業を有するので、マンドレルの長手方向の潤滑状態が安定し、押し出し時にマンドレルの位置が早期にセンタリングされ安定する。すなわち、従来のように、マンドレルの長手方向の温度差が比較的大きいことに起因し潤滑状態の差及び変動が発生して、押し出し時にマンドレルの位置がなかなか安定せず、偏肉不良の領域が増大するようなことが防止される。
このようにマンドレルの温度調整工程が行われた後、金属材料の押し出し(押出工程)を行うことで、より滑らかに押し出し加工が行われるので、金属管の周方向や長手方向の偏肉不良が防止され、かつ、潤滑剤の塗布斑等に起因した焼き付き不良などの外観不良が防止されて、品質が大幅に向上する。よって、製品歩留まりが向上し、製作費用が低減される。また、製造後の偏肉検査工程を削減できるので、生産性が向上する。
また、押し出した金属管の寸法精度が充分に確保されるとともに、表面品質が向上するため、製造後に切削加工等を特に必要としない所謂ネットシェイプ部品として用いることができる。
また、本発明の押し出しによる金属管の製造方法において、前記温度調整工程で、前記マンドレルの長手方向の温度差が前記目標設定温度の20℃以内の範囲に設定されることとしてもよい。
本発明に係る押し出しによる金属管の製造方法によれば、温度調整工程におけるマンドレルの長手方向の温度差が目標設定温度の20℃以内の範囲に設定されるので、マンドレルの潤滑状態が安定し、押し出し時に、マンドレルが早期にセンタリングし、押し出した金属管の偏肉不良や外観不良がより確実に防止され、品質の高い金属管が製造できる。
また、本発明の押し出しによる金属管の製造方法において、前記加熱工程で、前記マンドレルを前記目標設定温度よりも昇温させ、前記温度調整工程で、前記マンドレルの温度を前記目標設定温度へ降下させることとしてもよい。
本発明に係る押し出しによる金属管の製造方法によれば、加熱工程で、予めマンドレルを押し出しの目標設定温度よりも昇温させておき、次いで温度調整工程で、マンドレルの内部に冷却水等の流体を流すことで、マンドレルの温度を目標設定温度に降下させるようにしている。よって、例えば温度調整を低温から高温に向け加熱により行うような場合に比べ、短時間でより精度よく調整作業が行える。
また本発明は、押し出しにより製造される金属管の内周を形成するためのマンドレルであって、先端を封止された筒状の外装部と、前記外装部に挿入され、該外装部の延在する長手方向に延びる筒状からなり、外周の長手方向に間隔を開け複数の流体噴出穴が形成された流体供給部と、前記流体供給部の前記流体噴出穴から噴出した流体を排出する流体排出部と、を備えることを特徴とする。
本発明に係るマンドレルによれば、外装部の内部に該外装部の長手方向に延びる流体供給部が挿入されており、流体供給部の外周には、長手方向に間隔を開け複数の流体噴出穴が設けられている。そして、流体供給部に冷却水等の流体を流すことで、各流体噴出穴から流体が噴出するとともに、該流体が外装部と流体供給部との間隙に充満して乱流を起こすように該外装部との間で熱交換された後、流体排出部から外部へ排出されるので、外装部を長手方向に温度斑無く略均一に冷却できる。
よって、例えば従来のように、流体供給部の先端のみに流体噴出穴を設けた場合に、流体噴出穴から噴出した流体が外装部と流体供給部との間を基端側へ向け流れるに連れ漸次温度上昇して、外装部を長手方向に均一に冷却できなくなるようなことが防止される。
また、このようにマンドレルが冷却されることで、該マンドレルの剛性が確保され、押し出し時の曲がり等の変形が防止されるので、マンドレルの寿命が延長される。
また本発明は、押し出しにより製造される金属管の内周を形成するためのマンドレルであって、先端を封止された筒状の外装部と、前記外装部に挿入され、該外装部の延在する長手方向に延びる筒状からなり、先端に流体噴出穴が形成された流体供給部と、前記流体供給部の前記流体噴出穴から噴出した流体を排出する流体排出部と、を備え、前記外装部は、長手方向の基端側から先端側に向かうに連れ、漸次その肉厚を増大させることを特徴とする。
本発明に係るマンドレルによれば、外装部の内部に該外装部の長手方向に延びる流体供給部が挿入されており、流体供給部の先端には流体噴出穴が設けられている。そして、流体供給部に冷却水等の流体を流すことで、流体噴出穴から流体が噴出するとともに、該流体が外装部と流体供給部との間隙を基端側へと流れ、外装部との間で熱交換された後、流体排出部から外部へ排出される。ここで、外装部の肉厚は、長手方向の基端側から先端側に向かうに連れ漸次その肉厚を増大させて形成されるので、基端側から先端側に向かうに連れ漸次その蓄熱量が増大することとなる。
すなわち、流体供給部の先端から噴出された流体は、蓄熱量の大きい先端側から蓄熱量の少ない基端側へ向け流されながら外装部との熱交換を行うため、外装部の外周の温度は、長手方向に略均一に温度調整される。よって、従来のように、外装部の肉厚を長手方向に略均一に形成するとともに流体を流体供給部の先端の流体噴出穴のみから噴出した場合に、外装部の先端側が基端側に比べ大きく温度降下し、マンドレルの長手方向の温度差が増大するようなことが防止される。
また本発明は、マンドレルを用いて金属管を製造する押出装置であって、前述のマンドレルを用いたことを特徴としている。
本発明に係る押出装置によれば、製造する金属管の偏肉不良や外観不良を防止でき、品質を向上できる。
本発明に係る押し出しによる金属管の製造方法によれば、マンドレルの潤滑状態が安定し、製造される金属管の周方向や長手方向の偏肉不良が防止され、かつ、焼き付き不良等の外観不良が防止されて、品質が大幅に向上するとともに、製品歩留まりが向上し、製作費用が低減できる。また、製造後の偏肉検査工程を削減できるので、生産性が向上すると共に、マンドレルの損傷も低減できるので、マンドレル寿命も向上する。
また、押し出した金属管の寸法精度が充分に確保され、表面品質が向上するため、製造後に切削加工等を特に必要としない所謂ネットシェイプ部品として用いることができる。
また、本発明に係るマンドレル及びこれを用いた押出装置によれば、マンドレルの外装部の外周を長手方向に略均一に冷却でき、押し出し前のマンドレルの温度調整を精度よく行うことができるので、マンドレルの潤滑状態が安定し、該マンドレルを用いて押し出した金属管の周方向や長手方向の偏肉不良が防止され、かつ、焼き付き不良等の外観不良が防止されて、品質が大幅に向上する。
図1は本発明の一実施形態に係る押出装置の概略構成を示す側断面図、図2は本発明の一実施形態に係るマンドレルの概略構成を示す側断面図、図3は本発明の一実施形態に係る押し出しによる金属管の製造手順を説明する図である。
本実施形態のマンドレル1を用いた押出装置20は、例えば2250t程度の押出圧を有し、略円柱状の黄銅等からなる銅合金製のビレット(金属材料)Mを押し出して、略円筒状の金属管Pを製造する。詳しくは、ビレットMとしては、例えばφ250mm×L550mm程度の外形を有する「三菱マテリアル社製:MBA2、MBA5、MBA52又はMBA504」等を用いることができ、製造する金属管Pの断面寸法は、例えば外径φ78.5×内径φ66.6程度に設定される。
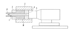
図1に示すように、本実施形態の押出装置20は、略円筒状のマントル2の軸線方向(図1における左右方向)の一方側(図1における左側)に、製造する金属管Pの外径を規制して外周を形成する略リング状のダイス3を備えている。例えばダイス3としては、所謂フローティングダイスが用いられる。また、マントル2の内径と略同一又は僅かに小さな外径を有する略リング状のダミーブロック4が、マントル2の内部を軸線方向に移動可能に配設される。
また、ダミーブロック4の他方側の端面には、略多段円柱状のプッシャー5が、その小径部分の一方側の端面を当接して配設される。プッシャー5の一方側の端面の外径は、マントル2の内径より小径に、かつ、ダミーブロック4の内径より大径に形成される。また、プッシャー5の一方側の端面の略中央には、軸線方向に延びる略円筒状のマンドレル1の基端が着脱可能に装着される。マンドレル1の外径は、ダミーブロック4の内径と略同一又は僅かに小さく設定される。マンドレル1及びプッシャー5は、マントル2及びダイス3と軸線方向に相対移動可能とされている。
図2に示すように、マンドレル1は、一方側(図2における左側)の先端を封止された略円筒状の外装部11と、この外装部11に他方側(図2における右側)の基端から挿入され、外装部11の延在する長手方向(図2における左右方向)に延びる略円筒状の冷却水供給管(流体供給部)12とを備えている。外装部11は、その肉厚tが長手方向の各部で略一定に設定される。冷却水供給管12の外周には、長手方向及び周方向に互いに間隔を開けて配された複数の冷却水噴出穴(流体噴出穴)13が設けられている。また、冷却水供給管12の基端部分は、プッシャー5を介し図示しない冷却水供給手段に接続されていて、冷却水Cを供給される構成となっている。
また、マンドレル1の基端のダミーブロック4及びプッシャー5に対応する部分近傍には、冷却水Cが外装部11との熱交換に用いられた後の排水Hを流すための流路が形成されており、この流路が冷却水排出部(流体排出部)14とされている。すなわち、マンドレル1の基端近傍における外装部1と冷却水供給管12との間の略円筒状の間隙が冷却水排出部14とされており、冷却水排出部14の他方側の基端部分は、プッシャー5を介し図示しない排水手段に接続されていて、マンドレル1から排水Hを排出する構成とされる。
次いで、本実施形態の押出装置20を用いて押し出しにより金属管Pを製造する手順について説明する。
まず、図3に示すように、マンドレル加熱工程(加熱工程)として、押出装置20から取り外した状態のマンドレル1を、加熱炉等で予め加熱しておく。このマンドレル1の加熱は、押し出し時のマンドレル1の設定温度(目標設定温度)よりも昇温させるように行う。
次いで、加熱したマンドレル1を押出装置20のプッシャー5に取り付け、マンドレル温度調整工程(温度調整工程)として、マンドレル1をバーナーで加熱するとともに潤滑油等の潤滑剤を塗布する作業と、マンドレル1の内部に冷却水Cを流すことで該マンドレル1の温度を降下させる作業と、マンドレル1の延在する長手方向の温度差を確認する作業と、を適宜行う。
すなわち、温度調整工程のうちの一つの作業として、プッシャー5に装着したマンドレル1を軸線周りに回転させながら、作業者が、マンドレル1の外装部11をバーナーで加熱するとともに潤滑剤を塗布し、マンドレル1の色、潤滑剤の蒸発状態又は燃焼状態、潤滑剤が燃焼する炎の色等からマンドレル1の表面温度を判断しながら、潤滑剤をマンドレル1全体に斑無く塗布する。この潤滑剤としては、例えば「日本アチソン社製・オイルダック」等の押出加工用の潤滑油を用いることが好ましい。
また、温度調整工程のうちの他の作業として、予め押し出しの設定温度より昇温させたマンドレル1の冷却水供給管12に冷却水Cを供給して、冷却水Cと外装部11との間で熱交換させることで、外装部11の表面温度を設定温度に降下させる。マンドレル1の外装部11の設定温度は、例えば350℃程度とされる。
また、温度調整工程のうちの前述の2つの作業とは別の作業として、例えば放射温度計による温度差測定やサーモグラフィ等の測定機器を用いて、マンドレル1の外装部11の長手方向の各部における温度の状態を確認し、温度斑が無いように加熱又は冷却し調整する。詳しくは、外装部11のビレットMに対応する部分の長手方向の各部における温度差を確認し、この温度差が設定温度の20℃以内の範囲に収まるように調整する。
温度調整工程の前述の3つの作業は、外装部11の表面温度が設定温度とされ、その長手方向の各部における温度差が20℃以内の範囲に収まり、潤滑剤が斑無く塗布された状態となるまで、必要に応じ適宜繰り返し行う。また、繰り返し前述の3つの作業を行うに際し、作業の順序は限定されない。
一方、押出装置20のマントル2の内部には、予め加熱したビレットMを挿入しておく。挿入されたビレットMは、その軸線方向の一方側の端面をダイス3の他方側(図1における右側)の端面に当接し、軸線方向の他方側の端面をダミーブロック4の一方側の端面に当接して配される。
次いで、押出工程として、まずマントル2の内部に配したビレットMを、アプセット工程を経て充満させる。次にマンドレル1を用いてビレット中心をピアシングし、マンドレル1及びダミーブロック4により軸線方向の一方側に押し出して、金属管Pを製造する。
以上説明したように、本実施形態のマンドレル1を用いた押出装置20の押し出しによる金属管Pの製造によれば、マンドレル1の温度調整工程のうちの一つの作業として、マンドレル1の外周をバーナーで再加熱するとともに潤滑剤を塗布するので、作業者が、マンドレル1の表面温度を、該マンドレル1の色、潤滑剤の蒸発状態又は燃焼状態、潤滑剤が燃焼する炎の色等から判断して、バーナーで加熱しながらマンドレル1全体に略均一の温度となるように調整するとともに潤滑剤の塗布を斑無く均一に行える。
また、温度調整工程のうちの他の作業として、マンドレル1の内部に冷却水Cを流すことでマンドレル1の温度を降下させるので、温度調整が短時間で行える。すなわち、加熱工程で予め押し出しの設定温度よりも昇温させた状態のマンドレル1を、内部に流れる冷却水Cを用いて冷却し、迅速に設定温度に向け降下させるようにしている。よって、例えば温度調整を低温から高温に向け加熱により行うような場合に比べ、短時間でより精度よく調整作業が行える。
また、温度調整工程のうちの前述の2つの作業とは別の作業として、マンドレル1の長手方向の温度差を確認するので、マンドレル1の長手方向の潤滑状態が安定し、押し出し時にマンドレル1の位置が早期にセンタリングされ安定する。すなわち、従来のように、マンドレル1の長手方向の温度差が比較的大きいことに起因し潤滑状態の差及び変動が発生して、押し出し時にマンドレル1の位置がなかなか安定せず、偏肉不良の領域が増大するようなことが防止される。
このようにマンドレル1の温度調整工程が行われた後、ビレットMの押し出し(押出工程)を行うことで、より滑らかに押し出し加工が行われるので、金属管Pの周方向や長手方向の偏肉不良が防止され、かつ、潤滑剤の塗布斑等に起因した焼き付き不良などの外観不良が防止されて、品質が大幅に向上する。さらに、本実施形態では、この温度差を20℃以内の範囲に設定したので、マンドレル1の潤滑状態が安定し、押し出し時に、マンドレル1が早期にセンタリングし、押し出した金属管Pの偏肉不良や外観不良がより確実に防止され、品質の高い金属管Pが製造できる。
また、このような温度調整工程を設けることで、特に押し出し初期の偏肉不良部分が金属管Pの長手方向の800mm以下にまで低減され、歩留まりが飛躍的に向上する。すなわち、従来のように、例えばマンドレル1の外装部11の長手方向の温度調整を行わず、長手方向の各部の温度差が70℃〜90℃程度の状態で押し出しを行った場合には、押し出し初期の偏肉不良部分が1500mm〜2000mm程度にも及び歩留まりが悪くなるが、このようなことが防止される。
また、押し出し初期から長手方向の800mmを超えて製造された金属管Pにおいては、偏肉が周方向および長手方向の各部で0.7mm以下に収まり、肉厚の精度が充分に確保される。従って、偏肉不良が確実に防止され、押し出し初期以外の金属管Pにおける製品歩留まりも向上して、製作費用が低減される。また、製造後の偏肉検査工程を削減できるので、生産性が向上する。
また、押し出した金属管Pの寸法精度が充分に確保されるとともに、表面品質が向上するため、製造後に切削加工等を特に必要としない所謂ネットシェイプ部品として用いることができる。
さらに、本実施形態のように比較的外形の大きなビレットMを用いた場合でも、従来に比し押出圧力を低減させることができるので、一度で押し出しできる金属管Pの全長が増大し、作業性及び生産性が向上する。
詳しくは、従来のビレットが、例えばφ200mm×L410mm程度の外形を有し、一度の押し出しで製造される金属管の全長が8m程度とされるのに比し、本実施形態では、ビレットMがφ250mm×L550mm程度の外形を有し、一度の押し出しで製造される金属管Pの全長が18m程度にまで増大する。
また、マンドレル1は、冷却水供給管12に冷却水Cを流すことで、各冷却水噴出穴13から冷却水Cを噴出させるとともに、噴出した冷却水Cが外装部11と冷却水供給管12との間隙に充満して乱流を起こすように外装部11との間で熱交換された後、冷却水排出部14から外部へと排出されるので、外装部11を長手方向に温度斑無く略均一に冷却することができる。
よって、例えば従来のように、冷却水供給管12の先端のみに冷却水噴出穴13を設けた場合に、冷却水噴出穴13から噴出した冷却水Cが外装部11と冷却水供給管12との間を基端側へ向け流れるに連れ漸次温度上昇して、外装部11を長手方向に均一に冷却できなくなるようなことが防止される。
また、このようにマンドレル1が冷却されることで、該マンドレル1の剛性が確保され、押し出し時の曲がり等の変形が防止されるので、マンドレル1の寿命が延長される。
尚、本発明は前述の実施形態に限定されるものではなく、本発明の趣旨を逸脱しない範囲において種々の変更を加えることが可能である。
例えば、本実施形態では、外装部11の肉厚tが、長手方向の各部において略一定に設定され、冷却水供給管12の外周の長手方向及び周方向に互いに間隔を開け複数の冷却水噴出穴13が設けられることとして説明したが、これに限定されるものではない。
図4は、本発明の一実施形態に係るマンドレルの変形例を示す概略側断面図であり、マンドレル21の外装部31は、長手方向の基端側(図4における右側)から先端側(図4における左側)に向かうに連れ、漸次その肉厚tを増大させて形成される。また、冷却水供給管(流体供給部)32は、その長手方向の先端に冷却水噴出穴(流体噴出穴)33を有している。
このような構成のマンドレル21によれば、冷却水供給管32に冷却水Cを流すことで、冷却水噴出穴33から冷却水Cが噴出するとともに、噴出した冷却水Cが外装部31と冷却水供給管32との間隙を基端側へと流れ、外装部31との間で熱交換された後、冷却水排出部14から外部へ排出される。ここで、外装部31の肉厚tは、長手方向の基端側から先端側に向かうに連れ漸次その肉厚を増大させて形成されるので、基端側から先端側に向かうに連れ漸次その蓄熱量が増大することとなる。
すなわち、冷却水供給管32の先端から噴出された冷却水Cは、蓄熱量の大きい先端側から蓄熱量の少ない基端側へ向け流されながら外装部31との熱交換を行うため、外装部31の外周の温度は、長手方向に略均一に温度調整される。よって、従来のように、外装部31の肉厚tを長手方向に略均一に形成するとともに冷却水Cを冷却水供給管32の先端のみから噴出した場合に、外装部31の先端側が基端側に比べ大きく温度降下し、マンドレル21の長手方向の温度差が増大するようなことが防止される。
また本実施形態では、黄銅等からなる銅合金製のビレットMを用いることとして説明したが、ビレットMの材質はこれに限定されるものではなく、それ以外の金属材料であっても構わない。
また金属管Pの断面寸法やビレットMの外形寸法は本実施形態に限定されるものではない。
また、本実施形態では略円柱状のビレットMを用いることとして説明したが、それ以外の形状であってもよく、例えば略円筒状のビレットMを用いても構わない。
また、本実施形態ではマンドレル1,21の内部に冷却水Cを流し外装部11,31を冷却させることとして説明したが、冷却水C以外の流体を用いてもよく、例えばエアや溶剤等としても構わない。
また、本実施形態では、温度調整工程におけるマンドレル1,21の長手方向の温度差を20℃以内の範囲に設定することとして説明したが、温度差は本実施形態に限定されるものではない。
また、本実施形態では、温度調整工程においてマンドレル1を冷却水Cで冷却し該マンドレル1の温度を設定温度へ向け降下させることとして説明したが、これに限定されるものではなく、例えば温度調整工程においてマンドレル1をバーナーで加熱し該マンドレル1の温度を設定温度へ向け昇温させることとしても構わない。
また、加熱工程においてマンドレル1を設定温度に対し略同一又は僅かに低い温度になるまで加熱しておき、次いで温度調整工程においてバーナーでさらに加熱して該マンドレル1の温度を設定温度よりも昇温させた後、マンドレル1を冷却して設定温度へ降下させることとしても構わない。
本発明の一実施形態に係る押出装置の概略構成を示す側断面図である。 本発明の一実施形態に係るマンドレルの概略構成を示す側断面図である。 本発明の一実施形態に係る押し出しによる金属管の製造手順を説明する図である。 本発明の一実施形態に係るマンドレルの変形例を示す概略側断面図である。
符号の説明
1,21 マンドレル
3 ダイス
11,31 外装部
12,32 冷却水供給管(流体供給部)
13,33 冷却水噴出穴(流体噴出穴)
14 冷却水排出部(流体排出部)
20 押出装置
M ビレット(金属材料)
P 金属管
t 外装部の肉厚

Claims (6)

  1. 金属材料を押し出す方向に延在し、製造される金属管の内周を形成するマンドレルと、金属管の外周を形成するダイスとを用いた押し出しによる金属管の製造方法であって、
    前記マンドレルを加熱する加熱工程と、前記マンドレルの温度を押し出しの目標設定温度に調整する温度調整工程と、金属材料を押し出す押出工程と、を有し、
    前記温度調整工程が、前記マンドレルをバーナーで加熱するとともに潤滑剤を塗布する作業と、前記マンドレルの内部に流体を流すことで該マンドレルの温度を降下させる作業と、前記マンドレルの延在する長手方向の温度差を確認する作業と、を備えることを特徴とする押し出しによる金属管の製造方法。
  2. 請求項1に記載の押し出しによる金属管の製造方法であって、
    前記温度調整工程で、前記マンドレルの長手方向の温度差が前記目標設定温度の20℃以内の範囲に設定されることを特徴とする押し出しによる金属管の製造方法。
  3. 請求項1又は請求項2に記載の金属管の製造方法であって、
    前記加熱工程で、前記マンドレルを前記目標設定温度よりも昇温させ、
    前記温度調整工程で、前記マンドレルの温度を前記目標設定温度へ降下させることを特徴とする押し出しによる金属管の製造方法。
  4. 押し出しにより製造される金属管の内周を形成するためのマンドレルであって、
    先端を封止された筒状の外装部と、
    前記外装部に挿入され、該外装部の延在する長手方向に延びる筒状からなり、外周の長手方向に間隔を開け複数の流体噴出穴が形成された流体供給部と、
    前記流体供給部の前記流体噴出穴から噴出した流体を排出する流体排出部と、を備えることを特徴とするマンドレル。
  5. 押し出しにより製造される金属管の内周を形成するためのマンドレルであって、
    先端を封止された筒状の外装部と、
    前記外装部に挿入され、該外装部の延在する長手方向に延びる筒状からなり、先端に流体噴出穴が形成された流体供給部と、
    前記流体供給部の前記流体噴出穴から噴出した流体を排出する流体排出部と、を備え、
    前記外装部は、長手方向の基端側から先端側に向かうに連れ、漸次その肉厚を増大させることを特徴とするマンドレル。
  6. マンドレルを用いて金属管を製造する押出装置であって、
    前記マンドレルとして、請求項4又は請求項5に記載のマンドレルを用いたことを特徴とする押出装置。
JP2008196348A 2008-07-30 2008-07-30 押し出しによる金属管の製造方法、マンドレル及び押出装置 Expired - Fee Related JP5182629B2 (ja)

Priority Applications (1)

Application Number Priority Date Filing Date Title
JP2008196348A JP5182629B2 (ja) 2008-07-30 2008-07-30 押し出しによる金属管の製造方法、マンドレル及び押出装置

Applications Claiming Priority (1)

Application Number Priority Date Filing Date Title
JP2008196348A JP5182629B2 (ja) 2008-07-30 2008-07-30 押し出しによる金属管の製造方法、マンドレル及び押出装置

Publications (2)

Publication Number Publication Date
JP2010029922A true JP2010029922A (ja) 2010-02-12
JP5182629B2 JP5182629B2 (ja) 2013-04-17

Family

ID=41735051

Family Applications (1)

Application Number Title Priority Date Filing Date
JP2008196348A Expired - Fee Related JP5182629B2 (ja) 2008-07-30 2008-07-30 押し出しによる金属管の製造方法、マンドレル及び押出装置

Country Status (1)

Country Link
JP (1) JP5182629B2 (ja)

Cited By (2)

* Cited by examiner, † Cited by third party
Publication number Priority date Publication date Assignee Title
JP2016533899A (ja) * 2013-10-16 2016-11-04 ブルーンケ・ウルリヒ 平坦なシート材を製造するための押出しプレス
CN116921492A (zh) * 2023-09-19 2023-10-24 成都先进金属材料产业技术研究院股份有限公司 一种厚壁钛合金管材的制备方法

Citations (4)

* Cited by examiner, † Cited by third party
Publication number Priority date Publication date Assignee Title
JPS5819396A (ja) * 1981-07-28 1983-02-04 Nippon Steel Corp 鋼材の熱間成形用潤滑剤
JPH0390212A (ja) * 1989-09-01 1991-04-16 Sumitomo Metal Ind Ltd 稠密六方晶金属の熱間押出方法
JPH1043804A (ja) * 1996-08-05 1998-02-17 Nkk Corp 強冷却型プラグおよびその冷却方法
JPH10328727A (ja) * 1997-06-03 1998-12-15 Sumitomo Metal Ind Ltd 熱間押出製管用マンドレルの予熱方法およびその加熱装置

Patent Citations (4)

* Cited by examiner, † Cited by third party
Publication number Priority date Publication date Assignee Title
JPS5819396A (ja) * 1981-07-28 1983-02-04 Nippon Steel Corp 鋼材の熱間成形用潤滑剤
JPH0390212A (ja) * 1989-09-01 1991-04-16 Sumitomo Metal Ind Ltd 稠密六方晶金属の熱間押出方法
JPH1043804A (ja) * 1996-08-05 1998-02-17 Nkk Corp 強冷却型プラグおよびその冷却方法
JPH10328727A (ja) * 1997-06-03 1998-12-15 Sumitomo Metal Ind Ltd 熱間押出製管用マンドレルの予熱方法およびその加熱装置

Cited By (3)

* Cited by examiner, † Cited by third party
Publication number Priority date Publication date Assignee Title
JP2016533899A (ja) * 2013-10-16 2016-11-04 ブルーンケ・ウルリヒ 平坦なシート材を製造するための押出しプレス
CN116921492A (zh) * 2023-09-19 2023-10-24 成都先进金属材料产业技术研究院股份有限公司 一种厚壁钛合金管材的制备方法
CN116921492B (zh) * 2023-09-19 2024-02-02 成都先进金属材料产业技术研究院股份有限公司 一种厚壁钛合金管材的制备方法

Also Published As

Publication number Publication date
JP5182629B2 (ja) 2013-04-17

Similar Documents

Publication Publication Date Title
US5827467A (en) Method and apparatus for forming flanges on tubes
TWI430856B (zh) 多管道銅管的製造方法及製造設備
US8333092B2 (en) Piercer, plug and method of manufacturing seamless pipe or tube
US11638943B2 (en) Method for manufacturing cold-forged, extruded aluminum alloy tube
CN101549362A (zh) 一种小尺寸镁合金棒管热挤压成型模具
JP5182629B2 (ja) 押し出しによる金属管の製造方法、マンドレル及び押出装置
JP2010120072A (ja) ダイカスト鋳造装置
JP5381349B2 (ja) 回転ホイール式連続押出装置及び金属押出材の製造方法
CN105710182A (zh) 一种长筒件板材旋压成形方法
CN105268753B (zh) 一种挤压机及利用挤压机制备大口径厚壁无缝铜管的方法
KR100918612B1 (ko) 후판 용접형 예비성형체를 이용한 유동성형 압력 용기제작 방법
CN105499293A (zh) 一种利用挤压机制备大口径厚壁无缝铜管的方法
CN111112364B (zh) 一种适用于弹体类深孔挤压件的阶梯式深孔挤压工艺
RU2248260C1 (ru) Способ изготовления прецизионных длинномерных цилиндрических изделий, преимущественно биметаллических, и инструмент для его осуществления
CN107808064B (zh) 高炉风口前端帽体的短流程挤压成型工艺的优化设计方法
JP5678871B2 (ja) 継目無管の製造方法
JP2017013102A (ja) 継目無鋼管の製造方法
CN115139056A (zh) 一种特殊宽铝合金薄板型材挤压生产工艺
JPH1029011A (ja) フィン付き押出し鋼管の製造方法
JP2008213011A (ja) 射出装置
CN116921485B (zh) 多孔铝管挤压用充氮长寿命挤压模具
RU2816967C1 (ru) Водоохлаждаемая оправка косовалкового прошивного стана, способ изготовления этой оправки и штамповая оснастка для ее изготовления
KR102910698B1 (ko) 착탈식 멘드렐 및 다이스를 갖는 단동식 압출 성형 장치
KR20120129671A (ko) 비철금속 세경튜브 제조방법 및 이 방법으로 제조된 비철금속 세경튜브
JP7364875B2 (ja) プレス穿孔機、および、継目無管の製造方法

Legal Events

Date Code Title Description
A621 Written request for application examination

Free format text: JAPANESE INTERMEDIATE CODE: A621

Effective date: 20110719

A977 Report on retrieval

Free format text: JAPANESE INTERMEDIATE CODE: A971007

Effective date: 20120510

A131 Notification of reasons for refusal

Free format text: JAPANESE INTERMEDIATE CODE: A131

Effective date: 20120515

A521 Written amendment

Free format text: JAPANESE INTERMEDIATE CODE: A523

Effective date: 20120717

TRDD Decision of grant or rejection written
A01 Written decision to grant a patent or to grant a registration (utility model)

Free format text: JAPANESE INTERMEDIATE CODE: A01

Effective date: 20121221

A61 First payment of annual fees (during grant procedure)

Free format text: JAPANESE INTERMEDIATE CODE: A61

Effective date: 20130103

R150 Certificate of patent or registration of utility model

Free format text: JAPANESE INTERMEDIATE CODE: R150

FPAY Renewal fee payment (event date is renewal date of database)

Free format text: PAYMENT UNTIL: 20160125

Year of fee payment: 3

S111 Request for change of ownership or part of ownership

Free format text: JAPANESE INTERMEDIATE CODE: R313111

R350 Written notification of registration of transfer

Free format text: JAPANESE INTERMEDIATE CODE: R350

LAPS Cancellation because of no payment of annual fees