JP2010029874A - トランスファ装置 - Google Patents

トランスファ装置 Download PDF

Info

Publication number
JP2010029874A
JP2010029874A JP2008191703A JP2008191703A JP2010029874A JP 2010029874 A JP2010029874 A JP 2010029874A JP 2008191703 A JP2008191703 A JP 2008191703A JP 2008191703 A JP2008191703 A JP 2008191703A JP 2010029874 A JP2010029874 A JP 2010029874A
Authority
JP
Japan
Prior art keywords
pair
finger
workpiece
transfer device
fingers
Prior art date
Legal status (The legal status is an assumption and is not a legal conclusion. Google has not performed a legal analysis and makes no representation as to the accuracy of the status listed.)
Granted
Application number
JP2008191703A
Other languages
English (en)
Other versions
JP5342823B2 (ja
Inventor
Tatsuya Kotake
辰弥 小竹
Current Assignee (The listed assignees may be inaccurate. Google has not performed a legal analysis and makes no representation or warranty as to the accuracy of the list.)
Resonac Holdings Corp
Original Assignee
Showa Denko KK
Priority date (The priority date is an assumption and is not a legal conclusion. Google has not performed a legal analysis and makes no representation as to the accuracy of the date listed.)
Filing date
Publication date
Application filed by Showa Denko KK filed Critical Showa Denko KK
Priority to JP2008191703A priority Critical patent/JP5342823B2/ja
Publication of JP2010029874A publication Critical patent/JP2010029874A/ja
Application granted granted Critical
Publication of JP5342823B2 publication Critical patent/JP5342823B2/ja
Active legal-status Critical Current
Anticipated expiration legal-status Critical

Links

Images

Landscapes

  • Forging (AREA)
  • Press Drives And Press Lines (AREA)

Abstract

【課題】フィンガのフィードバーに対する位置調整作業を簡単に行えるトランスファ装置を提供する。
【解決手段】本発明のトランスファ装置は、並列に配置され、かつ開閉自在な一対のフィードバー1と、一対のフィードバー1の内側に互いに対向した状態に設けられ、かつ一対のフィードバーが閉じられた際に、ワークWを両側からチャックする一対のフィンガ2a,2bと、一対のフィンガ2a、2bのうち、少なくとも一方のフィンガ2aを、それに対応する一方のフィードバー1に開閉方向に沿って移動自在に支持し、かつ閉じる方向に付勢するフィンガ支持機構3と、一方のフィードバーd1に対して、一方のフィンガ2aの開閉方向の変位量を測定する変位量測定センサ4と、を備える。
【選択図】図2

Description

この発明は例えば、鍛造加工装置等においてワークを移載するのに用いられるトランスファ装置およびその関連技術に関する。
鍛造加工装置において、鍛造用金型にワークを移載するのに用いられるトランスファ装置としては、下記特許文献1,2に示すものが周知である。
このトランスファ装置は、並列に配置される一対のフィードバーと、一対のフィードバーの内側に互いに対向した状態に設けられた一対のフィンガとを備えている。そして、一対のフィードバーが閉じられて、ワークが一対のフィンガにより挟持(チャック)され、その状態で、一対のフィードバーがその長さ方向に移動して、ワークが鍛造用金型に対応する位置に配置される。その後、一対のフィードバーが開いて、ワークのチャックが解除されることにより、ワークが鍛造用金型に設置されるようになっている。
実公平7−15618号公報 特開2000−197936号公報
ところで、上記従来のトランスファ装置においては、フィンガのフィードバーに対する位置が正規の位置から多少でも位置ずれしていると、一対のフィンガによってワークを安定した状態でチャックできなくなってしまう。例えば、一方のフィンガがフィードバーに対し開閉方向(内外方向)に位置ずれしていると、一対のフィンガによりワークをチャックした際に、ワークがセンターラインから逸脱してしまい、ワークを安定状態に保持できなかったり、ワークを所定位置にセットできないことがある。
そこで、従来のトランスファ装置においては、運転を開始する前に、フィンガのフィードバーに対する位置を確認し、必要に応じて調整するようにしているが、この調整作業は、高い精度が要求されるため、緻密で慎重な作業となり、作業者にとって負担が大きく面倒であった。
この発明は、上記の課題に鑑みてなされたものであり、フィンガのフィードバーに対する位置調整作業を簡単かつ正確に行うことができるトランスファ装置およびその関連技術を提供することを目的とする。
上記の目的を達成するため、本発明は、以下の構成を備えている。
[1] 並列に配置され、かつ開閉自在な一対のフィードバーと、
前記一対のフィードバーの内側に互いに対向した状態に設けられ、かつ前記一対のフィードバーが閉じられた際に、ワークを両側からチャックする一対のフィンガと、
前記一対のフィンガのうち、少なくとも一方のフィンガを、それに対応する一方のフィードバーに開閉方向に沿って移動自在に支持し、かつ閉じる方向に付勢するフィンガ支持機構と、
前記一方のフィードバーに対して、前記一方のフィンガの開閉方向の変位量を測定する変位量測定センサと、を備えたことを特徴とするトランスファ装置。
[2] 前記変位量測定センサからの情報に基づいて、前記一対のフィンガによるワークのチャック状態を確認するようにした前項1に記載のトランスファ装置。
[3] 前記変位量測定センサからの情報に基づいて、前記一方のフィードバーに対する前記一方のフィンガの初期状態での固定位置を調整するようにした前項1または2に記載のトランスファ装置。
[4] 前記一対のフィンガが、前記一対のフィードバーにその長さ方向に沿って間隔をおいて複数設けられ、
前記一対のフィードバーが閉じられた際に、複数の前記一対のフィンガによって、複数のワークがチャックされるようにした前項1〜3のいずれか1項に記載のトランスファ装置。
[5] 前記フィンガ支持機構は、前記一方のフィードバーの内側から外側にかけて貫通状態に配置され、かつ前記フィンガと連動して移動するフィンガ連動部材を有し、
前記フィンガ連動部材の外側端部に、被測定部が設けられ、
前記変位量測定センサが、前記被測定部に対応した状態で前記一方のフィードバーに固定される前項1〜4のいずれか1項に記載のトランスファ装置
[6] 前記変位量測定センサが、非接触式センサによって構成される前項1〜5のいずれか1項に記載のトランスファ装置。
[7] 前記変位量測定センサが、渦電流式変位センサによって構成される前項1〜6のいずれか1項に記載のトランスファ装置。
[8] 前項1〜7のいずれか1項に記載のトランスファ装置と、
設置されたワークに対し鍛造加工を行うための鍛造用金型とを備え、
前記トランスファ装置によって、ワークをチャックした状態で、前記一対のフィードバーをその長さ方向に移動させてから、前記一対のフィードバーを開いて、ワークのチャックを解除することにより、そのワークを鍛造用金型に設置して、鍛造加工を行うようにしたことを特徴とする鍛造加工装置。
[9] 前項1〜7のいずれか1項に記載のトランスファ装置を用いた鍛造加工方法であって、
前記トランスファ装置によって、ワークをチャックした状態で、前記一対のフィードバーをその長さ方向に移動させてから、前記一対のフィードバーを開いて、ワークのチャックを解除することにより、そのワークを鍛造用金型に設置する工程と、
前記鍛造用金型に設置されたワークに対し鍛造加工を行う工程と、を含むことを特徴とする鍛造加工方法。
[10] 並列に配置され、かつ開閉自在な一対の開閉バーと、
前記一対の開閉バーの内側に互いに対向した状態に設けられ、かつ前記一対のフィードバーが閉じられた際に、ワークを両側からチャックする一対のフィンガと、
前記一対のフィンガのうち、少なくともいずれか一方のフィンガを、それに対応する一方の開閉バーに開閉方向に沿って移動自在に支持し、かつ閉じる方向に付勢するフィンガ支持機構と、
前記一方の開閉バーに対して、前記一方のフィンガの開閉方向の変位量を測定する変位量測定センサと、を備えたことを特徴とするワークチャッキング装置。
[11] 並列に配置され、かつ開閉自在な一対のフィードバーの内側に互いに対向した状態に一対のフィンガが設けられ、前記一対のフィードバーが閉じられた際に、前記一対のフィンガによってワークが両側からチャックされるようにしたトランスファ装置のチャック状態確認方法であって、
前記一対のフィンガのうち、少なくとも一方のフィンガを、それに対応する一方のフィードバーに開閉方向に沿って移動自在に支持し、かつ閉じる方向に付勢するフィンガ支持機構を設置しておくとともに、
前記一方のフィードバーに対して、前記一方のフィンガの開閉方向の変位量を測定する変位量測定センサを設置しておき、
前記変位量測定センサからの情報に基づいて、前記一対のフィンガによるワークのチャック状態を確認するようにしたことを特徴とするトランスファ装置のチャック状態確認方法。
[12] 並列に配置され、かつ開閉自在な一対のフィードバーの内側に互いに対向した状態に一対のフィンガが設けられ、前記一対のフィードバーが閉じられた際に、前記一対のフィンガによってワークが両側からチャックされるようにしたトランスファ装置のフィンガ位置調整方法であって、
前記一対のフィンガのうち、少なくとも一方のフィンガを、それに対応する一方のフィードバーに開閉方向に沿って移動自在に支持し、かつ閉じる方向に付勢するフィンガ支持機構を設置しておくとともに、
前記一方のフィードバーに対して、前記一方のフィンガの開閉方向の変位量を測定する変位量測定センサを設置しておき、
前記変位量測定センサからの情報に基づいて、前記一方のフィードバーに対する前記一方のフィンガの初期状態での固定位置を調整するようにした特徴とするトランスファ装置のフィンガ位置調整方法。
発明[1]のトランスファ装置によれば、ワークをチャックさせた状態のフィードバーに対するフィンガの変位量に基づいて、フィードバーに対するフィンガの固定位置を適正な位置に簡単に調整することができる。
発明[2]のトランスファ装置によれば、ワークのチャック状態を正確に確認することができる。
発明[3]のトランスファ装置によれば、上記と同様に、フィードバーに対するフィンガの固定位置を適正な位置に簡単に調整することができる。
発明[4]のトランスファ装置によれば、複数のワークを並行して移載することができる。
発明[5]のトランスファ装置によれば、フィードーに対するフィンガの変位量を精度良く検出することができる。
発明[6]のトランスファ装置によれば、フィードーに対するフィンガの変位量をより精度良く検出することができる。
発明[7]のトランスファ装置によれば、フィードーに対するフィンガの変位量をより一層精度良く検出することができる。
発明[8]によれば、上記と同様の効果を奏する鍛造加工装置を提供することができる。
発明[9]によれば、上記と同様の効果を奏する鍛造加工方法を提供することができる。
発明[10]によれば、上記と同様の効果を奏するワークチャッキング装置を提供することができる。
発明[11]によれば、上記と同様の効果を奏するトランスファ装置のチャック状態確認方法を提供することができる。
発明[12]によれば、上記と同様の効果を奏するトランスファ装置のフィンガ位置調整方法を提供することができる。
図1はこの発明の実施形態であるトランスファ装置が適用された多段式の鍛造加工装置を示す概略平面図である。同図に示すように、この鍛造加工装置は、トランスファ装置によって順次移載されるワーク(W)に対し、複数種類のプレス成形を行えるようになっている。
この鍛造加工装置は、ハウジング(5)を備え、そのハウジング(5)には、上流側(同図左側)から下流側(右側)にかけて第1〜第4ワーク設置部(51)〜(54)が順次設けられている。そして1番目のワーク設置部(51)は例えば、ワーク待機部等として構成され、搬入コンベア等の搬入手段(図示省略)によって、ハウジング(5)の外部から内部に搬入されたワーク(W)がワーク設置部(51)に設置されて待機できるようになっている。さらに2番目のワーク設置部(52)は例えば、据え込み加工用の金型によって構成されて、このワーク設置部(52)に設置されたワーク(W)に対し、据え込み加工等の予備成形が行われるようになっている。さらに3番目のワーク設置部(53)は例えば、鍛造加工用の金型によって構成されて、このワーク設置部(53)に設置されたワーク(W)に対し、鍛造加工等の主成形が行われるようになっている。さらに4番目のワーク設置部(54)は例えば、仕上げ加工用の金型によって構成されて、このワーク設置部(54)に設置されたワーク(W)に対し、仕上げ成形が行われるようになっている。
また4番目のワーク設置部(54)の下流側には、排出コンベア等によって構成される排出部(55)が設けられている。
本実施形態において、ワーク(W)は例えば、アルミニウムまたはアルミニウム合金等の金属によって構成されており、ワーク(W)に対し上記3つのプレス成形が並行に行われて、所定の鍛造製品が順次製造される。
ワーク(W)を移載するためのトランスファ装置は、1〜4番目のワーク設置部(51)〜(54)に配置されたワーク(W)等の移載対象物を、2〜4番目のワーク設置部(52)および排出部(55)にそれぞれ移載するものである。なお、4番目のワーク設置部(54)から排出部(55)へは、加工製品がトランスファ装置によって移載される場合もあるが、バリ等の加工製品以外のものがトランスファ装置によって移載されることもある。例えば4番目のワーク設置部(54)において、製品部分を打つ抜くようなブランキング加工を行う場合には、打ち抜かれたブランク製品は金型の下側から排出される一方、金型上に残存するバリ等がトランスファ装置によって、排出部(55)に移載されることになる。
本実施形態のトランスファ装置は、ワーク設置部(51)〜(54)の両側に沿って一対のフィードバー(1)(1)を備えている。
一対のフィードバー(1)(1)は共にワーク搬送方向(前後方向)に沿って延び、かつ並列に配置されている。一対のフィードバー(1)(1)は、図示しない駆動手段によって、互いに接離する方向(左右方向)に沿って移動して開閉できるよう構成されるとともに、前後方向に移動して進退できるよう構成されている。
一対のフィードバー(1)(1)の内側には、互いに対向配置される一対のフィンガ(2a)(2b)が、前後方向に沿って所定の間隔おきに複数組(4組)設けられている。一対のフィンガ(2a)(2b)は、爪等とも称され、ワーク設置部(51)〜(54)に対応して配置されている。そして後に詳述するように、ワーク設置部(51)〜(54)上にワーク(W)が配置された状態で、一対のフィードバー(1)(1)が閉じられると、ワーク(W)が対応する一対のフィンガ(2a)(2b)によってそれぞれチャック(挟持)されるようになっている。
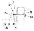
図2,3に示すように、一対のフィンガ(2a)(2b)のうち、一方のフィンガ(2a)は、可動側フィンガとして構成されて、対応する一方のフィードバー(1)にフィンガ支持機構(3)を介して支持されている。
フィンガ支持機構(3)において、フィードバー(1)の内側面におけるフィンガ(2a)に対応する位置には、取付板(31)が固定されている。この取付板(31)の前後両側には、両側ガイドロッド(32)(32)が設けられている。この両側ガイドロッド(32)(32)は、取付板(31)およびフィードバー(1)に開閉方向(内外方向)に貫通した状態で、開閉方向にスライド自在に取り付けられている。
両側ガイドロッド(32)(32)の外側端部には、抜止め部材(33)(33)が取り付けられ、この抜止め部材(33)(33)がフィードバー(1)の外側面に係止することにより、両側ガイドロッド(32)(32)が内側に抜け出すのを防止できるようになっている。
また両側ガイドロッド(32)(32)の内側端部には、両側ガイドロッド(32)(32)間に架け渡されるようにしてフィンガ支持板(34)が取り付けられている。
さらに両側ガイドロッド(32)(32)の外周における取付板(31)およびフィンガ支持板(34)間には、両者間を拡開方向に付勢する圧縮コイルバネ(35)(35)等の付勢手段が介在されている。そして自然状態では図2(a)に示すように、コイルバネ(35)(35)の付勢力(バネ力)によって、両側ガイドロッド(32)(32)が内方に付勢されつつも、抜止め部材(33)(33)がフィードバー(1)に係止することにより、両側ガイドロッド(32)(32)の内側端部が内方に突出した状態に配置されている。
フィンガ支持板(34)の内側面には、可動側のフィンガ(2a)が取り付けられている。この可動側のフィンガ(2a)は、水平に配置されるフィンガ本体(21)と、垂直に配置される取付板(22)とを備えた側面視L字状の形状を有しており、その取付板(22)が、フィンガ支持板(34)にネジ(25)(25)を介して締結固定されている。
なおフィンガ(2a)は、取付板(22)とフィンガ支持板(34)との間に位置調整用のシム(図示省略)が介在されている。そしてシムを厚いものに取り換えたり、あるいはシムを追加することにより、フィンガ支持板(34)とフィンガ(2a)との間隔を大きくできて、フィンガ(2a)のフィードバー(1)に対する相対的な取付位置を内側(センターラインLc側)に変更することができる。さらにシムを薄いものに取り換えたり、あるいはシムの設置枚数を減少させたりすることにより、フィンガ支持板(34)とフィンガ(2a)との間隔を小さくできて、フィンガ(2a)のフィードバー(1)に対する相対的な取付位置を外側に変更することができる。このようにシムの交換出し入れ操作によって、フィードバー(1)に対して、フィンガ(2a)の内外方向の取付位置を微調整できるようになっている。
またフィードバー(1)における両側ガイドロッド(32)(32)間には、内外方向に沿ってスライド自在にピン部材(36)が取り付けられている。ピン部材(36)の先端は、フィードバー(1)よりも外方に配置され、スライドすることにより、さらに外方に進出できるようになっている。またピン部材(36)の先端には、金属製の被測定板(41)が、フィードバー(1)と平行に配置された状態に固定されている。
またフィンガ支持板(34)の外側面には、ピン部材(36)に対応して、押込バー(38)が内外方向(左右方向)に沿って配置された状態で取り付けられており、この押込バー(38)の先端によってピン部材(36)を外側に押込可能に構成されている。
そしてフィードバー(1)を固定した状態で、フィンガ(2a)が外側に押し込まれると、フィンガ支持板(34)が外側に移動して、コイルバネ(35)の付勢力に抗して、両側ガイドロッド(32)(32)が外方に移動するとともに、押込バー(38)に押し込まれて、ピン部材(36)が外方に移動し、被測定板(41)が、フィードバー(1)に対し相対的に外方に移動するようになっている。またその状態からフィンガ(2a)への押込が解除されると、コイルバネ(35)の付勢力によって、ガイドロッド(32)(32)が内方に移動して、フィンガ支持板(34)およびフィンガ(2a)が初期状態に戻るようになっている。
なおフィードバー(1)には、ピン部材(36)を内方に付勢するためのバネ等の付勢手段(図示省略)が設けられており、ピン部材(36)は、押込バー(38)による押込操作が解除された際には、その付勢手段によって、ピン部材(36)が内方に移動して初期状態に復帰するようになっている。
ここで本実施形態においては、ガイドロッド(32)、フィンガ支持板(34)、コイルバネ(35)、ピン部材(36)および押込バー(38)によって、フィンガ支持機構(3)が構成されている。またピン部材(36)および押込バー(38)によって、フィンガ連動部材が構成されている。さらに被測定板(41)によって被測定部が構成されている。さらにフィードバー(1)によって開閉バーが構成されている。
図1,2に示すように、固定側(他方)のフィンガ(2b)は、フィードバー(1)に、相対位置が変化しない状態に固定されている。
以上の構成において、一対のフィンガ(2a)(2b)間にワーク(W)を配置した状態で、一対のフィードバー(1)(1)を閉じると、図2(b)に示すように一対のフィンガ(2a)(2b)によってワーク(W)がチャック(挟持)される。このときコイルバネ(35)のバネ力によって一方のフィンガ(2a)がワーク(W)に押圧し、この押圧力によってチャックされている。従ってチャック状態におけるコイルバネ(35)の圧縮量が多過ぎたり、少な過ぎたりすると、一対のフィンガ(2a)(2b)のワーク(W)へのチャック力にバラツキが生じて、ワーク(W)を安定状態にチャックすることができず、ワーク(W)がセンターライン(Lc)から位置ずれして、ワーク(W)を位置精度良く移載できないおそれがある。そこで、本実施形態においては、チャック状態でのコイルバネ(35)の圧縮量(変位量)を適正な量に調整するものであるが、その調整方法の詳細については後に説明する。
本実施形態のトランスファ装置においては、ワーク(W)をチャックする際に、そのチャック状態の良否を検出するためのチャック状態確認センサ(4)が設けられている。
このチャック状態確認センサ(4)は、1〜3番目の可動側フィンガ(2a)に対応してそれぞれ設けられる(図1参照)。
図2に示すように、チャック状態確認センサ(4)は、フィードバー(1)にブラケット(42)を介して固定されて、ピン部材(36)に固定された被測定板(41)の外側に対向するように配置されている。このセンサ(4)は、変位量測定センサによって構成されており、後に詳述するにように、フィンガ(2a)のフィードバー(1)に対する変位量、換言すればチャック状態でのコイルバネ(35)の圧縮量を測定できるようになっている。
なお本実施形態において、チャック状態確認センサ(4)は、高周波磁界を利用した非接触式の渦電流式変位センサによって構成されている。
またこのトランスファ装置には、コントローラ(43)が設けられ、そのコントローラ(43)によって、チャック状態確認センサ(4)からの出力情報に基づいて、センサ(4)および被測定板(41)間の距離(変位量)が算出される。さらにコントローラ(43)には、算出結果としての距離を、文字(数値)情報として表示する表示部(44)が設けられている。
ところで本発明において、採用されるチャック状態確認センサ(4)の種類は特に限定されるものではなく、距離(間隔)等の変位量を測定できるものであればどのようなものでも採用可能であり、接触式のものでも非接触式のものでも採用することができる。接触式のものとしては、リニアゲージセンサ等を用いることができ、上記以外の非接触式のものとしては、静電容量式変位センサ、レーザ式変位センサ、超音波式変位センサ等を用いることができる。
中でも本発明においては、調整操作や取扱操作が比較的容易な非接触式のセンサを使用するのが良く特に、渦電流式変位センサは、センサと被測定物との間に、油や塵埃等の異物が介在しても測定精度に悪影響を受けにくく、所望の情報を確実に得ることができるため、本実施形態のように渦電流式変位センサを使用するのが、より一層好ましい。また言うまでもなく、渦流式変位センサを使用する場合、被測定物(被測定板)としては、渦電流が発生する金属製のものを使用する必要がある。
本実施形態のように渦電流式変位センサを用いる場合には、
センサと被測定物との間に、油や塵埃等の異物が介在しても測定精度に悪影響を受けにくいため、渦電流式変位センサを使用するのが、より一層好ましい。また言うまでもなく、渦流式変位センサを使用する場合、被測定物(被測定板)としては、渦電流が発生する金属製のものを使用する必要がある。
本実施形態においては、上記構成のトランスファ装置によってワーク(W)を実際に移載する前には準備作業を行う。
この準備作業においては、一対のフィードバー(1)(1)を開いた状態で、一方(可動側)のフィンガ(2a)をコイルバネ(35)の付勢力に抗して外側に押し込んでフィードバー(1)に押し付ける。このとき、コイルバネ(35)の圧縮量は最大となる。なおこの圧縮量は、フィンガ(2a)のフィードバー(1)に対する変位量に相当するものである。そしてその圧縮状態において、チャック状態確認センサ(4)のゼロ点調整を行って、その状態での変位量(相対距離)を「0mm」とコントローラ(43)に認識させる。同様にして、フィードバー(1)に取り付けられている全ての可動側フィンガ(2a)に対してゼロ点調整を行う。
次に、フィンガ(2a)への押付操作を解除して、フィンガ(2a)をコイルバネ(35)の付勢力によってフィードバー(1)に対し初期位置に戻す。このときのコイルバネ(35)の圧縮量は最小となり、その圧縮量は、初期状態(未チャック状態)での変位量に相当する。なお本実施形態において、フィンガ(2a)のフィードバー(1)に対するストローク量を「ΔX」とすると、未チャック状態での変位量も同様に「ΔX」となる。本実施形態において「ΔX」は例えば「4mm」に設定されている。
次に、一対のフィードバー(1)(1)を閉じて、一対のフィンガ(2a)(2b)によりワーク(W)を実際にチャックする。そしてこのチャック状態において、チャック状態確認センサ(4)に基づいて、実際の変位量を計測する。
ここで、チャック状態における実際の変位量が、予め設定される理想の変位量と一致している場合には、チャック状態でのコイルバネ(35)の圧縮量が最適となり、所望の押圧力でフィンガ(2a)(2b)をワーク(W)に押し付けることができ、安定状態でチャックすることができることになる。従って本実施形態においては、チャック状態における実際の変位量が、理想の変位量に一致させるように、可動側フィンガ(2a)のフィードバー(1)に対する取付位置を調整するものである。
例えば本実施形態において、チャック状態での理想の変位量を、最大変位量(ΔX)の半分とすると、理想の変位量は「ΔX/2」となる。具体的には最大変位量(ΔX)が上記したように「4mm」の場合には、理想の変位量は「2mm」となる。
ここで、理想の変位量を「2mm」として、実際の変位量が「3mm」であった場合には、コイルバネ(35)の圧縮量が理想の圧縮量よりも1mm少ないため、フィンガ(2a)およびフィンガ支持板(34)間に介在される隙間調整用シムを、1mm厚いものに取り換えたり、あるいは1mm厚のシムを新たに追加する。これにより、コイルバネ(35)の圧縮量が1mm多くなり、チャック状態での変位量(実際の変位量)を理想の変位量に等しい「2mm」に調整することができ、安定状態でチャックするこができる。
また理想の変位量を「2mm」として、実際の変位量が「1mm」であった場合には、コイルバネ(35)の圧縮量が理想の圧縮量よりも1mm多いため、隙間調整用シムを、1mm薄いものに取り換えたり、あるいは1mm厚のシムを抜き取る。これにより、コイルバネ(35)の圧縮量が1mm少なくなり、チャック状態での変位量(実際の変位量)を理想の変位量に一致させることができる。
こうしてフィンガ(2a)の初期状態での位置を調整し、所望のチャック力が得られるようにする。また上記と同様にして、他の可動側フィンガ(2a)に対しても、必要に応じて位置調整作業を行って、各フィンガ(2a)(2b)において、所望のチャック状態が得られるようにする。
これによりトランスファ装置の準備作業が完了する。こうして準備作業が完了した後、トランスファ装置を可動させて、鍛造加工装置による生産を開始する。
生産開始前の初期状態においては、一対のフィードバー(1)(1)は開いた状態にあり、可動側の各フィンガ(2a)および固定側の各フィンガ(2b)の先端が、仮想の待機ライン(La)(Lb)上に配置されている。なお初期状態では、各ワーク設置部(51)〜(54)には、ワーク(W)が設置されているものとする。
この状態において生産を開始すると、一対のフィードバー(1)(1)が閉じられて、各一対のフィンガ(2a)(2b)によって、各設置部(51)〜(54)のワーク(W)がチャックされる。
このとき、各チャック状態確認センサ(4)からの出力情報に基づき、コントローラ(43)は、各ワーク(W)が、対応する各一対のフィンガ(2a)(2b)によって確実にチャックされているか否かを判断する。例えば1番目の変位量測定センサ(4)による実測の変位量が、上記した調整済のチャック状態での変位量(理想の変位量「ΔX/2」に相当するもの)と一致する場合、コントローラ(43)は、正確にチャックされたものと判定し、後述の移載動作が継続して行われる。また一致しない場合には、コントローラ(43)は、チャック不良と判定し、移載動作を停止させるとともに、チャック不良である旨の情報を表示したり、あるいは警報音を発生させたりして、オペレータに報知する。
ここで本実施形態においては、チャック状態の良否の判断基準としての調整済の変位量(理想の変位量)には、±0.2mm程度の公差が設けられ、その公差を含む範囲内に、実測の変位量が含まれる否かによって、チャック状態の良否を判断するものである。
こうして全てのフィンガ(2a)(2b)におけるチャック状態が確認されて、全てのフィンガ(2a)(2b)のチャック状態が正常である場合には、一対のフィードバー(1)(1)が前方へ移動し、各フィンガ(2a)(2b)にチャックされた各ワーク(W)が、次のワーク設置部(52)〜(54)および搬出部(55)に対応して配置される。続いて、一対のフィードバー(1)(1)が開くことにより、各フィンガ(2a)(2b)のチャックが解除されて、各ワーク(W)が、次のワーク設置部(52)〜(54)や搬出部(55)等の移載先にそれぞれ移載される。
その後、一対のフィードバー(1)(1)が後退して元の位置に戻る一方、図示しない搬入手段によって、次のワーク(W)が1番目のワーク設置部(51)に搬入される。
以上の動作が繰り返し行われることにより、ワーク(W)が順次移載されるとともに、各ワーク設置部(51)において、各ワーク(W)に対し、上記したような成形加工等の所定の処理が順次行われる。
以上のように、本実施形態のトランスファ装置によれば、チャック状態確認センサ(4)によって測定したフィードバー(1)およびフィンガ(2a)間の変位量に基づいて、フィンガ(2a)(2b)によるチャック状態を確認するようにしているため、準備作業としてのフィンガ(2a)の位置調整作業を簡単に行うことができる。
すなわちフィンガ(2a)の位置調整作業を行う場合には、ワーク(W)をチャックした状態でのフィードバー(1)およびフィンガ(2a)間の変位量を測定し、その実測の変位量が、予め設定される理想の変位量と一致させるように、フィンガ(2a)の位置を調整するだけで、フィンガ(2a)を正規の位置に正確に配置することができる。
ここでチャック状態を確認するためのセンサとして、対象物の有無を検出するON/OFF式の対象物検知センサ等を用いる場合には、準備作業としてのフィンガ(2a)の位置調整作業が非常に困難である。例えばトランスファ装置において対象物検知センサを用いる場合図7に示すように、フィンガ(2a)と連動する被測定板(91)の端部に対向させるように、対象物検知センサ(チャック状態確認センサ)としての被測定板検知センサ(9)を一方のフィードバー(1)にブラケット(92)を介して固定する構成が採用される。そして同図(a)に示すように、被測定板(91)が、検知センサ(9)の検知範囲外に配置される場合には、センサ(9)により被測定板(91)が検知されず、未チャック状態と判定されるとともに、同図(b)に示すように、被測定板(91)が、検知センサ(9)の検知範囲内に配置される場合には、センサ(9)により被測定板(91)が検知されて、チャック状態と判定されるようになっている。
この参考例のトランスファ装置において、準備作業としてのフィンガ(2a)の位置調整作業を行う場合にはまず、一対のフィードバー(1)(1)を閉じて、各フィンガ(2a)(2b)によってワーク(W)をチャックする。そしてそのチャック状態において、ワーク(W)が正確なチャック位置に配置されるように、フィンガ(2a)の取付位置を調整する。フィンガ(2a)の位置変更は、上記と同様に、シムの交換や出し入れ操作によって行われる。続いてそのチャック状態において、検知センサ(9)の検知範囲内に、被測定板(91)が配置されるように、センサ(9)の取付位置を調整したり、被測定板(91)の取付位置を調整する。この調整作業において、被測定板(91)の位置を変更する場合、ピン部材(36)の取付位置を変更することになるが、ピン部材(36)の位置を変更すると、フィードバー(1)に対して、フィンガ(2a)の位置も微妙に変化してしまうため再度、フィンガ(2a)の位置調整作業を行う必要がある。さらにフィンガ(2a)の位置を変更すると、ピン部材(被測定板)の位置も微妙に変化してしまうため再度、ピン部材(被測定板)の位置調整作業を行う必要がある。従ってこのような作業を延々と繰り返し行って、フィンガ(2a)、検知センサ(9)および被測定板(91)を全て最適な位置に調整していくことになるが、フィンガ(2a)、検知センサ(9)および被測定板(91)は、既述したように、互いに関連し合って、互いの取付位置に影響を及ぼし合うため、この位置調整作業は、作業者にとって負担が膨大で、非常に困難であった。
しかも、フィンガ(2a)は複数設けられるため、ある一つのフィンガ(2a)の位置調整作業が、他のフィンガ(2a)の位置に悪影響を及ぼす場合がある。例えば1番目から順にフィンガ(2a)の位置調整作業を行って、最後のフィンガ(2a)の位置調整が終了したとしても、位置調整済の1番目のフィンガ(2a)の位置が、他のフィンガ(2a)の位置調整の影響によって、変化してしまう場合がある。このような場合には、面倒なことに始めから、位置調整作業を行う必要があり、作業者の負担が一層大きくなり、位置調整作業がより一層困難になってしまう。
これに対し、本実施形態のトランスファ装置においては、チャック状態確認センサ(4)として、変位量測定センサ(4)を用いているため、準備作業としてのフィンガ(2a)の位置調整作業を行う場合には既述したように、ワーク(W)をチャックした状態でのフィードバー(1)およびフィンガ(2a)間の変位量を測定し、その実測の変位量が理想の変位量に一致するように、フィンガ(2a)の位置を変更するだけで、フィンガ(2a)の位置を精度良く確実に調整することができる。つまり本実施形態では、上記参考例のトランスファ装置のように、フィンガ位置調整作業、被測定板位置調整作業およびセンサ位置調整作業を試行錯誤的に何度も繰り返し行うような面倒な作業が必要なく、簡単にフィンガ(2a)の位置を精度良く調整することができる。
特に本実施形態のように、一つのフィードバー(1)に対し複数のフィンガ(2a)が設けられる多段式のトランスファ装置では、各フィンガ(2a)の位置調整作業をそれぞれ簡単に行うことができ、より一層位置調整作業を簡単に行うことができる。
さらに本実施形態では、各フィンガ(2a)を適正な位置に調整できるため、各フィンガ(2a)毎に、位置のバラツキがなく、各フィンガ(2a)(2b)のワーク(W)への押圧力(チャック力)を、均等に設定することができ、全体としてバランスが良く、ワーク(W)をより安定させた状態でスムーズに移載することができる。しかも複数のワーク(W)をそれぞれ均等な押圧力でチャックできるため、フィードバー(1)(1)が斜めに配置される等の平行度の悪化を防止でき、フィードバー(1)(1)やフィンガ(2a)(2b)への負担が軽減されて、ワーク(W)をより一層スムーズに移載できて、より一層動作信頼性を向上させることができるとともに、耐久性も一段と向上させることができる。
また本実施形態のトランスファ装置においては、フィードバー(1)(1)の平行度も検査することができる。すなわち各フィンガ(2a)に同じ厚さのシムを設置して、各フィンガ(2a)の取付位置を全て同じに設定した状態で、フィードバー(1)(1)を閉じて、各フィンガ(2a)(2b)によって、それぞれワーク(W)をチャックする。そしてその状態において、各チャック状態確認センサ(4)によって変位量を求め、その変位量が全て等しい場合には、フィードバー(1)(1)の平行度が高くて、正常であると判断でき、各センサ(4)による変位量にバラツキがあるような場合には、フィードバー(1)(1)の平行度が低く、不良であると判断できる。このようにフィードバー(1)(1)の平行度も測定できて、より一層安定したチャック状態を得ることができ、より一層スムーズにワーク(W)を移載することができる。
なお上記参考例のトランスファ装置の場合には、チャックされているか否かだけを判断するものであるため、フィードバー(1)(1)の平行度を測定することは不可能である。
また本実施形態のトランスファ装置においては、フィードバー(1)およびフィンガ(2a)間の変位量を測定するものであるため、ワーク(W)のサイズも測定することができ、ワークサイズの検査も併用させることができる。このため例えば、規定サイズ以外のワーク(W)が搬送されてきたような場合には、生産を中断することができ、不良品の発生等を未然に防止することができる。
また本実施形態のトランスファ装置においては、チャック状態の良否を、変位量により量的に判断しているため、ワーク(W)の移載が支障なく行われている場合でも、チャック力等を数量的に検出することができ、チャック力の強弱等を把握することができ、チャック不良等のトラブルが発生するのを未然に防止することができる。すなわち、ワーク(W)のチャック力が正常の範囲内であっても、そのチャック力が多少弱かったり強かったりするような場合には、いずれチャック不良の発生することが予測されるため、早期に、保守点検を行ってチャック具合を適正な状態に予め調整しておくことにより、チャック不良の発生を未然に防止することができる。従ってチャック不良による大きなトラブル例えば、不良品生産や装置故障等が生じるのを、確実に防止しつつ、常時安全な状態で不具合なく装置を稼働させることができ、装置の信頼性を一段と向上させることができる。
なお上記実施形態においては、被測定板(41)を、フィンガ支持板(34)に押込バー(38)およびピン部材(36)を介して取り付けるようにしているが、本発明において、被測定板の取付手段は特に限定されるものではない。例えば図4に示すように、フィードバー(1)にスライド自在に貫通させた支持ロッド(37)の一端をフィンガ支持板(34)に固定するとともに、支持ロッド(37)の他端に被測定板(41)を固定し、その被測定板(41)を変位量測定センサ(4)によって検出するようにしても良い。さらに図5に示すように、一方のガイドロッド(32)の外端部に、ブラケット(42)を介して被測定板(41)を固定し、その被測定板(41)を変位量測定センサ(4)によって検出するようにしても良い。さらに図6に示すように、一方のガイドロッド(32)の外端部を変位量測定センサ(4)によって検出するようにしても良い。
また上記実施形態においては、一対のフィンガ(2a)(2b)のうち、一方のフィンガ(2a)をフィードバー(1)に対し可動できるように構成し、他方のフィンガ(2b)をフィードバー(1)に対し固定するようにしているが、それだけに限られず、本発明においては、一対のフィンガを共に、フィードバーに対し可動できるように構成しても良い。
さらに上記実施形態においては、複数のワークを同時に移載する多段式のトランスファ装置に本発明を適用した場合を例に挙げて説明したが、それだけに限られず、本発明は、一度に一つのワークを移載するようにした、つまり一対のフィンガが1組だけ設けられたトランスファ装置にも適用することができる。また言うまでもなく、多段式のトランスファ装置に本発明を適用した場合、フィンガの設置数は限定されるものではない。
この発明のトランスファ装置は、鍛造加工装置等においてワークを移載するための装置に適用することができる。
この発明の実施形態であるトランスファ装置が適用された多段鍛造加工装置を概略的に示す平面図である。 実施形態のトランスファ装置におけるフィンガ周辺を拡大して示す図であって、同図(a)は未チャック状態の平面図、同図(b)はチャック状態の平面図である。 実施形態のトランスファ装置におけるフィンガ周辺を拡大して示す側面図である。 この発明の第1変形例であるトランスファ装置のフィンガ周辺を拡大して示す平面図である。 この発明の第2変形例であるトランスファ装置のフィンガ周辺を拡大して示す平面図である。 この発明の第3変形例であるトランスファ装置のフィンガ周辺を拡大して示す平面図である。 参考例であるトランスファ装置のフィンガ周辺を拡大して示す図であって、同図(a)は未チャック状態での平面図、同図(b)はチャック状態での平面図である。
符号の説明
1…フィードバー(開閉バー)
2a,2b…フィンガ
3…フィンガ支持機構
4…チャック状態確認センサ(変位量測定センサ)
41…被測定板(非測定部)
W…ワーク

Claims (12)

  1. 並列に配置され、かつ開閉自在な一対のフィードバーと、
    前記一対のフィードバーの内側に互いに対向した状態に設けられ、かつ前記一対のフィードバーが閉じられた際に、ワークを両側からチャックする一対のフィンガと、
    前記一対のフィンガのうち、少なくとも一方のフィンガを、それに対応する一方のフィードバーに開閉方向に沿って移動自在に支持し、かつ閉じる方向に付勢するフィンガ支持機構と、
    前記一方のフィードバーに対して、前記一方のフィンガの開閉方向の変位量を測定する変位量測定センサと、を備えたことを特徴とするトランスファ装置。
  2. 前記変位量測定センサからの情報に基づいて、前記一対のフィンガによるワークのチャック状態を確認するようにした請求項1に記載のトランスファ装置。
  3. 前記変位量測定センサからの情報に基づいて、前記一方のフィードバーに対する前記一方のフィンガの初期状態での固定位置を調整するようにした請求項1または2に記載のトランスファ装置。
  4. 前記一対のフィンガが、前記一対のフィードバーにその長さ方向に沿って間隔をおいて複数設けられ、
    前記一対のフィードバーが閉じられた際に、複数の前記一対のフィンガによって、複数のワークがチャックされるようにした請求項1〜3のいずれか1項に記載のトランスファ装置。
  5. 前記フィンガ支持機構は、前記一方のフィードバーの内側から外側にかけて貫通状態に配置され、かつ前記フィンガと連動して移動するフィンガ連動部材を有し、
    前記フィンガ連動部材の外側端部に、被測定部が設けられ、
    前記変位量測定センサが、前記被測定部に対応した状態で前記一方のフィードバーに固定される請求項1〜4のいずれか1項に記載のトランスファ装置
  6. 前記変位量測定センサが、非接触式センサによって構成される請求項1〜5のいずれか1項に記載のトランスファ装置。
  7. 前記変位量測定センサが、渦電流式変位センサによって構成される請求項1〜6のいずれか1項に記載のトランスファ装置。
  8. 請求項1〜7のいずれか1項に記載のトランスファ装置と、
    設置されたワークに対し鍛造加工を行うための鍛造用金型とを備え、
    前記トランスファ装置によって、ワークをチャックした状態で、前記一対のフィードバーをその長さ方向に移動させてから、前記一対のフィードバーを開いて、ワークのチャックを解除することにより、そのワークを鍛造用金型に設置して、鍛造加工を行うようにしたことを特徴とする鍛造加工装置。
  9. 請求項1〜7のいずれか1項に記載のトランスファ装置を用いた鍛造加工方法であって、
    前記トランスファ装置によって、ワークをチャックした状態で、前記一対のフィードバーをその長さ方向に移動させてから、前記一対のフィードバーを開いて、ワークのチャックを解除することにより、そのワークを鍛造用金型に設置する工程と、
    前記鍛造用金型に設置されたワークに対し鍛造加工を行う工程と、を含むことを特徴とする鍛造加工方法。
  10. 並列に配置され、かつ開閉自在な一対の開閉バーと、
    前記一対の開閉バーの内側に互いに対向した状態に設けられ、かつ前記一対のフィードバーが閉じられた際に、ワークを両側からチャックする一対のフィンガと、
    前記一対のフィンガのうち、少なくともいずれか一方のフィンガを、それに対応する一方の開閉バーに開閉方向に沿って移動自在に支持し、かつ閉じる方向に付勢するフィンガ支持機構と、
    前記一方の開閉バーに対して、前記一方のフィンガの開閉方向の変位量を測定する変位量測定センサと、を備えたことを特徴とするワークチャッキング装置。
  11. 並列に配置され、かつ開閉自在な一対のフィードバーの内側に互いに対向した状態に一対のフィンガが設けられ、前記一対のフィードバーが閉じられた際に、前記一対のフィンガによってワークが両側からチャックされるようにしたトランスファ装置のチャック状態確認方法であって、
    前記一対のフィンガのうち、少なくとも一方のフィンガを、それに対応する一方のフィードバーに開閉方向に沿って移動自在に支持し、かつ閉じる方向に付勢するフィンガ支持機構を設置しておくとともに、
    前記一方のフィードバーに対して、前記一方のフィンガの開閉方向の変位量を測定する変位量測定センサを設置しておき、
    前記変位量測定センサからの情報に基づいて、前記一対のフィンガによるワークのチャック状態を確認するようにしたことを特徴とするトランスファ装置のチャック状態確認方法。
  12. 並列に配置され、かつ開閉自在な一対のフィードバーの内側に互いに対向した状態に一対のフィンガが設けられ、前記一対のフィードバーが閉じられた際に、前記一対のフィンガによってワークが両側からチャックされるようにしたトランスファ装置のフィンガ位置調整方法であって、
    前記一対のフィンガのうち、少なくとも一方のフィンガを、それに対応する一方のフィードバーに開閉方向に沿って移動自在に支持し、かつ閉じる方向に付勢するフィンガ支持機構を設置しておくとともに、
    前記一方のフィードバーに対して、前記一方のフィンガの開閉方向の変位量を測定する変位量測定センサを設置しておき、
    前記変位量測定センサからの情報に基づいて、前記一方のフィードバーに対する前記一方のフィンガの初期状態での固定位置を調整するようにした特徴とするトランスファ装置のフィンガ位置調整方法。
JP2008191703A 2008-07-25 2008-07-25 トランスファ装置 Active JP5342823B2 (ja)

Priority Applications (1)

Application Number Priority Date Filing Date Title
JP2008191703A JP5342823B2 (ja) 2008-07-25 2008-07-25 トランスファ装置

Applications Claiming Priority (1)

Application Number Priority Date Filing Date Title
JP2008191703A JP5342823B2 (ja) 2008-07-25 2008-07-25 トランスファ装置

Publications (2)

Publication Number Publication Date
JP2010029874A true JP2010029874A (ja) 2010-02-12
JP5342823B2 JP5342823B2 (ja) 2013-11-13

Family

ID=41735009

Family Applications (1)

Application Number Title Priority Date Filing Date
JP2008191703A Active JP5342823B2 (ja) 2008-07-25 2008-07-25 トランスファ装置

Country Status (1)

Country Link
JP (1) JP5342823B2 (ja)

Cited By (3)

* Cited by examiner, † Cited by third party
Publication number Priority date Publication date Assignee Title
JP2012130944A (ja) * 2010-12-22 2012-07-12 Mitsubishi Motors Corp 鍛造成形プレストランスファー装置
CN108339899A (zh) * 2017-12-27 2018-07-31 威唐力捷智能工业技术(无锡)有限公司 一种换模设备的固定装置
CN118720031A (zh) * 2024-07-26 2024-10-01 盐城程荣模塑有限公司 一种注塑件头部凹槽的冷镦模具

Citations (3)

* Cited by examiner, † Cited by third party
Publication number Priority date Publication date Assignee Title
JPS6071436U (ja) * 1983-10-21 1985-05-20 日産自動車株式会社 トランスフアプレスのミスフイ−ド検知装置
JPS6385349U (ja) * 1986-11-26 1988-06-03
JP2002066669A (ja) * 2000-08-25 2002-03-05 Asahi-Seiki Mfg Co Ltd トランスファスライドのワーク把持検出装置

Patent Citations (3)

* Cited by examiner, † Cited by third party
Publication number Priority date Publication date Assignee Title
JPS6071436U (ja) * 1983-10-21 1985-05-20 日産自動車株式会社 トランスフアプレスのミスフイ−ド検知装置
JPS6385349U (ja) * 1986-11-26 1988-06-03
JP2002066669A (ja) * 2000-08-25 2002-03-05 Asahi-Seiki Mfg Co Ltd トランスファスライドのワーク把持検出装置

Cited By (3)

* Cited by examiner, † Cited by third party
Publication number Priority date Publication date Assignee Title
JP2012130944A (ja) * 2010-12-22 2012-07-12 Mitsubishi Motors Corp 鍛造成形プレストランスファー装置
CN108339899A (zh) * 2017-12-27 2018-07-31 威唐力捷智能工业技术(无锡)有限公司 一种换模设备的固定装置
CN118720031A (zh) * 2024-07-26 2024-10-01 盐城程荣模塑有限公司 一种注塑件头部凹槽的冷镦模具

Also Published As

Publication number Publication date
JP5342823B2 (ja) 2013-11-13

Similar Documents

Publication Publication Date Title
US20100119320A1 (en) Spindle device of machine tool
JP5342823B2 (ja) トランスファ装置
CN204686471U (zh) 用于后桥加工的可监控夹紧力自定心夹紧装置
US20120227452A1 (en) Method and system for controlling the quality of a stamped part
CN101233383A (zh) 用于研磨机的独立测量装置
JP2013078791A (ja) 多段式鍛造プレス機のトランスファー装置
US11318582B2 (en) Positioning guide device
KR101413099B1 (ko) 용접강관 시험장치 및 시험방법
KR101410205B1 (ko) 소재 이송용 갠트리장치의 이송롤러 및 레일 상태 이상유무 검출방법
JP5686509B2 (ja) トランスファープレス成形装置
WO2019073580A1 (ja) スライドファスナー製造装置
KR20180065520A (ko) 형상측정장치 및 이를 이용하는 하이드로포밍 성형 방법
JP7811555B2 (ja) 缶ボディメーカの監視
US10799941B2 (en) Flask mating misalignment detection method and detection device for molds with flasks
CN119630532A (zh) 金属加工方法以及金属加工系统
TWI632878B (zh) 拉頭蓋的嵌縫檢查裝置
JP2013071162A (ja) ヘミング加工装置
CZ2016647A3 (cs) Zařízení pro kontrolu přesnosti tyčového materiálu
JP2006334640A (ja) 線材移送切断機
JP3424396B2 (ja) 寸法測定装置
JP2019141889A (ja) プレスブレーキ
JP2003220441A (ja) 締結状態の監視方法及びこの方法を用いる締結装置
JP4592191B2 (ja) アプセッター及びアプセッターによるフランジ成形法
KR101571892B1 (ko) 머시닝센터에 부착 적용되는 무선 송수신을 이용한 불량진단 모듈
JP6497172B2 (ja) 金属加工装置及び金属部材の製造方法

Legal Events

Date Code Title Description
A621 Written request for application examination

Free format text: JAPANESE INTERMEDIATE CODE: A621

Effective date: 20110401

A977 Report on retrieval

Free format text: JAPANESE INTERMEDIATE CODE: A971007

Effective date: 20121109

A131 Notification of reasons for refusal

Free format text: JAPANESE INTERMEDIATE CODE: A131

Effective date: 20121113

TRDD Decision of grant or rejection written
A01 Written decision to grant a patent or to grant a registration (utility model)

Free format text: JAPANESE INTERMEDIATE CODE: A01

Effective date: 20130723

A61 First payment of annual fees (during grant procedure)

Free format text: JAPANESE INTERMEDIATE CODE: A61

Effective date: 20130812

R150 Certificate of patent or registration of utility model

Ref document number: 5342823

Country of ref document: JP

Free format text: JAPANESE INTERMEDIATE CODE: R150

Free format text: JAPANESE INTERMEDIATE CODE: R150

RD02 Notification of acceptance of power of attorney

Free format text: JAPANESE INTERMEDIATE CODE: R3D02

S111 Request for change of ownership or part of ownership

Free format text: JAPANESE INTERMEDIATE CODE: R313111

R350 Written notification of registration of transfer

Free format text: JAPANESE INTERMEDIATE CODE: R350

S531 Written request for registration of change of domicile

Free format text: JAPANESE INTERMEDIATE CODE: R313531

R350 Written notification of registration of transfer

Free format text: JAPANESE INTERMEDIATE CODE: R350