JP2010026273A - ヘッドマウントディスプレイ - Google Patents

ヘッドマウントディスプレイ Download PDF

Info

Publication number
JP2010026273A
JP2010026273A JP2008188045A JP2008188045A JP2010026273A JP 2010026273 A JP2010026273 A JP 2010026273A JP 2008188045 A JP2008188045 A JP 2008188045A JP 2008188045 A JP2008188045 A JP 2008188045A JP 2010026273 A JP2010026273 A JP 2010026273A
Authority
JP
Japan
Prior art keywords
hologram
mounted display
head mounted
unit
image
Prior art date
Legal status (The legal status is an assumption and is not a legal conclusion. Google has not performed a legal analysis and makes no representation as to the accuracy of the status listed.)
Granted
Application number
JP2008188045A
Other languages
English (en)
Other versions
JP5062432B2 (ja
Inventor
Takuma Kudo
工藤卓磨
Takehiko Anekawa
姉川武彦
Current Assignee (The listed assignees may be inaccurate. Google has not performed a legal analysis and makes no representation or warranty as to the accuracy of the list.)
Dai Nippon Printing Co Ltd
Original Assignee
Dai Nippon Printing Co Ltd
Priority date (The priority date is an assumption and is not a legal conclusion. Google has not performed a legal analysis and makes no representation as to the accuracy of the date listed.)
Filing date
Publication date
Application filed by Dai Nippon Printing Co Ltd filed Critical Dai Nippon Printing Co Ltd
Priority to JP2008188045A priority Critical patent/JP5062432B2/ja
Publication of JP2010026273A publication Critical patent/JP2010026273A/ja
Application granted granted Critical
Publication of JP5062432B2 publication Critical patent/JP5062432B2/ja
Active legal-status Critical Current
Anticipated expiration legal-status Critical

Links

Images

Landscapes

  • Liquid Crystal (AREA)
  • Holo Graphy (AREA)

Abstract

【課題】、複数のピント位置(A、B)を有する虚像を再現することができるヘッドマウントディスプレイを提供する。
【解決手段】本発明のヘッドマウントディスプレイは、映像光を生成する映像表示部と、前記映像表示部からの映像光を観察者の眼に導くホログラム部50と、を有するヘッドマウントディスプレイであって、前記ホログラム部50は複数のホログラム素子(51、52)から構成されると共に、それぞれのホログラム素子(51、52)はホログラムとしての機能を有効化又は無効化することが可能なものが用いられることを特徴とする。
【選択図】 図6

Description

本発明は、ユーザの頭部に装着して、映像を表示するヘッドマウントディスプレイに関する。
従来、映像を表示するシステムとして、メガネ形状をしたヘッドマウントディスプレイ(HMD)が提案されている。このようなヘッドマウントディスプレイにおいては、外部の状況によって視認性をあげる方法として、外部の明るさに応じて、映像の明るさ、コントラスト、色合い等を変化させる方法が提案されている。例えば、特許文献1(特開平7−92423号公報)には、2つの液晶ディスプレイを備えたヘッドマウントディスプレイが開示されている。
特開平7−92423号公報
ところで、シースルー型のヘッドマウントディスプレイの場合、周りの視野を妨げることなく、映像(虚像)を観察することが可能であるため、周りに置いてあるモノと映像を重ね合わせて観察することが可能である。
ところが、周りのモノがある面と映像が浮かび上がって見るピント位置がほぼ同じ位置の場合は両方を同時に視認することができるが、ピント位置がずれている場合は、目のピントを動かしながら観察しなければならない、という問題があった。
また、映像のピント位置よりモノが手前にある場合は、モノの奥に映像が浮かび上がって見えるため観察しづらい、という問題もあった。
本発明は以上のような課題を解決するためのものであり、そのために、請求項1に係る発明は、映像光を生成する映像表示部と、前記映像表示部からの映像光を観察者の眼に導くホログラム部と、を有するヘッドマウントディスプレイであって、前記ホログラム部は複数のホログラム素子から構成されると共に、それぞれのホログラム素子はホログラムとしての機能を有効化又は無効化することが可能なものが用いられることを特徴とする。
また、請求項2に係る発明は、請求項1に記載のヘッドマウントディスプレイにおいて、前記ホログラム部は複数のホログラム素子が積層されることにより構成されることを特徴とする。
また、請求項3に係る発明は、請求項1に記載のヘッドマウントディスプレイにおいて、前記ホログラム部は複数のホログラム素子が平面内に並べられることにより構成されることを特徴とする。
また、請求項4に係る発明は、請求項1乃至請求項3のいずれかに記載のヘッドマウントディスプレイにおいて、前記ホログラム部の傾斜角を取得する傾斜センサを有し、前記傾斜センサで取得される傾斜角に応じて、複数のホログラム素子うちのどのホログラム素子のホログラム機能を有効化又は無効化するかを決定することを特徴とする。
また、請求項5に係る発明は、請求項1乃至請求項4のいずれかに記載のヘッドマウン
トディスプレイにおいて、前記ホログラム素子がホログラフィック高分子分散液晶であることを特徴とする。
本発明の実施の形態に係るヘッドマウントディスプレイによれば、複数のホログラム素子によって、複数のピント位置を有する虚像を再現することができるので、複数の周囲のモノ(実像)のピント位置と、ヘッドマウントディスプレイによる虚像のピント位置とを合わせ込むことが可能となり、ユーザの利便性を向上することが可能となる。
また、本発明の実施の形態に係るヘッドマウントディスプレイによれば、虚像のピント位置を変更することで、モノの奥に虚像が浮かび上がって見えるため観察しづらい、という問題を解消することができる。
また、本発明の請求項2に係るヘッドマウントディスプレイによれば、複数のホログラム素子を積層する構成としているので、ホログラム部で映像光を回折するとき光量ロスが少ない。
また、本発明の請求項3に係るヘッドマウントディスプレイによれば、ホログラム部において、複数のホログラム素子が平面内に並べられる構成となっており、ホログラム素子を1枚製造するのみで足りるので、コストダウンを図ることが可能となる。
以下、本発明の実施の形態を図面を参照しつつ説明する。図1は本発明の実施の形態に係るヘッドマウントディスプレイの外観視を示す図である。図1において、10は回路部、11はメインスイッチ、12はピント位置切替スイッチ、13はケーブル、20は映像表示部、40は透明基材、50はホログラム部、100はヘッドマウントディスプレイをそれぞれ示している。
ヘッドマウントディスプレイ100はメガネ状の本体部分と、この本体部分とケーブル13によって接続される回路部10とから構成されている。ヘッドマウントディスプレイ100は、本体部分を通常のメガネのようにユーザが装着することによって使用されるものである。ヘッドマウントディスプレイ100の本体部分において、通常のメガネの右レンズに相当する箇所は、図示するように、ホログラム部50が埋め込まれた透明基材40が配されるようになっている。ホログラム部50はコンバイナとして機能することで、ユーザは周囲の実像と、映像表示部20で生成された映像光による虚像とを見ることが可能となる。
ホログラム部50は、映像表示部20で生成された映像光を、ヘッドマウントディスプレイ100のユーザの眼に導く役割を果たしている。また、このホログラム部50は複数のホログラム素子から構成されている。ホログラム部50のホログラム素子には、ホログラムとしての機能を有効化或いは無効化することが可能なもの―例えば、ホログラフィック高分子分散液晶―が用いられる。なお、本発明のヘッドマウントディスプレイにおいては、複数のホログラム素子を利用することができるものであるが、本実施形態においては、2つのホログラム素子から構成されるホログラム部50を例に説明する。
回路部10には、ヘッドマウントディスプレイとしての機能のオンオフを行うことができるメインスイッチ11と、ヘッドマウントディスプレイのユーザが見る虚像のピント位置の切替を行うピント位置切替スイッチ12と、映像表示部20で生成する映像光の映像データ源や、或いは前記映像光のための映像データの受信装置などが設けられている。
次に、映像表示部20とユーザの眼Eとの間に構成される光学系について説明する。図2は本発明の実施の形態に係るヘッドマウントディスプレイの光学系の概略を示す図である。図2において、21はLED光源、22は液晶ディスプレイ、51、52はホログラム素子をそれぞれ示している。
回路部10から送信される映像データは、液晶ディスプレイ22によって映像化され、LED光源21により照射されることで映像光となる。この映像光は、ホログラム部50によってユーザの眼Eに導かれる。ここで、ホログラム部50はホログラム素子51、52の2つのホログラフィック高分子分散液晶によって構成されている。
ホログラム素子51と、ホログラム素子52とは異なる光学特性(図3において示す配向角φ、ピッチpが異なる)を有するものであり、ホログラム素子51がホログラムとしての機能が有効化されているときには、ホログラム素子52がホログラムとしての機能が無効化される。また、ホログラム素子51がホログラムとしての機能が無効化されているときには、ホログラム素子52がホログラムとしての機能が有効化される。これによって、ホログラム部50は2つの異なる光学特性を示すものとなる。
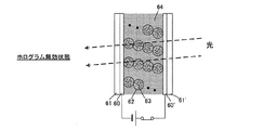
ヘッドマウントディスプレイのホログラム部50で用いられるホログラフィック高分子分散液晶について説明する。図3及び図4は本発明のヘッドマウントディスプレイのホログラム素子として用いられるホログラフィック高分子分散液晶の原理を模式的に示す図である。図3はホログラフィック高分子分散液晶に電圧が印加されていない状態を、また図4は電圧が印加されている状態を示している。
図3及び図4に示されているように、ホログラフィック高分子分散液晶は、硬化性樹脂64中に液晶分子63が収容されたドロップレット62が配向された状態で配された構造を有している。この構造の両端を、図示するように透明電極60、60’、ガラス基板61、61’で挟持するようになし、透明電極60、60’に所定の電圧を印加したり、しなかったりすることによって液晶分子63の状態を配向、非配向とする。
図3は透明電極60、60’に電圧を印加しない状態を示しており、このとき通常のホログラムとして回折された光が観察できる。また、図4は透明電極60、60’に電圧を印加した状態を示しており、このときホログラムの機能が失われ、光がそのまま透過する。
次に、ホログラフィック高分子分散液晶で構成されるホログラム素子51、ホログラム素子52との電圧の印加関係について説明する。図5は本発明のヘッドマウントディスプレイのホログラム部周辺の回路図を示す図である。なお、図5のホログラム素子51、ホログラム素子52には電極のみが示されている。また、同回路図はホログラム素子のオンオフのみに係る回路を示すものであり、回路部10全体の回路を示すものではない。
図5の回路図に示すように、ピント位置切替スイッチ12が(A)側となることで、ホログラム部50において、ホログラム素子51がオフ(ホログラムとしての機能が有効)、ホログラム素子52がオン(ホログラムとしての機能が無効)となる。また、ピント位置切替スイッチ12が(B)側となることで、ホログラム部50において、ホログラム素子51がオン(ホログラムとしての機能が無効)、ホログラム素子52がオフ(ホログラムとしての機能が有効)となる。
以上のようなホログラム部50の動作に伴う、ユーザの眼Eの視覚の様子を説明する。図6は本発明のヘッドマウントディスプレイのホログラム部による視覚効果を示す図である。
図6(A)はホログラム素子51が有効であり、ホログラム素子52が無効な状態を示しており、このときホログラム素子51の光学特性によって、ユーザは虚像のピント位置がAであると感じる効果を有するものである。
また、図6(B)はホログラム素子51が無効であり、ホログラム素子52が有効な状態を示しており、このときホログラム素子52の光学特性によって、ユーザは虚像のピント位置がAとは異なるBであると感じる効果を有するものである。
以上のような構成によれば、複数のホログラム素子51、52によって、複数のピント位置(A、B)を有する虚像を再現することができるので、複数の周囲のモノ(実像)のピント位置と、ヘッドマウントディスプレイによる虚像のピント位置とを合わせ込むことが可能となり、ユーザの利便性を向上することが可能となる。
また、上記のようなヘッドマウントディスプレイの構成によれば、虚像のピント位置を変更することで、モノの奥に虚像が浮かび上がって見えるため観察しづらい、という問題を解消することができる。
また、以上のような本実施形態では、ホログラム部50において、複数のホログラム素子51、52を積層する構成としているので、ホログラム部50で映像光を回折するとき光量ロスが少ない、という利点がある。
次に、本発明の他の実施形態について説明する。図7は本発明の他の実施の形態に係るヘッドマウントディスプレイのホログラム部50の構成を示す図である。先の実施形態では、ホログラム部50における複数のホログラム素子51、52は積層されるようにして構成されていたが、本実施形態では、ホログラム素子51、52が平面内に並べられるようにして構成される。このようなホログラム部50の構成によって、ホログラム素子51、52の有効、無効を先の実施形態と同様に切り替えることによって、複数のピント位置(A、B)を有する虚像を再現することができる。
また、図8は本発明の他の実施の形態に係るヘッドマウントディスプレイのホログラム部50の構成を示す図である。この実施形態は、円周上に複数のホログラム素子51、52を配置したものである。このような実施形態によっても、先の実施形態と同様の効果を得ることができる。
図7及び図8に示す実施形態では、ホログラム部50において、複数のホログラム素子51、52が平面内に並べられる構成となっており、ホログラム素子を1枚製造するのみで足りるので、先の積層タイプに比べて、コストダウンを図ることが可能となる。
次に、本発明の他の実施形態について説明する。図9は本発明の他の実施の形態に係るヘッドマウントディスプレイの外観視を示す図である。本実施形態におけるホログラム部50としては、これまで説明してきた任意のものを用いることができる。また、先の実施形態と同じ参照番号が付された構成は、同様のものを示している。
本実施形態においては、メガネ状の本体部に傾斜センサ30が設けられており、この本体部(すなわち、ホログラム部50)の傾斜に係る情報を取得することができるようになっている。ここで、傾斜センサ30が取得する傾斜角としては、図9の鉛直線V−V’に対するユーザの視線方向A−A’のなす角θとすることができる。
次に、本発明の他の実施の形態に係るヘッドマウントディスプレイ100’におけるホ
ログラム部50の動作について説明する。この実施形態においても、ホログラム部50のホログラム素子51及びホログラム素子52のホログラム機能の有効化、無効化を行うものであるが、本実施形態では、傾斜センサ30で取得される傾斜角に応じて、ホログラム素子51、52うちのどのホログラム素子のホログラム機能を有効化又は無効化するかを決定するものである。
図10は本発明の他の実施の形態に係るヘッドマウントディスプレイのブロック構成を示す図である。図10に示すブロック図においては、ホログラム部50を動作させるための構成が示されるものであって、映像表示部20を動作させるための構成などは図示省略されている。
本実施形態においては、ホログラム部50のホログラム素子51、52は、主制御部15によって、そのオンオフが制御されるようになっている。主制御部15は、CPUとCPU上で動作するプログラムを保持するROM、CPUのワークエリアとして機能するRAM、他の機器と接続するためのインターフェイス手段などからなる汎用の情報処理機構である。また、傾斜センサ30は、取得した傾斜角に係るデータを主制御部15に入力するように構成されている。
次に、以上のように構成されるヘッドマウントディスプレイ100’のホログラム部50の制御処理について説明する。図11は本発明の他の実施の形態に係るヘッドマウントディスプレイのホログラム部の制御処理のフローチャートを示す図である。
図11において、ステップS100で、ホログラム部50の制御処理が開始されると、続いて、ステップS101に進み、傾斜センサ30によって、ヘッドマウントディスプレイ100’の本体部の傾斜角θが取得される。
ステップS102では、取得された傾斜角θが所定の傾斜角θoより小さいか否かが判定される。ステップS102の判定結果がYESであるときにはステップS103に進み、ステップS102の判定結果がNOであるときにはステップS105に進む。
ステップS103では、ホログラム部50において、ホログラム素子51のホログラム機能を有効化し、ホログラム素子52のホログラム機能を無効化し、虚像のピント位置がAとなるようにする。
また、S105では、ホログラム部50において、ホログラム素子51のホログラム機能を無効化し、ホログラム素子52のホログラム機能を有効化し、虚像のピント位置がBとなるようにする。
ステップS104では、メインスイッチ11がオフされた否かが判定される。ステップS104の判定結果がNOであるときにはステップS101に戻る。また、判定結果がYESであるときにはステップS106に進み、ホログラム部50の制御処理を終了する。
次に、以上のように制御されるホログラム部50を有するヘッドマウントディスプレイ100’の実使用例につき説明する。図12は本発明の他の実施の形態に係るヘッドマウントディスプレイ100’の使用形態を説明する図である。図12は本実施形態に係るヘッドマウントディスプレイ100’を装着したユーザが、机上の書類と、黒板とを交互に参照しつつ、ヘッドマウントディスプレイ100’の虚像の映像表示も参照する様子を示している。
ヘッドマウントディスプレイ100’を装着したユーザが、机上の書類を参照している
ときには、ユーザは下を向く。このとき傾斜センサ30によって取得される傾斜角θは、θoより小さいものとなるように、所定の傾斜角θoが設定されており、従って、先のフローチャートにおけるステップS103によってホログラム部50の制御がなされるようになっている。すなわち、ユーザが机上の書類を参照するときには、机上の書類近辺をピント位置(A)とする虚像が再現される。この状態を示すものが、図12(A)である。
また、ヘッドマウントディスプレイ100’を装着したユーザが、黒板を参照するために正面を向くような場合には、傾斜角θがθo以上となるように、所定の傾斜角θoが設定される。すなわち、ユーザが黒板を参照するときには、机上の書類近辺をピント位置(B)とする虚像が再現される。この状態を示すものが、図12(B)である。
ヘッドマウントディスプレイ100’のような形態によれば、ユーザが机上の書類を参照するときには、机上の書類近辺をピント位置(A)とする虚像が再現され、また、ユーザが黒板を参照するときには、黒板近辺をピント位置(B)とする虚像が再現されるように構成される。つまり、複数の周囲のモノ(実像)のピント位置と、ヘッドマウントディスプレイ100’による虚像のピント位置とが必要に応じて自動的に合うようになるので、ユーザは実像と虚像とを、眼のピント調整をすることなく、同時に見ることが可能となる。
以上、本発明の実施の形態に係るヘッドマウントディスプレイによれば、複数のホログラム素子によって、複数のピント位置を有する虚像を再現することができるので、複数の周囲のモノ(実像)のピント位置と、ヘッドマウントディスプレイによる虚像のピント位置とを合わせ込むことが可能となり、ユーザの利便性を向上することが可能となる。
また、本発明の実施の形態に係るヘッドマウントディスプレイによれば、虚像のピント位置を変更することで、モノの奥に虚像が浮かび上がって見えるため観察しづらい、という問題を解消することができる。
本発明の実施の形態に係るヘッドマウントディスプレイの外観視を示す図である。 本発明の実施の形態に係るヘッドマウントディスプレイの光学系の概略を示す図である。 本発明のヘッドマウントディスプレイに用いられるホログラフィック高分子分散液晶の原理を模式的に示す図である。 本発明のヘッドマウントディスプレイに用いられるホログラフィック高分子分散液晶の原理を模式的に示す図である。 本発明のヘッドマウントディスプレイのホログラム部周辺の回路図を示す図である。 本発明のヘッドマウントディスプレイのホログラム部による視覚効果を示す図である。 本発明の他の実施の形態に係るヘッドマウントディスプレイのホログラム部の構成を示す図である。 本発明の他の実施の形態に係るヘッドマウントディスプレイのホログラム部の構成を示す図である。 本発明の他の実施の形態に係るヘッドマウントディスプレイの外観視を示す図である。 本発明の他の実施の形態に係るヘッドマウントディスプレイのブロック構成を示す図である。 本発明の他の実施の形態に係るヘッドマウントディスプレイのホログラム部の制御処理のフローチャートを示す図である。 本発明の他の実施の形態に係るヘッドマウントディスプレイの使用形態を説明する図である。
符号の説明
10・・・回路部、11・・・メインスイッチ、12・・・ピント位置切替スイッチ、13・・・ケーブル、15・・・主制御部、20・・・映像表示部、21・・・LED光源、22・・・液晶ディスプレイ、30・・・傾斜センサ、40・・・透明基材、50・・・ホログラム部、51、52・・・ホログラム素子、60、60’・・・透明電極、61、61’・・・ガラス基板、62・・・ドロップレット、63・・・液晶分子、64・・・硬化性樹脂、100、100’・・・ヘッドマウントディスプレイ、

Claims (5)

  1. 映像光を生成する映像表示部と、
    前記映像表示部からの映像光を観察者の眼に導くホログラム部と、を有するヘッドマウントディスプレイであって、
    前記ホログラム部は複数のホログラム素子から構成されると共に、それぞれのホログラム素子はホログラムとしての機能を有効化又は無効化することが可能なものが用いられることを特徴とするヘッドマウントディスプレイ。
  2. 前記ホログラム部は複数のホログラム素子が積層されることにより構成されることを特徴とする請求項1に記載のヘッドマウントディスプレイ。
  3. 前記ホログラム部は複数のホログラム素子が平面内に並べられることにより構成されることを特徴とする請求項1に記載のヘッドマウントディスプレイ。
  4. 前記ホログラム部の傾斜角を取得する傾斜センサを有し、
    前記傾斜センサで取得される傾斜角に応じて、複数のホログラム素子うちのどのホログラム素子のホログラム機能を有効化又は無効化するかを決定することを特徴とする請求項1乃至請求項3のいずれかに記載のヘッドマウントディスプレイ。
  5. 前記ホログラム素子がホログラフィック高分子分散液晶であることを特徴とする請求項1乃至請求項4のいずれかに記載のヘッドマウントディスプレイ。
JP2008188045A 2008-07-22 2008-07-22 ヘッドマウントディスプレイ Active JP5062432B2 (ja)

Priority Applications (1)

Application Number Priority Date Filing Date Title
JP2008188045A JP5062432B2 (ja) 2008-07-22 2008-07-22 ヘッドマウントディスプレイ

Applications Claiming Priority (1)

Application Number Priority Date Filing Date Title
JP2008188045A JP5062432B2 (ja) 2008-07-22 2008-07-22 ヘッドマウントディスプレイ

Publications (2)

Publication Number Publication Date
JP2010026273A true JP2010026273A (ja) 2010-02-04
JP5062432B2 JP5062432B2 (ja) 2012-10-31

Family

ID=41732158

Family Applications (1)

Application Number Title Priority Date Filing Date
JP2008188045A Active JP5062432B2 (ja) 2008-07-22 2008-07-22 ヘッドマウントディスプレイ

Country Status (1)

Country Link
JP (1) JP5062432B2 (ja)

Cited By (7)

* Cited by examiner, † Cited by third party
Publication number Priority date Publication date Assignee Title
WO2014151877A1 (en) * 2013-03-14 2014-09-25 The Board Of Trustees Of The Leland Stanford Junior University Holographic head-mounted display
JP2015505995A (ja) * 2012-01-30 2015-02-26 華為技術有限公司Huawei Technologies Co.,Ltd. 波長を選択的に切り替える方法および装置
WO2017005608A1 (en) * 2015-07-03 2017-01-12 Essilor International (Compagnie Generale D'optique) Methods and systems for augmented reality
WO2017005614A1 (en) * 2015-07-03 2017-01-12 Essilor International (Compagnie Generale D'optique) Methods and systems for augmented reality
JP2018032049A (ja) * 2013-11-27 2018-03-01 マジック リープ, インコーポレイテッドMagic Leap,Inc. 仮想現実および拡張現実のシステムおよび方法
JP2018514803A (ja) * 2015-04-02 2018-06-07 ユニヴァーシティー オブ ロチェスター 仮想現実および拡張現実ニアアイディスプレイ用の自由形状ナノ構造面
US12181676B2 (en) 2014-09-29 2024-12-31 Magic Leap, Inc. Architectures and methods for outputting different wavelength light out of waveguides

Citations (13)

* Cited by examiner, † Cited by third party
Publication number Priority date Publication date Assignee Title
JPH0651239A (ja) * 1992-07-31 1994-02-25 Canon Inc 画像表示装置
JPH06118234A (ja) * 1992-10-02 1994-04-28 Canon Inc ホログラムレンズ及びそれを用いた表示装置
JPH1068906A (ja) * 1996-05-30 1998-03-10 Asahi Glass Co Ltd ホログラフィック表示装置
JP2000066136A (ja) * 1998-08-19 2000-03-03 Matsushita Electric Ind Co Ltd 光学式3次元動画表示装置
JP2001209037A (ja) * 2000-01-26 2001-08-03 Olympus Optical Co Ltd 可変ホログラム素子及びそれらを用いた光学装置
JP2002051278A (ja) * 2000-07-31 2002-02-15 Olympus Optical Co Ltd 情報端末
JP2002529790A (ja) * 1998-11-12 2002-09-10 デジレンズ・インコーポレイテッド 映像を見るための頭部搭載型ディスプレイ装置
JP2005092224A (ja) * 2004-09-21 2005-04-07 Toshiba Corp 小型ディスプレイ装置及び画像表示制御方法
JP2005157337A (ja) * 2003-11-04 2005-06-16 Dainippon Printing Co Ltd 可視化断面を有する3次元物体が記録された計算機ホログラム、ホログラフィックステレオグラムの作成方法及び可視化断面を有する3次元物体が記録された計算機ホログラム、ホログラフィックステレオグラム
WO2005093493A1 (ja) * 2004-03-29 2005-10-06 Sony Corporation 光学装置及び虚像表示装置
JP2005316304A (ja) * 2004-04-30 2005-11-10 Sony Corp 画像表示装置
JP2005331767A (ja) * 2004-05-20 2005-12-02 Sony Corp 画像表示装置
JP2006017991A (ja) * 2004-07-01 2006-01-19 Konica Minolta Holdings Inc 映像表示装置

Patent Citations (13)

* Cited by examiner, † Cited by third party
Publication number Priority date Publication date Assignee Title
JPH0651239A (ja) * 1992-07-31 1994-02-25 Canon Inc 画像表示装置
JPH06118234A (ja) * 1992-10-02 1994-04-28 Canon Inc ホログラムレンズ及びそれを用いた表示装置
JPH1068906A (ja) * 1996-05-30 1998-03-10 Asahi Glass Co Ltd ホログラフィック表示装置
JP2000066136A (ja) * 1998-08-19 2000-03-03 Matsushita Electric Ind Co Ltd 光学式3次元動画表示装置
JP2002529790A (ja) * 1998-11-12 2002-09-10 デジレンズ・インコーポレイテッド 映像を見るための頭部搭載型ディスプレイ装置
JP2001209037A (ja) * 2000-01-26 2001-08-03 Olympus Optical Co Ltd 可変ホログラム素子及びそれらを用いた光学装置
JP2002051278A (ja) * 2000-07-31 2002-02-15 Olympus Optical Co Ltd 情報端末
JP2005157337A (ja) * 2003-11-04 2005-06-16 Dainippon Printing Co Ltd 可視化断面を有する3次元物体が記録された計算機ホログラム、ホログラフィックステレオグラムの作成方法及び可視化断面を有する3次元物体が記録された計算機ホログラム、ホログラフィックステレオグラム
WO2005093493A1 (ja) * 2004-03-29 2005-10-06 Sony Corporation 光学装置及び虚像表示装置
JP2005316304A (ja) * 2004-04-30 2005-11-10 Sony Corp 画像表示装置
JP2005331767A (ja) * 2004-05-20 2005-12-02 Sony Corp 画像表示装置
JP2006017991A (ja) * 2004-07-01 2006-01-19 Konica Minolta Holdings Inc 映像表示装置
JP2005092224A (ja) * 2004-09-21 2005-04-07 Toshiba Corp 小型ディスプレイ装置及び画像表示制御方法

Cited By (23)

* Cited by examiner, † Cited by third party
Publication number Priority date Publication date Assignee Title
JP2015505995A (ja) * 2012-01-30 2015-02-26 華為技術有限公司Huawei Technologies Co.,Ltd. 波長を選択的に切り替える方法および装置
US9201286B2 (en) 2012-01-30 2015-12-01 Huawei Technologies Co., Ltd. Method and apparatus for wavelength selective switch
WO2014151877A1 (en) * 2013-03-14 2014-09-25 The Board Of Trustees Of The Leland Stanford Junior University Holographic head-mounted display
JP2019191611A (ja) * 2013-11-27 2019-10-31 マジック リープ, インコーポレイテッドMagic Leap,Inc. 仮想現実および拡張現実のシステムおよび方法
JP2018032049A (ja) * 2013-11-27 2018-03-01 マジック リープ, インコーポレイテッドMagic Leap,Inc. 仮想現実および拡張現実のシステムおよび方法
US12181676B2 (en) 2014-09-29 2024-12-31 Magic Leap, Inc. Architectures and methods for outputting different wavelength light out of waveguides
JP2018514803A (ja) * 2015-04-02 2018-06-07 ユニヴァーシティー オブ ロチェスター 仮想現実および拡張現実ニアアイディスプレイ用の自由形状ナノ構造面
CN107850788B (zh) * 2015-07-03 2020-10-27 依视路国际公司 用于增强现实的方法和系统
US10852541B2 (en) 2015-07-03 2020-12-01 Essilor International Methods and systems for augmented reality
KR20180045864A (ko) * 2015-07-03 2018-05-04 에씰로 앙터나시오날 증강 현실을 위한 방법 및 시스템
CN107850788A (zh) * 2015-07-03 2018-03-27 依视路国际公司 用于增强现实的方法和系统
JP2018525662A (ja) * 2015-07-03 2018-09-06 エシロール アンテルナショナルEssilor International 拡張現実のための方法とシステム
JP2018528452A (ja) * 2015-07-03 2018-09-27 エシロール アンテルナショナルEssilor International 拡張現実のための方法とシステム
KR20180044238A (ko) * 2015-07-03 2018-05-02 에씰로 앙터나시오날 증강 현실을 위한 방법 및 시스템
US10416456B2 (en) 2015-07-03 2019-09-17 Essilor International Methods and systems for augmented reality
CN107924057A (zh) * 2015-07-03 2018-04-17 依视路国际公司 用于增强现实的方法和系统
WO2017005614A1 (en) * 2015-07-03 2017-01-12 Essilor International (Compagnie Generale D'optique) Methods and systems for augmented reality
CN107924057B (zh) * 2015-07-03 2020-12-22 依视路国际公司 用于增强现实的方法和系统
JP7074478B2 (ja) 2015-07-03 2022-05-24 エシロール アンテルナショナル 拡張現実のための方法とシステム
US11762199B2 (en) 2015-07-03 2023-09-19 Essilor International Methods and systems for augmented reality
KR102586069B1 (ko) * 2015-07-03 2023-10-05 에씰로 앙터나시오날 증강 현실을 위한 방법 및 시스템
KR102593113B1 (ko) * 2015-07-03 2023-10-25 에씰로 앙터나시오날 증강 현실을 위한 방법 및 시스템
WO2017005608A1 (en) * 2015-07-03 2017-01-12 Essilor International (Compagnie Generale D'optique) Methods and systems for augmented reality

Also Published As

Publication number Publication date
JP5062432B2 (ja) 2012-10-31

Similar Documents

Publication Publication Date Title
US11340464B2 (en) Head-mounted display apparatus
JP5062432B2 (ja) ヘッドマウントディスプレイ
US20160240013A1 (en) Combining a high resolution narrow field display and a mid resolution wide field display
JP4431433B2 (ja) ハイブリッドhmd装置
JP4967731B2 (ja) 画像表示装置及びそのための光学部材
US20200049996A1 (en) Waveguided Display System With Adjustable Lenses
US11852819B2 (en) Optical systems having multiple light paths for performing foveation
US20100283774A1 (en) Transparent component with switchable reflecting elements, and devices including such component
US20100214635A1 (en) Display device, display method and head-up display
JP7207406B2 (ja) 表示装置
JP2010139589A (ja) 映像表示装置およびヘッドマウントディスプレイ
JP2008268846A (ja) 電子像表示機能付き眼鏡
US20230152592A1 (en) Augmented reality display device
US20220004008A1 (en) Optical Systems with Switchable Lenses for Mitigating Variations in Ambient Brightness
WO2018231595A1 (en) Display illumination systems
JP2018522477A (ja) ヘッドマウント電子デバイス
JP2018527781A (ja) ヘッドマウント電子デバイス
JP2010098567A (ja) 頭部顔面装着型画像表示装置
CN108227191A (zh) 增强现实装置
JP7668305B2 (ja) 表示装置
CN113826039B (zh) 可穿戴显示装置
KR20240134033A (ko) 증강 현실 또는 가상 현실 디스플레이들을 위한 도파관 조합기 조립체들
JP2023057103A (ja) ヘッドマウントディスプレイ
CN114578557A (zh) 虚像显示装置
US20240420428A1 (en) Augmented reality display device

Legal Events

Date Code Title Description
A621 Written request for application examination

Free format text: JAPANESE INTERMEDIATE CODE: A621

Effective date: 20110520

A977 Report on retrieval

Free format text: JAPANESE INTERMEDIATE CODE: A971007

Effective date: 20120424

A131 Notification of reasons for refusal

Free format text: JAPANESE INTERMEDIATE CODE: A131

Effective date: 20120502

A521 Written amendment

Free format text: JAPANESE INTERMEDIATE CODE: A523

Effective date: 20120618

TRDD Decision of grant or rejection written
A01 Written decision to grant a patent or to grant a registration (utility model)

Free format text: JAPANESE INTERMEDIATE CODE: A01

Effective date: 20120711

A01 Written decision to grant a patent or to grant a registration (utility model)

Free format text: JAPANESE INTERMEDIATE CODE: A01

A61 First payment of annual fees (during grant procedure)

Free format text: JAPANESE INTERMEDIATE CODE: A61

Effective date: 20120724

R150 Certificate of patent or registration of utility model

Ref document number: 5062432

Country of ref document: JP

Free format text: JAPANESE INTERMEDIATE CODE: R150

Free format text: JAPANESE INTERMEDIATE CODE: R150

FPAY Renewal fee payment (event date is renewal date of database)

Free format text: PAYMENT UNTIL: 20150817

Year of fee payment: 3