JP2010025409A - 電気ストーブの安全装置 - Google Patents

電気ストーブの安全装置 Download PDF

Info

Publication number
JP2010025409A
JP2010025409A JP2008186103A JP2008186103A JP2010025409A JP 2010025409 A JP2010025409 A JP 2010025409A JP 2008186103 A JP2008186103 A JP 2008186103A JP 2008186103 A JP2008186103 A JP 2008186103A JP 2010025409 A JP2010025409 A JP 2010025409A
Authority
JP
Japan
Prior art keywords
guard member
guard
detection light
electric stove
light beam
Prior art date
Legal status (The legal status is an assumption and is not a legal conclusion. Google has not performed a legal analysis and makes no representation as to the accuracy of the status listed.)
Granted
Application number
JP2008186103A
Other languages
English (en)
Other versions
JP5401735B2 (ja
Inventor
Tadashi Sengoku
千石唯司
Gohei Sengoku
千石剛平
Current Assignee (The listed assignees may be inaccurate. Google has not performed a legal analysis and makes no representation or warranty as to the accuracy of the list.)
Sengoku Co Ltd
Original Assignee
Sengoku Co Ltd
Priority date (The priority date is an assumption and is not a legal conclusion. Google has not performed a legal analysis and makes no representation as to the accuracy of the date listed.)
Filing date
Publication date
Application filed by Sengoku Co Ltd filed Critical Sengoku Co Ltd
Priority to JP2008186103A priority Critical patent/JP5401735B2/ja
Publication of JP2010025409A publication Critical patent/JP2010025409A/ja
Application granted granted Critical
Publication of JP5401735B2 publication Critical patent/JP5401735B2/ja
Active legal-status Critical Current
Anticipated expiration legal-status Critical

Links

Images

Landscapes

  • Electric Stoves And Ranges (AREA)

Abstract

【課題】ガードの上端と光電検知面の上端との間に空間が存在している電気ストーブの安全対策として、この空間を紙等の障害物が通過するのを阻止すること。
【解決手段】本体前面を開口し、発熱体1およびガード部材3を有し、本体前面の開口前方を通過する検知光線を設けて光電式検知面9を形成し、検知光線の受光の有無を判別することで、可燃物のガード部材3への接近・接触を検知して発熱体2に対するスイッチ操作を行う電気ストーブにおいて、少なくとも1本の横杆11と複数本の縦杆12を含む第2ガード部材10を、前記検知光線が通過する光電式検知面9の上端およびガード部材3の上端の上方に位置して、電気ストーブの本体ケース上端部に装備する。
【選択図】図1

Description

本願発明は、電気ストーブにおける火災、火傷(やけど)防止の安全装置に関するものである。より詳しくは、発熱体前面のガード部材への障害物[可燃物(衣服、タオル等)、身体の一部]の接近に際して、電気ストーブの運転を自動停止するための安全装置に関するものである。
この種の電気ストーブの安全装置として、特公平8−1306号(特許文献1)「電気ストーブ」が公知である。該公知技術においては、ガード部材の前面に、発光素子よりの単一の検知光線が、複数個の反射体で順次反射して、受光素子24に向け照射される。即ち、発光素子より複数個の反射体を経て単一の検知光線を受光素子に向け照射される検知光線が、障害物等で遮断されることで、障害物、身体の一部の存在を検知する構造で、ガード部材の前面に、発光素子よりの単一の検知光線による光電式検知面が形成されている。
前記の公知技術において、単一の検知光線による障害物等検出であるから、線としての障害物等検出となり、検知光線の通過しない範囲(即ち、非検出エリヤ)が広範囲の非検出エリヤが存在する問題点がある。
この問題点を解消する発明として、本願出願人は、特願2008-65270号で特許出願している。該先願発明は、開口一側に設けた複数個の発光素子と、開口他側に設けた複数個の発光素子と、発光素子時差点灯制御装置とにより、複数本の検知光線を所定のタイミィングで連続発生させることで、検知範囲を隣接させて検知精度を高め、安全対策をより確実にして、前記課題を解決している。
特公平8−1306号
上記の公知技術および上記先願発明において、ガードの上端と光電検知面の上端との間に空間が存在している。この空間を通過した紙等が、ガード前面に付着すると、火災発生の危険がある(図12参照)。
よって、本願発明は、ガードの上端と光電検知面の上端との間に存在する空間よりの、紙等の障害物の通過を阻止して、電気ストーブの安全対策をより増進することを課題とする。
本願第1発明は、本体前面を開口し、発熱体1およびガード部材3を有し、本体前面の開口前方を通過する検知光線を設けて光電式検知面9を形成し、検知光線の受光の有無を判別することで、可燃物のガード部材3への接近・接触を検知して発熱体2に対するスイッチ操作を行う電気ストーブにおいて、
少なくとも1本の横杆11と複数本の縦杆12を含む第2ガード部材10を、前記検知光線が通過する光電式検知面9の上端およびガード部材3の上端の上方に位置して、電気ストーブの本体ケース上端部に装備したことを特徴とする電気ストーブの安全装置を提供する。
本願第2発明は、第2ガード部材10を少なくとも1本の横杆11と複数本の縦杆12を含む構造とし、少なくとも左右両側部に位置するガード部材3の縦杆3aを上方へ延長させて形成した縦杆延長部を前方へ折曲げ前方突出させて形成した第2ガード支持部31を設け、該第2ガード支持部13と前記第2ガード体10とを固定して一体化して、第2ガード支持部13をガード部材3の上方に構成したことを特徴とする。
本願第3発明は、少なくとも1本の横杆11と複数本の縦杆12とを含む第2ガード部材10を設け、前記第2ガード部材10を、電気ストーブの本体ケース上端部に固定した取付け具を介して、前記検知光線が通過する光電式検知面9の上端およびガード部材3の上端の上方に位置して装備したことを特徴とする電気ストーブの安全装置を提供する。
本願発明は、ガードの上端と光電式検知面上端との間に存在する空間の上方に、線状の第2ガード体を装備面したことにより、前記空間よりの紙等障害物の落下を阻止することができる。よって、光電式検知面を回避して、紙等障害物がガードへの接近して火災事故の発生に対する安全対策をより確実にする効果を有する。
本発明の好適な実施例について、添付図面を参照して説明する。
図1ないし図3は、本願発明の縦型平面タイプの電気ストーブ(先願発明において、後述の第2ガード部材10を付加している。)を示し、1は本体で、前面を開口している。2は発熱体(ヒーター)、3はガード部材、4は操作部、5は台座である。
なお、台座5に傾斜角度調整装置(図示省略)を介して本体1を支持することで、垂直状態と設定上向角度の傾斜状態との間で任意に支持角度を変更自在である。
本体1の前面開口枠体1A、1Bのいずれかの一側面(図示の実施例では右側面)に、複数個の発光素子6A、6B、6Cを装備し、他側面(図示の実施例では左側面)に、複数個の受光素子7A、7B、7Cを装備する。
図2を参照して、L11、L12、L21、L22、L23、L32、L33は、複数個の発光素子6A、6B、6Cより、対向面の複数個の受光素子7A、7B、7Cへの検知光線を示し、検知光線L11、L12、L21、L22、L23、L32、L33により、光電式検知面9を構成する。
本願発明は、光電式検知面9の上端およびガード部材3の上端の上方に位置して、電気ストーブの本体ケース上端部に、第2ガード部材10を装備する。
以下、第2ガード部材10を説明する。
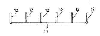
前記第2ガード部材10は、少なくとも1本の横杆11と複数本の縦杆12とで
構成する。
図4に示す実施例においては、前記第2ガード部材10は、単一の金属製線材(例えば、ステンレス線材)を折り曲げて両端の縦杆12と1本の横杆11とを連続した形状とすることで構成する。
図4の(a)の実施例においては、横杆11を直線とする。
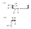
図4の(b)の実施例においては、1本の横杆11を、波状ないし凹凸の連続した形状とする、
図5 の実施例においては、前記第2ガード部材10は、図4 の(a)の実施例において、両端の縦杆12の間に複数本の縦杆12とを付加するものであり、複数本の横杆11と複数本の縦杆12とを互いに溶接して一体化した構成とする。
図6の実施例においては、電気ストーブの左右両側部に位置するガード部材3の縦杆3aを上方へ延長させて形成した縦杆延長部を、前方へ折曲げて前方突出させて第2ガード支持部13を形成する。
該第2ガード支持部13に前記第2ガード部材10を固定して一体化することでガード部材3と第2ガード部材10とを一体化した構成とする。
図7の実施例においては、電気ストーブの左右両側部に位置するガード部材3の縦杆3aの延長部による第2ガード支持部13に加えて、中間部の縦杆3aaについても縦杆3aと同様に、上方へ延長させ前方へ折曲げて前方突出させて第2ガード支持部13を形成する。
図8および図9は、第2ガード支持部13と前記第2ガード部材10との固定手段を示す。
図8の実施例においては、溶接wにより。該第2ガード支持部13と第2ガード部材10の縦杆12とを一体化する。
図9の実施例においては、締付バンド等の固定具tにより。該第2ガード支持部13と第2ガード部材10の縦杆11とを一体化する。
図10の実施例においては、
電気ストーブの本体ケース上端部に取付け具14を固定し、第2ガード部材10の縦杆12Aの端部を取付け具14で支持する。必要に応じて、傾斜角度規制手段15を付加する。
この種の電気ストーブは、室内を部分的に局所的に暖房する目的で使用されることが多く、たとえば事務机に接近して使用されることがある。その際に図12に示すごとく、ガードの上端と光電検知面の上端との間に空間Hが存在している。この空間H を通過した紙等Pが、ガード3 の前面に付着すると、火災発生の危険がある(図12参照)。
本願発明に示すごとく、ガードの上端と光電検知面の上端との間に空間Hには、第2ガード部材10が存在して、紙等Pの通過を阻止している。よって、紙等Pがガード3 の前面に付着することによる火災発生の危険を無くすものである。
本願発明は、電気ストーブの安全対策を確実にすることで、電気ストーブの利用を促進して、電気ストーブ製造業およびその関連産業の産業発展に寄与するものである。
本願発明の実施例を示す電気ストーブの正面視の斜視図。 同じく光電検知面を示す斜視図。 同じく平面図。 第2ガード体の実施例を示す平面図で、a図は第1実施例、b図は第2実施例である。 同じく第3実施例の平面図。 同じく第4実施例の第2ガード体を有する電気ストーブの斜視図。 同じく第5実施例の第2ガード体を有する電気ストーブの斜視図。 第2ガードとガード体との固定手段の第1実施例を示し、a図は平面図、b図は側面図。 同じく第2実施例を示し、a図は平面図、b図は側面図。 同じく第3実施例の固定手段を有する電気ストーブの斜視図。 本発明による作用説明図で、a図は斜視図、b図は側面図。 従来技術による作用説明図で、a図は斜視図、b図は側面図。
符号の説明
3 ガード部材、
9 光電式検知面
10 第2ガード部材
11 横杆
12 縦杆
13 第2ガード支持部
w 溶接
t 締付バンド等の固定具

Claims (5)

  1. 本体前面を開口し、発熱体1およびガード部材3を有し、本体前面の開口前方を通過する検知光線を設けて光電式検知面9を形成し、検知光線の受光の有無を判別することで、可燃物のガード部材3への接近・接触を検知して発熱体2に対するスイッチ操作を行う電気ストーブにおいて、
    少なくとも1本の横杆11と複数本の縦杆12を含む第2ガード部材10を、前記検知光線が通過する光電式検知面9の上端およびガード部材3の上端の上方に位置して、電気ストーブの本体ケース上端部に装備したことを特徴とする電気ストーブの安全装置。
  2. 本体前面を開口し、発熱体1およびガード部材3を有し、本体前面の開口前方を通過する検知光線を設けて光電式検知面9を形成し、検知光線の受光の有無を判別することで、可燃物のガード部材3への接近・接触を検知して発熱体2に対するスイッチ操作を行う電気ストーブにおいて、
    第2ガード部材10を少なくとも1本の横杆11と複数本の縦杆12を含む構造とし、
    少なくとも左右両側部に位置するガード部材3の縦杆3aを上方へ延長させて形成した縦杆延長部を前方へ折曲げ前方突出させて形成した第2ガード支持部13を設け、
    該第2ガード支持部13と前記第2ガード部体10とを固定して一体化し、
    第2ガード部材10をガード部材3の上方に構成したことを特徴とする電気ストーブの安全装置。
  3. 前記第2ガード部体10の横杆11を、水平方向に波状ないし凹凸形状として作用面を面状としたことを特徴とする請求項2に記載する電気ストーブの安全装置。
  4. 第2ガード部材10を少なくとも1本の横杆11と複数本の縦杆12を含む構造とし、
    ガード部材3の少なくとも2本の縦杆3aを上方へ延長させ前方へ折曲げ前方へ突出させて形成した第2ガード支持部13と、第2ガード部材10の両側の縦杆12とを、溶接して、該第2ガード支持部13と前記前記第2ガード体30とを一体化して、
    第2ガード部材10をガード部材3の上方に構成したことを特徴とする請求項3、4に記載する電気ストーブの安全装置。
  5. 本体前面を開口し、発熱体1およびガード部材3を有し、本体前面の開口前方を通過する検知光線を設けて光電式検知面9を形成し、検知光線の受光の有無を判別することで、可燃物のガード部材3への接近・接触を検知して発熱体2に対するスイッチ操作を行う電気ストーブにおいて、
    少なくとも1本の横杆11と複数本の縦杆12とを含む第2ガード部材10を設け、
    前記第2ガード部材10を、電気ストーブの本体ケース上端部に固定した取付け具を介して、前記検知光線が通過する光電式検知面9の上端およびガード部材3の上端の上方に位置して装備したことを特徴とする電気ストーブの安全装置。
JP2008186103A 2008-07-17 2008-07-17 電気ストーブの安全装置 Active JP5401735B2 (ja)

Priority Applications (1)

Application Number Priority Date Filing Date Title
JP2008186103A JP5401735B2 (ja) 2008-07-17 2008-07-17 電気ストーブの安全装置

Applications Claiming Priority (1)

Application Number Priority Date Filing Date Title
JP2008186103A JP5401735B2 (ja) 2008-07-17 2008-07-17 電気ストーブの安全装置

Publications (2)

Publication Number Publication Date
JP2010025409A true JP2010025409A (ja) 2010-02-04
JP5401735B2 JP5401735B2 (ja) 2014-01-29

Family

ID=41731422

Family Applications (1)

Application Number Title Priority Date Filing Date
JP2008186103A Active JP5401735B2 (ja) 2008-07-17 2008-07-17 電気ストーブの安全装置

Country Status (1)

Country Link
JP (1) JP5401735B2 (ja)

Citations (4)

* Cited by examiner, † Cited by third party
Publication number Priority date Publication date Assignee Title
JPS599209U (ja) * 1982-07-08 1984-01-20 東芝機器株式会社 石油燃焼装置
JPS6077919U (ja) * 1983-10-31 1985-05-31 東芝熱器具株式会社 石油スト−ブ
JPS6123618U (ja) * 1984-07-18 1986-02-12 株式会社日立ホームテック 反射形石油スト−ブの火傷防止ガ−ド
JPS63156937A (ja) * 1986-12-22 1988-06-30 Matsushita Electric Ind Co Ltd 電気スト−ブ

Patent Citations (4)

* Cited by examiner, † Cited by third party
Publication number Priority date Publication date Assignee Title
JPS599209U (ja) * 1982-07-08 1984-01-20 東芝機器株式会社 石油燃焼装置
JPS6077919U (ja) * 1983-10-31 1985-05-31 東芝熱器具株式会社 石油スト−ブ
JPS6123618U (ja) * 1984-07-18 1986-02-12 株式会社日立ホームテック 反射形石油スト−ブの火傷防止ガ−ド
JPS63156937A (ja) * 1986-12-22 1988-06-30 Matsushita Electric Ind Co Ltd 電気スト−ブ

Also Published As

Publication number Publication date
JP5401735B2 (ja) 2014-01-29

Similar Documents

Publication Publication Date Title
JP2005156571A5 (ja)
JP6050048B2 (ja) 車両用灯具
JP5834374B2 (ja) 光電式煙感知器
BRPI0606615A2 (pt) detector de particulado
NO20010917L (no) Belysningsenhet med lysledende element
JP2017009315A (ja) エリア監視システム、監視装置
JP2010025409A (ja) 電気ストーブの安全装置
JP5578895B2 (ja) 乗客コンベアの欄干照明装置
ITTO20010460A1 (it) Dispositivo di illuminazione a luminanza controllata.
JP2013003760A (ja) 煙感知器
JP2009099465A (ja) 照明カバー
ATE430277T1 (de) Dichtung
JP5277939B2 (ja) 照明器具
JP6199032B2 (ja) 車両用灯具
JP2006194668A (ja) ワイヤーロープの径計測装置
JP4844280B2 (ja) 乗客コンベアの安全装置
US20210095468A1 (en) Bridging connectors for suspended ceiling systems
JP6224143B2 (ja) 照明装置
JP2001174287A5 (ja)
JP2007299611A (ja) 擬似コーニス照明構造
JP6836412B2 (ja) 火災感知器
TW200604577A (en) Photoelectric sensor
JP7020814B2 (ja) バーナ
JP2017111618A (ja) 火災感知器
JP2005337853A (ja) 外観検査用照明装置

Legal Events

Date Code Title Description
A621 Written request for application examination

Free format text: JAPANESE INTERMEDIATE CODE: A621

Effective date: 20110712

A131 Notification of reasons for refusal

Free format text: JAPANESE INTERMEDIATE CODE: A131

Effective date: 20130115

A521 Request for written amendment filed

Free format text: JAPANESE INTERMEDIATE CODE: A523

Effective date: 20130227

A131 Notification of reasons for refusal

Free format text: JAPANESE INTERMEDIATE CODE: A131

Effective date: 20130531

A521 Request for written amendment filed

Free format text: JAPANESE INTERMEDIATE CODE: A523

Effective date: 20130708

TRDD Decision of grant or rejection written
A01 Written decision to grant a patent or to grant a registration (utility model)

Free format text: JAPANESE INTERMEDIATE CODE: A01

Effective date: 20130926

A61 First payment of annual fees (during grant procedure)

Free format text: JAPANESE INTERMEDIATE CODE: A61

Effective date: 20131011

R150 Certificate of patent or registration of utility model

Ref document number: 5401735

Country of ref document: JP

Free format text: JAPANESE INTERMEDIATE CODE: R150

R250 Receipt of annual fees

Free format text: JAPANESE INTERMEDIATE CODE: R250

R250 Receipt of annual fees

Free format text: JAPANESE INTERMEDIATE CODE: R250

R250 Receipt of annual fees

Free format text: JAPANESE INTERMEDIATE CODE: R250