JP2010024959A - 内燃機関の制御装置 - Google Patents

内燃機関の制御装置 Download PDF

Info

Publication number
JP2010024959A
JP2010024959A JP2008187259A JP2008187259A JP2010024959A JP 2010024959 A JP2010024959 A JP 2010024959A JP 2008187259 A JP2008187259 A JP 2008187259A JP 2008187259 A JP2008187259 A JP 2008187259A JP 2010024959 A JP2010024959 A JP 2010024959A
Authority
JP
Japan
Prior art keywords
intake
valve
cylinder
egr
passage
Prior art date
Legal status (The legal status is an assumption and is not a legal conclusion. Google has not performed a legal analysis and makes no representation as to the accuracy of the status listed.)
Granted
Application number
JP2008187259A
Other languages
English (en)
Other versions
JP4877288B2 (ja
Inventor
Yohei Hosokawa
陽平 細川
Tomohiro Shinagawa
知広 品川
Yuichi Kato
雄一 加藤
Shingo Korenaga
真吾 是永
Current Assignee (The listed assignees may be inaccurate. Google has not performed a legal analysis and makes no representation or warranty as to the accuracy of the list.)
Toyota Motor Corp
Original Assignee
Toyota Motor Corp
Priority date (The priority date is an assumption and is not a legal conclusion. Google has not performed a legal analysis and makes no representation as to the accuracy of the date listed.)
Filing date
Publication date
Application filed by Toyota Motor Corp filed Critical Toyota Motor Corp
Priority to JP2008187259A priority Critical patent/JP4877288B2/ja
Publication of JP2010024959A publication Critical patent/JP2010024959A/ja
Application granted granted Critical
Publication of JP4877288B2 publication Critical patent/JP4877288B2/ja
Expired - Fee Related legal-status Critical Current
Anticipated expiration legal-status Critical

Links

Images

Classifications

    • YGENERAL TAGGING OF NEW TECHNOLOGICAL DEVELOPMENTS; GENERAL TAGGING OF CROSS-SECTIONAL TECHNOLOGIES SPANNING OVER SEVERAL SECTIONS OF THE IPC; TECHNICAL SUBJECTS COVERED BY FORMER USPC CROSS-REFERENCE ART COLLECTIONS [XRACs] AND DIGESTS
    • Y02TECHNOLOGIES OR APPLICATIONS FOR MITIGATION OR ADAPTATION AGAINST CLIMATE CHANGE
    • Y02TCLIMATE CHANGE MITIGATION TECHNOLOGIES RELATED TO TRANSPORTATION
    • Y02T10/00Road transport of goods or passengers
    • Y02T10/10Internal combustion engine [ICE] based vehicles
    • Y02T10/40Engine management systems

Landscapes

  • Output Control And Ontrol Of Special Type Engine (AREA)
  • Electrical Control Of Air Or Fuel Supplied To Internal-Combustion Engine (AREA)
  • Combined Controls Of Internal Combustion Engines (AREA)

Abstract

【課題】内燃機関の制御装置において、EGR弁が開弁状態で固着した場合であっても、運転気筒に供給されるEGRガス量が過剰に多くなることを抑制し、運転気筒での燃焼状態が悪化することを抑制する技術を提供する。
【解決手段】4つの気筒のそれぞれに設けられた個別吸気通路と、排気通路から排気の一部をEGRガスとして取り込み、途中で分岐して吸気制御弁によって閉弁時に閉塞される個別吸気通路内に設けられた隔壁によって隔てられた通路断面一部区域の下流の隔壁が存在する吸気流れ方向の所定区間中へEGRガスを環流させるEGR通路と、分岐手前のEGR通路に設けられるEGR弁を備える。そして、EGR弁が開弁状態で固着したことが検出された場合に、4つの気筒の内所定の気筒についてフューエルカット制御を行うと共に、当該所定の気筒の吸気制御弁を閉じ側に制御する。
【選択図】図4

Description

本発明は、内燃機関の制御装置に関する。
従来、排気通路の排気の一部をEGRガスとして吸気通路に環流させるEGR通路を備える技術が知られている。この技術では、EGR通路に設けられたEGR弁の開度を変化させることで、EGR通路を介して吸気通路に導入されるEGRガス量が制御される。そしてこれに従い、内燃機関に供給されるEGRガス量が制御される。
ところで、EGR弁が開弁状態で固着すると、内燃機関に供給されるEGRガス量が過剰に多い状態となり、内燃機関での燃焼状態が悪化する場合がある。
このため、EGR弁が開弁状態で固着した場合に、減筒運転を行って1気筒当たりの吸気量を増加させることで、EGR率を低下させて燃料供給量を増加させることなく内燃機関での燃焼状態を良好に保つ技術が開示されている(例えば、特許文献1参照)。
特開2005−207285号公報 特開平8−210159号公報 特開平7−279698号公報
しかしながら、EGR弁が全開に近い開度で固着したとき等のように、吸気通路に導入されるEGRガス量が多くなる場合には、特許文献1に記載された方法でEGR率を十分に低下させることが困難な場合がある。そのため、やはり内燃機関での燃焼状態が悪化する場合がある。
本発明は上記事情に鑑みてなされたものであり、その目的とするところは、内燃機関の制御装置において、EGR弁が開弁状態で固着した場合であっても、運転気筒に供給されるEGRガス量が過剰に多くなることを抑制し、運転気筒での燃焼状態が悪化することを抑制する技術を提供することにある。
第1の本発明にあっては、以下の構成を採用する。すなわち、本発明は、
複数の気筒と、
各気筒に個別に接続された個別吸気通路と、
前記個別吸気通路の各々に配置され、閉弁時に前記個別吸気通路内に設けられた隔壁によって隔てられた通路断面一部区域を閉塞して当該閉塞された通路断面一部区域の下流の前記隔壁が存在する吸気流れ方向の所定区間にわたって吸気が流通しないようにすることにより、前記個別吸気通路の吸気量を削減する吸気制御弁と、
気筒に接続された排気通路と、
前記排気通路から排気の一部をEGRガスとして取り込み、途中で分岐して前記吸気制御弁によって閉弁時に閉塞される前記個別吸気通路内の通路断面一部区域の下流の前記所定区間中へ当該EGRガスを環流させるEGR通路と、
分岐手前の前記EGR通路に配置され、EGRガス量を制御するEGR弁と、
前記EGR弁が開弁状態で固着したことを検出する開固着検出手段と、
前記開固着検出手段によって前記EGR弁が開弁状態で固着したことが検出された場合に、複数の気筒の内所定の気筒についてフューエルカット制御を行うと共に、当該所定の
気筒の前記吸気制御弁を閉じ側に制御する第1開固着時制御手段と、
を備えたことを特徴とする内燃機関の制御装置である。
本発明では、EGR弁が開弁状態で固着したことが検出された場合に、第1に、所定の気筒についてフューエルカット制御を行う。フューエルカット制御では、気筒へ燃料が供給されず、気筒に設けられた吸気弁及び排気弁は作動する。このような燃料が供給されず、吸気弁及び排気弁が作動する気筒を休止気筒という。このため、所定の気筒は、休止気筒となり、所定の気筒では、吸入された吸気が未燃ガスのまま排出される。
第2に、所定の気筒の吸気制御弁を閉じ側に制御する。休止気筒である所定の気筒の吸気制御弁を閉じ側に制御すると、吸気制御弁が閉弁することで閉塞される個別吸気通路内の通路断面一部区域の下流の所定区間に増大した吸気負圧が発生する。この所定区間中にはEGR通路が接続されており、EGRガスがEGR通路から所定区間中に導入されるので、休止気筒である所定の気筒には、増大した吸気負圧によってEGRガスがより多く導入されることになる。
これによって、より多くのEGRガスが休止気筒である所定の気筒に導入されるので、所定の気筒以外の運転気筒では、EGRガスが導入され難くなる。したがって、所定の気筒以外の運転気筒に供給されるEGRガス量が過剰に多くなることを抑制でき、所定の気筒以外の運転気筒での燃焼状態が悪化することを抑制できる。
第2の本発明にあっては、以下の構成を採用する。すなわち、本発明は、
複数の気筒と、
各気筒に個別に接続された個別吸気通路と、
気筒に接続された排気通路と、
前記排気通路から排気の一部をEGRガスとして取り込み、途中で分岐して前記個別吸気通路へ当該EGRガスを環流させるEGR通路と、
分岐手前の前記EGR通路に配置され、EGRガス量を制御するEGR弁と、
前記EGR弁が開弁状態で固着したことを検出する開固着検出手段と、
前記開固着検出手段によって前記EGR弁が開弁状態で固着したことが検出された場合に、複数の気筒の内所定の気筒についてフューエルカット制御を行うと共に、当該所定の気筒以外の気筒について吸気負圧を低減させる吸気負圧低減制御を行う第2開固着時制御手段と、
を備えたことを特徴とする内燃機関の制御装置である。
本発明では、EGR弁が開弁状態で固着したことが検出された場合に、第1に、所定の気筒についてフューエルカット制御を行う。フューエルカット制御では、気筒へ燃料が供給されず、気筒に設けられた吸気弁及び排気弁は作動する。このような燃料が供給されず、吸気弁及び排気弁が作動する気筒を休止気筒という。このため、所定の気筒は、休止気筒となり、所定の気筒では、吸入された吸気が未燃ガスのまま排出される。
第2に、所定の気筒以外の気筒について吸気負圧を低減させる吸気負圧低減制御を行う。所定の気筒以外の運転気筒について吸気負圧を低減させると、所定の気筒以外の運転気筒には、低減された吸気負圧によってEGRガスが導入され難くなる。加えて吸気負圧が低減しているために、所定の気筒以外の運転気筒では、新気を取り込むために吸気圧力を高くする。このため、所定の気筒以外の運転気筒には、高い吸気圧力によってもEGRガスが導入され難くなる。これに対し、吸気負圧が低減されていない休止気筒である所定の気筒には、EGRガスがより多く導入される。したがって、所定の気筒以外の運転気筒に供給されるEGRガス量が過剰に多くなることを抑制でき、所定の気筒以外の運転気筒での燃焼状態が悪化することを抑制できる。
前記個別吸気通路の各々に配置され、閉弁時に前記個別吸気通路内に設けられた隔壁によって隔てられた通路断面一部区域を閉塞して当該閉塞された通路断面一部区域の下流の前記隔壁が存在する吸気流れ方向の所定区間にわたって吸気が流通しないようにすることにより、前記個別吸気通路の吸気量を削減する吸気制御弁を備え、
前記EGR通路は、前記排気通路から排気の一部をEGRガスとして取り込み、途中で分岐して前記吸気制御弁によって閉弁時に閉塞される前記個別吸気通路内の通路断面一部区域以外の下流の前記隔壁が存在する吸気流れ方向の所定区間中へ当該EGRガスを環流させており、
前記第2開固着時制御手段が行う吸気負圧低減制御は、所定の気筒以外の気筒の前記吸気制御弁を閉じ側に制御することで行われるとよい。
本発明によると、所定の気筒以外の気筒の吸気制御弁を閉じ側に制御することで、個別吸気通路が狭くなり、所定の気筒以外の気筒について吸気負圧を低減させることができる。
前記気筒に設けられた吸気弁の作用角を変更可能な吸気弁作用角可変手段を備え、
前記第2開固着時制御手段が行う吸気負圧低減制御は、前記吸気弁作用角可変手段によって所定の気筒以外の気筒に設けられた吸気弁の作用角を小作用角に変更することで行われるとよい。
本発明によると、所定の気筒以外の気筒に設けられた吸気弁の作用角を小作用角に変更することで、吸気弁をあまり大きく開弁しないようにし、所定の気筒以外の気筒について吸気負圧を低減させることができる。
前記気筒に複数設けられた吸気弁を閉弁状態で停止可能な吸気弁閉弁停止手段を備え、
前記第2開固着時制御手段が行う吸気負圧低減制御は、前記吸気弁閉弁停止手段によって所定の気筒以外の気筒に設けられた一部の吸気弁を閉弁状態で停止することで行われるとよい。
本発明によると、所定の気筒以外の気筒に設けられた一部の吸気弁を閉弁状態で停止することで、個別吸気通路から気筒への開口面積を狭くし、所定の気筒以外の気筒について吸気負圧を低減させることができる。
第3の本発明にあっては、以下の構成を採用する。すなわち、本発明は、
複数の気筒と、
前記気筒に設けられた吸気弁及び排気弁の開閉時期を変更可能な弁開閉時期可変手段と、
各気筒に個別に接続された個別吸気通路と、
気筒に接続された排気通路と、
前記排気通路から排気の一部をEGRガスとして取り込み、途中で分岐して前記個別吸気通路へ当該EGRガスを環流させるEGR通路と、
分岐手前の前記EGR通路に配置され、EGRガス量を制御するEGR弁と、
前記EGR弁が開弁状態で固着したことを検出する開固着検出手段と、
前記開固着検出手段によって前記EGR弁が開弁状態で固着したことが検出された場合に、複数の気筒の内所定の気筒についてフューエルカット制御を行うと共に、前記弁開閉時期可変手段によって、前記所定の気筒に設けられた吸気弁をピストンが下降する行程で開弁すると共にピストンが上昇する行程で閉弁し、且つ前記所定の気筒に設けられた排気弁をピストンが下降する行程で閉弁すると共にピストンが上昇する行程で開弁する第3開固着時制御手段と、
を備えたことを特徴とする内燃機関の制御装置である。
本発明では、EGR弁が開弁状態で固着したことが検出された場合に、第1に、所定の気筒についてフューエルカット制御を行う。フューエルカット制御では、気筒へ燃料が供給されず、気筒に設けられた吸気弁及び排気弁は作動する。このような燃料が供給されず、吸気弁及び排気弁が作動する気筒を休止気筒という。このため、所定の気筒は、休止気筒となり、所定の気筒では、吸入された吸気が未燃ガスのまま排出される。
第2に、所定の気筒に設けられた吸気弁をピストンが下降する行程で開弁すると共にピストンが上昇する行程で閉弁し、且つ所定の気筒に設けられた排気弁をピストンが下降する行程で閉弁すると共にピストンが上昇する行程で開弁する。このように休止気筒である所定の気筒の吸気弁及び排気弁を開閉制御すると、所定の気筒の吸気及び排気が、通常4ストロークサイクルで運転される気筒での吸気及び排気の倍となって、所定の気筒での吸気及び排気がより多く行われる。このため、休止気筒である所定の気筒には、吸気及び排気がより多く行われることによってEGRガスがより多く導入されることになる。加えて所定の気筒の吸気量が多くなることに伴い、所定の気筒以外の運転気筒では吸気量が減少するので、新気を取り込むために吸気圧力を高くする必要がある。このため、所定の気筒以外の運転気筒には、高い吸気圧力によってもEGRガスが導入され難くなる。
これによって、より多くのEGRガスが休止気筒である所定の気筒に導入されるので、所定の気筒以外の運転気筒では、EGRガスが導入され難くなる。したがって、所定の気筒以外の運転気筒に供給されるEGRガス量が過剰に多くなることを抑制でき、所定の気筒以外の運転気筒での燃焼状態が悪化することを抑制できる。
第4の本発明にあっては、以下の構成を採用する。すなわち、本発明は、
複数の気筒と、
前記気筒に設けられた吸気弁及び排気弁の開閉時期を変更可能な弁開閉時期可変手段と、
各気筒に個別に接続された個別吸気通路と、
気筒に接続された排気通路と、
前記排気通路から排気の一部をEGRガスとして取り込み、途中で分岐して前記個別吸気通路へ当該EGRガスを環流させるEGR通路と、
分岐手前の前記EGR通路に配置され、EGRガス量を制御するEGR弁と、
前記EGR弁が開弁状態で固着したことを検出する開固着検出手段と、
前記開固着検出手段によって前記EGR弁が開弁状態で固着したことが検出された場合に、複数の気筒の内所定の気筒についてフューエルカット制御を行うと共に、当該所定の気筒の各行程を前記所定の気筒以外の気筒の各行程に同期させるように、前記弁開閉時期可変手段によって前記所定の気筒に設けられた吸気弁及び排気弁の開閉時期を変更する第4開固着時制御手段と、
を備えたことを特徴とする内燃機関の制御装置である。
本発明では、EGR弁が開弁状態で固着したことが検出された場合に、第1に、所定の気筒についてフューエルカット制御を行う。フューエルカット制御では、気筒へ燃料が供給されず、気筒に設けられた吸気弁及び排気弁は作動する。このような燃料が供給されず、吸気弁及び排気弁が作動する気筒を休止気筒という。このため、所定の気筒は、休止気筒となり、所定の気筒では、吸入された吸気が未燃ガスのまま排出される。
第2に、所定の気筒の各行程を所定の気筒以外の気筒の各行程に同期させるように、所定の気筒に設けられた吸気弁及び排気弁の開閉時期を変更する。このように休止気筒である所定の気筒の吸気弁及び排気弁を開閉制御すると、所定の気筒の吸気行程が所定の気筒
以外の運転気筒の吸気行程と同期し、所定の気筒以外の運転気筒へEGRガスが導入されるときに、所定の気筒にもEGRガスが導入される。このため、EGRガスが所定の気筒にも同時に導入されることによって、所定の気筒以外の運転気筒には、EGRガスが導入され難くなる。したがって、所定の気筒以外の運転気筒に供給されるEGRガス量が過剰に多くなることを抑制でき、所定の気筒以外の運転気筒での燃焼状態が悪化することを抑制できる。
本発明によると、内燃機関の制御装置において、EGR弁が開弁状態で固着した場合であっても、運転気筒に供給されるEGRガス量が過剰に多くなることを抑制でき、運転気筒での燃焼状態が悪化することを抑制できる。
以下に本発明の具体的な実施例を説明する。
<実施例1>
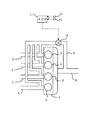
図1は、本実施例に係る内燃機関の制御装置を適用する内燃機関及びその吸気系・排気系の概略構成を示す図である。図1及び図2に示す内燃機関1は、4つの気筒2を有する水冷式の4ストロークサイクル・ガソリンエンジンである。内燃機関1は車両に搭載されている。
内燃機関1の各気筒2には、それぞれ個別吸気通路3が接続されている。個別吸気通路3は、気筒2の数と同数設けられている。
個別吸気通路3の途中には、吸気制御弁4が設けられている。吸気制御弁4は、閉弁時に個別吸気通路3内に設けられた隔壁5によって隔てられた通路断面一部区域を閉塞し、当該閉塞された通路断面一部区域の下流の隔壁5が存在する吸気流れ方向の所定区間にわたって吸気が流通しないようにする。個別吸気通路3における隔壁5の設けられた所定区間は、本実施例では、図2に示すように、吸気制御弁4が閉弁する位置から気筒2に設けられた吸気弁6の直前までの区間である。これにより、吸気制御弁4は、閉弁時に個別吸気通路3の吸気量を削減する。この吸気制御弁4は、電動アクチュエータにより開閉される。個別吸気通路3及び個別吸気通路3に配置される上記機器が内燃機関1の吸気系を構成している。
個別吸気通路3の下流側には、該個別吸気通路3が気筒2内へ接続された開口部を開閉する吸気弁6が設けられている。また、気筒2内から排気を排出する開口部には排気弁7が設けられている。
一方、内燃機関1の各気筒2からは、合流してひとまとめになった排気通路8が接続されている。排気通路8が内燃機関1の排気系を構成している。
そして、内燃機関1には、排気通路8内を流通する排気の一部をそれぞれの個別吸気通路3へ還流(再循環)させるEGR(Exhaust Gas Recirculation)通路9が備えられて
いる。本実施例では、EGR通路9によって還流される排気をEGRガスと称している。EGR通路9は、排気通路8と、それぞれの個別吸気通路3とを接続している。このため、EGR通路9は、排気通路8に接続された1本の配管が途中で4つに分岐し、4本の枝管がそれぞれ4つの個別吸気通路3へ接続されている。そして、EGR通路9が個別吸気通路3に接続される位置は、吸気制御弁4が閉弁時に閉塞する通路断面一部区域の下流の隔壁5が存在する吸気流れ方向の所定区間中の位置である。このEGR通路9を通って、排気の一部がEGRガスとして高圧で内燃機関1へ送り込まれる。
EGR通路9には、4本の枝管に分岐する前の1本の配管である位置に、EGR通路9の通路断面積を調整することにより、該EGR通路9を流通するEGRガスの量を制御するEGR弁10が配置される。EGR弁10は、電動アクチュエータにより開閉される。
以上述べたように構成された内燃機関1には、該内燃機関1を制御するための電子制御ユニットであるECU11が併設されている。このECU11は、内燃機関1の運転条件や運転者の要求に応じて内燃機関1の運転状態を制御するユニットである。
ECU11には、アクセルペダルの踏み込み量に応じた電気信号を出力するアクセル開度センサ12、及び内燃機関1の機関回転数を検出するクランクポジションセンサ13が電気配線を介して接続され、これら各種センサの出力信号がECU11に入力される。
一方、ECU11には、吸気制御弁4及びEGR弁10の電動アクチュエータが電気配線を介して接続されており、該ECU11によりこれらの機器が制御される。
そして、ECU11は、各種センサの出力信号から導出される内燃機関1の運転状態に応じて、EGR通路9に設けられたEGR弁10の開度を変化させることで、各気筒2に供給されるEGRガス量を最適な量となるように制御する。
ここで、EGR弁10が開弁状態で固着する異常が生じた場合、内燃機関1の各気筒2に流入するEGRガスの量を所望の量に制御することが困難となる。その結果、気筒2に流入するEGRガスの量が内燃機関1の運転状態に対して過剰に多い状態となると、各気筒2内での燃焼状態が悪化する場合がある。このように、EGRガスの量が過剰に多くなることによって気筒2の燃焼状態が悪化すると、サイクル変動増大や失火によるドライバビリティの悪化や、エンジンストールが生じるおそれがある。
そこで、本実施例では、EGR弁10が開弁状態で固着したことが検出された場合に、4つの気筒2の内所定の気筒についてフューエルカット制御を行うと共に、当該所定の気筒の吸気制御弁4を閉じ側に制御するようにした。
ここで、フューエルカット制御を行う所定の気筒の数は、図3に示すマップを用いて、内燃機関1の機関負荷及び機関回転数に応じて設定される。すなわち、内燃機関1の運転状態が高負荷高回転では、1気筒に対してフューエルカット制御を行い、中負荷中回転では、2気筒に対してフューエルカット制御を行い、低負荷低回転では、3気筒に対してフューエルカット制御を行う。なお、内燃機関1の機関負荷は、アクセル開度センサ12の出力値に基づき算出され、内燃機関1の機関回転数は、クランクポジションセンサ13の出力値から検出される。
本実施例では、EGR弁10が開弁状態で固着したことが検出された場合に、第1に、所定の気筒についてフューエルカット制御を行う。フューエルカット制御では、吸気通路に設けられた燃料噴射弁14から気筒2へ燃料が供給されず燃焼は行われないが、気筒2に設けられた吸気弁6及び排気弁7は作動する。このような燃料が供給されず、吸気弁6及び排気弁7が作動する気筒2を休止気筒という。このため、所定の気筒は、休止気筒となり、所定の気筒では、吸入された吸気が未燃ガスのまま排出される。
第2に、所定の気筒の吸気制御弁4を閉じ側に制御する。休止気筒である所定の気筒の吸気制御弁4を閉じ側に制御すると、吸気制御弁4が閉弁することで閉塞される個別吸気通路3内の通路断面一部区域の下流の所定区間に増大した吸気負圧が発生する。この所定区間中にはEGR通路9が接続されており、EGRガスがEGR通路9から当該所定区間
中に導入されるので、休止気筒である所定の気筒には、増大した吸気負圧によってEGRガスがより多く導入されることになる。
これによって、より多くのEGRガスが休止気筒である所定の気筒に導入されるので、所定の気筒以外の燃焼を行う運転気筒では、EGRガスが導入され難くなる。したがって、所定の気筒以外の運転気筒に供給されるEGRガス量が過剰に多くなることを抑制でき、所定の気筒以外の運転気筒での燃焼状態が悪化することを抑制できる。このように所定の気筒以外の運転気筒での燃焼状態が悪化することを抑制すると、サイクル変動増大や失火によるドライバビリティの悪化が抑制でき、またエンジンストールが生じることを抑制できる。
次に、本実施例によるEGR弁10が開弁状態で固着した場合の制御ルーチン1について説明する。図4は、本実施例によるEGR弁10が開弁状態で固着した場合の制御ルーチン1を示したフローチャートである。本ルーチンは、所定の時間毎に繰り返し実行される。本ルーチンを実行するECU11が本発明の第1開固着時制御手段に相当する。
ステップS101では、EGR弁10が開弁状態で固着したか否かを判別する。例えばEGRガスの量が過剰に多くなり吸気通路に配置された圧力センサの検出値が所望の値よりも大きくなる場合や、EGR弁10に設けられたEGR弁開度センサの検出値が所望の値と乖離したり一定のまま動かなくなったりする場合や、EGRガスの量が過剰に多くなり吸気通路に配置された温度センサの検出値が所望の値よりも高くなる場合に、EGR弁10が開弁状態で固着したと判断できる。
ステップS101において、EGR弁10が開弁状態で固着したと肯定判定された場合には、ステップS102へ移行する。ステップS101において、EGR弁10が開弁状態で固着していないと否定判定された場合には、本ルーチンを一旦終了する。
ステップS102では、フューエルカット制御を行う休止気筒となる所定の気筒の数を設定する。所定の気筒の数は、図3に示すマップを用いて、内燃機関1の機関負荷及び機関回転数に応じて設定される。
ステップS103では、所定の気筒についての燃料噴射弁からの燃料噴射を停止し、所定の気筒についてフューエルカット制御(F/C制御)を行う。
ステップS104では、所定の気筒の吸気制御弁4を閉じ側に制御する。本実施例では、吸気制御弁4は全閉とする。本ステップの処理の後、本ルーチンを一旦終了する。
以上説明した本ルーチンによれば、EGR弁10が開弁状態で固着したことが検出された場合に、所定の気筒の数を設定でき、所定の気筒についてフューエルカット制御を行うことができると共に、所定の気筒の吸気制御弁4を閉じ側に制御することができる。
<実施例2>
本実施例では、EGR弁10が開弁状態で固着したことが検出された場合に、フューエルカット制御を行う所定の気筒以外の気筒について吸気負圧を低減させる。本実施例ではその特徴部分を説明し、その他の構成は上記実施例と同様であるので説明は省略する。
本実施例では、図5及び図6に示すように、分岐したEGR通路9が個別吸気通路3に接続される位置は、吸気制御弁4が閉弁時に閉塞する通路断面一部区域以外の下流の隔壁5が存在する吸気流れ方向の所定区間中の位置である。
本実施例では、EGR弁10が開弁状態で固着したことが検出された場合に、4つの気筒2の内所定の気筒についてフューエルカット制御を行うと共に、所定の気筒以外の気筒の吸気制御弁4を閉じ側に制御するようにした。
ここで、フューエルカット制御を行う所定の気筒の数は、実施例1と同様に、図3に示すマップを用いて、内燃機関1の機関負荷及び機関回転数に応じて設定される。
本実施例では、EGR弁10が開弁状態で固着したことが検出された場合に、第1に、所定の気筒についてフューエルカット制御を行う。フューエルカット制御では、吸気通路に設けられた燃料噴射弁14から気筒2へ燃料が供給されず燃焼は行われないが、気筒2に設けられた吸気弁6及び排気弁7は作動する。このような燃料が供給されず、吸気弁6及び排気弁7が作動する気筒を休止気筒という。このため、所定の気筒は、休止気筒となり、所定の気筒では、吸入された吸気が未燃ガスのまま排出される。
第2に、所定の気筒以外の気筒の吸気制御弁4を閉じ側に制御する。所定の気筒以外の燃焼を行う運転気筒の吸気制御弁4を閉じ側に制御すると、吸気制御弁4が閉弁することで個別吸気通路3内の通路断面一部区域が閉塞され、個別吸気通路3が狭くなり、所定の気筒以外の運転気筒について吸気負圧を低減させることができる。このように所定の気筒以外の運転気筒について吸気負圧を低減させると、所定の気筒以外の運転気筒には、低減された吸気負圧によってEGRガスが導入され難くなる。加えて吸気負圧が低減しているために、所定の気筒以外の運転気筒では、新気を取り込むために吸気圧力を高くする。このため、所定の気筒以外の運転気筒には、高い吸気圧力によってもEGRガスが導入され難くなる。特に、個別吸気通路3内の通路断面一部区域以外の下流の所定区間中にEGR通路9が接続されており、この所定区間において吸気負圧が低減し且つ吸気圧力が高いことから、EGR通路9から個別吸気通路3にEGRガスが導入され難くなる。これに対し、吸気負圧が低減されていない休止気筒である所定の気筒には、EGRガスがより多く導入される。
したがって、所定の気筒以外の運転気筒に供給されるEGRガス量が過剰に多くなることを抑制でき、所定の気筒以外の運転気筒での燃焼状態が悪化することを抑制できる。このように所定の気筒以外の運転気筒での燃焼状態が悪化することを抑制すると、サイクル変動増大や失火によるドライバビリティの悪化が抑制でき、またエンジンストールが生じることを抑制できる。
次に、本実施例によるEGR弁10が開弁状態で固着した場合の制御ルーチン2について説明する。図7は、本実施例によるEGR弁10が開弁状態で固着した場合の制御ルーチン2を示したフローチャートである。本ルーチンは、所定の時間毎に繰り返し実行される。本ルーチンを実行するECU11が本発明の第2開固着時制御手段に相当する。なお、本ルーチンにおいて、図4に示す制御ルーチン1と同様のステップについては説明を省略する。
ステップS103に続くステップS201では、所定の気筒以外の気筒の吸気制御弁4を閉じ側に制御する。本実施例では、吸気制御弁4は全閉とする。本ステップを実行するECU11が本発明の吸気負圧低減制御に相当する。本ステップの処理の後、本ルーチンを一旦終了する。
以上説明した本ルーチンによれば、EGR弁10が開弁状態で固着したことが検出された場合に、所定の気筒の数を設定でき、所定の気筒についてフューエルカット制御を行うことができると共に、所定の気筒以外の気筒の吸気制御弁4を閉じ側に制御することができる。
<実施例3>
本実施例でも、実施例2と同様に、EGR弁10が開弁状態で固着したことが検出された場合に、フューエルカット制御を行う所定の気筒以外の気筒について吸気負圧を低減させる。本実施例ではその特徴部分を説明し、その他の構成は上記実施例と同様であるので説明は省略する。
本実施例では、図8に示すように、EGR通路9が分岐して個別吸気通路3に接続されているが、個別吸気通路3には吸気制御弁4及び隔壁5が無い。
本実施例では、図9に示すように、吸気弁6には、当該吸気弁6の開閉特性である開弁期間(バルブ作用角)の変更を行う吸気弁バルブ作用角可変機構15が設けられている。吸気弁バルブ作用角可変機構15は、吸気弁6の作用角を小作用角から大作用角までの間で変更できる。本実施例における吸気弁バルブ作用角可変機構15が本発明の吸気弁作用角可変手段に相当する。
本実施例では、EGR弁10が開弁状態で固着したことが検出された場合に、4つの気筒2の内所定の気筒についてフューエルカット制御を行うと共に、吸気弁バルブ作用角可変機構15によって所定の気筒以外の気筒に設けられた吸気弁6の作用角を小作用角に変更するようにした。
ここで、フューエルカット制御を行う所定の気筒の数は、実施例1と同様に、図3に示すマップを用いて、内燃機関1の機関負荷及び機関回転数に応じて設定される。
本実施例では、EGR弁10が開弁状態で固着したことが検出された場合に、第1に、所定の気筒についてフューエルカット制御を行う。フューエルカット制御では、吸気通路に設けられた燃料噴射弁14から気筒2へ燃料が供給されず燃焼は行われないが、気筒2に設けられた吸気弁6及び排気弁7は作動する。このような燃料が供給されず、吸気弁6及び排気弁7が作動する気筒2を休止気筒という。このため、所定の気筒は、休止気筒となり、所定の気筒では、吸入された吸気が未燃ガスのまま排出される。
第2に、吸気弁バルブ作用角可変機構15によって所定の気筒以外の燃焼を行う運転気筒に設けられた吸気弁6の作用角を小作用角に変更する。所定の気筒以外の運転気筒に設けられた吸気弁6の作用角を小作用角に変更すると、運転気筒での吸気弁6をあまり大きく開弁しないようにし、所定の気筒以外の運転気筒について吸気負圧を低減させることができる。このように所定の気筒以外の運転気筒について吸気負圧を低減させると、所定の気筒以外の運転気筒には、低減された吸気負圧によってEGRガスが導入され難くなる。加えて吸気負圧が低減しているために、所定の気筒以外の運転気筒では、新気を取り込むために吸気圧力を高くする。このため、所定の気筒以外の運転気筒には、高い吸気圧力によってもEGRガスが導入され難くなる。これに対し、吸気負圧が低減されていない休止気筒である所定の気筒には、EGRガスがより多く導入される。
したがって、所定の気筒以外の運転気筒に供給されるEGRガス量が過剰に多くなることを抑制でき、所定の気筒以外の運転気筒での燃焼状態が悪化することを抑制できる。このように所定の気筒以外の運転気筒での燃焼状態が悪化することを抑制すると、サイクル変動増大や失火によるドライバビリティの悪化が抑制でき、またエンジンストールが生じることを抑制できる。
次に、本実施例によるEGR弁10が開弁状態で固着した場合の制御ルーチン3について説明する。図10は、本実施例によるEGR弁10が開弁状態で固着した場合の制御ル
ーチン3を示したフローチャートである。本ルーチンは、所定の時間毎に繰り返し実行される。本ルーチンを実行するECU11が本発明の第2開固着時制御手段に相当する。なお、本ルーチンにおいて、図4に示す制御ルーチン1と同様のステップについては説明を省略する。
ステップS103に続くステップS301では、所定の気筒以外の気筒に設けられた吸気弁6の作用角を小作用角に変更する。本実施例では、吸気弁バルブ作用角可変機構15によって所定の気筒以外の気筒に設けられた吸気弁6の作用角を小作用角に変更する。本ステップを実行するECU11が本発明の吸気負圧低減制御に相当する。本ステップの処理の後、本ルーチンを一旦終了する。
以上説明した本ルーチンによれば、EGR弁10が開弁状態で固着したことが検出された場合に、所定の気筒の数を設定でき、所定の気筒についてフューエルカット制御を行うことができると共に、所定の気筒以外の気筒に設けられた吸気弁6の作用角を小作用角に変更することができる。
<実施例4>
本実施例でも、実施例2,3と同様に、EGR弁が開弁状態で固着したことが検出された場合に、フューエルカット制御を行う所定の気筒以外の気筒について吸気負圧を低減させる。本実施例ではその特徴部分を説明し、その他の構成は上記実施例と同様であるので説明は省略する。
本実施例でも、図8に示すように、EGR通路9が分岐して個別吸気通路3に接続されているが、個別吸気通路3には吸気制御弁4及び隔壁5が無い。
本実施例では、図9に示すように、吸気弁6には、当該吸気弁6の開閉特性である開閉時期(バルブタイミング)の変更を行う吸気弁バルブタイミング可変機構16が設けられている。吸気弁バルブタイミング可変機構16は、各気筒2に2つ設けられた吸気弁6をそれぞれ閉弁状態で停止可能とする。本実施例における吸気弁バルブタイミング可変機構16が本発明の吸気弁閉弁停止手段に相当する。
本実施例では、EGR弁10が開弁状態で固着したことが検出された場合に、4つの気筒2の内所定の気筒についてフューエルカット制御を行うと共に、吸気弁バルブタイミング可変機構16によって所定の気筒以外の気筒に設けられた2つの内一方の吸気弁6を閉弁状態で停止するようにした。
ここで、フューエルカット制御を行う所定の気筒の数は、実施例1と同様に、図2に示すマップを用いて、内燃機関1の機関負荷及び機関回転数に応じて設定される。
本実施例では、EGR弁10が開弁状態で固着したことが検出された場合に、第1に、所定の気筒についてフューエルカット制御を行う。フューエルカット制御では、吸気通路に設けられた燃料噴射弁14から気筒2へ燃料が供給されず燃焼は行われないが、気筒2に設けられた吸気弁6及び排気弁7は作動する。このような燃料が供給されず、吸気弁6及び排気弁7が作動する気筒2を休止気筒という。このため、所定の気筒は、休止気筒となり、所定の気筒では、吸入された吸気が未燃ガスのまま排出される。
第2に、吸気弁バルブタイミング可変機構16によって所定の気筒以外の気筒に設けられた2つの内一方の吸気弁6を閉弁状態で停止する。所定の気筒以外の運転気筒に設けられた一方の吸気弁6を閉弁状態で停止すると、個別吸気通路3から気筒2への開口面積を狭くし、所定の気筒以外の運転気筒について吸気負圧を低減させることができる。このよ
うに所定の気筒以外の運転気筒について吸気負圧を低減させると、所定の気筒以外の運転気筒には、低減された吸気負圧によってEGRガスが導入され難くなる。加えて吸気負圧が低減しているために、所定の気筒以外の運転気筒では、新気を取り込むために吸気圧力を高くする。このため、所定の気筒以外の運転気筒には、高い吸気圧力によってもEGRガスが導入され難くなる。これに対し、吸気負圧が低減されていない休止気筒である所定の気筒には、EGRガスがより多く導入される。
したがって、所定の気筒以外の運転気筒に供給されるEGRガス量が過剰に多くなることを抑制でき、所定の気筒以外の運転気筒での燃焼状態が悪化することを抑制できる。このように所定の気筒以外の運転気筒での燃焼状態が悪化することを抑制すると、サイクル変動増大や失火によるドライバビリティの悪化が抑制でき、またエンジンストールが生じることを抑制できる。
次に、本実施例によるEGR弁10が開弁状態で固着した場合の制御ルーチン4について説明する。図11は、本実施例によるEGR弁10が開弁状態で固着した場合の制御ルーチン4を示したフローチャートである。本ルーチンは、所定の時間毎に繰り返し実行される。本ルーチンを実行するECU11が本発明の第2開固着時制御手段に相当する。なお、本ルーチンにおいて、図4に示す制御ルーチン1と同様のステップについては説明を省略する。
ステップS103に続くステップS401では、所定の気筒以外の気筒に設けられた2つの内一方の吸気弁6を閉弁状態で停止する。本実施例では、吸気弁バルブタイミング可変機構16によって所定の気筒以外の気筒に設けられた一方の吸気弁6を閉弁状態で停止する。本ステップを実行するECU11が本発明の吸気負圧低減制御に相当する。本ステップの処理の後、本ルーチンを一旦終了する。
以上説明した本ルーチンによれば、EGR弁10が開弁状態で固着したことが検出された場合に、所定の気筒の数を設定でき、所定の気筒についてフューエルカット制御を行うことができると共に、所定の気筒以外の気筒に設けられた一方の吸気弁6を閉弁状態で停止することができる。
<実施例5>
本実施例では、EGR弁10が開弁状態で固着したことが検出された場合に、フューエルカット制御を行う所定の気筒に設けられた吸気弁をピストンが下降する行程で開弁すると共にピストンが上昇する行程で閉弁し、且つ所定の気筒に設けられた排気弁をピストンが下降する行程で閉弁すると共にピストンが上昇する行程で開弁するようにする。本実施例ではその特徴部分を説明し、その他の構成は上記実施例と同様であるので説明は省略する。
本実施例では、図8に示すように、EGR通路9が分岐して個別吸気通路3に接続されているが、個別吸気通路3には吸気制御弁4及び隔壁5が無い。
本実施例では、図9に示すように、吸気弁6には、当該吸気弁6の開閉特性である開閉時期(バルブタイミング)の変更を行う吸気弁バルブタイミング可変機構16が設けられている。排気弁7には、当該排気弁7の開閉特性である開閉時期(バルブタイミング)の変更を行う排気弁バルブタイミング可変機構17が設けられている。本実施例における吸気弁バルブタイミング可変機構16及び排気弁バルブタイミング可変機構17が本発明の弁開閉時期可変手段に相当する。
本実施例では、EGR弁10が開弁状態で固着したことが検出された場合に、4つの気
筒2の内所定の気筒についてフューエルカット制御を行うと共に、吸気弁バルブタイミング可変機構16によって、所定の気筒に設けられた吸気弁6をピストンが下降する行程で開弁すると共にピストンが上昇する行程で閉弁し、且つ排気弁バルブタイミング可変機構17によって、所定の気筒に設けられた排気弁7をピストンが下降する行程で閉弁すると共にピストンが上昇する行程で開弁するようにした。
ここで、フューエルカット制御を行う所定の気筒の数は、実施例1と同様に、図3に示すマップを用いて、内燃機関1の機関負荷及び機関回転数に応じて設定される。
本実施例では、EGR弁10が開弁状態で固着したことが検出された場合に、第1に、所定の気筒についてフューエルカット制御を行う。フューエルカット制御では、吸気通路に設けられた燃料噴射弁14から気筒2へ燃料が供給されず、気筒2に設けられた吸気弁6及び排気弁7は作動する。このような燃料が供給されず、吸気弁6及び排気弁7が作動する気筒2を休止気筒という。このため、所定の気筒は、休止気筒となり、所定の気筒では、吸入された吸気が未燃ガスのまま排出される。
第2に、吸気弁バルブタイミング可変機構16によって所定の気筒に設けられた吸気弁6をピストンが下降する行程で開弁すると共にピストンが上昇する行程で閉弁する。これと共に、排気弁バルブタイミング可変機構17によって所定の気筒に設けられた排気弁7をピストンが下降する行程で閉弁すると共にピストンが上昇する行程で開弁する。すなわち、所定の気筒では、4ストロークサイクルで言う、ピストンが下降する行程である吸気行程及び膨張行程で吸気を行い、ピストンが上昇する行程である圧縮行程及び排気行程で排気を行う。このように休止気筒である所定の気筒の吸気弁6及び排気弁7を開閉制御すると、所定の気筒では、1周期中の吸気及び排気が、通常4ストロークサイクルで運転される気筒2での吸気及び排気の倍となって、所定の気筒での吸気及び排気がより多く行われる。このため、休止気筒である所定の気筒には、吸気及び排気がより多く行われることによってEGRガスがより多く導入されることになる。加えて所定の気筒の吸気量が多くなることに伴い、所定の気筒以外の運転気筒では吸気量が減少するので、新気を取り込むために吸気圧力を高くする必要がある。このため、所定の気筒以外の運転気筒には、高い吸気圧力によってもEGRガスが導入され難くなる。
これによって、より多くのEGRガスが休止気筒である所定の気筒に導入されるので、所定の気筒以外の運転気筒では、EGRガスが導入され難くなる。したがって、所定の気筒以外の運転気筒に供給されるEGRガス量が過剰に多くなることを抑制でき、所定の気筒以外の運転気筒での燃焼状態が悪化することを抑制できる。このように所定の気筒以外の運転気筒での燃焼状態が悪化することを抑制すると、サイクル変動増大や失火によるドライバビリティの悪化が抑制でき、またエンジンストールが生じることを抑制できる。
次に、本実施例によるEGR弁10が開弁状態で固着した場合の制御ルーチン5について説明する。図12は、本実施例によるEGR弁10が開弁状態で固着した場合の制御ルーチン5を示したフローチャートである。本ルーチンは、所定の時間毎に繰り返し実行される。本ルーチンを実行するECU11が本発明の第3開固着時制御手段に相当する。なお、本ルーチンにおいて、図4に示す制御ルーチン1と同様のステップについては説明を省略する。
ステップS103に続くステップS501では、休止気筒である所定の気筒について、吸気行程及び膨張行程で吸気を行い、圧縮行程及び排気行程で排気を行うように、所定の気筒の吸気弁6及び排気弁7を開閉制御する。本実施例では、吸気弁バルブタイミング可変機構16によって所定の気筒に設けられた吸気弁6を、吸気行程及び膨張行程で開弁すると共に、圧縮行程及び排気行程で閉弁する。これと共に、排気弁バルブタイミング可変
機構17によって所定の気筒に設けられた排気弁7を、吸気行程及び膨張行程で閉弁すると共に、圧縮行程及び排気行程で開弁する。本ステップの処理の後、本ルーチンを一旦終了する。
以上説明した本ルーチンによれば、EGR弁10が開弁状態で固着したことが検出された場合に、所定の気筒の数を設定でき、所定の気筒についてフューエルカット制御を行うことができると共に、所定の気筒について、吸気行程及び膨張行程で吸気を行い、圧縮行程及び排気行程で排気を行うように所定の気筒の吸気弁6及び排気弁7を開閉制御することができる。
<実施例6>
本実施例では、EGR弁10が開弁状態で固着したことが検出された場合に、フューエルカット制御を行う所定の気筒の各行程を所定の気筒以外の気筒の各行程に同期させるように、所定の気筒に設けられた吸気弁6及び排気弁7の開閉時期を変更する。本実施例ではその特徴部分を説明し、その他の構成は上記実施例と同様であるので説明は省略する。なお、本実施例では、実施例5と同様な図8及び図9に示す構成を用いる。
本実施例では、EGR弁10が開弁状態で固着したことが検出された場合に、4つの気筒2の内所定の気筒についてフューエルカット制御を行うと共に、所定の気筒の各行程を所定の気筒以外の気筒の各行程に同期させるように、吸気弁バルブタイミング可変機構16及び排気弁バルブタイミング可変機構17によって、所定の気筒に設けられた吸気弁6及び排気弁7の開閉時期を変更するようにした。
ここで、フューエルカット制御を行う所定の気筒の数は、実施例1と同様に、図3に示すマップを用いて、内燃機関1の機関負荷及び機関回転数に応じて設定される。
本実施例では、EGR弁10が開弁状態で固着したことが検出された場合に、第1に、所定の気筒についてフューエルカット制御を行う。フューエルカット制御では、吸気通路に設けられた燃料噴射弁14から気筒2へ燃料が供給されず、気筒2に設けられた吸気弁6及び排気弁7は作動する。このような燃料が供給されず、吸気弁6及び排気弁7が作動する気筒を休止気筒という。このため、所定の気筒は、休止気筒となり、所定の気筒では、吸入された吸気が未燃ガスのまま排出される。
第2に、吸気弁バルブタイミング可変機構16及び排気弁バルブタイミング可変機構17によって、所定の気筒の各行程を所定の気筒以外の気筒の各行程に同期させるように、所定の気筒に設けられた吸気弁6及び排気弁7の開閉時期を変更する。すなわち、休止気筒である所定の気筒の、4ストロークサイクルで言う、吸気行程、圧縮行程、膨張行程、排気行程を、所定の気筒以外の燃焼を行う運転気筒の、吸気行程、圧縮行程、膨張行程、排気行程と同期させる。このように休止気筒である所定の気筒の吸気弁6及び排気弁7を開閉制御すると、例えば図13に示すように、所定の気筒である第3気筒#3の各行程を所定の気筒以外の運転気筒である第1気筒#1の各行程に同期させ、所定の気筒である第4気筒#4の各行程を所定の気筒以外の運転気筒である第2気筒#2の各行程に同期させることができる。そして、所定の気筒の吸気行程が所定の気筒以外の運転気筒の吸気行程と同期し、所定の気筒以外の運転気筒へEGRガスが導入されるときに、所定の気筒にもEGRガスが導入される。このため、EGRガスが所定の気筒にも同時に導入されることによって、所定の気筒以外の運転気筒には、EGRガスが導入され難くなる。
したがって、所定の気筒以外の運転気筒に供給されるEGRガス量が過剰に多くなることを抑制でき、所定の気筒以外の運転気筒での燃焼状態が悪化することを抑制できる。このように所定の気筒以外の運転気筒での燃焼状態が悪化することを抑制すると、サイクル
変動増大や失火によるドライバビリティの悪化が抑制でき、またエンジンストールが生じることを抑制できる。
次に、本実施例によるEGR弁10が開弁状態で固着した場合の制御ルーチン6について説明する。図14は、本実施例によるEGR弁10が開弁状態で固着した場合の制御ルーチン6を示したフローチャートである。本ルーチンは、所定の時間毎に繰り返し実行される。本ルーチンを実行するECU11が本発明の第4開固着時制御手段に相当する。なお、本ルーチンにおいて、図4に示す制御ルーチン1と同様のステップについては説明を省略する。
ステップS103に続くステップS601では、休止気筒である所定の気筒の各行程を、所定の気筒以外の運転気筒の各行程と同期させるように、所定の気筒の吸気弁6及び排気弁7を開閉制御する。本実施例では、吸気弁バルブタイミング可変機構16によって、所定の気筒に設けられた吸気弁6を所定の気筒以外の運転気筒の吸気行程で開弁し、その他の行程で閉弁する。排気弁バルブタイミング可変機構17によって、所定の気筒に設けられた排気弁7を所定の気筒以外の運転気筒の排気行程で開弁し、その他の行程で閉弁する。本ステップの処理の後、本ルーチンを一旦終了する。
以上説明した本ルーチンによれば、EGR弁10が開弁状態で固着したことが検出された場合に、所定の気筒の数を設定でき、所定の気筒についてフューエルカット制御を行うことができると共に、所定の気筒の各行程を、所定の気筒以外の運転気筒の各行程と同期させるように所定の気筒の吸気弁6及び排気弁7を開閉制御することができる。
本発明に係る内燃機関の制御装置は、上述の実施例に限定されるものではなく、本発明の要旨を逸脱しない範囲内において種々の変更を加えてもよい。
実施例1に係る内燃機関及びその吸気系・排気系の概略構成を示す図。 実施例1に係る内燃機関及びその吸気系・排気系の概略構成を示す図。 休止気筒となる所定の気筒の数を設定するマップ。 実施例1に係るEGR弁が開弁状態で固着した場合の制御ルーチン1を示すフローチャート。 実施例2に係る内燃機関及びその吸気系・排気系の概略構成を示す図。 実施例2に係る内燃機関及びその吸気系・排気系の概略構成を示す図。 実施例2に係るEGR弁が開弁状態で固着した場合の制御ルーチン2を示すフローチャート。 実施例3,4,5,6に係る内燃機関及びその吸気系・排気系の概略構成を示す図。 実施例3,4,5,6に係る内燃機関及びその吸気系・排気系の概略構成を示す図。 実施例3に係るEGR弁が開弁状態で固着した場合の制御ルーチン3を示すフローチャート。 実施例4に係るEGR弁が開弁状態で固着した場合の制御ルーチン4を示すフローチャート。 実施例5に係るEGR弁が開弁状態で固着した場合の制御ルーチン5を示すフローチャート。 実施例6に係る所定の気筒の各行程を所定の気筒以外の気筒の各行程に同期させたタイミングを示す図。 実施例6に係るEGR弁が開弁状態で固着した場合の制御ルーチン6を示すフローチャート。
符号の説明
1 内燃機関
2 気筒
3 個別吸気通路
4 吸気制御弁
5 隔壁
6 吸気弁
7 排気弁
8 排気通路
9 EGR通路
10 EGR弁
11 ECU
12 アクセル開度センサ
13 クランクポジションセンサ
14 燃料噴射弁
15 吸気弁バルブ作用角可変機構
16 吸気弁バルブタイミング可変機構
17 排気弁バルブタイミング可変機構

Claims (7)

  1. 複数の気筒と、
    各気筒に個別に接続された個別吸気通路と、
    前記個別吸気通路の各々に配置され、閉弁時に前記個別吸気通路内に設けられた隔壁によって隔てられた通路断面一部区域を閉塞して当該閉塞された通路断面一部区域の下流の前記隔壁が存在する吸気流れ方向の所定区間にわたって吸気が流通しないようにすることにより、前記個別吸気通路の吸気量を削減する吸気制御弁と、
    気筒に接続された排気通路と、
    前記排気通路から排気の一部をEGRガスとして取り込み、途中で分岐して前記吸気制御弁によって閉弁時に閉塞される前記個別吸気通路内の通路断面一部区域の下流の前記所定区間中へ当該EGRガスを環流させるEGR通路と、
    分岐手前の前記EGR通路に配置され、EGRガス量を制御するEGR弁と、
    前記EGR弁が開弁状態で固着したことを検出する開固着検出手段と、
    前記開固着検出手段によって前記EGR弁が開弁状態で固着したことが検出された場合に、複数の気筒の内所定の気筒についてフューエルカット制御を行うと共に、当該所定の気筒の前記吸気制御弁を閉じ側に制御する第1開固着時制御手段と、
    を備えたことを特徴とする内燃機関の制御装置。
  2. 複数の気筒と、
    各気筒に個別に接続された個別吸気通路と、
    気筒に接続された排気通路と、
    前記排気通路から排気の一部をEGRガスとして取り込み、途中で分岐して前記個別吸気通路へ当該EGRガスを環流させるEGR通路と、
    分岐手前の前記EGR通路に配置され、EGRガス量を制御するEGR弁と、
    前記EGR弁が開弁状態で固着したことを検出する開固着検出手段と、
    前記開固着検出手段によって前記EGR弁が開弁状態で固着したことが検出された場合に、複数の気筒の内所定の気筒についてフューエルカット制御を行うと共に、当該所定の気筒以外の気筒について吸気負圧を低減させる吸気負圧低減制御を行う第2開固着時制御手段と、
    を備えたことを特徴とする内燃機関の制御装置。
  3. 前記個別吸気通路の各々に配置され、閉弁時に前記個別吸気通路内に設けられた隔壁によって隔てられた通路断面一部区域を閉塞して当該閉塞された通路断面一部区域の下流の前記隔壁が存在する吸気流れ方向の所定区間にわたって吸気が流通しないようにすることにより、前記個別吸気通路の吸気量を削減する吸気制御弁を備え、
    前記EGR通路は、前記排気通路から排気の一部をEGRガスとして取り込み、途中で分岐して前記吸気制御弁によって閉弁時に閉塞される前記個別吸気通路内の通路断面一部区域以外の下流の前記隔壁が存在する吸気流れ方向の所定区間中へ当該EGRガスを環流させており、
    前記第2開固着時制御手段が行う吸気負圧低減制御は、所定の気筒以外の気筒の前記吸気制御弁を閉じ側に制御することで行われることを特徴とする請求項2に記載の内燃機関の制御装置。
  4. 前記気筒に設けられた吸気弁の作用角を変更可能な吸気弁作用角可変手段を備え、
    前記第2開固着時制御手段が行う吸気負圧低減制御は、前記吸気弁作用角可変手段によって所定の気筒以外の気筒に設けられた吸気弁の作用角を小作用角に変更することで行われることを特徴とする請求項2に記載の内燃機関の制御装置。
  5. 前記気筒に複数設けられた吸気弁を閉弁状態で停止可能な吸気弁閉弁停止手段を備え、
    前記第2開固着時制御手段が行う吸気負圧低減制御は、前記吸気弁閉弁停止手段によって所定の気筒以外の気筒に設けられた一部の吸気弁を閉弁状態で停止することで行われることを特徴とする請求項2に記載の内燃機関の制御装置。
  6. 複数の気筒と、
    前記気筒に設けられた吸気弁及び排気弁の開閉時期を変更可能な弁開閉時期可変手段と、
    各気筒に個別に接続された個別吸気通路と、
    気筒に接続された排気通路と、
    前記排気通路から排気の一部をEGRガスとして取り込み、途中で分岐して前記個別吸気通路へ当該EGRガスを環流させるEGR通路と、
    分岐手前の前記EGR通路に配置され、EGRガス量を制御するEGR弁と、
    前記EGR弁が開弁状態で固着したことを検出する開固着検出手段と、
    前記開固着検出手段によって前記EGR弁が開弁状態で固着したことが検出された場合に、複数の気筒の内所定の気筒についてフューエルカット制御を行うと共に、前記弁開閉時期可変手段によって、前記所定の気筒に設けられた吸気弁をピストンが下降する行程で開弁すると共にピストンが上昇する行程で閉弁し、且つ前記所定の気筒に設けられた排気弁をピストンが下降する行程で閉弁すると共にピストンが上昇する行程で開弁する第3開固着時制御手段と、
    を備えたことを特徴とする内燃機関の制御装置。
  7. 複数の気筒と、
    前記気筒に設けられた吸気弁及び排気弁の開閉時期を変更可能な弁開閉時期可変手段と、
    各気筒に個別に接続された個別吸気通路と、
    気筒に接続された排気通路と、
    前記排気通路から排気の一部をEGRガスとして取り込み、途中で分岐して前記個別吸気通路へ当該EGRガスを環流させるEGR通路と、
    分岐手前の前記EGR通路に配置され、EGRガス量を制御するEGR弁と、
    前記EGR弁が開弁状態で固着したことを検出する開固着検出手段と、
    前記開固着検出手段によって前記EGR弁が開弁状態で固着したことが検出された場合に、複数の気筒の内所定の気筒についてフューエルカット制御を行うと共に、当該所定の気筒の各行程を前記所定の気筒以外の気筒の各行程に同期させるように、前記弁開閉時期可変手段によって前記所定の気筒に設けられた吸気弁及び排気弁の開閉時期を変更する第4開固着時制御手段と、
    を備えたことを特徴とする内燃機関の制御装置。
JP2008187259A 2008-07-18 2008-07-18 内燃機関の制御装置 Expired - Fee Related JP4877288B2 (ja)

Priority Applications (1)

Application Number Priority Date Filing Date Title
JP2008187259A JP4877288B2 (ja) 2008-07-18 2008-07-18 内燃機関の制御装置

Applications Claiming Priority (1)

Application Number Priority Date Filing Date Title
JP2008187259A JP4877288B2 (ja) 2008-07-18 2008-07-18 内燃機関の制御装置

Publications (2)

Publication Number Publication Date
JP2010024959A true JP2010024959A (ja) 2010-02-04
JP4877288B2 JP4877288B2 (ja) 2012-02-15

Family

ID=41731026

Family Applications (1)

Application Number Title Priority Date Filing Date
JP2008187259A Expired - Fee Related JP4877288B2 (ja) 2008-07-18 2008-07-18 内燃機関の制御装置

Country Status (1)

Country Link
JP (1) JP4877288B2 (ja)

Citations (1)

* Cited by examiner, † Cited by third party
Publication number Priority date Publication date Assignee Title
JP2005207285A (ja) * 2004-01-21 2005-08-04 Toyota Motor Corp 内燃機関制御装置

Patent Citations (1)

* Cited by examiner, † Cited by third party
Publication number Priority date Publication date Assignee Title
JP2005207285A (ja) * 2004-01-21 2005-08-04 Toyota Motor Corp 内燃機関制御装置

Also Published As

Publication number Publication date
JP4877288B2 (ja) 2012-02-15

Similar Documents

Publication Publication Date Title
JP4502038B2 (ja) 内燃機関の制御システム
EP2878792B1 (en) Control device and control method of internal combustion engine
CN103547781B (zh) 内燃机的控制装置
US10352258B2 (en) Control device for internal combustion engine having supercharger
JP2002250242A (ja) 内燃機関の制御装置
JP5403057B2 (ja) 内燃機関のegr制御システム
US10865730B2 (en) Fuel supply system for engine, fuel injection control device for engine, and fuel supply method for engine
KR20160149831A (ko) 엔진 시스템
JP2009019611A (ja) 過給機付き内燃機関の制御装置
JP2006194143A (ja) エンジンの制御装置
JP2010270651A (ja) 内燃機関の制御装置
JP4877288B2 (ja) 内燃機関の制御装置
EP2570644A1 (en) Control device for internal combustion engine
JP2013130121A (ja) 火花点火式内燃機関の排気還流装置
CN102046943A (zh) 内燃机的控制装置
JP2011220305A (ja) 内燃機関の制御装置
JPH0849577A (ja) 内燃機関の吸気制御装置
JP2007032515A (ja) 内燃機関の制御装置
JP2019152122A (ja) 内燃機関システム
JP2011241723A (ja) 過給機付き内燃機関のegr装置
JP2006336566A (ja) 可変気筒エンジンの制御装置
JP2007303380A (ja) 内燃機関の排気制御装置
JP2008051022A (ja) 内燃機関の排気再循環装置
JP2007303355A (ja) 内燃機関のegr制御装置
JP2009180087A (ja) 内燃機関の制御装置

Legal Events

Date Code Title Description
A621 Written request for application examination

Free format text: JAPANESE INTERMEDIATE CODE: A621

Effective date: 20100914

A977 Report on retrieval

Free format text: JAPANESE INTERMEDIATE CODE: A971007

Effective date: 20111018

TRDD Decision of grant or rejection written
A01 Written decision to grant a patent or to grant a registration (utility model)

Free format text: JAPANESE INTERMEDIATE CODE: A01

Effective date: 20111101

A01 Written decision to grant a patent or to grant a registration (utility model)

Free format text: JAPANESE INTERMEDIATE CODE: A01

A61 First payment of annual fees (during grant procedure)

Free format text: JAPANESE INTERMEDIATE CODE: A61

Effective date: 20111114

R151 Written notification of patent or utility model registration

Ref document number: 4877288

Country of ref document: JP

Free format text: JAPANESE INTERMEDIATE CODE: R151

FPAY Renewal fee payment (event date is renewal date of database)

Free format text: PAYMENT UNTIL: 20141209

Year of fee payment: 3

LAPS Cancellation because of no payment of annual fees