JP2010022486A - 着用物品の製造方法 - Google Patents

着用物品の製造方法 Download PDF

Info

Publication number
JP2010022486A
JP2010022486A JP2008185326A JP2008185326A JP2010022486A JP 2010022486 A JP2010022486 A JP 2010022486A JP 2008185326 A JP2008185326 A JP 2008185326A JP 2008185326 A JP2008185326 A JP 2008185326A JP 2010022486 A JP2010022486 A JP 2010022486A
Authority
JP
Japan
Prior art keywords
engagement area
area
manufacturing
loop
elements
Prior art date
Legal status (The legal status is an assumption and is not a legal conclusion. Google has not performed a legal analysis and makes no representation as to the accuracy of the status listed.)
Granted
Application number
JP2008185326A
Other languages
English (en)
Other versions
JP2010022486A5 (ja
JP5306731B2 (ja
Inventor
Kokichi Kinoshita
晃吉 木下
Natsuko Aoyanagi
奈津子 青柳
Kayoko Tanaka
佳代子 田中
Yasuhiko Kenmochi
泰彦 釼持
Current Assignee (The listed assignees may be inaccurate. Google has not performed a legal analysis and makes no representation or warranty as to the accuracy of the list.)
Unicharm Corp
Original Assignee
Unicharm Corp
Priority date (The priority date is an assumption and is not a legal conclusion. Google has not performed a legal analysis and makes no representation as to the accuracy of the date listed.)
Filing date
Publication date
Priority to JP2008185326A priority Critical patent/JP5306731B2/ja
Application filed by Unicharm Corp filed Critical Unicharm Corp
Priority to EA201170045A priority patent/EA201170045A1/ru
Priority to AU2009272064A priority patent/AU2009272064B2/en
Priority to KR1020117002851A priority patent/KR20110052603A/ko
Priority to MYPI20110171 priority patent/MY150982A/en
Priority to CN2009801343190A priority patent/CN102143728B/zh
Priority to PCT/JP2009/061953 priority patent/WO2010007880A1/ja
Priority to CA2730649A priority patent/CA2730649C/en
Priority to BRPI0910379A priority patent/BRPI0910379A2/pt
Priority to EP09797808.4A priority patent/EP2301500B1/en
Priority to US13/054,235 priority patent/US8580056B2/en
Priority to MX2011000595A priority patent/MX337412B/es
Priority to PCT/JP2009/062838 priority patent/WO2010008032A1/ja
Priority to UAA201101707A priority patent/UA102552C2/uk
Publication of JP2010022486A publication Critical patent/JP2010022486A/ja
Priority to CL2011000088A priority patent/CL2011000088A1/es
Priority to MA33611A priority patent/MA32559B1/fr
Priority to CO11017778A priority patent/CO6290614A2/es
Publication of JP2010022486A5 publication Critical patent/JP2010022486A5/ja
Application granted granted Critical
Publication of JP5306731B2 publication Critical patent/JP5306731B2/ja
Expired - Fee Related legal-status Critical Current
Anticipated expiration legal-status Critical

Links

Images

Classifications

    • AHUMAN NECESSITIES
    • A61MEDICAL OR VETERINARY SCIENCE; HYGIENE
    • A61FFILTERS IMPLANTABLE INTO BLOOD VESSELS; PROSTHESES; DEVICES PROVIDING PATENCY TO, OR PREVENTING COLLAPSING OF, TUBULAR STRUCTURES OF THE BODY, e.g. STENTS; ORTHOPAEDIC, NURSING OR CONTRACEPTIVE DEVICES; FOMENTATION; TREATMENT OR PROTECTION OF EYES OR EARS; BANDAGES, DRESSINGS OR ABSORBENT PADS; FIRST-AID KITS
    • A61F13/00Bandages or dressings; Absorbent pads
    • A61F13/15Absorbent pads, e.g. sanitary towels, swabs or tampons for external or internal application to the body; Supporting or fastening means therefor; Tampon applicators
    • A61F13/15577Apparatus or processes for manufacturing
    • A61F13/15756Applying tabs, strips, tapes, loops; Knotting the ends of pads
    • AHUMAN NECESSITIES
    • A61MEDICAL OR VETERINARY SCIENCE; HYGIENE
    • A61FFILTERS IMPLANTABLE INTO BLOOD VESSELS; PROSTHESES; DEVICES PROVIDING PATENCY TO, OR PREVENTING COLLAPSING OF, TUBULAR STRUCTURES OF THE BODY, e.g. STENTS; ORTHOPAEDIC, NURSING OR CONTRACEPTIVE DEVICES; FOMENTATION; TREATMENT OR PROTECTION OF EYES OR EARS; BANDAGES, DRESSINGS OR ABSORBENT PADS; FIRST-AID KITS
    • A61F13/00Bandages or dressings; Absorbent pads
    • A61F13/15Absorbent pads, e.g. sanitary towels, swabs or tampons for external or internal application to the body; Supporting or fastening means therefor; Tampon applicators
    • A61F13/15577Apparatus or processes for manufacturing
    • A61F13/15707Mechanical treatment, e.g. notching, twisting, compressing, shaping
    • A61F13/15747Folding; Pleating; Coiling; Stacking; Packaging
    • AHUMAN NECESSITIES
    • A61MEDICAL OR VETERINARY SCIENCE; HYGIENE
    • A61FFILTERS IMPLANTABLE INTO BLOOD VESSELS; PROSTHESES; DEVICES PROVIDING PATENCY TO, OR PREVENTING COLLAPSING OF, TUBULAR STRUCTURES OF THE BODY, e.g. STENTS; ORTHOPAEDIC, NURSING OR CONTRACEPTIVE DEVICES; FOMENTATION; TREATMENT OR PROTECTION OF EYES OR EARS; BANDAGES, DRESSINGS OR ABSORBENT PADS; FIRST-AID KITS
    • A61F13/00Bandages or dressings; Absorbent pads
    • A61F13/15Absorbent pads, e.g. sanitary towels, swabs or tampons for external or internal application to the body; Supporting or fastening means therefor; Tampon applicators
    • A61F13/15577Apparatus or processes for manufacturing
    • A61F13/15804Plant, e.g. involving several steps
    • AHUMAN NECESSITIES
    • A61MEDICAL OR VETERINARY SCIENCE; HYGIENE
    • A61FFILTERS IMPLANTABLE INTO BLOOD VESSELS; PROSTHESES; DEVICES PROVIDING PATENCY TO, OR PREVENTING COLLAPSING OF, TUBULAR STRUCTURES OF THE BODY, e.g. STENTS; ORTHOPAEDIC, NURSING OR CONTRACEPTIVE DEVICES; FOMENTATION; TREATMENT OR PROTECTION OF EYES OR EARS; BANDAGES, DRESSINGS OR ABSORBENT PADS; FIRST-AID KITS
    • A61F13/00Bandages or dressings; Absorbent pads
    • A61F13/15Absorbent pads, e.g. sanitary towels, swabs or tampons for external or internal application to the body; Supporting or fastening means therefor; Tampon applicators
    • A61F13/45Absorbent pads, e.g. sanitary towels, swabs or tampons for external or internal application to the body; Supporting or fastening means therefor; Tampon applicators characterised by the shape
    • A61F13/49Absorbent pads, e.g. sanitary towels, swabs or tampons for external or internal application to the body; Supporting or fastening means therefor; Tampon applicators characterised by the shape specially adapted to be worn around the waist, e.g. diapers, nappies
    • AHUMAN NECESSITIES
    • A61MEDICAL OR VETERINARY SCIENCE; HYGIENE
    • A61FFILTERS IMPLANTABLE INTO BLOOD VESSELS; PROSTHESES; DEVICES PROVIDING PATENCY TO, OR PREVENTING COLLAPSING OF, TUBULAR STRUCTURES OF THE BODY, e.g. STENTS; ORTHOPAEDIC, NURSING OR CONTRACEPTIVE DEVICES; FOMENTATION; TREATMENT OR PROTECTION OF EYES OR EARS; BANDAGES, DRESSINGS OR ABSORBENT PADS; FIRST-AID KITS
    • A61F13/00Bandages or dressings; Absorbent pads
    • A61F13/15Absorbent pads, e.g. sanitary towels, swabs or tampons for external or internal application to the body; Supporting or fastening means therefor; Tampon applicators
    • A61F13/56Supporting or fastening means
    • AHUMAN NECESSITIES
    • A61MEDICAL OR VETERINARY SCIENCE; HYGIENE
    • A61FFILTERS IMPLANTABLE INTO BLOOD VESSELS; PROSTHESES; DEVICES PROVIDING PATENCY TO, OR PREVENTING COLLAPSING OF, TUBULAR STRUCTURES OF THE BODY, e.g. STENTS; ORTHOPAEDIC, NURSING OR CONTRACEPTIVE DEVICES; FOMENTATION; TREATMENT OR PROTECTION OF EYES OR EARS; BANDAGES, DRESSINGS OR ABSORBENT PADS; FIRST-AID KITS
    • A61F13/00Bandages or dressings; Absorbent pads
    • A61F13/15Absorbent pads, e.g. sanitary towels, swabs or tampons for external or internal application to the body; Supporting or fastening means therefor; Tampon applicators
    • A61F13/56Supporting or fastening means
    • A61F13/62Mechanical fastening means ; Fabric strip fastener elements, e.g. hook and loop

Landscapes

  • Health & Medical Sciences (AREA)
  • Engineering & Computer Science (AREA)
  • Life Sciences & Earth Sciences (AREA)
  • Animal Behavior & Ethology (AREA)
  • Public Health (AREA)
  • Heart & Thoracic Surgery (AREA)
  • Vascular Medicine (AREA)
  • Epidemiology (AREA)
  • Veterinary Medicine (AREA)
  • General Health & Medical Sciences (AREA)
  • Biomedical Technology (AREA)
  • Manufacturing & Machinery (AREA)
  • Mechanical Engineering (AREA)
  • Botany (AREA)
  • Absorbent Articles And Supports Therefor (AREA)
  • Nonwoven Fabrics (AREA)
  • Details Of Garments (AREA)

Abstract

【課題】 製造工程においてフック要素に係合されたループ要素がめくれることがない着用物品の製造方法を提供する。
【解決手段】 前ウエスト域8の第1側縁部11のそれぞれの内面シート6には、支持部材13,14が取り付けられ、この支持部材13,14を介してフック要素15,16がシャーシ2に取り付けられている。後ウエスト域9の第2側縁部12の内面シート6にはループ要素17,18が取り付けられている。支持部材13,14の第3領域30,31には、ループ要素17,18の外側縁に対応するようにシール部32,33が形成されている。フック要素15,16とループ要素17,18とを係合することによって、支持部材13,14に形成されたシール部32,33とループ要素17,18が仮固定される。
【選択図】図1

Description

この発明は、着用物品の製造方法に関し、さらに詳しくは使い捨てのおむつ、トイレット・トレーニングパンツ、失禁ブリーフ、生理用ショーツ、おむつカバー等の着用物品の製造方法に関する。
従来、使い捨てのおむつにおいて、おむつの側縁部を係脱可能にした構造として、例えば特開2008−12115号公報(特許文献1)が公知である。この特許文献1によれば、おむつは前後ウエスト域およびクロッチ域と、身体側内面および着衣側外面を含むシャーシと、前後ウエスト域の側縁部に形成されたフック要素とループ要素とを備える。フック要素は支持部材を介して側縁部に取り付けられている。このようなおむつは製造装置の機械方向に搬送されながら、隣接するおむつの側縁部を互いに連続させて製造される。
特開2008−12115号公報
おむつの製造工程においては、フック要素とループ要素とが係合されて搬送される。フック要素とループ要素との係合において、これらを重ね合わせる位置が多少ずれた場合でも係合可能とするために、フック要素とループ要素とのいずれか一方を他方よりも大きくしている。フック要素はループ要素に比べて剛性が高いから、おむつの柔軟性や肌への刺激を考慮した場合には、ループ要素を大きくした方がよい。しかし、ループ要素を大きくすると、フック要素と係合せずにフック要素からはみ出す部分が生じ、このはみ出した部分が製造工程においてめくれてしまうことがある。ループ要素がめくれると、フック要素との係合が離脱しやすくなったり、おむつの生産性が低下したりする可能性がある。
この発明は、製造工程においてフック要素に係合されたループ要素がめくれることがない着用物品の製造方法を提供することを課題とする。
この発明は、縦方向および横方向と、身体側および着衣側と、前ウエスト域および後ウエスト域の一方である第1ウエスト域ならびに前記前ウエスト域および後ウエスト域の他方である第2ウエスト域と前記第1および第2ウエスト域間に位置するクロッチ域とを含むシャーシと、前記第1ウエスト域の前記横方向に対向しあい前記縦方向へ延びる一対の第1側縁部に位置しメカニカルファスナ機能を有する第1係合域および前記第2ウエスト域の前記横方向に対向しあい前記縦方向へ延びる一対の第2側縁部に位置して前記第1係合域と脱離可能に係合するメカニカルファスナ機能を有する第2係合域とを含み、前記第1係合域はフック要素を含み、前記第2係合域はループ要素を含む着用物品の製造方法の改良に関わる。
この発明は前記着用物品の製造方法において、前記第1係合域に、前記第2係合域と仮止めされるシール部を形成する工程と、前記第1係合域の前記フック要素と、前記第2係合域の前記ループ要素とを係合させるとともに、前記第1係合域と前記第2係合域とを前記シール部を介して仮止めする工程とを含むことを特徴とする。
好ましい実施形態のひとつとして、前記着用物品の製造工程が、機械方向と前記機械方向に直交する交差方向とを含み、前記着用物品のシャーシは、前記横方向が前記機械方向に一致するように連続的に形成され、前記シャーシを形成するウェブを前記機械方向に搬送する工程と、前記第1係合域と前記第2係合域とが係合された後に、前記ウェブが前記交差方向で切断される工程と、をさらに含む。
好ましい他の実施形態のひとつとして、前記第2係合域は、前記縦方向に延びる内外側縁と、前記横方向に延びる上下端縁とを含み、前記シール部は、前記第1係合域が係合された前記第2係合域の前記外側縁であって、前記上下端縁に形成される。
好ましい他の実施形態のひとつとして、前記第1係合域は、前記第1側縁部から延出する支持部材を含み、前記支持部材を介して前記第1側縁部と前記フック要素が接合される。
好ましい他の実施形態のひとつとして、前記シール部は、前記支持部材と前記ループ要素との間を仮止めする。
好ましい他の実施形態のひとつとして、前記ループ要素は、前記フック要素よりも広い面積を有し、前記フック要素外側に位置する前記ループ要素と、前記支持部材とが前記シール部によって仮止めされる。
第1係合域と、第2係合域とを仮止めするシール部を形成することとしたので、第2係合域に形成されたループ要素が、おむつ製造時に第1係合域から剥がれてめくれるのを抑制することができる。したがって、着用物品の加工における正確性および生産性を向上させることができる。
また、着用物品の着用時にシール部による仮止めが維持される場合においては、この着用時におけるループ要素のめくれを抑制することもできる。したがって、めくれによってループ要素またはフック要素が肌に直接接触するのを抑制することができ、肌トラブルを引き起こすことを抑制することができる。
着用物品が機械方向に連続的に形成され、第1係合域と第2係合域とが係合された後に交差方向でウェブが切断されることとしたので、着用物品の大量生産が可能となる。
シール部は、少なくとも第1係合域が係合された第2係合域の外側縁であって上下端に形成されるので、第2係合域が第1係合域から最も離間しやすい部分において、第2係合域が剥がれるのを抑制することができる。
第1係合域は、第1側縁部から延出する支持部材を含むこととしたので、第1側縁部と支持部材とを別部材にすることができ、それぞれの用途に合わせた部材を選択することができる。
シール部は、支持部材とループ要素との間を仮止めすることとしたので、フック要素との係合に影響を与えることなく、第1係合域と第2係合域とを仮止めすることができる。
ループ要素はフック要素よりも広い面積を有し、フック要素外側に位置するループ要素と、支持部材とがシール部によって仮止めされることとしたので、フック要素と係合しないループ要素を第1係合域に仮止めすることができ、製造中にループ要素がめくれるのを抑制することができる。
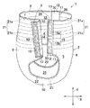
図1〜5は、この発明の一実施形態を示したものであり、大人用のおむつをその一例として説明する。図1はおむつ1の着用状態において両側縁部の一方を開いた状態の斜視図であり、図2はおむつ1の展開図であって説明のためにその一部を破断している。図示したように、おむつ1は吸液性を有するシャーシ2とメカニカルファスナ3とを含む。シャーシ2は、縦方向Yおよび横方向Xと、身体側内面4および着衣側外面5とを有する。図2においては、紙面手前側が身体側内面となり、その反対側が着衣側外面となる。シャーシ2は、身体側内面4を形成する内面シート6と、着衣側外面5を形成する外面シート7と、内面シート6のさらに身体側に位置する吸液性コア20とを含む。内外面シート6,7は液透過性の繊維不織布等、吸液性コア20はフラッフパルプと高吸収性ポリマー粒子との混合物等、それぞれ当技術分野の慣用素材を用いることができる。このようなシャーシ2は、前ウエスト域8、後ウエスト域9および前後ウエスト域8,9の間におけるクロッチ域10を含む。
前ウエスト域8には、横方向Xに対向して縦方向Yに延びる一対の第1側縁部11が形成され、後ウエスト域9には、横方向Xに対向して縦方向Yに延びる一対の第2側縁部12が形成されている。第1側縁部11のそれぞれの内面シート6には、一対の縦方向Yに細長い支持部材(耳部材)13,14が取り付けられ、この支持部材13,14を介して一対のメカニカルファスナのフック要素15,16がシャーシ2に取り付けられている。第1側縁部11、支持部材13,14およびフック要素15,16によって第1接合域を形成している。
支持部材13,14は、繊維不織布などの材料で形成され、内面シート6の第1側縁部11に接合される第1領域26,27と、第1領域26,27から身体側内面に折り畳まれ第1領域26,27と重なる第2領域28,29と、第2領域28,29から第1側縁部11の横方向X外側に延出する第3領域30,31とを有している。
フック要素15,16は、支持部材13,14の延出した第3領域30,31であって、着衣側外面に接合されている。フック要素15,16は、縦方向Yに二分割されておりそれぞれ上部15a,16aと下部15b,16bをそれら間にスペースを介して形成している。
第2側縁部12それぞれの内面シート6には、一対のループ要素17,18が取り付けられている。ループ要素17,18は後ウエスト域9の第2側縁部12の縦方向Yの長さ寸法とほぼ同じ寸法を有し、その縦方向Yのほぼ全域に亘って延びている。第2側縁部12とループ要素17,18とで第2接合域を形成している。
フック要素15,16とループ要素17,18とは互いに脱離可能に係合し、ループ要素17,18はフック要素15,16よりもその縦方向Yおよび横方向Xの寸法を大きくしている。ループ要素17,18を大きくすることによって、フック要素15,16とループ要素17,18との重ね合わせの位置が縦方向Yまたは横方向Xに多少ずれたとしても、これらを容易に係合することができ、正確に重ねあわせなくてもよいので、おむつ1の着用が簡便になる。これらフック要素15,16およびループ要素17,18としては、例えばこの発明に係る着用物品の技術分野で慣用されている「ベルクロ」(商標)や「マジックテープ」(商標)を用いることができる。
前後ウエスト域8,9には、横方向Xに延びるウエスト弾性部材21が伸長状態で収縮可能に取り付けられている。具体的には、ウエスト弾性部材21はウエスト開口側に位置する第1弾性部材21aと、第1弾性部材21aとクロッチ域10との間に位置する第2弾性部材21bとを含む。このようなウエスト弾性部材21は内外面シート6,7の間に介在し、内外面シート6,7の少なくとも一方に接合されている。ウエスト弾性部材21は、複数条の糸状、ストランド状、テープ状などのゴムによって形成され、第2弾性部材21bは縦方向Yにほぼ等間隔に離間して、前後ウエスト域6,7のほぼ全域に亘って取り付けられることによって、前後ウエスト域6,7を横方向Xに弾性化している。前後ウエスト域6,7を弾性化することによって、前後ウエスト域6,7が着用者にフィットし、尿等の漏れを防止するとともに、着用外観を良くするようにしている。
ウエスト弾性部材21は、前ウエスト域8においては支持部材13,14と交差しないようにそれらの横方向X内側まで延びている。フック要素15,16は、支持部材13,14の横方向Xに延出した部分に形成されているので、ウエスト弾性部材21は前ウエスト域8においては、フック要素15,16には重ならない。同様に、後ウエスト域9においては、ループ要素17,18の横方向X内側までウエスト弾性部材21が延びて、これらループ要素17,18には重ならない。ウエスト弾性部材21がフック要素15,16およびループ要素17,18に重ならないようにすることによって、ウエスト弾性部材21の収縮でフック要素15,16とループ要素17,18とに皺が発生するのを抑制することができる。したがって、皺が発生することで、係合面積が狭くなったり、係合が不安定になったりするのを抑制することができ、フック要素15,16とループ要素17,18とを強固に係合することができる。
第1および第2側縁部11,12の縦方向Yの間にはレッグ側縁部22が形成され、このレッグ側縁部22は、クロッチ域10に形成されて、横方向Xの寸法を二等分する縦中心線P−Pに向かって湾曲している。レッグ側縁部22に沿ってレッグ弾性部材23が伸長状態で収縮可能に取り付けられている。具体的には、レッグ弾性部材23は、内外面シート6,7の間に介在し、これら内外面シート6,7の少なくともいずれか一方に接着または接合によって取り付けられている。レッグ弾性部材23は複数条の糸状、ストランド状、テープ状などのゴムによって形成され、これらゴムの収縮力によって、レッグ側縁部22が着用者にフィットし尿等の漏れを防止するようにしている。
ウエスト弾性部材21およびレッグ弾性部材23は、天然ゴムまたはポリウレタン等の合成ゴムを用いることができ、各ゴムに替えて、弾性を有する繊維不織布やプラスチックシート等を用いることもでき、一般的な弾性部材を使用することができる。
このようなおむつ1において、フック要素15,16にループ要素17,18を係合させることによって、前後ウエスト域8,9を互いに連結し、ウエスト開口24と一対のレッグ開口25とを形成するとともに、プルオン・パンツ形状とすることができる。このようなおむつ1は、前後ウエスト域8,9の連結状態でウエスト開口24からレッグ開口25へと脚を入れておむつ1を引き上げるようにして着用することができる。また、前後ウエスト域8,9を連結する前に着用者のウエスト部にあてがい、その後フック要素15,16にループ要素17,18を係合させることによって、前後ウエスト域8,9を連結してパンツ形状にすることもできる。したがって、このようなおむつ1は、プルオン・パンツタイプとオープンタイプの併用可能な利便性を有する。
上記のようなおむつ1の製造方法を説明する。図3に示したように、おむつ1は機械方向MDに連続的に形成され、最後に機械方向MDに直交する交差方向CDに平行な切断線44で切断することによって個々の製品となる。連続的に形成されたおむつは、隣接するおむつが互いの第2側縁部12と第1側縁部11とを連続させるようにして、すなわちおむつ1の横方向Xと機械方向MDとが一致するように連続させて形成される。
第1の工程(a)では、外面シート7を形成する第1ウェブ41が搬送されるとともに、この第1ウェブ41にウエスト弾性部材21およびレッグ弾性部材23が機械方向MDに連続的に伸長状態で取り付けられる。ここでは、弾性部材21,23を接合するための接着剤等の接合手段は省略している。
第2の工程(b)では、内面シート6を形成する第2ウェブ42が第1ウェブ41上に搬送され、これら第1ウェブ41と第2ウェブ42とが接合される。第1および第2ウェブ41,42は、それぞれ繊維ウェブによって形成されている。この第2の工程(b)以降、図中ウエスト弾性部材21の記載を省略し、レッグ弾性部材23のみ破線で示す。
第3の工程(c)では、レッグ弾性部材23によって形成された円に沿って第1および第2ウェブ41,42に円状の孔43が形成され、この孔43の縁をレッグ側縁部22とする。孔43は切断線44上に形成される。
第4の工程(d)では、孔43と孔43との機械方向MDの間に、吸液性コア20が取り付けられる。吸液性コア20は第2ウェブ42に図示しない接合手段によって接合される。
第5の工程(e)〜第7の工程(g)を図4に示し、これら工程では、支持部材13,14とフック要素15,16とループ要素17,18とから形成される係合体47を形成する。
第5の工程(e)では、支持部材13,14を機械方向MDに延びる第1折曲線35および第2折曲線36を介して折り畳み、第1領域26,27、第2領域28,29および第3領域30,31を形成する。すなわち、支持部材13,14の一方の端部から第1折曲線35までの間を第1領域26,27とし、第1折曲線35から第2折曲線36までの間を第2領域28,29とし、第2折曲線36から他方の端部までの間を第3領域30,31としている。第1領域26,27と第2領域28,29とは接合部38を介して固定される。支持部材13,14は一枚の繊維不織布で形成されるが、連続して形成されるおむつにおいて隣接する支持部材13,14を同時に形成するため、第1領域26,27が交差方向CDに連続して形成される。第1領域26,27は、後に切断線44で切断されるが、支持部材13,14は切断線44を介して対称であり、それぞれ逆Z字およびZ字状に形成されている。
係合体47において支持部材13,14とループ要素17,18とは、その機械方向MDの長さ寸法および交差方向CDの長さ寸法がほぼ等しくなるようにしている。フック要素15,16の機械方向MDおよび交差方向CDの長さ寸法は、ループ要素17,18のそれよりも短くなるようにしている。したがって、フック要素15,16とループ要素17,18とを係合させた場合には、フック要素15,16の周囲からループ要素17,18がはみ出すようになる。ループ要素17,18は交差方向CDに延びる内外側縁58,59と、機械方向MDに延びる上下端縁60,61とを含む。ループ要素17,18は後に切断線44で切断されることによって、切断線44上に内側縁58が形成される。
第6の工程(f)では、折り畳んだ支持部材13,14の第3領域30,31にシール部32,33を形成する。シール部32,33は、ループ要素17,18の外側縁59であって、上下端縁60,61に対応するように、第3領域30,31に形成される。
シール部32,33とフック要素15,16との位置関係を図5に示している。図示したように、シール部32,33は、第3領域30,31の交差方向CDの外側の上下角部分に形成され、ループ要素17,18の外側縁59に対応するように形成される。すなわち、フック要素15,16の上フック要素15a,16aは上端縁50,51を含み、下フック要素15b,16bは下端縁52,53を含む。さらにフック要素15,16は一方の側縁54,55と他方の側縁56,57とを含む。シール部32は、上端縁50,51の外側であって、一方の側縁54,55の外側に位置し、シール部33は、下端縁52,53の外側であって、他方の側縁54,55の外側に位置している。
第7の工程(g)では、支持部材13,14の第3領域30,31にフック要素15,16を固定する。フック要素15,16とループ要素17,18とは、あらかじめ係合しておいてもよいし、フック要素15,16を第3領域30,31に固定した後に、ループ要素17,18を係合させるようにしてもよい。このようにフック要素15,16とループ要素17,18とを係合することによって、支持部材13,14に形成されたシール部32,33とループ要素17,18とが仮止めされる。
シール部32,33は第3領域30,31とフック要素15,16との間に形成されるので、シール部32,33の一部がフック要素15,16で覆われることもある。ただし、シール部32,33の大部分はフック要素15,16とは重ならず、露出されている。露出されたシール部32,33は、ループ要素17,18の内側縁58と上下端縁60,61とによってそれぞれ形成される角に対向し、このループ要素17,18の角において、支持部材13,14に対して仮止めされる。
第8の工程(h)では、図3に示したように、上記のようにして形成された係合体47が第2ウェブ42に搬送される。係合体47は、第2ウェブ42への搬送時に、約90度回転させてから搬送される。したがって、図4および5に示した機械方向MDと交差方向CDとが逆になって図3に示される。第1および第2ウェブ41,42は機械方向MDに延びる一端45および他端46を形成し、一端45側がおむつ1の前胴周り域8となり、他端46側が後胴周り域9となる。係合体の支持部材13,14が、第2ウェブ42の他端46側に図示しない接合部を介して接合される。
第9の工程(i)では、第1および第2ウェブ41,42の一端45と他端46とを重ね合わせるようにして、これらを二つに折り畳む。このとき吸液性コア20が内側になるように第2ウェブ42が互いに重なるようにして折り畳む。第1および第2ウェブ41,42が折り畳まれた際に、ループ要素17,18が第2ウェブ42の一端45側に接合するようにしている。
第10の工程(j)では、折り畳んだ状態で、切断線44に沿って第1および第2ウェブ41,42を切断する。このように切断することによっておむつ1が形成され、第1および第2ウェブ41,42の一端45に前ウエスト域8の第1側縁部11が形成され、他端46に後ウエスト域9の第2側縁部12が形成される。さらに、切断線44で切断することによって、支持部材13,14およびループ要素17,18が、それぞれ切断されて第1側縁部11および第2側縁部12に位置する。製造工程の機械方向MDとおむつ1の横方向Xが対応し、交差方向CDとおむつ1の縦方向Yとが対応する。
上記のような製造方法において、支持部材13,14の第3領域30,31とループ要素17,18とをシール部32,33によって仮止めしているので、ループ要素17,18が支持部材13,14からめくれあがるのを抑制することができる。ループ要素17,18は、特にその上下端がめくれ易いが、シール部32,33が支持部材13,14の上下端縁に形成されることによって、ループ要素17,18のめくれ防止の効果が増大される。したがって、おむつ1の製造時にループ要素17,18がめくれてウェブの位置ずれを起こしたり、製造速度を低下させたりするという事態を予防することができる。
シール部32,33は、フック要素15,16とループ要素17,18との係合力に比べて弱くなるようにしている。したがって、フック要素15,16とループ要素17,18との係合を解こうとした場合には、シール部32,33による仮止めは容易に解け、シール部32,33によってフック要素15,16とループ要素17,18との係合が解け難くなることはない。
シール部32,33は、ループ要素17,18の外側縁59であってその上下端縁60,61に分離して形成されるようにしているが、ループ要素17,18のめくれ防止が可能であれば、この形状に限られるものではない。例えば、シール部32,33が分離されることなく、上下端縁60,61に連続して形成されているものであってもよい。
シール部32,33として、再粘着性を有するものを用いることができる。再粘着性を有するものを用いた場合には、一度仮止めを解いたときでも再び粘着させることができる。したがって、シール部32,33の仮止めおよびフック要素15,16とループ要素17,18との係合を解いてから、再びフック要素15,16とループ要素17,18とを係合させおむつ1を着用したときであっても、シール部32,33によってループ要素17,18が支持部材13,14からめくれるのを防止することができる。着用時にループ要素17,18がめくれないようにすることによって、フック要素15,16との係合面積が少なくなったり、着用時の違和感を発生させたりすることを予防することができる。また、ループ要素17,18のめくれを抑制することによって、めくれたループ要素17,18が肌に直接接触して肌トラブルを発生させることを抑制することもできる。
着用物品としてパンツ型のおむつを用いた場合には、仮止めを解くことなくそのままおむつを着用することができるが、シール部32,33を有することによって、おむつを引き上げたときに、フック要素15,16とループ要素17,18との係合が解けてしまうのを抑制することができる。このようなパンツ型のおむつにおいても、その着用時にループ要素17,18がめくれないようにすることができることは当然である。
この発明では、フック要素15,16を支持部材13,14に取り付け、さらにフック要素15,16にループ要素17,18を取り付けて係合体を形成してからシャーシ2を形成する第2ウェブ42に取り付けるようにしているが、フック要素15,16を第2ウェブ42の他端46側に、ループ要素17,18を一端45側に取り付けてから、ウェブを二つ折りにしてこれらフック要素15,16とループ要素17,18とを係合させるようにしてもよい。
上記のおむつ1の製造方法において、吸液性コア20を搬送するタイミングや、レッグ側縁部を形成する孔37を形成するタイミング等は、適宜変更することができる。
前ウエスト域8にフック要素15,16を取り付け、後ウエスト域9にループ17,18要素を取り付けることとしているが、これが逆でも良い。すなわち、前ウエスト域8を第1ウエスト域として、後ウエスト域9を第2ウエスト域として説明しているが、前ウエスト域8が第2ウエスト域、後ウエスト域9が第1ウエスト域としてもよい。ただし、剛性が高いフック要素が着用者の肌に接触しないように取り付けることが望ましい。フック要素によって着用者の肌が傷つけられるのを防止するためである。
おむつ1は、シャーシ2とは別体の吸液性コア20を有しているが、シャーシ2の内外面シート6,7の間に吸液性のコアを介在させるようにしてもよい。
この実施形態では、支持部材13,14を第1および第2折曲線を介して第1〜第3領域に画成し、支持部材13,14が略Z字または逆Z字を形成するように三つ折にされているが、必ずしもこの構成に限ったものではなく、例えば第1領域を省略し、第2および第3領域のみで形成され、支持部材13,14が縦中心線P−Pに向かって二つ折りにされているようなものでもよい。シール部32,33としては、接着剤、サーマルまたはウルトラソニックボンドなど、一般的な手段を用いることができる。シール部32,33は、ループ要素17,18と支持部材13,14との間に形成し、ループ要素17,18を支持部材13,14に対して仮止めするようにしているが、シール部32,33をループ要素17,18とフック要素15,16との間に形成するようにしてもよい。ただし、ループ要素17,18と支持部材13,14とを仮止めすることによって、ループ要素17,18とフック要素15,16との係合に影響が発生するのを抑制することができる。
おむつの斜視図。 図1のおむつの展開図。 おむつの製造工程説明図。 おむつの一部における製造工程説明図。 シール部の説明図。
符号の説明
1 おむつ
2 シャーシ
3 メカニカルファスナ
8 前ウエスト域
9 後ウエスト域
10 クロッチ域
11 第1側縁部
12 第2側縁部
13,14 支持部材
15,16 フック要素
17,18 ループ要素
26,27 第1領域
28,29 第2領域
30,31 第3領域
32,33 シール部
35 第1折曲線
36 第2折曲線
41 第1ウェブ
42 第2ウェブ
44 切断線
45 一端
46 他端
58 内側縁
59 外側縁
60 上端縁
61 下端縁

Claims (6)

  1. 縦方向および横方向と、身体側および着衣側と、前ウエスト域および後ウエスト域の一方である第1ウエスト域ならびに前記前ウエスト域および後ウエスト域の他方である第2ウエスト域と前記第1および第2ウエスト域間に位置するクロッチ域とを含むシャーシと、前記第1ウエスト域の前記横方向に対向しあい前記縦方向へ延びる一対の第1側縁部に位置しメカニカルファスナ機能を有する第1係合域および前記第2ウエスト域の前記横方向に対向しあい前記縦方向へ延びる一対の第2側縁部に位置して前記第1係合域と脱離可能に係合するメカニカルファスナ機能を有する第2係合域とを含み、前記第1係合域はフック要素を含み、前記第2係合域はループ要素を含む着用物品の製造方法において、
    前記第1係合域に、前記第2係合域と仮止めされるシール部を形成する工程と、
    前記第1係合域の前記フック要素と、前記第2係合域の前記ループ要素とを係合させるとともに、前記第1係合域と前記第2係合域とを前記シール部を介して仮止めする工程とを含む前記着用物品の製造方法。
  2. 前記着用物品の製造工程が、機械方向と前記機械方向に直交する交差方向とを含み、前記着用物品のシャーシは、前記横方向が前記機械方向に一致するように連続的に形成され、
    前記シャーシを形成するウェブを前記機械方向に搬送する工程と、
    前記第1係合域と前記第2係合域とが係合された後に、前記ウェブが前記交差方向で切断される工程と、をさらに含む請求項1記載の着用物品の製造方法。
  3. 前記第2係合域は、前記縦方向に延びる内外側縁と、前記横方向に延びる上下端縁とを含み、
    前記シール部は、前記第1係合域が係合された前記第2係合域の前記外側縁であって、前記上下端縁に形成される請求項1または2記載の着用物品の製造方法。
  4. 前記第1係合域は、前記第1側縁部から延出する支持部材を含み、前記支持部材を介して前記第1側縁部と前記フック要素が接合される請求項1〜3のいずれかに記載の着用物品の製造方法。
  5. 前記シール部は、前記支持部材と前記ループ要素との間を仮止めする請求項4記載の着用物品の製造方法。
  6. 前記ループ要素は、前記フック要素よりも広い面積を有し、前記フック要素外側に位置する前記ループ要素と、前記支持部材とが前記シール部によって仮止めされる請求項5記載の製造方法。
JP2008185326A 2008-07-15 2008-07-16 着用物品の製造方法 Expired - Fee Related JP5306731B2 (ja)

Priority Applications (17)

Application Number Priority Date Filing Date Title
JP2008185326A JP5306731B2 (ja) 2008-07-16 2008-07-16 着用物品の製造方法
AU2009272064A AU2009272064B2 (en) 2008-07-16 2009-06-30 Method of making wearing article
KR1020117002851A KR20110052603A (ko) 2008-07-16 2009-06-30 착용 물품의 제조 방법
MYPI20110171 MY150982A (en) 2008-07-16 2009-06-30 Method of making wearing article
CN2009801343190A CN102143728B (zh) 2008-07-16 2009-06-30 穿用物品的制造方法
PCT/JP2009/061953 WO2010007880A1 (ja) 2008-07-16 2009-06-30 着用物品の製造方法
CA2730649A CA2730649C (en) 2008-07-16 2009-06-30 Method of making wearing article
BRPI0910379A BRPI0910379A2 (pt) 2008-07-16 2009-06-30 método e fabricação de um artigo do vestuário
EP09797808.4A EP2301500B1 (en) 2008-07-16 2009-06-30 Method of making wearing article
US13/054,235 US8580056B2 (en) 2008-07-16 2009-06-30 Method of making wearing article
EA201170045A EA201170045A1 (ru) 2008-07-16 2009-06-30 Способ изготовления предмета одежды
MX2011000595A MX337412B (es) 2008-07-15 2009-07-15 Metodo para elaborar un articulo de uso y este articulo de uso.
PCT/JP2009/062838 WO2010008032A1 (ja) 2008-07-15 2009-07-15 着用物品の製造方法および着用物品
UAA201101707A UA102552C2 (uk) 2008-07-15 2009-07-15 Спосіб виготовлення предмета одягу (варіанти) та предмет одягу
CL2011000088A CL2011000088A1 (es) 2008-07-15 2011-01-14 Metodo para la fabricacion de un articulo de vestir y articulo de vestir, tal como pañal desechable, pañal para enseñar a ir al baño, ropa interior para menstruacion o cubrepañales.
MA33611A MA32559B1 (fr) 2008-07-15 2011-02-11 Procede de fabrication vetement et vetement
CO11017778A CO6290614A2 (es) 2008-07-16 2011-02-15 Método de fabricación de artículo para vestir

Applications Claiming Priority (1)

Application Number Priority Date Filing Date Title
JP2008185326A JP5306731B2 (ja) 2008-07-16 2008-07-16 着用物品の製造方法

Publications (3)

Publication Number Publication Date
JP2010022486A true JP2010022486A (ja) 2010-02-04
JP2010022486A5 JP2010022486A5 (ja) 2011-08-11
JP5306731B2 JP5306731B2 (ja) 2013-10-02

Family

ID=41550288

Family Applications (1)

Application Number Title Priority Date Filing Date
JP2008185326A Expired - Fee Related JP5306731B2 (ja) 2008-07-15 2008-07-16 着用物品の製造方法

Country Status (12)

Country Link
US (1) US8580056B2 (ja)
EP (1) EP2301500B1 (ja)
JP (1) JP5306731B2 (ja)
KR (1) KR20110052603A (ja)
CN (1) CN102143728B (ja)
AU (1) AU2009272064B2 (ja)
BR (1) BRPI0910379A2 (ja)
CA (1) CA2730649C (ja)
CO (1) CO6290614A2 (ja)
EA (1) EA201170045A1 (ja)
MY (1) MY150982A (ja)
WO (1) WO2010007880A1 (ja)

Cited By (2)

* Cited by examiner, † Cited by third party
Publication number Priority date Publication date Assignee Title
JP2014502554A (ja) * 2011-01-13 2014-02-03 ファメッカニカ.データ エス.ピー.エー. パンツ型のオムツおよび対応する製造方法および製造装置
JP2016508855A (ja) * 2013-03-15 2016-03-24 ザ プロクター アンド ギャンブルカンパニー 折り曲げられた締結タブ部材を備える部分組立品

Families Citing this family (6)

* Cited by examiner, † Cited by third party
Publication number Priority date Publication date Assignee Title
JP5596939B2 (ja) * 2008-07-15 2014-09-24 ユニ・チャーム株式会社 着用物品の製造方法および着用物品
WO2012112641A1 (en) 2011-02-15 2012-08-23 Microbix Biosystems Inc. Methods, systems, and apparatus for performing flow cytometry
US20140274642A1 (en) * 2013-03-15 2014-09-18 The Procter & Gamble Company Methods for manufacturing disposable absorbent refastenable articles comprising folded fastening tab members
GB201421576D0 (en) 2014-12-04 2015-01-21 Black & Decker Inc Drill
JP6116657B1 (ja) * 2015-12-25 2017-04-19 ユニ・チャーム株式会社 パンツ型使い捨ておむつ
JP6936212B2 (ja) 2016-03-01 2021-09-15 ユニ・チャーム株式会社 パンツ型吸収性物品

Citations (3)

* Cited by examiner, † Cited by third party
Publication number Priority date Publication date Assignee Title
JP2006087568A (ja) * 2004-09-22 2006-04-06 Kao Corp 吸収性物品
JP2006175007A (ja) * 2004-12-22 2006-07-06 Fameccanica Data Spa 吸収性衛生製品のクロージャ・エレメント、その製造方法、その使用方法、および吸収性衛生製品
JP2008012115A (ja) * 2006-07-06 2008-01-24 Uni Charm Corp パンツ型着用物品

Family Cites Families (7)

* Cited by examiner, † Cited by third party
Publication number Priority date Publication date Assignee Title
JP3167889B2 (ja) * 1995-07-28 2001-05-21 ユニ・チャーム株式会社 使い捨ておむつ
US6764475B1 (en) * 1998-12-18 2004-07-20 Kimberly-Clark Worldwide, Inc. Absorbent articles having differential strength refastenable seam
US6447497B1 (en) * 1999-11-22 2002-09-10 Kimberly-Clark Worldwide, Inc. Absorbent article with child resistant refastenable seams
PL1523968T3 (pl) 2003-10-13 2015-04-30 Fameccanica Data Spa Element zamykający do chłonnych wyrobów higienicznych, sposób wytwarzania i uzyskany w ten sposób wyrób
EP1795163B1 (en) 2004-09-22 2012-11-14 Kao Corporation Absorptive article
JP2006150068A (ja) * 2004-10-25 2006-06-15 Hakujuji Co Ltd 使い捨て吸収性物品およびその製造方法
JP5059122B2 (ja) * 2006-12-22 2012-10-24 エスセーアー・ハイジーン・プロダクツ・アーベー パンツ型吸収用品およびパンツ型吸収用品を製造するための方法

Patent Citations (3)

* Cited by examiner, † Cited by third party
Publication number Priority date Publication date Assignee Title
JP2006087568A (ja) * 2004-09-22 2006-04-06 Kao Corp 吸収性物品
JP2006175007A (ja) * 2004-12-22 2006-07-06 Fameccanica Data Spa 吸収性衛生製品のクロージャ・エレメント、その製造方法、その使用方法、および吸収性衛生製品
JP2008012115A (ja) * 2006-07-06 2008-01-24 Uni Charm Corp パンツ型着用物品

Cited By (2)

* Cited by examiner, † Cited by third party
Publication number Priority date Publication date Assignee Title
JP2014502554A (ja) * 2011-01-13 2014-02-03 ファメッカニカ.データ エス.ピー.エー. パンツ型のオムツおよび対応する製造方法および製造装置
JP2016508855A (ja) * 2013-03-15 2016-03-24 ザ プロクター アンド ギャンブルカンパニー 折り曲げられた締結タブ部材を備える部分組立品

Also Published As

Publication number Publication date
CN102143728A (zh) 2011-08-03
AU2009272064A1 (en) 2010-01-21
US8580056B2 (en) 2013-11-12
BRPI0910379A2 (pt) 2016-04-12
CA2730649C (en) 2016-05-10
MY150982A (en) 2014-03-31
EP2301500B1 (en) 2015-08-05
CO6290614A2 (es) 2011-06-20
EP2301500A4 (en) 2013-05-15
KR20110052603A (ko) 2011-05-18
AU2009272064B2 (en) 2014-09-04
WO2010007880A1 (ja) 2010-01-21
JP5306731B2 (ja) 2013-10-02
CN102143728B (zh) 2013-10-30
EP2301500A1 (en) 2011-03-30
EA201170045A1 (ru) 2011-08-30
US20110114248A1 (en) 2011-05-19
CA2730649A1 (en) 2010-01-21

Similar Documents

Publication Publication Date Title
JP5596939B2 (ja) 着用物品の製造方法および着用物品
JP5306731B2 (ja) 着用物品の製造方法
US7833207B2 (en) Pants-type wearing article
JP4574548B2 (ja) 使い捨て着用物品及びこれを製造する方法
JP4551193B2 (ja) 使い捨てパンツ型着用物品の製造方法
JP2010042241A5 (ja)
JP4704826B2 (ja) 使い捨てパンツ型着用物品の製造方法
KR20170036006A (ko) 일회용 기저귀
JP5306889B2 (ja) 着用物品
WO2010008032A1 (ja) 着用物品の製造方法および着用物品
JP6436771B2 (ja) 使い捨ての着用物品
CN102333508B (zh) 穿用物品的制造方法
JP2021532893A (ja) 低プロファイルクロージャを有する吸収性物品
JP2005287982A (ja) 開閉式使い捨てパンツ

Legal Events

Date Code Title Description
A521 Request for written amendment filed

Free format text: JAPANESE INTERMEDIATE CODE: A523

Effective date: 20110628

A621 Written request for application examination

Free format text: JAPANESE INTERMEDIATE CODE: A621

Effective date: 20110628

A131 Notification of reasons for refusal

Free format text: JAPANESE INTERMEDIATE CODE: A131

Effective date: 20121030

A521 Request for written amendment filed

Free format text: JAPANESE INTERMEDIATE CODE: A523

Effective date: 20121221

TRDD Decision of grant or rejection written
A01 Written decision to grant a patent or to grant a registration (utility model)

Free format text: JAPANESE INTERMEDIATE CODE: A01

Effective date: 20130604

A61 First payment of annual fees (during grant procedure)

Free format text: JAPANESE INTERMEDIATE CODE: A61

Effective date: 20130626

R150 Certificate of patent or registration of utility model

Free format text: JAPANESE INTERMEDIATE CODE: R150

Ref document number: 5306731

Country of ref document: JP

Free format text: JAPANESE INTERMEDIATE CODE: R150

R250 Receipt of annual fees

Free format text: JAPANESE INTERMEDIATE CODE: R250

R250 Receipt of annual fees

Free format text: JAPANESE INTERMEDIATE CODE: R250

R250 Receipt of annual fees

Free format text: JAPANESE INTERMEDIATE CODE: R250

R250 Receipt of annual fees

Free format text: JAPANESE INTERMEDIATE CODE: R250

R250 Receipt of annual fees

Free format text: JAPANESE INTERMEDIATE CODE: R250

R250 Receipt of annual fees

Free format text: JAPANESE INTERMEDIATE CODE: R250

R250 Receipt of annual fees

Free format text: JAPANESE INTERMEDIATE CODE: R250

R250 Receipt of annual fees

Free format text: JAPANESE INTERMEDIATE CODE: R250

LAPS Cancellation because of no payment of annual fees