JP2010021875A - データ送信装置、データ受信装置、データ送信方法およびデータ受信方法 - Google Patents

データ送信装置、データ受信装置、データ送信方法およびデータ受信方法 Download PDF

Info

Publication number
JP2010021875A
JP2010021875A JP2008181728A JP2008181728A JP2010021875A JP 2010021875 A JP2010021875 A JP 2010021875A JP 2008181728 A JP2008181728 A JP 2008181728A JP 2008181728 A JP2008181728 A JP 2008181728A JP 2010021875 A JP2010021875 A JP 2010021875A
Authority
JP
Japan
Prior art keywords
unit
image information
information
data
content
Prior art date
Legal status (The legal status is an assumption and is not a legal conclusion. Google has not performed a legal analysis and makes no representation as to the accuracy of the status listed.)
Granted
Application number
JP2008181728A
Other languages
English (en)
Other versions
JP4561893B2 (ja
Inventor
Toru Nagara
徹 長良
Current Assignee (The listed assignees may be inaccurate. Google has not performed a legal analysis and makes no representation or warranty as to the accuracy of the list.)
Sony Corp
Original Assignee
Sony Corp
Priority date (The priority date is an assumption and is not a legal conclusion. Google has not performed a legal analysis and makes no representation as to the accuracy of the date listed.)
Filing date
Publication date
Application filed by Sony Corp filed Critical Sony Corp
Priority to JP2008181728A priority Critical patent/JP4561893B2/ja
Priority to US12/459,867 priority patent/US8316241B2/en
Priority to CN2009101517423A priority patent/CN101626502B/zh
Publication of JP2010021875A publication Critical patent/JP2010021875A/ja
Application granted granted Critical
Publication of JP4561893B2 publication Critical patent/JP4561893B2/ja
Priority to US13/495,669 priority patent/US8874895B2/en
Expired - Fee Related legal-status Critical Current
Anticipated expiration legal-status Critical

Links

Images

Classifications

    • HELECTRICITY
    • H04ELECTRIC COMMUNICATION TECHNIQUE
    • H04NPICTORIAL COMMUNICATION, e.g. TELEVISION
    • H04N21/00Selective content distribution, e.g. interactive television or video on demand [VOD]
    • H04N21/40Client devices specifically adapted for the reception of or interaction with content, e.g. set-top-box [STB]; Operations thereof
    • H04N21/43Processing of content or additional data, e.g. demultiplexing additional data from a digital video stream; Elementary client operations, e.g. monitoring of home network or synchronising decoder's clock; Client middleware
    • H04N21/436Interfacing a local distribution network, e.g. communicating with another STB or one or more peripheral devices inside the home
    • H04N21/4367Establishing a secure communication between the client and a peripheral device or smart card
    • HELECTRICITY
    • H04ELECTRIC COMMUNICATION TECHNIQUE
    • H04NPICTORIAL COMMUNICATION, e.g. TELEVISION
    • H04N21/00Selective content distribution, e.g. interactive television or video on demand [VOD]
    • H04N21/40Client devices specifically adapted for the reception of or interaction with content, e.g. set-top-box [STB]; Operations thereof
    • H04N21/43Processing of content or additional data, e.g. demultiplexing additional data from a digital video stream; Elementary client operations, e.g. monitoring of home network or synchronising decoder's clock; Client middleware
    • H04N21/436Interfacing a local distribution network, e.g. communicating with another STB or one or more peripheral devices inside the home
    • H04N21/4363Adapting the video stream to a specific local network, e.g. a Bluetooth® network
    • H04N21/43632Adapting the video stream to a specific local network, e.g. a Bluetooth® network involving a wired protocol, e.g. IEEE 1394
    • HELECTRICITY
    • H04ELECTRIC COMMUNICATION TECHNIQUE
    • H04NPICTORIAL COMMUNICATION, e.g. TELEVISION
    • H04N21/00Selective content distribution, e.g. interactive television or video on demand [VOD]
    • H04N21/40Client devices specifically adapted for the reception of or interaction with content, e.g. set-top-box [STB]; Operations thereof
    • H04N21/43Processing of content or additional data, e.g. demultiplexing additional data from a digital video stream; Elementary client operations, e.g. monitoring of home network or synchronising decoder's clock; Client middleware
    • H04N21/436Interfacing a local distribution network, e.g. communicating with another STB or one or more peripheral devices inside the home
    • H04N21/4363Adapting the video stream to a specific local network, e.g. a Bluetooth® network
    • H04N21/43637Adapting the video stream to a specific local network, e.g. a Bluetooth® network involving a wireless protocol, e.g. Bluetooth, RF or wireless LAN [IEEE 802.11]
    • HELECTRICITY
    • H04ELECTRIC COMMUNICATION TECHNIQUE
    • H04NPICTORIAL COMMUNICATION, e.g. TELEVISION
    • H04N21/00Selective content distribution, e.g. interactive television or video on demand [VOD]
    • H04N21/40Client devices specifically adapted for the reception of or interaction with content, e.g. set-top-box [STB]; Operations thereof
    • H04N21/43Processing of content or additional data, e.g. demultiplexing additional data from a digital video stream; Elementary client operations, e.g. monitoring of home network or synchronising decoder's clock; Client middleware
    • H04N21/438Interfacing the downstream path of the transmission network originating from a server, e.g. retrieving encoded video stream packets from an IP network
    • H04N21/4385Multiplex stream processing, e.g. multiplex stream decrypting
    • H04N21/43853Multiplex stream processing, e.g. multiplex stream decrypting involving multiplex stream decryption
    • HELECTRICITY
    • H04ELECTRIC COMMUNICATION TECHNIQUE
    • H04WWIRELESS COMMUNICATION NETWORKS
    • H04W12/00Security arrangements; Authentication; Protecting privacy or anonymity
    • H04W12/02Protecting privacy or anonymity, e.g. protecting personally identifiable information [PII]
    • HELECTRICITY
    • H04ELECTRIC COMMUNICATION TECHNIQUE
    • H04WWIRELESS COMMUNICATION NETWORKS
    • H04W12/00Security arrangements; Authentication; Protecting privacy or anonymity
    • H04W12/03Protecting confidentiality, e.g. by encryption
    • HELECTRICITY
    • H04ELECTRIC COMMUNICATION TECHNIQUE
    • H04WWIRELESS COMMUNICATION NETWORKS
    • H04W12/00Security arrangements; Authentication; Protecting privacy or anonymity
    • H04W12/06Authentication
    • H04W12/069Authentication using certificates or pre-shared keys
    • GPHYSICS
    • G09EDUCATION; CRYPTOGRAPHY; DISPLAY; ADVERTISING; SEALS
    • G09GARRANGEMENTS OR CIRCUITS FOR CONTROL OF INDICATING DEVICES USING STATIC MEANS TO PRESENT VARIABLE INFORMATION
    • G09G2370/00Aspects of data communication
    • G09G2370/12Use of DVI or HDMI protocol in interfaces along the display data pipeline
    • GPHYSICS
    • G09EDUCATION; CRYPTOGRAPHY; DISPLAY; ADVERTISING; SEALS
    • G09GARRANGEMENTS OR CIRCUITS FOR CONTROL OF INDICATING DEVICES USING STATIC MEANS TO PRESENT VARIABLE INFORMATION
    • G09G2370/00Aspects of data communication
    • G09G2370/16Use of wireless transmission of display information
    • GPHYSICS
    • G09EDUCATION; CRYPTOGRAPHY; DISPLAY; ADVERTISING; SEALS
    • G09GARRANGEMENTS OR CIRCUITS FOR CONTROL OF INDICATING DEVICES USING STATIC MEANS TO PRESENT VARIABLE INFORMATION
    • G09G5/00Control arrangements or circuits for visual indicators common to cathode-ray tube indicators and other visual indicators
    • G09G5/003Details of a display terminal, the details relating to the control arrangement of the display terminal and to the interfaces thereto
    • G09G5/006Details of the interface to the display terminal
    • HELECTRICITY
    • H04ELECTRIC COMMUNICATION TECHNIQUE
    • H04LTRANSMISSION OF DIGITAL INFORMATION, e.g. TELEGRAPHIC COMMUNICATION
    • H04L2209/00Additional information or applications relating to cryptographic mechanisms or cryptographic arrangements for secret or secure communication H04L9/00
    • H04L2209/60Digital content management, e.g. content distribution
    • HELECTRICITY
    • H04ELECTRIC COMMUNICATION TECHNIQUE
    • H04LTRANSMISSION OF DIGITAL INFORMATION, e.g. TELEGRAPHIC COMMUNICATION
    • H04L2209/00Additional information or applications relating to cryptographic mechanisms or cryptographic arrangements for secret or secure communication H04L9/00
    • H04L2209/80Wireless
    • HELECTRICITY
    • H04ELECTRIC COMMUNICATION TECHNIQUE
    • H04LTRANSMISSION OF DIGITAL INFORMATION, e.g. TELEGRAPHIC COMMUNICATION
    • H04L9/00Cryptographic mechanisms or cryptographic arrangements for secret or secure communications; Network security protocols
    • H04L9/32Cryptographic mechanisms or cryptographic arrangements for secret or secure communications; Network security protocols including means for verifying the identity or authority of a user of the system or for message authentication, e.g. authorization, entity authentication, data integrity or data verification, non-repudiation, key authentication or verification of credentials
    • H04L9/3271Cryptographic mechanisms or cryptographic arrangements for secret or secure communications; Network security protocols including means for verifying the identity or authority of a user of the system or for message authentication, e.g. authorization, entity authentication, data integrity or data verification, non-repudiation, key authentication or verification of credentials using challenge-response
    • H04L9/3273Cryptographic mechanisms or cryptographic arrangements for secret or secure communications; Network security protocols including means for verifying the identity or authority of a user of the system or for message authentication, e.g. authorization, entity authentication, data integrity or data verification, non-repudiation, key authentication or verification of credentials using challenge-response for mutual authentication

Landscapes

  • Engineering & Computer Science (AREA)
  • Signal Processing (AREA)
  • Computer Networks & Wireless Communication (AREA)
  • Multimedia (AREA)
  • Computer Security & Cryptography (AREA)
  • Theoretical Computer Science (AREA)
  • Two-Way Televisions, Distribution Of Moving Picture Or The Like (AREA)
  • Mobile Radio Communication Systems (AREA)
  • Facsimile Transmission Control (AREA)

Abstract

【課題】無線通信においても機器同士の認証を行って、送信機器と受信機器を任意に組み合わせることを可能とする。
【解決手段】データ送信装置100に備わる、機器情報取得部112は接続されている機器情報を取得し、検証部114は機器情報取得部112により取得された機器情報に基づいて、データ受信装置200aの正当性を検証し、制御部104は無線通信部118を介して機器情報を取得させるか有線通信部120を介して機器情報を取得させるか否か、検証部114によりデータ受信装置200aが正当であるとことが検証された場合に第1暗号化部106により暗号化された画像情報を無線通信部118により送信させるか第2暗号化部108により暗号化された画像情報を有線通信部120により送信させるか否かを制御する。
【選択図】図2

Description

本発明は、データ送信装置、データ受信装置、データ送信方法およびデータ受信方法に関し、特に、無線通信において機器の正当性を検証するデータ送信装置、データ受信装置、データ送信方法およびデータ受信方法に関する。
従来、音楽コンテンツ、映像コンテンツ等の著作権の保護を目的に、例えばHDMI(High−Definition
Multimedia Interface)等の種々のプロトコルが提案されている。コンテンツの保護方式としては、例えばHDCP(High−bandwidth Digital
Content Protection system)が使用される。HDCP規格では、送信側と受信側の機器認証や認証のための鍵の共有方式、伝送されるコンテンツの暗号方式などが規定されている。
HDCP規格などの認証においては、公開鍵暗号により通信相手の装置を個別に認証するためのデバイス鍵が利用されている。送信装置と受信装置の間で認証が成功すると、送信装置はデバイス鍵を用いて映像信号を暗号化して送信し、受信装置はデバイス鍵を用いて受信された映像信号を復号する。
また、HDCP規格においては、上記の認証処理が実施されるとともに、受信装置が不正な機器か否かを判断するいわゆるRevocation処理(以下、リボケーション処理と称する。)が実施される。リボケーション処理により、受信装置が不正な機器ではないことが判断されたのちに、初めて暗号化伝送が可能となる。
ところで、画像信号を無線で送信する機器の場合においても、記録再生装置等のSource機器(以下、ソース機器と称する。)と無線機器(データ送信装置)、無線機器(データ受信装置)とディスプレイ等のSink機器(以下、シンク機器と称する。)がそれぞれHDMI等を用いてセキュアに接続されている場合は、各機器に収納されたセキュリティ情報を用いて機器同士が相互に正規の機器であるかを判別できる。これにより、異なる送受信機器間での信号伝送を許容することが可能となる。
特開2003−37591号公報 特開2006−128963号公報
しかし、例えば、データ受信装置がディスプレイ等に埋め込まれ、受信側にHDCP等のセキュリティ情報が収納されていない場合には、必ず特定のデータ送信装置と対にして使用しなければ不正コピーからコンテンツを保護することができず、使い勝手が悪いという問題があった。
また、無線通信ではDCT/Wavelet変換等を利用した方法により画像信号に応じた画像データの圧縮等を行い、転送レートを低減させて画像データを送信している。そのため、HDCPによりコンテンツデータが暗号化されると、コンテンツデータを復号化したのちに無線通信により画像データを送信するため再度コンテンツデータを暗号化しなければならず、処理が複雑となるという問題があった。
そこで、本発明は、上記問題に鑑みてなされたものであり、本発明の目的とするところは、無線通信による暗号化をするとともに機器の正当性を検証することが可能な、新規かつ改良されたデータ送信装置、データ受信装置、データ送信方法およびデータ受信方法を提供することにある。
上記課題を解決するために、本発明のある観点によれば、入力されたコンテンツの画像情報を第1の暗号方式により暗号化する第1暗号化部と、第1暗号化部により暗号化された画像情報を無線通信により送信する無線通信部と、入力されたコンテンツの画像情報を第2の暗号方式により暗号化する第2暗号化部と、第2暗号化部により暗号化された画像情報を有線通信により送信する有線通信部と、接続されている機器情報を取得する機器情報取得部と、機器情報取得部により取得された機器情報に基づいて、データ受信装置の正当性を検証する検証部と、無線通信部を介して機器情報を取得させるか有線通信部を介して機器情報を取得させるか否か、検証部によりデータ受信装置が正当であるとことが検証された場合に第1暗号化部により暗号化された画像情報を無線通信部により送信させるか第2暗号化部により暗号化された画像情報を有線通信部により送信させるか否かを制御する制御部と、を備える、データ送信装置が提供される。
かかる構成によれば、無線通信によりデータ受信装置と接続する場合には、無線通信部を介してデータ受信装置の機器情報を取得し、データ受信装置が正当であるとことが検証された場合に第1暗号化部により暗号化された画像情報を無線通信部により送信する。また有線通信によりデータ受信装置と接続する場合には、有線通信部を介してデータ受信装置の機器情報を取得し、データ受信装置が正当であるとことが検証された場合に第2暗号化部により暗号化された画像情報を有線通信部により送信する。
これにより、無線通信においてコンテンツの画像情報を送信する場合には、通常無線通信で用いられる第1の暗号方式で暗号化することができる。また無線通信においても機器情報の正当性を検証することができる。無線通信を行う場合でも、有線入力のセキュリティ情報を利用してデータ受信装置の正当性を認証することができるため、受信側にHDCPのセキュリティ情報が収納されていない場合でも、特定の送信装置以外の機器との間で著作権を保護してコンテンツデータの送受信ができることとなる。
また、制御部は、データ受信装置と無線通信により接続されている場合に、検証部によりデータ受信装置の正当性を検証し、第1暗号化部により画像情報を暗号化してもよい。また、機器情報取得部は、外部装置から不正機器の情報を取得し、検証部は、機器情報取得部により取得された不正機器の情報に、データ受信装置の機器情報が含まれていない場合に、データ受信装置を正当な機器であると判断してもよい。
また、第1暗号化部は、コンテンツの画像情報に応じて画像情報を圧縮したのちに第1の暗号方式により暗号化してもよい。また、第2暗号化部は、コンテンツの画像情報を第2の暗号方式により暗号化したのちに暗号化されたコンテンツの画像情報をTMDS変換してもよい。
また、有線通信部は、TMDS回路によりコンテンツの画像情報を送信してもよい。 また、検証部は、HDCP規格に基づいてデータ受信装置の検証をするようにしてもよい。
また、上記課題を解決するために、本発明の別の観点によれば、接続されているデータ送信装置から無線通信によりコンテンツの画像情報を受信する無線通信部と、受信されたコンテンツの画像情報を第1の復号方式により復号化する第1復号化部と、接続されているデータ送信装置から有線通信によりコンテンツの画像情報を受信する有線通信部と、受信されたコンテンツの画像情報を第2の復号方式により復号化する第2復号化部と、接続されている機器情報を取得する機器情報取得部と、機器情報取得部により取得された機器情報に基づいて、接続されている機器の正当性を検証する検証部と、無線通信部を介して機器情報を取得させるか有線通信部を介して機器情報を取得させるか否か、検証部により接続されている機器が正当であることが検証された場合に無線通信部により画像情報を受信して第1復号化部により画像情報を復号化させるか有線通信部により画像情報を受信して第2復号化部により画像情報を復号化させるか否かを制御する制御部と、を備える、データ受信装置が提供される。
かかる構成によれば、無線通信によりデータ送信装置と接続する場合には、無線通信部を介してデータ送信装置からコンテンツの画像情報を受信し、無線通信により接続されている機器の機器情報を取得し、接続されている機器が正当であるとことが検証された場合に第1暗号化部により暗号化された画像情報を無線通信部により送信する。また有線通信によりデータ送信装置からコンテンツの画像情報を受信する場合には、有線通信部を介してデータ受信装置の機器情報を取得し、接続されている機器が正当であるとことが検証された場合に第2暗号化部により暗号化された画像情報を有線通信部により送信する。
これにより、無線通信においてコンテンツの画像情報を送受信する場合には、無線通信によりコンテンツの画像情報を受信して、通常無線通信で用いられる第1の暗号方式で暗号化することができる。また無線通信においても機器情報の正当性を検証することができる。無線通信を行う場合でも、有線入力用に装備されているセキュリティ情報を利用して接続されている機器の正当性を認証することができるため、受信側に無線用のHDCPのセキュリティ情報が収納されていない場合でも、特定の送信装置以外の機器との間で著作権を保護してコンテンツデータの送受信ができることとなる。例えば、データ受信装置から無線通信によりディスプレイ等のシンク機器にコンテンツの画像情報を送信する場合には、ディスプレイ等の有線入力のセキュリティ情報を利用してシンク機器の正当性を検証することが可能となる。
また、制御部は、機器と無線通信により接続されている場合に、検証部により機器の正当性を検証し、第1暗号化部により画像情報を暗号化してもよい。また、機器情報取得部は、外部装置から不正機器の情報を取得し、検証部は、機器情報取得部により取得された不正機器の情報に、接続されている機器の情報が含まれていない場合に、接続されている機器を正当な機器であると判断するようにしてもよい。
また、第1暗号化部は、コンテンツの画像情報に応じて画像情報を圧縮したのちに第1の暗号方式により暗号化してもよい。また、第2暗号化部は、コンテンツの画像情報を第2の暗号方式により暗号化したのちに暗号化されたコンテンツの画像情報をTMDS変換してもよい。
また、有線通信部は、TMDS回路によりコンテンツの画像情報を受信するようにしてもよい。また、検証部は、HDCP規格に基づいて接続されている機器の検証をしてもよい。
上記課題を解決するために、本発明の別の観点によれば、接続されているデータ送信装置と無線通信によりコンテンツの画像情報を受信する無線通信部と、受信したコンテンツの画像情報を第1の復号方式により復号化する第1復号化部と、接続されているデータ送信装置と有線通信によりコンテンツの画像情報を受信する有線通信部と、受信したコンテンツの画像情報を第2の復号方式により復号化する第2復号化部と、データ受信装置の機器情報を送信する機器情報送信部と、機器情報送信部により送信された機器情報に基づいてデータ送信装置により検証された、データ受信装置の正当性の検証結果を取得する検証結果取得部と、無線通信部を介して機器情報を送信させるか有線通信部を介して機器情報を送信させるか否か、検証結果取得部によりデータ受信装置が正当であるとの検証結果を取得した場合に無線通信部により画像情報を受信して第1復号化部により復号させるか有線通信部により画像情報を受信して第2復号化部により復号させるか否かを制御する制御部と、第1復号化部または第2復号化部により復号された画像情報を含む表示画面を生成する表示画面生成部と、を備える、データ受信装置が提供される。
かかる構成によれば、無線通信によりデータ送信装置と接続する場合には、無線通信によりデータ受信装置の機器情報を送信して当該データ受信装置の正当性が確認された場合に、無線通信部を介してデータ送信装置からコンテンツの画像情報を受信する。そして、第1の復号方式によりコンテンツの画像情報を復号化して、復号化された画像情報を含む表示画面が生成される。また、有線通信によりデータ送信装置と接続する場合には、有線通信によりデータ受信装置の機器情報を送信して当該データ送信装置の正当性が確認された場合に、有線通信部を介してデータ送信装置からコンテンツの画像情報を受信する。そして、第2の復号方式によりコンテンツの画像情報を復号化して、復号化された画像情報を含む表示画面が生成される。
これにより、無線通信においてコンテンツの画像情報を送受信する場合には、無線通信によりコンテンツの画像情報を受信して、通常無線通信で用いられる第1の復号方式で復号化することができる。また、無線通信を行う場合でも、有線入力用のセキュリティ情報を利用して接続されている機器の正当性を認証することができるため、受信側に無線用HDCPのセキュリティ情報が収納されていない場合でも、特定の送信装置以外の機器との間で著作権を保護してコンテンツデータの送受信ができることとなる。例えば、データ受信装置と表示装置とが一体となっている場合には、表示装置等の有線入力のセキュリティ情報を利用してデータ受信装置の正当性を検証することが可能となる。
また、表示画面生成部は、データ受信装置に組み込まれた表示装置に備えられ、機器情報送信部は、表示装置の機器情報を送信し、検証結果取得部は、表示装置の機器情報に基づいてデータ送信装置により検証された、データ受信装置の正当性の検証結果を取得するようにしてもよい。
また、第1の復号方式は、無線通信によりコンテンツの画像情報を送信する場合に用いられる復号方式であってもよい。第2の復号方式は、有線通信で送信されたコンテンツの画像情報をHDCP規格により復号する復号方式であってもよい。
有線通信部は、TMDS回路によりコンテンツの画像情報を受信するようにしてもよい。検証結果取得部は、HDCP規格に基づいて検証されたデータ受信装置の正当性の検証結果を取得してもよい。
また、上記課題を解決するために、本発明の別の観点によれば、入力されたコンテンツの画像情報を第1の暗号方式により暗号化するステップと、入力されたコンテンツの画像情報を第2の暗号方式により暗号化するステップと、無線通信によりコンテンツの画像情報を受信する無線通信部を介して接続されている機器の機器情報を取得させるか、有線通信によりコンテンツの画像情報を受信する有線通信部を介して機器情報を取得させるか否かを制御するステップと、接続された機器の機器情報を取得するステップと、取得された機器情報に基づいて、データ受信装置の正当性を検証するステップと、データ受信装置が正当であるとことが検証された場合に第1の暗号方式により暗号化された画像情報を無線通信部により送信させるか第2の暗号方式により暗号化された画像情報を有線通信部により送信させるか否かを制御するステップと、を含む、データ送信方法が提供される。
また、上記課題を解決するために、本発明の別の観点によれば、データ送信装置から受信したコンテンツの画像情報を第1の復号方式により復号化するステップと、データ送信装置から受信したコンテンツの画像情報を第2の復号方式により復号化するステップと、無線通信によりコンテンツの画像情報を受信する無線通信部を介して接続された機器の機器情報を取得させるか、有線通信によりコンテンツの画像情報を受信する有線通信部を介して機器情報を取得させるか否かを制御するステップと、接続された機器の情報を取得するステップと、取得された機器情報に基づいて、接続されている機器の正当性を検証するステップと、接続されている機器が正当であるとことが検証された場合に無線通信部により受信して第1の復号方式により復号化させるか有線通信部により受信して第2の復号方式により復号化させるか否かを制御するステップと、を含む、データ受信方法が提供される。
また、上記課題を解決するために、本発明の別の観点によれば、データ送信装置から受信したコンテンツの画像情報を第1の復号方式により復号化するステップと、データ送信装置から受信したコンテンツの画像情報を第2の復号方式により復号化するステップと、無線通信によりコンテンツの画像情報を受信する無線通信部を介してデータ受信装置の機器情報を送信させるか、有線通信によりコンテンツの画像情報を受信する有線通信部を介して機器情報を送信させるか否かを制御するステップと、機器情報を送信するステップと、送信された機器情報に基づいてデータ送信装置により検証された、データ受信装置の正当性の検証結果を取得するステップと、データ受信装置が正当であるとの検証結果を取得した場合に無線通信部により画像情報を受信して第1復号化部により復号させるか有線通信部により画像情報を受信して第2復号化部により復号させるか否かを制御するステップと、第1復号化部または第2復号化部により復号された画像情報を含む表示画面を生成するステップと、を含む、データ受信方法が提供される。
以上説明したように本発明によれば、無線通信による暗号化をするとともに機器の正当性を検証することができる。
以下に添付図面を参照しながら、本発明の好適な実施の形態について詳細に説明する。なお、本明細書及び図面において、実質的に同一の機能構成を有する構成要素については、同一の符号を付することにより重複説明を省略する。
まず、本発明の実施形態にかかるデータ送受信システムの概要について説明する。図1(a)および(b)は、本実施形態にかかるデータ送受信システム1および2の構成例を示した説明図である。図1(a)に示したように、データ送受信システム1は、記録再生装置等のソース機器400と、データ送信装置100と、データ受信装置200と、ディスプレイ等のシンク機器300などを含んで構成される。また、図1(b)に示したように、データ送受信システム2は、記録再生装置等のソース機器400と、データ受信装置100と、ディスプレイ等のシンク機器(データ受信も行う)500などを含んで構成される。
ソース機器400は、テレビ番組や映画などのコンテンツを記録、再生する装置であって、HDCP(High−bandwidth
Digital Content Protection system)等のコンテンツ保護方式を利用して、ソース機器400の出力装置からコンテンツデータを出力させる機能を有する。ここで、ソース機器400とデータ送信装置100とは、例えばHDMI(High−Definition
Multimedia Interface)等のインタフェース規格に対応し、TMDS(Transithion Minimized Differential Signaling)等の伝送方式によりコンテンツデータを送信している。
データ送受信システム1においては、データ送信装置100は、データ受信装置200と無線通信により接続されており、データ送信装置100から暗号化されたコンテンツデータがデータ受信装置200に送信される。そして、データ受信装置200により受信されたコンテンツデータが、有線接続されたテレビのディスプレイ等のシンク機器300に表示される。
また、データ送受信システム2においても同様に、ソース機器400からデータ受信装置200を介してコンテンツデータが出力される。データ送信装置100とデータ受信も行うシンク機器500とは無線通信により接続されており、データ送信装置100から暗号化されたコンテンツデータが送信され、シンク機器500によりコンテンツデータが受信されて同機器内のディスプレイ等に表示される。
上記したように、ソース機器400とデータ受信装置100とはHDCP等のコンテンツ保護方式を利用してコンテンツデータの送信等を行っている。上記HDCP規格では、送信側と受信側の機器認証や認証のための鍵共有方式、伝送されるコンテンツの暗号方式などが規定されている。また、HDCP規格の認証においては、公開鍵暗号により通信相手の装置を個別に認証するためのデバイス鍵が利用されている。送信装置と受信装置の間で認証が成功すると、送信装置はデバイス鍵を用いて映像信号を暗号化して送信し、受信装置はデバイス鍵を用いて受信された映像信号を復号する。
さらに、HDCP規格においては、上記の認証処理が実施されるとともに、受信装置が不正な機器か否かを判断するいわゆるRevocation処理(以下、リボケーション処理と称する。)が実施される。リボケーション処理により、受信装置が不正な機器ではないことが判断されたのちに、初めて暗号化伝送が可能となる。
図1(a)において、ソース機器400とデータ送信装置100の間だけでなく、データ受信装置200とシンク機器300とがそれぞれHDMI等を用いてセキュアに接続されている場合は、各機器に収納されたセキュリティ情報を用いて機器同士が相互に正規の機器であるかを判別できる。これにより、異なる送受信機器間での信号伝送を許容することが可能となる。
しかし、図1(b)に示したように、データ受信装置がディスプレイ等に埋め込まれており、シンク機器500のHDCP等のセキュリティ情報が利用できない場合においては、特定のデータ送信装置と対にして使用しなければ不正コピーを保護することができず、使い勝手が悪かった。また、無線通信ではDCT/Wavelet変換等により画像信号に応じた画像データの圧縮等を行い、転送レートを低減させて画像データを送信している。そのため、HDCPによりコンテンツデータが暗号化されると、コンテンツデータを復号化したのちに無線通信により画像データを送信するため再度コンテンツデータを暗号化しなければならなかった。
通常、ディスプレイ等のシンク機器500には無線での入力のほかに有線入力が備えられている。そこで、本実施形態においては、有線入力のセキュリティ情報を利用してデータ受信装置200およびシンク機器500が正規の機器であることを認証する。有線入力のセキュリティ情報を利用することにより、無線通信においてもHDCPのリボケーション処理を行うことが可能となる。これにより、無線通信においてもHDCPによる機器の正当性の検証をすることができるため、受信側にHDCPのセキュリティ情報が収納されていない場合でも、特定の送信装置以外の機器との間で著作権を保護してコンテンツデータの送受信ができることとなる。
以上、データ送受信システム1および2の概要を説明した。まず、データ送受信システム2について説明する。まず、図2を参照してデータ送受信システム2の機能構成について説明する。
図2は、データ送信装置100およびデータ受信も行うシンク機器500のデータ受信部分の機能構成を示すブロック図である。本実施形態においては、データ送信装置100とデータ受信装置500とは無線通信または有線通信により接続することができる。また、データ送信装置100にはコンテンツの画像情報が入力される。データ受信装置500は、同機器内のシンク機器500に画像情報が入力される。
図2に示したように、データ送信装置100は、切替部102、制御部104、第1暗号化部106、第2暗号化部108、HDCP認証処理部110、機器情報取得部112、検証部114、記憶部116、無線通信部118、有線通信部120、切替部122、などを備える。データ受信装置500は、切替部502、制御部504、第1暗号化部506、第2暗号化部508、HDCP認証処理部510、機器情報取得部512、検証部514、記憶部516、無線通信部518、有線通信部520、切替部522、などを備える。
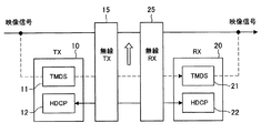
ここで、データ送信装置100およびデータ受信装置500の機能構成の詳細を説明する前に、図3を参照して、HDCP規格における認証処理およびリボケーション処理について説明する。図3に示したように、コンテンツデータを送信する装置であるTX10とコンテンツデータを受信する装置であるRX10とがHDMI接続されている。通常のHDMI接続においては、画像信号を伝送するためのTMDS信号の経路と、HDCPの認証情報等を伝送するためのDDC信号の経路とがある。
HDMI接続されたTX10とRX10においては、HDCP規格による認証処理等を行っている。すなわち、HDCP規格では、以下の(1)〜(3)の処理を行うことによりコンテンツデータの著作権保護を実現している。
(1)TX10とRX10との間の認証および共有鍵の共有
(2)共有鍵によるコンテンツデータの暗号/復号
(3)KSVによるリボケーション処理
上記(1)においては、TX10とRX10に予め与えられた秘密鍵を利用して、TX10とRX10との間で相互に認証を行うとともに、データを暗号化するのに必要な共有鍵をTX10とRX10とで共有する。共有鍵は、HDCP規格による認証処理の過程で、直接接続された機器間でのみ共有される。
上記(2)では、(1)の処理において共有した共有鍵を使用してTX10でデータを暗号化してTMDSにより伝送し、RX10で共有鍵を用いてデータを復号する。
上記(3)では、HDCPにおいて各機器の秘密鍵に応じて一意に定まるKSV(Key Selection Vector)を用いてRX10が不正な機器か否かを判断するいわゆるリボケーション処理を行う。具体的には、RX10は自身のKSVをTX10に送信し、TX10は不正な機器のKSVのリストをソース機器等から取得する。そして、TX10は、取得したKSVのリストにRX10のKSVが含まれているか否かを検証する。そして、KSVのリストにRX10のKSVが含まれている場合にはRX10を不正を行った機器と見なして、コンテンツデータをRX10に送信しないようにする。
したがって、図3に示したTX10からRX20へのTMDS11によるコンテンツデータの伝送は、HDCPによるリボケーション処理も含めた認証処理が成功したのちに行われる。これにより、コンテンツデータを不正な機器に送信することを防ぐことができるため、コンテンツデータの著作権を保護することが可能となる。以上、HDCP規格における認証処理およびリボケーション処理について説明した。
次に図4を参照して、無線通信によりコンテンツデータが送受信される場合について説明する。無線通信でコンテンツデータを送受信する場合には、無線通信によりデータを送信する無線TX15および無線通信によりデータを受信する無線RX25を介してコンテンツデータの送受信が行われる。無線TX15と無線RX25との間は、通常、TMDS信号に施されているのと同等の暗号強度での変調がなされている。また、無線通信により画像情報等を送信する場合には、DCT/Wavelet変換等を利用した方法により画像信号に応じた画像データの圧縮等を行い、転送レートを低減させて送信している。したがって、HDCPによりコンテンツデータが暗号化されると、コンテンツデータを復号化したのちに無線通信により画像データを送信するため再度コンテンツデータを暗号化しなければならず、処理が複雑となってしまう。
一方、HDCP規格においては、TMDS信号経路と同等の暗号強度が確保されている場合には、TMDS信号経路を伝送する必要はないこととなっている。そこで、無線通信によりコンテンツデータを送受信する場合には、TMDS11およびTMDS21によるデータの送受信は行わずに、無線TX15および無線RX25によるデータの送受信を行えば、上記した複雑な暗号/復号処理を行わなくてもよいこととなる。
しかしながら、無線通信によりTMDS信号経路と同等の暗号強度が確保されたとしても、上記したHDCPによるリボケーション処理を行わなければコンテンツを保護することができない。リボケーション処理を行わない場合には、無線RX25がコンテンツデータの受信を許可されていない不正な機器であっても、コンテンツデータが送信されてしまう。そこで、不正な機器であるか否かについては、HDCPによるリボケーション処理を利用することにより、無線通信においてもコンテンツを保護することが可能となる。
例えば、無線RX25がディスプレイ等に埋め込まれ、無線RX25にHDCP等のセキュリティ情報が収納されていない場合には、上記のリボケーション処理を行うことができずに、必ず特定のTX15と対にして使用しなければ不正コピーからコンテンツを保護することができなかった。しかし、ディスプレイ等に収納されたセキュリティ情報を用いてリボケーション処理をすれば、無線通信による暗号化を利用し、かつ、リボケーション処理を行うことができる。これにより、無線通信においても機器同士の認証を行って、送信機器と受信機器とを任意に組み合わせることが可能となる。以上、無線通信によりコンテンツデータが送受信される場合について説明した。
図2に戻り、第1暗号化部106は、入力されたコンテンツの画像情報を第1の暗号方式により暗号化する機能を有する。第1の暗号方式は、無線通信によりコンテンツデータ(画像情報)を送信する場合に用いられる暗号方式であって、上記したTMDSと同等の暗号強度が確保されている。また、第1暗号化部106は、入力されたコンテンツの画像情報に応じて、画像情報を圧縮したのちに第1の暗号方式により暗号化するようにしてもよい。画像情報の圧縮には、例えば、DCT/Wavelet変換(時間周波数成分変換)などを利用した方法を用いることができる。
第2暗号化部108は、入力されたコンテンツの画像情報を第2の暗号方式により暗号化する機能を有する。第2の暗号方式は、HDCP規格による暗号化であって、具体的には、認証処理の過程で直接接続された機器間でのみ共有される共有鍵を用いた暗号化である。また、第2暗号化部108は、暗号化されたコンテンツの画像情報をTMDS変換してもよい。さらに、第2暗号化部108は、HDCP認証処理部110による認証処理と同期するようにしてもよい。具体的には、HDCP認証処理部110による認証が成功したのちに第2の暗号方式により暗号化する。
無線通信部118は、例えば、無線LAN(Local Area Network)対応の通信装置やワイヤレスUSB対応の通信装置などの通信インタフェースである。無線通信部118は、第1暗号化部106により暗号化された画像情報を無線通信により送信する機能を有する。
有線通信部120は、例えば、有線による通信を行うワイヤー通信装置などの通信インタフェースであって、HDMI規格に対応した有線接続部などを例示できる。有線通信部120は、第2暗号化部により暗号化された画像情報を有線通信により送信する機能を有する。
HDCP認証処理部110は、上記したHDCP規格による機器の認証を行う。HDCP認証処理部110は、機器情報取得部112、検証部114などを含む。機器情報取得部112は、データ送信装置100に接続されている機器情報を取得する機能を有する。機器情報とは、上記したように、各機器の秘密鍵に応じて一意に定まるKSVである。KSVは画像情報を送信するデータ受信装置200やその先に接続された機器から取得する。
ソース機器400は、データ送信装置100により取得された機器情報に基づいて、データ受信装置200やその先に接続された機器の正当性を検証する機能を有する。具体的には、上記した不正な機器のKSVリストにデータ受信装置200等のKSVが含まれているか否かによりデータ受信装置200等の正当性を検証する。その結果に基づいて出力の可否を決定する。
制御部104は、切替部102または切替部122の切り替えを制御して、無線通信部118を利用してデータを送受信するか、有線通信部120を利用してデータを送受信するか否かを制御する機能を有する。具体的には、切替部122を切り替えて、データ受信装置200aと無線通信する場合には、機器情報取得部112により取得する機器情報を、無線通信部118を介して取得する。また、データ受信装置200aと有線通信する場合には、有線通信部120を介して機器情報を取得するように切替部122を切り替える。
検証部114によりデータ受信装置200aが正当な機器であることが検証された場合には、切替部122を切り替えて、無線通信部118または有線通信部120を介して暗号化された画像情報をデータ受信装置200aに送信させる。また、切替部102の切り替えを制御して、データ受信装置200aと無線通信する場合には第1暗号化部106により画像情報を暗号化し、データ受信装置200aと有線通信する場合には第2暗号化部108により画像情報を暗号化するようにしてもよい。
記憶部116は、例えば、EEPROM(Electrically Erasable Programmable Read−Only Memory)、EPROM(Erasable Programmable Read Only Memory)などの不揮発性メモリを例示できる。記憶部116には、HDCP認証処理部110により取得されたデータ受信装置200aのKSVや不正な機器のKSVリスト等を記憶することができる。
以上、データ送信装置100の機能構成について説明した。次に、データ受信装置200の機能構成について説明する。無線通信部218は、例えば、無線LAN対応の通信装置やワイヤレスUSB対応通信装置などの通信インタフェースである。無線通信部218は、データ送信装置100から無線通信により送信されるコンテンツの画像情報を受信する機能を有する。
有線通信部220は、例えば、有線による通信を行うワイヤー通信装置などの通信インタフェースであって、HDMI規格に対応した有線接続部などを例示できる。有線通信部220は、データ送信装置100から有線通信により送信されるコンテンツの画像情報を受信する機能を有する。
第1暗号化部206は、無線通信部218により受信されたコンテンツの画像情報を第1の暗号方式により暗号化する機能を有する。第1の暗号方式は、無線通信によりコンテンツデータ(画像情報)を送信する場合に用いられる暗号方式であって、上記したTMDSと同等の暗号強度が確保されている。また、第1暗号化部206は、入力されたコンテンツの画像情報に応じて、画像情報を圧縮したのちに第1の暗号方式により暗号化するようにしてもよい。画像情報の圧縮には、例えば、DCT/Wavelet変換(時間周波数成分変換)などを用いることができる。
第2暗号化部208は、有線通信部220により受信されたコンテンツの画像情報を第2の暗号方式により暗号化する機能を有する。第2の暗号方式は、HDCP規格による暗号化であって、具体的には、認証処理の過程で直接接続された機器間でのみ共有される共有鍵を用いた暗号化である。また、第2暗号化部208は、暗号化されたコンテンツの画像情報をTMDS変換してもよい。さらに、第2暗号化部208は、HDCP認証処理部210による認証処理と同期するようにしてもよい。具体的には、HDCP認証処理部210による認証が成功したのちに第2の暗号方式により暗号化する。
HDCP認証処理部210は、上記したHDCP規格による機器の認証およびリボケーション処理などを行う。HDCP認証処理部210は、データ受信装置200に接続されている機器情報を取得する機能を有する。機器情報とは、上記したように、各機器の秘密鍵に応じて一意に定まるKSVである。KSVは画像情報を送信するシンク機器等から取得する情報である。
制御部204は、切替部202または切替部222の切り替えを制御して、無線通信部218を利用してデータを送受信するか、有線通信部220を利用してデータを送受信するか否かを制御する機能を有する。具体的には、切替部222を切り替えて、データ送信装置100と無線通信する場合には、機器情報取得部212により取得する機器情報を、無線通信部218を介して取得する。またデータ送信装置100と有線通信する場合には、有線通信部220を介して機器情報を取得するように切替部222を切り替える。
次に、図5〜図8を参照して、データ送受信システム2におけるデータ送受信方法について説明する。図5は、データ送受信システム1におけるデータ送受信方法を示すフローチャートである。図5に示したように、データ送受信システム2におけるデータ送受信方法は、無線通信による接続処理(S100)が行われたのちに、HDCPによる認証処理(S200)が行われる。そして、HDCPによる認証処理(S200)が行われたのちに、画像情報送信処理(S300)が行われる。次に、無線通信による接続処理(S100)、HDCPによる認証処理(S200)、画像情報送信処理(S300)の各処理の詳細を説明する。
まず、図6を参照して、データ送受信システム2における無線通信による接続処理について説明する。図6は、データ送受信システム2における無線通信による接続処理を示すタイミングチャートである。図6に示したように、データ送信装置100とデータ受信装置を備えたシンク機器500との間で無線通信による接続処理が行われる。まず、データ受信装置を備えたシンク機器500からデータ送信装置100に対して無線通信により接続を開始する旨の通知がなされる(S102)。ステップS102においてデータ受信装置200から接続開始通知がなされたデータ送信装置100は、接続開始に対して応答(ACK)する(S104)。
ステップS104において、データ送信装置100から接続開始に対する応答を受信したデータ受信装置を備えたシンク機器500は、データ受信装置を備えたシンク機器500の認証情報を送信する(S106)。ステップS106においてデータ受信装置を備えたシンク機器500から認証情報を送信されたデータ送信装置100は、データ送信装置100の認証情報を送信する(S108)。ステップS106およびステップS108において送受信される各機器の認証情報は、例えば、各機器の識別情報や、各機器の識別情報に基づいて算出された情報である。
そして、ステップS106およびステップS108の各機器の認証情報に基づいて、データ送信装置100とデータ受信装置を備えたシンク機器500との認証が行われる(S110)。以上、データ送受信システム2における無線通信による接続処理について説明した。ステップS110において、データ送信装置100とデータ受信装置を備えたシンク機器500との間で認証が成功した場合には、HDCPによる認証処理(S200)が行われる。以上、データ送受信システム2における無線通信による接続処理について説明した。
次に図7を参照して、データ送受信システム2におけるHDCPによる認証処理について説明する。図7は、データ送受信システム2におけるHDCPによる認証処理を示すタイミングチャートである。図7に示したように、ソース機器400からデータ送信装置100の受信側に対して、HDCPによる認証開始の通知がなされる(S202)。ステップS202において認証開始の通知がなされる前にHotPlugDetect要求がデータ受信装置100を介してシンク機器500からソース機器400に伝達される。ステップS202においてソース機器400からHDCPによる認証開始の通知ソース機器400は、認証情報およびKSVを取得する(S204)。
そして、データ受信装置200の受信側は、データ送信装置100に後段のHDCPの認証要求をする(S206)。ステップS206においてデータ送信装置100の受信側から認証要求をされたデータ送信装置100の送信側は、シンク機器500にHDCPによる認証開始の通知をする(S210)。ステップS210においてデータ受信装置200から認証開始の通知をされたシンク機器500は、シンク機器500の認証情報およびKSVを取得する(S212)。
そして、データ送信装置100の送信側は、データ送信装置100の受信側に対してKSVを伝達する(S214)。そして、ソース機器400は、データ送信装置100の受信側のKSVリストを取得する(S216)。KSVリストは、上記したように、不正な機器のKSVリストである。そして、ソース機器400は、KSVリストの照合を行う(S218)。
以上、データ送受信システム2におけるHDCPによる認証処理について説明した。ステップS218において、ソース機器400によりコンテンツの画像情報を送信する送信先が正当な機器であると判断された場合に、画像情報送信処理(S300)が行われる。
次に、図8を参照して、データ送受信システム2における画像情報送信処理について説明する。図8は、データ送受信システム2における画像情報送信処理を示すタイミングチャートである。図8に示したように、ソース機器400は、上記のステップS218において正当な機器であると判断されたデータ送信装置100の受信側に暗号化された画像情報を送信する(S302)。ステップS302においてソース機器400から画像情報を送信されたデータ送信装置100の受信側は、DCT/Wavelet変換等の画像情報変換を行う(S304)。そして、ステップS304において変換された画像情報を無線通信により送信するため暗号化する(S306)。ステップS306において暗号化された画像情報を、データ送信装置100の送信側に伝達する(S308)。
ステップS308においてデータ送信装置100の送信側から無線通信により画像情報を送信されたデータ受信装置500は、DCT/Wavelet変換等の画像情報変換を行う(S310)。そして、ステップS310において変換された画像情報を無線通信により送信するため暗号化する(S312)。ステップS306において暗号化された画像情報を、シンク機器500に送信する(S314)。データ送信装置100とシンク機器500とが有線接続されている場合には、ステップS308において送信された画像情報がHDCP規格による暗号化がなされたのちにTDMS変換がなされる。その後、TDMS信号の経路でシンク機器に送信される。以上、データ送受信システム2における画像情報送信処理について説明した。
以上、第1実施形態にかかるデータ送受信システム2について説明した。データ送受信システム2によれば、ソース機器400から出力されたコンテンツの画像情報は、無線通信によりシンク機器500と接続する場合には、HDCPのリボケーション処理によりシンク機器500の正当性を確認したうえで、コンテンツの画像情報を無線通信により送信するために暗号化し、無線接続されたシンク機器500に送信する。
本実施形態においては、データ送信装置100に有線出力が備えられているため、無線通信により接続されたデータ受信装置500についてもHDCPのリボケーション処理を行うことが可能となる。同様に、シンク機器500にも有線入力が備えられているため、シンク機器500についてもHDCPのリボケーション処理を行うことが可能となる。これにより、無線通信においても機器同士の認証を行って、送信機器と受信機器を任意に組み合わせることができる。すなわち、受信装置またはシンク機器にHDCPのセキュリティ情報が収納されていない場合においても、特定の送信装置以外の機器との間でも著作権を保護してコンテンツデータの送受信ができることとなる。
(第2の実施形態)
第2実施形態では、図1(a)に示したデータ送受信システム1について説明する。データ送受信システム1においては、データ送信装置100とデータ受信装置200とは無線通信または有線通信により接続することができる。また、データ送信装置100はソース機器400と有線接続されて、コンテンツの画像情報が入力される。データ受信装置200aは、シンク機器300と無線または有線接続されて、データ受信装置200aからシンク機器300にコンテンツの画像情報が入力される。
本実施形態においても、ソース機器400においてリボケーションの判定がなされるため、データ送信装置100を介してデータ送信装置100に接続されているデータ受信装置200およびシンク機器300のKSVがソース機器400に送信される。
図9に示したように、データ送信装置100は、切替部102、制御部104、第1暗号化部106、第2暗号化部108、HDCP認証処理部110、無線通信部118、有線通信部120、切替部122、などを備える。データ受信装置200aは、切替部202、制御部204、第1暗号化部206、第2暗号化部208、HDCP認証処理部210、機器情報取得部212、検証部214、無線通信部218、有線通信部220、切替部222、などを備える。
第1暗号化部106は、入力されたコンテンツの画像情報を第1の暗号方式により暗号化する機能を有する。第1の暗号方式は、無線通信によりコンテンツデータ(画像情報)を送信する場合に用いられる暗号方式であって、上記したTMDSと同等の暗号強度が確保されている。また、第1暗号化部106は、入力されたコンテンツの画像情報に応じて、画像情報を圧縮したのちに第1の暗号方式により暗号化するようにしてもよい。画像情報の圧縮には、例えば、DCT/Wavelet変換(時間周波数成分変換)などを用いることができる。
第2暗号化部108は、入力されたコンテンツの画像情報を第2の暗号方式により暗号化する機能を有する。第2の暗号方式は、HDCP規格による暗号化であって、具体的には、認証処理の過程で直接接続された機器間でのみ共有される共有鍵を用いた暗号化である。また、第2暗号化部108は、暗号化されたコンテンツの画像情報をTMDS変換してもよい。さらに、第2暗号化部108は、HDCP認証処理部110による認証処理と同期するようにしてもよい。具体的には、HDCP認証処理部110による認証が成功したのちに第2の暗号方式により暗号化する。
無線通信部118は、例えば、無線LAN対応の通信装置やワイヤレスUSB対応通信装置などの通信インタフェースである。無線通信部118は、第1暗号化部106により暗号化された画像情報を無線通信により送信する機能を有する。
有線通信部120は、例えば、有線による通信を行うワイヤー通信装置などの通信インタフェースであって、HDMI規格に対応した有線接続部などを例示できる。有線通信部120は、第2暗号化部により暗号化された画像情報を有線通信により送信する機能を有する。
HDCP認証処理部110は、データ受信装置200に接続されている機器情報を取得する機能を有する。機器情報とは、上記したように、各機器の秘密鍵に応じて一意に定まるKSVである。KSVは画像情報を送信するシンク機器等から取得する情報である。
制御部104は、切替部102または切替部122の切り替えを制御して、無線通信部118を利用してデータを送受信するか、有線通信部120を利用してデータを送受信するか否かを制御する機能を有する。具体的には、切替部122を切り替えて、データ受信装置200と無線通信する場合には、機器情報取得部112により取得する機器情報を、無線通信部118を介して取得する。また、データ受信装置200と有線通信する場合には、有線通信部120を介して機器情報を取得するように切替部122を切り替える。
以上、データ送信装置100の機能構成について説明した。次に、データ受信装置200の機能構成について説明する。無線通信部218は、例えば、無線LAN対応の通信装置やワイヤレスUSB対応通信装置などの通信インタフェースである。無線通信部218は、データ送信装置500から無線通信により送信されるコンテンツの画像情報を受信する機能を有する。
有線通信部220は、例えば、有線による通信を行うワイヤー通信装置などの通信インタフェースであって、HDMI規格に対応した有線接続部などを例示できる。有線通信部220は、データ送信装置500から有線通信により送信されるコンテンツの画像情報を受信する機能を有する。
第1暗号化部206は、無線通信部218により受信されたコンテンツの画像情報を第1の暗号方式により暗号化する機能を有する。第1の暗号方式は、無線通信によりコンテンツデータ(画像情報)を送信する場合に用いられる暗号方式であって、上記したTMDSと同等の暗号強度が確保されている。また、第1暗号化部206は、入力されたコンテンツの画像情報に応じて、画像情報を圧縮したのちに第1の暗号方式により暗号化するようにしてもよい。画像情報の圧縮には、例えば、DCT/Wavelet変換(時間周波数成分変換)などを用いることができる。
第2暗号化部208は、有線通信部220により受信されたコンテンツの画像情報を第2の暗号方式により暗号化する機能を有する。第2の暗号方式は、HDCP規格による暗号化であって、具体的には、認証処理の過程で直接接続された機器間でのみ共有される共有鍵を用いた暗号化である。また、第2暗号化部208は、暗号化されたコンテンツの画像情報をTMDS変換してもよい。さらに、第2暗号化部208は、HDCP認証処理部210による認証処理と同期するようにしてもよい。具体的には、HDCP認証処理部210による認証が成功したのちに第2の暗号方式により暗号化する。
HDCP認証処理部210は、上記したHDCP規格による機器の認証を行う。HDCP認証処理部210は、データ受信装置200に接続されている機器情報を取得する機能を有する。機器情報とは、上記したように、各機器の秘密鍵に応じて一意に定まるKSVである。KSVは画像情報を送信するシンク機器等から取得する情報である。
制御部204は、切替部202または切替部222の切り替えを制御して、無線通信部218を利用してデータを送受信するか、有線通信部220を利用してデータを送受信するか否かを制御する機能を有する。具体的には、切替部222を切り替えて、データ送信装置500と無線通信する場合には、機器情報取得部212により取得する機器情報を、無線通信部218を介して取得する。また、データ送信装置500と有線通信する場合には、有線通信部220を介して機器情報を取得するように切替部222を切り替える。以上、データ受信装置200の機能構成について説明した。
第2実施形態における無線通信による接続処理、HDCPによる認証処理および画像情報送信処理については、第1実施形態にかかる無線通信による接続処理(S100)、HDCPによる認証処理(S200)、画像情報送信処理(S300)とほぼ同様であるため、詳細な説明は省略する。
第2実施形態においては、データ送信装置100の送信側とデータ受信装置200の受信側において無線通信による認証が実行される。そして、後段のHDCPの認証要求がデータ送信装置100からデータ受信装置200を介してシンク機器300に通知される。その後、シンク機器300の認証情報およびKSVがデータ受信装置200を介してデータ送信装置100に伝達される。データ送信装置100の送信側は、KSVリストを取得してソース機器400に送信する。そして、ソース機器400においてKSVリストの照合が実行されることとなる。
以上、添付図面を参照しながら本発明の好適な実施形態について詳細に説明したが、本発明はかかる例に限定されない。本発明の属する技術の分野における通常の知識を有する者であれば、特許請求の範囲に記載された技術的思想の範疇内において、各種の変更例または修正例に想到し得ることは明らかであり、これらについても、当然に本発明の技術的範囲に属するものと了解される。
例えば、上記実施形態では、切替部を設けて第1の暗号方式により暗号化するか第2の暗号方式により暗号化するか否かの切り替えを行っているが、本発明はかかる例に限定されない。例えば、第1の暗号方式および第2の暗号方式のいずれの暗号化も行って、暗号化されたコンテンツの画像情報の出力を制御するようにしてもよい。また、TMDS回路からの信号出力と無線送受信機からの信号出力を制御するようにしてもよい。
本発明の実施形態にかかるデータ送受信システムの概要を説明する説明図である。 本発明の第1実施形態にかかるデータ送信装置およびデータ受信装置の機能構成を示すブロック図である。 同実施形態にかかるHDCP規格における認証処理およびリボケーション処理について説明する説明図である。 同実施形態にかかる無線通信によりコンテンツデータが送受信される場合について説明する説明図である。 同実施形態にかかるデータ送受信方法を示すフローチャートである。 同実施形態にかかる無線通信による接続処理を示すタイミングチャートである。 同実施形態にかかるHDCPによる認証処理を示すタイミングチャートである。 同実施形態にかかる画像情報送信処理を示すタイミングチャートである。 本発明の第2の実施形態にかかるデータ送信装置およびデータ受信装置の機能構成を示すブロック図である。
符号の説明
100 データ送信装置
200 データ受信装置
102、122、202、222 切替部
104、204 制御部
106、206 第1暗号化部
108、208 第2暗号化部
112、212 機器情報取得部
114、214 検証部
118、218 無線通信部
120、220 有線通信部
300 シンク機器
400 ソース機器
500 データ送信装置を備えるシンク機器

Claims (23)

  1. 入力されたコンテンツの画像情報を第1の暗号方式により暗号化する第1暗号化部と、
    前記第1暗号化部により暗号化された画像情報を無線通信により送信する無線通信部と、
    入力されたコンテンツの画像情報を第2の暗号方式により暗号化する第2暗号化部と、
    前記第2暗号化部により暗号化された画像情報を有線通信により送信する有線通信部と、
    接続されている機器情報を取得する機器情報取得部と、
    前記機器情報取得部により取得された前記機器情報に基づいて、前記データ受信装置の正当性を検証する検証部と、
    前記無線通信部を介して前記機器情報を取得させるか前記有線通信部を介して前記機器情報を取得させるか否か、前記検証部により前記データ受信装置が正当であるとことが検証された場合に前記第1暗号化部により暗号化された画像情報を前記無線通信部により送信させるか前記第2暗号化部により暗号化された画像情報を前記有線通信部により送信させるか否かを制御する制御部と、
    を備える、データ送信装置。
  2. 前記制御部は、前記データ受信装置と無線通信により接続されている場合に、前記検証部により前記データ受信装置の正当性を検証し、前記第1暗号化部により前記画像情報を暗号化する、請求項1に記載のデータ送信装置。
  3. 前記機器情報取得部は、外部装置から不正機器の情報を取得し、
    前記検証部は、前記機器情報取得部により取得された不正機器の情報に、前記データ受信装置の機器情報が含まれていない場合に、前記データ受信装置を正当な機器であると判断する、請求項1または2のいずれかに記載のデータ送信装置。
  4. 前記第1暗号化部は、前記コンテンツの画像情報に応じて前記画像情報を圧縮したのちに前記第1の暗号方式により暗号化する、請求項1〜3のいずれかに記載のデータ送信装置。
  5. 前記第2暗号化部は、前記コンテンツの画像情報を前記第2の暗号方式により暗号化したのちに前記暗号化されたコンテンツの画像情報をTMDS変換する、請求項1〜4のいずれかに記載のデータ送信装置。
  6. 前記有線通信部は、TMDS回路によりコンテンツの画像情報を送信する、請求項1〜5のいずれかに記載のデータ送信装置。
  7. 前記検証部は、HDCP規格に基づいて前記データ受信装置の検証をする、請求項1〜6のいずれかに記載のデータ送信装置。
  8. 接続されているデータ送信装置から無線通信によりコンテンツの画像情報を受信する無線通信部と、
    前記受信されたコンテンツの画像情報を第1の復号方式により復号化する第1復号化部と、
    接続されているデータ送信装置から有線通信によりコンテンツの画像情報を受信する有線通信部と、
    前記受信されたコンテンツの画像情報を第2の復号方式により復号化する第2復号化部と、
    接続されている機器情報を取得する機器情報取得部と、
    前記機器情報取得部により取得された前記機器情報に基づいて、接続されている機器の正当性を検証する検証部と、
    前記無線通信部を介して前記機器情報を取得させるか前記有線通信部を介して前記機器情報を取得させるか否か、前記検証部により前記接続されている機器が正当であることが検証された場合に前記無線通信部により前記画像情報を受信して前記第1復号化部により前記画像情報を復号化させるか前記有線通信部により前記画像情報を受信して前記第2復号化部により前記画像情報を復号化させるか否かを制御する制御部と、
    を備える、データ受信装置。
  9. 前記制御部は、前記機器と無線通信により接続されている場合に、前記検証部により前記機器の正当性を検証し、前記第1復号化部により前記画像情報を復号化する、請求項8に記載のデータ受信装置。
  10. 前記機器情報取得部は、外部装置から不正機器の情報を取得し、
    前記検証部は、前記機器情報取得部により取得された不正機器の情報に、前記接続されている機器の情報が含まれていない場合に、前記接続されている機器を正当な機器であると判断する、請求項8または9のいずれかに記載のデータ受信装置。
  11. 前記第1復号化部は、前記コンテンツの画像情報に応じて前記画像情報を圧縮したのちに前記第1の暗号方式により復号化する、請求項8〜10のいずれかに記載のデータ受信装置。
  12. 前記第2復号化部は、前記コンテンツの画像情報を前記第2の復号方式により暗号復号化したのちに前記復号化されたコンテンツの画像情報をTMDS変換する、請求項8〜11のいずれかに記載のデータ受信装置。
  13. 前記有線通信部は、TMDS回路によりコンテンツの画像情報を受信する、請求項8〜12のいずれかに記載のデータ受信装置。
  14. 前記検証部は、HDCP規格に基づいて前記接続されている機器の検証をする、請求項8〜13のいずれかに記載のデータ受信装置。
  15. 接続されているデータ送信装置と無線通信によりコンテンツの画像情報を受信する無線通信部と、
    前記受信したコンテンツの画像情報を第1の復号方式により復号化する第1復号化部と、
    接続されているデータ送信装置と有線通信によりコンテンツの画像情報を受信する有線通信部と、
    前記受信したコンテンツの画像情報を第2の復号方式により復号化する第2復号化部と、
    データ受信装置の機器情報を送信する機器情報送信部と、
    前記機器情報送信部により送信された前記機器情報に基づいて前記データ送信装置により検証された、前記データ受信装置の正当性の検証結果を取得する検証結果取得部と、
    前記無線通信部を介して前記機器情報を送信させるか前記有線通信部を介して前記機器情報を送信させるか否か、前記検証結果取得部により前記データ受信装置が正当であるとの検証結果を取得した場合に前記無線通信部により前記画像情報を受信して前記第1復号化部により復号させるか前記有線通信部により前記画像情報を受信して前記第2復号化部により復号させるか否かを制御する制御部と、
    前記第1復号化部または前記第2復号化部により復号された前記画像情報を含む表示画面を生成する表示画面生成部と、
    を備える、データ受信装置。
  16. 前記表示画面生成部は、前記データ受信装置に組み込まれた表示装置に備えられ、
    前記機器情報送信部は、前記表示装置の機器情報を送信し、
    前記検証結果取得部は、前記表示装置の機器情報に基づいてデータ送信装置により検証された、前記データ受信装置の正当性の検証結果を取得する、請求項15に記載のデータ受信装置。
  17. 前記第1の復号方式は、無線通信によりコンテンツの画像情報を送信する場合に用いられる復号方式である、請求項15または16のいずれかに記載のデータ受信装置。
  18. 前記第2の復号方式は、有線通信で送信されたコンテンツの画像情報をHDCP規格により復号する復号方式である、請求項15〜17のいずれかに記載のデータ受信装置。
  19. 前記有線通信部は、TMDS回路によりコンテンツの画像情報を受信する、請求項15〜18のいずれかに記載のデータ送信装置。
  20. 前記検証結果取得部は、HDCP規格に基づいて検証された前記データ受信装置の正当性の検証結果を取得する、請求項15〜19のいずれかに記載のデータ送信装置。
  21. 入力されたコンテンツの画像情報を第1の暗号方式により暗号化するステップと、
    入力されたコンテンツの画像情報を第2の暗号方式により暗号化するステップと、
    無線通信によりコンテンツの画像情報を受信する無線通信部を介して接続されている機器の機器情報を取得させるか、有線通信によりコンテンツの画像情報を受信する有線通信部を介して前記機器情報を取得させるか否かを判断して、接続されている機器の機器情報を取得するステップと、
    前記取得された機器情報に基づいて、データ受信装置の正当性を検証するステップと、
    前記データ受信装置が正当であるとことが検証された場合に前記第1の暗号方式により暗号化された画像情報を無線通信部により送信させるか前記第2の暗号方式により暗号化された画像情報を有線通信部により送信させるか否かを制御するステップと、
    を含む、データ送信方法。
  22. データ送信装置から受信したコンテンツの画像情報を第1の復号方式により復号化するステップと、
    前記データ送信装置から受信したコンテンツの画像情報を第2の復号方式により復号化するステップと、
    無線通信によりコンテンツの画像情報を受信する無線通信部を介して接続された機器の機器情報を取得させるか、有線通信によりコンテンツの画像情報を受信する有線通信部を介して前記機器情報を取得させるか否かを制御するステップと、
    前記接続された機器の情報を取得するステップと、
    前記取得された機器情報に基づいて、前記接続されている機器の正当性を検証するステップと、
    前記接続されている機器が正当であるとことが検証された場合に前記無線通信部により受信して前記第1の復号方式により復号化させるか前記有線通信部により受信して前記第2の復号方式により復号化させるか否かを制御するステップと、
    を含む、データ受信方法。
  23. データ送信装置から受信したコンテンツの画像情報を第1の復号方式により復号化するステップと、
    前記データ送信装置から受信したコンテンツの画像情報を第2の復号方式により復号化するステップと、
    無線通信によりコンテンツの画像情報を受信する無線通信部を介してデータ受信装置の機器情報を送信させるか、有線通信によりコンテンツの画像情報を受信する有線通信部を介して前記機器情報を送信させるか否かを制御するステップと、
    前記機器情報を送信するステップと、
    前記送信された機器情報に基づいて前記データ送信装置により検証された、前記データ受信装置の正当性の検証結果を取得するステップと、
    前記データ受信装置が正当であるとの検証結果を取得した場合に前記無線通信部により前記画像情報を受信して前記第1復号化部により復号させるか前記有線通信部により前記画像情報を受信して前記第2復号化部により復号させるか否かを制御するステップと、
    前記第1復号化部または前記第2復号化部により復号された前記画像情報を含む表示画面を生成するステップと、
    を含む、データ受信方法。
JP2008181728A 2008-07-11 2008-07-11 データ送信装置、データ受信装置、データ送信方法およびデータ受信方法 Expired - Fee Related JP4561893B2 (ja)

Priority Applications (4)

Application Number Priority Date Filing Date Title
JP2008181728A JP4561893B2 (ja) 2008-07-11 2008-07-11 データ送信装置、データ受信装置、データ送信方法およびデータ受信方法
US12/459,867 US8316241B2 (en) 2008-07-11 2009-07-09 Data transmitting apparatus, data receiving apparatus, data transmitting method, and data receiving method
CN2009101517423A CN101626502B (zh) 2008-07-11 2009-07-13 数据发送设备、数据接收设备、数据发送方法和数据接收方法
US13/495,669 US8874895B2 (en) 2008-07-11 2012-06-13 Data transmitting apparatus, data receiving apparatus, data transmitting method, and data receiving method

Applications Claiming Priority (1)

Application Number Priority Date Filing Date Title
JP2008181728A JP4561893B2 (ja) 2008-07-11 2008-07-11 データ送信装置、データ受信装置、データ送信方法およびデータ受信方法

Publications (2)

Publication Number Publication Date
JP2010021875A true JP2010021875A (ja) 2010-01-28
JP4561893B2 JP4561893B2 (ja) 2010-10-13

Family

ID=41505184

Family Applications (1)

Application Number Title Priority Date Filing Date
JP2008181728A Expired - Fee Related JP4561893B2 (ja) 2008-07-11 2008-07-11 データ送信装置、データ受信装置、データ送信方法およびデータ受信方法

Country Status (3)

Country Link
US (2) US8316241B2 (ja)
JP (1) JP4561893B2 (ja)
CN (1) CN101626502B (ja)

Cited By (3)

* Cited by examiner, † Cited by third party
Publication number Priority date Publication date Assignee Title
WO2011096449A1 (ja) 2010-02-03 2011-08-11 曙ブレーキ工業株式会社 電動式パーキング機構付ディスクブレーキ装置
JP2012080302A (ja) * 2010-10-01 2012-04-19 Hitachi Consumer Electronics Co Ltd 記録装置及び記録処理方法
WO2012144322A1 (ja) * 2011-04-19 2012-10-26 シャープ株式会社 映像再生装置、映像送信装置、映像再生プログラム、映像送信プログラムおよび記録媒体

Families Citing this family (9)

* Cited by examiner, † Cited by third party
Publication number Priority date Publication date Assignee Title
EP2437194A1 (en) * 2010-10-01 2012-04-04 Nagravision S.A. System and method to prevent manipulation of video data transmitted on an HDMI link.
US8930692B2 (en) * 2010-07-23 2015-01-06 Silicon Image, Inc. Mechanism for internal processing of content through partial authentication on secondary channel
JP2012049679A (ja) * 2010-08-25 2012-03-08 Sony Corp 端末装置、サーバ、データ処理システム、データ処理方法、及びプログラム
JP5631695B2 (ja) * 2010-11-02 2014-11-26 オリンパス株式会社 接続切替デバイス、送信端末、受信端末、無線通信システムおよび無線通信方法
WO2012157185A1 (ja) * 2011-05-13 2012-11-22 パナソニック株式会社 表示装置、操作装置、機器連携制御システム、表示方法、操作方法及び機器連携制御方法
CN104169940B (zh) * 2011-12-29 2017-09-12 英特尔公司 将公司数字信息限制在公司界限内的方法
JP6323811B2 (ja) * 2013-03-15 2018-05-16 パナソニックIpマネジメント株式会社 コンテンツ配信方法及びソース機器
CN114731283B (zh) * 2019-09-20 2024-10-22 三星电子株式会社 在设备到设备捆绑包或配置文件传送期间的相互设备到设备认证方法和设备
KR20210130424A (ko) * 2020-04-22 2021-11-01 엘지전자 주식회사 무선 디바이스

Citations (6)

* Cited by examiner, † Cited by third party
Publication number Priority date Publication date Assignee Title
JP2004072317A (ja) * 2002-08-05 2004-03-04 Sanyo Electric Co Ltd 画像情報伝送装置
US20060117371A1 (en) * 2001-03-15 2006-06-01 Digital Display Innovations, Llc Method for effectively implementing a multi-room television system
US20060209892A1 (en) * 2005-03-15 2006-09-21 Radiospire Networks, Inc. System, method and apparatus for wirelessly providing a display data channel between a generalized content source and a generalized content sink
JP2006323707A (ja) * 2005-05-20 2006-11-30 Hitachi Ltd コンテンツ送信装置、コンテンツ受信装置、コンテンツ送信方法及びコンテンツ受信方法
US7242766B1 (en) * 2001-11-21 2007-07-10 Silicon Image, Inc. Method and system for encrypting and decrypting data using an external agent
JP2009130874A (ja) * 2007-11-28 2009-06-11 Hitachi Ltd 表示装置および映像機器

Family Cites Families (13)

* Cited by examiner, † Cited by third party
Publication number Priority date Publication date Assignee Title
JP2001245270A (ja) * 2000-02-29 2001-09-07 Sony Corp 信号伝送装置および信号伝送方法
JP2003037591A (ja) 2001-07-25 2003-02-07 Toshiba Corp 中継機器及び方法
US7193993B2 (en) * 2002-05-23 2007-03-20 Intel Corporation Integrated medium access control device and physical layer device
JP4645049B2 (ja) * 2004-03-19 2011-03-09 株式会社日立製作所 コンテンツ送信装置およびコンテンツ送信方法
US7530098B2 (en) * 2004-04-28 2009-05-05 Scenera Technologies, Llc Device ownership transfer from a network
US9219729B2 (en) * 2004-05-19 2015-12-22 Philip Drope Multimedia network system with content importation, content exportation, and integrated content management
JP2006128963A (ja) 2004-10-28 2006-05-18 Hitachi Ltd デジタル信号処理装置
US20070192500A1 (en) * 2006-02-16 2007-08-16 Infoexpress, Inc. Network access control including dynamic policy enforcement point
US20070287421A1 (en) * 2006-06-07 2007-12-13 Tony Kirke Method and system for providing continuity of service with an existing communication network
US8279784B2 (en) * 2006-11-01 2012-10-02 Sibeam, Inc. Wireless HD AV packet format
JP2008131557A (ja) * 2006-11-24 2008-06-05 Matsushita Electric Ind Co Ltd 映像音声出力機器、認証処理方法及び映像音声処理システム
US8019999B2 (en) * 2007-10-18 2011-09-13 Sony Corporation Wireless receiver device revocation management
US8259949B2 (en) * 2008-05-27 2012-09-04 Intel Corporation Methods and apparatus for protecting digital content

Patent Citations (6)

* Cited by examiner, † Cited by third party
Publication number Priority date Publication date Assignee Title
US20060117371A1 (en) * 2001-03-15 2006-06-01 Digital Display Innovations, Llc Method for effectively implementing a multi-room television system
US7242766B1 (en) * 2001-11-21 2007-07-10 Silicon Image, Inc. Method and system for encrypting and decrypting data using an external agent
JP2004072317A (ja) * 2002-08-05 2004-03-04 Sanyo Electric Co Ltd 画像情報伝送装置
US20060209892A1 (en) * 2005-03-15 2006-09-21 Radiospire Networks, Inc. System, method and apparatus for wirelessly providing a display data channel between a generalized content source and a generalized content sink
JP2006323707A (ja) * 2005-05-20 2006-11-30 Hitachi Ltd コンテンツ送信装置、コンテンツ受信装置、コンテンツ送信方法及びコンテンツ受信方法
JP2009130874A (ja) * 2007-11-28 2009-06-11 Hitachi Ltd 表示装置および映像機器

Cited By (4)

* Cited by examiner, † Cited by third party
Publication number Priority date Publication date Assignee Title
WO2011096449A1 (ja) 2010-02-03 2011-08-11 曙ブレーキ工業株式会社 電動式パーキング機構付ディスクブレーキ装置
JP2012080302A (ja) * 2010-10-01 2012-04-19 Hitachi Consumer Electronics Co Ltd 記録装置及び記録処理方法
WO2012144322A1 (ja) * 2011-04-19 2012-10-26 シャープ株式会社 映像再生装置、映像送信装置、映像再生プログラム、映像送信プログラムおよび記録媒体
JP2012227721A (ja) * 2011-04-19 2012-11-15 Sharp Corp 映像再生装置、映像送信装置、映像再生プログラム、映像送信プログラムおよび記録媒体

Also Published As

Publication number Publication date
JP4561893B2 (ja) 2010-10-13
US8874895B2 (en) 2014-10-28
US20120257754A1 (en) 2012-10-11
CN101626502A (zh) 2010-01-13
CN101626502B (zh) 2013-08-14
US8316241B2 (en) 2012-11-20
US20100008504A1 (en) 2010-01-14

Similar Documents

Publication Publication Date Title
JP4561893B2 (ja) データ送信装置、データ受信装置、データ送信方法およびデータ受信方法
KR100921586B1 (ko) 개인 디지털 네트워크 환경에서의 컨텐츠 보호 방법 및장치
KR101366243B1 (ko) 인증을 통한 데이터 전송 방법 및 그 장치
CN1607793B (zh) 基于分组的高清晰度高带宽数字内容保护
JP4698106B2 (ja) 送信された情報をコピー保護するシステム及び方法
US20080267411A1 (en) Method and Apparatus for Enhancing Security of a Device
US20130279693A1 (en) Transmitting a signal based on a high-definition multimedia interface signal
HU224303B1 (hu) Eljárás szimmetrikus kulcs kezelésére kommunikációs hálózatban, kommunikációs hálózathoz csatlakoztatható kommunikációs eszköz és adatfeldolgozó eszköz kommunikációs hálózathoz
US20040137878A1 (en) AV data wireless communication system, communication apparatus, and electronic device
JP2001285283A (ja) 通信装置およびその通信方法
US7260719B1 (en) Information processing system, information processing method, and information processing device
US8355504B2 (en) AV communication control circuit for realizing copyright protection with respect to radio LAN
KR101424972B1 (ko) 모바일 카드를 이용한 컨텐츠 사용 방법, 호스트 장치, 및모바일 카드
US10044683B2 (en) Content transmission and reception device compatible to switch to a new encryption scheme
US20090144549A1 (en) Copyright protection processing apparatus and copyright protection processing method
US20060045478A1 (en) Method and apparatus for transmitting and receiving protected contents at home
KR20100135505A (ko) 컨텐츠 암호화 방법, 컨텐츠 복호화 방법 및 이를 적용한 전자기기
JP2011077640A (ja) 無線伝送システム
JP2005094096A (ja) 受信装置、伝送システム及び伝送方法
JPH11355265A (ja) Avコンテンツ送信方法、avコンテンツ受信方法、avコンテンツ送信装置、avコンテンツ受信装置および媒体
KR20050075877A (ko) 데이터 재전송 장치 및 방법
JP2006155332A (ja) コンテンツ出力装置及びコンテンツ出力方法、コンテンツ取得装置及びコンテンツ取得方法
JPH11250570A (ja) 秘密情報変更システム、秘密情報変更第1装置、秘密情報変更第2装置、及び媒体
KR100561488B1 (ko) 암호화 회로가 내장된 보안용 카메라를 구비한 보안시스템 및 상기 시스템의 암호키 설정방법
JPH11289327A (ja) データ送信装置、データ受信装置、及び媒体

Legal Events

Date Code Title Description
A131 Notification of reasons for refusal

Free format text: JAPANESE INTERMEDIATE CODE: A131

Effective date: 20100420

A521 Request for written amendment filed

Free format text: JAPANESE INTERMEDIATE CODE: A523

Effective date: 20100617

TRDD Decision of grant or rejection written
A01 Written decision to grant a patent or to grant a registration (utility model)

Free format text: JAPANESE INTERMEDIATE CODE: A01

Effective date: 20100706

A01 Written decision to grant a patent or to grant a registration (utility model)

Free format text: JAPANESE INTERMEDIATE CODE: A01

A61 First payment of annual fees (during grant procedure)

Free format text: JAPANESE INTERMEDIATE CODE: A61

Effective date: 20100719

FPAY Renewal fee payment (event date is renewal date of database)

Free format text: PAYMENT UNTIL: 20130806

Year of fee payment: 3

R151 Written notification of patent or utility model registration

Ref document number: 4561893

Country of ref document: JP

Free format text: JAPANESE INTERMEDIATE CODE: R151

FPAY Renewal fee payment (event date is renewal date of database)

Free format text: PAYMENT UNTIL: 20130806

Year of fee payment: 3

R250 Receipt of annual fees

Free format text: JAPANESE INTERMEDIATE CODE: R250

R250 Receipt of annual fees

Free format text: JAPANESE INTERMEDIATE CODE: R250

R250 Receipt of annual fees

Free format text: JAPANESE INTERMEDIATE CODE: R250

R250 Receipt of annual fees

Free format text: JAPANESE INTERMEDIATE CODE: R250

R250 Receipt of annual fees

Free format text: JAPANESE INTERMEDIATE CODE: R250

R250 Receipt of annual fees

Free format text: JAPANESE INTERMEDIATE CODE: R250

R250 Receipt of annual fees

Free format text: JAPANESE INTERMEDIATE CODE: R250

R250 Receipt of annual fees

Free format text: JAPANESE INTERMEDIATE CODE: R250

LAPS Cancellation because of no payment of annual fees