JP2010021325A - 半導体装置の製造方法、及び半導体装置 - Google Patents

半導体装置の製造方法、及び半導体装置 Download PDF

Info

Publication number
JP2010021325A
JP2010021325A JP2008179964A JP2008179964A JP2010021325A JP 2010021325 A JP2010021325 A JP 2010021325A JP 2008179964 A JP2008179964 A JP 2008179964A JP 2008179964 A JP2008179964 A JP 2008179964A JP 2010021325 A JP2010021325 A JP 2010021325A
Authority
JP
Japan
Prior art keywords
film
misfet
strain
strain film
mask pattern
Prior art date
Legal status (The legal status is an assumption and is not a legal conclusion. Google has not performed a legal analysis and makes no representation as to the accuracy of the status listed.)
Granted
Application number
JP2008179964A
Other languages
English (en)
Other versions
JP5262370B2 (ja
Inventor
Kazuji Fujita
和司 藤田
Current Assignee (The listed assignees may be inaccurate. Google has not performed a legal analysis and makes no representation or warranty as to the accuracy of the list.)
Fujitsu Semiconductor Ltd
Original Assignee
Fujitsu Semiconductor Ltd
Priority date (The priority date is an assumption and is not a legal conclusion. Google has not performed a legal analysis and makes no representation as to the accuracy of the date listed.)
Filing date
Publication date
Application filed by Fujitsu Semiconductor Ltd filed Critical Fujitsu Semiconductor Ltd
Priority to JP2008179964A priority Critical patent/JP5262370B2/ja
Priority to US12/500,277 priority patent/US8274117B2/en
Publication of JP2010021325A publication Critical patent/JP2010021325A/ja
Priority to US13/354,344 priority patent/US8394693B2/en
Application granted granted Critical
Publication of JP5262370B2 publication Critical patent/JP5262370B2/ja
Expired - Fee Related legal-status Critical Current
Anticipated expiration legal-status Critical

Links

Images

Classifications

    • HELECTRICITY
    • H10SEMICONDUCTOR DEVICES; ELECTRIC SOLID-STATE DEVICES NOT OTHERWISE PROVIDED FOR
    • H10DINORGANIC ELECTRIC SEMICONDUCTOR DEVICES
    • H10D30/00Field-effect transistors [FET]
    • H10D30/60Insulated-gate field-effect transistors [IGFET]
    • H10D30/791Arrangements for exerting mechanical stress on the crystal lattice of the channel regions
    • H10D30/792Arrangements for exerting mechanical stress on the crystal lattice of the channel regions comprising applied insulating layers, e.g. stress liners
    • HELECTRICITY
    • H10SEMICONDUCTOR DEVICES; ELECTRIC SOLID-STATE DEVICES NOT OTHERWISE PROVIDED FOR
    • H10DINORGANIC ELECTRIC SEMICONDUCTOR DEVICES
    • H10D84/00Integrated devices formed in or on semiconductor substrates that comprise only semiconducting layers, e.g. on Si wafers or on GaAs-on-Si wafers
    • H10D84/01Manufacture or treatment
    • H10D84/0123Integrating together multiple components covered by H10D12/00 or H10D30/00, e.g. integrating multiple IGBTs
    • H10D84/0126Integrating together multiple components covered by H10D12/00 or H10D30/00, e.g. integrating multiple IGBTs the components including insulated gates, e.g. IGFETs
    • H10D84/0165Integrating together multiple components covered by H10D12/00 or H10D30/00, e.g. integrating multiple IGBTs the components including insulated gates, e.g. IGFETs the components including complementary IGFETs, e.g. CMOS devices
    • H10D84/0167Manufacturing their channels
    • HELECTRICITY
    • H10SEMICONDUCTOR DEVICES; ELECTRIC SOLID-STATE DEVICES NOT OTHERWISE PROVIDED FOR
    • H10DINORGANIC ELECTRIC SEMICONDUCTOR DEVICES
    • H10D84/00Integrated devices formed in or on semiconductor substrates that comprise only semiconducting layers, e.g. on Si wafers or on GaAs-on-Si wafers
    • H10D84/01Manufacture or treatment
    • H10D84/0123Integrating together multiple components covered by H10D12/00 or H10D30/00, e.g. integrating multiple IGBTs
    • H10D84/0126Integrating together multiple components covered by H10D12/00 or H10D30/00, e.g. integrating multiple IGBTs the components including insulated gates, e.g. IGFETs
    • H10D84/0165Integrating together multiple components covered by H10D12/00 or H10D30/00, e.g. integrating multiple IGBTs the components including insulated gates, e.g. IGFETs the components including complementary IGFETs, e.g. CMOS devices
    • H10D84/0186Manufacturing their interconnections or electrodes, e.g. source or drain electrodes
    • HELECTRICITY
    • H10SEMICONDUCTOR DEVICES; ELECTRIC SOLID-STATE DEVICES NOT OTHERWISE PROVIDED FOR
    • H10DINORGANIC ELECTRIC SEMICONDUCTOR DEVICES
    • H10D84/00Integrated devices formed in or on semiconductor substrates that comprise only semiconducting layers, e.g. on Si wafers or on GaAs-on-Si wafers
    • H10D84/01Manufacture or treatment
    • H10D84/02Manufacture or treatment characterised by using material-based technologies
    • H10D84/03Manufacture or treatment characterised by using material-based technologies using Group IV technology, e.g. silicon technology or silicon-carbide [SiC] technology
    • H10D84/038Manufacture or treatment characterised by using material-based technologies using Group IV technology, e.g. silicon technology or silicon-carbide [SiC] technology using silicon technology, e.g. SiGe

Landscapes

  • Internal Circuitry In Semiconductor Integrated Circuit Devices (AREA)
  • Metal-Oxide And Bipolar Metal-Oxide Semiconductor Integrated Circuits (AREA)

Abstract

【課題】 位置ずれにより、NMOS及びPMOSを覆う2種類の歪膜に重なりが生じて膜厚が過剰になるか、または両者の間に隙間が生じる。
【解決手段】 PMOS及びNMOSを覆うように、引張歪膜を形成する。PMOSが配置された領域の引張歪膜を除去し、NMOSが配置された領域には引張歪膜を残す。全面に、圧縮歪膜を形成する。PMOSが配置された領域を覆い、NMOSが配置された領域は覆わないマスクを用いて圧縮歪膜の露出している部分を、厚さ方向の途中までエッチングする。PMOSが配置された領域を覆い、NMOSが配置された領域は覆わないマスクを用いて、NMOSが配置されている領域の圧縮歪膜を除去する。2種類のマスクの一方は、パターニングされた引張歪膜の少なくとも一部の縁と重なり、他方は、該縁から面内方向に隔てられている。圧縮歪膜を除去する際に、一方のマスクにのみ覆われていた領域に、圧縮歪膜の一部を残す。
【選択図】 図1−3

Description

本発明は、第1のMISFETのチャネル領域に第1の符号の応力を与え、第2のMISFETのチャネル領域に第1の符号とは反対の第2の符号の応力を与えるデュアルストレスライナーを配置した半導体装置の製造方法、及び半導体装置に関する。
nチャネルMIFFET及びpチャネルMISFETのチャネル領域に、それぞれ引張歪及び圧縮歪を生じさせることにより、キャリアの移動度を高めることができる。MISFETの上に、圧縮歪または引張歪を有する膜を配置することにより、チャネル領域に所望の歪を生じさせることができる(特許文献1、2)。
特開2007−173466号公報 特開2007−300090号公報
nチャネルMISFETの上に引張歪を有する歪膜を配置し、pチャネルMISFETの上に圧縮歪を有する歪膜を配置するためには、引張歪膜及び圧縮歪膜をパターニングしなければならない。パターニング時に位置ずれが生じると、nチャネルMISFETが配置された領域とpチャネルMISFETが配置された領域との境界に、2種類の歪膜の重なりが生じるか、または2種類の歪膜の間に隙間が生じる。
2種類の歪膜に重なりが生じると、重なり部分にビアホールを形成する際にエッチング不足が発生しやすくなる。ビアホールのエッチング不足が発生すると、導通不良が生じてしまう。また、2種類の歪膜の間に隙間が生じると、隙間の底面に露出した下地表面が、歪膜のパターニング後のウェット処理等においてダメージを受ける。例えば、歪膜の下に、隙間と交差する金属シリサイド等の配線が形成されている場合、この配線がダメージを受けて配線抵抗が高くなる。
上記課題を解決するための半導体装置の製造方法は、
半導体基板の第1の活性領域に第1導電型チャネルの第1のMISFETを形成し、該第1の活性領域から面内方向に隔てられた第2の活性領域に、該第1導電型とは逆の第2導電型チャネルの第2のMISFETを形成する工程と、
前記第1のMISFET及び第2のMISFETを覆うように、前記半導体基板の上に、第1の符号の歪を有する第1の歪膜を形成する工程と、
前記第1のMISFETが配置された領域の前記第1の歪膜が除去され、前記第2のMISFETが配置された領域に前記第1の歪膜が残るように、前記第1の歪膜をパターニングする工程と、
前記第1のMISFET、及びパターニングされた前記第1の歪膜を覆うように、前記半導体基板の上に、前記第1の符号とは反対符号の歪を有する第2の歪膜を形成する工程と、
前記第1のMISFETが配置された領域を覆い、前記第2のMISFETが配置された領域は覆わない第1のマスクパターンを用いて前記第2の歪膜の露出している部分を、該第2の歪膜の厚さ方向の途中までエッチングして薄くする工程と、
前記第2の歪膜の一部を薄くした後、前記第1のMISFETが配置された領域を覆い、前記第2のMISFETが配置された領域は覆わない第2のマスクパターンを用いて、前記第2のMISFETが配置されている領域の前記第2の歪膜を除去する工程と
を有し、
前記第1のマスクパターンと第2のマスクパターンとの一方のマスクパターンは、パターニングされた前記第1の歪膜の少なくとも一部の縁と重なり、他方のマスクパターンは、該縁から面内方向に隔てられており、前記第2のMISFETが配置されている領域の前記第2の歪膜を除去する工程において、前記第1のマスクパターンと第2のマスクパターンとの一方にのみ覆われていた領域に、前記第2の歪膜の一部が残るように前記第2の歪膜を除去する。
上記方法により製造される半導体装置は、
半導体基板の上に形成された第1導電型チャネルの第1のMISFET、及び該第1導電型とは逆の第2導電型チャネルの第2のMISFETと、
前記第2のMISFETが配置された領域を覆い、前記第1のMISFETが配置された領域は覆わず、第1の符号の歪を有する第1の歪膜と、
前記第1のMISFETが配置された領域を覆い、前記第2のMISFETが配置された領域は覆わず、前記第1の符号とは逆の第2の符号の歪を有する第2の歪膜と
を有し、
前記第2の歪膜の、前記第2のMISFET側の縁は、前記第1の歪膜の一部と重なり、前記第2の歪膜のうち、前記第1の歪膜と重なった部分、及び該重なった部分に連続する一部分の厚さが、前記第1のMISFETを覆っている部分の厚さよりも薄い。
一方のマスクパターンは、第1の歪膜と部分的に重なり、他方のマスクパターンは、第1の歪膜から隔てられる。このため、マスクパターンの縁を第1の歪膜の縁と一致させる場合に比べて、位置合わせ余裕が大きくなる。位置ずれが生じても、2種類の歪膜の重なり部分の膜厚が過剰に厚くなることはなく、両者の間に隙間が発生することも無い。
以下、実施例1〜実施例5について説明する。
図1A〜図1Rを参照して、実施例1による半導体装置の製造方法について説明する。
図1Aは、製造途中段階における半導体装置の平面図を示す。図1B〜図1Dは、それぞれ図1Aの一点鎖線1B−1B、1C−1C、及び1D−1Dにおける断面図を示す。シリコン等からなる半導体基板10の表層部に、シャロートレンチアイソレーション(STI)等による素子分離絶縁膜11が形成されている。素子分離絶縁膜11により、p型チャネルMISFET用活性領域(PMOS用活性領域)12及びn型チャネルMISFET用活性領域(NMOS用活性領域)13が画定される。PMOS用活性領域12は、n型ウェル14内に配置され、NMOS用活性領域13は、p型ウェル15内に配置される。
PMOS用活性領域12及びNMOS用活性領域13の各々は、例えば長方形の平面形状を有し、両者は、素子分離絶縁膜11により面内方向に隔てて配置されている。
PMOS用活性領域12内にp型チャネルMISFET(PMOSFET)30が形成され、NMOS用活性領域13内に、n型チャネルMISFET(NMOSFET)31が形成されている。PMOSFET30は、ゲート絶縁膜20、ゲート電極21、ソース30S、及びドレイン30Dを含む。NMOSFET31は、ゲート絶縁膜20、ゲート電極21、ソース31S、及びドレイン31Dを含む。
PMOSFET30のゲート電極21とNMOSFET31のゲート電極21とは、例えばポリシリコンからなる1つのゲートパターン23で構成される。このゲートパターン23は、PMOS用活性領域12及びNMOS用活性領域13と交差する。このため、ゲートパターン23は、n型ウェル14とp型ウェル15との境界とも交差することになる。n型ウェル14とp型ウェル15との境界と交差する位置において、ゲートパターン23の幅が広くなっている。ゲートパターン23の幅が広くなっているのは、この部分にビアホールを配置するためである。
図1A〜図1Dに示した構造は、公知の成膜、エッチング、フォトリソグラフィ、イオン注入等により形成される。
ゲート電極21、ソース30S、31S、ドレイン30D、31Dの上面に、金属シリサイド膜22が形成されている。金属シリサイド膜22には、NiSi、CoSi、TiSi等が用いられる。金属シリサイド膜22は、自己整合シリサイドプロセス(いわゆるサリサイドプロセス)により形成される。形成方法の一例について、以下に説明する。
ゲート電極21、ソース30S、31S、ドレイン30D、31Dの表面の自然酸化膜を、希フッ酸を用いてエッチング除去する。厚さ約10nmのニッケル(Ni)膜をDCスパッタリングにより堆積させる。400℃で60秒間の第1回目のアニールを行う。これにより、シリコンとニッケルとの界面に、ニッケルシリサイドが形成される。未反応の余分なニッケル膜を、硫酸過酸化水素混合薬液を用いてエッチング除去する。その後、500℃で60秒間の第2回目のアニールを行う。これにより、NiSiからなる金属シリサイド膜22が形成される。
図1E〜図1Mは、図1Aの一点鎖線1B−1Bにおける断面図に相当する。
図1Eに示すように、PMOSFET30及びNMOSFET31を覆うように、半導体基板10の上に窒化シリコンからなる引張歪膜40を、例えば熱化学気相成長(熱CVD)により形成する。一般に、熱CVDで形成されたSiN膜には、引張歪が生じている。引張歪膜40の厚さは、例えば80nmとする。成膜条件は、例えば下記の通りである。
・基板温度 400℃〜700℃
・圧力 13Pa〜53kPa(0.1〜400Torr)
・Si原料 SiHCl+SiH+Si(5〜60sccm)
・N原料 NH(500〜10000sccm)
・キャリアガス N+Ar(500〜1000sccm)
NMOS用活性領域13を覆うマスクパターン41を、感光性レジストにより形成する。マスクパターン41は、PMOS用活性領域12は覆わない。マスクパターン41の縁の一部は、PMOS用活性領域12とNMOS用活性領域13との間の素子分離絶縁膜の上を通過する。一例として、マスクパターン41の縁の一部は、PMOS用活性領域12からの距離と、NMOS用活性領域13からの距離とがほぼ等しくなる位置に配置される。
図1Fに示すように、マスクパターン41をエッチングマスクとして引張歪膜40をエッチングする。引張歪膜40のエッチングには、例えば平行平板型プラズマエッチング装置が用いられる。エッチング条件は、例えば下記の通りである。
・ガス CHF(20〜100sccm)+O(100〜300sccm)
・圧力 6.7Pa〜27Pa(50〜200mTorr)
・RFパワー 100〜1000W
PMOSFET30が配置された領域の引張歪膜40が除去され、NMOSFET31が配置された領域には、引張歪膜40が残留する。引張歪膜40をエッチングした後、マスクパターン41を除去する。
図1Gに示すように、パターニングされた引張歪膜40を覆うように、半導体基板10の上に、窒化シリコンからなる圧縮歪膜45を、例えばプラズマ励起化学気相成長(PE−CVD)により形成する。一般的に、PE−CVDで形成されたSiN膜には圧縮歪が生じる。圧縮歪膜45の厚さは、例えば80nmとする。成膜条件は、例えば下記の通りである。
・基板温度 400℃〜700℃
・圧力 13Pa〜53kPa(0.1〜400Torr)
・Si原料 SiH(100〜1000sccm)
・N原料 NH(500〜10000sccm)
・キャリアガス N+Ar(500〜10000sccm)
・RFパワー 100〜1000W
図1Hに示すように、圧縮歪膜45の上に、PMOS用活性領域12を覆い、NMOS用活性領域13は覆わないマスクパターン46を、感光性レジストで形成する。マスクパターン46は、引張歪膜40の、PMOS用活性領域12側の一部と重なる。ただし、NMOS用活性領域13とは重ならない。引張歪膜40の縁からマスクパターン46の先端までの重なり幅Wの設計値は、位置ずれの許容範囲の最大値よりも広くされている。このため、引張歪膜40に対してマスクパターン46の位置ずれが生じても、両者の重なりが消滅することはない。
図1Iに示すように、マスクパターン46をエッチングマスクとして、圧縮歪膜45を、その厚さ方向の途中までエッチングする。圧縮歪膜45のエッチングには、例えばマイクロ波ダウンフロープラズマエッチング装置を用いる。エッチング条件は、例えば下記の通りである。
・ガス CF(100〜500sccm)+O(100〜500sccm)
・圧力 20〜100Pa
・マイクロ波パワー 200〜800W
これにより、マスクパターン46で覆われていない領域の圧縮歪膜45が薄くなる。エッチングする深さは、例えば、元の圧縮歪膜45の厚さの50%とする。その後、マスクパターン46を除去する。
図1Jに示すように、圧縮歪膜45の上に、PMOS用活性領域12を覆い、NMOS用活性領域13は覆わないマスクパターン48を、感光性レジストで形成する。マスクパターン48は、引張歪膜40に重ならないように、引張歪膜40の縁から面内方向に隔てられて配置される。引張歪膜40の縁からマスクパターン48の先端までの間隔Wの設計値は、位置ずれの許容範囲の最大値よりも広くされている。このため、引張歪膜40に対してマスクパターン48の位置ずれが生じても、両者が重なることは無い。
図1Kに示すように、マスクパターン48をエッチングマスクとして、圧縮歪膜45をエッチングする。エッチング時間以外のエッチング条件は、図1Iの工程で行った第1回目の圧縮歪膜45のエッチング条件と同一である。圧縮歪膜45の第1回目のエッチングによって薄くなった部分を全て除去し、その下の引張歪膜40を露出させる。ただし、第1回目のエッチング時にマスクパターン46で覆われていたが、現時点のマスクパターン48では覆われていない部分の圧縮歪膜45が全て除去されてしまう前に、エッチングを停止させる。このため、引張歪膜40の縁の近傍は、圧縮歪膜45で覆われたままになる。ただし、引張歪膜40の縁の近傍を覆う圧縮歪膜45は、マスクパターン48で覆われている部分の圧縮歪膜48よりも薄い。その後、マスクパターン48を除去する。
図1Lに示すように、フッ化アンモニウム水溶液を用いて、引張歪膜40及び圧縮歪膜45の表面のウェット処理を行う。処理時間は、例えば30〜120秒とする。PMOS用活性領域12とNMOS用活性領域13との間の引張歪膜40の縁が、薄い圧縮歪膜45で覆われており、ゲート電極21上の金属シリサイド膜22が露出していない。このため、フッ化アンモニムを用いたウェット処理時に金属シリサイド膜22がダメージを受けることは無い。
図1Mに示すように、引張歪膜40及び圧縮歪膜45の上に、酸化シリコンからなる層間絶縁膜50を、例えばPE−CVDで形成する。成膜条件は、例えば下記の通りである。
・基板温度 400〜700℃
・ガス テトラエチルオルソシリケート(TEOS)
・圧力 13Pa〜53kPa
図1Nは、層間絶縁膜50にビアホールH1〜H5を形成した後の基板の平面図を示す。図1P〜図1Rは、それぞれ、図1Nの一点鎖線1P−1P、1Q−1Q、及び1R−1Rにおける断面図を示す。
図1Nに示すように、ビアホールH1及びH2は、それぞれPMOSFET30のソース30S及びドレイン30D内に配置される。ビアホールH3及びH4は、それぞれNMOSFET31のソース31S及びドレイン31D内に配置される。ビアホールH5は、PMOS用活性領域12とNMOS用活性領域13との間の引張歪膜40の縁と、ゲートパターン23とが交差する位置に配置される。
図1Pに示すように、ビアホールH5は、層間絶縁膜50、圧縮歪膜45の薄くされた部分、及び引張歪膜40を貫通して、ゲート電極21上の金属シリサイド膜22まで達する。図1Qに示すように、ビアホールH1、H2は、層間絶縁膜50及び圧縮歪膜45を貫通して、それぞれPMOSFET30のソース30S及びドレイン30D上の金属シリサイド膜22まで達する。ビアホールH3、H4は、層間絶縁膜50及び引張歪膜40を貫通して、それぞれNMOSFET31のソース31S及びドレイン31D上の金属シリサイド膜22まで達する。
ビアホールH1〜H5を形成するための層間絶縁膜50、引張歪膜40、及び圧縮歪膜45のエッチングは、例えば平行平板型プラズマエッチング装置を用いて行う。層間絶縁膜50のエッチング条件は、例えば下記の通りである。
・ガス C(10〜30sccm)+O(5〜20sccm)+Ar(500〜1000sccm)
・圧力 4.0〜11Pa(30〜80mTorr)
・RFパワー 2000〜4000W
引張歪膜40及び圧縮歪膜45のエッチング条件は、例えば下記の通りである。
・ガス CHF(30〜100sccm)+O(10〜100sccm)+Ar(100〜300sccm)
・圧力 6.7〜27Pa(50〜200mTorr)
・RFパワー 300〜1000W
ビアホールH1〜H5を形成した後、これらのビアホールH1〜H5内に、タングステン等の導電プラグ53を充填する。
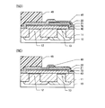
図2を参照して、ビアホールH1〜H5を形成する際に、引張歪膜40及び圧縮歪膜45を形成する窒化シリコンのエッチング量について説明する。
図2に、実施例による半導体装置の断面図を示す。NMOS用活性領域13の上の引張歪膜40の厚さをT1とし、PMOS用活性領域12の上の圧縮歪膜45の厚さをT2とする。引張歪膜40と圧縮歪膜45とが重なった部分の圧縮歪膜45の厚さをT4とし、圧縮歪膜45のうち、引張歪膜40の縁に接する薄くなった部分の厚さをT3とする。
図1Qに示したビアホールH1、H2の位置の窒化シリコン膜の厚さはT2であり、図1Rに示したビアホールH3、H4の位置の窒化シリコン膜の厚さはT1である。図2に示したビアホールH5の位置の窒化シリコン膜の厚さは、T3〜(T1+T4)の範囲内である。
一例として、厚さT1及びT2は80nmである。ビアホールH1〜H5の貫通不良を防止するために、厚さT1及びT2の窒化シリコン膜のエッチング時間を基準として、80%のオーバエッチングを行う場合について考える。理想的には、厚さT1+T4が、厚さT1の180%以下、すなわち厚さT4が厚さT1の80%以下(64nm以下)であれば、ビアホールH5は、引張歪膜40と圧縮歪膜45とが重なった部分を貫通することができる。
ただし、引張歪膜40及び圧縮歪膜45の成膜時のプロセス条件のばらつきに起因して、膜厚のばらつきや、エッチングレートのばらつきが発生する。このばらつきは、一般的に目標値の±5%程度である。このばらつきを考慮すると、厚さT4をT1の70%以下(56nm以下)とすることが好ましい。
理想的には、厚さT4は厚さT3と等しくなる。厚さT4を薄くしすぎると、厚さT3も薄くなり、圧縮歪膜45の下の金属シリサイド膜22が露出してしまう危険性が高まる。
図1Kに示した圧縮歪膜45の2回目のエッチング後に、NMOS用活性領域13の上に圧縮歪膜45が残留しないようにするために、図1Iに示した第1回目のエッチングと、図1Kに示した第2回目のエッチングとにおいて、20%のオーバエッチングを行う場合について考える。一例として、第1回目のエッチングの厚さがT2の60%、第2回目のエッチングの厚さもT2の60%となる。このとき、厚さT3は、T2の40%(32nm)になる。圧縮歪膜45の膜厚及びエッチングレートのばらつきを考慮すると、厚さT3は、T2の30%(24nm)まで薄くなる場合もあるが、厚さT3が0になって金属シリサイド膜22が露出してしまうことはない。
従来は、位置ずれによって引張歪膜40と圧縮歪膜45とが重なってしまった場合、重なり部分の厚さは、T1+T2になる。このとき、厚さT1のエッチング時間を基準として80%のオーバエッチングを行ったとしても、ビアホールは、厚さT1+T2の重なり部分を貫通しない。実施例においては、ビアホールの貫通不良を抑制することができる。
図1Qに示したように、PMOSFET30の上に、圧縮歪膜45が配置される。このため、PMOSFET30のチャネル領域に面内方向の圧縮応力が印加され、圧縮歪(負の歪)が生じる。また、図1Rに示したように、NMOSFET31の上に、引張歪膜40が配置される。このため、NMOSFET31のチャネル領域に面内方向の引張応力が印加され、引張歪(正の歪)が生じる。PMOSFET30及びNMOSFET31のチャネル領域に、上記符号の歪を生じさせることにより、チャネル移動度を高めることができる。
次に、図3A〜図3Eを参照して、実施例2による半導体装置の製造方法について説明する。
図3Aに示した圧縮歪膜45を形成するまでの工程は、実施例1の図1Gに示した圧縮歪膜45を形成するまでの工程と共通である。実施例1では、図1Hに示した工程で、引張歪膜40と部分的に重なるマスクパターン46を形成し、その後、図1Jに示した工程で、引張歪膜40に重ならないマスクパターン48を形成した。実施例2では、最初に、引張歪膜40に重ならないマスクパターン60を形成する。マスクパターン60で覆われる領域は、実施例1の図1Jに示したマスクパターン48で覆われた領域と等しい。
図3Bに示すように、マスクパターン60をエッチングマスクとして、圧縮歪膜45を、その厚さ方向の途中までエッチングする。エッチングの深さは、例えば圧縮歪膜45の厚さの50%とする。これにより、マスクパターン60で覆われていない領域の圧縮歪膜45が薄くなる。その後、マスクパターン60を除去する。
図3Cに示すように、圧縮歪膜45の上に、引張歪膜40と部分的に重なるマスクパターン62を形成する。マスクパターン62で覆われる領域は、実施例1の図1Hに示したマスクパターン46で覆われた領域と等しい。
図3Dに示すように、マスクパターン62をエッチングマスクとして、圧縮歪膜45をエッチングする。マスクパターン62で覆われていない領域に、引張歪膜40が露出する。圧縮歪膜45のエッチング後、マスクパターン62を除去する。
図3Eに示すように、圧縮歪膜45が、引張歪膜40の縁からある幅の領域まで乗り上げた構造が得られる。その後の工程は、実施例1の図1Mにした層間絶縁膜50を形成する工程、及びそれ以降の工程と共通である。
引張歪膜40と重なった部分の圧縮歪膜45は、実施例1の場合と同様に、PMOS用活性領域12上の圧縮歪膜45よりも薄い。また、圧縮歪膜45のうち、引張歪膜40と重なった部分に連続する一部分も、PMOS用活性領域12上の圧縮歪膜45より薄い。
図3Bに示した工程において、引張歪膜40に対してマスクパターン60の位置ずれが生じたとしても、引張歪膜40の上に、成膜当初の厚い圧縮歪膜45が残留することはない。このため、実施例1と同様の効果が得られる。
実施例1では、図1Kに示したように、NMOS用活性領域13上の圧縮歪膜45を除去するためのエッチングと、引張歪膜40と重なる部分の圧縮歪膜45を薄くするためのエッチングとが、同一の工程で行われた。これに対し、実施例2では、図3Bに示したエッチング工程において、圧縮歪膜45を薄くし、図3Dに示した別のエッチング工程において、NMOS用活性領域13上の圧縮歪膜45を除去している。このため、実施例1に比べて、図2に示した厚さT3及びT4の制御が容易である。
図4A〜図4Fを参照して、実施例3による半導体装置の製造方法について説明する。図4Aに示す引張歪膜40を形成するまでの工程は、実施例1の図1Eに示した引張歪膜40を形成するまでの工程と共通である。
図4Aに示すように、引張歪膜40の上に、エッチング停止膜70を形成する。エッチング停止膜70には、後の工程でエッチング停止膜70の上に形成される圧縮歪膜45とはエッチング耐性の異なる材料、例えば酸化シリコンが用いられる。エッチング停止膜70の厚さは、例えば30nmとする。
エッチング停止膜70の上に、実施例1の図1Eに示したマスクパターン41と同一の領域を覆うマスクパターン41を形成する。マスクパターン41をエッチングマスクとして、エッチング停止膜70及び引張歪膜40をエッチングする。
図4Bに示すように、NMOS用活性領域13の上に、引張歪膜40とエッチング停止膜70の積層構造が残る。
図4Cに示すように、実施例1の図1Gに示した圧縮歪膜45と同一の圧縮歪膜45を形成する。
図4Dに示すように、圧縮歪膜45の上に形成したマスクパターン60をエッチングマスクとして、圧縮歪膜45を、その厚さ方向の途中までエッチングする。このマスクパターン60は、実施例2の図3Aの工程で用いたマスクパターン60と同一の領域を覆う。圧縮歪膜45を薄くした後、マスクパターン60を除去する。
図4Eに示すように、圧縮歪膜45の上に、マスクパターン62を形成する。マスクパターン62は、実施例2の図3Cに示したマスクパターン62と同一の領域を覆う。
図4Fに示すように、マスクパターン62をエッチングマスクとして、圧縮歪膜45をエッチングする。このエッチングは、エッチング停止膜70のエッチングレートが圧縮歪膜45のエッチングレートよりも遅い条件で行う。このため、エッチング停止膜70が露出した時点で、エッチングを再現性よく停止させることができる。これにより、引張歪膜40の膜厚の目減りを防止することが可能になる。圧縮歪膜45のエッチング後、マスクパターン46を除去する。その後の工程は、実施例2の図3E以降の工程と共通である。なお、圧縮歪膜45のエッチング後、露出したエッチング停止膜70をエッチング除去してもよい。
図5A〜図5Eを参照して、実施例4による半導体装置の製造方法について説明する。
図5Aに示した圧縮歪膜45を形成するまでの工程は、実施例3の図4Cに示した圧縮歪膜45を形成するまでの工程と共通である。
図5Bに示すように、圧縮歪膜45の上にマスクパターン46を形成する。マスクパターン46は、実施例1の図1Hに示したマスクパターン46と同一の領域を覆う。
図5Cに示すように、マスクパターン46をエッチングマスクとして、圧縮歪膜45を、その厚さ方向の途中までエッチングする。このエッチング後、マスクパターン46を除去する。
図5Dに示すように、圧縮歪膜45の上に、マスクパターン48を形成する。マスクパターン48は、実施例1の図1Jに示したマスクパターン48と同一の領域を覆う。
図5Eに示すように、マスクパターン48をエッチングマスクとして、圧縮歪膜45をエッチングする。エッチング条件は、実施例1の図1Kに示した圧縮歪膜45のエッチング条件と同一である。エッチング停止膜70のエッチングレートが、圧縮歪膜45のエッチングレートよりも遅いため、エッチング停止層70の下の引張歪膜40の膜厚の目減りを防止することができる。圧縮歪膜45のエッチング後、マスクパターン48を除去する。その後の工程は、実施例1の図1Lに示した工程、及びそれ以降の工程と共通である。
図6に、実施例5による半導体装置の平面図を示す。以下、実施例1の図1Nに示した平面図との相違点に着目して説明する。
実施例1では、PMOSFET30のゲート電極21と、NMOSFET31のゲート電極21とが、連続した1つのゲートパターン23で構成されていた。実施例5においては、PMOSFET30のゲート電極21Aと、NMOSFET31のゲート電極21Bとが、相互に分離されている。
PMOSFET30のゲート電極21Aに接続される導電プラグ用のビアホールH5が、引張歪膜40の縁と重なる位置に配置されている。このように、PMOSFET30のゲート電極21Aと、NMOSFET31のゲート電極21Bとが相互に分離されている場合でも、実施例1〜実施例4と同様の構成を採用することができる。
上記実施例1〜5では、引張歪膜40を先に形成し、その後、圧縮歪膜45を形成したが、この順番を逆にしてもよい。成膜順序を逆にする場合には、上記実施例1〜5において、PMOS用活性領域12及びPMOSFET30を、NMOS用活性領域及びNMOSFETに読み替え、NMOS用活性領域13及びNMOSFET31を、PMOS用活性領域及びPMOSFETに読み替える。さらに、引張歪膜40を圧縮歪膜に読み替え、圧縮歪膜45を引張歪膜に読み替える。
上記実施例1〜5では、引張歪膜40及び圧縮歪膜45に窒化シリコンを用いたが、その他の絶縁材料を用いてもよい。例えば、応力の大きさという点では窒化シリコンに劣るが、酸化シリコンを用いることも可能である。
以上実施例に沿って本発明を説明したが、本発明はこれらに制限されるものではない。例えば、種々の変更、改良、組み合わせ等が可能なことは当業者に自明であろう。
(1A)は、実施例1による半導体装置の製造方法の製造途中段階における平面図であり、(1B)〜(1D)は、それぞれ(1A)の一点鎖線1B−1B、1C−1C、及び1D−1Dにおける断面図である。 (1E)〜(1G)は、実施例1による半導体装置の製造方法の製造途中段階における断面図である。 (1H)〜(1J)は、実施例1による半導体装置の製造方法の製造途中段階における断面図である。 (1K)〜(1M)は、実施例1による半導体装置の製造方法の製造途中段階における断面図である。 (1N)は、実施例1による半導体装置の平面図であり、(1P)〜(1R)は、それぞれ(1N)の一点鎖線1P−1P、1Q−1Q、及び1R−1Rにおける断面図である。 実施例1による半導体装置の主要部の断面図である。 (3A)〜(3C)は、実施例2による半導体装置の製造方法の製造途中段階における断面図である。 (3D)〜(3E)は、実施例2による半導体装置の製造方法の製造途中段階における断面図である。 (4A)〜(4C)は、実施例3による半導体装置の製造方法の製造途中段階における断面図である。 (4D)〜(4F)は、実施例3による半導体装置の製造方法の製造途中段階における断面図である。 (5A)〜(5C)は、実施例4による半導体装置の製造方法の製造途中段階における断面図である。 (5D)〜(5E)は、実施例4による半導体装置の製造方法の製造途中段階における断面図である。 実施例5による半導体装置の平面図である。
符号の説明
10 半導体基板
11 素子分離絶縁膜
12 PMOS用活性領域
13 NMOS用活性領域
14 n型ウェル
15 p型ウェル
20 ゲート絶縁膜
21、21A、21B ゲート電極
22 金属シリサイド膜
23 ゲートパターン
30 PMOSFET
31 NMOSFET
40 引張歪膜
41、46、48、60、62 マスクパターン
45 圧縮歪膜
50 層間絶縁膜
53 導電プラグ
70 エッチング停止膜
H1〜H5 ビアホール

Claims (10)

  1. 半導体基板の第1の活性領域に第1導電型チャネルの第1のMISFETを形成し、該第1の活性領域から面内方向に隔てられた第2の活性領域に、該第1導電型とは逆の第2導電型チャネルの第2のMISFETを形成する工程と、
    前記第1のMISFET及び第2のMISFETを覆うように、前記半導体基板の上に、第1の符号の歪を有する第1の歪膜を形成する工程と、
    前記第1のMISFETが配置された領域の前記第1の歪膜が除去され、前記第2のMISFETが配置された領域に前記第1の歪膜が残るように、前記第1の歪膜をパターニングする工程と、
    前記第1のMISFET、及びパターニングされた前記第1の歪膜を覆うように、前記半導体基板の上に、前記第1の符号とは反対符号の歪を有する第2の歪膜を形成する工程と、
    前記第1のMISFETが配置された領域を覆い、前記第2のMISFETが配置された領域は覆わない第1のマスクパターンを用いて前記第2の歪膜の露出している部分を、該第2の歪膜の厚さ方向の途中までエッチングして薄くする工程と、
    前記第2の歪膜の一部を薄くした後、前記第1のMISFETが配置された領域を覆い、前記第2のMISFETが配置された領域は覆わない第2のマスクパターンを用いて、前記第2のMISFETが配置されている領域の前記第2の歪膜を除去する工程と
    を有し、
    前記第1のマスクパターンと第2のマスクパターンとの一方のマスクパターンは、パターニングされた前記第1の歪膜の少なくとも一部の縁と重なり、他方のマスクパターンは、該縁から面内方向に隔てられており、前記第2のMISFETが配置されている領域の前記第2の歪膜を除去する工程において、前記第1のマスクパターンと第2のマスクパターンとの一方にのみ覆われていた領域に、前記第2の歪膜の一部が残るように前記第2の歪膜を除去する半導体装置の製造方法。
  2. 前記第1のマスクパターンが、パターニングされた前記第1の歪膜の前記縁と重なり、前記第2のマスクパターンは、該縁から面内方向に隔てられている請求項1に記載の半導体装置の製造方法。
  3. 前記第1のマスクパターンが、パターニングされた前記第1の歪膜の前記縁から面内方向に隔てられており、前記第2のマスクパターンは、該縁に重なっている請求項1に記載の半導体装置の製造方法。
  4. 前記第1の歪膜を形成した後パターニングする前に、前記第1の歪膜の上に、前記第2の歪膜とはエッチング耐性の異なるエッチング停止膜を形成し、
    前記第1の歪膜をパターニングする際に、前記エッチング停止膜も該第1の歪膜と同一の平面形状にパターニングし、
    前記第2の歪膜を除去する工程において、該第2の歪膜のエッチングレートが前記エッチング停止膜のエッチングレートよりも速い条件で該第2の歪膜のエッチングを行う請求項1乃至3のいずれか1項に記載の半導体装置の製造方法。
  5. 前記第2のMISFETがn型チャネルMISFETである場合には、前記第1の歪膜が引張歪を有し、前記第2のMISFETがp型チャネルMISFETである場合には、前記第1の歪膜が圧縮歪を有する請求項1乃至4のいずれか1項に記載の半導体装置の製造方法。
  6. 前記第2の歪膜を除去する工程の後、さらに、
    前記第1の歪膜及び第2の歪膜の上に、層間絶縁膜を形成する工程と、
    前記第1のマスクパターンと前記第2のマスクパターンとの一方のマスクパターンには覆われていたが他方のマスクパターンには覆われていなかった領域に、前記層間絶縁膜を貫通するビアホールを形成する工程と
    を有する請求項1乃至5のいずれか1項に記載の半導体装置の製造方法。
  7. 半導体基板の上に形成された第1導電型チャネルの第1のMISFET、及び該第1導電型とは逆の第2導電型チャネルの第2のMISFETと、
    前記第2のMISFETが配置された領域を覆い、前記第1のMISFETが配置された領域は覆わず、第1の符号の歪を有する第1の歪膜と、
    前記第1のMISFETが配置された領域を覆い、前記第2のMISFETが配置された領域は覆わず、前記第1の符号とは逆の第2の符号の歪を有する第2の歪膜と
    を有し、
    前記第2の歪膜の、前記第2のMISFET側の縁は、前記第1の歪膜の一部と重なり、前記第2の歪膜のうち、前記第1の歪膜と重なった部分、及び該重なった部分に連続する一部分の厚さが、前記第1のMISFETを覆っている部分の厚さよりも薄い半導体装置。
  8. 前記第2のMISFETがn型チャネルMISFETであり、かつ前記第1の歪膜が引張歪を有する請求項7に記載の半導体装置。
  9. 前記第2のMISFETがp型チャネルMISFETであり、かつ前記第1の歪膜が圧縮歪を有する請求項7に記載の半導体装置。
  10. さらに、
    前記第1の歪膜及び第2の歪膜の上に配置された層間絶縁膜と、
    前記層間絶縁膜、及び前記第2の歪膜の薄くなった部分を貫通するビアホールと、
    前記ビアホール内に充填された導電部材と
    を有する請求項7乃至9のいずれか1項に記載の半導体装置。
JP2008179964A 2008-07-10 2008-07-10 半導体装置の製造方法、及び半導体装置 Expired - Fee Related JP5262370B2 (ja)

Priority Applications (3)

Application Number Priority Date Filing Date Title
JP2008179964A JP5262370B2 (ja) 2008-07-10 2008-07-10 半導体装置の製造方法、及び半導体装置
US12/500,277 US8274117B2 (en) 2008-07-10 2009-07-09 Method for manufacturing semiconductor device, and semiconductor device
US13/354,344 US8394693B2 (en) 2008-07-10 2012-01-20 Method for manufacturing semiconductor device, and semiconductor device

Applications Claiming Priority (1)

Application Number Priority Date Filing Date Title
JP2008179964A JP5262370B2 (ja) 2008-07-10 2008-07-10 半導体装置の製造方法、及び半導体装置

Publications (2)

Publication Number Publication Date
JP2010021325A true JP2010021325A (ja) 2010-01-28
JP5262370B2 JP5262370B2 (ja) 2013-08-14

Family

ID=41529542

Family Applications (1)

Application Number Title Priority Date Filing Date
JP2008179964A Expired - Fee Related JP5262370B2 (ja) 2008-07-10 2008-07-10 半導体装置の製造方法、及び半導体装置

Country Status (2)

Country Link
US (2) US8274117B2 (ja)
JP (1) JP5262370B2 (ja)

Families Citing this family (1)

* Cited by examiner, † Cited by third party
Publication number Priority date Publication date Assignee Title
US9003338B2 (en) * 2013-03-15 2015-04-07 Taiwan Semiconductor Manufacturing Company Limited Common template for electronic article

Citations (5)

* Cited by examiner, † Cited by third party
Publication number Priority date Publication date Assignee Title
JP2006080161A (ja) * 2004-09-07 2006-03-23 Fujitsu Ltd 半導体装置およびその製造方法
JP2007173466A (ja) * 2005-12-21 2007-07-05 Toshiba Corp 半導体装置
JP2008124133A (ja) * 2006-11-09 2008-05-29 Toshiba Corp 半導体装置およびその製造方法
JP2009049206A (ja) * 2007-08-20 2009-03-05 Fujitsu Microelectronics Ltd 半導体装置及びその製造方法
JP2009194366A (ja) * 2008-02-14 2009-08-27 Toshiba Corp 半導体装置の製造方法

Family Cites Families (3)

* Cited by examiner, † Cited by third party
Publication number Priority date Publication date Assignee Title
US7521307B2 (en) 2006-04-28 2009-04-21 International Business Machines Corporation CMOS structures and methods using self-aligned dual stressed layers
KR100772902B1 (ko) * 2006-09-28 2007-11-05 삼성전자주식회사 반도체 소자 및 이의 제조 방법
US7534678B2 (en) 2007-03-27 2009-05-19 Samsung Electronics Co., Ltd. Methods of forming CMOS integrated circuit devices having stressed NMOS and PMOS channel regions therein and circuits formed thereby

Patent Citations (5)

* Cited by examiner, † Cited by third party
Publication number Priority date Publication date Assignee Title
JP2006080161A (ja) * 2004-09-07 2006-03-23 Fujitsu Ltd 半導体装置およびその製造方法
JP2007173466A (ja) * 2005-12-21 2007-07-05 Toshiba Corp 半導体装置
JP2008124133A (ja) * 2006-11-09 2008-05-29 Toshiba Corp 半導体装置およびその製造方法
JP2009049206A (ja) * 2007-08-20 2009-03-05 Fujitsu Microelectronics Ltd 半導体装置及びその製造方法
JP2009194366A (ja) * 2008-02-14 2009-08-27 Toshiba Corp 半導体装置の製造方法

Also Published As

Publication number Publication date
US8274117B2 (en) 2012-09-25
JP5262370B2 (ja) 2013-08-14
US20120115291A1 (en) 2012-05-10
US20100013023A1 (en) 2010-01-21
US8394693B2 (en) 2013-03-12

Similar Documents

Publication Publication Date Title
TWI745375B (zh) 接觸結構的製造方法與半導體裝置
US9000534B2 (en) Method for forming and integrating metal gate transistors having self-aligned contacts and related structure
US20150001627A1 (en) Spacer chamfering for a replacement metal gate device
JP4794838B2 (ja) 半導体装置およびその製造方法
US7923365B2 (en) Methods of forming field effect transistors having stress-inducing sidewall insulating spacers thereon
JP5268859B2 (ja) 半導体装置
US20120292673A1 (en) Semiconductor Device and Manufacturing Method Thereof
US7612414B2 (en) Overlapped stressed liners for improved contacts
JP2007103694A (ja) 半導体装置及びその製造方法
US8471341B2 (en) Semiconductor device and method for fabricating the same
JP5159828B2 (ja) 半導体装置
US7659173B2 (en) Method for manufacturing insulated-gate type field effect transistor
JPWO2008117430A1 (ja) 半導体装置の製造方法、半導体装置
WO2011030396A1 (ja) 半導体装置およびその製造方法
JP5262370B2 (ja) 半導体装置の製造方法、及び半導体装置
CN100533692C (zh) 绝缘栅型场效应晶体管的制造方法
US20060163624A1 (en) Semiconductor device, and manufacturing method thereof
US11756839B2 (en) Method for manufacturing metal oxide semiconductor transistor
KR100735522B1 (ko) 반도체 소자의 제조 방법 및 그에 의해 제조된 반도체 소자
JP2008192683A (ja) 半導体装置及びその製造方法
JP2010067912A (ja) 半導体装置及びその製造方法
TW202503974A (zh) 半導體元件及其製作方法
US20110081781A1 (en) Method for manufacturing semiconductor
KR100481990B1 (ko) 다마신 공법을 이용한 게이트 형성방법
JP2007123850A (ja) 半導体装置およびその製造方法

Legal Events

Date Code Title Description
A621 Written request for application examination

Free format text: JAPANESE INTERMEDIATE CODE: A621

Effective date: 20110511

A977 Report on retrieval

Free format text: JAPANESE INTERMEDIATE CODE: A971007

Effective date: 20130326

TRDD Decision of grant or rejection written
A01 Written decision to grant a patent or to grant a registration (utility model)

Free format text: JAPANESE INTERMEDIATE CODE: A01

Effective date: 20130402

A61 First payment of annual fees (during grant procedure)

Free format text: JAPANESE INTERMEDIATE CODE: A61

Effective date: 20130415

R150 Certificate of patent or registration of utility model

Free format text: JAPANESE INTERMEDIATE CODE: R150

Ref document number: 5262370

Country of ref document: JP

Free format text: JAPANESE INTERMEDIATE CODE: R150

S531 Written request for registration of change of domicile

Free format text: JAPANESE INTERMEDIATE CODE: R313531

R350 Written notification of registration of transfer

Free format text: JAPANESE INTERMEDIATE CODE: R350

LAPS Cancellation because of no payment of annual fees