JP2010020470A - 光電式煙感知器 - Google Patents

光電式煙感知器 Download PDF

Info

Publication number
JP2010020470A
JP2010020470A JP2008179314A JP2008179314A JP2010020470A JP 2010020470 A JP2010020470 A JP 2010020470A JP 2008179314 A JP2008179314 A JP 2008179314A JP 2008179314 A JP2008179314 A JP 2008179314A JP 2010020470 A JP2010020470 A JP 2010020470A
Authority
JP
Japan
Prior art keywords
light
emitting unit
smoke
light emitting
receiving unit
Prior art date
Legal status (The legal status is an assumption and is not a legal conclusion. Google has not performed a legal analysis and makes no representation as to the accuracy of the status listed.)
Granted
Application number
JP2008179314A
Other languages
English (en)
Other versions
JP5237004B2 (ja
Inventor
Hironori Tatsumi
裕紀 辰巳
Shuhei Kuroda
修平 黒田
Mitsuteru Nishida
光輝 西田
Current Assignee (The listed assignees may be inaccurate. Google has not performed a legal analysis and makes no representation or warranty as to the accuracy of the list.)
New Cosmos Electric Co Ltd
Original Assignee
New Cosmos Electric Co Ltd
Priority date (The priority date is an assumption and is not a legal conclusion. Google has not performed a legal analysis and makes no representation as to the accuracy of the date listed.)
Filing date
Publication date
Application filed by New Cosmos Electric Co Ltd filed Critical New Cosmos Electric Co Ltd
Priority to JP2008179314A priority Critical patent/JP5237004B2/ja
Publication of JP2010020470A publication Critical patent/JP2010020470A/ja
Application granted granted Critical
Publication of JP5237004B2 publication Critical patent/JP5237004B2/ja
Expired - Fee Related legal-status Critical Current
Anticipated expiration legal-status Critical

Links

Images

Landscapes

  • Fire-Detection Mechanisms (AREA)

Abstract

【課題】煙の感知能力が十分に高く、しかも、外部から進入した埃による誤検出の生じ難い光電式煙感知器を提供する。
【解決手段】外部からの煙を流入させると共に外部からの光を遮断するように間隙を介して並置された複数のラビリンス状の壁部23を備えたハウジング21と、ハウジング21の内部に光を照射する発光部25と、ハウジング21の内部に流入した煙による散乱光を検知する受光部26と、を備え、発光部25から照射される光を、発光部25と受光部26との各軸心どうしの交差地点を含む煙検知領域22Aに向けて反射する反射板27が、発光部25に対して対向配置されている光電式煙感知器とした。
【選択図】図2

Description

本発明は、外部からの煙を流入させると共に外部からの光を遮断するように間隙を介して並置された複数のラビリンス状の壁部を備えたハウジングと、前記ハウジングの内部に光を照射する発光部と、前記ハウジングの内部に流入した煙による散乱光を検知する受光部とを備えている光電式煙感知器に関する。
この種の光電式煙感知器に関連する先行技術文献情報として下記に示す特許文献1がある。この特許文献1に記された光電式煙感知器では、煙がハウジング内に進入した場合には、煙によって形成される散乱光を受光部によって検出することで、煙の感知が可能となる。
発光部と受光部との各軸心どうしがなす角度は、進入した煙の感知感度が低下せず、且つ、外乱光の影響が少なかった実験結果に基づく値として、120°から140°の範囲に設定されている。
特開平9−231485号公報(請求項1、0013段落、図1、図4)
しかし、特許文献1に記された光電式煙感知器では、発光部から受光部に向かう直接光を遮断する遮光壁の縁部に、外部から進入した細かい埃が堆積すると、この埃が煙の不在時にも散乱光を生じ、誤検出の原因となる場合があった。
そこで、本発明の目的は、上に例示した従来技術による光電式煙感知器の持つ欠点に鑑み、煙の感知能力が十分に高く、しかも、外部から進入した埃による誤検出の生じ難い光電式煙感知器を提供することにある。
本発明に係る光電式煙感知器の第1の特徴構成は、
外部からの煙を流入させると共に外部からの光を遮断するように間隙を介して並置された複数のラビリンス状の壁部を備えたハウジングと、
前記ハウジングの内部に光を照射する発光部と、
前記ハウジングの内部に流入した煙による散乱光を検知する受光部と、を備え、
前記発光部から照射される光を、前記発光部と前記受光部との各軸心どうしの交差地点を含む煙検知領域に向けて反射する反射板が、前記発光部に対して対向配置されている点にある。
本発明の第1の特徴構成による光電式煙感知器では、発光部と受光部との各軸心どうしが100°を下回る角度をなすように構成したので、受光部は発光部から発された光の光束から十分に離間することとなり、受光部が発光部から発された光を直接検出してしまうことによる誤検出が少なくなった。他方、発光部と受光部との各軸心どうしが100°を下回る角度をなす構成とすると、煙検知領域に進入した煙が散乱光を形成した場合に、受光部には十分な光成分が到達しないために、感知能力も低下する傾向が生じる。しかし、第1の特徴構成による光電式煙感知器では、発光部に対して対向配置されている反射板が、発光部から照射される光を煙検知領域に向けて反射するので、煙検知領域に進入した煙によって生じる散乱光の輝度または光量が増す。その結果、反射板を設置するという簡便な方法でありながら、感知能力の低下抑制が効果的に実現される。
本発明の他の特徴構成は、前記反射板の反射面が鉛直または鉛直よりも下向き姿勢となるように配置されている点にある。
本構成であれば、反射面が鉛直よりも上向き姿勢とされている構成に比して、反射面に埃や微細な虫の死骸などが堆積し難くなるので、反射板の反射率が長期にわたって維持され易い。
本発明の他の特徴構成は、前記発光部の軸心と前記受光部の軸心とを含む平面が鉛直状となる設置状態において、前記反射板の上方に隣接する前記間隙と前記反射板の背後の空間とを前記反射板の反射面を介さずに連通接続させる埃導入経路が設けられている点にある。
本構成であれば、反射板の上方に隣接する間隙から埃などが進入した場合でも、埃導入経路を介して、反射板の背後の空間に移動できるので、同埃が反射面に付着または堆積し難くなるので、反射板の反射率が長期にわたって維持され易い。
本発明の他の特徴構成は、前記発光部と前記反射板とが横向きに配置されており、前記受光部が前記煙検知領域の真上に配置されている点にある。
本構成であれば、発光部と受光部の光軸どうし、及び、反射板と受光部の光軸どうしが約90°で交差することとなるので、受光部による散乱光の検出能力も十分に得られ、また、受光部が煙検知領域の真上に配置されているので、上方からハウジングに進入し易い埃の進入が受光部によって抑制される。
本発明の他の特徴構成は、前記発光部に発光源からの光を集光する集光レンズが設けられている点にある。
本構成であれば、発光源からの光を煙検知領域の付近に集光させることができるので、発光部からの光が受光部に直に達することによる誤検出、或いは、遮光壁を設けた場合には、遮光壁の縁に溜まった埃によって出来る散乱光による誤検出を抑制し易い。
以下に、本発明に係る光電式煙感知器の一実施形態について図面を参照して説明する。ここでは、本発明を最も一般的な屋内の垂直壁面に壁掛け式に取り付けて用いることを想定して作られた火災警報器1の煙感知部2に適用した場合について説明する。
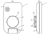
ここで例示する火災警報器1は、図1(a)と図1(b)に示すように、煙を感知する煙感知部2と、煙の感知を音声やブザー等の警報音によって報知する警報スピーカ部3と、同感知をLED等による光の点灯または点滅によって報知する警報ランプ4とを備える。煙感知部2は円筒状のハウジング21を備える。火災警報器1は、煙感知部2が煙を感知した時に、例えば、煙の濃度が予め設定した閾値より高いか低いかを判断し、煙の濃度が閾値を超えている場合に火災と判定して、警報スピーカ3及び警報ランプ4を作動させる。作動した警報スピーカ3及び警報ランプ4は、警報停止ボタン5を操作することにより停止させることができる。火災警報器1の背面には、火災警報器1を壁材等に固定する取り付け部(不図示)や、火災警報器1を駆動させる電池を収納する電池収納部(不図示)等が設けてある。
図2に示すように、ハウジング21の内部には煙を感知する煙感知室22が設けられている。ハウジング21には、複数の鉤状の壁部23が煙感知室22の周りを取り囲むように設けてある。これらの鉤状の壁部23は、クランク状などの間隙部を介して多数並置されることで、外部の光が煙感知室22に進入しないように遮断し、且つ、外部からの煙の流入を許すラビリンス構造を形成している。また、図1(b)に示すように、壁部23の外側には、煙感知室22に虫等が入り込むことによる誤検出を防止するための防虫網24が設けてある。
ハウジング21の内部には、煙感知室22に近赤外線等の光を照射する発光部25と、煙感知室22に流入した煙による散乱光を検知する受光部26とが設けられている。発光部25は、光源としての発光ダイオード等の発光素子25D、及び、発光素子25Dの前面に配置された集光レンズ25Lを備える。受光部26は、フォトダイオード等の受光素子26D、及び、受光素子26Dの前面に配置された集光レンズ26Lを備える。
さらに、発光部25から照射される光の一部を、主に煙検知領域22Aに向けて反射する反射板27が、発光部25に対して対向配置されている。反射板27は矩形の樹脂面を2000番のコンパウンドで研磨することで反射率の高い鏡面状にしたものである。
発光部25は発光素子25D及び集光レンズ25Lの光軸が略水平となるように配置されている。受光部26は受光素子26D及び集光レンズ26Lの光軸が略鉛直となるようにハウジング21の内部の最上部に下向き姿勢で配置されている。発光部25と受光部26の光軸どうしは煙感知室22の略中央で約90°で交差する。反射板27の中心は発光部25の光軸上に配置されているが、その反射面は厳密には水平方向よりも僅かに(0.5°〜5°の角度で)下方に向けられているので、反射板27と受光部26の光軸どうしは、煙感知室22の中央よりも少し下方で交差する。煙感知部2は、これらの交差地点を中心として広がる煙検知領域22Aに煙が進入した際に生じる散乱光を検出することで煙の存在を感知する。
ところで、本実施形態のように壁掛け式として用いる場合、すなわち、発光部25の軸心と受光部26の軸心とを含む平面が建物の垂直壁面に略沿った設置状態では、埃は上方の間隙部からハウジング21の内部に侵入し易い。そこで、上述したように、受光素子26を上方に設けることにより、煙感知室22の内部への埃の侵入を抑制している。また、受光素子26の受光面を下方に向けることにより、埃が受光面に堆積することを防止している。
前述した鉤状の壁部23のうち、煙感知室22の下半分に位置するものの大半は、図3に示すように、ハウジング21の外周に沿って延びた壁本体34、壁本体34の時計方向端部から内径方向に延設された第1延長部35、壁本体34の反時計方向端部から内径方向に延設された第2延長部36を有する。第1延長部35はハウジング21の外周面に対して約45°の傾斜姿勢で延設されている。第2延長部36は、さらに、壁本体34の反時計方向端部から内径方向に略直角に延びた短い基端部36aと、基端部36aから約30°の角度で図の右側に傾斜して延びた中間部36bと、中間部36bの先端から左右に直角に延びた傾斜したフランジ状部36cとからなる。
壁本体24と、第1延長部35と、第2延長部36の基端部36aとは互いに協働して、内径側に開放された有底のカップ状を呈したポケット部23Pを構成している。このポケット部23Pは、主に上方の間隙を介してハウジング21内に進入した埃をその底部に捕獲して蓄積する機能を有する。ポケット部23Pの底面は第1延長部35及び第2延長部36の基端部36aによって囲まれているので、ポケット部23Pの底部に溜まった埃がハウジング21内の気流や外部から伝わる振動によってハウジング21の内部で舞い上がる虞が少ない。
基端部36aと中間部36bとフランジ状部36cの外径側部位とは、互いに協働して有底カップ状の空間を構成し、反時計方向に隣接する壁部23の第1延長部35がこの空間に向かって延びていることで、第1延長部35の外周に第1のコの字状流路が形成されている。
同様に、フランジ状部36cの内径側部位と中間部36bと基端部36aと壁本体34と第1延長部35とは、やはり互いに協働して有底カップ状の空間を構成し、時計方向に隣接する壁部23のフランジ状部36cの外径側部位がこの空間に入り込むように延びていることで、フランジ状部36cの外径側部位の外周に第2のコの字状流路が形成されている。
これらの2つのコの字状流路が互いに連続的に接続されることで、一つの逆S字状のラビリンス部Lを形成している。
一般に、火災警報器1を取り付けた室内で生じる風や、ハウジング21の内と外の間に存在する僅かな温度差などによって、複数の壁部23どうしの間隙を介してハウジング21の内部から外部に向かって排出される気流や、逆に外部から内部に向かって流入する気流が発生することが予測される。図4と図5は、これらの気流の流れをコンピュータによってシミュレーションした結果を示す。
このような気流のうち、ハウジング21の外部から内部に流入する気流は、図3の太い実線及び図4に示すように、先ず、一つの壁部23の基端部36aと、反時計方向に隣接する壁部23の第1延長部35との間からラビリンス部Lに進入する。ラビリンス部Lを通過する際には、中間部36bの背面とフランジ状部36cの外径側部位とによって案内されて、ポケット部23Pの底面を迂回した形で、引き続き、反時計方向に隣接する壁部23の中間部36bとフランジ状部36cの内径側部位とによって径方向内側に案内されて、煙検知領域22A付近に進む。すなわち、ラビリンス部Lの形状は、ハウジング21の外部から内部に流入する気流によって、ポケット部23Pの底面に溜まっている埃が同気流で舞い上がり、煙検知領域22Aに達するといった事態を防止するように設計されている。
次に、上記気流のうち、ハウジング21の内部から外部に流入する気流は、図3の破線及び図5に示すように、先ず、互いに隣接するフランジ状部36cどうしの間隙からラビリンス部Lに進入する。ラビリンス部Lを通過する際には、フランジ状部36cの外径側部位によって案内されながら、ポケット部23Pの底面の内面形状に忠実に沿って、底面に在るものをすくい上げるように進む。気流は次に第1延長部35に沿ってポケット部23Pから抜け出て、時計方向に隣接する壁部23の中間部36bと基端部36aの背面部によって案内されながら、第1延長部35の先端部を回り込んで、ハウジング21の外部に排出される。このように気流がポケット部23Pの底面に沿って進む際には、ポケット部23Pの底面に溜まっている埃を積極的に連行して外部に排出する作用を発揮する。
このように、言い換えれば、壁部23を構成する各部位は、隣接した壁部23を構成する各部位と協働して、外部からハウジング21の内部に流入する気流はポケット部23Pを迂回し、ハウジング21の外部に排出される気流の少なくとも一部はポケット部23Pの底面に沿って流れるように気流を案内する気流案内機構Gを構成している。ポケット部23P及び気流案内機構Gは、主にハウジング21内部の下方を中心とした位置に配置されている。
尚、図2に示すように、発光部25の集光レンズ25Lと受光部26の集光レンズ26Lとの間には、発光部25から受光部26へ向かう直接光を遮断する遮光壁28が設けてある。したがって、発光部25から発される光が受光素子26にそのまま到達することはなく、受光素子26は煙感知室22に煙が流入した時に煙によって形成される散乱光のみを受光するようになる。
また、遮光壁28は、受光部26の略直に位置するので、埃が煙感知室22に侵入した場合でも、埃は遮光壁28の上には堆積し難い。さらに、発光部25と受光部26の光軸どうし、及び、反射板27と受光部26の光軸どうしを約90°で交差するように設定した効果によって、遮光壁28は僅かながら煙検知領域22Aの外側に位置し、且つ、受光部26の軸心から十分に外れている。したがって、仮に埃が遮光壁28の上に堆積しても、埃が形成する散乱光が受光部26によって検出される虞は少ない。
因みに、発光部25と受光部26との位置関係が、両者の光軸どうしが例えば約120°〜160°など、発光部25と受光部26が対峙的となるように設定されると、受光部26による散乱光の検出能力は高まるが、間に設ける遮光壁を、より径方向内側に配置する必要が生じる結果、遮光壁に堆積した埃が形成する散乱光による誤検出の虞が増す。
逆に、発光部25と受光部26との位置関係が、両者の光軸どうしが例えば約50°〜70°など、発光部25と受光部26が並行的になるように設定されると、間に設ける遮光壁は径方向外側に配置できるので、遮光壁に堆積した埃が形成する散乱光による誤検出の虞は減るが、散乱光が受光部26にとって後方散乱となるので、散乱光の検出能力が減少する。
すなわち、発光部25と受光部26の光軸どうし、及び、反射板27と受光部26の光軸どうしを本実施形態のように、約90°で交差するように設定した場合、受光部26による散乱光の検出能力も十分に得られ、且つ、間に設ける遮光壁を比較的径方向外側に配置できるので、遮光壁に堆積した埃が形成する散乱光による誤検出の虞も抑えられる。
反射板27は、発光部25と対向配置されている壁部23のフランジ状部36cを僅かに変形し、その内面側を鏡面化することで実現されている。そして、反射板27の背面には、上方に隣接する間隙と反射板の背後の空間とを反射板の反射面を介さずに連通接続させる埃導入経路30が設けられている。反射板27の上方に隣接する間隙から進入した埃は、図2に破線の矢印で例示するように、反射板27の反射面の前を通らずに、この埃導入経路30に沿って反射板27の背面から、反射板27の背後にある間隙を介して、外部に排出され易い。
〔別実施形態〕
反射板27が煙検知領域22A付近に向けて反射させる光が広がり過ぎないように、反射板27の反射面を適当な湾曲率の凹面鏡状としても良い。
本発明による光電式煙感知器を備えた火災警報器の外観図 図1の光電式煙感知器に設けられた煙感知部の破断正面図 図2の煙感知部の要部を示す拡大図 外部から内部へ向かう気流の経路を示す略図 内部から外部へ向かう気流の経路を示す略図
符号の説明
1 火災警報器
2 煙感知部
3 警報スピーカ部
4 警報ランプ
21 ハウジング
22 煙感知室
22A 煙検知領域
23 壁部
23P ポケット部
25 発光部
25D 発光素子
25L 集光レンズ
26 受光部
26D 受光素子
26L 集光レンズ
27 反射板
28 遮光壁
30 埃導入経路
34 壁本体
35 第1延長部
36 第2延長部
36a 基端部
36b 中間部
36c フランジ状部
L ラビリンス部
G 気流案内機構

Claims (5)

  1. 外部からの煙を流入させると共に外部からの光を遮断するように間隙を介して並置された複数のラビリンス状の壁部を備えたハウジングと、
    前記ハウジングの内部に光を照射する発光部と、
    前記ハウジングの内部に流入した煙による散乱光を検知する受光部と、を備え、
    前記発光部から照射される光を、前記発光部と前記受光部との各軸心どうしの交差地点を含む煙検知領域に向けて反射する反射板が、前記発光部に対して対向配置されている光電式煙感知器。
  2. 前記反射板の反射面が鉛直または鉛直よりも下向き姿勢となるように配置されている請求項1に記載の光電式煙感知器。
  3. 前記発光部の軸心と前記受光部の軸心とを含む平面が鉛直状となる設置状態において、前記反射板の上方に隣接する前記間隙と前記反射板の背後の空間とを前記反射板の反射面を介さずに連通接続させる埃導入経路が設けられている請求項1または2に記載の光電式煙感知器。
  4. 前記発光部と前記反射板とが横向きに配置されており、前記受光部が前記煙検知領域の真上に配置されている請求項1から3のいずれか一項に記載の光電式煙感知器。
  5. 前記発光部に発光源からの光を集光する集光レンズが設けられている請求項1から4のいずれか一項に記載の光電式煙感知器。
JP2008179314A 2008-07-09 2008-07-09 光電式煙感知器 Expired - Fee Related JP5237004B2 (ja)

Priority Applications (1)

Application Number Priority Date Filing Date Title
JP2008179314A JP5237004B2 (ja) 2008-07-09 2008-07-09 光電式煙感知器

Applications Claiming Priority (1)

Application Number Priority Date Filing Date Title
JP2008179314A JP5237004B2 (ja) 2008-07-09 2008-07-09 光電式煙感知器

Publications (2)

Publication Number Publication Date
JP2010020470A true JP2010020470A (ja) 2010-01-28
JP5237004B2 JP5237004B2 (ja) 2013-07-17

Family

ID=41705307

Family Applications (1)

Application Number Title Priority Date Filing Date
JP2008179314A Expired - Fee Related JP5237004B2 (ja) 2008-07-09 2008-07-09 光電式煙感知器

Country Status (1)

Country Link
JP (1) JP5237004B2 (ja)

Cited By (2)

* Cited by examiner, † Cited by third party
Publication number Priority date Publication date Assignee Title
CN111325942A (zh) * 2020-03-31 2020-06-23 宁波尚泰电子有限公司 一种集烟盒上盖及使用其的集烟盒
CN120126271A (zh) * 2025-05-15 2025-06-10 赛特威尔电子股份有限公司 一种烟雾传感器迷宫优化设计及抗粉尘污染方法

Families Citing this family (1)

* Cited by examiner, † Cited by third party
Publication number Priority date Publication date Assignee Title
CN109166268B (zh) * 2018-10-19 2020-10-27 浙江巨感物联网科技有限公司 一种用于感烟探测器的进烟迷宫及感烟探测器

Citations (4)

* Cited by examiner, † Cited by third party
Publication number Priority date Publication date Assignee Title
JPH0372241A (ja) * 1989-08-11 1991-03-27 Nohmi Bosai Ltd 光電式煙感知器の感度調整方法及び感度調整装置
JPH045797A (ja) * 1990-04-24 1992-01-09 Matsushita Electric Works Ltd 粉塵検出装置
JPH08293084A (ja) * 1995-04-21 1996-11-05 Nohmi Bosai Ltd 火災感知器
JP2006244515A (ja) * 2006-04-07 2006-09-14 Nittan Co Ltd 火災感知器

Patent Citations (4)

* Cited by examiner, † Cited by third party
Publication number Priority date Publication date Assignee Title
JPH0372241A (ja) * 1989-08-11 1991-03-27 Nohmi Bosai Ltd 光電式煙感知器の感度調整方法及び感度調整装置
JPH045797A (ja) * 1990-04-24 1992-01-09 Matsushita Electric Works Ltd 粉塵検出装置
JPH08293084A (ja) * 1995-04-21 1996-11-05 Nohmi Bosai Ltd 火災感知器
JP2006244515A (ja) * 2006-04-07 2006-09-14 Nittan Co Ltd 火災感知器

Cited By (2)

* Cited by examiner, † Cited by third party
Publication number Priority date Publication date Assignee Title
CN111325942A (zh) * 2020-03-31 2020-06-23 宁波尚泰电子有限公司 一种集烟盒上盖及使用其的集烟盒
CN120126271A (zh) * 2025-05-15 2025-06-10 赛特威尔电子股份有限公司 一种烟雾传感器迷宫优化设计及抗粉尘污染方法

Also Published As

Publication number Publication date
JP5237004B2 (ja) 2013-07-17

Similar Documents

Publication Publication Date Title
US8232885B2 (en) Photoelectric smoke detector
JP4652716B2 (ja) 煙感知器
KR101482180B1 (ko) 광전식 화재감지기
WO2006112085A1 (ja) 光電式煙感知器
JP6029055B2 (ja) 煙感知器
JP5579899B2 (ja) 光電式煙感知器
JP5237004B2 (ja) 光電式煙感知器
JP5133157B2 (ja) 光電式煙感知器
JP6905900B2 (ja) 散乱光式感知器
JP3747830B2 (ja) 浮遊微粒子検知装置
JP5280347B2 (ja) 光電式煙感知器
JP5442207B2 (ja) 点灯装置及び煙感知器
JP5038112B2 (ja) 光電式煙感知器
JP6957273B2 (ja) 散乱光式感知器
JP6470558B2 (ja) 光電式煙感知器
JP5325397B2 (ja) 煙感知器
JP5210757B2 (ja) 煙感知器
JP2016115062A (ja) 光電式煙感知器
JP5379369B2 (ja) 光電式煙感知器
JP2011076285A (ja) 光電式煙感知器
JP5046552B2 (ja) 光電式煙感知器
JP6470559B2 (ja) 光電式煙感知器
JP2016130882A (ja) 光電式煙感知器
JP5117820B2 (ja) 光電式煙感知器
JP2010238087A (ja) 光電式煙感知器

Legal Events

Date Code Title Description
A621 Written request for application examination

Free format text: JAPANESE INTERMEDIATE CODE: A621

Effective date: 20101221

A977 Report on retrieval

Free format text: JAPANESE INTERMEDIATE CODE: A971007

Effective date: 20120510

A131 Notification of reasons for refusal

Free format text: JAPANESE INTERMEDIATE CODE: A131

Effective date: 20120531

A521 Request for written amendment filed

Free format text: JAPANESE INTERMEDIATE CODE: A523

Effective date: 20120730

A02 Decision of refusal

Free format text: JAPANESE INTERMEDIATE CODE: A02

Effective date: 20121101

A521 Request for written amendment filed

Free format text: JAPANESE INTERMEDIATE CODE: A523

Effective date: 20130131

A521 Request for written amendment filed

Free format text: JAPANESE INTERMEDIATE CODE: A821

Effective date: 20130131

A911 Transfer to examiner for re-examination before appeal (zenchi)

Free format text: JAPANESE INTERMEDIATE CODE: A911

Effective date: 20130222

TRDD Decision of grant or rejection written
A01 Written decision to grant a patent or to grant a registration (utility model)

Free format text: JAPANESE INTERMEDIATE CODE: A01

Effective date: 20130314

A61 First payment of annual fees (during grant procedure)

Free format text: JAPANESE INTERMEDIATE CODE: A61

Effective date: 20130328

R150 Certificate of patent or registration of utility model

Free format text: JAPANESE INTERMEDIATE CODE: R150

Ref document number: 5237004

Country of ref document: JP

Free format text: JAPANESE INTERMEDIATE CODE: R150

FPAY Renewal fee payment (event date is renewal date of database)

Free format text: PAYMENT UNTIL: 20160405

Year of fee payment: 3

R250 Receipt of annual fees

Free format text: JAPANESE INTERMEDIATE CODE: R250

R250 Receipt of annual fees

Free format text: JAPANESE INTERMEDIATE CODE: R250

R250 Receipt of annual fees

Free format text: JAPANESE INTERMEDIATE CODE: R250

R250 Receipt of annual fees

Free format text: JAPANESE INTERMEDIATE CODE: R250

LAPS Cancellation because of no payment of annual fees
R250 Receipt of annual fees

Free format text: JAPANESE INTERMEDIATE CODE: R250

R250 Receipt of annual fees

Free format text: JAPANESE INTERMEDIATE CODE: R250

R250 Receipt of annual fees

Free format text: JAPANESE INTERMEDIATE CODE: R250

R250 Receipt of annual fees

Free format text: JAPANESE INTERMEDIATE CODE: R250

R250 Receipt of annual fees

Free format text: JAPANESE INTERMEDIATE CODE: R250

R250 Receipt of annual fees

Free format text: JAPANESE INTERMEDIATE CODE: R250