JP2010020088A - 感光性ペースト組成物およびパターン形成方法 - Google Patents
感光性ペースト組成物およびパターン形成方法 Download PDFInfo
- Publication number
- JP2010020088A JP2010020088A JP2008180370A JP2008180370A JP2010020088A JP 2010020088 A JP2010020088 A JP 2010020088A JP 2008180370 A JP2008180370 A JP 2008180370A JP 2008180370 A JP2008180370 A JP 2008180370A JP 2010020088 A JP2010020088 A JP 2010020088A
- Authority
- JP
- Japan
- Prior art keywords
- photosensitive paste
- paste composition
- pattern
- meth
- weight
- Prior art date
- Legal status (The legal status is an assumption and is not a legal conclusion. Google has not performed a legal analysis and makes no representation as to the accuracy of the status listed.)
- Granted
Links
Images
Landscapes
- Gas-Filled Discharge Tubes (AREA)
- Photosensitive Polymer And Photoresist Processing (AREA)
- Materials For Photolithography (AREA)
Abstract
【解決手段】アルミニウム粉末およびアルミニウム合金粉末から選択される少なくとも1種の金属粉末(A)、アルカリ可溶性樹脂(C)、多官能(メタ)アクリレート(D)、光重合開始剤(E)、溶剤(F)、ならびにAl、LiおよびMgから選択される金属を含有する有機金属化合物(G)を含むことを特徴とする感光性ペースト組成物。
【選択図】なし
Description
[4]さらにガラス粉末(B)を含み、該ガラス粉末(B)の平均粒子径(D50)が0.2〜4.0μmであり、最大粒子径(Dmax)が30μm以下であることを特徴とす
る前記[1]〜[3]の何れかに記載の感光性ペースト組成物。
本発明の感光性ペースト組成物は、以下に説明する金属粉末(A)、感光性樹脂成分、および有機金属化合物(G)を必須成分として含む。前記感光性樹脂成分は、アルカリ可溶性樹脂(C)、多官能(メタ)アクリレート(D)および光重合開始剤(E)からなる感光性樹脂と、溶剤(F)とから構成される。
また、本発明の感光性ペースト組成物には、上記成分以外に任意成分として、ガラス粉末(B)やその他の添加剤などを配合してもよい。
本発明で用いられる金属粉末(A)は、アルミニウム粉末およびアルミニウム合金粉末から選択される少なくとも1種の金属粉末である。金属粉末(A)の形状については特に限定されず、球状またはフレーク状の粉末を使用することができる。
上述の金属粉末(A)を配合することにより、本発明の感光性ペースト組成物を用いて、安価でかつ高精細のパターンを形成することができる。
本発明で好ましく用いられるガラス粉末(B)は、感光性ペースト組成物により形成される焼結体の用途(FPD部材、電子部品の種類)に応じて適宜選択することができる。
は0.5〜35重量%、より好ましくは5.0〜30.0重量%の割合で含まれる。前記ガラス粉末の含有量が前記範囲にあると、支持体との密着性に優れるパターンを形成することができる。
1.酸化鉛、酸化ホウ素、酸化ケイ素(PbO−B2O3−SiO2系)の混合物、
2.酸化亜鉛、酸化ホウ素、酸化ケイ素(ZnO−B2O3−SiO2系)の混合物、
3.酸化鉛、酸化ホウ素、酸化ケイ素、酸化アルミニウム(PbO−B2O3−SiO2−
Al2O3系)の混合物、
4.酸化鉛、酸化亜鉛、酸化ホウ素、酸化ケイ素(PbO−ZnO−B2O3−SiO2系
)の混合物、
5.酸化ビスマス、酸化ホウ素、酸化ケイ素(Bi2O3−B2O3−SiO2系)の混合物
、
6.酸化亜鉛、酸化リン、酸化ケイ素(ZnO−P2O5−SiO2系)の混合物、
7.酸化亜鉛、酸化ホウ素、酸化カリウム(ZnO−B2O3−K2O系)の混合物、
8.酸化リン、酸化ホウ素、酸化アルミニウム(P2O5−B2O3−Al2O3系)の混合物、
9.酸化亜鉛、酸化リン、酸化ケイ素、酸化アルミニウム(ZnO−P2O5−SiO2−
Al2O3系)の混合物、
10.酸化亜鉛、酸化リン、酸化チタン(ZnO−P2O5−TiO2系)の混合物、
11.酸化亜鉛、酸化ホウ素、酸化ケイ素、酸化カリウム(ZnO−B2O3−SiO2−
K2O系)の混合物、
12.酸化亜鉛、酸化ホウ素、酸化ケイ素、酸化カリウム、酸化カルシウム(ZnO−B2O3−SiO2−K2O−CaO系)の混合物、
13.酸化亜鉛、酸化ホウ素、酸化ケイ素、酸化カリウム、酸化カルシウム、酸化アルミニウム(ZnO−B2O3−SiO2−K2O−CaO−Al2O3系)の混合物、
14.酸化ホウ素、酸化ケイ素、酸化アルミニウム(B2O3−SiO2−Al2O3系)の
混合物、
15.酸化ホウ素、酸化ケイ素、酸化ナトリウム(B2O3−SiO2−Na2O系)の混合物などが挙げられる。これらの中では、特に環境を配慮した無鉛ガラス粉末が好ましい。
ましくは10〜20μmの範囲にある。ガラス粉末(B)の最大粒子径が前記範囲にあると、解像性に優れるパターンを形成することができる。
ラス粉末(B)、アルカリ可溶性樹脂(C)、多官能(メタ)アクリレート(D)および光重合開始剤(E)の合計100重量%に対して、好ましくは60〜80重量%、より好ましくは65〜80重量%、さらに好ましくは70〜75重量%の範囲にある。金属粉末(A)およびガラス粉末(B)の含有量の合計が前記範囲にあると、焼成工程において金属粉末(A)の酸化を防止することができ、低抵抗な電極を製造できる。また、前記電極は基板との密着性にも優れる。
本発明で用いられるアルカリ可溶性樹脂(C)は、アルカリ可溶性であれば特に限定されない。本発明において「アルカリ可溶性」とは、目的とする現像処理が可能な程度に、アルカリ性の現像液に溶解する性質をいう。
アルカリ可溶性樹脂(C)としては、以下のアルカリ可溶性官能基含有モノマー(C1)と(メタ)アクリル酸誘導体(C2)との共重合体が好ましい。
上記アルカリ可溶性官能基含有モノマー(C1)としては、(メタ)アクリル酸、マレイン酸、フマル酸、クロトン酸、イタコン酸、シトラコン酸、メサコン酸、ケイ皮酸、コハク酸モノ(2−(メタ)アクリロイロキシエチル)、2−メタクリロイロキシエチルフタル酸、2−アクリロイルオキシエチルハイドロゲンフタレート、2−アクリロイルオキシプロピルハイドロゲンフタレート、2−アクリロイルオキシプロピルヘキサヒドロハイドロゲンフタレート、2−アクリロイルオキシプロピルテトラヒドロハイドロゲンフタレート、ω−カルボキシ−ポリカプロラクトンモノ(メタ)アクリレートなどのカルボキシル基含有モノマー類;
(メタ)アクリル酸2−ヒドロキシエチル、(メタ)アクリル酸2−ヒドロキシプロピル、(メタ)アクリル酸3−ヒドロキシプロピル、(α−ヒドロキシメチル)アクリレートなどの水酸基含有モノマー類;
o−ヒドロキシスチレン、m−ヒドロキシスチレン、p−ヒドロキシスチレンなどのフェノール性水酸基含有モノマー類などの、アルカリ可溶性官能基と不飽和結合とを有するモノマーが挙げられる。これらの中では、(メタ)アクリル酸、2−メタクリロイロキシエチルフタル酸、2−アクリロイルオキシエチルハイドロゲンフタレート、2−アクリロイルオキシプロピルハイドロゲンフタレート、2−アクリロイルオキシプロピルヘキサヒドロハイドロゲンフタレート、2−アクリロイルオキシプロピルテトラヒドロハイドロゲンフタレート、(メタ)アクリル酸2−ヒドロキシエチルが好ましい。
上記(メタ)アクリル酸誘導体(C2)としては、上記アルカリ可溶性官能基含有モノマー(C1)と共重合可能な(メタ)アクリル酸誘導体であれば特に限定されないが、例えば、メチル(メタ)アクリレート、エチル(メタ)アクリレート、n−ブチル(メタ)アクリレート、ラウリル(メタ)アクリレート、ベンジル(メタ)アクリレート、2−メトキシエチル(メタ)アクリレート、2−エトキシエチル(メタ)アクリレート、2−エチルヘキシル(メタ)アクリレート、フェノキシエチル(メタ)アクリレート、トリチル(メタ)アクリレート、シクロヘキシル(メタ)アクリレート、イソボロニル(メタ)アクリレート、グリシジル(メタ)アクリレート、ジシクロペンタニル(メタ)アクリレートなどの、上記アルカリ可溶性官能基含有モノマー(C1)以外の(メタ)アクリレート類などが挙げられる。
上記共重合の際、ラジカル重合開始剤を用いることが好ましい。ラジカル重合開始剤としては、ビニル単量体の重合に用いられるラジカル重合開始剤を用いることができる。例えば、2,2'−アゾビスイソブチロニトリル、2,2'−アゾビス(2−メチルブチルニトリル)、2,2'−アゾビス(2,4−ジメチルバレロニトリル)、1,1'−アゾビス(1−シクロヘキサンカルボニトリル)、ジメチルー2,2'−アゾビスイソブチレート
、4,4'−アゾビス(4−シアノバレリック酸)などのアゾ化合物;t−ブチルパーオ
キシビバレート、t−ブチルパーオキシ2−エチルヘキサノエート、クミルパーオキシ2−エチルヘキサノエートなどのパーオキシエステル類の有機過酸化物などが挙げられる。これらのラジカル重合開始剤は、1種単独で用いてもよく、2種以上を併用してもよい。
上記ラジカル重合開始剤の使用量は、上記共重合に使用する全モノマー(マクロモノマーを含む。以下同じ。)100重量部に対して、通常は0.1〜10重量部程度である。
上記共重合の際、連鎖移動剤を用いてもよい。連鎖移動剤としては、例えば、α−メチレンスチレンダイマー、t−ドデシルメルカプタン、ペンタエリスリトールテトラキス(3−メルカプトプロピオネート)、ペンタエリスリトールテトラキス(3−メルカプトブチレート)、トリメチロールプロパントリス(3−メルカプトプロピオネート)、テトラエチレングリコールビス(3−メルカプトプロピオネート)、1,4−ビス(3−メルカプトブチリルオキシ)ブタンなどが挙げられる。
アルカリ可溶性樹脂(C)の重量平均分子量(以下、「Mw」ともいう)は、ゲルパーミエーションクロマトグラフィー(以下、「GPC」ともいう)により測定したポリスチレン換算値で、好ましくは5000〜100000、より好ましくは10000〜80000である。Mwは、上述のモノマー(C1)および(C2)の共重合割合、組成、連鎖移動剤、重合温度などの条件を適宜選択することにより制御することができる。Mwが前記範囲よりも低いと、現像後の膜荒れが発生しやすくなる。また、Mwが前記範囲を超えると、未露光部の現像液に対する溶解性が低下し、解像度が低下する場合がある。
カリ現像液に浸食されやすくなり、高精細なパターン形成が困難となる傾向にある。
本発明で用いられる多官能(メタ)アクリレート(D)としては、例えば、アリル化シクロヘキシルジ(メタ)アクリレート、2,5−ヘキサンジ(メタ)アクリレート、1,4−ブタンジオールジ(メタ)アクリレート、1,3−ブチレングリコールジ(メタ)アクリレート、エチレングリコールジ(メタ)アクリレート、ジエチレングリコールジ(メタ)アクリレート、トリエチレングリコールジ(メタ)アクリレート、ポリエチレングリコールジ(メタ)アクリレート、グリセロールジ(メタ)アクリレート、メトキシ化シクロヘキシルジ(メタ)アクリレート、ネオペンチルグリコールジ(メタ)アクリレート、プロピレングリコールジ(メタ)アクリレート、ポリプロピレングリコールジ(メタ)アクリレート、トリグリセロールジ(メタ)アクリレートなどのジ(メタ)タクリレート類;
ペンタエリスリトールトリ(メタ)アクリレート、トリメチロールプロパン(メタ)アクリレート、トリメチロールプロパン(プロピレンオキサイド変性)トリ(メタ)アクリレート、トリメチロールプロパン(エチレンオキサイド変性)トリ(メタ)アクリレート、ジペンタエリスリトールヘキサ(メタ)アクリレート、ジペンタエリスリトールモノヒドロキシペンタ(メタ)アクリレート、ジトリメチロールプロパンテトラ(メタ)アクリレート、トリメチロールプロパントリ(メタ)アクリレート、ベンジルメルカプタン(メタ)アクリレートなどの3官能以上の(メタ)アクリレート類;
上記化合物中の芳香環の水素原子のうち、1〜5個を塩素または臭素原子に置換したモノマーなどが挙げられる。多官能(メタ)アクリレート(D)は、1種単独で用いても、2種以上を併用してもよい。
本発明で用いられる光重合開始剤(E)としては、例えば、ベンゾフェノン、o−ベンゾイル安息香酸メチル、4,4−ビス(ジメチルアミン)ベンゾフェノン、4,4−ビス(ジエチルアミノ)ベンゾフェノン、4,4−ジクロロベンゾフェノン、4−ベンゾイル−4−メチルジフェニルケトン、ジベンジルケトン、フルオレノン、2,2−ジエトキシアセトフェノン、2,2−ジメトキシ−2−フェニル−2−フェニルアセトフェノン、2−ヒドロキシ−2−メチルプロピオフェノン、p−t−ブチルジクロロアセトフェノン、チオキサントン、2−メチルチオキサントン、2−クロロチオキサントン、2−イソプロピルチオキサントン、4−イソプロピルチオキサントン、1−クロロー4−プロピルチオ
キサントン、2,4−ジエチルチオキサントン、ベンジルジメチルケタノール、ベンジルメトキシエチルアセタール、ベンゾイン、ベンゾインメチルエーテル、ベンゾインブチルエーテル、アントラキノン、2−t−ブチルアントラキノン、2−アミルアントラキノン、β−クロルアントラキノン、アントロン、ベンズアントロン、ジベンゾスベロン、メチレンアントロン、4−アジドベンザルアセトフェノン、2,6−ビス(p−アジドベンジリデン)シクロヘキサノン、2,6−ビス(p−アジドベンジリデン)−4−メチルシクロヘキサノン、2−フェニル−1,2−ブタジオン−2−(o−メトキシカルボニル)オキシム、1−フェニル−プロパンジオン−2−(o−エトキシカルボニル)オキシム、1,3−ジフェニル−プロパントリオン−2−(o−エトキシカルボニル)オキシム、1−フェニル−3−エトキシ−プロパントリオン−2−(o−ベンゾイル)オキシム、ミヒラーケトン、2−メチル−1−[4−(メチルチオ)フェニル]−2−モルフォリノ−1−プロパン−1−オン、2−ベンジル−2−ジメチルアミノ−1−(4−モルフォリノフェニル)ブタノン−1、2−ヒドロキシ−2−メチル−1−フェニル−プロパン−1−オン、2,2’−ジメトキシ−1,2−ジフェニルエタン−1−オン、ビス(2,6−ジメトキシベンゾイル)−2,4,4−トリメチルーペンチルフォスフィンオキサイド、2,4,6−トリメチルベンゾイル−ジフェニルフォスフィンオキサイド、ビス(2,4,6−トリメチルベンゾイル)−フェニルフォスフィンオキサイド、ナフタレンスルホニルクロライド、キノリンスルホニルクロライド、N−フェニルチオアクリドン、4,4−アゾビスイソブチロニトリル、ジフェニルジスルフィド、ベンズチアゾールジスルフィド、トリフェニルホルフィン、カンファーキノン、四臭素化炭素、トリブロモフェニルスルホン、過酸化ベンゾイン、および、エオシンやメチレンブルーなどの光還元性の色素とアスコルビン酸やトリエタノールアミンなどの還元剤との組み合わせなどが挙げられる。これらは、1種単独で用いても、2種以上を併用してもよい。
本発明で用いられる溶剤(F)は、感光性ペースト組成物の粘度を調整するために用い
られる。溶剤(F)としては、例えば、ターピネオール、ジヒドロターピネオール、ジヒドロターピネニルアセテート、リモネン、カルベオール、カルビニルアセテート、シトロネロール、ジエチレングリコールモノエチルエーテルアセテート、ジエチレングリコールモノブチルエーテルアセテート、プロピレングリコールモノメチルエーテルアセテート、プロピレングリコールモノメチルエーテル、メチルセロソルブ、エチルセロソルブ、ブチルセロソルブ、メトキシプロピルアセテート、メチルエチルケトン、ジオキサン、アセトン、シクロヘキサノン、シクロペンタノン、イソブチルアルコール、イソプロピルアルコール、テトラヒドロフラン、ジメチルスルフォキシド、γ−ブチロラクトン、ブロモベンゼン、クロロベンゼン、ジブロモベンゼン、ジクロロベンゼン、ブロモ安息香酸、クロロ安息香酸などの有機溶剤が挙げられる。溶剤(F)は、1種単独で用いても、2種以上を併用してもよい。
溶剤(F)の含有量は、感光性樹脂成分100重量%に対して、通常は30〜80重量%、好ましくは40〜70重量%の範囲にある。
本発明で用いられる有機金属化合物(G)は、Al、LiおよびMgから選択される金属を含有する有機金属化合物である。本発明において、有機金属化合物(G)を配合することにより、焼結体の抵抗値を低減することができる。
本発明の感光性ペースト組成物には、紫外線吸収剤、重合禁止剤、酸化防止剤、密着助剤、溶解促進剤、増感助剤、可塑剤、増粘剤、分散剤、上記成分の沈降防止剤、レベリング剤などの添加剤を配合してもよい。
本発明の感光性ペースト組成物には、紫外線吸収剤を添加してもよい。紫外線吸収効果の高い化合物を添加することによって、高アスペクト比、高精細、高解像度のパターンが得られる。紫外線吸収剤としては、有機系染料および無機顔料を用いることができ、中でも350〜450nmの波長範囲で高い紫外線吸収係数を有する有機系染料および無機顔料が好ましく用いられる。
酸化亜鉛、酸化チタン、酸化セリウムなどの無機顔料が挙げられる。これらの中ではFPDの信頼性の観点から、酸化亜鉛、酸化チタン、酸化セリウムなどの無機顔料がより好ましい。
本発明の感光性ペースト組成物には、保存時の熱安定性を向上させるために、重合禁止剤を添加してもよい。重合禁止剤としては、例えば、ヒドロキノン、ヒドロキノンのモノエステル化物、N−ニトロソジフェニルアミン、フェノチアジン、p−t−ブチルカテコール、N−フェニルナフチルアミン、2,6−ジ−t−ブチル−p−メチルフェノール、クロラニール、ピロガロールなどが挙げられる。重合禁止剤は、前記組成物中に、好ましくは0.001〜1重量%の範囲となる量で添加することができる。
本発明の感光性ペースト組成物には、保存時における上記感光性樹脂の酸化を防止するために、酸化防止剤を添加してもよい。酸化防止剤としては、例えば、2,6−ジ−t−ブチル−p−クレゾール、ブチル化ヒドロキシアニソール、2,6−ジ−t−4−エチルフェノール、2,2−メチレン−ビス−(4−メチル−6−t−ブチルフェノール)、2,2−メチレン−ビス−(4−エチル−6−t−ブチルフェノール)、4,4−ビス−(3−メチル−6−t−ブチルフェノール)、1,1,3−トリス−(2−メチル−6−t−ブチルフェノール)、1,1,3−トリス−(2−メチル−4−ヒドロキシ−t−ブチルフェニル)ブタン、ビス[3,3−ビス−(4−ヒドロキシ−3−t−ブチルフェニル)ブチリックアシッド]グリコールエステル、ジラウリルチオジプロピオナート、トリフェニルホスファイトなどが挙げられる。酸化防止剤は、前記組成物中に、好ましくは0.001〜1重量%の範囲となる量で添加することができる。
本発明の感光性ペースト組成物には、感光性ペースト層とガラス基板などの支持体との密着性を向上させるために、密着助剤を添加してもよい。密着助剤としては、シラン化合物が好適に用いられる。
シシラン、n−デシルジメチルプロポキシシラン、n−ヘキサデシルジメチルプロポキシシラン、n−イコサンジメチルプロポキシシラン、n−プロピルジエチルプロポキシシラン、n−ブチルジエチルプロポキシシラン、n−デシルジエチルプロポキシシラン、n−ヘキサデシルジエチルプロポキシシラン、n−イコサンジエチルプロポキシシラン、n−ブチルジプロピルプロポキシシラン、n−デシルジプロピルプロポキシシラン、n−ヘキサデシルジプロピルプロポキシシラン、n−イコサンジプロピルプロポキシシラン、n−プロピルメチルジメトキシシラン、n−ブチルメチルジメトキシシラン、n−デシルメチルジメトキシシラン、n−ヘキサデシルメチルジメトキシシラン、n−イコサンメチルジメトキシシラン、n−プロピルエチルジメトキシシラン、n−ブチルエチルジメトキシシラン、n−デシルエチルジメトキシシラン、n−ヘキサデシルエチルジメトキシシラン、n−イコサンエチルジメトキシシラン、n−ブチルプロピルジメトキシシラン、n−デシルプロピルジメトキシシラン、n−ヘキサデシルプロピルジメトキシシラン、n−イコサンプロピルジメトキシシラン、n−プロピルメチルジエトキシシラン、n−ブチルメチルジエトキシシラン、n−デシルメチルジエトキシシラン、n−ヘキサデシルメチルジエトキシシラン、n−イコサンメチルジエトキシシラン、n−プロピルエチルジエトキシシラン、n−ブチルエチルジエトキシシラン、n−デシルエチルジエトキシシラン、n−ヘキサデシルエチルジエトキシシラン、n−イコサンエチルジエトキシシラン、n−ブチルプロピルジエトキシシラン、n−デシルプロピルジエトキシシラン、n−ヘキサデシルプロピルジエトキシシラン、n−イコサンプロピルジエトキシシラン、n−プロピルメチルジプロポキシシラン、n−ブチルメチルジプロポキシシラン、n−デシルメチルジプロポキシシラン、n−ヘキサデシルメチルジプロポキシシラン、n−イコサンメチルジプロポキシシラン、n−プロピルエチルジプロポキシシラン、n−ブチルエチルジプロポキシシラン、n−デシルエチルジプロポキシシラン、n−ヘキサデシルエチルジプロポキシシラン、n−イコサンエチルジプロポキシシラン、n−ブチルプロピルジプロポキシシラン、n−デシルプロピルジプロポキシシラン、n−ヘキサデシルプロピルジプロポキシシラン、n−イコサンプロピルジプロポキシシラン、n−プロピルトリメトキシシラン、n−ブチルトリメトキシシラン、n−デシルトリメトキシシラン、n−ヘキサデシルトリメトキシシラン、n−イコサントリメトキシシラン、n−プロピルトリエトキシシラン、n−ブチルトリエトキシシラン、n−デシルトリエトキシシラン、n−ヘキサデシルトリエトキシシラン、n−イコサントリエトキシシラン、n−プロピルトリプロポキシシラン、n−ブチルトリプロポキシシラン、n−デシルトリプロポキシシラン、n−ヘキサデシルトリプロポキシシラン、n−イコサントリプロポキシシラン、ビニルトリメトキシシラン、ビニルトリエトキシシラン、N−(2−アミノエチル)3−アミノプロピルメチルジメトキシシラン、N−(2−アミノエチル)3−アミノプロピルトリメトキシシラン、3−アミノプロピルトリメトキシシラン、3−アミノプロピルトリエトキシシラン、3−グリシドキシプロピルトリメトキシシラン、3−グリシドキシプロピルメチルジメトキシシラン、2−(3,4−エポキシシクロヘキシル)エチルトリメトキシシラン、3−メタクリロキシプロピルトリメトキシシラン、3−メルカプトプロピルトリメトキシシラン、N−(1,3−ジメチルブチリデン)−3−(トリエトキシシリル)−1−プロパンアミン、N,N'−ビス−[3−(トリメトキシシリル)プロピル]エチレンジアミンなどが挙げられる
。これらは、1種単独で用いても、2種以上を併用してもよい。
本発明の感光性ペースト組成物は、後述する現像液への充分な溶解性を発現させる目的で、溶解促進剤を含有することが好ましい。溶解促進剤としては、界面活性剤が好ましく用いられる。前記界面活性剤としては、例えば、フッ素系界面活性剤、シリコーン系界面
活性剤、ノニオン系界面活性剤、脂肪酸などが挙げられる。
本発明の感光性ペースト組成物は、上述の各成分を所定の組成比となるように調合した後、3本ロールや混練機で均質に混合分散して調製される。前記組成物の粘度は、金属粉末(A)やガラス粉末(B)などの無機粒子、溶剤(F)、増粘剤、可塑剤および沈殿防止剤などの添加量によって適宜調整することができるが、その範囲は通常は100〜500000cps(センチ・ポイズ)である。
本発明のパターン形成方法は、上記感光性ペースト組成物からなる感光性ペースト層を基板上に形成する工程(感光性ペースト層形成工程)、該ペースト層を露光処理してパターンの潜像を形成する工程(露光工程)、該ペースト層を現像処理してパターンを形成する工程(現像工程)、および該パターンを焼成処理する工程(焼成工程)を含むことを特徴とする。
本工程では、上記感光性ペースト組成物からなる感光性ペースト層を基板上に形成する。感光性ペースト層の形成方法としては、例えば、(i)上記感光性ペースト組成物を基
板上に塗布して塗膜を形成し、該塗膜を乾燥させて形成する方法、(ii)上記感光性ペースト組成物を支持フィルム上に塗布して塗膜を形成し、該塗膜を乾燥させて得られる感光性ペースト層を有する転写フィルムを用いて、基板上に該ペースト層を転写する方法などが挙げられる。
えば20μm以上)、かつ均一性に優れた塗膜を効率よく形成することができる方法であれば特に限定されない。例えば、ナイフコータによる塗布方法、ロールコータによる塗布方法、ドクターブレードによる塗布方法、カーテンコータによる塗布方法、ダイコータによる塗布方法、ワイヤーコータによる塗布方法、スクリーン印刷装置によるスクリーン印刷法などが挙げられる。
上記のようにして形成された感光性ペースト層の膜厚は、通常は3〜300μm、好ましくは5〜200μmである。なお、上記組成物の塗布をn回繰り返すことで、n層(nは2以上の整数を示す)の感光性ペースト層を有する積層体を形成してもよい。
ンテレフタレート、ポリエステル、ポリエチレン、ポリプロピレン、ポリスチレン、ポリイミド、ポリビニルアルコール、ポリ塩化ビニル、ポリフロロエチレンなどの含フッ素樹脂、ナイロン、セルロースなどが挙げられる。
ある。また、上記基板は予熱されていてもよく、予熱温度は、例えば40〜140℃である。
上記感光性ペースト層形成工程により基板上に感光性ペースト層を形成した後、露光装置を用いて露光を行う。具体的には、感光性ペースト層の表面に、露光用マスクを介して、紫外線などの放射線を選択的に照射して、該ペースト層にパターンの潜像を形成する。
露光装置としては、平行光露光機、散乱光露光機、ステッパー露光機、プロキシミティ露光機などを用いることができる。また、大面積の露光を行う場合は、ガラス基板などの基板上に感光性ペースト層を形成した後に、搬送しながら露光を行うことによって、小さな露光面積の露光機で、大きな面積を露光することができる。
を用いて0.05〜1分間露光を行う。この場合、波長フィルターを用いて露光光の波長領域を狭くすることによって、光の散乱を抑制し、パターン形成性を向上させることができる。具体的には、i線(365nm)の光をカットするフィルター、あるいは、i線およびh線(405nm)の光をカットするフィルターを用いて、パターン形成性を向上させることができる。
上記露光後、感光部分と非感光部分の現像液に対する溶解度差を利用して、感光性ペースト層を現像して該ペースト層のパターンを形成する。現像方法(例えば、浸漬法、揺動法、シャワー法、スプレー法、パドル法、ブラシ法など)および現像処理条件(例えば、現像液の種類・組成・濃度、現像時間、現像温度など)などは、感光性ペースト層の種類に応じて適宜選択、設定すればよい。
能な有機溶剤が使用できる。また、前記有機溶剤にその溶解力が失われない範囲で水を添加してもよい。感光性ペースト層中にカルボキシル基などの酸性基を持つ化合物が存在する場合、アルカリ水溶液で現像できる。
上記現像後の感光性ペースト層残留部(該ペースト層のパターン)に含まれる有機物質を焼失させるために、焼成炉にて該ペースト層のパターンを焼成処理する。
上記感光性ペースト層形成、露光、現像、焼成の各工程中に、乾燥または予備反応の目的で、50〜300℃の加熱工程を導入してもよい。
上記工程を含む本発明のパターン形成方法により、電極などのFPD用部材、電子部品の回路パターンおよび太陽電池部材の配線パターンなどを形成することができる。前記FPD用部材の製造方法は、特にPDPの製造に適している。
まず、物性の測定方法および評価方法について説明する。
MwおよびMw/Mnは、ゲルパーミエーションクロマトグラフィー(GPC)(東ソー(株)製「HLC−8220GPC」)により測定したポリスチレン換算の値である。なお、GPC測定は、GPCカラムとして東ソー(株)製「TSKguardcolumn SuperHZM−M」を用い、テトラヒドロフラン(THF)溶媒、測定温度40℃の条件で行った。
体積抵抗[μΩ・cm]は、ガラス基板上に感光性ペースト組成物を塗布して焼成することにより、該ガラス基板上に膜厚10μmの膜を形成して、NPS社製の「Resistivity Proccessor ModelΣ−5」により測定した。
現像後および焼成後の試験片を切断して、パターン切断面を走査型電子顕微鏡(日立製作所製「S4200」)で観察してパターンの幅および高さを計測し、それぞれを下記基準で評価した。なお、所望の規格は、パターンの幅が50μm、高さが10μm、間隔が100μmである。
(幅)
A:所望の規格のもの。
B:所望の規格±3μm以内のもの。
C:所望の規格±3μmを超えて±5μm以内のもの。
D:所望の規格±5μmを超えるもの。
(高さ)
A:所望の規格のもの。
B:所望の規格±2μm以内のもの。
C:所望の規格±2μmを超えて±4μm以内のもの。
D:所望の規格±4μmを超えるもの。
焼成後の試験片に対して、パターンと支持体であるガラス基板との密着性評価を、以下のようにして行った。なお、所望の規格は、パターンの幅が50μm、高さが10μm、間隔が100μmである。
の移動速度を0.5m/分とした。
○:パターン剥れなし。
×:パターン剥れあり。
メタクリル酸15部、2−ヒドロキシエチルメタクリレート15部、n−ブチルメタクリレート40部、2−エチルヘキシルメタクリレート30部、アゾビスイソブチロニトリル(AIBN)1部、ペンタエリスリトールテトラキス(3−メルカプトプロピオネート)(堺化学工業(株)製)3部を攪拌機付きオートクレーブに仕込み、窒素雰囲気下において、ジヒドロターピネオール120部中で均一になるまで攪拌した。
合成例1において、ペンタエリスリトールテトラキス(3−メルカプトプロピオネート)3部の代わりにトリメチロールプロパントリス(3−メルカプトプロピオネート)(堺化学工業(株)製)1部を使用したこと以外は合成例1と同様にして、アルカリ可溶性樹脂C2を得た。このアルカリ可溶性樹脂C2の重合率は98%であり、アルカリ可溶性樹脂C2の重量平均分子量は22000(Mw/Mn=2)であった。
合成例1において、ペンタエリスリトールテトラキス(3−メルカプトプロピオネート)3部の代わりにテトラエチレングリコールビス(3−メルカプトプロピオネート)(堺化学工業(株)製)1部を使用したこと以外は合成例1と同様にして、アルカリ可溶性樹脂C3を得た。このアルカリ可溶性樹脂C3の重合率は98%であり、アルカリ可溶性樹脂C3の重量平均分子量は25000(Mw/Mn=2)であった。
表1に示す組成の感光性樹脂成分(1)〜(5)を調製した。
金属粉末(A)として表2に示すアルミニウム粉末A1(50g)、ガラス粉末(B)として表3に示すガラス粉末B1(5g)、表1に示す感光性樹脂成分(1)(42g)、および有機金属化合物(G)としてアルミニウムアセチルアセトネート(3g)を混練機で混練して、感光性ペースト組成物を調製した。
露光した。露光量は100mJ/cm2であった。
を形成した。得られた硬化パターンを上記評価方法により評価した。結果を表4に示す。
次に、得られた硬化パターンを580℃で30分間焼成して、電極パターンを形成した。この焼成後の電極パターンを上記評価方法により評価した。結果を表4に示す。
実施例1において、表4に示す組成の感光性ペースト組成物を調製したこと以外は実施例1と同様にして、ガラス基板上に感光性ペースト層、硬化パターンおよび電極パターンを順次形成した。次いで上記評価方法によりこれらを評価した。結果を表4に示す。
アルミニウム粉末(A)として表2に示すアルミニウム粉末A1(42g)、ガラス粉末(B)として表3に示すガラス粉末B1(3g)、表1に示す感光性樹脂(1)(55g)、および有機金属化合物(G)としてアルミニウムアセチルアセトネート(3g)を混練機で混練して、感光性ペースト組成物を調製した。
感光性ペースト層を有する転写フィルムを作製した。
これにより、ガラス基板の表面に感光性ペースト層が転写されて密着した状態となった。転写された感光性ペースト層の膜厚を測定したところ、膜厚10μm±1μmの範囲にあった。
光した。露光量は50mJ/cm2であった。
実施例1において、表5に示す組成の感光性ペースト組成物を調製したこと以外は実施例1と同様にして、ガラス基板上に感光性ペースト層、硬化パターンおよび電極パターンを順次形成した。次いで、上記評価方法によりこれらを評価した。結果を表5に示す。
実施例15において、表5に示す組成の感光性ペースト組成物を調製したこと以外は実施例15と同様にして、ガラス基板上に感光性ペースト層、硬化パターンおよび電極パターンを順次形成した。次いで、上記評価方法によりこれらを評価した。結果を表5に示す。
102 ガラス基板
103 背面隔壁
104 透明電極
105 バス電極
106 アドレス電極
107 蛍光体
108 誘電体層
109 誘電体層
110 保護層
111 前面隔壁
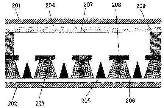
201 ガラス基板
202 ガラス基板
203 絶縁層
204 透明電極
205 エミッタ
206 カソード電極
207 蛍光体
208 ゲート
209 スペーサ
Claims (7)
- アルミニウム粉末およびアルミニウム合金粉末から選択される少なくとも1種の金属粉末(A)、
アルカリ可溶性樹脂(C)、
多官能(メタ)アクリレート(D)、
光重合開始剤(E)、
溶剤(F)、ならびに
Al、LiおよびMgから選択される金属を含有する有機金属化合物(G)
を含むことを特徴とする感光性ペースト組成物。 - 前記有機金属化合物(G)が、カルボン酸金属塩およびアセチルアセトン金属錯体から選択される少なくとも1種の有機金属化合物であることを特徴とする請求項1に記載の感光性ペースト組成物。
- 前記金属粉末(A)の平均粒子径(D50)が、1.0〜10.0μmであることを特徴とする請求項1または2に記載の感光性ペースト組成物。
- さらにガラス粉末(B)を含み、該ガラス粉末(B)の平均粒子径(D50)が0.2〜4.0μmであり、最大粒子径(Dmax)が30μm以下であることを特徴とする請求
項1〜3の何れかに記載の感光性ペースト組成物。 - 前記ガラス粉末(B)として、軟化点が300〜700℃であるガラス粉末が、感光性ペースト組成物全体に対して0.5〜35重量%の割合で含まれることを特徴とする請求項4に記載の感光性ペースト組成物。
- 前記金属粉末(A)が、感光性ペースト組成物全体に対して10〜70重量%の割合で含まれることを特徴とする請求項1〜5の何れかに記載の感光性ペースト組成物。
- 請求項1〜6の何れかに記載の感光性ペースト組成物からなる感光性ペースト層を基板上に形成する工程、
該ペースト層を露光処理してパターンの潜像を形成する工程、
該ペースト層を現像処理してパターンを形成する工程、および
該パターンを焼成処理する工程
を含むことを特徴とするパターン形成方法。
Priority Applications (1)
| Application Number | Priority Date | Filing Date | Title |
|---|---|---|---|
| JP2008180370A JP5120119B2 (ja) | 2008-07-10 | 2008-07-10 | 感光性ペースト組成物およびパターン形成方法 |
Applications Claiming Priority (1)
| Application Number | Priority Date | Filing Date | Title |
|---|---|---|---|
| JP2008180370A JP5120119B2 (ja) | 2008-07-10 | 2008-07-10 | 感光性ペースト組成物およびパターン形成方法 |
Publications (2)
| Publication Number | Publication Date |
|---|---|
| JP2010020088A true JP2010020088A (ja) | 2010-01-28 |
| JP5120119B2 JP5120119B2 (ja) | 2013-01-16 |
Family
ID=41705057
Family Applications (1)
| Application Number | Title | Priority Date | Filing Date |
|---|---|---|---|
| JP2008180370A Expired - Fee Related JP5120119B2 (ja) | 2008-07-10 | 2008-07-10 | 感光性ペースト組成物およびパターン形成方法 |
Country Status (1)
| Country | Link |
|---|---|
| JP (1) | JP5120119B2 (ja) |
Cited By (1)
| Publication number | Priority date | Publication date | Assignee | Title |
|---|---|---|---|---|
| WO2020110453A1 (ja) * | 2018-11-30 | 2020-06-04 | 東レ株式会社 | 感光性導電ペーストおよび導電パターン形成用フィルム並びに積層部材 |
Citations (6)
| Publication number | Priority date | Publication date | Assignee | Title |
|---|---|---|---|---|
| JPH10333322A (ja) * | 1997-05-27 | 1998-12-18 | Toray Ind Inc | 感光性導電ペーストおよびプラズマディスプレイ用電極の製造方法 |
| JP2006086123A (ja) * | 2004-09-09 | 2006-03-30 | Samsung Sdi Co Ltd | 感光性ペースト組成物,感光性ペースト組成物を用いた電極およびグリーンシート |
| JP2006126354A (ja) * | 2004-10-27 | 2006-05-18 | Sumitomo Bakelite Co Ltd | 感光性樹脂組成物及びパターン形成樹脂層の製造方法、並びに該感光性樹脂組成物を含む半導体装置及び表示素子 |
| JP2009037232A (ja) * | 2007-07-09 | 2009-02-19 | Jsr Corp | 感光性ペースト組成物およびパターン形成方法 |
| JP2009186643A (ja) * | 2008-02-05 | 2009-08-20 | Toray Ind Inc | 感光性ペーストおよびそれを用いたプラズマディスプレイ用部材の製造方法 |
| JP2010015992A (ja) * | 2008-07-07 | 2010-01-21 | Samsung Sdi Co Ltd | アルミニウムを含むプラズマディスプレイ・パネルの電極用ペースト、該ペーストを利用してプラズマディスプレイ・パネルの電極を形成する方法、及び該方法によって形成したプラズマディスプレイ・パネルの電極 |
-
2008
- 2008-07-10 JP JP2008180370A patent/JP5120119B2/ja not_active Expired - Fee Related
Patent Citations (7)
| Publication number | Priority date | Publication date | Assignee | Title |
|---|---|---|---|---|
| JPH10333322A (ja) * | 1997-05-27 | 1998-12-18 | Toray Ind Inc | 感光性導電ペーストおよびプラズマディスプレイ用電極の製造方法 |
| JP2006086123A (ja) * | 2004-09-09 | 2006-03-30 | Samsung Sdi Co Ltd | 感光性ペースト組成物,感光性ペースト組成物を用いた電極およびグリーンシート |
| JP2006126354A (ja) * | 2004-10-27 | 2006-05-18 | Sumitomo Bakelite Co Ltd | 感光性樹脂組成物及びパターン形成樹脂層の製造方法、並びに該感光性樹脂組成物を含む半導体装置及び表示素子 |
| JP2009037232A (ja) * | 2007-07-09 | 2009-02-19 | Jsr Corp | 感光性ペースト組成物およびパターン形成方法 |
| JP2011065166A (ja) * | 2007-07-09 | 2011-03-31 | Jsr Corp | 感光性ペースト組成物およびパターン形成方法 |
| JP2009186643A (ja) * | 2008-02-05 | 2009-08-20 | Toray Ind Inc | 感光性ペーストおよびそれを用いたプラズマディスプレイ用部材の製造方法 |
| JP2010015992A (ja) * | 2008-07-07 | 2010-01-21 | Samsung Sdi Co Ltd | アルミニウムを含むプラズマディスプレイ・パネルの電極用ペースト、該ペーストを利用してプラズマディスプレイ・パネルの電極を形成する方法、及び該方法によって形成したプラズマディスプレイ・パネルの電極 |
Cited By (2)
| Publication number | Priority date | Publication date | Assignee | Title |
|---|---|---|---|---|
| WO2020110453A1 (ja) * | 2018-11-30 | 2020-06-04 | 東レ株式会社 | 感光性導電ペーストおよび導電パターン形成用フィルム並びに積層部材 |
| JP6717439B1 (ja) * | 2018-11-30 | 2020-07-01 | 東レ株式会社 | 積層部材 |
Also Published As
| Publication number | Publication date |
|---|---|
| JP5120119B2 (ja) | 2013-01-16 |
Similar Documents
| Publication | Publication Date | Title |
|---|---|---|
| JP4640460B2 (ja) | 感光性ペースト組成物およびパターン形成方法 | |
| JP5056757B2 (ja) | 感光性樹脂組成物、感光性フィルムおよびパターン形成方法 | |
| CN101059656B (zh) | 含无机颗粒的光敏性树脂组合物、光敏性薄膜和无机图案的形成方法 | |
| JP5446704B2 (ja) | 感光性ペースト組成物およびパターン形成方法 | |
| JP5287397B2 (ja) | アルミニウム含有感光性樹脂組成物およびパターン形成方法 | |
| JP2011064864A (ja) | 感光性組成物、パターン形成方法およびfpd用電極の製造方法 | |
| JP2012093586A (ja) | 感光性ペースト組成物およびパターン形成方法 | |
| JP5120093B2 (ja) | 感光性組成物および電極の製造方法 | |
| JP2009294648A (ja) | 感光性ペースト組成物およびパターン形成方法 | |
| JP5050784B2 (ja) | 無機粒子含有感光性樹脂組成物、感光性フィルム、パターン形成方法、およびフラットパネルディスプレイの製造方法 | |
| JP5120119B2 (ja) | 感光性ペースト組成物およびパターン形成方法 | |
| JP5120120B2 (ja) | 感光性ペースト組成物およびパターン形成方法 | |
| JP5239612B2 (ja) | 感光性ペースト組成物およびパターン形成方法 | |
| JP2010181475A (ja) | アルミニウム含有感光性組成物および電極の製造方法 | |
| JP2011007864A (ja) | 感光性ペースト組成物およびパターン形成方法 | |
| JP5347665B2 (ja) | アルミニウム含有感光性組成物および電極の製造方法 | |
| JP2010276703A (ja) | 感光性ペースト組成物およびパターン形成方法 | |
| JP2009016320A (ja) | 電極部材の製造方法 | |
| JP5533456B2 (ja) | 導電部材形成用ペーストおよび導電部材の形成方法 | |
| JP2011007865A (ja) | 感光性ペースト組成物およびパターン形成方法 | |
| JP2010210864A (ja) | アルミニウム含有感光性樹脂組成物およびパターン形成方法 | |
| JP2011013588A (ja) | 感光性ペースト組成物およびパターン形成方法 | |
| JP2010145545A (ja) | 感光性ペースト組成物およびパターン形成方法 | |
| JP2010102200A (ja) | 感光性ペースト組成物およびパターン形成方法 | |
| JP2010044313A (ja) | 感光性ペースト組成物 |
Legal Events
| Date | Code | Title | Description |
|---|---|---|---|
| A621 | Written request for application examination |
Free format text: JAPANESE INTERMEDIATE CODE: A621 Effective date: 20110128 |
|
| RD02 | Notification of acceptance of power of attorney |
Free format text: JAPANESE INTERMEDIATE CODE: A7422 Effective date: 20120227 |
|
| A977 | Report on retrieval |
Free format text: JAPANESE INTERMEDIATE CODE: A971007 Effective date: 20120918 |
|
| TRDD | Decision of grant or rejection written | ||
| A01 | Written decision to grant a patent or to grant a registration (utility model) |
Free format text: JAPANESE INTERMEDIATE CODE: A01 Effective date: 20120925 |
|
| A01 | Written decision to grant a patent or to grant a registration (utility model) |
Free format text: JAPANESE INTERMEDIATE CODE: A01 |
|
| A61 | First payment of annual fees (during grant procedure) |
Free format text: JAPANESE INTERMEDIATE CODE: A61 Effective date: 20121008 |
|
| FPAY | Renewal fee payment (event date is renewal date of database) |
Free format text: PAYMENT UNTIL: 20151102 Year of fee payment: 3 |
|
| R150 | Certificate of patent or registration of utility model |
Free format text: JAPANESE INTERMEDIATE CODE: R150 Ref document number: 5120119 Country of ref document: JP Free format text: JAPANESE INTERMEDIATE CODE: R150 |
|
| FPAY | Renewal fee payment (event date is renewal date of database) |
Free format text: PAYMENT UNTIL: 20151102 Year of fee payment: 3 |
|
| R250 | Receipt of annual fees |
Free format text: JAPANESE INTERMEDIATE CODE: R250 |
|
| R250 | Receipt of annual fees |
Free format text: JAPANESE INTERMEDIATE CODE: R250 |
|
| R250 | Receipt of annual fees |
Free format text: JAPANESE INTERMEDIATE CODE: R250 |
|
| R250 | Receipt of annual fees |
Free format text: JAPANESE INTERMEDIATE CODE: R250 |
|
| R250 | Receipt of annual fees |
Free format text: JAPANESE INTERMEDIATE CODE: R250 |
|
| LAPS | Cancellation because of no payment of annual fees |
