JP2010019144A - 内燃機関の失火判定装置 - Google Patents

内燃機関の失火判定装置 Download PDF

Info

Publication number
JP2010019144A
JP2010019144A JP2008179225A JP2008179225A JP2010019144A JP 2010019144 A JP2010019144 A JP 2010019144A JP 2008179225 A JP2008179225 A JP 2008179225A JP 2008179225 A JP2008179225 A JP 2008179225A JP 2010019144 A JP2010019144 A JP 2010019144A
Authority
JP
Japan
Prior art keywords
misfire
pattern
misfire determination
cylinder
expansion stroke
Prior art date
Legal status (The legal status is an assumption and is not a legal conclusion. Google has not performed a legal analysis and makes no representation as to the accuracy of the status listed.)
Granted
Application number
JP2008179225A
Other languages
English (en)
Other versions
JP4572962B2 (ja
Inventor
Yohei Moriyama
陽平 守山
Current Assignee (The listed assignees may be inaccurate. Google has not performed a legal analysis and makes no representation or warranty as to the accuracy of the list.)
Toyota Motor Corp
Original Assignee
Toyota Motor Corp
Priority date (The priority date is an assumption and is not a legal conclusion. Google has not performed a legal analysis and makes no representation as to the accuracy of the date listed.)
Filing date
Publication date
Application filed by Toyota Motor Corp filed Critical Toyota Motor Corp
Priority to JP2008179225A priority Critical patent/JP4572962B2/ja
Priority to US12/500,018 priority patent/US8281650B2/en
Publication of JP2010019144A publication Critical patent/JP2010019144A/ja
Application granted granted Critical
Publication of JP4572962B2 publication Critical patent/JP4572962B2/ja
Expired - Fee Related legal-status Critical Current
Anticipated expiration legal-status Critical

Links

Images

Landscapes

  • Combined Controls Of Internal Combustion Engines (AREA)

Abstract

【課題】エンジンと変速機との共振現象に起因する失火の誤判定を回避できる失火判定装置を提供する。
【解決手段】エンジン1の回転変動量が所定の閾値N1を越えた際、失火が生じた可能性があると判断する。その後、エンジン1の回転変動パターンが第1の失火判定パターンに沿うものであれば失火と判定し、第1の失火判定パターンに沿わない場合、ロックアップクラッチのロックアップ状態を考慮した特定回転変動パターンに沿っているか否を判別し、このパターンに沿っている場合には、更に、エンジン1の回転変動パターンが、第1の失火判定パターンよりも回転変動の変化が小さく規定された第2の失火判定パターンに沿うものであるか否かによって失火の有無を判定する。これにより、エンジン1と自動変速機50との共振現象が発生している状況であっても、失火の誤判定が回避できる。
【選択図】 図2

Description

本発明は内燃機関の失火判定装置に係る。特に、本発明は、内燃機関の回転変動に基づいて失火発生の有無を判定する失火判定装置における判定動作の信頼性を高めるための対策に関する。
従来より、例えば自動車用内燃機関において混合気への着火がなされない現象、いわゆる「失火」が発生すると、未燃混合気が排気通路に排出され、排気エミッションの悪化や、排気浄化触媒への悪影響が懸念される。
そこで、上記失火の発生時には機関回転速度の変動(以下、単に回転変動と呼ぶ)が大きくなることに着目し、この回転変動に基づいて失火の発生を判定する失火判定装置が提案されている。この種の装置における失火判定の基本原理は以下のとおりである。
先ず、ある一つの気筒に失火が発生した場合、その気筒の膨張行程(実際には失火しており爆発していない行程)における機関回転速度が次第に低下していく。その結果、この失火を生じた気筒の膨張行程中においてクランクシャフトが一定クランク角度を回転するのに要する時間が、他気筒の膨張行程時におけるその時間よりも長くなる。このため、これら時間を計測して比較することにより失火発生の有無を判定することが可能になる。
具体的には、ある気筒(例えば第3番気筒)が膨張行程にあるときに、この膨張行程中においてクランクシャフトが一定クランク角度を回転するのに要する時間と、この膨張行程よりも所定クランク角度前(例えば360°前)に膨張行程を迎えていた気筒(例えば第2番気筒)の膨張行程中においてクランクシャフトが一定クランク角度を回転するのに要する時間との差を演算(前者の時間から後者の時間を減算)する。そして、この演算値が所定の閾値を越えている場合には、内燃機関の回転変動が大きくなったと判断して失火(第3番気筒に失火)が発生したと判定している。
OBD(On−Boad Diagnostic System)対応国向けの自動車では、制御回路中に失火カウンタが備えられており、失火発生の判定を行う度に失火カウンタがインクリメントされ、所定の機関回転回数(例えば1000回転)当たりの失火カウンタのカウント値が所定値(例えば30)を越えるとMIL(警告灯)が点灯し、運転者に警告を促す。
従って、失火の判定が正確に行われていない状況では、例えば、失火が発生しているにも拘わらずそれを認識することができず、排気エミッションが悪化した状態が継続されてしまう。また、失火が発生していないにも拘わらず失火が発生していると誤判定してしまって、実際の失火発生回数が上記所定値より小さくても早期にMILが点灯することになってしまい、ユーザに違和感を与えてしまう。
そこで、失火の誤判定を解消するべく、回転変動の経時変化パターンが、予め定められた失火パターンとなったときに失火が生じたと判定するようにしたものが知られている(例えば、下記の特許文献1を参照)。
この特許文献1に開示されているものは、各気筒の膨張行程時においてクランクシャフトが一定クランク角度を回転するのに要する時間を検出し、膨張行程が一つ間隔を隔てて行われる気筒間(4気筒エンジンの場合のクランク角度360°の角度間隔で膨張行程が行われる気筒同士)の上記時間の偏差を求め、この偏差が閾値を越え且つ偏差の変化パターンが失火発生時に特有のパターンとなったときに失火が発生したと判定するようにしている。具体的には、失火判定対象気筒の膨張行程時における上記回転変動量が所定の閾値を超えており、且つこの回転変動量が、失火判定対象気筒の膨張行程の直前に膨張行程を迎えていた気筒の回転変動量および失火判定対象気筒の膨張行程の直後に膨張行程を迎えた気筒の回転変動量に比べて特に大きくなっている場合に、この失火判定対象気筒において失火が生じたと判定している。
また、下記の特許文献2には、トルクコンバータにロックアップクラッチを備えた自動車において、エンジンの失火判定のための閾値を、ロックアップ状態にあるときと非ロックアップ状態にあるときとで異ならせることについて開示されている。
特開2006−152971号公報 特開平10−331707号公報
ところが、上述したような各特許文献における失火判定動作では、失火の誤判定が生じてしまう可能性が未だ残っていることを本発明の発明者は見出した。
具体的には、変速装置としてオートマティックトランスミッション(自動変速機)を搭載した自動車にあっては、トルクコンバータにロックアップクラッチを備えており、このロックアップクラッチの締結状態(ロックアップ状態)では、エンジンとトランスミッションとが直結状態となる。このような状況で、失火が発生してエンジンに振動が発生すると、その振動がトランスミッションにまで伝達される。そして、その振動数がトランスミッションの固有振動数に一致する状況になると、エンジンからトランスミッションに亘るパワートレーン全体の共振現象が発生してしまうことになる。このような共振現象が発生する状況では、上記回転変動が正確に認識できず、失火の誤判定を招いてしまう可能性がある。
この失火誤判定の発生状況の一例について説明する。エンジン回転数は、クランクシャフトに一体的に取り付けられたNEロータの外歯の通過を、電磁ピックアップで成るクランク角センサによって検出することで計測されるが、この際、上記共振現象が発生すると、クランク角センサを支持しているステーにも共振が発生し、このクランク角センサとNEロータとの相対位置が変動してしまう。このため、クランクシャフトが一定回転速度で回転していても、上記共振現象に起因する相対位置変動のために、クランク角センサによって検出されるNEロータの外歯の通過タイミングが不安定になる。逆に、クランクシャフトの回転速度が失火によって変動しているにも拘わらず、上記共振現象により、この回転変動が正確に検出できなくなる場合もある。このように、上記共振現象によって、回転変動の増幅、相殺、減衰などが生じて、クランク角センサによる回転変動の検出が正確に行われなくなり、失火の誤判定を招いてしまう可能性があった。
また、上述した特許文献2では、ロックアップクラッチがロックアップ状態にあるときと非ロックアップ状態にあるときとで、失火判定のための閾値を異ならせることについて開示されているが、上記パワートレーン全体の共振現象に起因する失火の誤判定については何ら考慮されておらず、単に回転変動量が所定の閾値を超えているか否かによって失火判定を行うものに過ぎない。従って、この特許文献2においても未だ失火の誤判定が生じてしまう可能性が残っている。
本発明は、かかる点に鑑みてなされたものであり、その目的とするところは、上記共振現象に起因する失火の誤判定を回避することができる失火判定装置を提供することにある。
−課題の解決原理−
上記の目的を達成するために講じられた本発明の解決原理は、失火の有無を、内燃機関の回転変動パターンが第1の失火判定パターンに沿うものであるか否かによって判定し、この場合に失火が発生していないと判定された場合には、更にロックアップクラッチのロックアップ状態を考慮した他の条件によって、失火が発生している可能性があるか否を判別する。そして、この際に、失火が発生している可能性があると判別された場合には、更に、内燃機関の回転変動パターンが第2の失火判定パターンに沿うものであるか否かによって失火の有無を判定するようにしている。これにより、ロックアップクラッチがロックアップ状態となっていて上記共振現象が発生している状況であっても、失火の誤判定が回避できるようにしている。
−解決手段−
具体的に、本発明は、ロックアップクラッチを有する流体式動力伝達装置を介して変速機に連結された内燃機関の回転変動量が所定の閾値を超えたときに失火が生じている可能性があると判断し、内燃機関の回転変動パターンが失火発生時に特有のパターンであるか否かを判定することによって失火判定を行う内燃機関の失火判定装置を前提とする。この内燃機関の失火判定装置に対し、第1失火判定手段、特定回転変動パターン判定手段、第2失火判定手段を備えさせている。第1失火判定手段は、上記内燃機関の回転変動パターンが、予め設定された第1の失火判定パターンに略沿っているか否かによって失火の有無を判定する第1の失火判定動作を行う。特定回転変動パターン判定手段は、上記第1失火判定手段による第1の失火判定動作において失火有りと判断されなかった場合に、上記ロックアップクラッチがロックアップ状態であり且つ上記内燃機関の回転変動パターンがロックアップ状態での失火発生時に特有の特定回転変動パターンに略沿っているか否かを判定する特定パターン判定動作を行う。第2失火判定手段は、上記特定回転変動パターン判定手段による特定パターン判定動作において内燃機関の回転変動パターンが上記特定回転変動パターンに略沿っていると判定された場合に、内燃機関の回転変動パターンが、上記第1の失火判定パターンに比べて回転変動の変化が小さいものとして規定された第2の失火判定パターンに略沿っているか否かによって失火の有無を判定する第2の失火判定動作を行う。
この場合、上記第1の失火判定動作において失火有りと判定された場合、または、第2の失火判定動作において失火有りと判定された場合に、失火判定結果として失火有りを確定する。一方、特定パターン判定動作において内燃機関の回転変動パターンが特定回転変動パターンに沿っていないと判定された場合、または、第2の失火判定動作において失火無しと判定された場合に、失火判定結果として失火無しを確定する構成としている。
これらの特定事項により、先ず、内燃機関の駆動中にその回転変動量が所定の閾値を超えたときには、失火が生じている可能性があると判断する。そして、内燃機関の回転変動パターンが第1の失火判定パターン(非ロックアップ状態での失火発生時に特有の回転変動パターン)に沿っているか否かによって失火判定動作を行う。そして、内燃機関の回転変動パターンが第1の失火判定パターンに沿っている場合には、ロックアップクラッチが非ロックアップ状態である状態で失火が発生していると判定できる。
一方、内燃機関の回転変動パターンが第1の失火判定パターンに沿っていない場合には、内燃機関の回転変動パターンが特定回転変動パターン(ロックアップ状態での失火発生時に特有の回転変動パターン)に沿っているか否かを判定する。そして、内燃機関の回転変動パターンが特定回転変動パターンに沿っていない場合には、失火が発生していないと判断できる。つまり、上記回転変動量が所定の閾値を超えた原因は、失火以外であると判断できる。一方、内燃機関の回転変動パターンが特定回転変動パターンに沿っている場合には、第2の失火判定パターンを利用した失火判定動作に移る。つまり、内燃機関の回転変動パターンが第2の失火判定パターンに沿っているか否かによって失火判定動作を行う。そして、この第2の失火判定パターンに沿っている場合には、失火が発生していると判定する。
そして、この第2の失火判定パターンは、第1の失火判定パターンに比べて回転変動幅が小さいものとして規定されている。言い換えると、失火判定条件を緩めるようなパターンとなっている。このため、同様の回転変動が生じている場合に、ロックアップクラッチの非ロックアップ状態では失火が発生していると判定されなくても、ロックアップクラッチのロックアップ状態では失火が発生していると判定されることになる。つまり、ロックアップクラッチのロックアップ状態において、内燃機関と変速機との共振現象が発生している場合に、従来であれば、この共振の影響によって回転変動が小さくなっているために、失火が発生していてもそれを検出することができない可能性が高かったが、本解決手段によれば、特定の回転変動パターン(上記特定回転変動パターンおよび第2の失火判定パターン)を使用することによって失火の発生を検出することが可能になる。このようにして、上記共振現象の悪影響を受けることなく失火が発生していることが正確に判定され、失火判定の信頼性を高めることができる。
上記第1の失火判定パターンに基づいて失火判定を行う第1失火判定手段の構成としては以下のものが挙げられる。内燃機関の回転変動量が所定の閾値を超えたことで失火が生じている可能性があると判断された場合に、第1失火判定手段が、その失火判定対象気筒の膨張行程時における回転変動量、この失火判定対象気筒の膨張行程の直前に膨張行程を迎えていた気筒の膨張行程時における回転変動量、および、失火判定対象気筒の膨張行程の直後に膨張行程を迎えた気筒の膨張行程時における回転変動量の変化のパターンと、上記第1の失火判定パターンとを比較することで失火判定動作を行う構成としている。
本発明において、第1の失火判定パターンは、ロックアップクラッチが非ロックアップ状態(解放状態)にある際に1つの気筒で失火が発生している場合における内燃機関の回転変動パターンに対応する。つまり、上記共振による悪影響を受けること無しに回転変動量を求めることができる状況での回転変動パターンに従って失火判定を行うためのものである。即ち、1つの気筒で失火が発生している場合、その気筒での膨張行程における回転変動量は、他の気筒の膨張行程(失火が発生している気筒の前後で膨張行程を迎える気筒)における回転変動量よりも大きくなるので、この回転変動パターンを第1の失火判定パターンとして規定している。これにより、非ロックアップ状態での失火判定が正確に行える。
上記特定回転パターンに基づいて判定動作を行う特定回転変動パターン判定手段の構成としては以下のものが挙げられる。ロックアップクラッチがロックアップ状態にある場合において、内燃機関の回転変動量が所定の閾値を超えたことで失火が生じている可能性があると判断され且つ上記第1の失火判定動作において失火有りと判断されなかった場合に、特定回転変動パターン判定手段が、その失火判定対象気筒の膨張行程時における回転変動量、および、この失火判定対象気筒の膨張行程の直後に膨張行程を迎えていた気筒の膨張行程時における回転変動量の変化のパターンと、上記特定回転変動パターンとを比較することで失火判定動作を行う構成としている。
また、上記第2の失火判定パターンに基づいて失火判定を行う第2失火判定手段の構成としては以下のものが挙げられる。ロックアップクラッチがロックアップ状態にある場合において、内燃機関の回転変動量が所定の閾値を超えたことで失火が生じている可能性があると判断され且つ上記特定パターン判定動作において内燃機関の回転変動パターンが特定回転変動パターンに略沿っていると判断された場合に、第2失火判定手段が、その失火判定対象気筒の膨張行程時における回転変動量、および、この失火判定対象気筒の膨張行程の直前に膨張行程を迎えていた気筒の膨張行程時における回転変動量の変化のパターンと、上記第2の失火判定パターンとを比較することで失火判定動作を行う構成としている。
上記特定回転変動パターンおよび第2の失火判定パターンとして具体的には、以下の回転変動パターンが挙げられる。先ず、上記特定回転変動パターンは、失火判定対象気筒の膨張行程の直後に膨張行程を迎えた1点火後気筒の膨張行程時における回転変動量に対して、失火判定対象気筒の膨張行程時における回転変動量が所定量以上大きくなるパターンとして規定されている。一方、上記第2の失火判定パターンは、失火判定対象気筒の膨張行程の直前に膨張行程を迎えた1点火前気筒の膨張行程時における回転変動量と、失火判定対象気筒の膨張行程時における回転変動量との差が所定量以下であるパターンとして規定されている。
以上のように、第1の失火判定動作、特定パターン判定動作、第2の失火判定動作を具体的に特定することができ、本発明の実用性を高めることができる。また、各失火判定パターンおよび特定回転変動パターンを明確に識別することで、ロックアップクラッチの非ロックアップ状態における失火判定動作と、ロックアップクラッチのロックアップ状態における失火判定動作とをそれぞれ正確に行うことができ、ロックアップ時および非ロックアップ時ともに失火の誤判定を防止することができる。
以上説明したように、本発明では、失火の有無を判定するための内燃機関の回転変動パターンとして、ロックアップクラッチがロックアップ状態にある場合と非ロックアップ状態にある場合とでパターンを異ならせるようにしている。更に、ロックアップクラッチがロックアップ状態にある場合には非ロックアップ状態にある場合に比べて、回転変動幅が小さくても失火が発生していると判定できるように、失火判定条件を緩めている。これにより、上記ロックアップ状態で内燃機関と変速機との共振現象が発生している状況であっても、失火の誤判定が回避でき、失火判定の信頼性を高めることができる。
以下、本発明の実施形態を図面に基づいて説明する。本実施形態では、本発明に係る失火判定装置を自動車用4気筒ガソリンエンジンに適用した場合について説明する。
−エンジンの構成説明−
先ず、図1を参照して、本実施形態に係るエンジン(内燃機関)の概略構成について説明する。図1に示すように、本実施形態に係るエンジン1は、4気筒分(図1では1気筒分のみを示す)のシリンダボア2を有するシリンダブロック1aと、シリンダヘッド1bとを備えている。各シリンダボア2内には上下動可能に設けられたピストン3が備えられ、このピストン3が、コンロッド(コネクティングロッド)3aを介してエンジン1の出力軸であるクランクシャフト10に連結されている。そして、シリンダボア2の内部において、ピストン3とシリンダヘッド1bとにより囲まれた空間によって燃焼室4が区画形成されている。
シリンダヘッド1bには、各燃焼室4に対応して点火プラグ11が取り付けられている。また、シリンダヘッド1bには、各燃焼室4に通じる吸気ポート5aおよび排気ポート6aがそれぞれ設けられ、これら吸気ポート5aおよび排気ポート6aには、吸気通路5および排気通路6がそれぞれ接続されている。吸気ポート5aおよび排気ポート6aにおける燃焼室4に通じる各開口端には、吸気バルブ7および排気バルブ8がそれぞれ設けられている。吸気バルブ7および排気バルブ8は、クランクシャフト10の動力によってそれぞれ回転する吸気カムシャフト31および排気カムシャフト32によって開閉される。クランクシャフト10の動力は、タイミングベルト35および各タイミングプーリー33,34を介して、上記吸気カムシャフト31および排気カムシャフト32に伝達されている。
また、上記吸気ポート5aの近傍には、各気筒に対応してインジェクタ(燃料噴射弁)9がそれぞれ備えられている。各インジェクタ9には図示しない燃料供給系を介して所定圧力の燃料が供給されている。
一方、吸気通路5にはサージタンク16が設けられ、このサージタンク16の上流側には、アクセルペダル18の操作に応じて開閉駆動されるスロットルバルブ19が設けられている。このスロットルバルブ19の開度に応じて吸気通路5へ導入される吸入空気量が調整される。
エンジン1の運転が開始されると、吸気通路5内への吸入空気の導入とともにインジェクタ9から燃料が噴射されることにより、それら吸入空気と燃料とが混合されて混合気となる。そして、エンジン1の吸入行程において、吸気バルブ7により吸気ポート5aが開かれることにより混合気が吸気ポート5aを通じて燃焼室4に取り込まれる。この燃焼室4に取り込まれた混合気は、圧縮行程において圧縮された後、点火プラグ11によって着火され、その混合気が爆発・燃焼してクランクシャフト10に駆動力が付与される(膨張行程)。燃焼後の排気ガスは、排気バルブ8により排気ポート6aが開かれることによって排気通路6に排出され(排気行程)、更に触媒12を経て浄化された後、外部に放出される。なお、上記点火プラグ11は、イグナイタ13から出力される高電圧の印加タイミングに応じて混合気への点火動作を実行している。
−自動変速機−
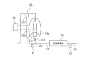
次に、上記エンジン1からの回転動力が伝達され、且つ変速動作を行う自動変速機について説明する。図2は、上記エンジン1と自動変速機50との接続状態を示す概略構成図である。また、図3は、トルクコンバータ(流体式動力伝達装置)53の概略構成を示す図である。
これらの図に示すように、自動変速機50は、エンジン1から入力軸51に入力される回転動力を変速し、出力軸52を介して駆動輪に出力するもので、主として、トルクコンバータ53、変速機構部54、油圧制御装置55等を含んで構成されている。
トルクコンバータ53は、エンジン1のクランクシャフト10に連結されるもので、ポンプインペラ53a、タービンランナ53b、ステータ53c、ワンウェイクラッチ53d、ステータシャフト53e、ロックアップクラッチ53fを含んで構成されている。
上記ロックアップクラッチ53fは、トルクコンバータ53のポンプインペラ53a(入力側)とタービンランナ53b(出力側)とを直結可能とするものであり、必要に応じて、ポンプインペラ53aとタービンランナ53bとを直結する係合状態と、ポンプインペラ53aとタービンランナ53bとを切り離す解放状態と、これら係合状態と解放状態との中間の半係合状態(スリップ状態)との間で切り換えられる。この切り換えのための条件については後述する。
このロックアップクラッチ53fの係合力制御は、ロックアップコントロールバルブ56でポンプインペラ53a(入力側)とタービンランナ53b(出力側)とに対する作動油圧をコントロールすることによって行われる。
変速機構部54は、例えば、複数のプラネタリギヤ、クラッチ、ブレーキ、ワンウェイクラッチ等を含んで構成されており、例えば、前進6段、後進1段の変速が可能になっている。上記油圧制御装置55によって、変速機構部54のクラッチやブレーキが個別に係合、解放されることにより適宜の変速段(前進1〜6速段、後進段)を成立させるように構成されている。この変速機構部54の構成および油圧制御装置55による制御動作は公知であるので、ここでは詳細な図示や説明を割愛する。
−エンジン制御装置40、トランスミッション制御装置45−
上記油圧制御装置55は、トランスミッション制御装置45により制御される。つまり、このトランスミッション制御装置45による油圧制御装置55の制御により、変速機構部54における適宜の変速段つまり動力伝達経路を成立させるようになっている。
また、図4に示すように、上記エンジン制御装置(エンジンECU)40とトランスミッション制御装置(トランスミッションECU)45とは、エンジン制御やトランスミッション制御に必要な情報を互いに送受可能に接続されている。
エンジン制御装置40およびトランスミッション制御装置45は、図示していないが、共に一般的に公知のECU(Electronic Control Unit)とされており、それぞれ、CPU(Central Processing Unit)、ROM(Read Only Memory)、RAM(Random Access Memory)およびバックアップRAMなどを備えている。
ROMは、各種制御プログラムや、それら各種制御プログラムを実行する際に参照されるマップ等が記憶されている。CPUは、ROMに記憶された各種制御プログラムやマップに基づいて演算処理を実行する。RAMは、CPUでの演算結果や各センサから入力されたデータ等を一時的に記憶するメモリであり、バックアップRAMは、エンジン1の停止時にその保存すべきデータ等を記憶する不揮発性のメモリである。
エンジン制御装置40には、図4に示すように、クランク角センサ21、カム角センサ22、圧力センサ23、スロットル開度センサ24などのエンジン1の運転状態を検出する各種センサが接続されており、その各センサの信号が入力される。
クランク角センサ21は、上記クランクシャフト10の近傍に配設され、クランクシャフト10の回転角(クランク角CA)および回転速度(エンジン回転速度NE)を検出する。具体的には、このクランク角センサ21は、所定のクランク角(例えば30°)毎にパルス信号を出力する。このクランク角センサ21によるクランク角の検出手法の一例としては、クランクシャフト10と回転一体の図示しないロータ(NEロータ)の外周面の30°おきに外歯を形成しておき、この外歯と対面して電磁ピックアップで成る上記クランク角センサ21を配置する。そして、クランクシャフト10の回転に伴って外歯がクランク角センサ21の近傍を通過した際に、このクランク角センサ21が出力パルスを発生するようになっている。尚、このロータとしては、外周面に形成される外歯が10°おきに形成されたものが適用される場合もある。この場合、エンジン制御装置40内で分周して30°CA毎の出力パルスを発生する。
カム角センサ22は、上記吸気カムシャフト31の近傍に配設され、気筒判別センサとして用いられる。例えば第1気筒♯1の圧縮上死点(TDC)に対応してパルス信号を出力する。つまり、このカム角センサ22は、吸気カムシャフト31の1回転毎にパルス信号を出力する。このカム角センサ22によるカム角の検出手法の一例としては、吸気カムシャフト31と回転一体のロータの外周面の1箇所に外歯を形成しておき、この外歯と対面して電磁ピックアップで成る上記カム角センサ22を配置し、吸気カムシャフト31の回転に伴って外歯がカム角センサ22の近傍を通過した際に、このカム角センサ22が出力パルスを発生するようになっている。このロータはクランクシャフト10の1/2の回転速度で回転するため、クランクシャフト10が720°回転する毎に出力パルスを発生する。言い換えると、ある特定の気筒が同一行程(例えば第1気筒♯1が圧縮上死点に達した時点)となる度に出力パルスを発生する構成である。
圧力センサ23は、上記サージタンク16に配設され、吸気通路5内の圧力(吸気管内圧力PM)を検出する。つまり、この圧力センサ23は、サージタンク16内の圧力に応じた信号を出力する。
また、このエンジン制御装置40は、スロットルバルブ19のアクチュエータ19a、および、インジェクタ9などのエンジン1の各部を制御する。
更に、このエンジン制御装置40には総失火カウンタ41および気筒別失火カウンタ42が備えられている。総失火カウンタ41は、後述する失火判定動作によって何れかの気筒で失火が発生したことが認識される度に、そのカウント値がインクリメントされていくようになっている。一方、気筒別失火カウンタ42は、後述する失火判定動作によって失火が発生したことが認識された場合に、その失火が発生している気筒を特定し、その気筒に対する失火カウント値をインクリメントしていく。
一方、トランスミッション制御装置45には、上記入力軸51の回転数を検出する入力軸回転数センサ61、出力軸52の回転数を検出する出力軸回転数センサ62、ドライバにより操作されるアクセルペダル18の開度を検出するアクセル開度センサ63、自動変速機50のシフトレバー位置(レンジ位置)を検出するシフトポジションセンサ64、駆動輪の速度(車輪速度)を検出する車輪速センサ65などが接続されている。
また、このトランスミッション制御装置45は、上記ロックアップコントロールバルブ56にロックアップクラッチ制御信号を出力する。このロックアップクラッチ制御信号に基づいてロックアップコントロールバルブ56がロックアップクラッチ53fの係合圧を制御し、上述したロックアップクラッチ53fの係合状態(ロックアップ状態)、解放状態(完全スリップ状態)、半係合状態(スリップ状態:フレックスロックアップ状態とも呼ばれる)が切り換えられるようになっている。
さらに、トランスミッション制御装置45は、自動変速機50の油圧制御装置55にソレノイド制御信号(油圧指令信号)を出力する。このソレノイド制御信号に基づいて油圧制御装置55の油圧制御回路に備えられているリニアソレノイドバルブやオンオフソレノイドバルブなどが制御され、所定の変速段(第1変速段〜第6変速段、後退変速段など)を達成するように、変速機構部54の各クラッチ、各ブレーキなどが所定の状態に係合または解放される。
−ロックアップクラッチ作動マップ−
上述したロックアップクラッチ53fの係合状態、解放状態、半係合状態の切り換え動作は、例えば図5に示すようなロックアップクラッチ作動マップに従って行われる。このロックアップクラッチ作動マップは、車速Vおよびアクセル開度θTHをパラメータとし、それら車速Vおよびアクセル開度θTHに応じて、ロックアップクラッチ53fを、係合状態(ロックアップ状態)、解放状態(トルコン状態)、半係合状態(フレックスロックアップ状態:スリップ状態)の間で切り換えるためのマップであって、上記トランスミッション制御装置45のROM内に記憶されている。
つまり、車速Vおよびアクセル開度θTHに基づいて、係合領域(ロックアップ作動領域)、解放領域(トルコン作動領域)、スリップ領域(フレックスロックアップ作動領域)のいずれの領域に属するかを判定し、その判定された領域の作動となるように上記ロックアップコントロールバルブ56を制御してロックアップクラッチ53fを係合、解放、或いは半係合のいずれかの状態とする制御を実行する。尚、上記アクセル開度θTHに代えてスロットル開度に応じたロックアップクラッチ作動マップ(車速とスロットル開度とに応じてロックアップクラッチ53fを制御するためのマップ)によりロックアップクラッチ53fの状態を切り換えるようにしてもよい。
上記フレックスロックアップ作動領域では、運転性を損なうことなく燃費を可及的に良くすることを目的としてエンジン1の回転変動を吸収しつつトルクコンバータ53の動力伝達損失を可及的に抑制するために、ロックアップクラッチ53fのスリップ制御を実行する。ロックアップクラッチ53fのスリップ制御については、タービン回転速度NTとエンジン回転速度NEとの回転速度差(スリップ量)NSLP(=NE−NT)を目標回転速度差(目標スリップ量:例えば50rpm)に制御するためにロックアップクラッチ53fを制御するソレノイド弁に対して駆動信号を出力する。このスリップ制御のうちの減速走行時スリップ制御は、例えば、アクセル開度θTHが略零で惰性走行(減速走行)する前進走行時において生じる駆動輪側からの逆入力をエンジン1側へ伝達する変速段、すなわちエンジンブレーキ作用が得られる変速段で行われ、タービン回転速度NTおよびエンジン回転速度NEは、車両の減速にしたがって緩やかに減少させられる。このようにロックアップクラッチ53fがスリップ係合させられると、エンジン回転速度NEがタービン回転速度NT付近まで引き上げられるため、エンジン1に対する燃料供給量を抑制する制御状態(フューエルカット状態)がさらに長い期間維持されて燃費が向上する。
−失火判定のための構成および動作−
次に、本実施形態の特徴部分であるエンジン1の失火判定のための構成(失火判定装置の構成)およびその動作について説明する。
本実施形態に係る失火判定装置は、上記エンジン制御装置40を備えている。このエンジン制御装置40には、上記各センサ21〜24の出力信号がそれぞれ取り込まれている。そして、エンジン制御装置40には、これら各信号に基づいてクランク角CAや、エンジン回転速度NE、現在の運転気筒(例えば現在膨張行程を迎えている気筒)、吸気管内圧力PM等を演算するとともに、それら演算結果に基づいて、後述する失火判定動作を実行する。
次に、失火判定装置の失火判定動作について説明する。本失火判定装置は、失火の有無を判定するために、以下に述べる第1回転変動量(eddtcrx)および第2回転変動量(edltmfh)の2種類の回転変動量の値を利用するようにしている。
(第1回転変動量および第2回転変動量の算出)
上記各回転変動量(eddtcrx、edltmfh)の算出手順について以下に説明する。
第1回転変動量(eddtcrx)は、「現在、膨張行程を迎えている気筒が圧縮上死点から下死点まで180°CA(Crank Angle)だけ回転するのに要する時間(以下、この時間を「膨張行程所要時間」という)と、この気筒の直前に膨張行程を迎えていた(点火タイミングで180°CA前の)気筒の膨張行程所要時間との偏差(前者の膨張行程所要時間から後者の膨張行程所要時間を減算した値)」から、「現在、膨張行程を迎えている気筒の2点火前に膨張行程を迎えていた(点火タイミングで360°CA前の)気筒の膨張行程所要時間と、この気筒の直前(現在、膨張行程を迎えている気筒の3点火前(点火タイミングで540°CA前))に膨張行程を迎えていた気筒の膨張行程所要時間との偏差(前者の膨張行程所要時間から後者の膨張行程所要時間を減算した値)」を減算した値である。
例えば、図6に示すように、第1番気筒♯1、第3番気筒♯3、第4番気筒♯4、第2番気筒♯2の順で180°CA毎に燃焼行程を行っていく場合に、現在、膨張行程を迎えている気筒を第2番気筒♯2とし、この第2番気筒♯2の膨張行程において圧縮上死点(TDC)から下死点まで180°CAだけ回転するのに要していた時間(膨張行程所要時間)を「A」、その直前の第4番気筒♯4の膨張行程所要時間を「B」、その直前の第3番気筒♯3の膨張行程所要時間を「C」、更に、その直前の第1番気筒♯1の膨張行程所要時間を「D」、更に、その直前の第2番気筒♯2の膨張行程所要時間を「E」とした場合、現在、膨張行程を迎えている気筒(第2番気筒♯2)の第1回転変動量(eddtcrx)は、以下の式(1)によって算出される。
eddtcrx=(A−B)−(C−D) …(1)
これにより、現在膨張行程中の気筒(第2番気筒♯2)の回転速度と、その直近の3回の膨張行程(第4番気筒♯4、第3番気筒♯3、第1番気筒♯1それぞれの膨張行程)での回転速度とによって、現在膨張行程中の気筒を対象とした第1回転変動量(eddtcrx)を求めることができる。
現在膨張行程中の気筒において失火が生じてエンジン回転速度が低下すると、クランクシャフト10が一定クランク角度を回転するのに要する経過時間が長くなる。つまり、上記式(1)におけるAの値がB,C,Dの値に対して大きくなる。そこで、各気筒の膨張行程時においてクランクシャフト10が一定クランク角度(180°CA)を回転するのに要する経過時間を検出し、この経過時間の長さを上記式(1)に当てはめ、算出された第1回転変動量(eddtcrx)に基づいて失火が生じている可能性があるか否かを認識して、後述する失火判定出動作に役立てるようにしている。
一方、第2回転変動量(edltmfh)の算出動作としては、先ず、「現在、膨張行程を迎えている気筒の膨張行程所要時間と、この気筒の2点火前に膨張行程を迎えていた(点火タイミングで360°CA前の)気筒の膨張行程所要時間との偏差(前者の膨張行程所要時間から後者の膨張行程所要時間を減算した値)」を求める。そして、「現在、膨張行程を迎えている気筒の直前に膨張行程を迎えていた(点火タイミングで180°CA前の)気筒の膨張行程所要時間とその気筒の2点火前(現在、膨張行程を迎えている気筒の3点火前(点火タイミングで540°CA前))に膨張行程を迎えていた気筒の膨張行程所要時間との偏差(前者の膨張行程所要時間から後者の膨張行程所要時間を減算した値)」と「現在、膨張行程を迎えている気筒の2点火前に膨張行程を迎えていた(点火タイミングで360°CA前の)気筒の膨張行程所要時間とその気筒の更に2点火前(現在、膨張行程を迎えている気筒の4点火前(点火タイミングで720°CA前))に膨張行程を迎えていた気筒の膨張行程所要時間との偏差(前者の膨張行程所要時間から後者の膨張行程所要時間を減算した値)」との平均値を、上記「現在、膨張行程を迎えている気筒の膨張行程所要時間と、この気筒の2点火前に膨張行程を迎えていた気筒の膨張行程所要時間との偏差」から減算することで上記第2回転変動量(edltmfh)は求められる。
図6に当てはめた場合、この第2回転変動量(edltmfh)は、以下の式(2)によって算出される。
edltmfh=(A−C)−{(B−D)+(C−E)}/2 …(2)
(失火判定動作の手順の概略)
次に、上述した第1回転変動量(eddtcrx)および第2回転変動量(edltmfh)を利用して行われる失火判定動作の手順の概略について説明する。尚、以下の説明で、「ロックアップクラッチ53fのロックアップ状態(係合状態)」とは「ロックアップクラッチ53fのフレックスロックアップ状態(半係合状態)」も含む概念とする。
(I) 先ず、エンジン1の回転変動量が所定の閾値(N1)を超えたか否かを判定し、この回転変動量が閾値(N1)を超えた場合に、失火が生じている可能性があると判断する。具体的には、上記第2回転変動量(edltmfh)が、ある気筒の膨張行程において閾値(N1)を超えたか否かを判定し、この第2回転変動量(edltmfh)が閾値(N1)を超えた場合に、その膨張行程を迎えていた気筒(以下、失火判定対象気筒という)では失火が生じている可能性があると判断する。
なお、上記閾値(N1)は、実験的または経験的に設定されるものであり、エンジン回転速度NEが速いほど小さな値として例えばマップ演算される。これは、次の理由による。通常、エンジン回転速度NEが速くなると、それに伴って上記各所要時間A〜Eがそれぞれ短い時間として算出される。このため、上記式(2)に基づき算出される第2回転変動量(edltmfh)も小さな値として算出されるようになる。そこで、上記閾値(N1)をエンジン回転速度NEが速くなるほど小さな値として算出することで、エンジン回転速度NEの変化による影響を極力排除した上で失火が生じている可能性があるか否かを判断することができるようにしている。
(II) このようにして失火が生じている可能性があると判断されると、エンジン1の回転変動パターンが、上記失火判定対象気筒の膨張行程の前後において、予め設定された第1の失火判定パターンに略沿っているか否かによって失火の有無を判定する第1の失火判定動作を行う(第1失火判定手段による第1の失火判定動作)。具体的には、上記第1回転変動量(eddtcrx)の経時変化として表される回転変動パターンが第1の失火判定パターンに沿っているか否かによって失火の有無を判定する。この第1の失火判定パターンの詳細については後述する。
(III) そして、この第1の失火判定動作において、上記失火判定対象気筒で失火が発生していると判定された場合には、失火判定動作としては「失火有り」を確定する。
一方、上記第1の失火判定動作において、失火が無いと判定された場合には、上記ロックアップクラッチ53fがロックアップ状態であり且つ上記エンジン1の回転変動パターンがロックアップ状態での失火発生時に特有の特定回転変動パターンに略沿っているか否かを判定する(特定回転変動パターン判定手段による特定パターン判定動作)。具体的には、上記第1回転変動量(eddtcrx)の経時変化として表される回転変動パターンおよび上記第2回転変動量(edltmfh)の経時変化として表される回転変動パターンが、それぞれ上記失火判定対象気筒の膨張行程の前後において、上記特定回転変動パターンに略沿っているか否かを判定する。これら特定回転変動パターン(第1回転変動量の特定回転変動パターン、第2回転変動量の特定回転変動パターン)の詳細については後述する。
(IV)そして、これら回転変動パターンが上記特定回転変動パターンに沿っていないと判定された場合には、失火判定動作としては「失火無し」を確定する。
一方、これら回転変動パターンが上記特定回転変動パターンに略沿っていると判定された場合には、エンジン1の回転変動パターンが、上記失火判定対象気筒の膨張行程の前後において、上記第1の失火判定パターンに比べて回転変動の変化が小さいものとして規定された、つまり、失火判定条件を緩めるようなパターンに規定された第2の失火判定パターンに略沿っているか否かによって失火の有無を判定する第2の失火判定動作を行うようにしている(第2失火判定手段による第2の失火判定動作)。具体的には、上記第1回転変動量(eddtcrx)の経時変化として表される回転変動パターンが第2の失火判定パターンに沿っているか否かによって失火の有無を判定する。この第2の失火判定動作において、回転変動パターンが第2の失火判定パターンに沿っていないと判定された場合には、失火判定動作としては「失火無し」を確定する。一方、この第2の失火判定動作において、回転変動パターンが第2の失火判定パターンに略沿っていると判定された場合には、失火判定動作としては「失火有り」を確定する。この第2の失火判定パターンの詳細については後述する。
−失火判定パターン−
次に、上述した失火判定のための各失火判定パターンおよび上記特定回転変動パターンについて説明する。
図7は、ロックアップクラッチ53fが非ロックアップ状態(解放状態)にある際に第2番気筒♯2で連続的に失火が発生している場合における第1回転変動量(eddtcrx)の回転変動パターンおよび第2回転変動量(edltmfh)の回転変動パターンの一例を示している。
また、図8は、ロックアップクラッチ53fはロックアップ状態であるが、エンジン1と自動変速機50との共振現象は生じていない際において、第2番気筒♯2で連続的に失火が発生している場合の第1回転変動量(eddtcrx)の回転変動パターンおよび第2回転変動量(edltmfh)の回転変動パターンの一例を示している。
そして、図9は、ロックアップクラッチ53fがロックアップ状態(上述した如く、フレックスロックアップ状態も含む)であり、エンジン1と自動変速機50との共振現象が生じている際において、第2番気筒♯2で連続的に失火が発生している場合の第1回転変動量(eddtcrx)の回転変動パターンおよび第2回転変動量(edltmfh)の回転変動パターンの一例を示している。
図7〜図9の各波形における、ΔN1−0は第3番気筒♯3の第1回転変動量、ΔN1−1は第1番気筒♯1の第1回転変動量、ΔN1−2は第2番気筒♯2の第1回転変動量、ΔN1−3は第4番気筒♯4の第1回転変動量である。つまり、ΔN1−3→ΔN1−2→ΔN1−1→ΔN1−0→ΔN1−3→…の順に従う第1回転変動量の変化が、この第1回転変動量の回転変動パターンとなる。
同様に、図7〜図9の各波形における、ΔN2−0は第3番気筒♯3の第2回転変動量、ΔN2−1は第1番気筒♯1の第2回転変動量、ΔN2−2は第2番気筒♯2の第2回転変動量、ΔN2−3は第4番気筒♯4の第2回転変動量である。つまり、ΔN2−3→ΔN2−2→ΔN2−1→ΔN2−0→ΔN2−3→…の順に従う第2回転変動量の変化が、この第2回転変動量の回転変動パターンとなる。
(第1の失火判定パターン)
上記第1の失火判定パターンは、第1回転変動量(eddtcrx)の回転変動パターンを対象とするものであり、図7に示している第1回転変動量(eddtcrx)の回転変動パターンに相当する。つまり、この第1の失火判定パターンは、ロックアップクラッチ53fが非ロックアップ状態にある際に失火が発生した場合における第1回転変動量(eddtcrx)の回転変動パターンに相当する。以下、具体的に説明する。
図7の第1回転変動量(eddtcrx)の回転変動パターンに示すように、例えば第2番気筒♯2(失火判定対象気筒)で失火が発生する場合には、この第2番気筒♯2の膨張行程時に算出された第1回転変動量(eddtcrx=ΔN1−2)が、その直前の第4番気筒♯4(本発明でいう1点火前気筒)の膨張行程時に算出された第1回転変動量(eddtcrx=ΔN1−3)および直後の第1番気筒♯1(本発明でいう1点火後気筒)の膨張行程時に算出された第1回転変動量(eddtcrx=ΔN1−1)に比べて特に大きくなる。また、これに加えて、第2番気筒♯2(失火判定対象気筒)の2点火後に膨張行程を迎えた第3番気筒♯3の膨張行程時に算出された第1回転変動量(eddtcrx=ΔN1−0)が、上記第1回転変動量ΔN1−2(失火判定対象気筒である第2番気筒♯2の第1回転変動量)と、ほぼその絶対値が同じであって、且つ正負が逆の値をとるようになる。
本実施形態の失火判定装置では、このように回転変動量ΔN1−0〜ΔN1−3の変化パターンが、非ロックアップ状態における失火発生時に特有のパターンとなることに着目して失火発生を判断するべく、以下の各条件がエンジン制御装置40内のROMに予め記憶されている。
(a)ΔN1−2×X<|ΔN1−0|、且つ
(b)ΔN1−2×Y≧ΔN1−3、且つ
(c)ΔN1−2×Z≧ΔN1−1
これら(a)〜(c)の論理積が満たされる(つまり、上記第1の失火判定パターンとなる)ことを条件として、回転変動量がΔN1−2である気筒(第2番気筒♯2)で失火が発生していると判断されることになる。ここで、上記各係数X,Y,Zは、それぞれ「1」未満の正の値として実験的または経験的に設定されている。
また、これら係数X〜Zは、エンジン回転速度NEに基づき算出される。具体的には、上記各係数X〜Zは、エンジン回転速度NEが速くなるほど小さな値として算出される。これは、次の理由による。
上述したように、エンジン回転速度NEが速くなると、それに伴って各回転変動量ΔN1−0〜ΔN1−3は小さな値として算出されるようになる。そこで、上記各係数X〜Zをエンジン回転速度NEが速いときほど小さな値として算出することで、これら回転変動量ΔN1−0〜ΔN1−3の変化パターンと、上記失火パターンとを、エンジン回転速度NEの変化による影響を極力排除した上で比較することができるようにしている。
そして、上記(a)〜(c)の論理積条件が満たされているときには、回転変動量ΔN1−0〜ΔN1−3の変化パターンが、非ロックアップ状態における失火パターン(第1の失火判定パターン)になっており、回転変動量ΔN1−2が大きくなった原因は失火であるとして「失火有り」と判定される。
(第1回転変動量(eddtcrx)の特定回転変動パターン)
上記第1回転変動量(eddtcrx)の特定回転変動パターンは、第1回転変動量(eddtcrx)が以下の式(3)に当てはまるような回転変動状態となった場合の回転変動パターンである。
|ΔN1−1|≧(ΔN1−2)×α …(3)
ここで、|ΔN1−1|は、第1番気筒♯1の膨張行程時に算出された第1回転変動量の絶対値、つまり、失火判定対象気筒の膨張行程の直後に膨張行程を迎えていた気筒における第1回転変動量の絶対値である。また、ΔN1−2は、第2番気筒♯2の膨張行程時に算出された第1回転変動量、つまり、失火判定対象気筒の膨張行程時に算出された第1回転変動量である。また、αは「1」未満の正の値として設定された係数であり、実験的または経験的に設定されている。
(第2回転変動量(edltmfh)の特定回転変動パターン)
上記第2回転変動量(edltmfh)の特定回転変動パターンは、第2回転変動量(edltmfh)が以下の式(4)に当てはまるような回転変動状態となった場合の回転変動パターンである。
ΔN2−2×β≧ΔN2−1 …(4)
ここで、ΔN2−2は、第2番気筒♯2の膨張行程時に算出された第2回転変動量、つまり、失火判定対象気筒の膨張行程時に算出された第2回転変動量である。また、ΔN2−1は、第1番気筒♯1の膨張行程時に算出された第2回転変動量、つまり、失火判定対象気筒の膨張行程の直後に膨張行程を迎えていた気筒における第2回転変動量である。また、βは「1」未満の正の値として設定された係数であり、実験的または経験的に設定されている。
(第2の失火判定パターン)
上記第2の失火判定パターンは、第1回転変動量(eddtcrx)の回転変動パターンを対象とするものであり、図9に示している第1回転変動量(eddtcrx)の回転変動パターンに相当する。つまり、この第2の失火判定パターンは、ロックアップクラッチ53fがロックアップ状態であり、エンジン1と自動変速機50との共振現象が生じている場合において、第2番気筒♯2で失火が発生している際の第1回転変動量(eddtcrx)の回転変動パターンに相当する。以下、具体的に説明する。
図9の第1回転変動量(eddtcrx)の回転変動パターンに示すように、例えば第2番気筒♯2(失火判定対象気筒)で失火が発生する場合には、この第2番気筒♯2の膨張行程時に算出された第1回転変動量(eddtcrx=ΔN1−2)と、その直前の第4番気筒♯4(本発明でいう1点火前気筒)の膨張行程時に算出された第1回転変動量(eddtcrx=ΔN1−3)とには殆ど差が無くなる。
つまり、従来では、第1回転変動量(eddtcrx)に関して、上記第2番気筒♯2の膨張行程時に算出された回転変動量ΔN1−2と、その直前の第4番気筒♯4の膨張行程時に算出された回転変動量ΔN1−3とに大きな差が生じていないことで、失火が発生していないと判定していたが、本実施形態では、ロックアップクラッチ53fがロックアップ状態またはフレックスロックアップ状態にある場合に限って、このような回転変動パターンであっても失火が発生していると判定するようにしている。即ち、この第2の失火判定パターンでは、第2番気筒♯2の膨張行程時に算出された第1回転変動量ΔN1−2と第4番気筒♯4の膨張行程時に算出された第1回転変動量ΔN1−3との変化が、上記第1の失火判定パターンのものに比べて小さいものとして規定されている。言い換えると、第1の失火判定パターンに比べて失火判定条件が緩いパターンとして第2の失火判定パターンは規定されている。
具体的には、第2の失火判定パターンは、第1回転変動量(eddtcrx)が以下の式(5)に当てはまるような回転変動状態となった場合の回転変動パターンとして規定されている。
ΔN1−2×γ≧ΔN1−3 …(5)
ここで、ΔN1−2は、第2番気筒♯2の膨張行程時に算出された第1回転変動量、つまり、失火判定対象気筒の膨張行程時に算出された第1回転変動量である。また、ΔN1−3は、第4番気筒♯4の膨張行程時に算出された第1回転変動量、つまり、失火判定対象気筒の膨張行程の直前に膨張行程を迎えていた気筒における第1回転変動量である。また、γは「1」未満の正の値として設定された係数であり、実験的または経験的に設定されている。
このようにして第2の失火判定パターンが規定されることで、図8で示した、ロックアップ状態で上記共振現象が生じていない場合の回転変動パターンとは明確な差別化ができる。
尚、この第2の失火判定パターンとしては、上記式(5)で規定されるパターンに加えて、以下の式(6)に当てはまるような回転変動状態となった場合の回転変動パターンとして規定してもよい。
ΔN1−2≧ΔN1−1 …(6)
つまり、上記第2番気筒♯2の膨張行程時に算出された回転変動量ΔN1−2と、その直前の第4番気筒♯4の膨張行程時に算出された回転変動量ΔN1−3とに大きな差が生じておらず、且つ上記第2番気筒♯2の膨張行程時に算出された回転変動量ΔN1−2に対して、その直後の第1番気筒♯1の膨張行程時に算出された回転変動量ΔN1−1が所定量以上小さい場合に第2の失火判定パターンが成立したとするものである。
−失火判定処理の手順−
以下、本実施形態における失火判定処理の手順について、図10のフローチャートを参照して説明する。この図10に示す制御ルーチンは、上記エンジン制御装置40において、例えばクランクシャフト10の1回転毎または所定時間毎(例えば数msec毎)に繰り返して実行される。
尚、この処理は、失火を判定(失火検出)するための前提条件が成立している場合に実行される。この判断では、上記前提条件に基づく判断を通じて、失火発生以外の要因でエンジン回転速度NEが大きく変動するおそれがなく、この失火発生に伴うエンジン回転速度NEの変動を精度よく検出することができる条件下であるか否かが判断される。なお、上記前提条件としては例えば、エアーコンディショナの作動/非作動が切り換えられてから所定時間が経過していることや、シフトレバーが操作されてから所定時間が経過していること等がある。
そして、上記前提条件が成立している状態で、ステップST1において失火仮判定処理が実行される。この失火仮判定処理は、何れかの気筒で失火が発生している可能性があるか否かを判断する処理である。具体的には、上述したように、エンジン1の上記第2回転変動量(edltmfh)が、ある気筒の膨張行程において閾値(N1)を超えたか否かを判定し、この第2回転変動量(edltmfh)が閾値(N1)を超えた場合に、その膨張行程を迎えていた気筒(失火判定対象気筒)では失火が生じている可能性があると判断する。
このステップST1で第2回転変動量(edltmfh)が閾値(N1)を超えおらず、失火が発生している可能性がないと判断(ステップST1でNO判定)されると、そのまま本ルーチンを終了する。
一方、第2回転変動量(edltmfh)が閾値(N1)を超えており、失火が発生している可能性があると判断(ステップST1でYES判定)されると、ステップST2に移り、仮判定結果フラグを「1」に設定し、ステップST3で、失火種別および失火発生気筒の情報を初期化する。つまり、前回の失火判定処理で判断された失火種別および失火発生気筒のデータをリセットする。また、ステップST4において、パターン判定タイミングカウンタを「0」に設定する。つまり、前回の失火判定処理で使用したパターン判定タイミングカウンタのカウント値をリセットする。
その後、ステップST5において、上記第1の失火判定動作により失火種別判定動作を実行する。つまり、エンジン1の回転変動パターンが、上記失火判定対象気筒の膨張行程の前後において、上記第1の失火判定パターン(図7に示している第1回転変動量(eddtcrx)の回転変動パターンに相当)に略沿っているか否かを判定し、失火の有無を判定する。
そして、エンジン1の回転変動パターンが、上記第1の失火判定パターンに略沿っている場合には、失火が発生しているとして、ステップST8に移る。つまり、本ルーチンの失火判定処理において「失火有り」を確定する。
一方、エンジン1の回転変動パターンが、上記第1の失火判定パターンに沿っていない場合(第1の失火判定動作において失火有りと判断されなかった場合)には、未だ、「失火有り/失火無し」の確定を行うこと無しにステップST6に移る。このステップST6では、上記ロックアップクラッチ53fがロックアップ状態(フレックスロックアップ状態を含む)であり且つ上記エンジン1の回転変動パターンがロックアップ状態での失火発生時に特有の特定回転変動パターン(上記特定回転変動パターン)に略沿っているか否かを判定する(特定パターン判定動作)。つまり、上記第1回転変動量(eddtcrx)の回転変動パターンおよび上記第2回転変動量(edltmfh)の回転変動パターンが、それぞれ上記特定回転変動パターン(図9に示している第1回転変動量(eddtcrx)の回転変動パターンおよび第2回転変動量(edltmfh)の回転変動パターンに相当)に略沿っているか否かを判定する。
また、この特定パターン判定動作にあっては、エンジン負荷の急な変化が生じていないことも実行条件となる。例えば、アクセルペダル18の操作量の急な変化や、自動変速機50の変速動作や、補機類の負荷変動などが生じていないことが条件となる。
そして、この特定パターン判定動作において、これら回転変動量の回転変動パターンが特定回転変動パターンに沿っていない場合には、本ルーチンの失火判定処理において「失火無し」を確定する。つまり、上記第2回転変動量(edltmfh)が閾値(N1)を超えた原因は、悪路の走行などのように失火以外のものが原因であったと判断して「失火無し」を確定する。
一方、上記回転変動量の回転変動パターンが特定回転変動パターンに沿っており、ステップST6でYES判定された場合には、ステップST7に移る。このステップST7では、エンジン1の回転変動パターンが上記第2の失火判定パターンに略沿っているか否かによって失火の有無を判定する第2の失火判定動作を実行する。つまり、失火判定対象気筒の膨張行程時に算出された第1回転変動量とその直前に膨張行程を迎えていた気筒の膨張行程時に算出された第1回転変動量との変化が、上記第1の失火判定パターンのものに比べて小さいものとして規定された第2の失火判定パターンを利用して失火の有無を判定する。
そして、この第2の失火判定動作において、回転変動パターンが第2の失火判定パターン(図9に示している第1回転変動量(eddtcrx)の回転変動パターンに相当)に沿っていないと判定された場合(ステップST7でNO判定された場合)には、本ルーチンの失火判定処理において「失火無し」を確定する。つまり、上記第2回転変動量(edltmfh)が閾値(N1)を超えた原因は、悪路の走行などのように失火以外のものが原因であったと判断して「失火無し」を確定する。
一方、この第2の失火判定動作において、回転変動パターンが第2の失火判定パターンに略沿っていると判定された場合(ステップST7でYES判定された場合)には、失火判定動作としては「失火有り」を確定し、ステップST8に移る。つまり、本ルーチンの失火判定処理において「失火有り」を確定する。
上記ステップST5またはステップST7において「失火有り」が確定した後、ステップST8では、失火種別の処理動作を行う、具体的には、総失火カウンタ41のカウント値をインクリメントおよび検出カウンタ(1000revカウンタ)のカウント値のインクリメントを行う。この場合、検出カウンタのカウント値が所定値(例えば1000)を超えており且つ総失火カウンタ41のカウント値も所定値(例えば30)を超えている場合、総検出回数中に所定回数以上の頻度で失火発生が検出されたと判断され、排気エミッションの悪化や触媒12の劣化等を招くおそれのある頻度で失火が発生しているとして、MIL(警告灯)が点灯し、運転者に警告を促すことになる。また、ステップST9において失火気筒の特定を行い、その気筒に対応する気筒別失火カウンタ42のカウント値をインクリメントする。そして、この失火発生情報および失火発生気筒情報は上記エンジン制御装置40に備えられたダイアグノーシスに書き込まれることになる。
以上説明したように、本実施の形態によれば、以下の効果が得られる。エンジン1の回転変動パターンが第1の失火判定パターンに沿っている場合には、ロックアップクラッチ53fの非ロックアップ状態で失火が発生していると判断する。一方、エンジン1の回転変動パターンが第1の失火判定パターンに沿っていない場合には、エンジン1の回転変動パターンが上記特定回転変動パターンに沿っていることを条件として、上記第2の失火判定パターン(第1の失火判定パターンに比べて失火判定条件を緩めるようなパターンとして規定された失火判定パターン)に基づいた失火判定動作を実行し、エンジン1の回転変動パターンが第2の失火判定パターンに沿っている場合には、ロックアップクラッチ53fのロックアップ状態で失火が発生していると判断するようにしている。
その結果、ロックアップクラッチ53fのロックアップ状態において、エンジン1と自動変速機50との共振現象が発生している場合に、従来であれば、この共振の影響によって回転変動が小さくなっているために、失火が発生していてもそれを検出することができない可能性が高かったが、本実施形態によれば、上記特定回転変動パターンおよび第2の失火判定パターンを使用することによって失火の発生を検出することが可能になる。このようにして、上記共振現象の悪影響を受けることなく失火が発生していることが正確に判定され、失火判定の信頼性を高めることができる。
−第2の失火判定パターンの変形例−
上述した実施形態では、第2の失火判定パターンを以下のように規定していた。つまり、失火判定対象気筒である第2番気筒♯2の膨張行程時に算出された第1回転変動量ΔN1−2が、その直後の第1番気筒♯1の膨張行程時に算出された回転変動量ΔN1−1に比べて特に大きく、また、失火判定対象気筒である第2番気筒♯2の膨張行程時に算出された第1回転変動量ΔN1−2と、その直前の第4番気筒♯4の膨張行程時に算出された回転変動量ΔN1−3とには大きな差は生じないものとして規定していた。これに限らず、以下のように規定してもよい。
つまり、第2番気筒♯2(失火判定対象気筒)で失火が発生する場合に、この第2番気筒♯2の膨張行程時に算出された回転変動量ΔN1−2が、その直前の第4番気筒♯4(本発明でいう1点火前気筒)の膨張行程時に算出された回転変動量ΔN1−3に比べて特に大きく、また、失火判定対象気筒である第2番気筒♯2の膨張行程時に算出された第1回転変動量ΔN1−2と、その直後の第1番気筒♯1の膨張行程時に算出された回転変動量ΔN1−1とには大きな差は生じないものとして第2の失火判定パターンを規定するものである。
−他の実施形態−
上記実施の形態は、以下のように変更して実施してもよい。
・上記実施形態および変形例では、本発明を自動車用4気筒ガソリンエンジンに適用した場合について説明したが、本発明は、これに限るものではなく、種々のエンジン(4気筒以外の例えば6気筒のエンジン、ディーゼルエンジン、自動車以外に搭載されるエンジン等)に対して適用できる。
・上記実施形態および変形例では、所定値N1をエンジン回転速度NEおよび吸気管内圧力PMに基づき算出するようにしたが、これに限られない。例えば、この所定値N1を、エンジン回転速度NEおよび吸気管内圧力PMの何れか一方に基づき算出したり、あるいは他のパラメータに基づき算出してもよい。また、吸気管内圧力PMに代えて吸入空気量を検出するシステムにあっては、この吸入空気量を代用しても勿論よい。他方、所定値N1を一定の値として設定するようにしてもよい。要は、失火の発生に伴う回転変動量ΔNEの変化を好適に監視できるのであれば、所定値N1をどのように算出、若しくは設定してもよい。
・上記実施形態および変形例では、各係数X〜Zをエンジン回転速度NEに基づき算出するようにしたが、これに限らず、例えば各係数X〜Zを吸気管内圧力PMや吸入空気量に基づいて算出したり、あるいは他のパラメータに基づき算出したりするようにしてもよい。また、各係数X〜Zを一定の値として設定するようにしてもよい。要は、失火判定パターンを好適なパターンとして設定できるのであれば、係数X〜Zをどのように算出、若しくは設定するようにしてもよい。
・上記実施形態では、検出カウンタ(1000revカウンタ)によって総検出回数を、失火カウンタ(総失火カウンタ41および気筒別失火カウンタ42)によって失火発生の検出回数をそれぞれカウントすることで、失火発生の検出頻度を求めるようにしたが、これら頻度の求め方も任意である。
・上記実施形態では、回転変動量を上記式(1)および式(2)から算出するようにしたが、これに限られない。要は、失火発生に伴うエンジン回転速度の変動を把握することが可能な態様であれば、回転変動量の算出態様を適宜変更してもよい。
・また、上記実施形態では、有段式の自動変速機50が連結されたエンジン1に対して本発明を適用した場合について説明したが、ベルト式CVT(Continuously Variable Transmission)やトロイダル式CVT等の無段変速機が連結されたエンジン1に対しても本発明は適用可能である。
実施形態に係る失火判定装置が適用されるエンジンおよびその周辺装置の概略構成を示す図である。 実施形態に係る車両のパワートレーンを示す概略構成図である。 トルクコンバータの概略構成を模式的に示す自動変速機の概略構成図である。 エンジン制御装置およびトランスミッション制御装置を含む制御ブロックを示す概略構成図である。 ロックアップクラッチの制御に用いるロックアップクラッチ作動マップを示す図である。 各気筒の燃焼行程の順序と、それぞれにおける膨張行程所要時間とを示す図である。 ロックアップクラッチが非ロックアップ状態にある際に第2番気筒で連続的に失火が発生している場合における第1回転変動量(eddtcrx)の回転変動パターンおよび第2回転変動量(edltmfh)の回転変動パターンの一例を示す図である。 ロックアップクラッチはロックアップ状態であるが、エンジンと自動変速機との共振現象は生じていない際において、第2番気筒で連続的に失火が発生している場合の第1回転変動量(eddtcrx)の回転変動パターンおよび第2回転変動量(edltmfh)の回転変動パターンの一例を示す図である。 ロックアップクラッチがロックアップ状態であり、エンジンと自動変速機との共振現象が生じている際において、第2番気筒♯2で連続的に失火が発生している場合の第1回転変動量(eddtcrx)の回転変動パターンおよび第2回転変動量(edltmfh)の回転変動パターンの一例を示す図である。 失火判定処理動作の手順を示すフローチャート図である。
符号の説明
1 エンジン(内燃機関)
50 自動変速機
53 トルクコンバータ(流体式動力伝達装置)
53f ロックアップクラッチ
54 変速機構部
N1 閾値
♯1 第1気筒(1点火後気筒)
♯2 第2気筒(失火判定対象気筒)
♯4 第4気筒(1点火前気筒)

Claims (6)

  1. ロックアップクラッチを有する流体式動力伝達装置を介して変速機に連結された内燃機関の回転変動量が所定の閾値を超えたときに失火が生じている可能性があると判断し、内燃機関の回転変動パターンが失火発生時に特有のパターンであるか否かを判定することによって失火判定を行う内燃機関の失火判定装置において、
    上記内燃機関の回転変動パターンが、予め設定された第1の失火判定パターンに略沿っているか否かによって失火の有無を判定する第1の失火判定動作を行う第1失火判定手段と、
    上記第1失火判定手段による第1の失火判定動作において失火有りと判断されなかった場合に、上記ロックアップクラッチがロックアップ状態であり且つ上記内燃機関の回転変動パターンがロックアップ状態での失火発生時に特有の特定回転変動パターンに略沿っているか否かを判定する特定パターン判定動作を行う特定回転変動パターン判定手段と、
    上記特定回転変動パターン判定手段による特定パターン判定動作において内燃機関の回転変動パターンが上記特定回転変動パターンに略沿っていると判定された場合に、内燃機関の回転変動パターンが、上記第1の失火判定パターンに比べて回転変動の変化が小さいものとして規定された第2の失火判定パターンに略沿っているか否かによって失火の有無を判定する第2の失火判定動作を行う第2失火判定手段とを備えていることを特徴とする内燃機関の失火判定装置。
  2. 上記請求項1記載の内燃機関の失火判定装置において、
    上記第1の失火判定動作において失火有りと判定された場合、または、第2の失火判定動作において失火有りと判定された場合に、失火判定結果として失火有りを確定する一方、特定パターン判定動作において内燃機関の回転変動パターンが特定回転変動パターンに沿っていないと判定された場合、または、第2の失火判定動作において失火無しと判定された場合に、失火判定結果として失火無しを確定するよう構成されていることを特徴とする内燃機関の失火判定装置。
  3. 上記請求項1または2記載の内燃機関の失火判定装置において、
    上記第1失火判定手段は、内燃機関の回転変動量が所定の閾値を超えたことで失火が生じている可能性があると判断された場合に、その失火判定対象気筒の膨張行程時における回転変動量、この失火判定対象気筒の膨張行程の直前に膨張行程を迎えていた気筒の膨張行程時における回転変動量、および、失火判定対象気筒の膨張行程の直後に膨張行程を迎えた気筒の膨張行程時における回転変動量の変化のパターンと、上記第1の失火判定パターンとを比較することで失火判定動作を行うよう構成されていることを特徴とする内燃機関の失火判定装置。
  4. 上記請求項1または2記載の内燃機関の失火判定装置において、
    上記特定回転変動パターン判定手段は、ロックアップクラッチがロックアップ状態にある場合において、内燃機関の回転変動量が所定の閾値を超えたことで失火が生じている可能性があると判断され且つ上記第1の失火判定動作において失火有りと判断されなかった場合に、その失火判定対象気筒の膨張行程時における回転変動量、および、この失火判定対象気筒の膨張行程の直後に膨張行程を迎えていた気筒の膨張行程時における回転変動量の変化のパターンと、上記特定回転変動パターンとを比較することで失火判定動作を行うよう構成されていることを特徴とする内燃機関の失火判定装置。
  5. 上記請求項1または2記載の内燃機関の失火判定装置において、
    上記第2失火判定手段は、ロックアップクラッチがロックアップ状態にある場合において、内燃機関の回転変動量が所定の閾値を超えたことで失火が生じている可能性があると判断され且つ上記特定パターン判定動作において内燃機関の回転変動パターンが特定回転変動パターンに略沿っていると判断された場合に、その失火判定対象気筒の膨張行程時における回転変動量、および、この失火判定対象気筒の膨張行程の直前に膨張行程を迎えていた気筒の膨張行程時における回転変動量の変化のパターンと、上記第2の失火判定パターンとを比較することで失火判定動作を行うよう構成されていることを特徴とする内燃機関の失火判定装置。
  6. 上記請求項1〜5のうち何れか一つに記載の内燃機関の失火判定装置において、
    上記特定回転変動パターンは、失火判定対象気筒の膨張行程の直後に膨張行程を迎えた1点火後気筒の膨張行程時における回転変動量に対して、失火判定対象気筒の膨張行程時における回転変動量が所定量以上大きくなるパターンとして規定されている一方、
    上記第2の失火判定パターンは、失火判定対象気筒の膨張行程の直前に膨張行程を迎えた1点火前気筒の膨張行程時における回転変動量と、失火判定対象気筒の膨張行程時における回転変動量との差が所定量以下であるパターンとして規定されていることを特徴とする内燃機関の失火判定装置。
JP2008179225A 2008-07-09 2008-07-09 内燃機関の失火判定装置 Expired - Fee Related JP4572962B2 (ja)

Priority Applications (2)

Application Number Priority Date Filing Date Title
JP2008179225A JP4572962B2 (ja) 2008-07-09 2008-07-09 内燃機関の失火判定装置
US12/500,018 US8281650B2 (en) 2008-07-09 2009-07-09 Misfire determination device and misfire determination method for internal combustion engine

Applications Claiming Priority (1)

Application Number Priority Date Filing Date Title
JP2008179225A JP4572962B2 (ja) 2008-07-09 2008-07-09 内燃機関の失火判定装置

Publications (2)

Publication Number Publication Date
JP2010019144A true JP2010019144A (ja) 2010-01-28
JP4572962B2 JP4572962B2 (ja) 2010-11-04

Family

ID=41704305

Family Applications (1)

Application Number Title Priority Date Filing Date
JP2008179225A Expired - Fee Related JP4572962B2 (ja) 2008-07-09 2008-07-09 内燃機関の失火判定装置

Country Status (1)

Country Link
JP (1) JP4572962B2 (ja)

Citations (7)

* Cited by examiner, † Cited by third party
Publication number Priority date Publication date Assignee Title
JPH04159438A (ja) * 1990-10-19 1992-06-02 Hitachi Ltd 内燃機関の失火検出法
JPH05180063A (ja) * 1991-12-27 1993-07-20 Honda Motor Co Ltd 内燃エンジンの失火検出装置
JPH06307284A (ja) * 1993-04-21 1994-11-01 Toyota Motor Corp 多気筒内燃機関の失火検出装置
JPH07145752A (ja) * 1993-07-28 1995-06-06 Nippondenso Co Ltd 内燃機関の失火検出装置
JPH10331707A (ja) * 1997-05-30 1998-12-15 Nissan Motor Co Ltd エンジンの失火診断装置
JP2001173509A (ja) * 1999-12-20 2001-06-26 Denso Corp 内燃機関の失火検出装置
JP2006152971A (ja) * 2004-12-01 2006-06-15 Toyota Motor Corp 内燃機関の失火判定装置

Patent Citations (7)

* Cited by examiner, † Cited by third party
Publication number Priority date Publication date Assignee Title
JPH04159438A (ja) * 1990-10-19 1992-06-02 Hitachi Ltd 内燃機関の失火検出法
JPH05180063A (ja) * 1991-12-27 1993-07-20 Honda Motor Co Ltd 内燃エンジンの失火検出装置
JPH06307284A (ja) * 1993-04-21 1994-11-01 Toyota Motor Corp 多気筒内燃機関の失火検出装置
JPH07145752A (ja) * 1993-07-28 1995-06-06 Nippondenso Co Ltd 内燃機関の失火検出装置
JPH10331707A (ja) * 1997-05-30 1998-12-15 Nissan Motor Co Ltd エンジンの失火診断装置
JP2001173509A (ja) * 1999-12-20 2001-06-26 Denso Corp 内燃機関の失火検出装置
JP2006152971A (ja) * 2004-12-01 2006-06-15 Toyota Motor Corp 内燃機関の失火判定装置

Also Published As

Publication number Publication date
JP4572962B2 (ja) 2010-11-04

Similar Documents

Publication Publication Date Title
US8281650B2 (en) Misfire determination device and misfire determination method for internal combustion engine
US8355856B2 (en) Engine torque reserve system diagnostic systems and methods
US10767571B2 (en) Methods and system for operating an engine
US7089103B2 (en) Control system for cylinder cutoff internal combustion engine
JP4572965B2 (ja) 内燃機関の失火判定装置
JP4577423B2 (ja) 内燃機関の失火判定装置
JP2013060856A (ja) 車両の制御装置
JP5305043B2 (ja) エンジンの燃焼状態検出装置
JP4872971B2 (ja) 内燃機関の失火検出装置
US20170002758A1 (en) Engine control device and engine control method
JP4572962B2 (ja) 内燃機関の失火判定装置
JP2022147857A (ja) シフト制御装置
US12459490B2 (en) Hybrid electric vehicle
US10851729B2 (en) Determination criterion for engine torque control device and method
EP3514353B1 (en) Control method and control device for engine
US8423227B2 (en) Monitoring apparatus and method
CN102834635A (zh) 手动变速器的换档判定装置
JP2008286167A (ja) 多気筒内燃機関の制御装置
JP2013117206A (ja) 車両用内燃機関の制御装置
JP4949491B2 (ja) 内燃機関の失火検出装置
JP7691256B2 (ja) ロックアップクラッチの異常検知装置
CN112078563A (zh) 用于在低变速器范围内操作车辆的系统和方法
US11378054B2 (en) Driving source control apparatus
JP7468323B2 (ja) 内燃機関の燃料噴射制御装置
JP5488142B2 (ja) 車両の制御装置

Legal Events

Date Code Title Description
A977 Report on retrieval

Free format text: JAPANESE INTERMEDIATE CODE: A971007

Effective date: 20100430

A131 Notification of reasons for refusal

Free format text: JAPANESE INTERMEDIATE CODE: A131

Effective date: 20100511

A521 Written amendment

Free format text: JAPANESE INTERMEDIATE CODE: A523

Effective date: 20100614

RD02 Notification of acceptance of power of attorney

Free format text: JAPANESE INTERMEDIATE CODE: A7422

Effective date: 20100614

TRDD Decision of grant or rejection written
A01 Written decision to grant a patent or to grant a registration (utility model)

Free format text: JAPANESE INTERMEDIATE CODE: A01

Effective date: 20100720

A01 Written decision to grant a patent or to grant a registration (utility model)

Free format text: JAPANESE INTERMEDIATE CODE: A01

A61 First payment of annual fees (during grant procedure)

Free format text: JAPANESE INTERMEDIATE CODE: A61

Effective date: 20100802

R151 Written notification of patent or utility model registration

Ref document number: 4572962

Country of ref document: JP

Free format text: JAPANESE INTERMEDIATE CODE: R151

FPAY Renewal fee payment (event date is renewal date of database)

Free format text: PAYMENT UNTIL: 20130827

Year of fee payment: 3

LAPS Cancellation because of no payment of annual fees