JP2010019130A - タービン動翼 - Google Patents

タービン動翼 Download PDF

Info

Publication number
JP2010019130A
JP2010019130A JP2008178797A JP2008178797A JP2010019130A JP 2010019130 A JP2010019130 A JP 2010019130A JP 2008178797 A JP2008178797 A JP 2008178797A JP 2008178797 A JP2008178797 A JP 2008178797A JP 2010019130 A JP2010019130 A JP 2010019130A
Authority
JP
Japan
Prior art keywords
blade
fork
rotor
ultrasonic
ultrasonic sensor
Prior art date
Legal status (The legal status is an assumption and is not a legal conclusion. Google has not performed a legal analysis and makes no representation as to the accuracy of the status listed.)
Granted
Application number
JP2008178797A
Other languages
English (en)
Other versions
JP4931872B2 (ja
Inventor
Yutaka Suzuki
豐 鈴木
Yuji Adachi
裕二 安達
Naoyuki Kono
尚幸 河野
Hidenobu Sugiyama
秀信 杉山
Current Assignee (The listed assignees may be inaccurate. Google has not performed a legal analysis and makes no representation or warranty as to the accuracy of the list.)
Hitachi Ltd
Original Assignee
Hitachi Ltd
Priority date (The priority date is an assumption and is not a legal conclusion. Google has not performed a legal analysis and makes no representation as to the accuracy of the date listed.)
Filing date
Publication date
Application filed by Hitachi Ltd filed Critical Hitachi Ltd
Priority to JP2008178797A priority Critical patent/JP4931872B2/ja
Publication of JP2010019130A publication Critical patent/JP2010019130A/ja
Application granted granted Critical
Publication of JP4931872B2 publication Critical patent/JP4931872B2/ja
Expired - Fee Related legal-status Critical Current
Anticipated expiration legal-status Critical

Links

Images

Landscapes

  • Investigating Or Analyzing Materials By The Use Of Ultrasonic Waves (AREA)
  • Turbine Rotor Nozzle Sealing (AREA)

Abstract

【課題】フォーク形状を予め超音波探傷に好適化したフォーク型のタービン動翼を提供する。
【解決手段】外フォーク10のロータ軸方向の厚みをW2、ロータ軸方向にとった超音波センサの中心と外フォーク10の端部との距離をW3、ロータ径方向にとった超音波センサからピン穴11の中心までの距離をH、ロータ回転方向にとった外フォーク10の幅をL、超音波センサが発振する超音波の波長をλ、ロータ径方向にとった超音波センサの中心と外フォーク10の端部との距離をSとしたとき、
[(H+(L−S)+(W2+W3))]1/2−[(H+(L−S)+(W3))]1/2>λ
で表される関係が成立するように外フォーク10を形成する。
【選択図】図7

Description

本発明は、フォーク型の翼植込部を有するタービン動翼に関する。
フォーク型の翼植込部を有するタービン動翼(以下、フォーク型のタービン動翼と適宜記載する)は、そのフォークをディスクのフォークに対してピンで固定する構成が一般的である。この構成の場合、タービンの回転に伴ってピン穴に応力がかかるため、ピン穴部に亀裂(欠陥)が生じることがある。このため、供用中の動翼の信頼性を確認するために、タービン動翼のフォークの欠陥検査が重要視されている。
フォークの欠陥検査には、従来から磁粉探傷試験(MT:Magnetic particle Testing)が利用されていた。MTとは、検査対象に磁場をかけた際に欠陥から漏洩する磁束を検出する手法であって、欠陥の漏洩磁束に集積される蛍光物質を塗布した磁性金属粉に紫外線を照射し、磁性金属粉の集積の有無を蛍光物質の発光により観察することで欠陥を検出する。しかし、MTによる欠陥検査はピンを抜いてディスクとタービン動翼を分解しなければならないため、検査に時間がかかるという問題があった。
そこで、非分解検査を実現する技術として、超音波探傷試験(UT:Ultrasonic Testing)の適用が検討された。UTとは、検査対象40内に送信した超音波の反射波を超音波センサで受信する検査方法であって、欠陥からの反射があるか否かで欠陥の有無を評価する。特許文献1には、図24のようにディスクに対して周方向から組み入れるダブテイル型の動翼にUT手法を利用した欠陥検査を適用する例が開示されている。
特開平7−248316号公報
タービン動翼の翼植込部の上面(翼プロフィルの根元部の取り付け面)に超音波センサを設置してフォークのピン穴に対して超音波を走査した場合、欠陥に直接当たって戻ってくる反射波と、欠陥で反射する前後にフォーク内面で反射した反射波が混在する。両者のパスはフォークの厚み(ロータ軸方向の厚み)が狭まると近付き、例えば両者のパスの差が探傷用の超音波の波長より短くなるとノイズが発生する。
本発明は上記に鑑みてなされたもので、フォーク形状を予め超音波探傷に好適化したフォーク型のタービン動翼を提供することを目的とする。
(1)上記目的を達成するために、本発明は、複数の翼フォークを有するフォーク型の翼植込部を備えたタービン動翼において、前記複数のフォークのうちロータ軸方向の端部に位置しロータ回転方向の端部にピン穴を有する外フォークと、前記翼植込部のロータ径方向の外側に一体形成された翼取り付け部と、前記翼取り付け部に取り付けられた翼部と、前記翼取り付け部の前記翼部が取り付けられた翼取り付け面に設けられ、超音波センサが載置される平滑面とを備え、
前記外フォークのロータ軸方向の厚みをW2、ロータ軸方向にとった超音波センサの中心と前記外フォークの端部との距離をW3、ロータ径方向にとった前記超音波センサから前記ピン穴の中心までの距離をH、ロータ回転方向にとった前記外フォークの幅をL、前記超音波センサが発振する超音波の波長をλ、ロータ径方向にとった前記超音波センサの中心と前記外フォークの端部との距離をSとしたとき、
[(H+(L−S)+(W2+W3))]1/2−[(H+(L−S)+(W3))]1/2>λ
で表される関係が成立するように前記外フォークを形成したことを特徴とする。
(2)上記目的を達成するために、本発明は、複数の翼フォークを有するフォーク型の翼植込部を備えたタービン動翼において、前記複数のフォークのうちロータ軸方向の端部に位置する外フォークの間に位置しロータ回転方向の中央にピン穴を有する中フォークと、前記翼植込部のロータ径方向の外側に一体形成された翼取り付け部と、前記翼取り付け部に取り付けられた翼部と、前記翼取り付け部の前記翼部が取り付けられた翼取り付け面に設けられ、超音波センサが載置される平滑面とを備え、
前記中フォークのロータ軸方向の厚みをW2、ロータ軸方向にとった超音波センサの中心と前記中フォークの端部との距離をW3、ロータ径方向にとった前記超音波センサから前記ピン穴の中心までの距離をH、ロータ回転方向にとった前記中フォークの端部から前記ピン穴の中心までの距離をL2、前記超音波センサが発振する超音波の波長をλ、ロータ径方向にとった前記超音波センサの中心と前記外フォークの端部との距離をSとしたとき、
[(H+(L2−S)+(W2+W3))]1/2−[(H+(L2−S)+(W3))]1/2>λ
で表される関係が成立するように前記中フォークを形成したことを特徴とする。
(3)上記(1)又は(2)において、好ましくは、前記翼取り付け部の複数の翼フォークを取り付ける領域のロータ軸方向の長さをW0、各翼フォークのロータ軸方向の厚みをW2、翼フォークの数をN1としたとき、
N1<(W0/W2+1)/2
で表される関係が成立するように形成したことを特徴とする。
(4)上記目的を達成するために、本発明は、複数の翼フォークを有するフォーク型の翼植込部を備えたタービン動翼において、前記複数のフォークのうちロータ軸方向の端部に位置しロータ回転方向の端部にピン穴を有する外フォークと、前記翼植込部のロータ径方向の外側に一体形成された翼取り付け部と、前記翼取り付け部に取り付けられた翼部と、前記翼取り付け部の前記翼部が取り付けられた翼取り付け面に設けられ、超音波センサが載置される平滑面とを備え、
前記外フォークのロータ軸方向の厚みをW2、ロータ軸方向にとった超音波センサの中心と前記外フォークの端部との距離をW3、ロータ径方向にとった前記超音波センサから前記ピン穴の中心までの距離をH、ロータ回転方向にとった前記外フォークの幅をL、前記超音波センサが発振する超音波の波長をλ、ロータ径方向にとった前記超音波センサの中心と前記外フォークの端部との距離をS、前記ピン穴に到達するまでに前記外フォークの内面で超音波が反射する回数をnとしたとき、
[(H+((n+1)・L−S)+(W2+W3))]1/2−[(H+((n+1)・L−S)+(W3))]1/2>λ
で表される関係が成立するように前記外フォークを形成したことを特徴とする。
(5)上記目的を達成するために、本発明は、複数の翼フォークを有するフォーク型の翼植込部を備えたタービン動翼において、前記複数のフォークのうちロータ軸方向の端部に位置する外フォークの間に位置しロータ回転方向の中央にピン穴を有する中フォークと、前記翼植込部のロータ径方向の外側に一体形成された翼取り付け部と、前記翼取り付け部に取り付けられた翼部と、前記翼取り付け部の前記翼部が取り付けられた翼取り付け面に設けられ、超音波センサが載置される平滑面とを備え、
前記中フォークのロータ軸方向の厚みをW2、ロータ軸方向にとった超音波センサの中心と前記中フォークの端部との距離をW3、ロータ径方向にとった前記超音波センサから前記ピン穴の中心までの距離をH、ロータ回転方向にとった前記中フォークの幅をL、ロータ回転方向にとった前記中フォークの端部から前記ピン穴の中心までの距離をL2、前記超音波センサが発振する超音波の波長をλ、ロータ径方向にとった前記超音波センサの中心と前記外フォークの端部との距離をS、前記ピン穴に到達するまでに前記外フォークの内面で超音波が反射する回数をnとしたとき、
[(H+(n・L+L2−S)+(W2+W3))]1/2−[(H+((n・L+L2−S)+(W3))]1/2>λ
で表される関係が成立するように前記中フォークを形成したことを特徴とする。
(6)上記(4)又は(5)において、好ましくは、前記翼取り付け部の複数の翼フォークを取り付ける領域のロータ軸方向の長さをW0、各翼フォークのロータ軸方向の厚みをW2、翼フォーク枚数をN2としたとき、
W0>(2/N2−1)・W2
で表される関係が成立するように形成したことを特徴とする。
(7)上記(1)〜(6)のいずれかにおいて、好ましくは、前記平滑面の面積が9mm以上であることを特徴とする。
(8)上記(1)〜(7)のいずれかにおいて、好ましくは、前記平滑面の面積が100mm以下であることを特徴とする。
(9)上記(1)〜(8)のいずれかにおいて、好ましくは、前記平滑面が、前記翼取り付け面の前記翼フォークの延長上に位置していることを特徴とする。
本発明によれば、フォーク型のタービン動翼の超音波探傷の確度が向上するので、供用中のタービン動翼の信頼性を向上することができる。
以下に図面を用いて本発明の実施の形態を説明する。
まずタービン動翼の探傷試験の背景技術について説明する。
図1は本発明の適用対象となるフォーク型のタービン動翼を用いたタービンロータの構成を表す斜視図である。
図1に示したタービンロータは、ディスク1と、タービン動翼2と、ピン3とを備えている。なお、図1では、ディスク1の一部のみを一部断面で示している。
ディスク1は、回転軸の外周側に取り付けられた円盤状の部材であり、外周部にロータの回転軸方向(以下、ロータ軸方向と記載する)に列設されたディスクフォーク4を有しており、ディスクフォーク4には複数のピン穴5が軸方向に貫通して設けられている。
タービン動翼2は、翼植込部7と、翼取り付け部8と、翼部(プロフィル部)9とを備えている。翼植込部7は、タービン動翼2をディスク1に取り付けた姿勢(翼取り付け姿勢)においてディスク1側に位置する部分であり、複数の翼フォーク10を有している。翼フォーク10には、複数のピン穴11が軸方向に貫通して設けられている。フォーク10は、タービン動翼2をディスク1に取り付けた姿勢において、ロータ径方向の内側に突出した部材であり、軸方向に複数配列されている。これらフォーク10は、ディスク1の外周部に係合するように、ディスクフォーク4の間隔に対応する間隔で列設されている。翼取り付け部8は、ロータ径方向に所定の厚みを有する部分であって翼植込部7のロータ形方向外側に翼植込部7と一体に形成されている。翼取り付け部8のロータ径方向外側の翼取り付け面13にはタービン動翼2の翼部9が取り付けられている。また、翼取り付け部8は軸方向の両端に張出部12を有している。張出部12は、タービン動翼2をディスク1に取り付けた姿勢において、翼植込部7の軸方向の両端面よりも軸方向に突出している。
ディスクフォーク4のピン穴5と翼フォーク10のピン穴11は、タービン動翼2をディスク1に取り付けた姿勢において互いの位置が対応しており、ピン穴5,11にピン3を軸方向に挿通することでタービン動翼2がディスク1に対して固定される。ピン穴5,11は、タービン動翼2がディスク1に取り付けられた姿勢において互いの中心と直径が一致するように設計されている。また、タービンの回転に伴ってピン穴5,11にかかる応力を分散して耐久性を向上させるため、ピン穴5,11は翼フォーク一枚の面積当たりに複数設けられている。
しかしながら、このようなフォーク型のタービンロータでは、翼フォーク10にピン穴11を複数設けても、タービンの回転に伴ってかかる応力によりピン穴5,11の周囲に亀裂(以下、欠陥と記載する)が生じることがある。したがって、供用中のタービン動翼2の信頼性を確認するためにも、翼フォーク10の欠陥検査技術が重要である。
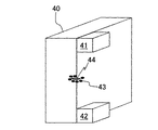
フォークの欠陥検査には、従来、図2に示した磁粉探傷試験(MT:Magnetic particle Testing)が利用されていた。MTとは、検査対象40にN磁極41とS磁極42で磁場をかけた際に欠陥44から漏洩する磁束を検出する手法である。MTでは、欠陥からの漏洩磁束に集積される蛍光物質を塗布した磁性金属粉43に紫外線を照射し、蛍光物質の発光を基に磁性金属粉43の集積の有無を観察することで欠陥を検出する。しかし、MTによる欠陥検査ではピンを抜いてディスクとタービン動翼を分解する必要があるため、検査に時間がかかるのが問題であった。
そこで、非分解検査を実現する技術として、超音波探傷試験(UT:Ultrasonic Testing)の適用が検討された。UTとは、図3に示すように、超音波センサ45を用いて検査対象40内に超音波Uを送信し反射波を受信する検査方法であって、欠陥43からの反射があるか否かで欠陥の有無を評価する。
図4は翼フォークの軸方向の厚みと2次元超音波探傷の検査結果の関係を説明する図で、図4(a)にはフォーク型のタービン動翼に対するUTの施工方法、図4(b)にはフォークの軸方向の厚みを17mmとした場合の翼フォークのピン穴近傍の2次元超音波探傷像、図4(c)にはフォークの軸方向の厚みを6.6mmとした場合の翼フォークのピン穴近傍の2次元超音波探傷像をそれぞれ表している。図4(a)における符号は既出図面に合わせてある。図4(b)及び図4(c)に示した結果から判るように、翼フォークの厚みが6.6mmの場合の方が17mmの場合よりもノイズが多く、翼フォークの厚みが小さくことによってノイズが増加したことが判る。
図5はUTにおけるノイズの発生原理の説明図である。
フォーク厚みが小さくなることにより、入射後ダイレクトに反射点で反射して戻ってくるパス1と、往路でフォークの内面で反射されて反射点に当たって復路でもフォーク内面で反射して入射点に戻ってくるパス2の距離の差が、翼フォークが薄くなることにより小さくなる。これがノイズの発生要因となる。
図6は図5の機構におけるノイズ発生領域の超音波伝播距離とフォーク厚みとの相関関係を表す図である。
この図6から、パス1とパス2の超音波伝播距離の差が、超音波探傷における超音波の波長λよりも短くなるとノイズが発生することが判る。
以上を踏まえ、このようなフォーク厚みが狭くなることによる形状信号が発生し難く超音波探傷に好適なフォーク型翼植込部を有するタービン動翼の実施の形態を説明する。
<第1の実施の形態>
図7は本発明の第1の実施の形態に係るタービン動翼の構成図で、図7(a)はロータ径方向外側から見た翼植込部の平面図、図7(b)はロータ回転方向から見た翼植込部の側面図、図7(c)はロータ軸方向から見た翼植込部(後述の外フォーク)の正面図、図7(d)はロータ軸方向から見た翼植込部(後述の中フォーク)の正面図である。これらの図中の符号は既出図面と対応している。
図7(a)−図7(d)に示したように、本実施の形態では、翼取り付け面13上に複数の平滑面15が設けられている。平滑面15は、翼取り付け面13上におけるUTセンサ45の載置面であり、UTセンサ45を載置した際に翼取り付け面13との間に隙間が生じないように平滑に形勢されており、また翼取り付け面13の翼フォーク10の延長上(翼フォーク10をロータ回転中心から翼取り付け面13に投影した面上)に位置している。これら平滑面15の面積は、現状で最も小さいUTが可能なUTセンサの大きさを考慮して9mm以上とする。一方、タービン動翼を回転させる作動流体の乱れの発生を抑制することを考慮して、平滑面15の面積は100mm以下であることが好ましい。また、本実施の形態では、UTセンサ45の位置合わせが容易なように平滑面15の大きさをUTセンサ45の底面積と等しくしてあるが、100mmの範囲でUTセンサ45の底面積より大きくすることもできる。
また、本実施の形態の場合、複数の翼フォーク10のうちロータ軸方向の端部(ロータ軸方向の最上流側と最下流側)に位置する外フォーク10に対し、それらの間に位置する中フォーク10’(説明の便宜上、中フォークの符号を10’と区別する)がロータ回転方向にピン穴11のロータ回転方向ピッチの半分だけ位置をずらした構成を例示している。図7に例示したタービン動翼において、外フォーク10ではロータ回転方向の両側端面に半割れのピン穴11が開口しているのに対し、中フォーク10’ではロータ回転方向の中央部にピン穴11’が1つ開口している。外フォーク10と中フォーク10’のロータ回転方向の幅は等しい。但し、外フォーク10と中フォーク10’のロータ回転方向への位置のずれや幅はこれに限定されるものではない。
まず、外フォーク10について超音波探傷に好適な形状を検討する。
図8(a)は外フォークにおいて直接的に探傷部位へ超音波が到達する場合の超音波伝播経路をロータ回転方向から見た側面図、図8(b)はロータ軸方向から見たその正面図である。
図8(a)及び図8(b)に示したようにUTセンサ45からの超音波が検査箇所にダイレクトに到達しその反射波が直接UTセンサ45に戻ってくる場合、その超音波伝播経路長は、
[(H+(L−S)+(W3))]1/2 ・・・(1)
と表される。
ここで、
H=H0+H1:ロータ径方向にとったUTセンサ45から検査箇所(ピン穴)の中心までの距離
L:ロータ回転方向にとった翼フォークの幅
W3:ロータ軸方向にとったUTセンサ45の中心と翼フォークの端部との距離
S:ロータ径方向にとったUTセンサ45の中心と翼フォークの端部との距離
である。
図8(c)は外フォークにおいて翼フォークの内面反射を伴う場合の超音波伝播経路をロータ回転方向から見た側面図正面図、図8(d)はロータ軸方向から見たその正面図である。この場合の超音波経路長は、
[(H+(L−S)+(W2+W3))]1/2 ・・・(2)
と表される。
ここで、
W2:ロータ軸方向にとった翼フォークの厚み(例えばW3の2倍)
である。
先に説明したノイズ発生原理から、式(2)と式(1)で表される超音波経路長の差を超音波探傷に用いる超音波(UTセンサ45が発振する超音波)の波長λよりも長くしておけば、超音波探傷におけるノイズを減少させることができる。
この場合、外フォーク10のフォーク下部厚みを、
[(H+(L−S)+(W2+W3))]1/2−[(H+(L−S)+(W3))]1/2>λ ・・・(3)
で表される関係式が成立するように形成する。
次に、中フォーク10’について検討する。
図9(a)は中フォークにおいて直接的に探傷部位へ超音波が到達する場合の超音波伝播経路をロータ回転方向から見た側面図、図9(b)はロータ軸方向から見たその正面図である。
この場合の超音波伝播経路長は、
[(H+(L2−S)+(W3))]1/2 ・・・(11)
と表される。
ここで、
L2:ロータ回転方向にとった翼フォーク10’の端部からピン穴11’の中心までの距離
である。
図9(c)は中フォークにおいて翼フォークの内面反射を伴う場合の超音波伝播経路をロータ回転方向から見た側面図、図9(d)はロータ軸方向から見たその正面図である。
この場合の超音波伝播経路長は、
[(H+(L2−S)+(W2+W3))]1/2 ・・・(12)
と表される。
先に説明したノイズ発生原理から、式(12)と式(11)で表される超音波経路長の差を超音波探傷に用いる超音波の波長λよりも長くしておけば、超音波探傷におけるノイズを減少させることができる。
この場合、中フォーク10’のフォーク下部厚みを、
[(H+(L2−S)+(W2+W3))]1/2−[(H+(L2−S)+(W3))]1/2>λ ・・・(13)
で表される関係式が成立するように形成する。
なお、翼取り付け部8の軸方向の厚みW0(図7(b)参照)を変えずに式(3)及び式(13)の制約を満たすためには、1つのタービン動翼当たりの翼フォークの枚数N1を、
N1<(W0/W2+1)/2 ・・・(4)
とする必要がある。
図10は本実施の形態のタービン動翼の超音波探傷に用いる超音波探傷システムの概略構成図、図11はその機能ブロック図である。
図10及び図11に示した超音波探傷システムは、パーソナルコンピュータ(パソコン)60、UT装置61、UTセンサ45より構成されている。
パソコン60は、各種演算処理を実行するCPU21、演算結果や演算途中の値を一時的に記憶するRAM23、プログラムや必要な定数を記憶したROM24、HDD22、I/Oポート25、キーボード26、DVDやブルーレイディスクのような記録メディア27、モニタ28等を備えている。
UT装置61は、I/Oポート25、D/Aコンバータ30、A/Dコンバータ29を備えている。
図12はUTセンサ45の一構成例を表す概略構成図である。
図12に示したUTセンサ45は、検査対象に面する複数の超音波素子31と、各超音波素子31の底面(検査対象との対向面)に設けられた電極32と、各超音波素子の上面に設けられた電極32Bと、電極32,32Bに電圧を印加する信号線33と、電極32B上に設けられ発振した超音波のエネルギーを吸収するダンパー34とを備えている。UTセンサ45は、例えば超音波素子31が軸方向に並ぶように翼取り付け面13の平滑面15に取り付けられる。超音波素子31、電極32,32B及びダンパー34は、保護ケース35内に格納されている。超音波素子31としてはPZT、LiNbO、PVDF等の圧電素子を、電極32や電極32BしてはAu,Ag,Cu等の導電性の高い金属を、信号線33としては銅線を、ダンパー34としてはHf,W,Ta等の金属を樹脂に混合したものをそれぞれ用いることができる。また、保護ケース35は、樹脂、金属のうち1つ以上の材質からなるものを成型して用いることができる。また、ダンパー34は超音波発振時の残振を減らすので、これを設けることによってS/Nを向上させることができる。
図13はUTセンサ45の超音波による発振方法の説明図である。
図13に示すように、UTを行う際には、UTセンサ45に並べられた各超音波素子31から発振した超音波が収束点36に同時に届くように、各超音波素子31の超音波発振開始時間を素子の位置に応じて調整する。ここで、超音波素子31と収束点36との最大距離をmax(L)[m]、図中左からi番目の超音波素子31と収束点36との距離をLi[m]、超音波の伝搬速度(音速)をV[m/s]、i番目の超音波素子31のX座標をxi[m]、i番目の超音波素子31のY座標をyi[m]、収束点36のX座標をxf[m]、収束点36のY座標をyf[m]とすると、i番目の超音波素子31と収束点36との距離Li[m]、及び各超音波素子31の超音波発振開始時間差dt[s]は、それぞれ、
Li=((xi−xf)+(yi−yf)1/2[m] ・・・(5)
dt=(max(L)−Li)/V[s] ・・・(6)
と表される。
図14は超音波発振開始時間差dt[s]の一例を示す図である。
図14では、超音波素子31の総数が20個、V=5780[m/s]、xi=(0.5i−0.25)×10−3[mm]、yi=0[m]、xf=0[m]、yf=3×10−2[m]のときの超音波発振開始時間差dt[s]を例示している。この図に示すように、収束点36から遠い超音波素子31を早く発振させると、各超音波素子31から収束点36への超音波到達時間が揃うので信号強度を強くすることができる。
図15は上記の超音波探傷システムを用いた超音波探傷手順の一例を表すフローチャートである。
(ステップ101:タービン形状入力)
このステップでは、記録メディア27に予め記憶させてある探傷検査対象のタービン動翼の翼フォークの形状をパソコン60に取り込む。
(ステップ102:超音波伝播経路解析)
このステップでは、記録メディア27からの入力データがパソコン60のI/Oポート25を介してCPU21に伝えられ、RAM23、HDD22のうち少なくとも1つの記憶媒体に保存される。また、入力した翼フォークの形状データに基づき、CPU21により、ROM24に格納されたプログラムに従って図23に示すレイトレース法で超音波伝播経路を解析する。レイトレース法とは、入射した超音波が鏡面対象に反射されるとして、超音波伝播経路を解析する手法である。
(ステップ103:遅延時間計算)
このステップでは、ステップ102における超音波伝播経路の解析結果に基づいて先に図12に示したUTセンサ45の動作条件を解析し、タービン動翼2の翼取り付け面13の各平滑面15にUTセンサ45を設置した場合に、各平滑面45のUTセンサ45に対し、各超音波素子31からの超音波が検査対象箇所に同時に到達する条件をそれぞれ導き出す。
(ステップ104:センサ設置)
このステップでは、各平滑面15にUTセンサ45を設置する。この場合、全ての平滑面15にUTセンサ45を設置する必要は必ずしもなく、必要箇所に設置すれば良い。また、同時に複数の平滑面15にUTセンサ45を設置することもできるし、同じUTセンサ45を複数の平滑面15に移設して順番に超音波探傷を実施していくこともできる。
(ステップ105:超音波探傷)
このステップでは、パソコン60のCPU21で解析した超音波発信開始時間をパソコン60のI/Oポート25を介してUT装置61に伝達し、UT装置61のI/Oポート25、D/Aコンバータ30を介して超音波素子31に電圧を印加して超音波を発信する。また、送信した超音波の反射波が超音波素子31で受信された場合、反射波は電圧に変換されてA/Dコンバータ29、UT装置61のI/Oポート25、パソコン60のI/Oポート25を介してCPU21に伝達される。この探傷データはROM24、RAM23、HDD22、記憶メディア27の少なくとも1つの記録媒体に保存される。また、オペレータの操作に従って、探傷結果をモニタ28に表示して欠陥の有無を表示する。
本実施の形態によれば、予め式(3)や式(13)を満足するように翼フォーク10を形成しておくことにより、フォーク厚みの狭小化によるノイズ増加を抑制することが可能であり、超音波探傷の確度を向上させることができ、供用中のタービン動翼の信頼性向上を図ることができる。よって、フォーク形状を予め超音波探傷に好適化したフォーク型のタービン動翼を提供することができる。また、図7(a)−図7(d)に示した外フォーク10のようにピン穴がフォークのロータ回転方向の端部にある翼フォークのみを有するタービン動翼にあっては、各翼フォークが式(3)を満たす形状であれば良い。反対に、中フォーク10’のようにピン穴がロータ回転方向の中央領域にある翼フォークのみを有するタービン動翼にあっては、各翼フォークが式(13)を満たす形状であれば良い。
<第2の実施の形態>
図16は本発明の第1の実施の形態に係るタービン動翼の構成図で、図16(a)はロータ径方向外側から見た翼植込部の平面図、図16(b)はロータ回転方向から見た翼植込部の側面図、図16(c)はロータ軸方向から見た翼植込部(外フォーク)の正面図、図16(d)はロータ軸方向から見た翼植込部(中フォーク)の正面図である。これらの図中の符号は既出図面と対応している。
第1の実施の形態では翼取り付け部8のロータ軸方向の長さを所望の長さ(例えば一般的なタービン動翼と同程度)にした場合に翼フォーク10の枚数が式(4)の条件に制限される。それに対し、本実施の形態では、翼フォークの枚数を所望の枚数(例えば一般的なタービン動翼と同程度)確保した上で、UTのノイズ低減の条件を満たす各翼フォークの厚みを導き出し、導き出した形状にタービン動翼を形成する。
図16(a)−図16(d)に示したように、本実施の形態では、翼取り付け面13上に複数の平滑面15が設けられている。平滑面15は、第1の実施の形態と同様、翼取り付け面13上におけるUTセンサ45の載置面であり、UTセンサ45を載置した際に翼取り付け面13との間に隙間が生じないように平滑に形勢されており、また翼取り付け面13の翼フォーク10の延長上(翼フォーク10をロータ回転中心から翼取り付け面13に投影した面上)に位置している。これら平滑面15の面積は、現状で最も小さいUTが可能なUTセンサの大きさを考慮して9mm以上とする。一方、タービン動翼を回転させる作動流体の乱れの発生を抑制することを考慮して、平滑面15の面積は100mm以下であることが好ましい。また、本実施の形態では、UTセンサ45の位置合わせが容易なように平滑面15の大きさをUTセンサ45の底面積と等しくしてあるが、100mmの範囲でUTセンサ45の底面積より大きくすることもできる。
また、軸方向の最上流側と最下流側に位置する翼フォーク10に対し、それらの間に位置する中フォーク10’がロータ回転方向にピン穴11のロータ回転方向ピッチの半分だけ位置をずらした構成を例示している。図16に例示したタービン動翼において、外フォーク10ではロータ回転方向の両側端面に半割れのピン穴11が開口しているのに対し、中フォーク10’ではロータ回転方向の中央部にピン穴11’が1つ開口している。外フォーク10と中フォーク10’のロータ回転方向の幅は等しい。但し、外フォーク10と中フォーク10’のロータ回転方向への位置のずれや幅はこれに限定されるものではない。
図17(a)は外フォークにおいて超音波をフォーク内面で反射させながら探傷部位へ到達させる場合の超音波伝播経路をロータ回転方向から見た側面図、図17(b)はロータ軸方向から見たその正面図である。
この場合の超音波伝播経路長は、
[(H+((n+1)・L−S)+(W3))]1/2 ・・・(7)
と表される。
ここで、
n:ピン穴に到達するまでに翼フォークの内面で超音波が反射する回数
である。
図17(c)は図17(a)及び図17(b)に示したモデルよりも反射回数が増えた場合の超音波伝播経路をロータ回転方向から見た側面図、図17(d)はロータ軸方向から見たその正面図である。
この場合の超音波経路長は、
[(H+((n+1)・L−S)+(W2+W3)1/2 ・・・(8)
と表される。
これらの経路の差が超音波探傷に用いる超音波の波長λよりも長いと超音波探傷におけるノイズが減少するため、外フォーク10のフォーク下部厚みは
[(H+((n+1)・L−S)+(W3))]1/2−[(H+((n+1)・L−S)+(W2+W3)1/2>λ ・・・(9)
で表される条件で制限される。
図18(a)は中フォークにおいて超音波をフォーク内面で反射させながら探傷部位へ到達させる場合の超音波伝播経路をロータ回転方向から見た側面図、図18(b)はロータ軸方向から見たその正面図である。
この場合の超音波伝播経路長は、
[(H+(n・L+L2−S)+(W2))]1/2 ・・・(14)
と表される。
図18(c)は図18(a)及び図18(b)に示したモデルよりも反射回数が増えた場合の超音波伝播経路をロータ回転方向から見た側面図、図18(d)はロータ軸方向から見たその正面図である。
この場合の超音波伝播経路長は、
[(H+(n・L+L2−S)+(W2+W3))]1/2 ・・・(15)
と表される。
これらの経路の差が超音波探傷に用いる超音波の波長λよりも長いと超音波探傷におけるノイズが減少するため、中フォーク10’のフォーク下部厚みは
[(H+(n・L+L2−S)+(W2+W3))]1/2−[(H+(n・L+L2−S)+(W2))]1/2>λ ・・・(16)
と表される条件で制限される。
この条件を満たすため、翼取り付け部8の動翼設置面の軸方向の厚み(翼取り付け部の複数の翼フォークを取り付ける領域のロータ軸方向の長さ)W0は、
W0>(2/N2−1)・W2 ・・・(17)
と表される条件で制限する。ここで、N2:必用なフォーク枚数である。
図18は本実施の形態のタービン動翼の超音波探傷に用いる超音波探傷システムの概略構成図、図20はその機能ブロック図である。これらの図面において図10及び図11と同様の部分には図10及び図11と同符号を付して説明を省略する。
本実施の形態で例示する超音波探傷システムは、UT装置50及びUTセンサ55で構成されている。この超音波探傷システムは第1の実施の形態でも使用可能であり、また本実施の形態に第1の実施の形態の超音波探傷システムを適用することもできる。
本実施の形態の超音波探傷システムで用いるUT装置50は、第1の実施の形態の超音波探傷システムのパソコン60とUT装置61を一体にした構成であり、CPU21、HDD22、RAM23、ROM24、I/Oポート25、キーボード26、例えばCDやMO等の記録メディア27、モニタ28、A/Dコンバータ29、D/Aコンバータ30を備えている。
UTセンサ55は、図21に示すように翼取り付け部8の平滑面15に対しシュー19を介して取り付けられ、翼取り付け部8の法線に対して入射角θ1で超音波を発振する。この図21に例示したUTセンサ55は、単一の超音波素子を利用したシングルプローブ型のもので、シュー19を超音波発信素子と試験体(タービン動翼)間に挿入することで超音波入射角θを調整する。シュー19は、角度θ1に傾いた斜面を有するクサビ型の部材であり、翼取り付け面13における平滑面15上に載置される。シューの素材としてはアクリル等を好ましく利用することができる。シュー19の斜面上にはネジ等によってUTセンサ55が固定される。シュー19内での超音波速度をV1、検査対象(タービン動翼)内での超音波速度をV2、検査対象内での超音波入射角度をθ2とする。このとき、スネルの法則から、
sinθ1/V1=sinθ2/V2 ・・・(10)
で表される関係式が成り立つ。
したがって、平滑面15に対する超音波入射角θ2を所望の角度に調整する場合には、式(10)が成立する角度θ1を有するシュー19を用いて超音波を発振する。
図22は本実施の形態における超音波探傷手順を表すフローチャートである。図22に示したステップで、図19−図21に示した超音波探傷システムを用い超音波探傷を実施する。
(ステップ201:超音波伝播経路解析)
このステップでは、まず記録メディア27に予め記憶させてある探傷検査対象のタービン動翼の翼フォークの形状がI/Oポート25を介してCPU21に伝えられ、RAM23、HDD22のうち少なくとも1つの記憶媒体に保存される。そして、入力した翼フォークの形状データに基づき、CPU21により、ROM24に格納されたプログラムに従って図23に示すレイトレース法で超音波伝播経路を解析する。レイトレース法とは、入射した超音波が鏡面対象に反射されるとして、超音波伝播経路を解析する手法である。
(ステップ202:シュー角度決定)
このステップでは、CPU21によりフォーク形状を基に先述した要領でUTセンサ55の超音波入射角θ1(すなわちシュー19の角度)が決定される。
(ステップ203:センサ設置)
このステップでは、各平滑面15にUTセンサ55を設置する。この場合、全ての平滑面15にUTセンサ55を設置する必要は必ずしもなく、必要箇所に設置すれば良い。また、同時に複数の平滑面15にUTセンサ55を設置することもできるし、同じUTセンサ55を複数の平滑面15に移設して順番に超音波探傷を実施していくこともできる。
(ステップ204:超音波探傷)
このステップでは、キーボード26からUT開始信号が入力されたら、UT開始信号がI/Oポート25を介してCPU21に伝達される。CPU21ではUT開始信号に基づきI/Oポート25、D/Aコンバータ30を介してUTセンサ55に電圧を印加して超音波を発信する。超音波センサ55で受信された反射波は、A/Dコンバータ29、I/Oポート25を介してCPU21に伝達される。CPU21は、RAM23、HDD22、記録メディア27の少なくとも1つの記録媒体に反射波信号を記録する。また、I/Oポート25を介してモニタ28に探傷結果を表示し、欠陥の有無を評価する。
本実施の形態によれば、予め式(9)や式(16)を満足するように翼フォーク10を形成しておくことにより、フォーク厚みの狭小化によるノイズ増加を抑制することが可能であり、超音波探傷の確度を向上させることができ、供用中のタービン動翼の信頼性向上を図ることができる。よって、フォーク形状を予め超音波探傷に好適化したフォーク型のタービン動翼を提供することができる。また、図16(a)−図16(d)に示した外フォーク10のようにピン穴がフォークのロータ回転方向の端部にある翼フォークのみを有するタービン動翼にあっては、各翼フォークが式(9)を満たす形状であれば良い。反対に、中フォーク10’のようにピン穴がロータ回転方向の中央領域にある翼フォークのみを有するタービン動翼にあっては、各翼フォークが式(16)を満たす形状であれば良い。
更に、本実施の形態のタービン動翼によれば、第1の実施の形態に比べ、翼取り付け部8のロータ軸方向の長さが同じであれば翼フォーク10の枚数を多く確保する上で有利であるため、翼フォークが1本損傷した場合の残りのフォークの合計厚みを厚くすることができ、翼破断の抑制効果も高い。
本発明の適用対象となるフォーク型のタービン動翼を用いたタービンロータの構成を表す斜視図である。 磁粉探傷法の原理説明図である。 超音波探傷法の原理説明図である。 翼フォークの軸方向の厚みと2次元超音波探傷の検査結果の関係を説明する図である。 超音波探傷試験におけるノイズの発生原理の説明図である。 図5の機構におけるノイズ発生領域の超音波伝播距離とフォーク厚みとの相関関係を表す図である。 本発明の第1の実施の形態に係るタービン動翼の構成図である。 本発明の第1の実施の形態に係るタービン動翼の外フォークの超音波伝播経路を表す図である。 本発明の第1の実施の形態に係るタービン動翼の中フォークの超音波伝播経路を表す図である。 本発明の第1の実施の形態に係るタービン動翼の超音波探傷に用いる超音波探傷システムの概略構成図である。 本発明の第1の実施の形態に係るタービン動翼の超音波探傷に用いる超音波探傷システムの機能ブロック図である。 本発明の第1の実施の形態に係るタービン動翼の超音波探傷に用いるUTセンサの一構成例を表す概略構成図である。 本発明の第1の実施の形態に係るタービン動翼の超音波探傷における超音波の発振方法の説明図である。 本発明の第1の実施の形態に係るタービン動翼の超音波探傷における超音波発信時間差の例を表す図である。 本発明の第1の実施の形態に係るタービン動翼の超音波探傷手順を表すフローチャートである。 本発明の第2の実施の形態に係るタービン動翼の構成図である。 本発明の第2の実施の形態に係るタービン動翼の外フォークの超音波伝播経路を表す図である。 本発明の第2の実施の形態に係るタービン動翼の中フォークの超音波伝播経路を表す図である。 本発明の第2の実施の形態に係るタービン動翼の超音波探傷に用いる超音波探傷システムの概略構成図である。 本発明の第2の実施の形態に係るタービン動翼の超音波探傷に用いる超音波探傷システムの機能ブロック図である。 本発明の第2の実施の形態に係るタービン動翼の超音波探傷に用いるUTセンサの一構成例を表す概略構成図である。 本発明の第2の実施の形態に係るタービン動翼の超音波探傷手順を表すフローチャートである。 レイトレース法における超音波反射角の取り扱いの説明図である。 ダブテイル型タービン動翼の斜視図である。
符号の説明
1 ディスク
2 タービン動翼
3 ピン
4 ディスクフォーク
5 ピン穴
7 翼植込部
8 翼取り付け部
9 翼部
10 翼フォーク、外フォーク
10’ 中フォーク
11 ピン穴
13 翼取り付け面
15 平滑面
19 シュー
45 UTセンサ
H ロータ径方向にとったUTセンサからピン穴の中心までの距離
L ロータ回転方向にとったフォークの幅
L2 ロータ回転方向にとったフォーク端部からピン穴の中心までの距離
N1 翼フォークの枚数
N2 翼フォークの枚数
S ロータ径方向にとったUTセンサの中心とフォーク端部との距離
U 超音波
W2 フォークのロータ軸方向の厚み
W3 ロータ軸方向にとった超音波センサの中心とフォーク端部との距離
λ UTセンサが発振する超音波の波長

Claims (9)

  1. 複数の翼フォークを有するフォーク型の翼植込部を備えたタービン動翼において、
    前記複数のフォークのうちロータ軸方向の端部に位置しロータ回転方向の端部にピン穴を有する外フォークと、
    前記翼植込部のロータ径方向の外側に一体形成された翼取り付け部と、
    前記翼取り付け部に取り付けられた翼部と、
    前記翼取り付け部の前記翼部が取り付けられた翼取り付け面に設けられ、超音波センサが載置される平滑面とを備え、
    前記外フォークのロータ軸方向の厚みをW2、ロータ軸方向にとった超音波センサの中心と前記外フォークの端部との距離をW3、ロータ径方向にとった前記超音波センサから前記ピン穴の中心までの距離をH、ロータ回転方向にとった前記外フォークの幅をL、前記超音波センサが発振する超音波の波長をλ、ロータ径方向にとった前記超音波センサの中心と前記外フォークの端部との距離をSとしたとき、
    [(H+(L−S)+(W2+W3))]1/2−[(H+(L−S)+(W3))]1/2>λ
    で表される関係が成立するように前記外フォークを形成したことを特徴とするタービン動翼。
  2. 複数の翼フォークを有するフォーク型の翼植込部を備えたタービン動翼において、
    前記複数のフォークのうちロータ軸方向の端部に位置する外フォークの間に位置しロータ回転方向の中央にピン穴を有する中フォークと、
    前記翼植込部のロータ径方向の外側に一体形成された翼取り付け部と、
    前記翼取り付け部に取り付けられた翼部と、
    前記翼取り付け部の前記翼部が取り付けられた翼取り付け面に設けられ、超音波センサが載置される平滑面とを備え、
    前記中フォークのロータ軸方向の厚みをW2、ロータ軸方向にとった超音波センサの中心と前記中フォークの端部との距離をW3、ロータ径方向にとった前記超音波センサから前記ピン穴の中心までの距離をH、ロータ回転方向にとった前記中フォークの端部から前記ピン穴の中心までの距離をL2、前記超音波センサが発振する超音波の波長をλ、ロータ径方向にとった前記超音波センサの中心と前記外フォークの端部との距離をSとしたとき、
    [(H+(L2−S)+(W2+W3))]1/2−[(H+(L2−S)+(W3))]1/2>λ
    で表される関係が成立するように前記中フォークを形成したことを特徴とするタービン動翼。
  3. 請求項1又は2のタービン動翼において、
    前記翼取り付け部の複数の翼フォークを取り付ける領域のロータ軸方向の長さをW0、各翼フォークのロータ軸方向の厚みをW2、翼フォークの数をN1としたとき、
    N1<(W0/W2+1)/2
    で表される関係が成立するように形成したことを特徴とするタービン動翼。
  4. 複数の翼フォークを有するフォーク型の翼植込部を備えたタービン動翼において、
    前記複数のフォークのうちロータ軸方向の端部に位置しロータ回転方向の端部にピン穴を有する外フォークと、
    前記翼植込部のロータ径方向の外側に一体形成された翼取り付け部と、
    前記翼取り付け部に取り付けられた翼部と、
    前記翼取り付け部の前記翼部が取り付けられた翼取り付け面に設けられ、超音波センサが載置される平滑面とを備え、
    前記外フォークのロータ軸方向の厚みをW2、ロータ軸方向にとった超音波センサの中心と前記外フォークの端部との距離をW3、ロータ径方向にとった前記超音波センサから前記ピン穴の中心までの距離をH、ロータ回転方向にとった前記外フォークの幅をL、前記超音波センサが発振する超音波の波長をλ、ロータ径方向にとった前記超音波センサの中心と前記外フォークの端部との距離をS、前記ピン穴に到達するまでに前記外フォークの内面で超音波が反射する回数をnとしたとき、
    [(H+((n+1)・L−S)+(W2+W3))]1/2−[(H+((n+1)・L−S)+(W3))]1/2>λ
    で表される関係が成立するように前記外フォークを形成したことを特徴とするタービン動翼。
  5. 複数の翼フォークを有するフォーク型の翼植込部を備えたタービン動翼において、
    前記複数のフォークのうちロータ軸方向の端部に位置する外フォークの間に位置しロータ回転方向の中央にピン穴を有する中フォークと、
    前記翼植込部のロータ径方向の外側に一体形成された翼取り付け部と、
    前記翼取り付け部に取り付けられた翼部と、
    前記翼取り付け部の前記翼部が取り付けられた翼取り付け面に設けられ、超音波センサが載置される平滑面とを備え、
    前記中フォークのロータ軸方向の厚みをW2、ロータ軸方向にとった超音波センサの中心と前記中フォークの端部との距離をW3、ロータ径方向にとった前記超音波センサから前記ピン穴の中心までの距離をH、ロータ回転方向にとった前記中フォークの幅をL、ロータ回転方向にとった前記中フォークの端部から前記ピン穴の中心までの距離をL2、前記超音波センサが発振する超音波の波長をλ、ロータ径方向にとった前記超音波センサの中心と前記外フォークの端部との距離をS、前記ピン穴に到達するまでに前記外フォークの内面で超音波が反射する回数をnとしたとき、
    [(H+(n・L+L2−S)+(W2+W3))]1/2−[(H+((n・L+L2−S)+(W3))]1/2>λ
    で表される関係が成立するように前記中フォークを形成したことを特徴とするタービン動翼。
  6. 請求項4又は5のタービン動翼において、
    前記翼取り付け部の複数の翼フォークを取り付ける領域のロータ軸方向の長さをW0、各翼フォークのロータ軸方向の厚みをW2、翼フォーク枚数をN2としたとき、
    W0>(2/N2−1)・W2
    で表される関係が成立するように形成したことを特徴とするタービン動翼。
  7. 請求項1〜6のいずれかのタービン動翼において、前記平滑面の面積が9mm以上であることを特徴とするタービン動翼。
  8. 請求項1〜7のいずれかのタービン動翼において、前記平滑面の面積が100mm以下であることを特徴とするタービン動翼。
  9. 請求項1〜8のいずれかのタービン動翼において、前記平滑面が、前記翼取り付け面の前記翼フォークの延長上に位置していることを特徴とするタービン動翼。
JP2008178797A 2008-07-09 2008-07-09 タービン動翼 Expired - Fee Related JP4931872B2 (ja)

Priority Applications (1)

Application Number Priority Date Filing Date Title
JP2008178797A JP4931872B2 (ja) 2008-07-09 2008-07-09 タービン動翼

Applications Claiming Priority (1)

Application Number Priority Date Filing Date Title
JP2008178797A JP4931872B2 (ja) 2008-07-09 2008-07-09 タービン動翼

Publications (2)

Publication Number Publication Date
JP2010019130A true JP2010019130A (ja) 2010-01-28
JP4931872B2 JP4931872B2 (ja) 2012-05-16

Family

ID=41704292

Family Applications (1)

Application Number Title Priority Date Filing Date
JP2008178797A Expired - Fee Related JP4931872B2 (ja) 2008-07-09 2008-07-09 タービン動翼

Country Status (1)

Country Link
JP (1) JP4931872B2 (ja)

Cited By (2)

* Cited by examiner, † Cited by third party
Publication number Priority date Publication date Assignee Title
JP2014129732A (ja) * 2012-12-28 2014-07-10 Hitachi Ltd タービンロータ
JP2017058127A (ja) * 2015-09-14 2017-03-23 三菱日立パワーシステムズ株式会社 超音波探傷方法及び超音波探傷装置

Citations (7)

* Cited by examiner, † Cited by third party
Publication number Priority date Publication date Assignee Title
JPH07248316A (ja) * 1994-03-10 1995-09-26 Mitsubishi Chem Corp タービンブレード翼根部の超音波探傷装置
JP2002090348A (ja) * 2000-09-21 2002-03-27 Tokyo Electric Power Co Inc:The 超音波探触子および超音波検査方法
JP2004245834A (ja) * 2003-02-11 2004-09-02 General Electric Co <Ge> ホイール及びバケットのフィンガダブテールの亀裂の有無を検査する方法
WO2006079443A1 (de) * 2005-01-27 2006-08-03 Siemens Aktiengesellschaft Verfahren und einrichtung zum ermitteln von defekten an einem bauelement einer turbine
JP2008501109A (ja) * 2004-06-01 2008-01-17 シーメンス アクチエンゲゼルシヤフト タービン翼の探傷方法と装置
JP2008082992A (ja) * 2006-09-29 2008-04-10 Hitachi Ltd タービンフォーク超音波探傷装置及び方法
JP2009103015A (ja) * 2007-10-22 2009-05-14 Hitachi Ltd タービン動翼

Patent Citations (7)

* Cited by examiner, † Cited by third party
Publication number Priority date Publication date Assignee Title
JPH07248316A (ja) * 1994-03-10 1995-09-26 Mitsubishi Chem Corp タービンブレード翼根部の超音波探傷装置
JP2002090348A (ja) * 2000-09-21 2002-03-27 Tokyo Electric Power Co Inc:The 超音波探触子および超音波検査方法
JP2004245834A (ja) * 2003-02-11 2004-09-02 General Electric Co <Ge> ホイール及びバケットのフィンガダブテールの亀裂の有無を検査する方法
JP2008501109A (ja) * 2004-06-01 2008-01-17 シーメンス アクチエンゲゼルシヤフト タービン翼の探傷方法と装置
WO2006079443A1 (de) * 2005-01-27 2006-08-03 Siemens Aktiengesellschaft Verfahren und einrichtung zum ermitteln von defekten an einem bauelement einer turbine
JP2008082992A (ja) * 2006-09-29 2008-04-10 Hitachi Ltd タービンフォーク超音波探傷装置及び方法
JP2009103015A (ja) * 2007-10-22 2009-05-14 Hitachi Ltd タービン動翼

Cited By (2)

* Cited by examiner, † Cited by third party
Publication number Priority date Publication date Assignee Title
JP2014129732A (ja) * 2012-12-28 2014-07-10 Hitachi Ltd タービンロータ
JP2017058127A (ja) * 2015-09-14 2017-03-23 三菱日立パワーシステムズ株式会社 超音波探傷方法及び超音波探傷装置

Also Published As

Publication number Publication date
JP4931872B2 (ja) 2012-05-16

Similar Documents

Publication Publication Date Title
US7428842B2 (en) Phased array ultrasonic testing system and methods of examination and modeling employing the same
US8047078B2 (en) Flaw detection testing method
US7174788B2 (en) Methods and apparatus for rotary machinery inspection
US7987721B2 (en) Method and device for determining defects in a turbine blade
CN101711358B (zh) 利用超声波对检测物体进行无损的材料检测的方法和装置
US6736011B2 (en) Inspection of shrunk-on steam turbine disks using advanced ultrasonic techniques
JP4474395B2 (ja) タービンフォーク超音波探傷装置及び方法
CN114113321B (zh) 一种燃气轮机压气机叶轮叶根槽相控阵超声检测系统及方法
JP2013536946A (ja) タービンおよび発電機のロータ用のフェーズドアレイ超音波検査システム
JP4931872B2 (ja) タービン動翼
JP2009204368A (ja) タービンロータ翼溝検査方法
Bajgholi et al. Advanced ultrasonic inspection methodologies for fitness-for-service (FFS) assessment of hydraulic turbines
JP2014219390A (ja) フェーズドアレイ溶接検査に関する自動ビーム最適化
JP4902490B2 (ja) タービン動翼
JP5343117B2 (ja) タービン動翼
JP7480020B2 (ja) 超音波探傷用プローブ配置の設計方法及びタービン翼の検査方法並びにプローブホルダ
JP5846847B2 (ja) タービン動翼フォークの3次元超音波探傷方法
JP2005351660A (ja) 超音波探傷方法および超音波探傷装置
JP5213611B2 (ja) 超音波探傷装置及び超音波探傷方法
JP5393524B2 (ja) タービン動翼
JP2000352563A (ja) 被覆管用超音波探傷装置
CN109060965B (zh) 汽轮机轴向装配枞树型叶根纵波超声波检测专用参考试块
JP3046926B2 (ja) 原子炉用燃料案内ピンの検査方法
JP2009097876A (ja) 超音波探傷方法
JP4049985B2 (ja) 超音波探傷装置および方法

Legal Events

Date Code Title Description
A621 Written request for application examination

Free format text: JAPANESE INTERMEDIATE CODE: A621

Effective date: 20100506

A977 Report on retrieval

Free format text: JAPANESE INTERMEDIATE CODE: A971007

Effective date: 20110930

A131 Notification of reasons for refusal

Free format text: JAPANESE INTERMEDIATE CODE: A131

Effective date: 20111025

A521 Written amendment

Free format text: JAPANESE INTERMEDIATE CODE: A523

Effective date: 20111222

TRDD Decision of grant or rejection written
A01 Written decision to grant a patent or to grant a registration (utility model)

Free format text: JAPANESE INTERMEDIATE CODE: A01

Effective date: 20120117

A01 Written decision to grant a patent or to grant a registration (utility model)

Free format text: JAPANESE INTERMEDIATE CODE: A01

A61 First payment of annual fees (during grant procedure)

Free format text: JAPANESE INTERMEDIATE CODE: A61

Effective date: 20120214

R150 Certificate of patent or registration of utility model

Free format text: JAPANESE INTERMEDIATE CODE: R150

FPAY Renewal fee payment (event date is renewal date of database)

Free format text: PAYMENT UNTIL: 20150224

Year of fee payment: 3

S111 Request for change of ownership or part of ownership

Free format text: JAPANESE INTERMEDIATE CODE: R313111

R350 Written notification of registration of transfer

Free format text: JAPANESE INTERMEDIATE CODE: R350

R250 Receipt of annual fees

Free format text: JAPANESE INTERMEDIATE CODE: R250

R250 Receipt of annual fees

Free format text: JAPANESE INTERMEDIATE CODE: R250

R250 Receipt of annual fees

Free format text: JAPANESE INTERMEDIATE CODE: R250

LAPS Cancellation because of no payment of annual fees