JP2010017175A - 刈払機の振動緩衝機構、刈刃側伝動軸、伝動軸および遠心クラッチドラム組立体 - Google Patents

刈払機の振動緩衝機構、刈刃側伝動軸、伝動軸および遠心クラッチドラム組立体 Download PDF

Info

Publication number
JP2010017175A
JP2010017175A JP2009021083A JP2009021083A JP2010017175A JP 2010017175 A JP2010017175 A JP 2010017175A JP 2009021083 A JP2009021083 A JP 2009021083A JP 2009021083 A JP2009021083 A JP 2009021083A JP 2010017175 A JP2010017175 A JP 2010017175A
Authority
JP
Japan
Prior art keywords
transmission shaft
side transmission
cutting blade
shaft portion
prime mover
Prior art date
Legal status (The legal status is an assumption and is not a legal conclusion. Google has not performed a legal analysis and makes no representation as to the accuracy of the status listed.)
Granted
Application number
JP2009021083A
Other languages
English (en)
Other versions
JP5265402B2 (ja
Inventor
Toshiaki Imaizumi
敏明 今泉
Akio Uchida
晃生 内田
Current Assignee (The listed assignees may be inaccurate. Google has not performed a legal analysis and makes no representation or warranty as to the accuracy of the list.)
FINE STEEL ENGINEERING KK
Original Assignee
FINE STEEL ENGINEERING KK
Priority date (The priority date is an assumption and is not a legal conclusion. Google has not performed a legal analysis and makes no representation as to the accuracy of the date listed.)
Filing date
Publication date
Application filed by FINE STEEL ENGINEERING KK filed Critical FINE STEEL ENGINEERING KK
Priority to JP2009021083A priority Critical patent/JP5265402B2/ja
Priority to PCT/JP2009/002591 priority patent/WO2009150823A1/ja
Publication of JP2010017175A publication Critical patent/JP2010017175A/ja
Application granted granted Critical
Publication of JP5265402B2 publication Critical patent/JP5265402B2/ja
Active legal-status Critical Current
Anticipated expiration legal-status Critical

Links

Images

Classifications

    • AHUMAN NECESSITIES
    • A01AGRICULTURE; FORESTRY; ANIMAL HUSBANDRY; HUNTING; TRAPPING; FISHING
    • A01DHARVESTING; MOWING
    • A01D34/00Mowers; Mowing apparatus of harvesters
    • A01D34/835Mowers; Mowing apparatus of harvesters specially adapted for particular purposes
    • A01D34/90Mowers; Mowing apparatus of harvesters specially adapted for particular purposes for carrying by the operator
    • A01D34/905Vibration dampening means

Landscapes

  • Life Sciences & Earth Sciences (AREA)
  • Environmental Sciences (AREA)
  • Harvester Elements (AREA)

Abstract

【課題】刈払機の振動緩衝機構、刈刃側伝動軸、伝動軸および遠心クラッチドラム組立体において、伝動軸のねじり振動、撓み振動の両方を緩和し、部品点数が少なく、構造が簡単、組立てが容易且つ安価なものとする。
【解決手段】刈払機の振動緩衝機構121を、原動機に接続される、外周に螺旋溝136fが形成された原動機側伝動軸部分136と、刈刃に接続される、外周に原動機側伝動軸136部分の螺旋溝136fと離間して形成された螺旋溝146fを有する刈刃側伝動軸部分6aと、一端側が螺旋溝136fに、他端側が螺旋溝146fに螺入され、螺旋溝136f、146fに螺入されていない部分のリング部分同士の間に所定間隔Saが設けられているコイルばね144とを設けて構成する。この構成により、原動機側伝動軸136部分の回転を、コイルばね144を介して刈刃側伝動軸6a部分に伝達させる。
【選択図】図3

Description

本発明は、2サイクルエンジン等の原動機の動力で刈刃を回転させて雑草等を刈る刈払機における、振動緩衝機構、刈刃側伝動軸、伝動軸および遠心クラッチドラム組立体に関する。
刈払機においては、原動機を、クラッチおよび伝動軸を介して刈刃に連結し、原動機により発生した動力を、伝動軸を介して刈刃に伝達して該刈刃を回転させるように構成されている。かかる刈払機の伝動軸は、極めて細長く全長が約1.5m程度あり、操作杆本体の内部に配置されて外部に露出しないようになっている。操作杆本体にはハンドルが取付けられており、操作者はハンドルを操作して雑草等の刈払いをするようになっている。また、動力源としては振動の大きい内燃機関(原動機)を使用するのが一般的であるため、原動機の振動は操作杆へ伝達され、さらにハンドルへ伝達される。従って、この振動は、操作者の操作性の低下や疲労の増大を招き、はなはだしい場合は白蝋病を引き起こすおそれがある。
このため、振動を抑制する防振策がこの種の刈払機の課題となっており、この課題を解決するための提案もなされている。この一例として、原動機の遠心クラッチのクラッチハウジングに防振ゴムを設けて、操作杆への振動の伝達を緩和したものが知られている(例えば、特許文献1)。
また、原動機の振動として上述の振動のほかにも、次のようにいくつかの異なる種類の振動が発生することが知られている。すなわち、原動機を始動した後、約毎分3000回転(3000rpm)でクラッチの接続(クラッチイン)を行うが、そのときの衝撃による伝動軸の振動がある。また、クラッチインした後、常用回転数の約8000rpmまで、回転を上昇させるが、その上昇の過程で原動機の回転ムラ(回転ブレ)によるトルク変動が生じ、その結果、振幅の大きな伝動軸の振動が発生する。また、さらに刈払機を使用中に幹の太い潅木などに刈刃が接触した時、刈刃が瞬間的に停止もしくは極端な減速状態となり、次の瞬間刈刃の回転が復帰して、伝動軸がオーバーラン(過回転)することに伴う振動などがある。これらの振動は、細長い伝動軸のねじれにより生じるねじれ振動や伝動軸の撓みによる撓み振動として表れる。また、このような場合、伝動軸が塑性変形して、その真直度が損なわれるおそれもある。
このようなねじれ振動を解消する提案が知られている。例えば、遠心クラッチに連結された筒状連結体、この筒状連結体内にピンを介して軸方向に移動可能に連結された可動スリーブ、可動スリーブ内に可動スリーブとスプライン接続された刈刃側の伝動軸を有する振動吸収継手が知られている(特許文献2)。この筒状連結体内には筒状連結体と可動スリーブの間に圧縮コイルばねが配置されている。また、筒状連結体には三角形状の窓が形成され、その窓に前述のピンが係合して回転を伝達するようになっている。回転に負荷がかかると、ピンは三角形の窓の辺に沿って移動する。すなわち、可動スリーブは筒状連結体内で筒状連結体と相対的に僅かに回転方向にずれると共に軸線方向に僅かに移動して圧縮コイルばねを圧縮するようになっている。無付加状態のとき、可動スリーブは圧縮コイルばねを押圧しないが、負荷がかかると可動スリーブは圧縮コイルばねを押圧して、回転のトルク変動を吸収するように構成されている。
特開平9−187137号公報 特開2007−61031号公報
前述の特許文献1に開示された携帯型刈払機は、原動機の振動を操作杆に伝播しにくいようにした点で効果があるが、伝動軸のトルク変動(ねじり振動)に対処したものではなく、ねじり振動に対しては、効果は期待できない。
他方、特許文献2に開示された振動吸収継手は、ねじり振動に対しては、一応の効果はあるものの、ピンという剛体を介して回転を伝達するものであると共に、筒状連結体と可動スリーブと伝動軸とが密接状態で嵌め合わされているので、刈刃の負荷変動に起因する伝動軸の撓み振動は吸収することが困難であるという問題がある。また、部品点数、組立工数も多く、構造が複雑であり、加工が困難且つ高価であるという問題がある。
本発明は上記事情に鑑みてなされたものであり、その目的は、部品点数が少なく、構造が簡単であり、組立てが容易で、安価な刈払機の振動緩衝機構、それに使用される刈刃側伝動軸、振動緩衝機構を使用した伝動軸および刈払機用の遠心クラッチドラム組立体を提供することにある。
また、本発明の携帯型刈払機の他の目的は、エンジンの振動、伝動軸のねじり振動の両方を緩和することができる刈払機の振動緩衝機構、それに使用される刈刃側伝動軸、振動緩衝機構を使用した伝動軸および刈払機用の遠心クラッチドラム組立体を提供することにある。
本発明による第1の刈払機の振動緩衝機構は、原動機の回転力を伝動軸を介して刈刃に伝達する刈払機の伝動軸に設けられる振動緩衝機構であって、
原動機に接続される、外周に形成された螺旋溝を有する原動機側伝動軸部分と、
刈刃に接続される、外周に前記原動機側伝動軸部分の螺旋溝と離間して形成された螺旋溝を有する刈刃側伝動軸部分と、
一端側が原動機側伝動軸部分の螺旋溝に、他端側が刈刃側伝動軸部分の螺旋溝に螺着され、螺旋溝に螺着されていない部分の少なくとも一部のリング部分同士の間に所定間隔が設けられているコイルばねとを備え、
原動機側伝動軸部分の回転をコイルばねを介して刈刃側伝動軸部分に伝達することを特徴とするものである。
上記両伝動軸部分に形成された螺旋溝の離間とは、その離間部分に亘ってコイルばねが存在する状態となるものであればよく、そうである限り、離間の具体的態様はどのようなものであってもよい。
ここで原動機側伝動軸部分、刈刃側伝動軸部分とは、それぞれ本発明の振動緩衝機構のコイルばねが取り付けられる原動機側の伝動軸の部分、刈刃側の伝動軸の部分をいう。
なお、上記第1の刈払機の振動緩衝機構において、原動機側伝動軸部分、刈刃側伝動軸部分の各々コイルばねに覆われる先端部の先端外周には、先端に向かう各伝動軸部分の半径方向内側に向くテーパが形成されていることが好ましい。
また、上記第1の刈払機の振動緩衝機構において、原動機側伝動軸部分の螺旋溝が原動機側伝動軸部分の刈刃側伝動軸部分に対向する先端部の外周に形成され、先端部の後端にはコイルばねの一端が突き当たるストッパ部が形成され、刈刃側伝動軸部分の螺旋溝が刈刃側伝動軸部分の原動機側伝動軸部分に対向する先端部の外周に形成され、先端部の後端にはコイルばねの他端が突き当たるストッパ部が形成されているように構成することができる。
さらに、上記の原動機側伝動軸部分および/または刈刃側伝動軸部分の螺旋溝は、螺旋溝に螺着されるコイルばねのリング部分同士が互いに密接するように形成されていてもよい。
また、本発明による第2の刈払機の振動緩衝機構は、上記と同様に原動機の回転力を伝動軸を介して刈刃に伝達する刈払機の前記伝動軸に設けられる振動緩衝機構であって、
原動機と反対側を向くように突設されたばね挿通部および、ここに回転可能に嵌装されたコイルばねの線材の一端を受け止める当接部を有して、原動機に接続される原動機側伝動軸部分と、
前記原動機側伝動軸部分のばね挿通部と向かい合うように突設されたばね挿通部および、ここに回転可能に嵌装されたコイルばねの線材の他端を受け止める当接部を有して、前記刈刃に接続される刈刃側伝動軸部分と、
一端側が前記原動機側伝動軸部分のばね挿通部に、他端側が前記刈刃側伝動軸部分のばね挿通部に各々嵌装されたコイルばねとを備え、
前記原動機側伝動軸部分が、その当接部を介して前記コイルばねの線材の一端を押す向きに回転されたとき、その回転を該コイルばねを介して前記刈刃側伝動軸部分に伝達するように構成されていることを特徴とするものである。
なお上記の「回転可能に嵌装」とは、ばね挿通部の外径よりもコイルばねの内径が大きく設定されたことにより、コイルばねが、その内部に挿通されたばね挿通部の周りで回転できる状態に両者が組み合っている状態を指すものである。
この第2の刈払機の振動緩衝機構においては、コイルばねの少なくとも一部を、その周外方から所定間隔を置いて覆うスリーブが配設されていることが望ましい。
また、本発明による第3の刈払機の振動緩衝機構は、上記本発明による第2の刈払機の振動緩衝機構が、原動機側伝動軸部分および刈刃側伝動軸部分に各々形成されたばね挿通部をコイルばねに通すことにより該コイルばねを両伝動軸部分の間に保持しているのに対し、簡単なスリーブによってコイルばねを両伝動軸部分の間に保持するようにしたものであり、具体的には、
上記と同様に原動機の回転力を伝動軸を介して刈刃に伝達する刈払機の前記伝動軸に設けられる振動緩衝機構であって、
コイルばねの線材の一端を受け止める当接部を有して、原動機に接続される原動機側伝動軸部分と、
前記コイルばねの線材の他端を受け止める当接部を有して前記原動機側伝動軸部分と向かい合うように配置され、前記刈刃に接続される刈刃側伝動軸部分と、
前記原動機側伝動軸部分と前記刈刃側伝動軸部分との間において、その線材の一端、他端が各々前記原動機側伝動軸部分の当接部、前記刈刃側伝動軸部分の当接部に受け止められる状態に配置されたコイルばねと、
前記原動機側伝動軸部分および/または前記刈刃側伝動軸部分に保持されて、前記コイルばねの少なくとも一部を、その周外方から所定間隔を置いて覆うスリーブとを備え、
前記原動機側伝動軸部分が、その当接部を介して前記コイルばねの線材の一端を押す向きに回転されたとき、その回転を該コイルばねを介して前記刈刃側伝動軸部分に伝達することを特徴とするものである。
また、上述した本発明による第1、第2あるいは第3の刈払機の振動緩衝機構においては、原動機側伝動軸部分と刈刃側伝動軸部分の互いに対向する側の端部のいずれか一方に伝動軸部分と同心の断面円形の凹部が形成され、他方の伝動軸部分の端部には、凹部に挿入される、凹部の内径より小さい外径を有する円柱状凸部を有するように構成されていることが望ましい。
他方、本発明による第1の刈刃側伝動軸は、上に述べた本発明による第1、第2あるいは第3の振動緩衝機構を構成する刈刃側伝動軸部分と、該刈刃側伝動軸部分に連結されて刈刃側伝動軸部分の回転を刈刃に伝達する伝動長尺部とを備えていることを特徴とするものである。
また、本発明による第2の刈刃側伝動軸は、本発明による第1の振動緩衝機構を構成する刈刃側伝動軸部分と、該刈刃側伝動軸部分に連結されて該刈刃側伝動軸部分の回転を前記刈刃に伝達する伝動長尺部と、前記刈刃側伝動軸部分の螺旋溝に、他端側が螺着されたコイルばねとを備えていることを特徴とするものである。
また、本発明による刈払機の伝動軸は、本発明による第1、第2あるいは第3の振動緩衝機構と、振動緩衝機構の刈刃側伝動軸部分に取り付けられて、刈刃側伝動軸部分の回転を刈刃に伝達する伝動長尺部とを備えていることを特徴とするものである。
ここで、伝動軸とは、原動機の回転を刈刃に伝える軸を意味し、例えば、原動機側伝動軸部分を含み遠心クラッチドラムに連結されるまでの軸の部分と、刈刃側伝動軸部分、伝動長尺部を含み、刈刃ユニットに連結されるまでの軸の部分を併せた軸の部分をいう。
また、本発明による第1の刈払機用の遠心クラッチドラム組立体は、本発明による第1、第2あるいは第3の振動緩衝機構を構成する原動機側伝動軸部分と、原動機側伝動軸部分に連結された遠心クラッチドラムとを備えていることを特徴とするものである。
また、本発明による第2の遠心クラッチドラム組立体は、本発明による第1の振動緩衝機構を構成する原動機側伝動軸部分と、原動機側伝動軸部分に連結された遠心クラッチドラムと、前記原動機側伝動軸部分の螺旋溝に一端側が螺着されたコイルばねとを備えていることを特徴とするものである。
この本発明による第2の遠心クラッチドラム組立体は、螺旋溝にコイルばねの他端側が螺着された刈刃側伝動軸部分を備えるように構成されてもよい。
本発明による第1の刈払機の振動緩衝機構によれば、外周に形成された螺旋溝を有する原動機側伝動軸部分と、原動機側伝動軸部分の螺旋溝と離間して形成された螺旋溝を有する刈刃側伝動軸部分と、一端側が原動機側伝動軸部分の螺旋溝に、他端側が刈刃側伝動軸部分の螺旋溝に螺着され、螺旋溝に螺着されていない部分のリング部分同士の間に所定間隔が設けられているコイルばねとを備え、これにより原動機側伝動軸部分の回転をコイルばねを介して刈刃側伝動軸部分に伝達するので、次の効果を奏する。
すなわち、エンジンの回転ムラや刈刃の負荷の変動に起因する伝動軸のねじり振動や撓み振動等の各種の振動が、原動機側伝動軸部分と刈刃側伝動軸部分の間のコイルばねの間隙部分が間隙を狭めるように或いは広げるようにコイルばねがねじれることによって、該コイルばねが軸方向に撓んで吸収される。このようにコイルばねで、回転の伝達を行うとともに、そのねじれで振動を吸収するので、部品点数が少なく、簡単な構成、組立が容易且つ低コストの振動緩衝機構を得ることができる。特に、原動機のクラッチイン時の衝撃、原動機の加減速時や、原動機の不安定な燃焼により回転ブレが生じたときの振幅の大きな振動、或いは刈刃が障害物により一時的に回転が阻害されたときの衝撃などに対して、コイルばねがねじれて或いは撓んで衝撃を吸収するので、特に効果的である。
また、この第1の刈払機の振動緩衝機構において特に、原動機側伝動軸部分の螺旋溝が原動機側伝動軸部分の先端部の外周に形成され、先端部の後端にはコイルばねの一端が突き当たるストッパ部が形成され、刈刃側伝動軸部分の螺旋溝が刈刃側伝動軸部分の先端部の外周に形成され、先端部の後端にはコイルばねの他端が突き当たるストッパ部が形成されている場合は、螺旋溝にコイルばねを螺着させるだけで、容易に取り付けることができ、構造も簡単で、低コストである。また、部品の交換も極めて容易である。
さらに、この第1の刈払機の振動緩衝機構において特に、原動機側伝動軸部分および/または刈刃側伝動軸部分の螺旋溝が、螺旋溝に螺着されるコイルばねのリング部分同士が互いに密接するように形成されている場合は、螺旋溝に螺着されているコイルばねの部分は、コイルばねの巻回方向に沿って線材(リング部分)が移動しないので、この部分がねじれることが防止される。
他方、本発明による第2の刈払機の振動緩衝機構によれば、原動機と反対側を向くように突設されたばね挿通部および、ここに回転可能に嵌装されたコイルばねの線材の一端を受け止める当接部を有する原動機側伝動軸部分と、上記ばね挿通部と向かい合うように突設されたばね挿通部および、ここに回転可能に嵌装されたコイルばねの線材の他端を受け止める当接部を有する刈刃側伝動軸部分と、一端側が原動機側伝動軸部分のばね挿通部に、他端側が刈刃側伝動軸部分のばね挿通部に各々嵌装されたコイルばねとを備え、原動機側伝動軸部分が、その当接部を介してコイルばねの線材の一端を押す向きに回転されたとき、その回転を該コイルばねを介して刈刃側伝動軸部分に伝達するように構成されているので、以下の効果を奏する。
すなわち、原動機側伝動軸部分から刈刃側伝動軸部分への回転の伝達は、両者の間に介設されたコイルばねを介して行われるので、基本的に前記第1の振動緩衝機構におけるのと同様の振動吸収効果が得られる。
また本発明による第3の刈払機の振動緩衝機構によれば、コイルばねの線材の一端を受け止める当接部を有する原動機側伝動軸部分と、前記コイルばねの線材の他端を受け止める当接部を有する刈刃側伝動軸部分と、原動機側伝動軸部分と刈刃側伝動軸部分との間において、その線材の一端、他端が各々原動機側伝動軸部分の当接部、刈刃側伝動軸部分の当接部に受け止められる状態に配置されたコイルばねと、原動機側伝動軸部分および/または刈刃側伝動軸部分に保持されて、前記コイルばねの少なくとも一部を、その周外方から所定間隔を置いて覆うスリーブとを備え、原動機側伝動軸部分が、その当接部を介してコイルばねの線材の一端を押す向きに回転されたとき、その回転を該コイルばねを介して刈刃側伝動軸部分に伝達するように構成されているので、つまり本機構においても原動機側伝動軸部分から刈刃側伝動軸部分への回転の伝達は、両者の間に介設されたコイルばねを介して行われるので、基本的に前記第1の振動緩衝機構におけるのと同様の振動吸収効果が得られる。
特にこれら第2および第3の振動緩衝機構において、回転の伝達は、原動機側伝動軸部分の当接部がコイルばね線材をその一端から押して回し、押し回されたコイルばね線材の他端が刈刃側伝動軸部分の当接部を押して該刈刃側伝動軸部分を回す、というように行われるので、回転伝達に当たってコイルばねには線材を圧縮する向きの力が作用する。鋼鉄等からなるコイルばね線材は、引張り応力に対する強度よりも圧縮応力に対する強度の方が高いので、コイルばねとして比較的小型のものを適用可能となり、またそれに応じて2つの伝動軸部分も小型化が可能になるので、振動緩衝機構の小型化およびコストダウンが実現される。
また、上述のようにコイルばねを押し回して回転を伝達する構造となっているので、コイルばねは、原動機側伝動軸部分にもまた刈刃側伝動軸部分にも強固に固定されている必要が無い。したがって上記第2の振動緩衝機構において、原動機側伝動軸部分および刈刃側伝動軸部分は、基本的に上記ばね挿通部と前述の当接部だけを備えていればよく、その構造は極めて簡単なものとなる。他方、上記第3の振動緩衝機構にあっては、原動機側伝動軸部分および刈刃側伝動軸部分は基本的に上記当接部だけを備えるものとし、その上でコイルばね保持用の簡単なスリーブを配設すればよいので、該第3の振動緩衝機構も構造が極めて簡単なものとなる。
さらに、コイルばねの各端部と上記両伝動軸部分とを例えば圧入や螺合などの手段によって強固に固定する作業も不要となる。そこでこれらの点からも、該第2および第3の振動緩衝機構は十分な小型化、コストダウンが可能で、さらには組立て、分解が容易なものとなる。
なお、特に上記第2の振動緩衝機構においては、上述のようにコイルばねを押し回して、つまりコイルばね線材に圧縮方向の力を加えて回転を伝達する構造となっているので、刈刃に回転を妨げるような負荷が加わった際、コイルばねは、その径が拡大するように弾性変形して緩衝作用を果たすことになる。そのとき、コイルばねが余りに大きく変形すると、拡径したばねのリング部分が暴れて、隣のリング部分に乗り上げるような事態が起きる可能性がある。
そこでこの第2の刈払機の振動緩衝機構において望ましくは、前述したように、コイルばねの少なくとも一部を、その周外方から所定間隔を置いて覆うスリーブが配設される。つまり、そのようなスリーブが配設されている場合は、該スリーブによりコイルばねのリング部分の拡径が規制されるので、上述したような好ましくない事態が生じることを確実に防止できる。
なお第3の振動緩衝機構においては、元よりコイルばね保持用のスリーブが設けられるので、このスリーブによって上記事態が生じることを防止可能である。
また、以上説明した本発明による第1、第2あるいは第3の刈払機の振動緩衝機構において特に、原動機側伝動軸部分と刈刃側伝動軸部分の互いに対向する側の端部のいずれか一方に伝動軸部分と同心の断面円形の凹部が形成され、他方の伝動軸部分の端部には、凹部に挿入される、凹部の内径より小さい外径を有する円柱状凸部を有するように構成されている場合は、原動機側伝動軸部分と刈刃側伝動軸部分同士の軸線方向と直交方向の相対的な変位が上記凹部と円柱状凸部との隙間の範囲内に規制されるので、大きな変位が生じることによるコイルばねの損傷や変形を防止することができる。なお、上記のように凹部と円柱状凸部とが嵌合していても、それらは上記隙間の範囲内で軸線方向と直交方向にある程度相対的に変位可能であるので、この変位によって振動、衝撃を緩和することができる。さらに、この構成を採用すれば、コイルばねをより長くして、振動、衝撃の吸収の度合いを大きくすることもできる。つまりコイルばねを長くしても、コイルばねが、その中を通っている伝動軸部分により全長に亘って支持されるため、コイルばねが暴れる(振動する)ことが防止される。
本発明の一例となる刈払機の要部の概略を示す断面図 本発明の一例となる振動緩衝機構の一例を示し、(A)は、遠心クラッチケース部および振動緩衝機構を拡大して示す刈払機の部分拡大断面図、(B)は、ばね装着部の端面を示す拡大図 本発明の振動緩衝機構の他の実施形態を示す図 コイルばねの他の変形例を示す部分断面図 伝動長尺部にばね装着部を取付けた伝動軸を示す図 本発明の一例となる伝動軸を示す図 本発明による振動緩衝機構のさらに別の実施形態を示す一部破断側面図 図7の振動緩衝機構の一部を示す斜視図 図7の振動緩衝機構の別の部分を示す斜視図 本発明による振動緩衝機構のさらに別の実施形態を示す一部破断側面図 本発明による振動緩衝機構のさらに別の実施形態を示す一部破断側面図 図11の振動緩衝機構の一部を示す斜視図 本発明による振動緩衝機構のさらに別の実施形態を示す一部破断側面図 図13の機構の要部を拡大して示す側断面図 本発明による振動緩衝機構のさらに別の実施形態を示す一部破断側面図
以下、添付図面を参照しながら本発明の実施の形態について詳細に説明する。図1は、本発明の一例となる刈払機の要部の概略を示す断面図である。図示の刈払機30は、例えばアルミパイプから構成される操作杆1と、簡略化して矩形ブロックで示す原動機2と、刈刃ユニット3とで構成されている。操作杆1は、パイプ状の操作杆本体4と、該操作杆本体4の内部に軸受5を介して回転可能に支持された伝動長尺部20とにより構成されている。なお、伝動長尺部20は後述する伝動軸6の一部となる。軸受け5は、弾性ゴムと、弾性ゴムの内側に、後述する伝動長尺部20を支持する含油メタルからなっている。
操作杆1の先端部(刈刃ユニット3側)には、伝動長尺部20に連結された傘歯車7が回転可能に支持されており、基端部(原動機ユニット2側)は、遠心クラッチケース部8に取り付けられている。遠心クラッチケース部8内には、後述する遠心クラッチドラム34が収容されている。操作杆1の基端側には遠心クラッチケース部8を介して上記原動機2が取り付けられている。原動機2としては、例えば2サイクルエンジン等の回転力を発生させる内燃機関が使用される。操作杆1の先端側には上記刈刃ユニット3が取り付けられている。刈刃ユニット3は、ケース9と、該ケース9内に回転可能に支持された刈刃支持軸10と、この刈刃支持軸10の基端側に固着された傘歯車11と、先端側に固着された刈刃12とを備えており、上記傘歯車11は、上記伝動長尺部20に連結された傘歯車7と噛合している。伝動長尺部20の基端側には、一点鎖線で示す本願発明の振動緩衝機構21の一部が配置されている。なお、図1においては、伝動長尺部20と刈刃支持軸10とのなす角度は直角になっているが、直角に限定されるものではなく、120度(60度)等適宜角度が設定される。
次に、図2を参照して、振動緩衝機構21の一例について詳細に説明する。図2(A)は、遠心クラッチケース部8および振動緩衝機構21を拡大して示す刈払機30(図1)の部分拡大断面図である。図2(B)は、伝動長尺部20のばね装着部46の端面を示す拡大図である。まず、遠心クラッチケース部8は、原動機2にねじ等により固定されるハウジング32を有し、このハウジング32内に遠心クラッチを構成するドラム(遠心クラッチドラム)34が回転可能に収容される。ハウジング32は、原動機2に固定されるフランジ32a、フランジ32aに一体に形成され、ドラム34を収容する大径部32b、後述するベアリングを収容支持する縮径部32cおよび操作杆本体4に被嵌される装着部32dを有する。大径部32b、縮径部32c、装着部32dは、同心に形成されている。装着部32dは、ばね装着部46を内包する長さを有する。
ドラム34は、原動機側に開放した平たい円環状であり、内側に遠心クラッチの回転要素(図示せず)を収容するようになっている。この回転要素は原動機2と連結され、所定の回転に達すると回転要素がドラム34の周壁34aの内面に摩擦接触して、ドラム34を回転させるようになっている。ドラム34の中央には開口34bが形成されており、この開口34bに回転軸(原動機側伝動軸)36が連結されている。回転軸36は、ドラム34の開口36に装入されて溶接される低背の円柱状突起36a、ドラム34の平坦な主面34cに接する大径の基端部36b、この基端部36bに連続して形成された、基端部36bより小径の支持部36c、この支持部36cに連続して形成された、支持部36cより小径の螺旋溝部36dからなっている。支持部36cはベアリング40に支持される部分となる。支持部36cの螺旋溝部36d側端部には、環状溝36eが形成され、この環状溝36e内に止め環38が環装されている。前述のベアリング40は、基端部36bの端面36hと止め環38との間に冠着されて軸方向の移動が規制される。螺旋溝部36dには後述するコイルばね44が螺着される。
他方、ベアリング40の外周側は、前述のハウジング32の縮径部32cに配置される。縮径部32cの内周面32eには、ドラム34側に環状溝32fが形成され、この環状溝32fに止め環42が装着されている。この止め環42と縮径部32cの原動機側に向いた内面32gとによりベアリング40が、軸線方向に移動しないように固定される。これにより、ドラム34と回転軸36は、ハウジング32内で、縮径部32cと同軸に回転可能となる。
螺旋溝部36dには、コイルばね44が螺着される螺旋溝36fが、原動機側伝動軸部分の所定の長さに亘って形成されている。この螺旋溝36fの断面形状は、コイルばね44の外形形状と略同様な形状となっている。コイルばね44は、例えば断面円形の線材から構成され、コイルばね44の長手方向の両端部は、線材(リング)が密接して巻回され、中間部は線材が互いに僅かに離間した状態、いわゆる疎の状態に巻回されている。コイルばね44は螺旋溝36fに螺着されるが、その際、コイルばね44の基端側(一端側)の最端部44aが、回転軸36の支持部36cの端面(ストッパ部)36gに当接し、それ以上コイルばね44が回転することが阻止される。コイルばね44は伝動長尺部20にも螺着される。線材が密接して巻回されている部分は、線材の巻回方向に沿って移動せず、螺旋溝36への取付は堅固である。
次に、図2(B)も併せて参照して、伝動長尺部20側について説明する。伝動長尺部20側は、伝動長尺部20の基端側に取り付けられたばね装着部46を有する。伝動長尺部20とばね装着部46は、刈刃側伝動軸6aとなる。この刈刃側伝動軸6aは、伝動軸6の一部となる、伝動長尺部20は外径が約8mmで長さが約1.5mと非常に細長くしかも8000〜12000rpmという高速で回転するから回転時の振動やブレが大きく、そのため図1に示すように軸受5の内径は伝動長尺部20の外径とほぼ等しい内径とし殆ど隙間のない状態で軸受けするように設計されている。ばね装着部46は、中央に軸線方向に延びるスプライン溝46aが形成され、大径の基部46bと、この基部46bより基端側に基部46bより小径の螺旋溝部46cを有する。
螺旋溝部46cは、螺旋溝部36dと同様な形状であり、コイルばね44の他方の端部が螺着される。このときのコイルばね44の最端部44bは、基部46bの原動機側に向く端面(ストッパ部)46dに当接するように螺着される。これにより振動緩衝機構21が構成される。前述の螺旋溝36f、46fのねじの方向は、原動機2の回転によって、コイルばね44と回転軸36、伝動軸6との螺合が一層堅固になる方向に形成されている。ばね装着部46と伝動長尺部20との結合は、図2に示すように、スプライン接続であってもよいし、溶接により一体に固定してもよい。このばね装着部46と伝動長尺部20の結合により、ばね装着部46は伝動長尺部20の一部となる。また、操作杆本体4は、ハウジング32の装着部32d内に、螺入、締り嵌め、ねじ止め等の適宜手段により固定される。
次に振動緩衝機構21の作動について詳細に説明する。上記の実施形態において、振動緩衝機構21は、回転軸36と、コイルばね44と、ばね装着部46を有する。原動機2の回転は、遠心クラッチケース部8内のドラム34を介して回転軸36に伝達され、さらにコイルばね44を介して伝動長尺部20に伝達され、前述の刈刃ユニット3にその回転が伝達されて、刈刃12を回転させるようになっている。回転中に原動機2の振動、不完全燃焼による回転の変動、刈刃12の抵抗の変動などにより、トルクが変動すると、その変動が捻り振動や撓み振動となって操作杆1に振動を生じることとなる。しかし、本発明の振動緩衝機構21によりこの振動は吸収される。
すなわち、例えば、原動機2の遠心クラッチが接続された瞬間は、ドラム34が急激に回転を開始する。ドラム34と一体の回転軸36も同時に回転し、コイルばね44を介して伝動長尺部20に回転が伝達される。しかし、伝動長尺部20はそれまで停止状態であり、長さも長く、先端部には刈刃ユニット3が取付けられていることから、伝動長尺部20を含み刈刃ユニット3に至る回転系の静止時の慣性質量は大きなものである。従って、回転軸36の回転に瞬時に追従することができず、僅かな遅れを生じるが、この回転の遅れが通常は衝撃として、操作杆1を介して操作者に伝達される。しかし、コイルばね44が回転を伝達していることにより、回転の遅れはコイルばね44のねじれにより吸収される。
コイルばね44の長手方向両端部は、前述のように線材が互いに密接しており、最端部44a、44bは前述のストッパとなる端面36g、46dに接触しているので、両端部がねじれることはない。従って、図2(A)において、コイルばね44の長手方向中間部において、互いに離間している線材(リング)同士の間隙が狭まる方向にコイルばね44がねじれる。このねじれの程度は、回転軸36と刈刃側伝動軸6aのトルクの差の大きさと、コイルばね44のねじれによるトルクの発生とがつりあった位置までねじれることが考えられる。しかし、回転軸36のトルクがいくら大きい場合でも、コイルばね44の互いに離間している線材同士が接触するとそれ以上のねじれは阻止されるので、コイルばね44の過度の変形は防止される。
このように原動機2のトルク変動が生じると、コイルばね44のねじり作用により、常にその変動が吸収されるので、振動が緩和される。原動機2自体の回転の振動も、コイルばね44を介して伝達されるため、直接伝動長尺部20に伝達されず振動が緩和される。その結果、本発明の振動緩衝機構21は、構造が簡単で、機械的な作動部分や、部分的に負荷がかかることがないので、磨耗せず耐久性が大きい。
また、回転軸36の先端部の外周にはテーパ36iが形成されている。このテーパ36iがあるため、回転時に回転軸36の先端のエッジがコイルばね44の線材に内側から衝接して線材を折損することが防止される。同様な理由で、ばね装着部46の先端外周にもテーパ46gが形成されている。これによって振動緩衝機構21の耐久性が一層向上する。
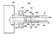
次に、本発明の振動緩衝機構およびこの振動緩衝機構を使用した遠心クラッチドラム組立体の他の実施形態について図3を参照して説明する。図3に示す実施形態と、図2の実施形態との相違は、回転軸(原動機側伝動軸)136とばね装着部146との関係である。他の構成については、同じなので、同じ部分については説明を概略にとどめる。なお、図3において、遠心クラッチケース部8のハウジング32は図示を省略してある。振動緩衝機構121は、ドラム134に連結された、螺旋溝136fを有する回転軸136と、この回転軸136に組み合わされるばね装着部146、回転軸136とばね装着部146を連結するコイルばね144を有する。また、振動緩衝機構121の回転軸136にドラム134が固定されて、本発明の遠心クラッチドラム組立体135が構成される。図3では止め輪138によりベアリング140が、図2の実施形態と同様に回転軸136に固定されているが、ベアリング140は、遠心クラッチドラム組立体135の構成要素ではない。
また、本発明の遠心クラッチドラム組立体は、上記の構成の他に、ドラム134と回転軸136を組み合わせた構成でもよく、さらに回転軸136にコイルばね144を螺着させた構成でもよい。
回転軸136は、回転軸136と同心に貫通孔(断面円形の凹部)136jを有する中空のパイプ状となっている。他方、ばね装着部146は伝動長尺部20(図2)と連結されるメス型のスプライン溝146aを有し、回転軸136に対向する側に、前述の貫通孔136jに挿入される円柱状の凸部(円柱状凸部)146hが形成されている。またばね装着部146は螺旋溝146fが形成された螺旋溝部146cを有する。貫通孔の直径をDを約7mm、凸部146hの直径をdを約6mmとすると、凸部146hを貫通孔136j内に同軸に配置したとして、凸部146hと貫通孔136jの内面との間隙Gは、約0.2〜0.5mmとなる。
凸部146hが貫通孔136jに挿入されることにより、原動機側伝動軸部分と刈刃側伝動軸部分それぞれの回転中心軸が同一軸線上に位置するようになる。その結果、回転軸136と伝動長尺部20の回転時の同軸性が確保され、振動が一層低減する。すなわち、間隙Gが所定範囲内で軸線と直交する方向の過度の撓み振動を規制すると共に、この間隙G内で振動を吸収する。従って、コイルばね144の損傷や変形を防止し且つ撓み振動を緩和することができる。コイルばね144の線材の直径は約2mm〜3mmであり、中間部の線材同士の間隔Saは約0.2〜0.5mmである。この間隔Saは大きすぎると、線材がねじ切れるおそれがある。従って、回転軸136と刈刃側伝動軸6aとの相対的な回転が、約1/2回転したときに、線材同士が接触するような間隔が好ましい。換言すると、相対的な回転差が半回転あればトルク変動等の振動が吸収できるということである。
ばね装着部146の螺旋溝部146cを除く凸部146hに至る部分は、平滑な外面を有する、過渡部146iとなっている。過渡部146iの直径は、螺旋溝部146cより縮小され、コイルばね144のねじれを阻害しないようになっている。過渡部146iの最大直径部の外面と、コイルばね144の内側との間隔Sは、約0.2〜0.5mmである。過渡部146iの外面は、軸線方向に沿って過渡部144iの先端に向けてテーパが形成されている。このテーパは、過渡部146i全体でなく先端すなわち過渡部146iの端面146j近傍にのみ形成されていてもよい。
回転軸136と対向する過渡部146iの端面146jと、回転軸136の端面136kとの間は、間隙Gaが形成されている。これは、コイルばね144のねじれに伴って、回転軸136とばね装着部146が相対的に軸線方向に接近可能にするためである。この間隙Gaの寸法は、約0.2〜1mmであり、コイルばね144の過度のねじれを防止するために、コイルばね144の線材同士がねじれにより互いに接触したときに、端面146jと、端面136kが互いに当接するように設定される。この実施形態は、コイルばね144を長くしても、回転軸136と伝動長尺部20の回転がぶれず、コイルばね144のねじれの裕度も大きくなって一層振動が緩和される。また、更にばねの長手方向中間部が、過渡部146jによって支持されるので、ばね自体のブレが小さくなり、振動が一層低減される。
また、コイルばね144の過度のねじれを阻止するために、凸部146hの外面に軸線方向に沿って図示しないリブを設け、貫通孔136jにはこのリブを受容するとともに所定の範囲内にその移動を規制する、図示しない凹所を設けてもよい。
以上の実施形態は、コイルばね44、144の両端部の線材同士が密接して巻回されている場合について説明したが、図4を参照してコイルばねの変形例について説明する。図4はコイルばねの他の変形例を示す、コイルばね244の部分断面図である。図4はコイルばね244が、回転軸236に螺着されている状態を示す。回転軸236の螺旋溝236fは、壁238により所定のピッチで互いに離隔している。他方、コイルばね244の螺旋溝236fに対応する部分も、所定のピッチで離隔しており、回転軸236に螺着させると図4に示す構成となる。従って、この状態では、コイルばね244の端部の線材が互いに離隔していても、回転軸236に螺着されている部分で、ねじれることはない。換言すると、コイルばね244の巻回方向に沿って線材が移動することがない。なお、図では壁238が線材の直径を越えて突出しているが、線材が螺旋溝236fを乗り越えて移動しない高さであれば、必ずしも直径を越えて突出する必要はない。
次に、伝動長尺部20について、図5および図6を参照して説明する。図5は伝動長尺部20にばね装着部46を取付けた刈刃側伝動軸6aを示す。刈刃側伝動軸6aは長尺であるため、図では部分的に省略してある。刈刃側伝動軸6aは、内径および外径が軸方向に一様な約1.3〜1.5mの細長いパイプからなる伝動長尺部20と、該伝動長尺部20の両端に形成された雄型のスプライン20a、20bを有する。スプライン20aは、ばね装着部146の雌型のスプライン溝46aに挿入され、スプライン20bは刈刃ユニット3の図示しない雌型のスプライン溝に挿入されるようになっている。本発明の振動緩衝機構21を使用した場合、既存の刈刃側伝動軸は、この刈刃側伝動軸6aに置き換えることができる。すなわち軸受け5から原動機2側に既存の刈刃側伝動軸を抜き取り、替わりにこの刈刃側伝動軸6aを挿入することにより容易に交換することができる。これは、振動緩衝機構21を構成する、刈刃側伝動軸6aのばね装着部46が刈刃側伝動軸6aの端部に位置し、操作杆1への挿入時に軸受け5と干渉することがないためである。
次に、本発明の振動緩衝機構を有する、他の形態の本発明の一例となる伝動軸106について、図6を参照して説明する。図6は伝動軸106を示す。なお、説明に当たり、前述の実施形態の部品と同じ部品については、同じ参照番号を使用する。伝動軸106は、刈刃側伝動軸6aと、回転軸(原動機側伝動軸)66と、刈刃側伝動軸6aと回転軸66を連結するコイルばね44とを有する。従って、この実施形態の場合、振動緩衝機構61は、回転軸66と、刈刃側伝動軸6aとの間に構成される。この回転軸66は遠心クラッチケース部8内のドラム34に直接固定されるものではなく、雄型のスプライン66aを有する。このスプライン66aは、図示しない遠心クラッチケース部8側の雌型のスプライン(図示せず)に挿入されるようになっている。このような構成の場合、回転軸66、コイルばね44を含む伝動軸106を、全て既存のものと置き換えることも可能である。もちろん、伝動軸106にコイルばね44を螺着した、回転軸66を含まない構成とすることも可能である。
なお、本発明の振動緩衝機構は、操作杆1が、その長手方向の中間部で分割可能なタイプである場合は、伝動軸106の端部ではなく、中間部に設けることができることは、当業者にとって容易に理解できよう。また、ばね装着部146と伝動長尺部20がスプラインにより接続されていることを例示したが、これに限定されるものではなく、溶接、摩擦圧接等の手段を用いてもよい。また、断面四角形の角柱と、この角柱と相補的な角穴との結合であってもよい。また、さらに、上記実施形態では、平行ローレット部によりスプラインを構成しているが、断面が非円形状の凸部と凹部により結合して、両者が中心軸回りに相対回転不可能となる形状のものであればどの様な形状のものでもよい。
また、本発明の振動緩衝機構21、61、121を構成するコイルばね44、144、244は、原動機側伝動軸36、66および刈刃側伝動軸6aの両方にそれぞれ螺旋溝36f、136f、236fおよび螺旋溝46f、146fに螺着される場合の他、伝動軸のいずれか一方の側に、適切な手段により固定されていてもよい。
また、上記実施形態では、刈刃として円盤状の丸刃を用いているが、刈刃は回転することによって雑草等を刈ることのできるものであればどの様なものでもよく、例えば刈刃支持軸10(図1)の先端に一端が連結された1本もしくは2本の紐状のナイロンコードから成るものであってもよい。
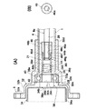
次に図7、8および9を参照して、本発明の振動緩衝機構のさらに別の実施形態について説明する。なおこれらの図において、図1中の要素と同等の要素には同番号を付してあり、それらについての説明は特に必要のない限り省略する(以下、同様)。図7は本実施形態の振動緩衝機構221を一部破断して示す側面図であり、ここに示される通り該振動緩衝機構221は基本的に、遠心クラッチドラム34に固定された回転軸受け部236およびそれにスプライン結合された回転軸251からなる原動機側伝動軸部分と、刈刃側伝動軸部分を構成する回転軸252と、この回転軸252に上記回転軸251の回転を伝達するコイルばね253とから構成されている。
回転軸251は図8に斜視形状を示す通り、大径部251a、この大径部251aから原動機と反対側を向くように突設されたばね挿通部251bおよび、大径部251aから原動機側を向くように突設された基部251cを有するものである。上記大径部251aは、挿通部251b側の端面251dが螺旋状に形成されたものであり、そのためこの端面251dの一端と他端とは不連続となっているが、この不連続となった段差部は後述するようにしてコイルばね253の線材の一端を受け止める当接部251eとされている。上記ばね挿通部251bは、中心部に断面円形の凹部251fを有する形状とされている。また上記基部251cの先端に近い部分には、雄型のスプライン251gが形成されている。
他方、図7に示されるように回転軸受け部236の中心部には軸方向に延びる円孔236aが穿設され、その周壁部分には雌型のスプライン236bが形成されている。回転軸251の基部251cは、その雄型のスプライン251gが上記雌型のスプライン236bと噛合するようにして円孔236a内に挿通される。それにより回転軸251は、回転軸受け部236が回転されると、それとともに回転する。なお本実施形態において回転軸受け部236の回転方向は、図7および8に矢印Fで示す方向とされている。
刈刃側伝動軸部分を構成する方の回転軸252は図9に斜視形状を示す通り、大径部252aおよび、この大径部252aから原動機側を向くように突設されたばね挿通部252bを有するものである。上記大径部252aは、回転軸251の大径部251aと同形状とされ、該大径部251aの螺旋状の端面251dおよび当接部251eとそれぞれ同様の端面252dおよび当接部252eを有している。またばね挿通部252bの先端には、前方つまり原動機側に突出した円柱状凸部252fが設けられている。
なお上記回転軸252の大径部252aには、例えばその中心部に穿設された孔に先端部を圧入したり、一部を溶接したりする等により、伝動軸6が同軸状態にして固定されている。この伝動軸6は、図1に示したものと同様のものであって、刈刃に回転軸252の回転を伝達する。
図7に示されるように回転軸251と回転軸252とは、各々のばね挿通部251b、252bにコイルばね253の一端側、他端側を嵌装させた上で、それらのばね挿通部251b、252bの先端面同士が向かい合う状態に配置される。なおばね挿通部251b、252bの外径は例えば6.5mm程度とされるが、コイルばね253の内径はそれよりも若干大きい寸法とされ、それによりコイルばね253はばね挿通部251b、252bに対して相対回転可能となっている。
回転軸251と回転軸252とを上述のように配置した後、例えば回転軸251の方を手操作により図7の矢印F方向に回すと、コイルばね253の線材253aの一端、他端がそれぞれ回転軸251の当接部251e、回転軸252の当接部252eに受け止められる状態となる。このときコイルばね253は、線材253aの一端に近いコイル部分が回転軸251の螺旋状の端面251dに、線材253aの他端に近いコイル部分が回転軸252の螺旋状の端面252dにそれぞれ沿って接する状態となる。またコイルばね253の全長は、上記の状態となったときに、ばね挿通部251b、252bの各先端面の間に若干の間隙が生じて、それらが互いに相対回転可能となる長さとされている。
ここでコイルばね253は、隣り合う線材同士(リング部分同士)の間に若干の隙間が有る状態に形成されてもよいし、あるいはそのような隙間は無い状態に形成されてもよいが、本実施形態においては後者の状態とされている。
また、上記のように回転軸251と回転軸252とが配置されると、回転軸252の円柱状凸部252fは、回転軸251に形成された凹部251f内に収められる。円柱状凸部252fの外径は例えば4.0mm程度とされるが、回転軸251の凹部251fの内径はそれよりも若干大きい寸法とされ、それにより円柱状凸部252fは凹部251fの中で回転軸251に対して相対回転可能となっている。
なお本実施形態では特に、上述のように配置されたコイルばね253の全長を、その周外方から所定間隔を置いて覆うスリーブ261が配設されている。このスリーブ261は、円筒状部分261aと、その一端側に形成された底部261bとを有している。底部261bの中心部には、伝動軸6の外径よりも大きい内径の円孔261cが形成されている。スリーブ261はこの円孔261c内を伝動軸6が通過し、円筒状部分261aが大径部251a、252aおよびコイルばね253の周外方に有ってそれらと相対回転可能な状態に配置される。
上記円筒状部分261aの先端側つまり底部261bと反対側の端部の外周面には雌ねじが形成され、ここに有底円筒状のキャップ262が螺合されることにより、スリーブ261が伝動軸6に沿って図7中右方に移動してしまうことが防止されている。なおキャップ262の中心部には、回転軸251の基部251cの外径よりも大きい内径の円孔262aが形成され、この円孔262a内を基部251cが通過している。また回転軸251の大径部251aの端面とキャップ262との間には、スリーブ261が軸方向に動くことを防止するスペーサとして機能する円環状のゴムワッシャ263が配置されている。
なおスリーブ261を、底部261bを持たずに円筒状部分261aのみからなる形状とし、その一端部、他端部の双方にキャップ262を螺合させるようにしても構わない。
以下、上記構成を有する本実施形態の振動緩衝機構221の作用について、図7を参照して説明する。遠心クラッチドラム34が回転されることにより、回転軸受け部236を介して回転軸251が図中の矢印F方向に回転すると、回転軸251の当接部251eがコイルばね253の線材の一端を押して、該コイルばね253を同方向に押し回す。こうしてコイルばね253が回転すると、その線材の他端が回転軸252の当接部252eを押すので、該回転軸252も同じく矢印F方向に回転する。このようにして、遠心クラッチドラム34に接続している原動機の回転が、回転軸252と一体化されている伝動軸6に伝えられ、最終的にその回転が刈刃12(図1参照)まで伝達される。
以上のように本実施形態でも、原動機側の回転軸251から刈刃側の回転軸252への回転伝達が、間にコイルばね253を介して行われるので、図2や図3に示した振動緩衝機構21、121におけるのと基本的に同じようにして振動緩衝作用が得られる。
そして本実施形態の場合、回転の伝達が上述のように行われるので、回転伝達に当たってコイルばね253には線材を圧縮する向きの力が作用する。鋼鉄等からなるコイルばね線材は、引張り応力に対する強度よりも圧縮応力に対する強度の方が高いので、コイルばね253として比較的小型のものを適用可能となり、またそれに応じて2つの回転軸251、252も小型化が可能になるので、振動緩衝機構の小型化およびコストダウンが実現される。
また、上述のようにコイルばね253を押し回して回転を伝達する構造となっているので、コイルばね253は、回転軸251にも、また回転軸252にも強固に固定されている必要が無い。したがって原動機側伝動軸部分を構成する回転軸251は基本的にばね挿通部251bと当接部251eだけを備えていればよく、それは刈刃側伝動軸部分を構成する回転軸252についても同じであるので、本実施形態の振動緩衝機構は構造が極めて簡単なものとなる。さらに、コイルばね253の各端部と回転軸251、回転軸252とを例えば圧入や螺合などの手段によって強固に固定する作業も不要となる。そこでこれらの点からも、本実施形態の振動緩衝機構は十分な小型化、コストダウンが可能で、さらには組立て、分解が容易なものとなる。
なお、本実施形態の振動緩衝機構においては、上述のようにコイルばね253を押し回して、つまりコイルばね253の線材に圧縮方向の力を加えて回転を伝達する構造となっているので、刈刃に回転を妨げるような負荷が加わった際、コイルばね253は、その径が拡大するように弾性変形して緩衝作用を果たすことになる。そのとき、コイルばね253が余りに大きく変形すると、拡径したばねのリング部分が暴れて、隣のリング部分に乗り上げるような事態が起きる可能性がある。
このような事態の発生を防止するために本実施形態では、前述した通りのスリーブ261が設けられている。すなわち、このスリーブ261が配設されていると、該スリーブ261によりコイルばね253のリング部分の拡径が規制されるので、コイルばね253が大きく変形することがなくなり、上述の好ましくない事態が生じることを確実に防止できる。なお、スリーブ261とコイルばね253との間に全く間隔が無い状態であると、コイルばね253が拡径して緩衝作用を果たすことが不可能になるので、必ずこの間隔が生じるようにスリーブ261の内径およびコイルばね253の外径を設定することが必要である。具体的には、例えばコイルばね253の外径が12.0mm程度の場合において、上記間隔が0.1mm程度有ることが望ましい。
また本実施形態においては、回転軸252の円柱状凸部252fが、回転軸251に形成された凹部251f内に収められているので、図3に示したように円柱状凸部146hが貫通孔136jに収められている実施形態と同様に、回転軸251と回転軸252との同軸性が確保されて、振動を低減する効果が得られる。
次に図10を参照して、本発明による振動緩衝機構のさらに別の実施形態について説明する。図10は本実施形態の振動緩衝機構321を一部破断して示す側面図であり、ここに示される通り該振動緩衝機構321は図7に示した振動緩衝機構221と比べると、コイルばね253の周外方に配されるスリーブの構造が異なるものであり、その他の点は基本的に上記振動緩衝機構221と同様に形成されている。
すなわち本実施形態では、中心部に円孔361cを有する底部361bと円筒状部分361aとからなるスリーブ361が用いられており、円筒状部分361aの先端部はプッシュナット301を受承する形状とされている。そして、大径部251a、252aおよびコイルばね253の周外方に円筒状部分361aが有る状態にスリーブ361が配設された後、プッシュナット301が組み付けられることにより、スリーブ361はコイルばね253に対して軸方向に移動不可能な状態に保持される。
次に図11および図12を参照して、本発明による振動緩衝機構のさらに別の実施形態について説明する。図11は、本実施形態の振動緩衝機構421を一部破断して示す側面図であり、また図12はこの振動緩衝機構421の一部を分解して示す斜視図である。本実施形態の振動緩衝機構421は図7に示した振動緩衝機構221と比べると、コイルばね253の周外方に配されるスリーブの構造が異なるものであり、その他の点は基本的に上記振動緩衝機構221と同様に形成されている。
すなわち本実施形態では、円筒状部分のみからなるスリーブ461が用いられており、このスリーブ461は大径部251a、252aおよびコイルばね253の周外方に位置するように配設される。また回転軸252の大径部252aには径方向に貫通する取付け孔252jが形成される一方、スリーブ461にもこの取付け孔252jの一端、他端と整合する2つの円孔461a、461aが形成されている。そして一方の円孔461aに通した概略円柱状のピン462を、大径部252の取付け孔252jに通して他方の円孔461aから突出させ、次いで該ピン462の一端近傍、他端近傍において円環状に形成されているピン溝(図示せず)に各々スナップピン463を装着することにより、スリーブ461がピン462を介して回転軸252の大径部252aと一体化される。
また回転軸251の大径部251aにも径方向に貫通する取付け孔251jが形成される一方、スリーブ461にはこの取付け孔251jの一端、他端と向き合う2つの長孔461b、長孔461bが形成されている。さらに、これらの長孔461b、長孔461bを覆う形にして、スリーブ461の上に2つ割のカラー464、464が配置される。各カラー464にはそれぞれ円孔464aが形成されている。
そして一方のカラー464の円孔464aに通した概略円柱状のピン465を、スリーブ461の一方の長孔461b、大径部251aの円孔251j、およびスリーブ461の他方の長孔461bに通し、他方のカラー464の円孔464aから突出させる。次いで該ピン465の一端近傍、他端近傍において円環状に形成されているピン溝465aに各々スナップピン463を装着することにより、スリーブ461がピン465を介して回転軸251の大径部251aに組み付けられる。
以上によりスリーブ461は、回転軸251および252に対して、軸方向には移動不可能で、かつ回転軸251に対しては相対回転可能な状態に組み付けられる。このようにスリーブ461が回転軸251に対して相対回転可能になっていれば、結局、該スリーブ461に固定されている回転軸252と回転軸251との相対回転が許容される。そこで、これら両回転軸251、252の間に介設されたコイルばね253が前述のように変形可能となって、既述の実施形態におけるのと同様の緩衝作用が得られる。
次に図13および図14を参照して、本発明による振動緩衝機構のさらに別の実施形態について説明する。図13は、本実施形態の振動緩衝機構521を一部破断して示す側面図であり、また図14はその要部を拡大して示す断面図である。本実施形態の振動緩衝機構521は図7に示した振動緩衝機構221と比べると、コイルばね253の周外方に配されるスリーブを保持する構造が異なるものであり、その他の点は基本的に上記振動緩衝機構221と同様に形成されている。
すなわち本実施形態では、図7に示したものと同様の円筒状部分261aおよび底部261bからなるスリーブ261Aが用いられているが、図14に詳しく示すように円筒状部分261aの先端に近い部分においてその外周面には、環状の爪受け溝261eが形成されている。一方、このスリーブ261Aと組み合わされるキャップ562は、回転軸251の基部251cを通過させる円孔562aを有する有底円筒体562bおよび、その先端側(図中の右側)から突出した例えば6本程度の係合部562cからなるものとされている。この係合部562cの各々の先端内側には、図14に示されるように断面山形の係合爪562dが設けられている。なお有底円筒体562bと係合部562cとは、弾性を有する例えば鋼材等を用いて一体的に形成されている。
上記構成のキャップ562は、スリーブ261Aが内部に大径部251a、252aおよびコイルばね253を収めた状態に配置された後、係合部562c側からスリーブ261Aの先端に押し込まれる。すると各係合部562cが外側に弾性変形しつつ、その係合爪562dがスリーブ261Aの円筒状部分261aの外周面に乗り上げるが、そのまま該キャップ562を押し込むと、各係合爪562dが円筒状部分261aの爪受け溝261eに係合して、図14に示す状態となる。こうしてスリーブ261Aとキャップ562とが一体化されて、回転軸251と回転軸252とが互いに離れてしまうことが防止される。
なお本実施形態では、円筒状部分261aの爪受け溝261eは環状の1本の溝とされているが、その代わりに、例えば6個の係合爪562dの各々を受承する6本の短い爪受け溝を形成してもよい。
次に図15を参照して、本発明による振動緩衝機構のさらに別の実施形態について説明する。図15は、本実施形態の振動緩衝機構621を一部破断して示す側面図である。本実施形態の振動緩衝機構621は図7に示した振動緩衝機構221と比べると、回転軸251、252とは少し構造が異なる回転軸251A、252Aが用いられている点が異なるものであり、その他の点は基本的に上記振動緩衝機構221と同様に形成されている。
すなわち本実施形態で用いられている回転軸251Aは、図7に示した回転軸251からばね挿通部251bを取り除いた形のものとされ、同様に回転軸252Aも、図7に示した回転軸252からばね挿通部252bを取り除いた形のものとされている。そしてこれらの回転軸251A、252Aの各大径部251a、252aの間にコイルばね253が配置され、それらを内部に収める状態にしてスリーブ261が配置される。
本実施形態においてコイルばね253は、上記ばね挿通部251b、挿通部252bによって保持されることはないが、その代わりに周囲からスリーブ261によって保持されるので、周外方に動いて大径部251a、252aの間から脱落してしまうことが防止される。以上の説明から明らかな通り、2つの回転軸にばね挿通部を設けない場合は、スリーブを配設することが必ず必要となる。
なお、以上説明した各実施形態の振動緩衝機構221、321、421、521および621の刈刃側伝動軸部分である回転軸252も、図1に示すような伝動長尺部20と組み合わせることにより、刈刃側伝動軸を構成することができる。
また、上記各実施形態の振動緩衝機構221、321、421、521および621の原動機側伝動軸部分である回転軸251と、例えば図3に示すような遠心クラッチドラム34と組み合わせることにより、遠心クラッチドラム組立体を構成することができる。
さらに、上記各実施形態の振動緩衝機構221、321、421、521および621と伝動長尺部20と組み合わせることにより、刈払機の伝動軸を構成することもできる。
2 原動機
6a 刈刃側伝動軸
12 刈刃
20 伝動長尺部
21、61、121、221、321、421、521、621 振動緩衝機構
30 刈払機
34、134 遠心クラッチドラム
36、66、136 原動機側伝動軸
36g、46d 端面(ストッパ部)
36f、136f、236f 螺旋溝
44、144、244、253 コイルばね
46f、146f 螺旋溝
106 伝動軸
135 遠心クラッチドラム組立体
136j 断面円形の凹部
146h 円柱状凸部
251、251A、252、252A 回転軸
251b、252b ばね挿通部
251e、252e 当接部
261、261A、361、461 スリーブ
Sa 所定間隔

Claims (13)

  1. 原動機の回転力を伝動軸を介して刈刃に伝達する刈払機の前記伝動軸に設けられる振動緩衝機構であって、
    前記原動機に接続される、外周に形成された螺旋溝を有する原動機側伝動軸部分と、
    前記刈刃に接続される、外周に前記原動機側伝動軸部分の螺旋溝と離間して形成された螺旋溝を有する刈刃側伝動軸部分と、
    一端側が前記原動機側伝動軸部分の螺旋溝に、他端側が前記刈刃側伝動軸部分の螺旋溝に螺着され、前記螺旋溝に螺着されていない部分の少なくとも一部のリング部分同士の間に所定間隔が設けられているコイルばねとを備え、
    前記原動機側伝動軸部分の回転を前記コイルばねを介して前記刈刃側伝動軸部分に伝達することを特徴とする刈払機の振動緩衝機構。
  2. 前記原動機側伝動軸部分の螺旋溝が該原動機側伝動軸部分の前記刈刃側伝動軸部分に対向する先端部の外周に形成され、該先端部の後端には前記コイルばねの一端が突き当たるストッパ部が形成され、
    前記刈刃側伝動軸部分の螺旋溝が該刈刃側伝動軸部分の前記原動機側伝動軸部分に対向する先端部の外周に形成され、該先端部の後端には前記コイルばねの他端が突き当たるストッパ部が形成されていることを特徴とする請求項1記載の刈払機の振動緩衝機構。
  3. 前記原動機側伝動軸部分および/または前記刈刃側伝動軸部分の前記螺旋溝が、該螺旋溝に螺着される前記コイルばねのリング部分同士が互いに密接するように形成されていることを特徴とする請求項1または2記載の刈払機の振動緩衝機構。
  4. 原動機の回転力を伝動軸を介して刈刃に伝達する刈払機の前記伝動軸に設けられる振動緩衝機構であって、
    原動機と反対側を向くように突設されたばね挿通部および、ここに回転可能に嵌装されたコイルばねの線材の一端を受け止める当接部を有して、原動機に接続される原動機側伝動軸部分と、
    前記原動機側伝動軸部分のばね挿通部と向かい合うように突設されたばね挿通部および、ここに回転可能に嵌装されたコイルばねの線材の他端を受け止める当接部を有して、前記刈刃に接続される刈刃側伝動軸部分と、
    一端側が前記原動機側伝動軸部分のばね挿通部に、他端側が前記刈刃側伝動軸部分のばね挿通部に各々嵌装されたコイルばねとを備え、
    前記原動機側伝動軸部分が、その当接部を介して前記コイルばねの線材の一端を押す向きに回転されたとき、その回転を該コイルばねを介して前記刈刃側伝動軸部分に伝達することを特徴とする刈払機の振動緩衝機構。
  5. 前記コイルばねの少なくとも一部を、その周外方から所定間隔を置いて覆うスリーブが配設されていることを特徴とする請求項4記載の刈払機の振動緩衝機構。
  6. 原動機の回転力を伝動軸を介して刈刃に伝達する刈払機の前記伝動軸に設けられる振動緩衝機構であって、
    コイルばねの線材の一端を受け止める当接部を有して、原動機に接続される原動機側伝動軸部分と、
    前記コイルばねの線材の他端を受け止める当接部を有して前記原動機側伝動軸部分と向かい合うように配置され、前記刈刃に接続される刈刃側伝動軸部分と、
    前記原動機側伝動軸部分と前記刈刃側伝動軸部分との間において、その線材の一端、他端が各々前記原動機側伝動軸部分の当接部、前記刈刃側伝動軸部分の当接部に受け止められる状態に配置されたコイルばねと、
    前記原動機側伝動軸部分および/または前記刈刃側伝動軸部分に保持されて、前記コイルばねの少なくとも一部を、その周外方から所定間隔を置いて覆うスリーブとを備え、
    前記原動機側伝動軸部分が、その当接部を介して前記コイルばねの線材の一端を押す向きに回転されたとき、その回転を該コイルばねを介して前記刈刃側伝動軸部分に伝達することを特徴とする刈払機の振動緩衝機構。
  7. 前記原動機側伝動軸部分と前記刈刃側伝動軸部分の互いに対向する側の端部のいずれか一方に該伝動軸部分と同心の断面円形の凹部が形成され、他方の伝動軸部分の端部には、前記凹部に挿入される、前記凹部の内径より小さい外径を有する円柱状凸部を有していることを特徴とする請求項1から6いずれか1項記載の刈払機の振動緩衝機構。
  8. 請求項1から7いずれか1項記載の刈刃側伝動軸部分と、
    該刈刃側伝動軸部分に連結されて該刈刃側伝動軸部分の回転を前記刈刃に伝達する伝動長尺部とを備えていることを特徴とする刈刃側伝動軸。
  9. 請求項1、2または3記載の刈刃側伝動軸部分と、
    該刈刃側伝動軸部分に連結されて該刈刃側伝動軸部分の回転を前記刈刃に伝達する伝動長尺部と、
    前記刈刃側伝動軸部分の螺旋溝に、他端側が螺着された請求項1記載のコイルばねとを備えていることを特徴とする刈刃側伝動軸。
  10. 前記請求項1から7いずれか1項記載の振動緩衝機構と、
    該振動緩衝機構の前記刈刃側伝動軸部分に取り付けられて、該刈刃側伝動軸部分の回転を前記刈刃に伝達する伝動長尺部とを備えていることを特徴とする刈払機の伝動軸。
  11. 請求項1から7いずれか1項記載の原動機側伝動軸部分と、
    該原動機側伝動軸部分に連結された遠心クラッチドラムとを備えていることを特徴とする刈払機用の遠心クラッチドラム組立体。
  12. 請求項1、2または3記載の原動機側伝動軸部分と、
    該原動機側伝動軸部分に連結された遠心クラッチドラムと、
    前記原動機側伝動軸部分の螺旋溝に一端側が螺着された請求項1記載のコイルばねとを備えていることを特徴とする遠心クラッチドラム組立体。
  13. 螺旋溝に前記コイルばねの他端側が螺着された、請求項1記載の刈刃側伝動軸部分を備えていることを特徴とする請求項12記載の遠心クラッチドラム組立体。
JP2009021083A 2008-06-11 2009-02-02 刈払機の振動緩衝機構、刈刃側伝動軸、伝動軸および遠心クラッチドラム組立体 Active JP5265402B2 (ja)

Priority Applications (2)

Application Number Priority Date Filing Date Title
JP2009021083A JP5265402B2 (ja) 2008-06-11 2009-02-02 刈払機の振動緩衝機構、刈刃側伝動軸、伝動軸および遠心クラッチドラム組立体
PCT/JP2009/002591 WO2009150823A1 (ja) 2008-06-11 2009-06-09 刈払機の振動緩衝機構、刈刃側伝動軸、伝動軸および遠心クラッチドラム組立体

Applications Claiming Priority (3)

Application Number Priority Date Filing Date Title
JP2008152727 2008-06-11
JP2008152727 2008-06-11
JP2009021083A JP5265402B2 (ja) 2008-06-11 2009-02-02 刈払機の振動緩衝機構、刈刃側伝動軸、伝動軸および遠心クラッチドラム組立体

Publications (2)

Publication Number Publication Date
JP2010017175A true JP2010017175A (ja) 2010-01-28
JP5265402B2 JP5265402B2 (ja) 2013-08-14

Family

ID=41416536

Family Applications (1)

Application Number Title Priority Date Filing Date
JP2009021083A Active JP5265402B2 (ja) 2008-06-11 2009-02-02 刈払機の振動緩衝機構、刈刃側伝動軸、伝動軸および遠心クラッチドラム組立体

Country Status (2)

Country Link
JP (1) JP5265402B2 (ja)
WO (1) WO2009150823A1 (ja)

Cited By (4)

* Cited by examiner, † Cited by third party
Publication number Priority date Publication date Assignee Title
JP2012110308A (ja) * 2010-11-29 2012-06-14 Yamada Kikai Kogyo Kk 捩じり振動吸収装置、およびこれを備えた携帯型動力刈払機
JP2013000109A (ja) * 2011-06-22 2013-01-07 Okayama Noeisha:Kk 携帯型刈払機
KR101330881B1 (ko) 2011-12-26 2013-11-18 계양전기 주식회사 예초기
JP2020099253A (ja) * 2018-12-21 2020-07-02 三菱重工メイキエンジン株式会社 刈払機の回転力伝達装置および刈払機

Citations (4)

* Cited by examiner, † Cited by third party
Publication number Priority date Publication date Assignee Title
JPS49143306U (ja) * 1973-04-11 1974-12-11
JPS5691928U (ja) * 1979-12-19 1981-07-22
JP2005168339A (ja) * 2003-12-09 2005-06-30 Komatsu Zenoah Co 携帯型作業機
JP2007061029A (ja) * 2005-09-01 2007-03-15 Kioritz Corp 振動吸収継手及びそれを備えた携帯型刈払機

Patent Citations (4)

* Cited by examiner, † Cited by third party
Publication number Priority date Publication date Assignee Title
JPS49143306U (ja) * 1973-04-11 1974-12-11
JPS5691928U (ja) * 1979-12-19 1981-07-22
JP2005168339A (ja) * 2003-12-09 2005-06-30 Komatsu Zenoah Co 携帯型作業機
JP2007061029A (ja) * 2005-09-01 2007-03-15 Kioritz Corp 振動吸収継手及びそれを備えた携帯型刈払機

Cited By (5)

* Cited by examiner, † Cited by third party
Publication number Priority date Publication date Assignee Title
JP2012110308A (ja) * 2010-11-29 2012-06-14 Yamada Kikai Kogyo Kk 捩じり振動吸収装置、およびこれを備えた携帯型動力刈払機
JP2013000109A (ja) * 2011-06-22 2013-01-07 Okayama Noeisha:Kk 携帯型刈払機
KR101330881B1 (ko) 2011-12-26 2013-11-18 계양전기 주식회사 예초기
JP2020099253A (ja) * 2018-12-21 2020-07-02 三菱重工メイキエンジン株式会社 刈払機の回転力伝達装置および刈払機
JP7178255B2 (ja) 2018-12-21 2022-11-25 三菱重工メイキエンジン株式会社 刈払機の回転力伝達装置および刈払機

Also Published As

Publication number Publication date
WO2009150823A1 (ja) 2009-12-17
JP5265402B2 (ja) 2013-08-14

Similar Documents

Publication Publication Date Title
JP5265402B2 (ja) 刈払機の振動緩衝機構、刈刃側伝動軸、伝動軸および遠心クラッチドラム組立体
KR20020025817A (ko) 댐퍼 기구
JPH0723743B2 (ja) トルク伝達装置
CN102595871A (zh) 振动吸收机构以及安装有这种振动吸收机构的工作机器
EP2396566B1 (fr) Double volant amortisseur a limiteur de basculement
JP5297646B2 (ja) 携帯型作業機の伝動軸支持構造
JP5742089B2 (ja) 動力工具
EP1664588B1 (fr) Embrayage a friction, en particulier pour un vehicule automobile, comportant des moyens multifonction
JP7178255B2 (ja) 刈払機の回転力伝達装置および刈払機
EP2126405B2 (fr) Embrayage a friction, en particulier pour vehicule automobile, a amortisseur perfectionne
JPH09510005A (ja) いくつかの摩擦ステージを有するトーションダンパー
JP3175915U (ja) 刈払機の伝動機構および歯車機構
FR2821404A1 (fr) Volant d'inertie a deux masses
KR20050006077A (ko) 토션 진동 댐퍼
KR101745082B1 (ko) 클러치의 허브 댐핑장치
JP5740917B2 (ja) 刈払機
JP2010148484A (ja) エンジン刈払機
JP2023010399A (ja) ダンパ装置
BRPI0401690B1 (pt) embreagem de fricção em particular para veículo automóvel
EP1825160B1 (fr) Embrayage a friction, notamment pour vehicule automobile, du type comportant un amortisseur perfectionne
CN115076294B (zh) 旋转体用减振轮及汽车
JP5060269B2 (ja) 捩り振動低減装置
JPH028533A (ja) ダンパーディスク
KR20020043710A (ko) 내연기관의 듀얼매스 플라이휠의 비틀림 진동감쇠장치
FR3006732A1 (fr) Transmission comportant un dispositif de filtration de type oscillateur pendulaire et module pour une transmission

Legal Events

Date Code Title Description
A621 Written request for application examination

Free format text: JAPANESE INTERMEDIATE CODE: A621

Effective date: 20120127

A131 Notification of reasons for refusal

Free format text: JAPANESE INTERMEDIATE CODE: A131

Effective date: 20130115

A521 Request for written amendment filed

Free format text: JAPANESE INTERMEDIATE CODE: A523

Effective date: 20130318

TRDD Decision of grant or rejection written
A01 Written decision to grant a patent or to grant a registration (utility model)

Free format text: JAPANESE INTERMEDIATE CODE: A01

Effective date: 20130402

A61 First payment of annual fees (during grant procedure)

Free format text: JAPANESE INTERMEDIATE CODE: A61

Effective date: 20130501

R150 Certificate of patent or registration of utility model

Free format text: JAPANESE INTERMEDIATE CODE: R150

Ref document number: 5265402

Country of ref document: JP

Free format text: JAPANESE INTERMEDIATE CODE: R150

R250 Receipt of annual fees

Free format text: JAPANESE INTERMEDIATE CODE: R250

R250 Receipt of annual fees

Free format text: JAPANESE INTERMEDIATE CODE: R250

R250 Receipt of annual fees

Free format text: JAPANESE INTERMEDIATE CODE: R250

R250 Receipt of annual fees

Free format text: JAPANESE INTERMEDIATE CODE: R250

R250 Receipt of annual fees

Free format text: JAPANESE INTERMEDIATE CODE: R250

R250 Receipt of annual fees

Free format text: JAPANESE INTERMEDIATE CODE: R250

R250 Receipt of annual fees

Free format text: JAPANESE INTERMEDIATE CODE: R250

R250 Receipt of annual fees

Free format text: JAPANESE INTERMEDIATE CODE: R250