JP2010017004A - 車両用回転電機 - Google Patents

車両用回転電機 Download PDF

Info

Publication number
JP2010017004A
JP2010017004A JP2008175518A JP2008175518A JP2010017004A JP 2010017004 A JP2010017004 A JP 2010017004A JP 2008175518 A JP2008175518 A JP 2008175518A JP 2008175518 A JP2008175518 A JP 2008175518A JP 2010017004 A JP2010017004 A JP 2010017004A
Authority
JP
Japan
Prior art keywords
rectifier
stator
lead wire
rotating electrical
electrical machine
Prior art date
Legal status (The legal status is an assumption and is not a legal conclusion. Google has not performed a legal analysis and makes no representation as to the accuracy of the status listed.)
Granted
Application number
JP2008175518A
Other languages
English (en)
Other versions
JP5256892B2 (ja
Inventor
Yoshitoshi Inoguchi
誉敏 猪口
Kunihiro Abe
邦宏 阿部
Current Assignee (The listed assignees may be inaccurate. Google has not performed a legal analysis and makes no representation or warranty as to the accuracy of the list.)
Denso Corp
Original Assignee
Denso Corp
Priority date (The priority date is an assumption and is not a legal conclusion. Google has not performed a legal analysis and makes no representation as to the accuracy of the date listed.)
Filing date
Publication date
Application filed by Denso Corp filed Critical Denso Corp
Priority to JP2008175518A priority Critical patent/JP5256892B2/ja
Publication of JP2010017004A publication Critical patent/JP2010017004A/ja
Application granted granted Critical
Publication of JP5256892B2 publication Critical patent/JP5256892B2/ja
Expired - Fee Related legal-status Critical Current
Anticipated expiration legal-status Critical

Links

Images

Landscapes

  • Motor Or Generator Cooling System (AREA)
  • Motor Or Generator Current Collectors (AREA)
  • Synchronous Machinery (AREA)

Abstract

【課題】整流装置の冷却性を向上させるとともに、固定子の引出し線の固定が容易な車両用回転電機を提供すること。
【解決手段】車両用回転電機1は、回転子3と、回転子3と対向配置された固定子2と、回転子3および固定子2とを支持するフレーム6と、フレーム6の外端面に固定される整流装置5とを備える。整流装置5は、パワー素子を実装した放熱板52、53を含んで構成され、固定子2の引出し線23aがフレーム6に開けられた穴63を通して整流装置5と接続される。整流装置5は、引出し線23aが固定される固定部57を有する端子台51を備え、端子台51は、冷却形状をなす熱伝導樹脂で形成されている。
【選択図】図3

Description

本発明は、乗用車やトラック等に搭載される車両用回転電機に関する。
従来から、車両に搭載される回転電機としての車両用交流発電機には、固定子によって発生した交流電圧を整流する整流装置が備わっている(例えば、特許文献1参照。)。この整流装置は、負極側放熱板、正極側放熱板、端子台を含んでいる。負極側放熱板および正極側放熱板のそれぞれに実装された各整流素子からは固定子用接続端子が突出しており、これらの固定子用接続端子には固定子コイルの引出し端部が直接接合される。
国際公開第2004/038895号パンフレット
ところで、上述した特許文献1に開示された車両用交流発電機の整流装置では、各整流素子で発生した熱を負極側放熱板と正極側放熱板で放熱して各整流素子の冷却を行っているが、近年の小型化の要請から各放熱板の面積増加には限界があり、車載の電気負荷の増大に対処するために出力を増加しようとすると整流装置の温度が上昇するという問題があった。また、特許文献1に開示された整流装置では、整流素子から突出する固定子用接続端子に固定子コイルの引出し端部を直接接合する構造となっているが、固定子コイルの引出し線は変形しやすいことからその位置決め固定が容易ではないという問題があった。
本発明は、このような点に鑑みて創作されたものであり、その目的は、整流装置の冷却性を向上させるとともに、固定子の引出し線の固定が容易な車両用回転電機を提供することにある。
上述した課題を解決するために、本発明の車両用回転電機は、回転子と、回転子と対向配置された固定子と、回転子および固定子とを支持するフレームと、フレームの外端面に固定される整流装置とを備え、整流装置はパワー素子を実装した放熱板を含んで構成され、固定子の引出し線がフレームに開けられた穴を通して整流装置と接続される車両用回転電機であって、整流装置は、引出し線が固定される固定部を有する端子台を備え、端子台は、冷却形状をなす熱伝導樹脂で形成されている。整流装置の端子台を冷却形状をなす熱伝導樹脂で形成することにより、パワー素子によって発生した熱や固定子から引出し線を介して伝わる熱を端子台で効率的に放熱することができ、整流装置の冷却性を向上させることができる。また、整流装置の端子台に引出し線を固定する固定部を設けることにより、引出し線の位置決め固定が容易となる。
また、上述した固定部は、フレームに設けられた穴に挿入されて前記引出し線を包囲する包囲部であって、この包囲部に形成された貫通穴に引出し線を通すことが望ましい。包囲部の貫通穴に引出し線を通すことにより、包囲部が引出し線を端子台に接合する際のガイドの役目をしつつ引出し線の位置決め固定をさらに容易にすることができるとともに、フレームに対する引出し線の電気絶縁と同時に整流装置の冷却性向上を実現することができる。
また、上述した冷却形状は、凹凸を有するフィン形状、複数のスリットを有する形状、あるいは、冷却風の取り込み口を有する形状であることが望ましい。これらの冷却形状を採用することにより、整流装置の放熱板の周囲を流れる冷却風によって同時に端子台を冷却することが可能となる。
また、上述したパワー素子は、ダイオードであることが望ましい。これにより、複雑な制御を行うことなしに整流装置に整流動作を行わせることが可能になる。
また、上述したパワー素子は、MOSトランジスタであることが望ましい。一般に、MOSトランジスタのソース・ドレイン間のオン抵抗は、シリコンダイオードの順方向抵抗に比べて低いため、シリコンダイオードの代わりにMOSトランジスタを用いることにより、整流装置自体の発熱量を低減することができ、整流装置の温度をさらに下げることができる。
また、上述した熱伝導樹脂は、絶縁樹脂と無機質フィラーを含んでいることが望ましい。これにより、端子台の絶縁性を確保しつつ熱伝導率を高めることができる。
以下、本発明の車両用回転電機を適用した一実施形態の車両用交流発電機について、図面を参照しながら詳細に説明する。
図1は、一実施形態の車両用交流発電機の全体構成を示す断面図である。図1に示す車両用交流発電機1は、固定子2、回転子3、ブラシ装置4、整流装置5、フレーム6、リヤカバー7、プーリ8等を含んで構成されている。
固定子2は、固定子鉄心21と、この固定子鉄心21に形成された複数個のスロットに所定の間隔で巻き回された三相の固定子巻線23とを備えている。回転子3は、絶縁処理された銅線を円筒状かつ同心状に巻き回した界磁巻線31を、それぞれが複数の磁極爪部を有するポールコア32によって、回転軸33を通して両側から挟み込んだ構造を有している。また、フロント側のポールコア32の端面には、冷却ファン34が溶接等によって取り付けられている。同様に、リヤ側のポールコア32の端面には、冷却ファン35が溶接等によって取り付けられている。
ブラシ装置4は、整流装置5から回転子3の界磁巻線に31に励磁電流を流すためのものであり、回転子3の回転軸33に形成されたスリップリング36、37のそれぞれに押圧するブラシ41、42を有する。
整流装置5は、フレーム6の外端面に固定されて、三相の固定子巻線23の出力電圧である三相交流電圧を整流して直流の出力電力を得るためのものであり、配線用電極56を内部に含む端子台51と、所定の間隔で配置された正極側放熱板52および負極側放熱板53と、それぞれの放熱板に設けられた圧入穴に圧入することにより取り付けられた複数個のパワー素子としての正極側整流素子54および負極側整流素子55とを含んで構成されている。
フレーム6は、固定子2および回転子3を収容しており、回転子3が回転軸33を中心に回転可能な状態で支持されているとともに、回転子3のポールコア32の外周側に所定の隙間を介して配置された固定子2が固定されている。また、フレーム6は、固定子鉄心21の軸方向端面から突出した固定子巻線23に対向した部分に冷却風の吐出窓61が、軸方向端面に冷却風の吸入窓62がそれぞれ設けられている。リヤカバー7は、リヤ側のフレーム6の外側に取り付けられるブラシ装置4、整流装置5および制御装置12の全体を覆って、これらを保護するためのものである。
上述した構造を有する車両用交流発電機1は、ベルト等を介してプーリ8にエンジン(図示せず)からの回転力が伝えられると回転子3が所定方向に回転する。この状態で回転子3の界磁巻線31に外部から励磁電圧を印加することにより、ポールコア32のそれぞれの爪部が励磁され、固定子巻線23に三相交流電圧を発生させることができ、整流装置5の出力端子からは直流の出力電力が取り出される。
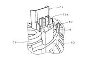
次に、整流装置5の詳細について説明する。図2は、整流装置5の平面図である。図3は、整流装置5を含む車両用交流発電機1の部分的な拡大断面図である。図4は、整流装置5の部分的な斜視図である。
整流装置5は、正極側放熱板52と負極側放熱板53を有している。正極側放熱板52には複数の取付穴が形成されており、これらの取付穴に正極側整流素子54が打ち込まれる。同様に、負極側放熱板53には複数の取付穴が形成されており、これらの取付穴に負極側整流素子55が打ち込まれる。正極側放熱板52と負極側放熱板53は、それぞれに打ち込まれた正極側整流素子54および負極側整流素子55の各リード部が互いに向き合うように配置されており、各リード部が端子台51の配線用電極56に接合されている。
端子台51は、固定子巻線23から整流装置側に軸方向(回転軸33と平行な向き)に延びる引出し線23aが固定される固定部57を有する。この固定部57は、フレーム6に設けられた穴63に挿入されて引出し線23aを包囲する包囲部であって、この包囲部に形成された貫通穴に引出し線23aを通し、貫通穴から突出した引出し線23aと配線用電極56とが溶接等により互いに接合される。
図5は、車両用交流発電機1の結線図である。本実施形態では、整流装置5は、一般に用いられているシリコンダイオードよりも通電時の損失が少ないMOSトランジスタ5a〜5fが整流素子として用いられている。制御装置12は、界磁巻線31に対する励磁電流の断続制御を行うとともに、整流装置5に備わった6個のMOSトランジスタ5a〜5fの導通タイミングを制御する。これら6個のMOSトランジスタ5a〜5fの内、3個のMOSトランジスタ5a〜5cが正極側整流素子54として正極側放熱板52に接合され、他の3個のMOSトランジスタ5d〜5fが負極側整流素子55として負極側放熱板53に接合されている。MOSトランジスタ5a〜5fのそれぞれは、一般のシリコンダイオードに比べて導通時の損失が少ないため、整流装置5の発熱量を抑えることができる。
このため、本実施形態では、固定子巻線23の引出し線23aを介して、温度が高い固定子2側から温度が低い整流装置5側へ熱が伝わらないような工夫がなされている。本実施形態の端子台51は、冷却形状をなす熱伝導樹脂で形成されている。具体的には、上述した固定部57が冷却形状に形成されており、端子台51全体あるいは少なくとも固定部57が熱伝導樹脂で形成されている。熱伝導樹脂としては、例えば、特開平11−46049号公報に記載された樹脂を用いることができる。この樹脂は、熱硬化性樹脂に放熱性を付与するための無機質フィラーを高濃度に充電した絶縁樹脂と無機質フィラーの混合物である。無機質フィラーとしては、アルミナ、シリカ、マグネシウム、窒化アルミニウム、窒化ホウ素などから選ばれた粒子を使用することができる。絶縁樹脂としては、エポキシ樹脂、フェノール樹脂、シアネート樹脂などを使用することができる。
図6〜図11は、冷却形状の具体例を示す固定部57の斜視図である。これらの図に示す固定部57A〜57Fはその一部(下端側)がフレーム6に形成された穴63に挿入される。図6に示す例では、固定部57Aは、軸方向に沿って平行であって軸方向と垂直な向きに凹凸を有する板状の複数の冷却フィン100を備えている。これらの冷却フィン100に沿って冷却風が流れることにより、熱伝導樹脂で形成された固定部57Aが冷却される。
図7に示す例では、固定部57Bは、軸方向に沿って形成された複数のスリット102を備えている。これらのスリット102を通して冷却風が流れることにより、熱伝導樹脂で形成された固定部57Bが冷却される。
図8に示す例では、固定部57Cは、円柱状(角柱でもよい)の複数の凸部からなる冷却フィン104を備えている。これらの冷却フィン104に沿って冷却風が流れることにより、熱伝導樹脂で形成された固定部57Cが冷却される。
図9に示す例では、固定部57Dは、冷却風の取り込み口106を備えている。この取り込み口106を通して冷却風が流れることにより、熱伝導樹脂で形成された固定部57Dが冷却される。
図10に示す例では、固定部57Eは、径方向に沿って平行であって軸方向と垂直な向きに凹凸を有する板状の複数の冷却フィン108を側面に備えている。これらの冷却フィン108の隙間に沿って冷却風が流れることにより、熱伝導樹脂で形成された固定部57Eが冷却される。
図11に示す例では、固定部57Fは、径方向に沿って平行であって軸方向と垂直な向きに凹凸を有する板状の複数の冷却フィン110を備えている。車両用交流発電機1を車両に組付けた場合、車両用交流発電機1は横向きに組み付けられる。従って冷却フィン110の方向は天地方向と一致するため、対流により風が流れやすくなり、熱伝導樹脂で形成された固定部57Fが冷却される。
このように、本実施形態の車両用交流発電機1では、整流装置5の端子台51を冷却形状をなす熱伝導樹脂で形成することにより、正極側整流素子54や負極側整流素子55によって発生した熱や固定子2から引出し線23aを介して伝わる熱を端子台51で効率的に放熱することができ、整流装置5の冷却性を向上させることができる。また、整流装置5の端子台51に引出し線23aを固定する固定部57を設けることにより、引出し線23aの位置決め固定が容易となる。
特に、固定部57を、フレーム6に設けられた穴63に挿入されて引出し線23aを包囲する包囲部とし、この包囲部に形成された貫通穴に引出し線23aを通すことにより、引出し線23aの位置決め固定をさらに容易にすることができるとともに、フレーム6に対する引出し線23aの電気絶縁と同時に整流装置5の冷却性向上を実現することができる。
なお、本発明は上記実施形態に限定されるものではなく、本発明の要旨の範囲内において種々の変形実施が可能である。例えば、上述した実施形態では、整流装置5に含まれるパワー素子として低損失素子であるMOSトランジスタ5a〜5fを用いて構成したが、他の低損失素子(例えば低損失ダイオード)や一般のシリコンダイオード等を用いて整流装置を構成するようにしてもよい。ダイオードを用いる場合には、複雑な制御を行うことなしに整流装置に整流動作を行わせることが可能になる。また、MOSトランジスタが1枚のパワー基板に配置された整流装置についても、本発明を適用することができることは言うまでもない。
また、上述した実施形態では、発電機能を有する車両用交流発電機1について説明したが、発電機と電動機の機能を有する車両用回転電機に本発明を適用するようにしてもよい。この場合には、制御装置12の制御によって整流装置5をインバータ動作させて固定子巻線23に三相交流電圧を印加し、回転子3を回転させればよい。
一実施形態の車両用交流発電機の全体構成を示す断面図である。 整流装置の平面図である。 整流装置を含む車両用交流発電機の部分的な拡大断面図である。 整流装置の部分的な斜視図である。 車両用交流発電機の結線図である。 冷却形状の具体例を示す固定部の斜視図である。 冷却形状の具体例を示す固定部の斜視図である。 冷却形状の具体例を示す固定部の斜視図である。 冷却形状の具体例を示す固定部の斜視図である。 冷却形状の具体例を示す固定部の斜視図である。 冷却形状の具体例を示す固定部の斜視図である。
符号の説明
1 車両用交流発電機
2 固定子
3 回転子
4 ブラシ装置
5 整流装置
6 フレーム
7 リヤカバー
8 プーリ
12 制御装置
23 固定子巻線
23a 引出し線
51 端子台
52 正極側放熱板
53 負極側放熱板
54 正極側整流素子
55 負極側整流素子
56 配線用電極
57 固定部
100、104 冷却フィン
102 スリット
106 取り込み口

Claims (8)

  1. 回転子と、前記回転子と対向配置された固定子と、前記回転子および前記固定子とを支持するフレームと、前記フレームの外端面に固定される整流装置とを備え、前記整流装置はパワー素子を実装した放熱板を含んで構成され、前記固定子の引出し線が前記フレームに開けられた穴を通して前記整流装置と接続される車両用回転電機において、
    前記整流装置は、前記引出し線が固定される固定部を有する端子台を備え、
    前記端子台は、冷却形状をなす熱伝導樹脂で形成されていることを特徴とする車両用回転電機。
  2. 請求項1において、
    前記固定部は、前記フレームに設けられた穴に挿入されて前記引出し線を包囲する包囲部であって、この包囲部に形成された貫通穴に前記引出し線を通すことを特徴とする車両用回転電機。
  3. 請求項1または2において、
    前記冷却形状は、凹凸を有するフィン形状であることを特徴とする車両用回転電機。
  4. 請求項1または2において、
    前記冷却形状は、複数のスリットを有する形状であることを特徴とする車両用回転電機。
  5. 請求項1または2において、
    前記冷却形状は、冷却風の取り込み口を有する形状であることを特徴とする車両用回転電機。
  6. 請求項1〜5のいずれかにおいて、
    前記パワー素子は、ダイオードであることを特徴とする車両用回転電機。
  7. 請求項1〜5のいずれかにおいて、
    前記パワー素子は、MOSトランジスタであることを特徴とする車両用回転電機。
  8. 請求項1〜7のいずれかにおいて、
    前記熱伝導樹脂は、絶縁樹脂と無機質フィラーを含んでいることを特徴とする車両用回転電機。
JP2008175518A 2008-07-04 2008-07-04 車両用回転電機 Expired - Fee Related JP5256892B2 (ja)

Priority Applications (1)

Application Number Priority Date Filing Date Title
JP2008175518A JP5256892B2 (ja) 2008-07-04 2008-07-04 車両用回転電機

Applications Claiming Priority (1)

Application Number Priority Date Filing Date Title
JP2008175518A JP5256892B2 (ja) 2008-07-04 2008-07-04 車両用回転電機

Publications (2)

Publication Number Publication Date
JP2010017004A true JP2010017004A (ja) 2010-01-21
JP5256892B2 JP5256892B2 (ja) 2013-08-07

Family

ID=41702542

Family Applications (1)

Application Number Title Priority Date Filing Date
JP2008175518A Expired - Fee Related JP5256892B2 (ja) 2008-07-04 2008-07-04 車両用回転電機

Country Status (1)

Country Link
JP (1) JP5256892B2 (ja)

Cited By (1)

* Cited by examiner, † Cited by third party
Publication number Priority date Publication date Assignee Title
US11051433B2 (en) 2018-01-11 2021-06-29 Denso Corporation Rectifier of rotating electric machine

Citations (3)

* Cited by examiner, † Cited by third party
Publication number Priority date Publication date Assignee Title
JP2002142424A (ja) * 2000-11-02 2002-05-17 Hitachi Ltd 車両用交流発電機
JP2003023759A (ja) * 2001-07-04 2003-01-24 Denso Corp 車両用交流発電機
JP2003180048A (ja) * 2002-09-24 2003-06-27 Denso Corp 車両用交流発電機

Patent Citations (3)

* Cited by examiner, † Cited by third party
Publication number Priority date Publication date Assignee Title
JP2002142424A (ja) * 2000-11-02 2002-05-17 Hitachi Ltd 車両用交流発電機
JP2003023759A (ja) * 2001-07-04 2003-01-24 Denso Corp 車両用交流発電機
JP2003180048A (ja) * 2002-09-24 2003-06-27 Denso Corp 車両用交流発電機

Cited By (1)

* Cited by examiner, † Cited by third party
Publication number Priority date Publication date Assignee Title
US11051433B2 (en) 2018-01-11 2021-06-29 Denso Corporation Rectifier of rotating electric machine

Also Published As

Publication number Publication date
JP5256892B2 (ja) 2013-08-07

Similar Documents

Publication Publication Date Title
KR100268097B1 (ko) 열 전도성 부재를 갖는 전기 회전 장치
JP4650528B2 (ja) 車両用回転電機
WO2011111246A1 (ja) 車両用交流発電機
JP2010514405A (ja) 回転電気機械の電流を整流するための装置、およびこのような装置を有する回転電気機械
WO2015112691A1 (en) B+ mounted integrated active rectifier electronics
CN101924422B (zh) 车用交流发电机及装载在该发电机的整流装置的制造方法
JP4089917B2 (ja) 車両用電動発電機
US7570488B2 (en) Alternator rectifier
JP4931739B2 (ja) 車両用交流発電機
JPWO2016079866A1 (ja) 車両用交流発電機
JP3975974B2 (ja) 車両用交流発電機
JP5256892B2 (ja) 車両用回転電機
JP3666480B2 (ja) 車両用交流発電機
JP5418861B2 (ja) 車両用交流発電機
JP2010239727A (ja) 車両用交流発電機及び車両用発電電動装置
JP5083665B2 (ja) 車両用回転電機
JP4121093B2 (ja) 車両用電動発電機
JP3707476B2 (ja) 車両用交流発電機
JP2007166900A (ja) 車両用電源装置
JP4692439B2 (ja) 車両用交流発電機
JP4487739B2 (ja) 車両用交流発電機
JP4475215B2 (ja) 車両用交流発電機
JP2003244913A (ja) 車両用交流発電機の電圧制御装置
JP2005508130A (ja) 電気機械、有利には自動車用三相交流オルタネータ
CN107710560A (zh) 旋转电机以及调节器的制造方法

Legal Events

Date Code Title Description
A621 Written request for application examination

Free format text: JAPANESE INTERMEDIATE CODE: A621

Effective date: 20100907

A977 Report on retrieval

Free format text: JAPANESE INTERMEDIATE CODE: A971007

Effective date: 20120907

A131 Notification of reasons for refusal

Free format text: JAPANESE INTERMEDIATE CODE: A131

Effective date: 20121002

A521 Request for written amendment filed

Free format text: JAPANESE INTERMEDIATE CODE: A523

Effective date: 20121018

TRDD Decision of grant or rejection written
A01 Written decision to grant a patent or to grant a registration (utility model)

Free format text: JAPANESE INTERMEDIATE CODE: A01

Effective date: 20130326

A61 First payment of annual fees (during grant procedure)

Free format text: JAPANESE INTERMEDIATE CODE: A61

Effective date: 20130408

FPAY Renewal fee payment (event date is renewal date of database)

Free format text: PAYMENT UNTIL: 20160502

Year of fee payment: 3

R151 Written notification of patent or utility model registration

Ref document number: 5256892

Country of ref document: JP

Free format text: JAPANESE INTERMEDIATE CODE: R151

R250 Receipt of annual fees

Free format text: JAPANESE INTERMEDIATE CODE: R250

R250 Receipt of annual fees

Free format text: JAPANESE INTERMEDIATE CODE: R250

R250 Receipt of annual fees

Free format text: JAPANESE INTERMEDIATE CODE: R250

R250 Receipt of annual fees

Free format text: JAPANESE INTERMEDIATE CODE: R250

R250 Receipt of annual fees

Free format text: JAPANESE INTERMEDIATE CODE: R250

LAPS Cancellation because of no payment of annual fees