JP2010016862A - ブラウジングディスプレイを有する番組ガイドシステム - Google Patents

ブラウジングディスプレイを有する番組ガイドシステム Download PDF

Info

Publication number
JP2010016862A
JP2010016862A JP2009211098A JP2009211098A JP2010016862A JP 2010016862 A JP2010016862 A JP 2010016862A JP 2009211098 A JP2009211098 A JP 2009211098A JP 2009211098 A JP2009211098 A JP 2009211098A JP 2010016862 A JP2010016862 A JP 2010016862A
Authority
JP
Japan
Prior art keywords
program
user
channel
television
list
Prior art date
Legal status (The legal status is an assumption and is not a legal conclusion. Google has not performed a legal analysis and makes no representation as to the accuracy of the status listed.)
Granted
Application number
JP2009211098A
Other languages
English (en)
Other versions
JP5099925B2 (ja
Inventor
Kevin D Satterfield
ディー. サターフィールド ケビン
Thomas R Lemmons
アール. レモンズ トーマス
Jennifer E Nelson
イー. ネルソン ジェニファー
Connie T Marshall
ティー. マーシャル コニー
Brent E Perry
イー. ペリー ブレント
Current Assignee (The listed assignees may be inaccurate. Google has not performed a legal analysis and makes no representation or warranty as to the accuracy of the list.)
Adeia Guides Inc
Original Assignee
United Video Properties Inc
Priority date (The priority date is an assumption and is not a legal conclusion. Google has not performed a legal analysis and makes no representation as to the accuracy of the date listed.)
Filing date
Publication date
Family has litigation
First worldwide family litigation filed litigation Critical https://patents.darts-ip.com/?family=26733642&utm_source=google_patent&utm_medium=platform_link&utm_campaign=public_patent_search&patent=JP2010016862(A) "Global patent litigation dataset” by Darts-ip is licensed under a Creative Commons Attribution 4.0 International License.
Application filed by United Video Properties Inc filed Critical United Video Properties Inc
Publication of JP2010016862A publication Critical patent/JP2010016862A/ja
Application granted granted Critical
Publication of JP5099925B2 publication Critical patent/JP5099925B2/ja
Anticipated expiration legal-status Critical
Expired - Lifetime legal-status Critical Current

Links

Images

Classifications

    • HELECTRICITY
    • H04ELECTRIC COMMUNICATION TECHNIQUE
    • H04NPICTORIAL COMMUNICATION, e.g. TELEVISION
    • H04N21/00Selective content distribution, e.g. interactive television or video on demand [VOD]
    • H04N21/40Client devices specifically adapted for the reception of or interaction with content, e.g. set-top-box [STB]; Operations thereof
    • H04N21/43Processing of content or additional data, e.g. demultiplexing additional data from a digital video stream; Elementary client operations, e.g. monitoring of home network or synchronising decoder's clock; Client middleware
    • H04N21/431Generation of visual interfaces for content selection or interaction; Content or additional data rendering
    • HELECTRICITY
    • H04ELECTRIC COMMUNICATION TECHNIQUE
    • H04NPICTORIAL COMMUNICATION, e.g. TELEVISION
    • H04N21/00Selective content distribution, e.g. interactive television or video on demand [VOD]
    • H04N21/40Client devices specifically adapted for the reception of or interaction with content, e.g. set-top-box [STB]; Operations thereof
    • H04N21/41Structure of client; Structure of client peripherals
    • H04N21/422Input-only peripherals, i.e. input devices connected to specially adapted client devices, e.g. global positioning system [GPS]
    • H04N21/42204User interfaces specially adapted for controlling a client device through a remote control device; Remote control devices therefor
    • H04N21/42206User interfaces specially adapted for controlling a client device through a remote control device; Remote control devices therefor characterized by hardware details
    • HELECTRICITY
    • H04ELECTRIC COMMUNICATION TECHNIQUE
    • H04NPICTORIAL COMMUNICATION, e.g. TELEVISION
    • H04N21/00Selective content distribution, e.g. interactive television or video on demand [VOD]
    • H04N21/40Client devices specifically adapted for the reception of or interaction with content, e.g. set-top-box [STB]; Operations thereof
    • H04N21/43Processing of content or additional data, e.g. demultiplexing additional data from a digital video stream; Elementary client operations, e.g. monitoring of home network or synchronising decoder's clock; Client middleware
    • H04N21/431Generation of visual interfaces for content selection or interaction; Content or additional data rendering
    • H04N21/4312Generation of visual interfaces for content selection or interaction; Content or additional data rendering involving specific graphical features, e.g. screen layout, special fonts or colors, blinking icons, highlights or animations
    • H04N21/4316Generation of visual interfaces for content selection or interaction; Content or additional data rendering involving specific graphical features, e.g. screen layout, special fonts or colors, blinking icons, highlights or animations for displaying supplemental content in a region of the screen, e.g. an advertisement in a separate window
    • HELECTRICITY
    • H04ELECTRIC COMMUNICATION TECHNIQUE
    • H04NPICTORIAL COMMUNICATION, e.g. TELEVISION
    • H04N21/00Selective content distribution, e.g. interactive television or video on demand [VOD]
    • H04N21/40Client devices specifically adapted for the reception of or interaction with content, e.g. set-top-box [STB]; Operations thereof
    • H04N21/47End-user applications
    • HELECTRICITY
    • H04ELECTRIC COMMUNICATION TECHNIQUE
    • H04NPICTORIAL COMMUNICATION, e.g. TELEVISION
    • H04N21/00Selective content distribution, e.g. interactive television or video on demand [VOD]
    • H04N21/40Client devices specifically adapted for the reception of or interaction with content, e.g. set-top-box [STB]; Operations thereof
    • H04N21/47End-user applications
    • H04N21/472End-user interface for requesting content, additional data or services; End-user interface for interacting with content, e.g. for content reservation or setting reminders, for requesting event notification, for manipulating displayed content
    • H04N21/4722End-user interface for requesting content, additional data or services; End-user interface for interacting with content, e.g. for content reservation or setting reminders, for requesting event notification, for manipulating displayed content for requesting additional data associated with the content
    • HELECTRICITY
    • H04ELECTRIC COMMUNICATION TECHNIQUE
    • H04NPICTORIAL COMMUNICATION, e.g. TELEVISION
    • H04N21/00Selective content distribution, e.g. interactive television or video on demand [VOD]
    • H04N21/40Client devices specifically adapted for the reception of or interaction with content, e.g. set-top-box [STB]; Operations thereof
    • H04N21/47End-user applications
    • H04N21/475End-user interface for inputting end-user data, e.g. personal identification number [PIN], preference data
    • HELECTRICITY
    • H04ELECTRIC COMMUNICATION TECHNIQUE
    • H04NPICTORIAL COMMUNICATION, e.g. TELEVISION
    • H04N21/00Selective content distribution, e.g. interactive television or video on demand [VOD]
    • H04N21/40Client devices specifically adapted for the reception of or interaction with content, e.g. set-top-box [STB]; Operations thereof
    • H04N21/47End-user applications
    • H04N21/482End-user interface for program selection

Landscapes

  • Engineering & Computer Science (AREA)
  • Multimedia (AREA)
  • Signal Processing (AREA)
  • Human Computer Interaction (AREA)
  • Databases & Information Systems (AREA)
  • Business, Economics & Management (AREA)
  • Marketing (AREA)
  • Two-Way Televisions, Distribution Of Moving Picture Or The Like (AREA)
  • Digital Computer Display Output (AREA)
  • Circuits Of Receivers In General (AREA)
  • Details Of Television Systems (AREA)

Abstract

【課題】ユーザが番組ガイドに指令してブラウジングディスプレイスクリーンを表示し得るインタラクティブなテレビジョン番組ガイドシステムを提供する。
【解決手段】ブラウジングディスプレイスクリーンは、移動可能な強調表示領域、システムが現在チューニングしているテレビジョン番組を含む映像ウィンドウ、および強調表示された番組リスト項目の詳細な説明を含む現在の番組のリストを含む。ユーザは、リモコンのカーソルキーを用いて強調表示領域を位置決めし得る。ユーザはその後選択キーまたはチャンネル上下キーを押すことで映像ウィンドウの内容と強調表示された番組リスト項目とを同期し得る。ユーザがチャンネル上下キーを用いてチャンネルを繰返し変更しても、映像ウィンドウの内容と強調表示された番組リスト項目は同期した状態のままである。
【選択図】図6

Description

(発明の背景)
本発明は、インタラクティブなテレビジョン番組ガイドシステムに関する。より詳細には本発明は、利用可能なテレビジョン番組をブラウジングするときに使用され得るディスプレイスクリーンを有するテレビジョン番組ガイドシステムに関する。番組リストおよび関連映像ウィンドウがディスプレイスクリーン内に同時に表示され得る。
ケーブル、衛星、および放送テレビジョンシステムは、視聴者に多数のテレビジョンチャンネルを提供する。伝統的には視聴者は、特定の時刻において放送されている番組を決定するために、印刷されたテレビジョン番組スケジュールを参照していた。より最近では、視聴者のテレビジョン上にテレビジョン番組情報を表示することを可能にする、インタラクティブな電子テレビジョン番組ガイドが開発されている。
インタラクティブ番組ガイドは典型的には、セットトップボックス上で実現される。そのような番組ガイドは、ユーザがテレビジョン番組リスト項目を異なる表示フォーマットで見ることを可能にする。例えば、ユーザは、番組ガイドに命令してチャンネル順または時間順に整理された番組リスト項目のグリッドまたは表を表示することができる。ユーザはまた、ジャンル別(例えば、映画、スポーツ等)またはタイトル別(すなわち、アルファベット順)に番組リスト項目を探索またはソートし得る。ユーザは、所望の番組リスト項目上に強調表示領域を位置決めして「情報」ボタンを押すことにより、番組の付加情報を入手し得る。ユーザは、番組リスト項目上に強調表示領域を位置決めして「OK」ボタンを押すことにより、番組ガイドから有料番組を購入し得る。いくつかのシステムは、番組リスト項目上に強調表示領域を位置決めして「録画」ボタンを押すことにより、ユーザが録画のために番組を選択するのを可能にする。
いくつかの番組ガイドは、ユーザが現在の番組内容リストをテレビジョンチャンネルの一番上のオーバーレイとしてそのユーザのディスプレイスクリーン上に表示することを可能にする。このようなシステムにより、ユーザは、4分の1のスクリーンウィンドウにおいてシステムがチューニングしている番組をモニタしながら、その番組内容リストを通して強調表示領域をスクロールし得る。強調表示された番組の説明も提供される。
このタイプのシステムは強調表示された番組を用いてテレビジョンチャンネルの映像とその説明文とを完全に同期させた状態を常時維持する。強調表示領域が新しい番組リスト項目上に再位置決めされる度に、システムはその番組のテレビジョンチャンネルに自動的にチューニングする。ユーザは、最初にチューニングしたチャンネル上の内容を見失わずに番組リスト項目内をブラウジングすることはできない。さらに、このタイプのシステムが表示する番組リストは現在の番組だけではなく将来放送予定の番組のための番組情報のセルも有するため、ディスプレイを混乱させやすい。
ユーザが現在の番組内容情報をテレビジョンチャンネルの一番上のオーバーレイとして表示することを可能にする別の番組ガイド機能は、所謂ブラウズ機能と呼ばれ、幾つかの番組ガイドにおいて利用可能である。このタイプの構成により、ユーザには単一の番組リスト項目のタイトルのみが提示され、これによりユーザは複数のリスト項目を一度に見ることができない。タイトル情報はまた、放送中のテレビジョンチャンネルの一部を不明瞭にし、これによりそのチャンネルをモニタするユーザの能力が妨げられる。ブラウズディスプレイスクリーン上に番組説明はリストされていない。ユーザがブラウズディスプレイ上にリストされた番組タイトルに興味を持った場合、ユーザは選択キーを押すことによりそのチャンネルにチューニングし得る。しかし、そうすると、番組ガイドがブラウズモードを終了する。
従って、本発明の目的は、向上したブラウジング性能を有する番組ガイドシステムを提供することである。
(発明の要旨)
本発明の上記およびその他の目的は、ユーザが番組ガイドに指令してブラウジングディスプレイスクリーンを表示し得るインタラクティブなテレビジョン番組ガイドシステムを提供することにより、本発明の原理に基づいて達成される。ブラウジングディスプレイスクリーンは、現在放送中の番組についての情報を含む。
ブラウジングディスプレイは、現在放送中の番組の番組リスト項目のみを含む番組リストを含む。現在放送されていない将来の番組は、このリストには含まれていない。この番組リストは、ユーザがカーソルキー、ページ上下キー、チャンネル上下キー、および数字キーを用いて位置決めし得る強調表示領域を含む。
ブラウジングディスプレイはまた、システムが現在チューニングしているチャンネルのテレビジョン番組の映像が表示される映像ウィンドウを含む。映像ウィンドウは、いかなるオーバーレイ情報によってもさえぎられることはない。
ブラウジングディスプレイはまた、強調表示された番組の詳細な説明も含む。この詳細な説明は、あらすじ、レーティング指定、批評家による格付け、放送時間、出演者等を含み得る。
ユーザがカーソルキーまたはページ上下キーを用いて強調表示領域を位置決めするとき、強調表示された番組に対応して詳細な説明は自動的に更新される。しかし、映像ウィンドウ内に表示されたテレビジョン番組は変更されない。このことは、ユーザが、番組リスト項目をブラウジングしながら映像ウィンドウ内の番組を継続して見ることを可能にする。映像ウィンドウの内容は、リモコンの選択キーまたはチャンネル上下キーを押すことにより、強調表示された番組と同期され得る。
ユーザがチャンネル上下キーのみを用いて強調表示領域を位置決めすると、映像ウィンドウの内容および強調表示領域は常時、同期した状態に維持される。このことは、ユーザが映像ウィンドウ内の番組を視聴しながら様々な番組のタイトルおよび詳細な説明をブラウジングすることを可能にする。
番組ガイドは、強調表示された番組に関する付加情報を供給するための情報ディスプレイを提供し得る。番組ガイドは、「情報」キーを押すことにより番組ガイドに指令して付加情報を表示する機会をユーザに提供する。
本発明のさらなる特徴、その性質および様々な利点は、付属の図面および以下の好適な実施形態の詳細な説明を読むことにより、より明らかになるであろう。
図1は、強調表示領域と常時同期されている番組内容を含む強調表示領域および映像ウィンドウを有する番組リストを備えた従来の番組ガイドのディスプレイスクリーンである。 図2は、現在システムがチューニングしているチャンネル以外のチャンネルに関する番組のタイトルをユーザが視聴し得るブラウズ機能を有する従来の番組ガイドのディスプレイスクリーンである。 図3は、本発明によるインタラクティブなテレビジョン番組ガイドを実現したシステムの図である。 図4は、本発明の番組ガイドシステムと共に用いられるリモコンの一例の図である。 図5は、ディスプレイスクリーンの一例であり、本発明により、映像ウィンドウを用いて強調表示されたチャンネルの番組を表示しながら強調表示領域を番組リストの一番上の位置に最初に位置決めした状態を示す。 図6は、ディスプレイスクリーンの一例であり、本発明により、映像ウィンドウ内に表示されている番組を変えることなく、強調表示領域を図5の番組リスト内の最初の一番上の位置から同リスト内の他の場所へ移動した状態を示す。 図7は、ディスプレイスクリーンの一例であり、本発明により、図6に示すようにユーザが強調表示領域を再位置決めした後で、ユーザが映像ウィンドウの内容を強調表示された番組と同期した状態を示す。 図8は、ディスプレイスクリーンの一例であり、本発明により、リスト内の強調表示された番組と映像ウィンドウとを、チャンネル上下キーを用いて同期させた状態を示す。 図9は、ディスプレイスクリーンの一例であり、本発明により、ユーザがページ上下キーを用いて番組リストをスクロールさせた状態を示す。 図10は、ディスプレイスクリーンの一例であり、本発明により、チャンネル上下キーを用いた同期動作によって、番組リストが、ディスプレイスクリーン上に表示されていない番組リスト項目を強調表示する場合に、強調表示領域をリストの一番上に再位置決めした状態を示す。 図11は、本発明による、情報スクリーンの一例である。 図12は、本発明による、ブラウジングディスプレイスクリーンを提供する際の工程のフローチャートである。
(好適な実施形態の詳細な説明)
従来の番組ガイドは、ユーザが興味のある番組内容をブラウジングするのを可能にする様々な番組リスト項目ディスプレイスクリーンを有する。図1に示すように、このような従来の番組ガイドは、テレビジョン番組リスト項目のグリッド10および映像ウィンドウを表示する。水平方向において、このグリッド内の番組リスト項目は予定放送時刻別に整理されている(例えば、7:00、7:30、および8:00)。垂直方向において、番組リスト項目はチャンネル順に整理されている。強調表示領域14は、興味の対象となる番組リスト項目上にユーザにより位置決めされ得る。ユーザは、強調表示領域を移動してグリッド10内のリスト項目を通してスクロールまたはパンすることにより、他のチャンネルおよび他の時間の情報を視聴し得る。ただし、映像ウィンドウ12の内容は、強調表示領域14と常時同期状態で維持されている。強調表示領域14が移動する度に、映像ウィンドウ12内の番組は強調表示された番組へと変更される。説明ウィンドウ16内には、現在強調表示されている番組の説明が表示される。
図1の構成に関連する欠点はたくさんある。特に、番組リスト項目グリッド10は水平方向に複数のグリッドセルを有する。ユーザが現在放送中の番組内容にしか興味を持っていない場合、図1のグリッド内の余分なセル(すなわち、将来の番組内容のセル)は、単にディスプレイを混乱させるだけである。加えて、映像ウィンドウ12および強調表示領域14の内容は継続的に同期されているので、ユーザは映像ウィンドウ12内の番組を変更せずに強調表示領域を移動して他の番組リスト項目を通してブラウジングすることができない。このことは、ユーザがリスト項目のブラウジング中に興味の対象となる特定の番組に充分な注意を払うことを妨げる。
図2は、ユーザが番組リスト項目をブラウジングし得る別の従来の番組ガイド構成を示す。図2の構成において、現在のチャンネルを変えることなく番組リスト項目を通してブラウジングすることが所望される場合、ユーザはブラウズモードを呼び出し得る。この番組ガイドは、現在のチャンネル22の一番上にオーバーレイされるブラウズディスプレイ20を提示する。ユーザは、カーソルキーを用いてブラウズチャンネル26およびブラウズ時間28を変更し、現在のチャンネル22以外のチャンネルの単一番組タイトル24を視聴することができる。
しかし、図2のブラウズ構成は、ユーザが同時に複数の番組タイトルを見ることを可能にせず、これにより多数のリスト項目をブラウジングすることが非効率になりがちになる。その上、ユーザはブラウズモードを終了することなく興味の対象となるチャンネルにチューニングすることができない。ユーザはまた、番組ガイドにおいて付加的な行動をとらずに強調表示された番組の詳細な番組説明を視聴することができない。
それとは対照的に、本発明は、ユーザが興味の対象となるテレビジョンチャンネルを映像ウィンドウ内で視聴しながら強調表示領域によって現在利用可能な番組の番組リストをブラウジングすることを可能にするブラウジングディスプレイを有する番組ガイドを提供する。この番組リストは、幅方向(すなわち、時間方向)において単一のセルであり、長手方向(すなわち、チャンネル方向)において複数のセルである。強調表示された番組リスト項目の説明を表示するために、詳細な番組の説明ウィンドウが提供される。ユーザが強調表示された番組リスト項目の番組を視聴することを所望する場合、ユーザはブラウズディスプレイを終了することなく映像ウィンドウの内容と強調表示されたリスト項目とを同期することができる。
図3は、本発明による番組ガイドシステム30の一例である。主設備32は、テレビジョン番組ガイドリスト項目データ、ペイパービュー方式の注文情報、テレビジョン番組プロモーション情報等の番組ガイド情報を格納する番組ガイドデータベース34を含む。データベース34からの情報は、通信リンク38を介してテレビジョン配信設備36へ伝送され得る。リンク38は、衛星リンク、電話ネットワークリンク、ケーブルもしくは光ファイバリンク、マイクロ波リンク、これらの組み合わせ、またはその他任意の適切な通信経路であり得る。データ信号に加えて映像信号をリンク38を通じて伝送することが所望される場合、電話線等の比較的低い帯域幅よりも衛星リンク等の比較的高い帯域幅の方が一般的には好適である。
テレビジョン配信設備36は、ケーブルシステムヘッドエンド、放送配信設備、または衛星テレビジョン配信設備等のテレビジョン信号をユーザに配信するための設備である。
主設備32によりテレビジョン配信設備36へ伝送される番組ガイド情報は、現在および将来のテレビジョン番組についてのテレビジョン番組リスト項目データを含む。各番組についてのテレビジョン番組リスト項目データは、好適には(しかしこれらに限らず)番組のタイトル、番組のチャンネル、予定放送時刻(開始時刻)および終了時刻(または継続時間)を含む。その他の典型的な番組リスト項目データは、レーティング指定、批評家による格付け、説明、ジャンル(スポーツ、映画、子供向け等)、出演者等を含む。伝送される番組情報はまた、個々の番組および加入チャンネルのための価格情報、番組およびチャンネルを注文するためのタイムウィンドウ(time windows)、衝動注文ができないもの(impulse ordered)を注文するための電話番号等の広告情報および有料番組データも含み得る。
テレビジョン配信設備36は、テレビジョン番組内容および番組ガイド情報を通信経路42を介して複数のユーザのユーザテレビジョン機器40へ配信する。例えば、テレビジョン番組内容はアナログテレビジョンチャンネルを通じて配信され、番組ガイドデータは経路42上の帯域外チャンネルを通じて配信され得る。データ配信はまた、経路42上の1つ以上のデジタルチャンネルを使用することを伴い得る。このようなデジタルチャンネルはまた、テレビジョン番組内容およびその他の情報を配信するのに使用され得る。ユーザテレビジョン機器40は典型的にはセットトップボックス44を含む。複数のテレビジョンおよびオーディオチャンネル(アナログ、デジタル、またはアナログおよびデジタルの両方)が、通信経路42を介してセットトップボックス44へ提供され得る。所望ならば番組リスト項目およびその他の情報は、通信経路42と別の通信経路を用いてテレビジョン配信設備36と同様の別の1つ以上の配信設備により配信され得る。
有料番組購入等のある種の機能は、データを通信経路42を通じてテレビジョン配信設備36へ伝送するためにセットトップボックス44を必要とし得る。所望ならば、このようなデータは電話回線またはその他の別個の通信経路を通じて伝送され得る。これらのような機能がテレビジョン配信設備36とは別個の設備を用いて提供される場合、セットトップボックス44を用いた通信の一部はこれらの別個の設備と直接的に為され得る。
各ユーザは受信機を有する。受信機は、典型的にはセットトップボックス44内にあるが、セットトップボックス回路と同様の回路が組み込まれた別の適切なテレビジョン機器であってよい。番組ガイドデータは、セットトップボックス44に定期的に配信される。テレビジョン配信設備36はまた、セットトップボックス44の或る種の情報(例えば、有料番組アカウント情報またはローカルに生成された認可技術を用いて購入されて視聴された番組に関する情報)を定期的に調査する。主設備32は好適には情報配信タスクを処理するためのプロセッサを含む。各セットトップボックス44は好適には、セットトップボックス44上でインタラクティブテレビジョン番組ガイドを実現することに関連するタスクを処理するためのプロセッサを含む。テレビジョン配信設備36は、セットトップボックス44上で実現されるユーザとインタラクティブ番組ガイドとの間のインタラクションをモニタすることに関連するタスクのため、ならびにユーザテレビジョン機器40への番組ガイドデータおよびその他の情報の配信に関連するタスクを処理するためのプロセッサを含み得る。
各セットトップボックス44は、選択されたテレビジョン番組を録画できるようにビデオカセットレコーダ46に接続され得る。各ビデオカセットレコーダ46は、テレビジョン48に接続され得る。番組を録画するには、セットトップボックス44は特定のチャンネルにチューニングし、ビデオカセットレコーダ46に指令して録画を適当な時間に開始および停止する制御信号を(例えば、赤外線送信機を用いて)ビデオカセットレコーダ46に送る。
セットトップボックス44上で実現されるインタラクティブテレビジョン番組ガイドを使用している間、テレビジョン番組リスト項目およびその他の情報がテレビジョン48上に表示され得る。このような番組ガイド表示は、ユーザがセットトップボックス44を用いてチューニングしたテレビジョン番組の上に提示されてもよいし、またはこのような番組の代わりに提示されてもよい。セットトップボックス44、ビデオカセットレコーダ46、およびテレビジョン48の各々は、1つ以上のリモコン50または無線キーボード、マウス、トラックボール、専用ボタンセット等のその他任意の適切なユーザ入力インターフェースにより制御され得る。
図4は、リモコン50の一例を示す。通常の動作では、チャンネル上下キー(チャンネルキー)52を用いて、セットトップボックス44がチューニングしているチャンネルを変えることができる。上下左右カーソルキー54を用いて、番組ガイドが提示する様々なスクリーン上のメニューおよび番組リスト上に強調表示領域を位置決めすることができる。ページ上下キー56を用いて、カーソルキー54よりも大きな移動幅で番組リスト項目を通してスクロールすることができる。選択キー58を用いて、メニュー選択を行うことができる。数字キー60を用いて、通常のテレビジョン視聴中に所望のテレビジョンチャンネルに直接チューニングしたり、または番組リスト内に強調表示領域を位置決めすることができる。「TVに戻る」キー62を用いて、番組ガイドを終了してセットトップボックス44に現在のチャンネルのテレビジョン番組内容をテレビジョン48上に表示させることができる。「戻る」キー64を番組ガイドにおいて用いて、前回のディスプレイスクリーンに戻ることができる。情報キー66は、ユーザが興味の対象となる番組リスト項目を強調表示しているときにそのリスト項目の付加情報を所望する場合に押され得る。その他の様々なキー(図示せず)が、電力制御、ビデオカセットレコーダ(VCR)機能、音量操作等の機能のために使用され得る。図4のリモコン50のキーは、単に適切なリモコン構成の一例を代表しているだけである。所望ならばその他任意の適切なリモコンキー構成が使用され得る。
図5に示すように、ユーザは番組ガイドに指令してディスプレイスクリーン72上にブラウジングディスプレイ70を提示させて、これによりユーザは映像ウィンドウ76においてテレビジョン番組を視聴しながら同時に現在の番組のリスト74を視聴することができる。ユーザは、メニュー選択を行ったりまたは好適には選択キー58等のリモコン50上の専用ボタンを押したりすること等の任意の適切な技術を用いてブラウジングディスプレイモードを呼び出し得る。
番組リスト74は好適には、幅方向(すなわち、時間方向)において単一のセルまたは要素のみであり、長手方向(すなわち、チャンネル方向)において複数のセルまたは要素である。番組リスト74は、現在放送されている番組(すなわち、ケーブル、衛星または従来の放送を介して図3のテレビジョン配信設備36により提供されているもの)のみを含む。従って、リスト74は将来の番組内容に関する情報を含むセルにより混乱されない。リスト74は垂直方向に複数の番組リスト項目を含んでいるので、ユーザは比較的多数の番組リストを一度にざっと見ることができる。現在の番組内容のみを表示することによりリスト74を簡略化し、かつ複数の番組リスト項目を垂直方向において使用することにより、ユーザが大量の現在利用可能な番組の番組リスト項目を迅速にブラウジングする能力が高くなる。
ブラウジングディスプレイ70は好適には、強調表示領域80により現在強調表示されている番組リスト項目に関連する番組の詳細な説明文を含む詳細な番組説明ボックス78を含む。例えば、図5に示す構成においては、「Jeff Fenholt」という番組が強調表示されているので、詳細な番組説明ボックス78はJeff Fenholtという番組の詳細な説明を含んでいる。強調表示領域は、影の付け方、色、もしくはパターンが異なる領域、ポインタ、箱形の外形、またはその他任意の適切な興味の対象となる番組を視覚的に示すものであり得る。
ユーザは、強調表示領域80をリスト74中の任意の番組リスト項目上に位置決めし得る。強調表示領域80は、任意の適切な技術を用いて位置決めされ得る。例えば、強調領域80は上下カーソルキー54aおよび54b(図4)を用いて位置決めされ得る。強調表示領域80を、数字キー60を用いて興味の対象となるリスト項目上に位置決めしてもよい。
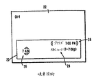
ユーザがカーソルキー54または数字キー60を用いて強調表示領域80の位置を変更するとき、映像ウィンドウ76の内容は変化しない。強調領域80をリスト74内で再位置決めすることを越えた行動をユーザが取らない限り、セットトップボックス44が現在チューニングしているチャンネルのテレビジョン番組は、映像ウィンドウ76中に表示され続ける。図6はこのことを示す。ユーザは強調表示領域80を図6のブラウジングディスプレイ中のチャンネル19の番組リスト項目の一番上に位置決めしたが、映像ウィンドウ76内の映像はチャンネル17にチューニングされたままである。従って映像ウィンドウ76の内容は必ずしも現在強調表示されている番組と同期した状態であるとは限らない。しかし、強調表示領域80が再位置決めされる度に、番組説明78は直ちに更新され現在強調表示されている番組の情報を表示する。この構成は、ユーザが番組リスト項目およびその自動表示された説明をブラウジングしながら興味の対象となるテレビジョンチャンネルのさえぎられることのない映像を視聴することを可能にする。
リスト74内の番組リスト項目をブラウジングしているユーザが特定の番組に興味を持った場合、そのユーザは番組ガイドに指令して映像ウィンドウ76を更新しその番組の映像を表示することができる。例えば、ユーザが番組の説明を読んだ後にチャンネル19の番組に興味を持った場合、そのユーザは選択キー58(図4)等のキーを押し得る。図7に示すように、選択キー58が押されると、番組ガイドは、映像ウィンドウ76中の現在のチャンネル(チャンネル17)の映像をこの新しい興味の対象となるチャンネルの映像(チャンネル19)と置換する。このようにすれば、映像ウィンドウ76の内容を強調表示された番組と同期することができる。
映像ウィンドウ76の内容を強調表示領域80と同期させる別の方法は、チャンネル上下キー52(図4)を用いることである。例えば、図6に示すように映像ウィンドウ76がチャンネル17にチューニングされているときにユーザがチャンネル19を強調表示した場合、チャンネル上キー52(図4)を押すと図8に示すように結果的にその番組ガイドは強調表示領域80をチャンネル19の番組リスト項目「Classic Arts Showcase」からチャンネル18の番組リスト項目「Original Gangstas」へと移動させる。同時に、映像ウィンドウ76内の番組は、強調表示領域80により強調表示された番組に合わせてチャンネル18の番組と置換され、これにより映像ウィンドウ76と強調表示領域80とが同期する。
チャンネル上キー54を用いると、概して通常のテレビジョン視聴中においてシステムは1つ大きい数字のチャンネルにチューニングすることを引き起こすが、チャンネル上キー54を用いてリスト74内での強調表示領域80を移動させる場合には、チャンネル上キー54を押すとシステムは1つ小さい数字のチャンネルにチューニングする。この構成により、強調表示領域の移動方向はチャンネル上下キーの方向と一致する。ユーザにとっては強調表示領域の移動方向が逆転している場合よりもこの方が分かりやすい。
ユーザが強調表示領域80をリスト74の一番上または一番下の番組に位置決めしたときに、強調表示領域をさらに移動させようとすると番組ガイドはリストをスクロールさせ得る。例えば、図8において下カーソルキー54を用いて強調表示領域80をリスト74内の一番下の番組位置(チャンネル22)へ移動した場合、下カーソルキーをもう一度押すと、番組ガイドはリスト内の次の番組(すなわち、チャンネル23の番組)をリスト74の一番下の要素として表示し、リスト内の他の全ての番組の位置は1つ上に移動する。反対方向へのスクロール動作も同様に為される。
ユーザがリスト74内の番組リスト項目をブラウジングし得る別の方法は、ページ上下キー56を用いることである。ページ上下キーを用いれば、ユーザはカーソルキーを用いる場合よりも高速にリスト項目を通してブラウジングできる。番組ガイドは好適には、ページキーが使用される度にリスト74内の番組間で1要素分重複することを保証する。例えば、強調表示領域80および番組リスト74が図8のような状態のときにユーザがページ下キー56を押すと、図9に示すように、プログラムガイドは、図8のリストの最後の番組(Heavy)を新しいリストの最初の番組としてリスト74を再描画する。強調表示領域80は好適にはリスト74内の一番上の番組上に再位置決めされる。強調表示領域80をページ上下キー56(または数字キー60)を用いて移動しても、番組ガイドは映像ウィンドウ76内の番組を更新しないので、映像ウィンドウ76内の番組は図8のブラウジングディスプレイと同じチャンネルにチューニングされたままである。
チャンネルキー52により強調表示領域80をリスト74内の隣接リスト項目間で上下に移動させる場合は、図7および図8の例に示すように映像ウィンドウ76内に表示される番組は強調表示された番組と同期状態にある。しかし、映像ウィンドウ76内のチャンネルに隣接するチャンネルの番組リスト項目がリスト74内に表示されている番組にまだ含まれていないときにチャンネル上下キー52が押された場合、番組ガイドは適切なチャンネルをリストの一番上にしてリスト74を再描画し得る。例えば、図9のブラウジングディスプレイにおいて、チャンネル18の番組が映像ウィンドウ76内に表示されている。チャンネル上キー52を押すと、図10に示すように番組ガイドはシステムを適切な隣接チャンネル−−チャンネル17−−にチューニングし、そのチャンネルの番組を映像ウィンドウ76内に表示させる。チャンネル17の番組の番組リスト項目(Jeff Fenholt)は図9中のリスト74上に表示されていなかったので、番組ガイドは、強調表示領域80を表示されているリスト内で単純に再位置決めすることができなかった。従って番組ガイドは、リスト74をチャンネル17の番組リスト項目および強調表示領域80をリストの一番上の位置においた状態で表示した。詳細な説明ウィンドウ78内の説明は、やはり強調表示領域と同期されたままである。
番組ガイドは、ユーザが強調表示された番組についての付加情報を入手する機会を提供し得る。例えば番組ガイドは、番組ガイドに指令して付加情報を図11の情報ディスプレイスクリーン82の形式で表示させる図4の情報キー66のような情報キーをユーザが押すことを可能にし得る。情報ディスプレイスクリーン82は、強調表示された番組のタイトル84および詳細な説明86を含み得る。情報ディスプレイスクリーン82においては詳細な説明ウィンドウ78よりもより多くのスペースが利用可能であるため、概して、詳細な説明ウィンドウ78よりも情報ディスプレイスクリーン82へより多くの情報が提供され得る。情報ディスプレイスクリーン82のようなスクリーンへ提供され得る情報は、番組説明、レーティング指定、批評家による格付け、放送時間、出演者等を含む。
情報ディスプレイスクリーン82は、終了オプション88、注文情報オプション90、リマインダ設定オプション92、およびチューニングオプション94のようなメニューオプションを含み得る。ユーザは、強調表示領域96を用いて終了オプション88を選択することにより、または前回表示されたスクリーンを視聴するための「戻る」キー64(図4)を押すことにより、ブラウジングディスプレイ70に戻り得る。ユーザは、注文情報オプション90を選択して、選択した番組の注文に関する情報を視聴することができる。ユーザは、リマインダ設定オプション92を選択して、リマインダを設定することができる。リマインダ設定オプションは例えば、番組がシリーズものでユーザがその番組が次回放送される際に知らせてほしいと希望する場合に使用され得る。チューニングオプション94は、ユーザがリストされた番組にチューニングしたいと希望する場合に選択され得る。
図12のフローチャートは、ブラウジングディスプレイスクリーン機能を提供する際の工程を示す。工程98において、番組ガイドはブラウジングディスプレイモードを呼び出すためのオプションをユーザに提供する。番組ガイドは例えば、ユーザが図4の選択キー58を押すことにより所与のテレビジョンチャンネルを視聴しながらブラウジングディスプレイモードを呼び出すことを可能にし得る。ユーザがブラウジングディスプレイモードを呼び出すと、工程100において番組ガイドはリスト74のような番組リストを表示する。現在のチャンネルの番組リスト項目は好適には、リストの一番上の位置に表示され、適切な強調表示領域により強調表示される。現在のチャンネルの番組は、映像ウィンドウ76内に表示される。
工程102において、番組ガイドは、ユーザが、映像ウィンドウ76内に表示された番組を変えることなく、強調表示領域80を映像ウィンドウ76内に現在表示されている番組の番組リスト項目以外の番組リスト項目上に再位置決めすることを可能にする。詳細な説明ウィンドウ78内の説明は、強調表示された番組リスト項目と同期している。ユーザは、カーソルキー、ページ上下キー、または数字キーを用いることにより映像ウィンドウ76内に表示された番組を変えることなく強調表示領域80を位置決めし得る。情報キー66を押すと、番組ガイドは情報スクリーン82を表示する(工程104)。「TVに戻る」キー62を押すことにより、ユーザが番組ガイドを終了して通常のテレビジョン視聴に戻ることを可能にする(工程106)。
工程102においてユーザが強調表示領域80を新しいチャンネルの番組リスト項目上に位置決めした後に選択キー58を押すと、工程108において番組ガイドはシステムをその新しいチャンネルにチューニングする。新しいチャンネルの番組は、映像ウィンドウ76内に表示される。番組ガイドはまた、強調表示領域80が新しいチャンネルの番組リスト項目上にある状態で番組リスト74を表示し続けるので、映像ウィンドウ76の内容は強調表示された番組と同期状態にある。
工程102においてユーザがチャンネルキー52を上または下に押すと、工程110において番組ガイドはシステムを工程102において映像ウィンドウ76内に表示されていたチャンネルとチャンネル番号が隣接する新しいチャンネルにチューニングする。さらに、工程110において、番組ガイドはその新しい隣接チャンネルの番組リスト項目を強調表示した状態で番組リスト74を表示する。
上記は本発明の原理の単なる一例であり、本発明の範囲および意図を逸脱することなく様々な改変が当業者により為され得る。

Claims (1)

  1. ユーザのテレビジョン機器上で実装されるインタラクティブなテレビジョンガイドシステムであって、本願明細書に記載のテレビジョンガイドシステム。
JP2009211098A 1997-12-08 2009-09-11 ブラウジングディスプレイを有する番組ガイドシステム Expired - Lifetime JP5099925B2 (ja)

Applications Claiming Priority (4)

Application Number Priority Date Filing Date Title
US6795397P 1997-12-08 1997-12-08
US60/067,953 1997-12-08
US09/054,917 US6564378B1 (en) 1997-12-08 1998-04-02 Program guide system with browsing display
US09/054,917 1998-04-02

Related Parent Applications (1)

Application Number Title Priority Date Filing Date
JP2005327998A Division JP2006060872A (ja) 1997-12-08 2005-11-11 ブラウジングディスプレイを有する番組ガイドシステム

Related Child Applications (1)

Application Number Title Priority Date Filing Date
JP2011257292A Division JP2012065351A (ja) 1997-12-08 2011-11-25 ブラウジングディスプレイを有する番組ガイドシステム

Publications (2)

Publication Number Publication Date
JP2010016862A true JP2010016862A (ja) 2010-01-21
JP5099925B2 JP5099925B2 (ja) 2012-12-19

Family

ID=26733642

Family Applications (4)

Application Number Title Priority Date Filing Date
JP2000524922A Expired - Lifetime JP4331890B2 (ja) 1997-12-08 1998-11-12 ブラウジングディスプレイを有する番組ガイドシステム
JP2005327998A Withdrawn JP2006060872A (ja) 1997-12-08 2005-11-11 ブラウジングディスプレイを有する番組ガイドシステム
JP2009211098A Expired - Lifetime JP5099925B2 (ja) 1997-12-08 2009-09-11 ブラウジングディスプレイを有する番組ガイドシステム
JP2011257292A Withdrawn JP2012065351A (ja) 1997-12-08 2011-11-25 ブラウジングディスプレイを有する番組ガイドシステム

Family Applications Before (2)

Application Number Title Priority Date Filing Date
JP2000524922A Expired - Lifetime JP4331890B2 (ja) 1997-12-08 1998-11-12 ブラウジングディスプレイを有する番組ガイドシステム
JP2005327998A Withdrawn JP2006060872A (ja) 1997-12-08 2005-11-11 ブラウジングディスプレイを有する番組ガイドシステム

Family Applications After (1)

Application Number Title Priority Date Filing Date
JP2011257292A Withdrawn JP2012065351A (ja) 1997-12-08 2011-11-25 ブラウジングディスプレイを有する番組ガイドシステム

Country Status (15)

Country Link
US (4) US6564378B1 (ja)
EP (1) EP1038393B1 (ja)
JP (4) JP4331890B2 (ja)
KR (1) KR100545503B1 (ja)
CN (1) CN1127849C (ja)
AT (1) ATE214856T1 (ja)
AU (1) AU740008B2 (ja)
BR (1) BR9813479A (ja)
CA (1) CA2311373C (ja)
DE (1) DE69804351T2 (ja)
ES (1) ES2174514T3 (ja)
IL (1) IL136575A0 (ja)
NO (1) NO20002262L (ja)
RU (1) RU2000118234A (ja)
WO (1) WO1999030491A1 (ja)

Families Citing this family (688)

* Cited by examiner, † Cited by third party
Publication number Priority date Publication date Assignee Title
US6239794B1 (en) 1994-08-31 2001-05-29 E Guide, Inc. Method and system for simultaneously displaying a television program and information about the program
US6418556B1 (en) 1993-09-09 2002-07-09 United Video Properties, Inc. Electronic television program guide schedule system and method
US8793738B2 (en) 1994-05-04 2014-07-29 Starsight Telecast Incorporated Television system with downloadable features
US6769128B1 (en) 1995-06-07 2004-07-27 United Video Properties, Inc. Electronic television program guide schedule system and method with data feed access
US6388714B1 (en) 1995-10-02 2002-05-14 Starsight Telecast Inc Interactive computer system for providing television schedule information
US6002394A (en) 1995-10-02 1999-12-14 Starsight Telecast, Inc. Systems and methods for linking television viewers with advertisers and broadcasters
US6323911B1 (en) 1995-10-02 2001-11-27 Starsight Telecast, Inc. System and method for using television schedule information
US8850477B2 (en) 1995-10-02 2014-09-30 Starsight Telecast, Inc. Systems and methods for linking television viewers with advertisers and broadcasters
US5940073A (en) 1996-05-03 1999-08-17 Starsight Telecast Inc. Method and system for displaying other information in a TV program guide
US5986650A (en) 1996-07-03 1999-11-16 News America Publications, Inc. Electronic television program guide schedule system and method with scan feature
US20030066085A1 (en) 1996-12-10 2003-04-03 United Video Properties, Inc., A Corporation Of Delaware Internet television program guide system
US6687906B1 (en) 1996-12-19 2004-02-03 Index Systems, Inc. EPG with advertising inserts
US8635649B2 (en) 1996-12-19 2014-01-21 Gemstar Development Corporation System and method for modifying advertisement responsive to EPG information
AU6675098A (en) 1997-02-28 1998-09-18 Starsight Telecast Incorporated Television control interface with electronic guide
US9113122B2 (en) 1997-04-21 2015-08-18 Rovi Guides, Inc. Method and apparatus for time-shifting video and text in a text-enhanced television program
JP4062577B2 (ja) 1997-07-21 2008-03-19 ジェムスター ディベロプメント コーポレイション 表示及び記録制御インタフェースのためのシステム及び方法
EP1008260B1 (en) 1997-09-18 2002-05-15 United Video Properties, Inc. Electronic-mail reminder for an internet television program guide
US6604240B2 (en) 1997-10-06 2003-08-05 United Video Properties, Inc. Interactive television program guide system with operator showcase
BR9814251A (pt) 1997-12-01 2000-10-03 Starsight Telecast Inc Sistema eletrônico de guia de programa com mensagens de publicidade em sobreposição
US6886055B2 (en) 1997-12-15 2005-04-26 Clearcube Technology, Inc. Computer on a card with a remote human interface
US7185355B1 (en) 1998-03-04 2007-02-27 United Video Properties, Inc. Program guide system with preference profiles
ES2532838T3 (es) * 1998-03-04 2015-04-01 United Video Properties, Inc. Sistema de guía de programas con monitorización de la utilización de la publicidad y de las actividades del usuario
DE69906954T2 (de) * 1998-03-04 2003-11-06 United Video Properties, Inc. Programmführungssystem mit gezielter werbung
US6564379B1 (en) 1998-04-30 2003-05-13 United Video Properties, Inc. Program guide system with flip and browse advertisements
CN1199441C (zh) * 1998-04-30 2005-04-27 联合视频制品公司 带有广告的节目指南系统
US20020095676A1 (en) 1998-05-15 2002-07-18 Robert A. Knee Interactive television program guide system for determining user values for demographic categories
US6742183B1 (en) 1998-05-15 2004-05-25 United Video Properties, Inc. Systems and methods for advertising television networks, channels, and programs
US6563515B1 (en) 1998-05-19 2003-05-13 United Video Properties, Inc. Program guide system with video window browsing
DE19826501A1 (de) * 1998-06-13 1999-12-16 Thomson Brandt Gmbh Verfahren zur Navigation in einer elektronischen Programmzeitschrift
US6442755B1 (en) 1998-07-07 2002-08-27 United Video Properties, Inc. Electronic program guide using markup language
CN1867068A (zh) 1998-07-14 2006-11-22 联合视频制品公司 交互式电视节目导视系统及其方法
MX340302B (es) 1998-07-17 2016-07-04 Rovi Guides Inc Un sistema de guias de programacion televisiva interactivas que tiene multiples dispositivos dentro de una residencia de un grupo familiar.
JP3642475B2 (ja) 1998-07-17 2005-04-27 ユナイテッド ビデオ プロパティーズ, インコーポレイテッド リモートアクセスを用いた双方向テレビ番組ガイド
AR020608A1 (es) 1998-07-17 2002-05-22 United Video Properties Inc Un metodo y una disposicion para suministrar a un usuario acceso remoto a una guia de programacion interactiva por un enlace de acceso remoto
US8589975B2 (en) * 1998-08-21 2013-11-19 United Video Properties, Inc. Electronic program guide with advance notification
US6898762B2 (en) 1998-08-21 2005-05-24 United Video Properties, Inc. Client-server electronic program guide
TW447221B (en) * 1998-08-26 2001-07-21 United Video Properties Inc Television message system
TW463503B (en) 1998-08-26 2001-11-11 United Video Properties Inc Television chat system
US6934963B1 (en) 1998-09-22 2005-08-23 United Video Properties, Inc. Interactive television program guide with passive content
US7165098B1 (en) 1998-11-10 2007-01-16 United Video Properties, Inc. On-line schedule system with personalization features
US6859799B1 (en) 1998-11-30 2005-02-22 Gemstar Development Corporation Search engine for video and graphics
US6865746B1 (en) 1998-12-03 2005-03-08 United Video Properties, Inc. Electronic program guide with related-program search feature
US7540012B1 (en) * 1999-06-08 2009-05-26 International Business Machines Corporation Video on demand configuring, controlling and maintaining
US7010801B1 (en) 1999-06-11 2006-03-07 Scientific-Atlanta, Inc. Video on demand system with parameter-controlled bandwidth deallocation
US7992163B1 (en) 1999-06-11 2011-08-02 Jerding Dean F Video-on-demand navigational system
US6817028B1 (en) 1999-06-11 2004-11-09 Scientific-Atlanta, Inc. Reduced screen control system for interactive program guide
US6832386B1 (en) * 1999-06-11 2004-12-14 Scientific-Atlanta, Inc. System and method for allowing a user to quickly navigate within a program guide to an established reference point
CN1359591A (zh) 1999-06-28 2002-07-17 英戴克系统公司 利用epg数据库修改广告的系统和方法
WO2001001689A1 (en) 1999-06-29 2001-01-04 United Video Properties, Inc. Method and system for a video-on-demand-related interactive display within an interactive television application
US6647411B2 (en) * 1999-10-29 2003-11-11 Intel Corporation Secure cached subscription service
AU4711601A (en) 1999-12-10 2001-07-03 United Video Properties, Inc. Systems and methods for coordinating interactive and passive advertisement and merchandising opportunities
KR20020062961A (ko) * 1999-12-10 2002-07-31 유나이티드 비디오 프로퍼티즈, 인크. 진보된 셋탑 애플리케이션에서 사용하기 위한 기능들을갖는 대화형 텔레비전 시스템
US20020073423A1 (en) * 1999-12-14 2002-06-13 Haig Krakirian System, method and program product for displaying simultaneously video content and supplemental information without obstructing video content
EP2257061A1 (en) 2000-02-01 2010-12-01 United Video Properties, Inc. Methods and system for forced advertising
EP2309440A1 (en) 2000-03-31 2011-04-13 United Video Properties, Inc. System and method for metadata-linked advertisements
US7096185B2 (en) 2000-03-31 2006-08-22 United Video Properties, Inc. User speech interfaces for interactive media guidance applications
US8578403B2 (en) 2000-03-31 2013-11-05 United Video Properties, Inc. Systems and methods for improved audience measuring
US7975277B1 (en) 2000-04-03 2011-07-05 Jerding Dean F System for providing alternative services
US8516525B1 (en) 2000-06-09 2013-08-20 Dean F. Jerding Integrated searching system for interactive media guide
US7200857B1 (en) 2000-06-09 2007-04-03 Scientific-Atlanta, Inc. Synchronized video-on-demand supplemental commentary
JP4235340B2 (ja) * 2000-04-04 2009-03-11 キヤノン株式会社 情報処理装置及び情報処理方法
US7934232B1 (en) 2000-05-04 2011-04-26 Jerding Dean F Navigation paradigm for access to television services
US8069259B2 (en) 2000-06-09 2011-11-29 Rodriguez Arturo A Managing removal of media titles from a list
US7962370B2 (en) 2000-06-29 2011-06-14 Rodriguez Arturo A Methods in a media service system for transaction processing
US7103906B1 (en) 2000-09-29 2006-09-05 International Business Machines Corporation User controlled multi-device media-on-demand system
AU2002211570A1 (en) 2000-10-11 2002-04-22 United Video Properties, Inc. Systems and methods for caching data in media-on-demand systems
KR20130066712A (ko) 2000-10-11 2013-06-20 유나이티드 비디오 프로퍼티즈, 인크. 매체 콘텐츠 배달 시스템 및 방법
US7340759B1 (en) 2000-11-10 2008-03-04 Scientific-Atlanta, Inc. Systems and methods for adaptive pricing in a digital broadband delivery system
US6907574B2 (en) * 2000-11-29 2005-06-14 Ictv, Inc. System and method of hyperlink navigation between frames
JP4416311B2 (ja) * 2000-11-30 2010-02-17 キヤノン株式会社 表示制御装置、表示制御方法、及び記憶媒体
US7069368B2 (en) * 2000-12-01 2006-06-27 Clearcube Technology, Inc. System of co-located computers in a framework including removable function modules for adding modular functionality
US7096483B2 (en) * 2000-12-21 2006-08-22 Thomson Licensing Dedicated channel for displaying programs
JP2002223396A (ja) * 2001-01-25 2002-08-09 Funai Electric Co Ltd デジタル/アナログ放送受信機におけるチャンネル選択装置
JP2002232795A (ja) * 2001-01-31 2002-08-16 Funai Electric Co Ltd デジタル/アナログ放送受信機のチャンネル選択装置及び同装置を備えたデジタル/アナログ放送受信機
JP2002232793A (ja) * 2001-01-31 2002-08-16 Funai Electric Co Ltd デジタル/アナログ放送受信機のチャンネル選択装置及び同装置を備えたデジタル/アナログ放送受信機
JP2002232796A (ja) * 2001-01-31 2002-08-16 Funai Electric Co Ltd デジタル/アナログ放送受信機のチャンネル選択装置
JP4552333B2 (ja) * 2001-01-31 2010-09-29 船井電機株式会社 デジタル/アナログ放送受信機のチャンネル選択装置及び同装置を備えたデジタル/アナログ放送受信機
US7191402B2 (en) * 2001-05-10 2007-03-13 Samsung Electronics Co., Ltd. Method and apparatus for adjusting contrast and sharpness for regions in a display device
US7526788B2 (en) 2001-06-29 2009-04-28 Scientific-Atlanta, Inc. Graphic user interface alternate download options for unavailable PRM content
US7512964B2 (en) 2001-06-29 2009-03-31 Cisco Technology System and method for archiving multiple downloaded recordable media content
US8006262B2 (en) 2001-06-29 2011-08-23 Rodriguez Arturo A Graphic user interfaces for purchasable and recordable media (PRM) downloads
US7496945B2 (en) 2001-06-29 2009-02-24 Cisco Technology, Inc. Interactive program guide for bidirectional services
US8522278B2 (en) * 2001-08-01 2013-08-27 Jlb Ventures Llc Method for providing program information in a hierarchical manner and interactive program guide system implementing the method
US7650569B1 (en) * 2001-08-29 2010-01-19 Allen Paul G System and method for focused navigation within a user interface
US20030046693A1 (en) * 2001-08-29 2003-03-06 Digeo, Inc. System and method for focused navigation within an interactive television user interface
US7594246B1 (en) 2001-08-29 2009-09-22 Vulcan Ventures, Inc. System and method for focused navigation within a user interface
US7055104B1 (en) * 2002-03-29 2006-05-30 Digeo, Inc. System and method for focused navigation using filters
US7080394B2 (en) * 2001-08-29 2006-07-18 Digeo, Inc. System and method for capturing video frames for focused navigation within a user interface
US7107532B1 (en) * 2001-08-29 2006-09-12 Digeo, Inc. System and method for focused navigation within a user interface
US7735102B1 (en) 2001-08-29 2010-06-08 Billmaier James A System and method for focused navigation within a user interface
US20030046695A1 (en) * 2001-08-29 2003-03-06 Digeo, Inc. System and method for enabling focused navigation using filtering and direct-tune buttons
US7334251B2 (en) 2002-02-11 2008-02-19 Scientific-Atlanta, Inc. Management of television advertising
US8099680B1 (en) 2002-03-12 2012-01-17 Arris Group, Inc. System and method of contextual pre-tuning
KR100449719B1 (ko) * 2002-03-23 2004-09-22 삼성전자주식회사 디스플레이장치에서 하이라이팅 영역을 하이라이팅시킬 수있는 방법 및 장치
KR20030081868A (ko) * 2002-04-15 2003-10-22 주식회사 대우일렉트로닉스 디지털 티브이에서 채널이동 방법
KR100467585B1 (ko) * 2002-05-29 2005-01-24 삼성전자주식회사 리모트 콘트롤러를 이용한 하이라이트 영역 설정 방법 및그 장치
KR100479608B1 (ko) * 2002-06-17 2005-03-30 엘지전자 주식회사 지능형 비디오 브라우징 시스템
US20030233652A1 (en) * 2002-06-18 2003-12-18 Kinpo Electronics, Inc. Method and apparatus for intuitionally moving the focus within a window
US20030237100A1 (en) * 2002-06-20 2003-12-25 Koninklijke Philips Electronics N.V. Information display system
US6944826B2 (en) * 2002-10-24 2005-09-13 Clearcube Technology, Inc. Method of operating a system of co-located computers and remote human interfaces
US7493646B2 (en) 2003-01-30 2009-02-17 United Video Properties, Inc. Interactive television systems with digital video recording and adjustable reminders
CN1258135C (zh) * 2003-03-19 2006-05-31 松下电器产业株式会社 基于视频画面检测的遥控装置及其方法
JP4802098B2 (ja) * 2003-05-20 2011-10-26 トムソン ライセンシング エレメントのリストでナビゲートするための方法、リストにおけるエレメントの選択のためのオーディオビジュアルレシーバ
US7454120B2 (en) 2003-07-02 2008-11-18 Macrovision Corporation Methods and apparatus for client aggregation of television programming in a networked personal video recording system
US8438601B2 (en) 2003-07-02 2013-05-07 Rovi Solutions Corporation Resource management for a networked personal video recording system
US7984468B2 (en) 2003-11-06 2011-07-19 United Video Properties, Inc. Systems and methods for providing program suggestions in an interactive television program guide
US20050102634A1 (en) * 2003-11-10 2005-05-12 Sloo David H. Understandable navigation of an information array
US20100153997A1 (en) * 2004-01-21 2010-06-17 United Video Properties, Inc. Interactive television system with templates for managing vendor-specific video-on-demand content
US8161388B2 (en) 2004-01-21 2012-04-17 Rodriguez Arturo A Interactive discovery of display device characteristics
KR100557135B1 (ko) * 2004-04-13 2006-03-03 삼성전자주식회사 텔레비전 영상신호 수신 기능을 구비한 휴대용 단말기에서다수 채널 표시 및 채널변경 방법
WO2005109904A2 (en) * 2004-04-30 2005-11-17 Vulcan, Inc. Maintaining a graphical user interface state that is based on a selected type of content
WO2005109906A2 (en) * 2004-04-30 2005-11-17 Vulcan Inc. Network-accessible control of one or more media devices
CA2569994A1 (en) * 2004-06-10 2005-12-29 Xweb, Inc. System and method for the transmission of data
US20060041906A1 (en) * 2004-08-17 2006-02-23 Nokia Corporation Electronic service information application appropriate for display on devices having smaller display screens
CN100349104C (zh) * 2004-09-20 2007-11-14 英华达(南京)科技有限公司 在小屏幕的通讯设备上显示多窗口的方法
US8086575B2 (en) 2004-09-23 2011-12-27 Rovi Solutions Corporation Methods and apparatus for integrating disparate media formats in a networked media system
US8752094B2 (en) * 2005-03-30 2014-06-10 Rovi Guides, Inc. Systems and methods for video-rich navigation
US20100311399A1 (en) * 2005-03-31 2010-12-09 United Video Properties, Inc. Systems and methods for generating audible reminders on mobile user equipment
US20060253782A1 (en) * 2005-04-01 2006-11-09 Vulcan Inc. Interface for manipulating multimedia playlists
JP2006311121A (ja) * 2005-04-27 2006-11-09 Toshiba Corp 番組選択装置
US8640166B1 (en) 2005-05-06 2014-01-28 Rovi Guides, Inc. Systems and methods for content surfing
US8095951B1 (en) 2005-05-06 2012-01-10 Rovi Guides, Inc. Systems and methods for providing a scan
US8074248B2 (en) 2005-07-26 2011-12-06 Activevideo Networks, Inc. System and method for providing video content associated with a source image to a television in a communication network
US8719857B1 (en) 2005-08-24 2014-05-06 Rovi Guides, Inc. Systems and methods for providing parental control features in video mosaic environments
US7788266B2 (en) 2005-08-26 2010-08-31 Veveo, Inc. Method and system for processing ambiguous, multi-term search queries
US8189472B2 (en) 2005-09-07 2012-05-29 Mcdonald James F Optimizing bandwidth utilization to a subscriber premises
KR101195501B1 (ko) * 2005-09-22 2012-10-29 삼성전자주식회사 복수개의 어플리케이션이 표시되는 화면에서 버튼간에포커싱을 이동시키는 방법, 그 장치 및 그 정보 저장 매체
KR100775196B1 (ko) * 2005-09-26 2007-11-12 엘지전자 주식회사 방송프로그램 정보 제공 시스템
US7787892B2 (en) 2005-10-05 2010-08-31 Via Technologies, Inc. Method and apparatus for adaptive multi-stage multi-threshold detection of paging indicators in wireless communication systems
US8582946B2 (en) 2005-11-04 2013-11-12 Rovi Guides, Inc. Systems and methods for recording programs using a network recording device as supplemental storage
US9113107B2 (en) 2005-11-08 2015-08-18 Rovi Guides, Inc. Interactive advertising and program promotion in an interactive television system
US8613024B2 (en) * 2005-12-13 2013-12-17 United Video Properties, Inc. Cross-platform predictive popularity ratings for use in interactive television applications
US20070157246A1 (en) * 2005-12-23 2007-07-05 Sports Tv Insider, Llc Sports Broadcast Scheduler
US8250614B1 (en) 2005-12-29 2012-08-21 United Video Properties, Inc. Systems and methods for providing an on-demand media portal and grid guide
US9681105B2 (en) 2005-12-29 2017-06-13 Rovi Guides, Inc. Interactive media guidance system having multiple devices
US8607287B2 (en) 2005-12-29 2013-12-10 United Video Properties, Inc. Interactive media guidance system having multiple devices
US20070156521A1 (en) 2005-12-29 2007-07-05 United Video Properties, Inc. Systems and methods for commerce in media program related merchandise
US7529741B2 (en) 2006-03-06 2009-05-05 Veveo, Inc. Methods and systems for segmenting relative user preferences into fine-grain and coarse-grain collections
JP4958454B2 (ja) * 2006-03-10 2012-06-20 三洋電機株式会社 テレビ放送受信機
US8316394B2 (en) 2006-03-24 2012-11-20 United Video Properties, Inc. Interactive media guidance application with intelligent navigation and display features
EP3822819A1 (en) 2006-04-20 2021-05-19 Veveo, Inc. User interface methods and systems for selecting and presenting content based on user navigation and selection actions associated with the content
KR20070104130A (ko) * 2006-04-21 2007-10-25 삼성전자주식회사 컨텐츠 목록 표시 방법 및 장치
WO2008016611A2 (en) * 2006-07-31 2008-02-07 United Video Properties, Inc. Systems and methods for providing media guidance planners
KR101904252B1 (ko) 2006-09-29 2018-10-05 유나이티드 비디오 프로퍼티즈, 인크. 인터랙티브 미디어 가이던스 애플리케이션들을 위한 프로파일들의 관리
JP5584467B2 (ja) 2006-09-29 2014-09-03 ユナイテッド ビデオ プロパティーズ, インコーポレイテッド モジュラーメディアガイダンスダッシュボードアプリケーションのためのシステムおよび方法
US8832742B2 (en) 2006-10-06 2014-09-09 United Video Properties, Inc. Systems and methods for acquiring, categorizing and delivering media in interactive media guidance applications
US8473868B1 (en) 2006-10-27 2013-06-25 Arris Group, Inc. System and method for reverse hierarchical navigation within a user interface
US20080104058A1 (en) * 2006-11-01 2008-05-01 United Video Properties, Inc. Presenting media guidance search results based on relevancy
US20080104127A1 (en) * 2006-11-01 2008-05-01 United Video Properties, Inc. Presenting media guidance search results based on relevancy
US7996399B2 (en) * 2006-11-01 2011-08-09 United Video Properties, Inc. Presenting media guidance search results based on relevancy
US8209424B2 (en) * 2006-12-20 2012-06-26 United Video Properties, Inc. Systems and methods for providing remote access to interactive media guidance applications
US20080155600A1 (en) * 2006-12-20 2008-06-26 United Video Properties, Inc. Systems and methods for providing remote access to interactive media guidance applications
EP2595376B1 (en) 2006-12-20 2019-08-14 Rovi Guides, Inc. Systems and methods for providing remote access to interactive media guidance applications
US20080163059A1 (en) 2006-12-28 2008-07-03 Guideworks, Llc Systems and methods for creating custom video mosaic pages with local content
US9355681B2 (en) 2007-01-12 2016-05-31 Activevideo Networks, Inc. MPEG objects and systems and methods for using MPEG objects
US9826197B2 (en) 2007-01-12 2017-11-21 Activevideo Networks, Inc. Providing television broadcasts over a managed network and interactive content over an unmanaged network to a client device
JP4441890B2 (ja) * 2007-01-31 2010-03-31 ソニー株式会社 スケジュール表提示装置、スケジュール表提示方法及びスケジュール表提示プログラム
US7801888B2 (en) 2007-03-09 2010-09-21 Microsoft Corporation Media content search results ranked by popularity
US8418206B2 (en) 2007-03-22 2013-04-09 United Video Properties, Inc. User defined rules for assigning destinations of content
US8266648B2 (en) 2007-04-20 2012-09-11 United Video Properties, Inc. Systems and methods for determining subscription data
US8087047B2 (en) 2007-04-20 2011-12-27 United Video Properties, Inc. Systems and methods for providing remote access to interactive media guidance applications
US20080263591A1 (en) * 2007-04-23 2008-10-23 Microsoft Corporation Content viewing session
US20080276284A1 (en) 2007-05-04 2008-11-06 United Video Properties, Inc. Systems and methods for recording overlapping media content during scheduling conflicts
US20080301732A1 (en) 2007-05-31 2008-12-04 United Video Properties, Inc. Systems and methods for personalizing an interactive media guidance application
KR100863423B1 (ko) * 2007-06-14 2008-11-14 주식회사 다산네트웍스 채널화된 디렉토리를 이용한 주문형 비디오 서비스 제공장치 및 그 제공 방법
US8407737B1 (en) 2007-07-11 2013-03-26 Rovi Guides, Inc. Systems and methods for providing a scan transport bar
US20090019492A1 (en) * 2007-07-11 2009-01-15 United Video Properties, Inc. Systems and methods for mirroring and transcoding media content
DE102007042289A1 (de) * 2007-09-06 2009-03-12 Continental Automotive Gmbh Vorrichtung und Verfahren zur Wiedergabe von Multimediainformationen
US8107977B2 (en) 2007-09-07 2012-01-31 United Video Properties, Inc. Cross-platform messaging
US8327403B1 (en) 2007-09-07 2012-12-04 United Video Properties, Inc. Systems and methods for providing remote program ordering on a user device via a web server
US20090133078A1 (en) 2007-11-16 2009-05-21 United Video Properties, Inc Systems and methods for automatically purchasing and recording popular pay programs in an interactive media delivery system
CA3017598C (en) 2007-11-21 2021-01-12 Rovi Guides, Inc. Maintaining a user profile based on dynamic data
US8856833B2 (en) * 2007-11-21 2014-10-07 United Video Properties, Inc. Maintaining a user profile based on dynamic data
US8943539B2 (en) 2007-11-21 2015-01-27 Rovi Guides, Inc. Enabling a friend to remotely modify user data
US20090165051A1 (en) * 2007-12-19 2009-06-25 United Video Properties, Inc. Methods and devices for presenting an interactive media guidance application
US20090165049A1 (en) 2007-12-19 2009-06-25 United Video Properties, Inc. Methods and devices for presenting and interactive media guidance application
US20090235298A1 (en) * 2008-03-13 2009-09-17 United Video Properties, Inc. Systems and methods for synchronizing time-shifted media content and related communications
US20090235297A1 (en) * 2008-03-13 2009-09-17 United Video Properties, Inc. Systems and methods for capturing program attributes
US8601526B2 (en) 2008-06-13 2013-12-03 United Video Properties, Inc. Systems and methods for displaying media content and media guidance information
KR20100022718A (ko) * 2008-08-20 2010-03-03 삼성전자주식회사 영상표시장치에서 채널 및 소스 리스트를 제공하는 방법과 그 장치
US10063934B2 (en) 2008-11-25 2018-08-28 Rovi Technologies Corporation Reducing unicast session duration with restart TV
CN101557482A (zh) * 2008-12-08 2009-10-14 深圳华为通信技术有限公司 一种快速浏览节目的方法及装置
US20100262931A1 (en) 2009-04-10 2010-10-14 Rovi Technologies Corporation Systems and methods for searching a media guidance application with multiple perspective views
US20100293457A1 (en) 2009-05-15 2010-11-18 Gemstar Development Corporation Systems and methods for alphanumeric navigation and input
US20100306708A1 (en) * 2009-05-29 2010-12-02 Rovi Techonologies Corporation Systems and methods for handling profiles in a community
US9241136B2 (en) * 2009-06-29 2016-01-19 Verizon Patent And Licensing Inc. Method and apparatus for creating a personalized programming guide
US8990858B2 (en) 2009-06-29 2015-03-24 Verizon Patent And Licensing Inc. Search-based media program guide systems and methods
US9445036B2 (en) 2009-06-30 2016-09-13 Rovi Guides, Inc. Methods and systems for content scheduling across multiple devices
EP3742416B1 (en) 2009-06-30 2022-08-10 Rovi Guides, Inc. Systems and methods for providing interactive media guidance on a wireless communications device
US20100333133A1 (en) 2009-06-30 2010-12-30 Haig Krakirian Systems and methods for media guidance applications for browsing video-on-demand listings
US8731373B2 (en) 2009-06-30 2014-05-20 Rovi Technologies Corporation Managing and editing stored media assets
US20100333151A1 (en) 2009-06-30 2010-12-30 Gemstar Development Corporation Cross platform entertainment architecture
US20110016492A1 (en) 2009-07-16 2011-01-20 Gemstar Development Corporation Systems and methods for forwarding media asset events
US20110022620A1 (en) 2009-07-27 2011-01-27 Gemstar Development Corporation Methods and systems for associating and providing media content of different types which share atrributes
US9166714B2 (en) 2009-09-11 2015-10-20 Veveo, Inc. Method of and system for presenting enriched video viewing analytics
US9014546B2 (en) 2009-09-23 2015-04-21 Rovi Guides, Inc. Systems and methods for automatically detecting users within detection regions of media devices
WO2011037761A1 (en) 2009-09-23 2011-03-31 Rovi Technologies Corporation Systems and methods for automatically detecting users within detection regions of media devices
US20110070819A1 (en) * 2009-09-23 2011-03-24 Rovi Technologies Corporation Systems and methods for providing reminders associated with detected users
US20110078731A1 (en) 2009-09-25 2011-03-31 Rovi Technologies Corporation Systems and methods for multiple media guidance application navigation
US20110078717A1 (en) * 2009-09-29 2011-03-31 Rovi Technologies Corporation System for notifying a community of interested users about programs or segments
DK2824666T3 (en) 2009-09-30 2017-09-04 Rovi Guides Inc Audio content identification systems and methods using an interactive media management application
US8359616B2 (en) 2009-09-30 2013-01-22 United Video Properties, Inc. Systems and methods for automatically generating advertisements using a media guidance application
US20110078572A1 (en) * 2009-09-30 2011-03-31 Rovi Technologies Corporation Systems and methods for analyzing clickstream data
US8291322B2 (en) 2009-09-30 2012-10-16 United Video Properties, Inc. Systems and methods for navigating a three-dimensional media guidance application
US20110126276A1 (en) * 2009-11-20 2011-05-26 Rovi Technologies Corporation Cross platform gateway system and service
US20110137727A1 (en) 2009-12-07 2011-06-09 Rovi Technologies Corporation Systems and methods for determining proximity of media objects in a 3d media environment
US9113108B2 (en) 2009-12-18 2015-08-18 Rovi Guides, Inc. Systems and methods for navigating program listings simultaneously displayed with a program in a media guidance application
US9201627B2 (en) * 2010-01-05 2015-12-01 Rovi Guides, Inc. Systems and methods for transferring content between user equipment and a wireless communications device
AU2011203723B2 (en) 2010-01-05 2014-03-20 Rovi Guides, Inc. Systems and methods for providing media guidance application functionality using a wireless communications device
US9152969B2 (en) 2010-04-07 2015-10-06 Rovi Technologies Corporation Recommendation ranking system with distrust
WO2011142898A1 (en) 2010-05-12 2011-11-17 United Video Properties, Inc. Systems and methods for adjusting media guide interaction modes
WO2011142922A2 (en) 2010-05-13 2011-11-17 United Video Properties, Inc. Systems and methods for performing an action on a program or accessing the program from a third-party media content source
WO2011143493A1 (en) 2010-05-13 2011-11-17 United Video Properties, Inc. Systems and methods for providing media content listings according to a destination location
US9122701B2 (en) 2010-05-13 2015-09-01 Rovi Guides, Inc. Systems and methods for providing media content listings according to points of interest
US9204193B2 (en) 2010-05-14 2015-12-01 Rovi Guides, Inc. Systems and methods for media detection and filtering using a parental control logging application
US9167196B2 (en) 2010-05-19 2015-10-20 Rovi Guides, Inc. Systems and methods for trimming recorded content using a media guidance application
US8631508B2 (en) 2010-06-22 2014-01-14 Rovi Technologies Corporation Managing licenses of media files on playback devices
WO2012015631A1 (en) 2010-07-30 2012-02-02 United Video Properties, Inc. Systems and methods for sharing media using social media guidance applications
WO2012018558A1 (en) 2010-08-06 2012-02-09 United Video Properties, Inc. Systems and methods for updating information in real time for use in a media guidance application
US20120059696A1 (en) 2010-09-08 2012-03-08 United Video Properties, Inc. Systems and methods for providing advertisements to user devices using an advertisement gateway
KR20130138263A (ko) 2010-10-14 2013-12-18 액티브비디오 네트웍스, 인코포레이티드 케이블 텔레비전 시스템을 이용하는 비디오 장치들 간의 디지털 비디오의 스트리밍
US20120174039A1 (en) 2011-01-05 2012-07-05 United Video Properties, Inc. Systems and methods for navigating through content in an interactive media guidance application
US20120272185A1 (en) 2011-01-05 2012-10-25 Rovi Technologies Corporation Systems and methods for mixed-media content guidance
WO2012094564A1 (en) 2011-01-06 2012-07-12 Veveo, Inc. Methods of and systems for content search based on environment sampling
WO2012138660A2 (en) 2011-04-07 2012-10-11 Activevideo Networks, Inc. Reduction of latency in video distribution networks using adaptive bit rates
WO2012148770A2 (en) 2011-04-28 2012-11-01 United Video Properties, Inc. Systems and methods for deducing user information from input device behavior
EP3634001A1 (en) * 2011-05-26 2020-04-08 LG Electronics Inc. Display apparatus for processing multiple applications and method for controlling the same
US9854318B2 (en) 2011-06-06 2017-12-26 Rovi Guides, Inc. Systems and methods for sharing interactive media guidance information
US9235574B2 (en) 2011-06-13 2016-01-12 Rovi Guides, Inc. Systems and methods for providing media recommendations
US20120324504A1 (en) 2011-06-14 2012-12-20 United Video Properties, Inc. Systems and methods for providing parental controls in a cloud-based media guidance application
WO2013003174A2 (en) 2011-06-28 2013-01-03 United Video Properties, Inc. Systems and methods for efficient allocations of transport streams
US20130006765A1 (en) 2011-06-28 2013-01-03 United Video Properties, Inc. Systems and methods for recommending matching profiles in an interactive media guidance application
US8949901B2 (en) 2011-06-29 2015-02-03 Rovi Guides, Inc. Methods and systems for customizing viewing environment preferences in a viewing environment control application
US20130054319A1 (en) 2011-08-29 2013-02-28 United Video Properties, Inc. Methods and systems for presenting a three-dimensional media guidance application
US8387084B1 (en) 2011-09-28 2013-02-26 United Video Properties, Inc. Systems and methods for detecting unauthorized use of a user equipment device
US8805418B2 (en) 2011-12-23 2014-08-12 United Video Properties, Inc. Methods and systems for performing actions based on location-based rules
US9218122B2 (en) 2011-12-29 2015-12-22 Rovi Guides, Inc. Systems and methods for transferring settings across devices based on user gestures
US9129087B2 (en) 2011-12-30 2015-09-08 Rovi Guides, Inc. Systems and methods for managing digital rights based on a union or intersection of individual rights
US9009794B2 (en) 2011-12-30 2015-04-14 Rovi Guides, Inc. Systems and methods for temporary assignment and exchange of digital access rights
WO2013106390A1 (en) 2012-01-09 2013-07-18 Activevideo Networks, Inc. Rendering of an interactive lean-backward user interface on a television
US20130179995A1 (en) 2012-01-09 2013-07-11 United Video Properties, Inc. Systems and methods for authentication of digital content
EP2823645A1 (en) * 2012-03-06 2015-01-14 Aereo, Inc. User interface for television programming and social media feeds for time shifted viewing
WO2013149128A2 (en) 2012-03-30 2013-10-03 United Video Properties, Inc. Systems and methods for adaptively transmitting media and advertising content
US20130257749A1 (en) 2012-04-02 2013-10-03 United Video Properties, Inc. Systems and methods for navigating content on a user equipment having a multi-region touch sensitive display
US9800945B2 (en) 2012-04-03 2017-10-24 Activevideo Networks, Inc. Class-based intelligent multiplexing over unmanaged networks
US9123084B2 (en) 2012-04-12 2015-09-01 Activevideo Networks, Inc. Graphical application integration with MPEG objects
US20130282839A1 (en) 2012-04-23 2013-10-24 United Video Properties, Inc. Systems and methods for automatically messaging a contact in a social network
US8898694B2 (en) 2012-04-27 2014-11-25 United Video Properties, Inc. Systems and methods for indicating media asset access conflicts using a time bar
WO2013166411A1 (en) 2012-05-03 2013-11-07 United Video Properties, Inc. Systems and methods for preventing access to a media asset segment during a fast-access playback operation
US8713606B2 (en) 2012-05-14 2014-04-29 United Video Properties, Inc. Systems and methods for generating a user profile based customized media guide with user-generated content and non-user-generated content
US20130311575A1 (en) 2012-05-16 2013-11-21 United Video Properties, Inc. Systems and methods for receiving multiple user messages that identify a media asset segment position
US9094708B2 (en) 2012-06-08 2015-07-28 Rovi Guides, Inc. Methods and systems for prioritizing listings based on real-time data
US9424233B2 (en) 2012-07-20 2016-08-23 Veveo, Inc. Method of and system for inferring user intent in search input in a conversational interaction system
US9465833B2 (en) 2012-07-31 2016-10-11 Veveo, Inc. Disambiguating user intent in conversational interaction system for large corpus information retrieval
US11368760B2 (en) 2012-08-17 2022-06-21 Flextronics Ap, Llc Applications generating statistics for user behavior
CN103748585A (zh) 2012-08-17 2014-04-23 弗莱克斯电子有限责任公司 智能电视
US20140089423A1 (en) 2012-09-27 2014-03-27 United Video Properties, Inc. Systems and methods for identifying objects displayed in a media asset
US20140114919A1 (en) 2012-10-19 2014-04-24 United Video Properties, Inc. Systems and methods for providing synchronized media content
US20140139742A1 (en) 2012-11-19 2014-05-22 United Video Properties, Inc. Methods and systems for displaying advertisements
US8839309B2 (en) 2012-12-05 2014-09-16 United Video Properties, Inc. Methods and systems for displaying contextually relevant information from a plurality of users in real-time regarding a media asset
TW201426529A (zh) * 2012-12-26 2014-07-01 Hon Hai Prec Ind Co Ltd 通訊設備及其播放方法
US20140196090A1 (en) * 2013-01-04 2014-07-10 Kabushiki Kaisha Toshiba Information processing apparatus, information processing method, and storage medium
US20140196062A1 (en) 2013-01-10 2014-07-10 United Video Properties, Inc. Systems and methods for setting prices in data driven media placement
US9253262B2 (en) 2013-01-24 2016-02-02 Rovi Guides, Inc. Systems and methods for connecting media devices through web sockets
US8753185B1 (en) 2013-02-15 2014-06-17 United Video Properties, Inc. Systems and methods for implementing a degree of separation game in an interactive media application
USD748649S1 (en) * 2013-03-04 2016-02-02 Roku, Inc. Display screen with an animated electronic program guide
US9848276B2 (en) 2013-03-11 2017-12-19 Rovi Guides, Inc. Systems and methods for auto-configuring a user equipment device with content consumption material
WO2014164335A1 (en) 2013-03-11 2014-10-09 Unted Video Properties, Inc. Systems and methods for browsing content stored in the viewer's video library
US9134790B2 (en) 2013-03-13 2015-09-15 Rovi Guides, Inc. Methods and systems for rectifying the lengths of media playlists based on time criteria
WO2014145921A1 (en) 2013-03-15 2014-09-18 Activevideo Networks, Inc. A multiple-mode system and method for providing user selectable video content
US9066132B2 (en) 2013-05-13 2015-06-23 Rovi Guides, Inc. Systems and methods for recording content from a different source when previous content runs over
US9229616B2 (en) 2013-05-28 2016-01-05 Rovi Guides, Inc. Methods and systems for arranging media objects on a display screen to compensate for user disabilities
WO2014197879A1 (en) 2013-06-06 2014-12-11 Activevideo Networks, Inc. Overlay rendering of user interface onto source video
US9219922B2 (en) 2013-06-06 2015-12-22 Activevideo Networks, Inc. System and method for exploiting scene graph information in construction of an encoded video sequence
US9294785B2 (en) 2013-06-06 2016-03-22 Activevideo Networks, Inc. System and method for exploiting scene graph information in construction of an encoded video sequence
US20150007212A1 (en) 2013-06-26 2015-01-01 United Video Properties, Inc. Methods and systems for generating musical insignias for media providers
US20150026718A1 (en) 2013-07-19 2015-01-22 United Video Properties, Inc. Systems and methods for displaying a selectable advertisement when video has a background advertisement
US20150033258A1 (en) 2013-07-24 2015-01-29 United Video Properties, Inc. Methods and systems for media guidance applications configured to monitor brain activity
US9852441B2 (en) 2013-07-31 2017-12-26 Rovi Guides, Inc. Methods and systems for recommending media assets based on scent
WO2015021121A1 (en) 2013-08-07 2015-02-12 United Video Properties, Inc. Methods and systems for presenting supplemental content in media assets
US9264770B2 (en) 2013-08-30 2016-02-16 Rovi Guides, Inc. Systems and methods for generating media asset representations based on user emotional responses
US10168871B2 (en) 2013-09-16 2019-01-01 Rovi Guides, Inc. Methods and systems for presenting direction-specific media assets
US9674563B2 (en) 2013-11-04 2017-06-06 Rovi Guides, Inc. Systems and methods for recommending content
US9215510B2 (en) 2013-12-06 2015-12-15 Rovi Guides, Inc. Systems and methods for automatically tagging a media asset based on verbal input and playback adjustments
US9256652B2 (en) 2013-12-13 2016-02-09 Rovi Guides, Inc. Systems and methods for combining media recommendations from multiple recommendation engines
US9483118B2 (en) 2013-12-27 2016-11-01 Rovi Guides, Inc. Methods and systems for selecting media guidance functions based on tactile attributes of a user input
US9578385B2 (en) 2014-02-25 2017-02-21 Rovi Guides, Inc. Systems and methods for sorting media assets based on playback information
US9591365B2 (en) 2014-02-26 2017-03-07 Rovi Guides, Inc. Methods and systems for supplementing media assets during fast-access playback operations
US9978083B2 (en) 2014-02-27 2018-05-22 Rovi Guides, Inc. Systems and methods for determining a dynamic advertisement schedule for a playlist session
WO2015130633A1 (en) 2014-02-27 2015-09-03 Rovi Guides, Inc. Systems and methods for determining a dynamic advertisement schedual for a playlist session
US9398345B2 (en) 2014-02-27 2016-07-19 Rovi Guides, Inc. Methods and systems for generating customized collages of media assets based on user criteria
US10032477B2 (en) 2014-02-27 2018-07-24 Rovi Guides, Inc. Systems and methods for modifying a playlist of media assets based on user interactions with a playlist menu
US9380342B2 (en) 2014-02-28 2016-06-28 Rovi Guides, Inc. Systems and methods for control of media access based on crowd-sourced access control data and user-attributes
US20150249906A1 (en) 2014-02-28 2015-09-03 Rovi Guides, Inc. Methods and systems for encouraging behaviour while occupying vehicles
US9436279B2 (en) 2014-03-31 2016-09-06 Rovi Guides, Inc. Systems and methods for controlling user devices based on brain activity
US10838606B2 (en) 2014-03-31 2020-11-17 Rovi Guides, Inc. Methods and systems for performing dynamic searches using a media guidance application
US9185447B2 (en) 2014-03-31 2015-11-10 Rovi Guides, Inc. Methods and systems for selecting customized control schemes based on brain activity
US10368802B2 (en) 2014-03-31 2019-08-06 Rovi Guides, Inc. Methods and systems for selecting media guidance applications based on a position of a brain monitoring user device
US9788029B2 (en) 2014-04-25 2017-10-10 Activevideo Networks, Inc. Intelligent multiplexing using class-based, multi-dimensioned decision logic for managed networks
US9344749B2 (en) 2014-04-28 2016-05-17 Rovi Guides, Inc. Methods and systems for preventing users from terminating services
US9542567B2 (en) 2014-04-30 2017-01-10 Rovi Guides, Inc. Methods and systems for enabling media guidance application operations based on biometric data
US20150319168A1 (en) 2014-04-30 2015-11-05 United Video Properties, Inc. Methods and systems for establishing communication with users based on biometric data
US9313538B2 (en) 2014-04-30 2016-04-12 Rovi Guides, Inc. Methods and systems for establishing a mode of communication between particular users based on perceived lulls in media assets
US9852774B2 (en) 2014-04-30 2017-12-26 Rovi Guides, Inc. Methods and systems for performing playback operations based on the length of time a user is outside a viewing area
US9313537B2 (en) 2014-04-30 2016-04-12 Rovi Guides, Inc. Methods and systems for presenting advertisements to particular users based on perceived lulls in media assets
US9288521B2 (en) 2014-05-28 2016-03-15 Rovi Guides, Inc. Systems and methods for updating media asset data based on pause point in the media asset
US10085061B2 (en) 2014-05-30 2018-09-25 Rovi Guides, Inc. Methods and systems for presenting customized options on a second device
US9672865B2 (en) 2014-05-30 2017-06-06 Rovi Guides, Inc. Systems and methods for temporal visualization of media asset content
US9301013B2 (en) 2014-05-30 2016-03-29 Rovi Guides, Inc. Methods and systems for alerting users regarding media availability
US9363544B2 (en) 2014-05-30 2016-06-07 Rovi Guides, Inc. Methods and systems for adjusting the amount of time required to consume a media asset based on a current trip of a user
ES2889402T3 (es) 2014-05-30 2022-01-12 Rovi Guides Inc Procedimientos y sistemas para alertar a los usuarios sobre la disponibilidad de un soporte multimedia
US9531708B2 (en) 2014-05-30 2016-12-27 Rovi Guides, Inc. Systems and methods for using wearable technology for biometric-based recommendations
US9398343B2 (en) 2014-06-26 2016-07-19 Rovi Guides, Inc. Methods and systems for providing objects that describe media assets
US9729933B2 (en) 2014-06-30 2017-08-08 Rovi Guides, Inc. Systems and methods for loading interactive media guide data based on user history
US9451315B2 (en) 2014-06-30 2016-09-20 Rovi Guides, Inc. Systems and methods for generating for display an interactive media guide based on user history
US9721564B2 (en) 2014-07-31 2017-08-01 Rovi Guides, Inc. Systems and methods for performing ASR in the presence of heterographs
US9510047B2 (en) 2014-08-20 2016-11-29 Rovi Guides, Inc. Systems and methods for automatically performing media actions based on status of external components
US9542395B2 (en) 2014-08-29 2017-01-10 Rovi Guides, Inc. Systems and methods for determining alternative names
US9710071B2 (en) 2014-09-22 2017-07-18 Rovi Guides, Inc. Methods and systems for recalibrating a user device based on age of a user and received verbal input
US9778736B2 (en) 2014-09-22 2017-10-03 Rovi Guides, Inc. Methods and systems for calibrating user devices
US20160094889A1 (en) 2014-09-29 2016-03-31 Rovi Guides, Inc. Systems and methods for determining whether to merge search queries based on contextual information
US9930405B2 (en) 2014-09-30 2018-03-27 Rovi Guides, Inc. Systems and methods for presenting user selected scenes
US20160094888A1 (en) 2014-09-30 2016-03-31 United Video Properties, Inc. Systems and methods for presenting user selected scenes
US10165322B2 (en) 2014-09-30 2018-12-25 Rovi Guides, Inc. Methods and systems for controlling user devices
US9894414B2 (en) 2014-09-30 2018-02-13 Rovi Guides, Inc. Methods and systems for presenting content to a user based on the movement of the user
US9830321B2 (en) 2014-09-30 2017-11-28 Rovi Guides, Inc. Systems and methods for searching for a media asset
US20160112761A1 (en) 2014-10-20 2016-04-21 United Video Properties, Inc. Systems and methods for generating media asset recommendations using a neural network generated based on consumption information
US9349034B2 (en) 2014-10-28 2016-05-24 Rovi Guides, Inc. Methods and systems for invoking functions based on whether a partial print or an entire print is detected
US9116645B1 (en) 2014-10-28 2015-08-25 Rovi Guides, Inc. Methods and systems for granting partial or full access to an application based on level of confidence that print corresponds to user profile
US9734244B2 (en) 2014-12-08 2017-08-15 Rovi Guides, Inc. Methods and systems for providing serendipitous recommendations
US9843835B2 (en) 2014-12-22 2017-12-12 Rovi Guides, Inc. Methods and systems for verifying media guidance data
US10289733B2 (en) 2014-12-22 2019-05-14 Rovi Guides, Inc. Systems and methods for filtering techniques using metadata and usage data analysis
US9854313B2 (en) 2014-12-23 2017-12-26 Rovi Guides, Inc. Methods and systems for presenting information about media assets
US9852136B2 (en) 2014-12-23 2017-12-26 Rovi Guides, Inc. Systems and methods for determining whether a negation statement applies to a current or past query
US9992531B2 (en) 2014-12-23 2018-06-05 Rovi Guides, Inc. Methods and systems for presenting information about multiple media assets
US10068023B2 (en) 2014-12-30 2018-09-04 Rovi Guides, Inc. Systems and methods for updating links between keywords associated with a trending topic
US11416566B2 (en) 2014-12-31 2022-08-16 Rovi Guides, Inc. Methods and systems for determining media content to download
US9854049B2 (en) 2015-01-30 2017-12-26 Rovi Guides, Inc. Systems and methods for resolving ambiguous terms in social chatter based on a user profile
US9294802B1 (en) 2015-01-30 2016-03-22 Rovi Guides, Inc. Gesture control based on prosthetic nerve signal detection
US9959658B2 (en) 2015-02-26 2018-05-01 Rovi Guides, Inc. Methods and systems for generating holographic animations
US10097648B2 (en) 2015-02-27 2018-10-09 Rovi Guides, Inc. Methods and systems for recommending media content
US9392324B1 (en) 2015-03-30 2016-07-12 Rovi Guides, Inc. Systems and methods for identifying and storing a portion of a media asset
US9532100B2 (en) 2015-03-31 2016-12-27 Rovi Guides, Inc. Systems and methods for selecting sound logos for media content
US9892167B2 (en) 2015-03-31 2018-02-13 Rovi Guides, Inc. Methods and systems for generating cluster-based search results
EP3480766A1 (en) 2015-04-23 2019-05-08 Rovi Guides, Inc. Systems and methods for improving accuracy in media asset recommendation models
US10575057B2 (en) 2015-04-23 2020-02-25 Rovi Guides, Inc. Systems and methods for improving accuracy in media asset recommendation models
US10003836B2 (en) 2015-04-23 2018-06-19 Rovi Guides, Inc. Systems and methods for improving accuracy in media asset recommendation models based on users' levels of enjoyment with respect to media assets
US10078651B2 (en) 2015-04-27 2018-09-18 Rovi Guides, Inc. Systems and methods for updating a knowledge graph through user input
US10142585B2 (en) 2015-04-28 2018-11-27 Rovi Guides, Inc. Methods and systems for synching supplemental audio content to video content
US9955218B2 (en) 2015-04-28 2018-04-24 Rovi Guides, Inc. Smart mechanism for blocking media responsive to user environment
US20160321313A1 (en) 2015-04-30 2016-11-03 Rovi Guides, Inc. Systems and methods for determining whether a descriptive asset needs to be updated
US10198498B2 (en) 2015-05-13 2019-02-05 Rovi Guides, Inc. Methods and systems for updating database tags for media content
US9762945B2 (en) 2015-05-19 2017-09-12 Rovi Guides, Inc. Methods and systems for recommending a display device for media consumption
US20160360264A1 (en) 2015-06-02 2016-12-08 Rovi Guides, Inc. Systems and methods for determining conceptual boundaries in content
US9565480B2 (en) 2015-06-11 2017-02-07 Rovi Guides, Inc. Systems and methods for showing media asset consumption history
US10136170B2 (en) 2015-06-17 2018-11-20 Rovi Guides, Inc. Systems and methods for non-linear optimization of audience reach
US10176178B2 (en) 2015-06-17 2019-01-08 Rovi Guides, Inc. Systems and methods for arranging contextually related media assets
US20160373820A1 (en) 2015-06-17 2016-12-22 Rovi Guides, Inc. Systems and methods for determining reach using truncation and aggregation
US10003420B2 (en) 2015-06-18 2018-06-19 Rovi Guides, Inc. Methods and systems for suggesting additional content
US10628009B2 (en) 2015-06-26 2020-04-21 Rovi Guides, Inc. Systems and methods for automatic formatting of images for media assets based on user profile
US9788056B2 (en) 2015-06-26 2017-10-10 Rovi Guides, Inc. System and methods for stimulating senses of users of a media guidance application
US9578393B2 (en) 2015-06-26 2017-02-21 Rovi Guides, Inc. Systems and methods for detecting and acting on easter eggs hidden in media assets
WO2016210052A1 (en) 2015-06-26 2016-12-29 Rovi Guides, Inc. Systems and methods for automatic formatting of images for media assets based on user profile
US20160378276A1 (en) 2015-06-29 2016-12-29 Rovi Guides, Inc. Methods and apparatus for generating for display portions of media assets
US10134386B2 (en) 2015-07-21 2018-11-20 Rovi Guides, Inc. Systems and methods for identifying content corresponding to a language spoken in a household
US10375443B2 (en) 2015-07-31 2019-08-06 Rovi Guides, Inc. Method for enhancing a user viewing experience when consuming a sequence of media
US9973502B2 (en) 2015-09-18 2018-05-15 Rovi Guides, Inc. Methods and systems for automatically adjusting parental controls
US10127398B2 (en) 2015-09-18 2018-11-13 Rovi Guides, Inc. Methods and systems for implementing parental controls
US10158904B2 (en) 2015-09-23 2018-12-18 Rovi Guides, Inc. Systems and methods to combine programming from multiple channels
US10075751B2 (en) 2015-09-30 2018-09-11 Rovi Guides, Inc. Method and system for verifying scheduled media assets
US9848242B2 (en) 2015-09-30 2017-12-19 Rovi Guides, Inc. Systems and methods for adjusting the priority of media assets scheduled to be recorded
US9819996B2 (en) 2015-10-21 2017-11-14 Rovi Guides, Inc. Systems and methods for fingerprinting to track device usage
US9848237B2 (en) 2015-10-21 2017-12-19 Rovi Guides, Inc. Systems and methods for identifying a source of a user interface from a fingerprint of the user interface
CN107710717A (zh) 2015-10-30 2018-02-16 乐威指南公司 用于管理内容订阅数据的方法和系统
US10178421B2 (en) 2015-10-30 2019-01-08 Rovi Guides, Inc. Methods and systems for monitoring content subscription usage
US9813396B2 (en) 2015-10-30 2017-11-07 Rovi Guides, Inc. Methods and systems for managing content subscription data
US10212482B1 (en) * 2015-11-16 2019-02-19 Silicondust Usa Inc. User interface, method and system for media content
US10327036B2 (en) 2015-11-17 2019-06-18 Rovi Guides, Inc. Systems and methods for implementing a timeline scroller to navigate media asset identifiers
US9525912B1 (en) 2015-11-20 2016-12-20 Rovi Guides, Inc. Systems and methods for selectively triggering a biometric instrument to take measurements relevant to presently consumed media
US10063932B2 (en) 2015-11-30 2018-08-28 Rovi Guides, Inc. Systems and methods for providing a contextual menu with information related to an emergency alert
US9800907B2 (en) 2015-12-01 2017-10-24 Rovi Guides, Inc. Systems and methods for managing available bandwidth in a household
WO2017095942A1 (en) 2015-12-03 2017-06-08 Rovi Guides, Inc. Methods and systems for targeted advertising using machine learning techniques
US20170161319A1 (en) 2015-12-08 2017-06-08 Rovi Guides, Inc. Systems and methods for generating smart responses for natural language queries
WO2017105822A1 (en) 2015-12-16 2017-06-22 Rovi Guides, Inc. Methods and systems for bypassing preemptions in recorded media assets
US9807247B2 (en) 2015-12-21 2017-10-31 Rovi Guides, Inc. Systems and methods for sharing cost of a video-on-demand subscription with another subscriber
US10063408B2 (en) 2015-12-22 2018-08-28 Rovi Guides, Inc. System and methods for alerting a user consuming media to the progress of others consuming media
US10120437B2 (en) 2016-01-29 2018-11-06 Rovi Guides, Inc. Methods and systems for associating input schemes with physical world objects
EP3413569A1 (en) 2016-01-29 2018-12-12 Rovi Guides, Inc. Systems and methods for enabling users to receive access to content in closed network
US10063621B2 (en) 2016-01-29 2018-08-28 Rovi Guides, Inc. Systems and methods for enabling users to receive access to content in closed network
US10095876B2 (en) 2016-02-09 2018-10-09 Rovi Guides, Inc. Systems and methods for allowing a user to access blocked media
US10779055B2 (en) 2016-02-12 2020-09-15 Rovi Guides, Inc. Systems and methods for recording broadcast programs that will be missed due to travel delays
US10031967B2 (en) 2016-02-29 2018-07-24 Rovi Guides, Inc. Systems and methods for using a trained model for determining whether a query comprising multiple segments relates to an individual query or several queries
US10133735B2 (en) 2016-02-29 2018-11-20 Rovi Guides, Inc. Systems and methods for training a model to determine whether a query with multiple segments comprises multiple distinct commands or a combined command
US20170251235A1 (en) 2016-02-29 2017-08-31 Rovi Guides, Inc. Systems and methods for synchronizing media asset playback on multiple devices
US9781479B2 (en) 2016-02-29 2017-10-03 Rovi Guides, Inc. Methods and systems of recommending media assets to users based on content of other media assets
US20170272825A1 (en) 2016-03-16 2017-09-21 Rovi Guides, Inc. System and method for locating content related to a media asset
US10299006B2 (en) 2016-03-22 2019-05-21 Rovi Guides, Inc. Methods and systems of facilitating sharing of information among service providers
US9774913B1 (en) 2016-03-22 2017-09-26 Rovi Guides, Inc. Methods and systems of recommending media assets to users viewing over-the-top content
US10362355B2 (en) 2016-03-23 2019-07-23 Rovi Guides, Inc. Systems and methods for recording media assets
US10719553B2 (en) 2016-03-24 2020-07-21 Rovi Guides, Inc. Systems and methods for filtering of media data based on to-do list
US10496255B2 (en) 2016-03-28 2019-12-03 Rovi Guides, Inc. Systems and methods for accentuating candidate characters of strings relating to promotional content
US10546059B2 (en) 2016-03-31 2020-01-28 Rovi Guides, Inc. Methods and systems for determining how long to modify a user profile based on a real-life event
US10893122B2 (en) 2016-03-31 2021-01-12 Rovi Guides, Inc. Methods and systems for determining user recovery times to real-life event
US10999614B2 (en) 2016-03-31 2021-05-04 Rovi Guides, Inc. Methods and systems for efficiently downloading media assets
US11108881B2 (en) 2016-03-31 2021-08-31 Rovi Guides, Inc. Methods and systems for determining end dates for user profile modifications based on real-life events
US9948983B2 (en) 2016-03-31 2018-04-17 Rovi Guides, Inc. Systems and methods for allowing access to a different version of the media asset
US10104445B2 (en) 2016-04-01 2018-10-16 Rovi Guides, Inc. Systems and methods for providing a playlist of user-relevant content for playback in place of advertisement content
US10169470B2 (en) 2016-04-11 2019-01-01 Rovi Guides, Inc. Systems and methods for identifying a meaning of an ambiguous term in a natural language query
CN105872812A (zh) * 2016-04-19 2016-08-17 乐视控股(北京)有限公司 一种动态节目单生成方法及系统
JP6968800B2 (ja) 2016-04-27 2021-11-17 ロヴィ ガイズ, インコーポレイテッド 仮想現実環境を表示するヘッドアップディスプレイ上に付加的コンテンツを表示するための方法およびシステム
US10025376B2 (en) 2016-04-27 2018-07-17 Rovi Guides, Inc. Methods and systems for displaying additional content on a heads up display displaying a virtual reality environment
US10747758B2 (en) 2016-04-29 2020-08-18 Rovi Guides, Inc. Methods and systems for identifying an information resource for answering natural language queries
US10694137B2 (en) 2016-05-10 2020-06-23 Rovi Guides, Inc. Systems and methods for resizing content based on a relative importance of the content
US10939164B2 (en) 2016-05-10 2021-03-02 Rovi Guides, Inc. Method and system for transferring an interactive feature to another device
KR20190008173A (ko) 2016-05-16 2019-01-23 로비 가이드스, 인크. 사용자 디바이스에서의 서비스 품질에 기초하여 미디어 리스팅들을 제시하기 위한 방법들 및 시스템들
EP3401813A1 (en) 2016-05-18 2018-11-14 Rovi Guides, Inc. Recommending media content based on the trajectory of the user
US10019623B2 (en) 2016-05-26 2018-07-10 Rovi Guides, Inc. Systems and methods for providing timely and relevant social media updates from persons related to a person of interest in a video simultaneously with the video
US9668023B1 (en) 2016-05-26 2017-05-30 Rovi Guides, Inc. Systems and methods for providing real-time presentation of timely social chatter of a person of interest depicted in media simultaneous with presentation of the media itself
US10353972B2 (en) 2016-05-26 2019-07-16 Rovi Guides, Inc. Systems and methods for providing timely and relevant social media updates for a person of interest in a media asset who is unknown simultaneously with the media asset
US10318112B2 (en) 2016-05-27 2019-06-11 Rovi Guides, Inc. Systems and methods for enabling quick multi-application menu access to media options
AU2017269430A1 (en) 2016-05-27 2018-12-20 Rovi Guides, Inc. Methods and systems for selecting supplemental content for display near a user device during presentation of a media asset on the user device
US20170347164A1 (en) 2016-05-27 2017-11-30 Rovi Guides, Inc. Systems and methods for enabling quick access to media options matching a user profile
US9858265B1 (en) 2016-06-08 2018-01-02 Rovi Guides, Inc. Systems and methods for determining context switching in conversation
US10037360B2 (en) 2016-06-20 2018-07-31 Rovi Guides, Inc. Approximate template matching for natural language queries
US10708664B2 (en) 2016-06-21 2020-07-07 Rovi Guides, Inc. Methods and systems for recommending to a first user media assets for inclusion in a playlist for a second user based on the second user's viewing activity
US9942610B2 (en) 2016-06-21 2018-04-10 Rovi Guides, Inc. Systems and methods for overriding crowd-sourced auto-skip commands based on user activity
US10080052B2 (en) 2016-06-28 2018-09-18 Rovi Guidos, Inc. Systems and methods for performing an action based on viewing positions of other users
US9788024B1 (en) 2016-06-29 2017-10-10 Rovi Guides, Inc. Systems and methods for achieving ad avoidance by selectively switching media streams
US10484494B2 (en) 2016-06-29 2019-11-19 Rovi Guides, Inc. Methods and systems for alerting users regarding availability of unconsumed content
US10412178B2 (en) 2016-06-30 2019-09-10 Rovi Guides, Inc. Systems and methods for ensuring continued access to media of a playlist despite geographic content restrictions
US10402439B2 (en) 2016-07-29 2019-09-03 Rovi Guides, Inc. Systems and methods for executing a supplemental function for a natural language query
US10380169B2 (en) 2016-07-29 2019-08-13 Rovi Guides, Inc. Systems and methods for determining an execution path for a natural language query
US10503832B2 (en) 2016-07-29 2019-12-10 Rovi Guides, Inc. Systems and methods for disambiguating a term based on static and temporal knowledge graphs
US20180048936A1 (en) * 2016-08-12 2018-02-15 Rovi Guides, Inc. Systems and Methods for Performing Adaptive Scheduling of Media Asset Recordings
US11134283B2 (en) 2016-08-17 2021-09-28 Rovi Guides, Inc. Systems and methods for storing a media asset rescheduled for transmission from a different source
CN106057022A (zh) * 2016-08-18 2016-10-26 张颂忠 一种ppt翻页遥控器
US9936389B2 (en) 2016-08-26 2018-04-03 Rovi Guides, Inc. Methods and systems for preventing a user input device from controlling user equipment
US10433009B2 (en) 2016-08-30 2019-10-01 Rovi Guides, Inc. Systems and methods for managing series recordings as a function of storage
US10771837B2 (en) 2016-09-07 2020-09-08 Rovi Guides, Inc. Systems and methods for presenting background graphics for media asset identifiers identified in a user defined data structure
US10382825B2 (en) 2016-09-07 2019-08-13 Rovi Guides, Inc. Methods and systems for filtering media content
US9854314B1 (en) 2016-09-28 2017-12-26 Rovi Guides, Inc. Methods and systems for receiving ratings from a third-party source of ratings
KR102612355B1 (ko) 2016-09-30 2023-12-08 로비 가이드스, 인크. 자막 텍스트에서의 에러들을 정정하기 위한 시스템들 및 방법들
US20180096221A1 (en) 2016-10-04 2018-04-05 Rovi Guides, Inc. Systems and methods for receiving a segment of a media asset relating to a user image
US10163008B2 (en) 2016-10-04 2018-12-25 Rovi Guides, Inc. Systems and methods for recreating a reference image from a media asset
EP3971727A1 (en) 2016-10-07 2022-03-23 Rovi Guides, Inc. Systems and methods for selectively storing specific versions of previously stored media assets based on pre-defined differences in characteristics
US10719856B2 (en) 2016-10-13 2020-07-21 Rovi Guides, Inc. Systems and methods for resolving advertisement placement conflicts
KR20190065395A (ko) 2016-10-14 2019-06-11 로비 가이드스, 인크. 이벤트 검출 시 정상 속도 비디오 스트림과 동시에 슬로우 모션 비디오 스트림을 제공하기 위한 시스템 및 방법
JP6937369B2 (ja) 2016-10-24 2021-09-22 ロヴィ ガイズ, インコーポレイテッド 2要素認証を用いたメディアアセットに対するアクセスの制御のためのシステムおよび方法
WO2018080445A1 (en) 2016-10-25 2018-05-03 Rovi Guides, Inc. Systems and methods for resuming a media asset
US11109106B2 (en) 2016-10-25 2021-08-31 Rovi Guides, Inc. Systems and methods for resuming a media asset
US9961378B1 (en) 2016-10-25 2018-05-01 Rovi Guides, Inc. Systems and methods for causing a user to view secondary content that relates to a media asset from which a user has switched away
SG11201903711WA (en) 2016-10-28 2019-05-30 Rovi Guides Inc Systems and methods for storing programs
EP3533022B1 (en) 2016-10-31 2024-03-27 Rovi Guides, Inc. Systems and methods for flexibly using trending topics as parameters for recommending media assets that are related to a viewed media asset
US10362365B2 (en) 2016-11-03 2019-07-23 Ravi Guides, Inc. Systems and methods for managing an interactive session in an interactive media guidance application
WO2018084854A1 (en) 2016-11-04 2018-05-11 Rovi Guides, Inc. Methods and systems for recommending content restrictions
US10097809B2 (en) 2016-11-11 2018-10-09 Rovi Guides, Inc. Systems and methods for adjusting display settings to reduce eye strain of multiple viewers
US10187678B2 (en) 2016-11-17 2019-01-22 Rovi Guides, Inc. Systems and methods for displaying segments of media guidance data
WO2018093401A1 (en) 2016-11-17 2018-05-24 Rovi Guides, Inc. Systems and methods for retrieving segmented media guidance data
WO2018093375A1 (en) 2016-11-18 2018-05-24 Rovi Guides, Inc. Systems and methods for slowing down fast-access playback operations
US10097898B2 (en) 2016-11-21 2018-10-09 Rovi Guides, Inc. Systems and methods for generating for display recommendations that are temporally relevant to activities of a user and are contextually relevant to a portion of a media asset that the user is consuming
US10764648B2 (en) 2016-11-28 2020-09-01 Rovi Guides, Inc. Systems and methods for sorting favorite content sources
US10405041B2 (en) 2016-11-28 2019-09-03 Rovi Guides, Inc. Systems and methods for predictive spoiler prevention in media assets based on user behavior
WO2018097835A1 (en) 2016-11-28 2018-05-31 Rovi Guides, Inc. System and method for generating a custom summary of unconsumed portions of a series of media assets
WO2018098457A1 (en) 2016-11-28 2018-05-31 Rovi Guides, Inc. Systems and methods for predictive spoiler prevention in media assets based on user behavior
US10805688B1 (en) * 2016-12-02 2020-10-13 Didja, Inc. Locally relayed broadcast and community service television
EP3556101B1 (en) 2016-12-13 2022-07-20 Rovi Guides, Inc. Systems and methods for minimizing obstruction of a media asset by an overlay by predicting a path of movement of an object of interest of the media asset and avoiding placement of the overlay in the path of movement
CA3045628C (en) 2016-12-19 2025-09-23 Rovi Guides, Inc. Systems and methods for distinguishing valid voice instructions from false voice instructions in an interactive multimedia guidance application
WO2018118049A1 (en) 2016-12-21 2018-06-28 Rovi Guides, Inc. Systems and methods for storing offsets of a recorded program in a network dvr
US10171880B2 (en) 2016-12-27 2019-01-01 Rovi Guides, Inc. Systems and methods for modeling audience stability of a media asset series
US10051326B2 (en) 2016-12-27 2018-08-14 Rovi Guides, Inc. Methods and systems for determining user engagement based on user interactions during different advertisement slots
US10341725B2 (en) 2016-12-27 2019-07-02 Rovi Guides, Inc. Methods and systems for determining user engagement based on user interactions during different time intervals
WO2018125496A1 (en) 2016-12-27 2018-07-05 Rovi Guides, Inc. Methods and systems for determining user engagement based on user interactions during different time intervals
WO2018125039A1 (en) 2016-12-27 2018-07-05 Rovi Guides, Inc. System and method for classifying recorded content for deletion
WO2018125032A1 (en) 2016-12-27 2018-07-05 Rovi Guides, Inc. Systems and methods for dynamically adjusting media output based on presence detection of individuals
US10423979B2 (en) 2016-12-29 2019-09-24 Rovi Guides, Inc. Systems and methods for a framework for generating predictive models for media planning
CA3049201A1 (en) 2017-01-03 2018-07-12 Rovi Guides, Inc. Systems and methods for predicting viewing behavior
US10776824B2 (en) 2017-01-03 2020-09-15 Rovi Guides, Inc. Systems and methods for recommending electronic devices based on user purchase habits
US10390098B2 (en) 2017-01-03 2019-08-20 Rovi Guides, Inc. Systems and methods for enabling a user to start a scheduled program over by retrieving the same program from a non-linear source
US9854292B1 (en) 2017-01-05 2017-12-26 Rovi Guides, Inc. Systems and methods for determining audience engagement based on user motion
US10929886B2 (en) 2017-01-05 2021-02-23 Rovi Guides, Inc. Systems and methods for personalized timing for advertisements
US9854324B1 (en) 2017-01-30 2017-12-26 Rovi Guides, Inc. Systems and methods for automatically enabling subtitles based on detecting an accent
WO2018140053A1 (en) 2017-01-30 2018-08-02 Rovi Guides, Inc. Systems and methods for enabling settings sharing between applications based on relative distance of application icon placement
US10979778B2 (en) 2017-02-01 2021-04-13 Rovi Guides, Inc. Systems and methods for selecting type of secondary content to present to a specific subset of viewers of a media asset
US10165334B2 (en) 2017-02-10 2018-12-25 Rovi Guides, Inc. Systems and methods for adjusting subtitles size on a first device and causing simultaneous display of the subtitles on a second device
WO2018156108A1 (en) * 2017-02-22 2018-08-30 Rovi Guides, Inc. Systems and methods for altering navigation instructions based on the consumption time of media content
US10798451B2 (en) 2017-02-24 2020-10-06 Rovi Guides, Inc. Systems and methods for detecting a reaction by a user to a media asset to which the user previously reacted at an earlier time, and recommending a second media asset to the user consumed during a range of times adjacent to the earlier time
US10313756B2 (en) 2017-03-03 2019-06-04 Rovi Guides, Inc. System and methods for recommending a media asset relating to a character unknown to a user
US10939172B2 (en) 2017-03-03 2021-03-02 Rovi Guides, Inc. Systems and methods for addressing a corrupted segment in a media asset
CA3051170A1 (en) 2017-03-15 2018-09-20 Rovi Guides, Inc. Systems and methods for limiting interruptions to use of an application on the basis of which application is requesting to cause the interruption
US20180277132A1 (en) 2017-03-21 2018-09-27 Rovi Guides, Inc. Systems and methods for increasing language accessability of media content
US11488033B2 (en) 2017-03-23 2022-11-01 ROVl GUIDES, INC. Systems and methods for calculating a predicted time when a user will be exposed to a spoiler of a media asset
US10721536B2 (en) 2017-03-30 2020-07-21 Rovi Guides, Inc. Systems and methods for navigating media assets
US9961386B1 (en) 2017-03-30 2018-05-01 Rovi Guides, Inc. Systems and methods for navigating custom media presentations
US10142686B2 (en) 2017-03-30 2018-11-27 Rovi Guides, Inc. System and methods for disambiguating an ambiguous entity in a search query based on the gaze of a user
US9998790B1 (en) 2017-03-30 2018-06-12 Rovi Guides, Inc. Augmented reality content recommendation
US10091549B1 (en) 2017-03-30 2018-10-02 Rovi Guides, Inc. Methods and systems for recommending media assets based on the geographic location at which the media assets are frequently consumed
US10263796B2 (en) 2017-03-30 2019-04-16 Rovi Guides, Inc. Systems and methods for managing power based on media asset consumption
EP4027648B8 (en) 2017-03-31 2024-09-25 Adeia Guides Inc. Systems and methods for creating a virtual channel for binge watching
US9948966B1 (en) 2017-04-19 2018-04-17 Rovi Guides, Inc. Systems and methods for modifying playback of a media asset based on an event that will interrupt playback of the media asset
US10509836B2 (en) 2017-04-19 2019-12-17 Rovi Guides, Inc. Systems and methods for presenting search results from multiple sources
US9942615B1 (en) 2017-04-20 2018-04-10 Rovi Guides, Inc. Systems and methods for presenting targeted metadata in display constrained environments
US10924819B2 (en) 2017-04-28 2021-02-16 Rovi Guides, Inc. Systems and methods for discovery of, identification of, and ongoing monitoring of viral media assets
US11074290B2 (en) 2017-05-03 2021-07-27 Rovi Guides, Inc. Media application for correcting names of media assets
WO2018203901A1 (en) 2017-05-04 2018-11-08 Rovi Guides, Inc. Systems and methods for adjusting dubbed speech based on context of a scene
US10318578B2 (en) 2017-05-23 2019-06-11 Rovi Guides, Inc. Systems and methods for updating a priority of a media asset using a continuous listening device
KR102428911B1 (ko) 2017-05-24 2022-08-03 로비 가이드스, 인크. 자동 음성 인식을 사용하여 생성되는 입력을 음성에 기초하여 정정하기 위한 방법 및 시스템
EP3632126B1 (en) 2017-05-31 2024-09-25 Adeia Guides Inc. Systems and methods for identifying whether to use a tailored playlist
US10038938B1 (en) 2017-06-02 2018-07-31 Rovi Guides, Inc. Systems and methods for controlling permissions to change parental control settings based on vocal characteristics of a user
US10564928B2 (en) 2017-06-02 2020-02-18 Rovi Guides, Inc. Systems and methods for generating a volume- based response for multiple voice-operated user devices
WO2018226232A1 (en) 2017-06-08 2018-12-13 Rovi Guides, Inc. Systems and methods for monitoring content distribution
US10515088B2 (en) 2017-06-09 2019-12-24 Rovi Guides, Inc. Systems and methods for grouping search results from multiple sources
US10909505B2 (en) 2017-06-15 2021-02-02 Rovi Guides, Inc. Systems and methods for delaying the start time of an event based on event attendee arrival times
US20180367857A1 (en) 2017-06-19 2018-12-20 Rovi Guides, Inc. Systems and methods for ranking content sources based on a number of media assets identified to be interesting to a user
US10362361B2 (en) 2017-06-20 2019-07-23 Rovi Guides, Inc. Systems and methods for dynamic inclusion and exclusion of a video from a media guidance interface
US10579401B2 (en) 2017-06-21 2020-03-03 Rovi Guides, Inc. Systems and methods for providing a virtual assistant to accommodate different sentiments among a group of users by correlating or prioritizing causes of the different sentiments
EP3580664A1 (en) 2017-06-28 2019-12-18 Rovi Guides, Inc. Systems and methods for replacing a stored version of media with a version better suited for a user
WO2019005030A1 (en) 2017-06-28 2019-01-03 Rovi Guides, Inc. SYSTEMS AND METHODS FOR PROVIDING PROGRAM UNDERSTANDING BASED ON USER COMFORT LEVELS AND A GEOGRAPHIC AREA
US10789616B2 (en) 2017-06-30 2020-09-29 Rovi Guides, Inc. Systems and methods for presenting supplemental information related to an advertisement consumed on a different device within a threshold time period of an end of a corresponding advertisement slot
US10810602B2 (en) 2017-06-30 2020-10-20 Rovi Guides, Inc. Systems and methods for generating consumption probability metrics
US10149008B1 (en) 2017-06-30 2018-12-04 Rovi Guides, Inc. Systems and methods for assisting a user with identifying and replaying content missed by another user based on an alert alerting the other user to the missed content
WO2019005855A1 (en) 2017-06-30 2019-01-03 Rovi Guides, Inc. SYSTEMS AND METHODS FOR PROVIDING ADDITIONAL INFORMATION RELATING TO ADVERTISING VIEWED ON A DIFFERENT DEVICE IN A TIME-TIME PERIOD SINCE THE END OF A CORRESPONDING ADVERTISING TIME CRANE
US10607260B2 (en) 2017-06-30 2020-03-31 Rovi Guides, Inc. Systems and methods for presenting supplemental information related to an advertisement consumed on a different device within a threshold time period based on historical user interactions
US11044527B2 (en) 2017-06-30 2021-06-22 Rovi Guides, Inc. Methods and systems for generating notifications based on the interests of guests
US11032594B2 (en) 2017-06-30 2021-06-08 Rovi Guides, Inc. Systems and methods for determining whether to update embedded advertisements in downloaded content using advertisement update criteria
US10149012B1 (en) 2017-07-19 2018-12-04 Rovi Guides, Inc. Systems and methods for generating a recommendation of a media asset for simultaneous consumption with a current media asset
US10592831B2 (en) 2017-07-20 2020-03-17 Rovi Guides, Inc. Methods and systems for recommending actors
US10187704B1 (en) 2017-07-20 2019-01-22 Rovi Guides, Inc. Methods and systems for presenting a media asset segment that is associated with a pre-specified quality of acting
US10271102B2 (en) 2017-07-24 2019-04-23 Rovi Guides, Inc. Systems and methods for conflict detection based on user preferences
US9961410B1 (en) 2017-07-24 2018-05-01 Rovi Guides, Inc. Systems and methods for conflict detection based on user preferences
US10691733B2 (en) 2017-07-26 2020-06-23 Rovi Guides, Inc. Methods and systems for replying to queries based on indexed conversations and context
WO2019022879A1 (en) 2017-07-26 2019-01-31 Rovi Guides, Inc. METHODS AND SYSTEMS FOR READING INDEXED CONVERSATIONS ACCORDING TO THE PRESENCE OF OTHERS
US10817553B2 (en) 2017-07-26 2020-10-27 Rovi Guides, Inc. Methods and systems for playing back indexed conversations based on the presence of other people
WO2019022748A1 (en) 2017-07-27 2019-01-31 Rovi Guides, Inc. SYSTEMS AND METHODS FOR EXTENDING RECORDINGS FOR MULTIMEDIA CONTENT BASED ON AGGREGATION OF USER DATA
US10205988B1 (en) 2017-08-10 2019-02-12 Rovi Guides, Inc. Systems and methods for automatically resuming appropriate paused content when there are multiple users at a media device
US10063927B1 (en) 2017-08-16 2018-08-28 Rovi Guides, Inc. Systems and methods for providing summarized views of a media asset in a multi-window user interface
US10057647B1 (en) 2017-08-31 2018-08-21 Rovi Guides, Inc. Methods and systems for launching multimedia applications based on device capabilities
US11120027B2 (en) 2017-09-06 2021-09-14 Rovi Guides, Inc. Systems and methods for identifying a category of a search term and providing search results subject to the identified category
US10715883B2 (en) 2017-09-06 2020-07-14 Rovi Guides, Inc. Systems and methods for generating summaries of missed portions of media assets
US10335680B2 (en) 2017-09-11 2019-07-02 Rovi Guides, Inc. Methods and systems for an interactive media guidance game
US11503379B2 (en) 2017-09-12 2022-11-15 Rovi Guides, Inc. Systems and methods for determining whether to adjust volumes of individual audio components in a media asset based on a type of a segment of the media asset
EP4380145A3 (en) 2017-09-13 2024-07-24 Rovi Guides, Inc. Methods and systems for providing relevant season series recording functionality
US11778253B2 (en) 2017-09-14 2023-10-03 Rovi Guides, Inc. Systems and methods for managing user subscriptions to content sources
CA3076186A1 (en) 2017-09-19 2019-03-28 Rovi Guides, Inc. Systems and methods for navigating internet appliances using a media guidance application
US10178422B1 (en) 2017-09-20 2019-01-08 Rovi Guides, Inc. Systems and methods for generating aggregated media assets based on related keywords
US10187677B1 (en) 2017-09-20 2019-01-22 Rovi Guides, Inc. Systems and methods for generating aggregated media assets on related content from different sources
EP3628123B1 (en) 2017-09-20 2021-09-22 Rovi Guides, Inc. Systems and methods for generating aggregated media assets on related content from different sources
EP3813062B1 (en) 2017-09-29 2023-11-22 Rovi Product Corporation Recommending results in multiple languages for search queries based on user profile
US10158900B1 (en) 2017-09-29 2018-12-18 Rovi Guides, Inc. Systems and methods for detecting and correlating schedule-related information in an electronic document to generate a calender schedule indicator
US10769210B2 (en) 2017-09-29 2020-09-08 Rovi Guides, Inc. Recommending results in multiple languages for search queries based on user profile
US10747817B2 (en) 2017-09-29 2020-08-18 Rovi Guides, Inc. Recommending language models for search queries based on user profile
US10123062B1 (en) * 2017-10-06 2018-11-06 Rovi Guides, Inc. Systems and methods for excluding consumed content from a content presentation
US11128929B2 (en) 2017-10-06 2021-09-21 Rovi Guides, Inc. Systems and methods for presenting closed caption and subtitle data during fast-access playback operations
US10601686B2 (en) 2017-10-17 2020-03-24 Rovi Guides, Inc. Systems and methods for improving quality of service while streaming code-agnostic content
US10630562B2 (en) 2017-10-17 2020-04-21 Rovi Guides, Inc. Systems and methods for improving quality of service while streaming code-agnostic content by editing manifest files
WO2019078930A1 (en) 2017-10-17 2019-04-25 Rovi Guides, Inc. SYSTEMS AND METHODS FOR IMPROVING QUALITY OF SERVICE DURING CONTINUOUS DIFFUSION OF CODE AGNOSTIC CONTENT
US10057630B1 (en) 2017-10-26 2018-08-21 Rovi Guides, Inc. Systems and methods for resuming playback of media content
US10587716B2 (en) 2017-10-26 2020-03-10 Rovi Guides, Inc. Systems and methods for optimizing allocation of bandwidth for pre-caching media content
WO2019084181A1 (en) 2017-10-26 2019-05-02 Rovi Guides, Inc. SYSTEMS AND METHODS FOR RECOMMENDING PAUSE POSITION AND RESUME READING MULTIMEDIA CONTENT
US10659836B2 (en) 2017-10-26 2020-05-19 Rovi Guides, Inc. Systems and methods for providing a deletion notification
US10110952B1 (en) 2017-10-26 2018-10-23 Rovi Guides, Inc. Systems and methods for providing a low power mode for a media guidance application
WO2019083573A1 (en) 2017-10-26 2019-05-02 Rovi Guides, Inc. SYSTEMS AND METHODS FOR PROVIDING DELETION NOTIFICATIONS
US10362354B2 (en) 2017-10-26 2019-07-23 Rovi Guides, Inc. Systems and methods for providing pause position recommendations
US20190130655A1 (en) 2017-10-30 2019-05-02 Rovi Guides, Inc. Systems and methods for presentation of augmented reality supplemental content in combination with presentation of media content
US10063910B1 (en) 2017-10-31 2018-08-28 Rovi Guides, Inc. Systems and methods for customizing a display of information associated with a media asset
US10341735B2 (en) 2017-11-06 2019-07-02 Rovi Guides, Inc. Systems and methods for sharing content service provider subscriptions
US10638182B2 (en) 2017-11-09 2020-04-28 Rovi Guides, Inc. Systems and methods for simulating a sports event on a second device based on a viewer's behavior
US10063911B1 (en) 2017-11-09 2018-08-28 Rovi Guides, Inc. Methods and systems for re-integrating a PIP catch-up window with live video
EP3622409A1 (en) 2017-11-10 2020-03-18 Rovi Guides, Inc. Systems and methods for dynamically educating users on sports terminology
US10602201B2 (en) 2017-11-13 2020-03-24 Rovi Guides, Inc. Systems and methods for identifying a sports player of interest to a user despite the user being disinterested in the player's athletic accomplishments
US10992719B2 (en) 2017-11-14 2021-04-27 Rovi Guides, Inc. Systems and methods for establishing a voice link between users accessing media
US10349143B2 (en) 2017-11-16 2019-07-09 Rovi Guides, Inc. Systems and methods for providing binge-watching pause position recommendations
US10433015B2 (en) 2017-11-16 2019-10-01 Rovi Guides, Inc. Systems and methods for providing recommendations based on short-media viewing profile and long-media viewing profile
JP7311509B2 (ja) 2017-11-20 2023-07-19 ロヴィ ガイズ, インコーポレイテッド 電子書籍のための補足コンテンツをフィルタ処理するためのシステムおよび方法
US10909191B2 (en) 2017-11-20 2021-02-02 Rovi Guides, Inc. Systems and methods for displaying supplemental content for an electronic book
US10462528B2 (en) 2017-11-20 2019-10-29 Rovi Guides, Inc. Methods and systems for indicating popular content
US10909193B2 (en) 2017-11-20 2021-02-02 Rovi Guides, Inc. Systems and methods for filtering supplemental content for an electronic book
US11025998B2 (en) 2017-11-27 2021-06-01 Rovi Guides, Inc. Systems and methods for dynamically extending or shortening segments in a playlist
US11140450B2 (en) 2017-11-28 2021-10-05 Rovi Guides, Inc. Methods and systems for recommending content in context of a conversation
US10194204B1 (en) 2017-11-29 2019-01-29 Rovi Guides, Inc. Systems and methods for controlling playback of a media asset based on delay of a scheduled event
US10511889B2 (en) 2017-11-29 2019-12-17 Rovi Guides, Inc. Systems and methods for automatically returning to playback of a media asset when the media asset is trending in social chatter
WO2019112577A1 (en) 2017-12-06 2019-06-13 Rovi Guides, Inc Systems and methods for bandwidth consumption management
US10425247B2 (en) 2017-12-12 2019-09-24 Rovi Guides, Inc. Systems and methods for modifying playback of a media asset in response to a verbal command unrelated to playback of the media asset
US10135632B1 (en) 2017-12-12 2018-11-20 Rovi Guides, Inc. Systems and methods for determining whether a user is authorized to perform an action in response to a detected sound
JP7275134B2 (ja) 2017-12-12 2023-05-17 ロヴィ ガイズ, インコーポレイテッド メディアアセットの再生に無関係である口頭コマンドに応答して、メディアアセットの再生を修正するためのシステムおよび方法
SG11202004992QA (en) * 2017-12-13 2020-06-29 Guangzhou Huya Information Technology Co Ltd Display Method for Live Broadcast Screen of Live Broadcast Room, Storage Device and Computer Device
US10158911B1 (en) 2017-12-14 2018-12-18 Rovi Guides, Inc. Systems and methods for managing storage of duplicate copies of a media asset at a storage device
CA3084663A1 (en) 2017-12-14 2019-06-20 Rovi Guides, Inc. Systems and methods for aggregating related media content based on tagged content
US10149001B1 (en) 2017-12-14 2018-12-04 Rovi Guides, Inc. Systems and methods for managing storage of duplicate copies of a media asset at a storage device
EP3725085B1 (en) 2017-12-14 2023-12-20 Rovi Guides, Inc. Systems and methods for managing storage of duplicate copies of a media asset at a storage device
US10433019B2 (en) 2017-12-19 2019-10-01 Rovi Guides, Inc. Systems and methods for adaptive storage and scheduling of media assets
US12160636B2 (en) 2017-12-19 2024-12-03 Adeia Guides Inc. Systems and methods for preventing spoilers in a results display for a tournament-style competition by selectively blacking out competitor results
EP3622721B8 (en) 2017-12-19 2024-10-09 Adeia Guides Inc. Systems and methods for preventing spoilers in a results display for a tournament-style competition by selectively blacking out competitor results
US10182271B1 (en) 2017-12-20 2019-01-15 Rovi Guides, Inc. Systems and methods for playback of summary media content
US10812847B2 (en) 2017-12-20 2020-10-20 Rovi Guides, Inc. Systems and methods for avoiding spoilers in presenting recording prompts relating to a competition
CA3085168A1 (en) 2017-12-20 2019-06-27 Rovi Guides, Inc. Systems and methods for dynamically adjusting notification frequency for an event
US11451874B2 (en) 2017-12-21 2022-09-20 Rovi Guides, Inc. Systems and methods for providing a progress bar for updating viewing status of previously viewed content
US11010946B2 (en) 2017-12-21 2021-05-18 Rovi Guides, Inc. Systems and method for dynamic insertion of advertisements
US10158919B1 (en) 2017-12-21 2018-12-18 Rovi Guides, Inc. Systems and methods for dynamically enabling and disabling a biometric device
US11295234B2 (en) 2017-12-26 2022-04-05 Rovi Guides, Inc. Methods and systems for training a machine learning system using a reduced data set
EP4246508A3 (en) 2017-12-27 2023-11-15 Rovi Guides, Inc. Systems and methods for identifying users based on voice data and media consumption data
US10158917B1 (en) 2017-12-28 2018-12-18 Rovi Guides, Inc. Systems and methods for generating customized shared viewing experiences in virtual reality environments
US10360454B1 (en) 2017-12-28 2019-07-23 Rovi Guides, Inc. Systems and methods for presenting supplemental content in augmented reality
US10582238B2 (en) 2017-12-28 2020-03-03 Rovi Guides, Inc. Systems and methods for management of media content subscriptions
US10735804B2 (en) 2017-12-28 2020-08-04 Rovi Guides, Inc. Systems and methods for adaptively buffering media content at a digital video recorder
WO2019133045A1 (en) 2017-12-28 2019-07-04 Rovi Guides, Inc. Systems and methods for generating customized shared viewing experiences in virtual reality environments
US10362357B1 (en) 2017-12-28 2019-07-23 Rovi Guides, Inc. Systems and methods for resuming media in different modes of playback based on attributes of a physical environment
US10535190B2 (en) 2017-12-28 2020-01-14 Rovi Guides, Inc. Systems and methods for changing a users perspective in virtual reality based on a user-selected position
EP4554242A3 (en) 2017-12-29 2025-07-23 Adeia Guides Inc. Systems and methods for providing a storyline selection interface
US10097879B1 (en) 2017-12-29 2018-10-09 Rovi Guides, Inc. Systems and methods for extending storage space of a user device
US10728624B2 (en) 2017-12-29 2020-07-28 Rovi Guides, Inc. Systems and methods for modifying fast-forward speeds based on the user's reaction time when detecting points of interest in content
US10147461B1 (en) 2017-12-29 2018-12-04 Rovi Guides, Inc. Systems and methods for alerting users to differences between different media versions of a story
US10123078B1 (en) 2018-02-02 2018-11-06 Rovi Guides, Inc. Methods and systems for selecting a media content item for presentation during a trip
US10154319B1 (en) 2018-02-15 2018-12-11 Rovi Guides, Inc. Systems and methods for customizing delivery of advertisements
US10671658B2 (en) 2018-02-22 2020-06-02 Rovi Guides, Inc. Systems and methods for automatically generating supplemental content for a media asset based on a user's personal media collection
WO2019212613A1 (en) 2018-02-22 2019-11-07 Rovi Guides, Inc. Systems and methods for automatically generating supplemental content for a media asset based on a user's personal media collection
WO2019164510A1 (en) 2018-02-23 2019-08-29 Rovi Guides, Inc. Systems and methods for creating a non-curated viewing perspective in a video game platform based on a curated viewing perspective
US10582229B2 (en) 2018-02-23 2020-03-03 Rovi Guides, Inc. Systems and methods for managing recorded media assets through advertisement insertion
WO2019172906A1 (en) 2018-03-07 2019-09-12 Rovi Guides, Inc. Systems and methods for scheduling a communication session based on media asset communication data
US10599713B2 (en) 2018-03-07 2020-03-24 Rovi Guides, Inc. Systems and methods for determining whether to output a reply to a message relating to a previous conversation when a device is on a do-not-disturb mode
US10321195B1 (en) 2018-03-07 2019-06-11 Rovi Guides, Inc. Systems and methods for automatically outputting a reply to a message relating to a media asset a user is currently watching when the user's device is on a do-not-disturb mode
US11178449B2 (en) 2018-03-09 2021-11-16 Rovi Guides, Inc. Systems and methods for intelligently managing storage space occupied by media assets
US11082383B2 (en) 2018-03-13 2021-08-03 ROVl GUIDES, INC. Systems and methods for displaying a notification at an area on a display screen that is within a line of sight of a subset of audience members to whom the notification pertains
US10749828B2 (en) 2018-03-14 2020-08-18 Rovi Guides, Inc. Systems and methods for presenting event notifications, based on trending communications, on devices notwithstanding a user instruction to disable event notifications
WO2019178213A1 (en) 2018-03-14 2019-09-19 Rovi Guides, Inc. Systems and methods for presenting event notifications, based on trending communications, on devices notwithstanding a user instruction to disable event notifications
US10491962B2 (en) 2018-03-14 2019-11-26 Rovi Guides, Inc. Systems and methods for presenting event notifications, based on active applications in a social group, on devices notwithstanding a user instruction to disable event notifications
WO2019178555A1 (en) 2018-03-15 2019-09-19 Rovi Guides, Inc. Methods and systems for selecting a destination for storage of a media asset based on trick-play likelihood
US10382812B1 (en) 2018-03-15 2019-08-13 Rovi Guides, Inc. Methods and systems for selecting a destination for storage of a media asset based on trick-play likelihood
US10382821B1 (en) 2018-03-15 2019-08-13 Rovi Guides, Inc. Methods and systems for selecting a destination for storage of a media asset based on wireless access likelihood
US10885315B2 (en) 2018-03-19 2021-01-05 Rovi Guides, Inc. Systems and methods for alerting a user to published undesirable images depicting the user
US11593429B2 (en) 2018-03-21 2023-02-28 Rovi Guides, Inc. Systems and methods for presenting auxiliary video relating to an object a user is interested in when the user returns to a frame of a video in which the object is depicted
US10440440B1 (en) 2018-03-23 2019-10-08 Rovi Guides, Inc. Systems and methods for prompting a user to view an important event in a media asset presented on a first device when the user is viewing another media asset presented on a second device
US10448072B1 (en) 2018-03-23 2019-10-15 Rovi Guides, Inc. Systems and methods for increasing a likelihood of media asset consumption using recommendation chains
US10382829B1 (en) 2018-03-23 2019-08-13 Rovi Guides, Inc. Systems and methods for prompting a user to view an important event in a media asset when the user is using another application
US11405680B2 (en) 2018-03-23 2022-08-02 Rovi Guides, Inc. Systems and methods for obscuring presentation of media objects during playback of video based on interactions with other media objects
WO2019190462A1 (en) 2018-03-26 2019-10-03 Rovi Guides, Inc. Methods and systems for performing context maintenance on search queries in a conversational search environment
US10412450B1 (en) 2018-03-27 2019-09-10 Rovi Guides, Inc. Systems and methods for managing local and cloud storage for media assets
US10756921B2 (en) 2018-03-27 2020-08-25 Rovi Guides, Inc. Systems and methods for training network-connected objects to provide configurations in association with events within media assets
WO2019190486A1 (en) 2018-03-27 2019-10-03 Rovi Guides, Inc. Systems and methods for selecting network-connected devices to provide device functions for an event
US10931471B2 (en) 2018-03-27 2021-02-23 Rovi Guides, Inc. Systems and methods for avoiding interruptions from network-connected devices during media viewing
US10461955B2 (en) 2018-03-27 2019-10-29 Rovi Guides, Inc. Systems and methods for preemptively preventing interruptions from network-connected devices from occurring during media viewing
EP3777046A1 (en) 2018-03-27 2021-02-17 Rovi Guides, Inc. Systems and methods for preemptively preventing interruptions from network-connected devices from occurring during media viewing
ES3041255T3 (en) 2018-03-28 2025-11-11 Adeia Guides Inc Systems and methods for adjusting a media consumption environment based on changes in states of an object
US10341742B1 (en) 2018-03-28 2019-07-02 Rovi Guides, Inc. Systems and methods for alerting a user to missed content in previously accessed media
US10284897B1 (en) 2018-03-28 2019-05-07 Rovi Guides, Inc. Systems and methods for modifying the display of inputs on a user input device
US11089372B2 (en) 2018-03-28 2021-08-10 Rovi Guides, Inc. Systems and methods to provide media asset recommendations based on positioning of internet connected objects on an network-connected surface
CA3038324A1 (en) 2018-03-28 2019-09-28 Rovi Guides, Inc. Systems and methods for automatically identifying a user preference for a participant from a competition event
US11282123B2 (en) 2018-03-29 2022-03-22 Rovi Guides, Inc. Methods and systems for providing media asset recommendations based on distributed blockchain analysis
US10580215B2 (en) 2018-03-29 2020-03-03 Rovi Guides, Inc. Systems and methods for displaying supplemental content for print media using augmented reality
US11539996B2 (en) 2018-03-29 2022-12-27 Rovi Guides, Inc. Systems and methods for implementing master/slave configuration data to reduce an amount of configuration data that needs to be centrally stored for large-scale distribution
US10853411B2 (en) 2018-04-06 2020-12-01 Rovi Guides, Inc. Systems and methods for identifying a media asset from an ambiguous audio indicator
US10204160B1 (en) 2018-04-10 2019-02-12 Rovi Guides, Inc. Methods and systems for disambiguating user input based on detection of ensembles of items
US11265602B2 (en) 2018-04-12 2022-03-01 Rovi Guides, Inc. Systems and methods for evaluating a promotional campaign
US10869074B2 (en) 2018-04-24 2020-12-15 Rovi Guides, Inc. Systems and methods for optimizing content viewing using digital rights of multiple users
US10810286B2 (en) 2018-04-24 2020-10-20 Rovi Guides, Inc. Systems and methods for intelligently accessing media content based on rights
US10650054B2 (en) 2018-04-24 2020-05-12 Rovi Guides, Inc. Systems and methods for updating search results based on a conversation
US20190342608A1 (en) 2018-05-04 2019-11-07 Rovi Guides, Inc. Methods and systems for providing uncorrupted media assets
US10719988B2 (en) 2018-05-07 2020-07-21 Rovi Guides, Inc. Systems and methods for updating a non-augmented reality display with user interactions in an augmented reality display
US20190373307A1 (en) * 2018-05-29 2019-12-05 Arris Enterprises Llc Window displaying navigable program information
US10390097B1 (en) 2018-05-30 2019-08-20 Rovi Guides, Inc. Systems and methods for creating an asynchronous social watching experience among users
US10412434B1 (en) 2018-06-05 2019-09-10 Rovi Guides, Inc. Systems and methods for seamlessly connecting to a user's device to share and display a relevant media asset
US10375432B1 (en) 2018-06-05 2019-08-06 Rovi Guides, Inc. Systems and methods for seamlessly connecting devices based on relationships between the users of the respective devices
CA3099936A1 (en) 2018-06-13 2019-12-19 Rovi Guides, Inc. Systems and methods for seamlessly outputting embedded media from a digital page on nearby devices most suitable for access
US10180983B1 (en) 2018-06-18 2019-01-15 Rovi Guides, Inc. Methods and systems for sharing a user interface of a search engine
US10491943B1 (en) 2018-06-22 2019-11-26 Rovi Guides, Inc. Systems and methods for automatically generating scoring scenarios with video of event
US11995118B2 (en) 2018-06-25 2024-05-28 Rovi Guides, Inc. Methods and systems for updating metadata of a media asset
US10779058B2 (en) 2018-06-26 2020-09-15 Rovi Guides, Inc. System and methods for selecting and generating portions of a target media asset for advertising the target media asset while the user watches a media asset
US10878810B2 (en) * 2018-06-28 2020-12-29 Rovi Guides, Inc. Systems and methods for performing actions on network-connected objects in response to reminders on devices based on an action criterion
US10708674B2 (en) 2018-06-29 2020-07-07 Rovi Guides, Inc. Systems and methods for enabling and monitoring content creation while consuming a live video
WO2020005277A1 (en) 2018-06-29 2020-01-02 Wondra Dylan Matthew Systems and methods for providing synchronized supplemental content to a subset of users that are disinterested in live content
US10257547B1 (en) 2018-06-29 2019-04-09 Rovi Guides, Inc. Systems and methods for altering a progress bar to prevent spoilers in a media asset
US10362344B1 (en) 2018-07-05 2019-07-23 Rovi Guides, Inc. Systems and methods for providing media content related to a viewer indicated ambiguous situation during a sporting event
US10477254B1 (en) 2018-07-05 2019-11-12 Rovi Guides, Inc. Systems and methods for providing media content related to a detected ambiguous situation during a sporting event
US10602234B2 (en) 2018-07-12 2020-03-24 Rovi Guides, Inc. Systems and methods for gamification of real-time instructional commentating
US10616649B2 (en) 2018-07-19 2020-04-07 Rovi Guides, Inc. Providing recommendations based on passive microphone detections
US10805686B2 (en) 2018-08-30 2020-10-13 Rovi Guides, Inc. Systems and methods for generating a media-based result to an ambiguous query
US10489496B1 (en) 2018-09-04 2019-11-26 Rovi Guides, Inc. Systems and methods for advertising within a subtitle of a media asset
US20200074321A1 (en) 2018-09-04 2020-03-05 Rovi Guides, Inc. Methods and systems for using machine-learning extracts and semantic graphs to create structured data to drive search, recommendation, and discovery
US11032595B2 (en) 2018-09-28 2021-06-08 Rovi Guides, Inc. Systems and methods for delivery of content via multicast and unicast
US11068527B2 (en) 2018-10-04 2021-07-20 Rovi Guides, Inc. Systems and methods for optimizing delivery of content recommendations
US10986404B2 (en) 2018-10-24 2021-04-20 Rovi Guides, Inc. Systems and methods for overriding user input of commands in a multi-user environment
US11252483B2 (en) 2018-11-29 2022-02-15 Rovi Guides, Inc. Systems and methods for summarizing missed portions of storylines
US20200396189A1 (en) 2019-06-13 2020-12-17 Rovi Guides, Inc. Method and apparatus for improved electronic mail filtering using media viewing history
CN111464870A (zh) * 2020-03-30 2020-07-28 北京小米移动软件有限公司 电子节目指南的加载方法及装置、存储介质
US12192567B2 (en) 2020-07-23 2025-01-07 Adeia Guides Inc. Systems and methods for simultaneous content presentation
US11323778B2 (en) * 2020-09-23 2022-05-03 Sony Group Corporation Unified programming guide for content associated with broadcaster and VOD applications
US11695993B1 (en) * 2020-10-05 2023-07-04 America's Collectibles Network, Inc. System and method for creating and organizing content
US11630710B2 (en) 2021-07-22 2023-04-18 Rovi Guides, Inc. Systems and methods to improve notifications with temporal content
US11991413B2 (en) 2021-08-02 2024-05-21 Rovi Guides, Inc. Systems and methods for detecting a number of viewers

Citations (8)

* Cited by examiner, † Cited by third party
Publication number Priority date Publication date Assignee Title
WO1996007270A1 (en) * 1994-08-31 1996-03-07 Yuen Henry C Method and apparatus for displaying television programs and related text
JPH08307840A (ja) * 1995-05-10 1996-11-22 Matsushita Electric Ind Co Ltd テレビジョン受信機用の通知システムおよび通知方法
JPH0983888A (ja) * 1995-09-12 1997-03-28 Toshiba Corp 番組表示装置
JPH09219819A (ja) * 1996-02-14 1997-08-19 Sony Corp 電子番組ガイド表示制御装置及び方法
WO1997033433A1 (en) * 1996-03-04 1997-09-12 Matsushita Electric Industrial Co., Ltd. Image selecting/displaying apparatus
JPH09284734A (ja) * 1996-02-14 1997-10-31 Sony Corp 電子番組ガイド表示制御装置及び方法
JPH09284670A (ja) * 1996-04-19 1997-10-31 Hitachi Ltd 受信装置
JPH09298697A (ja) * 1996-04-26 1997-11-18 Sony Corp 電子番組ガイド表示制御装置及びその方法

Family Cites Families (42)

* Cited by examiner, † Cited by third party
Publication number Priority date Publication date Assignee Title
DE3036552C2 (de) 1980-09-27 1985-04-25 Blaupunkt-Werke Gmbh, 3200 Hildesheim Fernsehempfangsanlage
US4963994A (en) 1981-12-14 1990-10-16 Levine Michael R VCR programmer
JPS6061935A (ja) 1983-09-13 1985-04-09 Matsushita Electric Ind Co Ltd 磁気記録再生装置
US4787063A (en) 1984-10-19 1988-11-22 Francis Muguet Acquisition and transmission system for a recorder and a computer center
US4751578A (en) 1985-05-28 1988-06-14 David P. Gordon System for electronically controllably viewing on a television updateable television programming information
US4706121B1 (en) 1985-07-12 1993-12-14 Insight Telecast, Inc. Tv schedule system and process
US4977455B1 (en) 1988-07-15 1993-04-13 System and process for vcr scheduling
JP3002471B2 (ja) 1988-08-19 2000-01-24 株式会社日立製作所 番組配信装置
DE3928175A1 (de) 1989-01-21 1990-07-26 Nokia Unterhaltungselektronik Videoempfangseinrichtung
US5253066C1 (en) 1989-06-01 2001-05-22 United Video Properties Inc Tv recording and viewing control system
US5047867A (en) 1989-06-08 1991-09-10 North American Philips Corporation Interface for a TV-VCR system
US5038211A (en) 1989-07-05 1991-08-06 The Superguide Corporation Method and apparatus for transmitting and receiving television program information
US5353121A (en) 1989-10-30 1994-10-04 Starsight Telecast, Inc. Television schedule system
DE69033905T2 (de) 1989-10-30 2003-02-06 Starsight Telecast Inc Schnittstelle zwischen kabelfernsehdekoder und fernsehzubehör
JPH06504165A (ja) 1990-09-10 1994-05-12 スターサイト テレキカスト インコーポレイテッド テレビジョンスケジュールシステムのユーザーインタフェース
US5412720A (en) * 1990-09-28 1995-05-02 Ictv, Inc. Interactive home information system
KR930008172B1 (ko) 1990-11-28 1993-08-26 주식회사 금성사 브이씨알의 문자다중방송 수신회로
GB9111524D0 (en) 1991-05-29 1991-07-17 Hewlett Packard Co Data storage method and apparatus
JPH05122692A (ja) 1991-10-28 1993-05-18 Pioneer Electron Corp Catv端末装置およびcatvシステム
US5539449A (en) 1993-05-03 1996-07-23 At&T Corp. Integrated television services system
US5583560A (en) * 1993-06-22 1996-12-10 Apple Computer, Inc. Method and apparatus for audio-visual interface for the selective display of listing information on a display
US5594509A (en) 1993-06-22 1997-01-14 Apple Computer, Inc. Method and apparatus for audio-visual interface for the display of multiple levels of information on a display
US5589892A (en) * 1993-09-09 1996-12-31 Knee; Robert A. Electronic television program guide schedule system and method with data feed access
US5502504A (en) 1994-04-28 1996-03-26 Prevue Networks, Inc. Video mix program guide
US5523796A (en) 1994-05-20 1996-06-04 Prevue Networks, Inc. Video clip program guide
US5635978A (en) * 1994-05-20 1997-06-03 News America Publications, Inc. Electronic television program guide channel system and method
US5528304A (en) * 1994-07-22 1996-06-18 Zenith Electronics Corp. Picture-in-picture feedback for channel related features
US6008803A (en) * 1994-11-29 1999-12-28 Microsoft Corporation System for displaying programming information
US5623613A (en) * 1994-11-29 1997-04-22 Microsoft Corporation System for displaying programming information
US5585838A (en) * 1995-05-05 1996-12-17 Microsoft Corporation Program time guide
US5805763A (en) 1995-05-05 1998-09-08 Microsoft Corporation System and method for automatically recording programs in an interactive viewing system
US6323911B1 (en) 1995-10-02 2001-11-27 Starsight Telecast, Inc. System and method for using television schedule information
US6075575A (en) 1995-10-02 2000-06-13 Starsight Telecast, Inc. Remote control device and method for using television schedule information
JPH09182038A (ja) 1995-10-24 1997-07-11 Sony Corp テレビジョン放送装置およびテレビジョン放送方法、テレビジョン受像機およびテレビジョン受像方法、並びにテレビジョン信号受信装置
US6199206B1 (en) * 1995-10-24 2001-03-06 Sony Corporation Television transmitter, television transmitting method, television receiver and television receiving method
JP3572598B2 (ja) 1996-03-06 2004-10-06 ソニー株式会社 電子番組ガイド表示制御装置及び方法
KR100478110B1 (ko) 1996-03-15 2005-08-31 이 가이드, 인코포레이티드 텔레비전프로그램및관련텍스트를디스플레이하는방법및장치
EP2271084A3 (en) * 1996-03-15 2011-02-16 Gemstar Development Corporation Combination of VCR index and EPG
WO1997049242A1 (en) 1996-06-17 1997-12-24 Starsight Telecast Incorporated System and method for using television schedule information
US6177931B1 (en) * 1996-12-19 2001-01-23 Index Systems, Inc. Systems and methods for displaying and recording control interface with television programs, video, advertising information and program scheduling information
US5850218A (en) * 1997-02-19 1998-12-15 Time Warner Entertainment Company L.P. Inter-active program guide with default selection control
US6018372A (en) * 1997-09-04 2000-01-25 Liberate Technologies Electronic program guide with multiple day planner

Patent Citations (8)

* Cited by examiner, † Cited by third party
Publication number Priority date Publication date Assignee Title
WO1996007270A1 (en) * 1994-08-31 1996-03-07 Yuen Henry C Method and apparatus for displaying television programs and related text
JPH08307840A (ja) * 1995-05-10 1996-11-22 Matsushita Electric Ind Co Ltd テレビジョン受信機用の通知システムおよび通知方法
JPH0983888A (ja) * 1995-09-12 1997-03-28 Toshiba Corp 番組表示装置
JPH09219819A (ja) * 1996-02-14 1997-08-19 Sony Corp 電子番組ガイド表示制御装置及び方法
JPH09284734A (ja) * 1996-02-14 1997-10-31 Sony Corp 電子番組ガイド表示制御装置及び方法
WO1997033433A1 (en) * 1996-03-04 1997-09-12 Matsushita Electric Industrial Co., Ltd. Image selecting/displaying apparatus
JPH09284670A (ja) * 1996-04-19 1997-10-31 Hitachi Ltd 受信装置
JPH09298697A (ja) * 1996-04-26 1997-11-18 Sony Corp 電子番組ガイド表示制御装置及びその方法

Also Published As

Publication number Publication date
DE69804351D1 (de) 2002-04-25
JP2012065351A (ja) 2012-03-29
WO1999030491A1 (en) 1999-06-17
US7979878B2 (en) 2011-07-12
JP2001526501A (ja) 2001-12-18
AU740008B2 (en) 2001-10-25
EP1038393A1 (en) 2000-09-27
BR9813479A (pt) 2000-10-10
RU2000118234A (ru) 2002-07-10
US6564378B1 (en) 2003-05-13
US7487528B2 (en) 2009-02-03
AU1456399A (en) 1999-06-28
KR100545503B1 (ko) 2006-01-24
DE69804351T2 (de) 2002-07-18
CN1127849C (zh) 2003-11-12
NO20002262L (no) 2000-06-08
CA2311373A1 (en) 1999-06-17
CN1281616A (zh) 2001-01-24
ES2174514T3 (es) 2002-11-01
KR20010032856A (ko) 2001-04-25
US20030177494A1 (en) 2003-09-18
JP4331890B2 (ja) 2009-09-16
US20100005490A1 (en) 2010-01-07
US20120054799A1 (en) 2012-03-01
NO20002262D0 (no) 2000-04-28
JP5099925B2 (ja) 2012-12-19
EP1038393B1 (en) 2002-03-20
ATE214856T1 (de) 2002-04-15
CA2311373C (en) 2009-06-02
IL136575A0 (en) 2001-06-14
JP2006060872A (ja) 2006-03-02

Similar Documents

Publication Publication Date Title
JP4331890B2 (ja) ブラウジングディスプレイを有する番組ガイドシステム
KR100565126B1 (ko) 플립 및 브라우즈 광고를 구비한 프로그램 가이드 장치 및그 방법
US7814421B2 (en) Program guide system with video window browsing
US6061097A (en) Interactive television program guide with selectable non-program options
JP2012191649A (ja) 対話型番組ガイドナビゲータメニューシステム
CA2513282C (en) Program guide system with flip and browse advertisements
HK1032309A (en) Program guide system with browsing display
HK1032309B (en) Program guide system with browsing display
CA2568296C (en) Program guide system with flip and browse advertisements
MXPA00005592A (en) Program guide system with browsing display

Legal Events

Date Code Title Description
A521 Request for written amendment filed

Free format text: JAPANESE INTERMEDIATE CODE: A523

Effective date: 20100901

A131 Notification of reasons for refusal

Free format text: JAPANESE INTERMEDIATE CODE: A131

Effective date: 20110616

A601 Written request for extension of time

Free format text: JAPANESE INTERMEDIATE CODE: A601

Effective date: 20110914

A602 Written permission of extension of time

Free format text: JAPANESE INTERMEDIATE CODE: A602

Effective date: 20110920

A521 Request for written amendment filed

Free format text: JAPANESE INTERMEDIATE CODE: A523

Effective date: 20111125

A131 Notification of reasons for refusal

Free format text: JAPANESE INTERMEDIATE CODE: A131

Effective date: 20120207

A601 Written request for extension of time

Free format text: JAPANESE INTERMEDIATE CODE: A601

Effective date: 20120502

A602 Written permission of extension of time

Free format text: JAPANESE INTERMEDIATE CODE: A602

Effective date: 20120509

A601 Written request for extension of time

Free format text: JAPANESE INTERMEDIATE CODE: A601

Effective date: 20120517

A602 Written permission of extension of time

Free format text: JAPANESE INTERMEDIATE CODE: A602

Effective date: 20120522

A521 Request for written amendment filed

Free format text: JAPANESE INTERMEDIATE CODE: A523

Effective date: 20120807

TRDD Decision of grant or rejection written
A01 Written decision to grant a patent or to grant a registration (utility model)

Free format text: JAPANESE INTERMEDIATE CODE: A01

Effective date: 20120823

A01 Written decision to grant a patent or to grant a registration (utility model)

Free format text: JAPANESE INTERMEDIATE CODE: A01

A61 First payment of annual fees (during grant procedure)

Free format text: JAPANESE INTERMEDIATE CODE: A61

Effective date: 20120924

FPAY Renewal fee payment (event date is renewal date of database)

Free format text: PAYMENT UNTIL: 20151005

Year of fee payment: 3

R150 Certificate of patent or registration of utility model

Free format text: JAPANESE INTERMEDIATE CODE: R150

S111 Request for change of ownership or part of ownership

Free format text: JAPANESE INTERMEDIATE CODE: R313111

R350 Written notification of registration of transfer

Free format text: JAPANESE INTERMEDIATE CODE: R350

R250 Receipt of annual fees

Free format text: JAPANESE INTERMEDIATE CODE: R250

R250 Receipt of annual fees

Free format text: JAPANESE INTERMEDIATE CODE: R250

R250 Receipt of annual fees

Free format text: JAPANESE INTERMEDIATE CODE: R250

R250 Receipt of annual fees

Free format text: JAPANESE INTERMEDIATE CODE: R250

EXPY Cancellation because of completion of term