JP2010015124A - 液晶表示装置 - Google Patents

液晶表示装置 Download PDF

Info

Publication number
JP2010015124A
JP2010015124A JP2008314669A JP2008314669A JP2010015124A JP 2010015124 A JP2010015124 A JP 2010015124A JP 2008314669 A JP2008314669 A JP 2008314669A JP 2008314669 A JP2008314669 A JP 2008314669A JP 2010015124 A JP2010015124 A JP 2010015124A
Authority
JP
Japan
Prior art keywords
liquid crystal
crystal panel
crystal display
display device
main support
Prior art date
Legal status (The legal status is an assumption and is not a legal conclusion. Google has not performed a legal analysis and makes no representation as to the accuracy of the status listed.)
Granted
Application number
JP2008314669A
Other languages
English (en)
Other versions
JP4988691B2 (ja
Inventor
Hyojin Kim
ヒョジン・キム
Hyunki Kim
ヒョンギ・キム
Current Assignee (The listed assignees may be inaccurate. Google has not performed a legal analysis and makes no representation or warranty as to the accuracy of the list.)
LG Display Co Ltd
Original Assignee
LG Display Co Ltd
Priority date (The priority date is an assumption and is not a legal conclusion. Google has not performed a legal analysis and makes no representation as to the accuracy of the date listed.)
Filing date
Publication date
Application filed by LG Display Co Ltd filed Critical LG Display Co Ltd
Publication of JP2010015124A publication Critical patent/JP2010015124A/ja
Application granted granted Critical
Publication of JP4988691B2 publication Critical patent/JP4988691B2/ja
Expired - Fee Related legal-status Critical Current
Anticipated expiration legal-status Critical

Links

Images

Classifications

    • GPHYSICS
    • G02OPTICS
    • G02FOPTICAL DEVICES OR ARRANGEMENTS FOR THE CONTROL OF LIGHT BY MODIFICATION OF THE OPTICAL PROPERTIES OF THE MEDIA OF THE ELEMENTS INVOLVED THEREIN; NON-LINEAR OPTICS; FREQUENCY-CHANGING OF LIGHT; OPTICAL LOGIC ELEMENTS; OPTICAL ANALOGUE/DIGITAL CONVERTERS
    • G02F1/00Devices or arrangements for the control of the intensity, colour, phase, polarisation or direction of light arriving from an independent light source, e.g. switching, gating or modulating; Non-linear optics
    • G02F1/01Devices or arrangements for the control of the intensity, colour, phase, polarisation or direction of light arriving from an independent light source, e.g. switching, gating or modulating; Non-linear optics for the control of the intensity, phase, polarisation or colour 
    • G02F1/13Devices or arrangements for the control of the intensity, colour, phase, polarisation or direction of light arriving from an independent light source, e.g. switching, gating or modulating; Non-linear optics for the control of the intensity, phase, polarisation or colour  based on liquid crystals, e.g. single liquid crystal display cells
    • G02F1/133Constructional arrangements; Operation of liquid crystal cells; Circuit arrangements
    • G02F1/1333Constructional arrangements; Manufacturing methods
    • G02F1/133308Support structures for LCD panels, e.g. frames or bezels
    • GPHYSICS
    • G02OPTICS
    • G02FOPTICAL DEVICES OR ARRANGEMENTS FOR THE CONTROL OF LIGHT BY MODIFICATION OF THE OPTICAL PROPERTIES OF THE MEDIA OF THE ELEMENTS INVOLVED THEREIN; NON-LINEAR OPTICS; FREQUENCY-CHANGING OF LIGHT; OPTICAL LOGIC ELEMENTS; OPTICAL ANALOGUE/DIGITAL CONVERTERS
    • G02F1/00Devices or arrangements for the control of the intensity, colour, phase, polarisation or direction of light arriving from an independent light source, e.g. switching, gating or modulating; Non-linear optics
    • G02F1/01Devices or arrangements for the control of the intensity, colour, phase, polarisation or direction of light arriving from an independent light source, e.g. switching, gating or modulating; Non-linear optics for the control of the intensity, phase, polarisation or colour 
    • G02F1/13Devices or arrangements for the control of the intensity, colour, phase, polarisation or direction of light arriving from an independent light source, e.g. switching, gating or modulating; Non-linear optics for the control of the intensity, phase, polarisation or colour  based on liquid crystals, e.g. single liquid crystal display cells
    • G02F1/133Constructional arrangements; Operation of liquid crystal cells; Circuit arrangements
    • G02F1/1333Constructional arrangements; Manufacturing methods
    • GPHYSICS
    • G02OPTICS
    • G02FOPTICAL DEVICES OR ARRANGEMENTS FOR THE CONTROL OF LIGHT BY MODIFICATION OF THE OPTICAL PROPERTIES OF THE MEDIA OF THE ELEMENTS INVOLVED THEREIN; NON-LINEAR OPTICS; FREQUENCY-CHANGING OF LIGHT; OPTICAL LOGIC ELEMENTS; OPTICAL ANALOGUE/DIGITAL CONVERTERS
    • G02F1/00Devices or arrangements for the control of the intensity, colour, phase, polarisation or direction of light arriving from an independent light source, e.g. switching, gating or modulating; Non-linear optics
    • G02F1/01Devices or arrangements for the control of the intensity, colour, phase, polarisation or direction of light arriving from an independent light source, e.g. switching, gating or modulating; Non-linear optics for the control of the intensity, phase, polarisation or colour 
    • G02F1/13Devices or arrangements for the control of the intensity, colour, phase, polarisation or direction of light arriving from an independent light source, e.g. switching, gating or modulating; Non-linear optics for the control of the intensity, phase, polarisation or colour  based on liquid crystals, e.g. single liquid crystal display cells
    • G02F1/133Constructional arrangements; Operation of liquid crystal cells; Circuit arrangements
    • G02F1/1333Constructional arrangements; Manufacturing methods
    • G02F1/1335Structural association of cells with optical devices, e.g. polarisers or reflectors
    • GPHYSICS
    • G02OPTICS
    • G02FOPTICAL DEVICES OR ARRANGEMENTS FOR THE CONTROL OF LIGHT BY MODIFICATION OF THE OPTICAL PROPERTIES OF THE MEDIA OF THE ELEMENTS INVOLVED THEREIN; NON-LINEAR OPTICS; FREQUENCY-CHANGING OF LIGHT; OPTICAL LOGIC ELEMENTS; OPTICAL ANALOGUE/DIGITAL CONVERTERS
    • G02F1/00Devices or arrangements for the control of the intensity, colour, phase, polarisation or direction of light arriving from an independent light source, e.g. switching, gating or modulating; Non-linear optics
    • G02F1/01Devices or arrangements for the control of the intensity, colour, phase, polarisation or direction of light arriving from an independent light source, e.g. switching, gating or modulating; Non-linear optics for the control of the intensity, phase, polarisation or colour 
    • G02F1/13Devices or arrangements for the control of the intensity, colour, phase, polarisation or direction of light arriving from an independent light source, e.g. switching, gating or modulating; Non-linear optics for the control of the intensity, phase, polarisation or colour  based on liquid crystals, e.g. single liquid crystal display cells
    • G02F1/133Constructional arrangements; Operation of liquid crystal cells; Circuit arrangements
    • G02F1/1333Constructional arrangements; Manufacturing methods
    • G02F1/133308Support structures for LCD panels, e.g. frames or bezels
    • G02F1/133317Intermediate frames, e.g. between backlight housing and front frame
    • GPHYSICS
    • G02OPTICS
    • G02FOPTICAL DEVICES OR ARRANGEMENTS FOR THE CONTROL OF LIGHT BY MODIFICATION OF THE OPTICAL PROPERTIES OF THE MEDIA OF THE ELEMENTS INVOLVED THEREIN; NON-LINEAR OPTICS; FREQUENCY-CHANGING OF LIGHT; OPTICAL LOGIC ELEMENTS; OPTICAL ANALOGUE/DIGITAL CONVERTERS
    • G02F1/00Devices or arrangements for the control of the intensity, colour, phase, polarisation or direction of light arriving from an independent light source, e.g. switching, gating or modulating; Non-linear optics
    • G02F1/01Devices or arrangements for the control of the intensity, colour, phase, polarisation or direction of light arriving from an independent light source, e.g. switching, gating or modulating; Non-linear optics for the control of the intensity, phase, polarisation or colour 
    • G02F1/13Devices or arrangements for the control of the intensity, colour, phase, polarisation or direction of light arriving from an independent light source, e.g. switching, gating or modulating; Non-linear optics for the control of the intensity, phase, polarisation or colour  based on liquid crystals, e.g. single liquid crystal display cells
    • G02F1/133Constructional arrangements; Operation of liquid crystal cells; Circuit arrangements
    • G02F1/1333Constructional arrangements; Manufacturing methods
    • G02F1/1335Structural association of cells with optical devices, e.g. polarisers or reflectors
    • G02F1/1336Illuminating devices
    • G02F1/133602Direct backlight
    • G02F1/133608Direct backlight including particular frames or supporting means
    • GPHYSICS
    • G02OPTICS
    • G02FOPTICAL DEVICES OR ARRANGEMENTS FOR THE CONTROL OF LIGHT BY MODIFICATION OF THE OPTICAL PROPERTIES OF THE MEDIA OF THE ELEMENTS INVOLVED THEREIN; NON-LINEAR OPTICS; FREQUENCY-CHANGING OF LIGHT; OPTICAL LOGIC ELEMENTS; OPTICAL ANALOGUE/DIGITAL CONVERTERS
    • G02F2201/00Constructional arrangements not provided for in groups G02F1/00 - G02F7/00
    • G02F2201/50Protective arrangements
    • G02F2201/503Arrangements improving the resistance to shock

Landscapes

  • Physics & Mathematics (AREA)
  • Nonlinear Science (AREA)
  • Mathematical Physics (AREA)
  • Chemical & Material Sciences (AREA)
  • Crystallography & Structural Chemistry (AREA)
  • General Physics & Mathematics (AREA)
  • Optics & Photonics (AREA)
  • Liquid Crystal (AREA)
  • Devices For Indicating Variable Information By Combining Individual Elements (AREA)

Abstract

【課題】液晶パネルを収納するメイン支持台の段差部構造を改善して衝撃テスト時の外力によって液晶パネルが破損する問題を解決する。
【解決手段】液晶パネルと液晶パネルの下部に位置して光源から出射された光を液晶パネル方向に案内する導光板と、導光板から出射された光を液晶パネルに提供する複数の光学シートを含むバックライトユニットと、液晶パネルとバックライトユニットを収納するように基底面から上部面まで形成された複数の段差部を含み、複数の段差部の中で液晶パネルと対面する段差部が液晶パネルと離隔するようにパターン化された領域を持つメイン支持台を含む。
【選択図】図1

Description

本発明は、バックライトユニットを利用した液晶表示装置に関する。
情報化技術が発達するにつれて使用者と情報間の連結媒体である表示装置の市場が大きくなっている。これによって、液晶表示装置(LCD)、有機電界発光素子(OLED)及びプラズマディスプレイパネル(PDP)などのような平板表示装置(FPD)の使用が増加している。そのうち、高解像度を具現することができ、小型化だけではなく大型化が可能な液晶表示装置が広く使われている。
ここで、液晶表示装置は携帯電話やデジタルカメラなどに装着される小型モジュールとテレビやモニターなどに装着される大型モジュールに仕分けされて生産される。このような液晶表示装置は受光型表示装置で分類される。液晶表示装置は液晶パネルの下部に位置するバックライトユニットの光源から出射された光を受けて映像を表示することができる。
このような液晶表示装置(例えば、特許文献1及び2参照)は、トランジスターアレイ基板とカラーフィルター基板で構成される。トランジスターアレイ基板には、ゲート、半導体層、ソース及びドレーンを含むトランジスターとトランジスターのソースまたはドレーンに接続された画素電極を含むサブピクセルが形成される。そして、カラーフィルター基板にはカラーフィルターとブラックマットリックスが形成される。
一方、液晶表示装置に含まれた液晶パネルとバックライトユニットはメイン支持台と上部支持台によって収納される。メイン支持台は液晶パネルとバックライトユニットを収納するように複数の段差部を持つ。従来のメイン支持台の場合、複数の段差部の中で液晶パネルと対向する段差部が液晶パネルと当接するように設計されていて、衝撃テストをした時に、液晶パネルが曲がりながら上部支持台の導光部が開かれてメイン支持台の導光部が開かれながら液晶パネルとメイン支持台の間に干渉が発生しながら液晶パネルの中央領域から破損(クラック)するという問題発生頻度が高く、この改善策が要求される。
韓国特許公報第2006−117764号 韓国特許公報第2006−49309号
本発明は、前述した背景技術の問題点を解決するためになされたもので、液晶パネルを収納するメイン支持台の段差部構造を改善して衝撃テスト時の外力によって液晶パネルが破損する問題を解決することができる液晶表示装置を提供することを目的とする。
本発明は、液晶パネルと液晶パネルの下部に位置して光源から出射された光を液晶パネル方向に案内する導光板と、導光板から出射された光を液晶パネルに提供する複数の光学シートを含むバックライトユニットと、液晶パネルとバックライトユニットを収納するように基底面から上部面まで形成された複数の段差部を含み、複数の段差部の中で液晶パネルと対面する段差部が液晶パネルと離隔するようにパターン化された領域を持つメイン支持台を含む液晶表示装置を提供する。
本発明によれば、低費用で液晶パネルを収納するメイン支持台の段差部構造を改善して外力による破損の抵抗力を向上させることで、衝撃テストの時外力によって液晶パネルが破損する問題を解決することができる。
以下、本発明に係る具体的な実施の形態を添付した図面を参照して説明する。
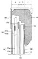
図1に示されたように、本発明の一つの実施の形態に係る液晶表示装置は、液晶パネル150を含むことができる。また、液晶パネル150の下部に位置して光源から出射された光を液晶パネル150方向に案内する導光板130と、導光板130から出射された光を液晶パネル150に提供する複数の光学シート140を含むバックライトユニット130、140を含むことができる。
液晶表示装置は、その他に、導光板130をメイン支持台110の一面に固定する接着部材120を含むことができる。接着部材120は、不透明な材料、例えば銀(Ag)や黒い色顔料が添加された両面テープなどを使うことができる。
また、液晶表示装置は、導光板130とメイン支持台110の間に位置する反射シート135を含むことができる。反射シート135は、導光板130に入射した光が損失されないで複数の光学シート140に提供されるように拡散物質が形成されたものを使うことができる。
また、液晶表示装置は、液晶パネル150の表示領域を露出し非表示領域を遮断するブラックフレーム170を含むことができる。ブラックフレーム170は、複数の光学シート140から出射された光が外部に漏れることを防止することができる。ブラックフレーム170は、遮光特性を向上させるために不透明な黒色系列の材質を含むことができ、単層または多層のフィルムを利用して形成することができる。このようなブラックフレーム170は一般的に遮光テープとも言う。
また、液晶表示装置は、液晶パネル150の両面に位置する偏光フィルム160を含むことができる。偏光フィルム160は、液晶パネル150に提供された光を偏光して所望の光だけを表示領域方向に出射するために、位置によって異方性吸収軸、補償フィルム及びゼロリタデーション(retardation)などのような複数のフィルムを選択的に含むことができる。
また、液晶表示装置は、メイン支持台110に収納された液晶パネル150及びバックライトユニット130、140を保護する上部支持台180を含むことができる。上部支持台180は、液晶パネル150の表示領域を露出するように開口部を有し「コ」字状に曲がった形状を持つことができる。ここで、前述した複数の光学シート140は、拡散シート、プリズムシート、レンチキュラーレンズシート、マイクロレンズシート及び保護シート内の一つ以上を含むことができ、拡散シート、プリズムシート、レンチキュラーレンズシート、マイクロレンズシート及び保護シート内の一つ以上に拡散率を高めるためにビッドが含まれることもできる。
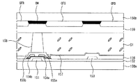
以下、図2を参照して、液晶パネル150に対してさらに詳しく説明する。ただし、図2に示された液晶パネル150の構造は説明の理解を助けるためのものであるだけであり、本発明の一つの実施の形態に係る液晶パネル150はこれに限定されない。
液晶パネル150a、150bは、薄膜トランジスターが形成された第1基板150aとカラーフィルターが形成された第2基板150bが液晶層Clを間に置いて合着された構造を持つことができる。第1基板150aと第2基板150bの上部には液晶層Clの特性に従って配向膜が位置することもできる。
第1基板150aの一面にはゲート151が位置することができる。ゲート151は、モリブデン(Mo)、アルミニウム(Al)、クロム(Cr)、金(Au)、チタン(Ti)、ニッケル(Ni)、ネオジム(Nd)及び銅(Cu)からなる群から選択された何れか一つまたはこれらの合金からなることができる。また、ゲート151は、モリブデン(Mo)、アルミニウム(Al)、クロム(Cr)、金(Au)、チタン(Ti)、ニッケル(Ni)、ネオジム(Nd)及び銅(Cu)からなる群から選択された何れか一つまたはこれらの合金からなる多重層とすることができる。また、ゲート151は、モリブデン/アルミニウム-ネオジムまたはモリブデン/アルミニウムの2重層とすることができる。
ゲート151上には第1絶縁膜152が位置することができる。第1絶縁膜152は、シリコーン酸化膜(SiOx)、シリコーン窒化膜(SiNx)またはこれらの多重層とすることができるが、これに限定されない。
第1絶縁膜152上にはゲート151と対応する領域に位置するアクティブ層154aが位置することができ、アクティブ層154aには接触抵抗を低めてくれるオミックコンタクト層154bが位置することができる。また、第1絶縁膜152上にはデータ電圧が供給されるデータ配線153が位置することができるが、これに限定されない。
アクティブ層154a上にはソース155a及びドレーン155bが位置することができる。ソース155a及びドレーン155bは単一層または多重層からなることができ、ソース155a及びドレーン155bが単一層の場合には、モリブデン(Mo)、アルミニウム(Al)、クロム(Cr)、金(Au)、チタン(Ti)、ニッケル(Ni)、ネオジム(Nd)及び銅(Cu)からなる群から選択された何れか一つまたはこれらの合金からなることができる。また、ソース155a及びドレーン155bが多重層の場合には、モリブデン/アルミニウム-ネオジムの2重層、モリブデン/アルミニウム/モリブデンまたはモリブデン/アルミニウム-ネオジム/モリブデンの3重層からなることができる。
ソース155a及びドレーン155b上には第2絶縁膜156が位置することができる。第2絶縁膜156はシリコーン酸化膜(SiOx)、シリコーン窒化膜(SiNx)またはこれらの多重層であることができるが、これに限定されない。このような第2絶縁膜156はパッシベーション膜とすることができる。
第2絶縁膜156上にはソース155aまたはドレーン155bに接続された画素電極157が位置することができる。画素電極157は、ITO(Indium Tin Oxide)、IZO(Indium Zinc Oxide)またはZnO(Zinc Oxide)などのような透明な電極で形成することができる。
第2絶縁膜156上には画素電極157と対向する形状で共通電極(図示せず)が位置することができる。このような共通電極は、第1基板150aまたは第2基板150b上に位置することができる。
第1基板150a上に位置してソース155a及びドレーン155bと対応する第2絶縁膜156上には、第2基板150bとのセルギャップを維持するためのスペーサー158が位置することができる。
第2基板150bの一面にはブラックマットリックス(BM)が位置することができる。ブラックマットリックス(BM)は、非表示領域としてスペーサー158が位置する領域と対応するように位置することができる。ブラックマットリックス(BM)は、黒色顔料が添加された感光性有機物質でなることができ、黒色顔料ではカーボンブラックやチタンオキサイドなどを使うことができる。
ブラックマットリックス(BM)の間にはカラーフィルター(CFR、CFG、CFB)が位置することができる。カラーフィルター(CFR、CFG、CFB)は、赤色(CFR)、緑色(CFG)及び青色(CFB)だけでなく他の色を持つこともできる。
ブラックマットリックス(BM)及びカラーフィルター(CFR、CFG、CFB)上にはオーバーコーティング層159が位置することができる。一方、ブラックマットリックス(BM)及びカラーフィルター(CFR、CFG、CFB)が形成された第2基板150bは構造にしたがってオーバーコーティング層159を省略することができる。
ここで、図示されていないが、第1基板150aには液晶パネルに駆動信号を供給するスキャン駆動部とデータ駆動部を含む駆動部が位置することができる。
駆動部は、液晶パネル150を構成する第1基板150a上に形成されたデータ配線153とゲート配線に接続される。駆動部は、駆動部を実装したフィルム回路がCOF(Chip On Film)やTCP(Tape Carrier Package)方式で液晶パネル150と接続することができる。しかし、駆動部は、COG(Chip On Glass)方式で第1基板150a上に直接実装したり、薄膜トランジスター形成工程で第1基板150a上に形成されて内蔵することができる。
このように形成された液晶パネル150は、ゲート配線を通じて供給されるスキャン信号と、データ配線を通じて供給されるデータ電圧によって各サブピクセルに画像を表示することができる。
ここで、スキャン信号は、1水平時間の間供給されるゲートハイ電圧と、残り時間の間供給されるゲートロー電圧が交番するパルス信号とすることができるが、これに限定されない。サブピクセルに含まれた薄膜トランジスターはゲート配線からゲートハイ電圧が供給される場合、ターンオンされて、データ配線から印加されるデータ電圧を液晶層Clに供給することができる。
これによって、液晶パネル150は、各サブピクセルの薄膜トランジスターがターンオンされて、画素電極157にデータ電圧が印加されれば、液晶層Clにデータ電圧と共通電圧の差電圧が充電されながら画像を表示することができる。
これと反対に、ゲート配線からゲートロー電圧が供給される場合、薄膜トランジスターはターンオフされ、液晶層Clに充電されたデータ電圧がストレージキャパシターによって1フレーム期間の間維持される。液晶パネル150は、ゲート配線を通じて供給されるスキャン信号によって相異する動作を繰り返すこともできる。
以下、図1及び図3を参照してメイン支持台110に対してさらに詳しく説明する。ただし、説明の理解を助けるために一部領域だけ斜視図で示す。
図1及び図3を参照すれば、メイン支持台110は、図1を参照して説明したのように、基底面から上部面まで形成された複数の段差部(a、b、c、d)を含む。複数の段差部(a、b、c、d)は、第1段差部(a)、第2段差部(b)、第3段差部(c)及び第4段差部(d)を含む。第1乃至第4段差部(a、b、c、d)の中第3段差部(c)は、液晶パネル150と対面する領域が離隔するように形成されることができる。ここで、第1段差部(a)は反射シート135及び導光板130などを支持し、第2段差部(b)は光学シート140などを支持し、第3段差部(c)は液晶パネル150を支持し、第4段差部(d)は上部支持台180を支持する。第4段差部(d)を通常リブ(rib)部とも言う。
液晶パネル150とメイン支持台110を離隔させるために、本発明の一つの実施の形態では、複数の段差部(a、b、c、d)中液晶パネル150と対面する第3段差部(c)が陷沒するようにパターン化された領域115を持つように形成される。パターン化された領域115は長方形の形状に陷沒される。また、パターン化された領域115の幅(W)は、第3段差部(c)面の幅の広さより狭く形成される。
パターン化された領域115は、メイン支持台110の中央に位置するリブ部領域に位置することができる。パターン化された領域115をメイン支持台110のリブ部領域に形成する理由はメイン支持台110と上部支持台180を結合してモジュール形態で製造して、モジュールに外力を加える衝撃テストをする時、液晶パネル150の中央領域が破損(割れ)する問題の発生頻度が高いからである。
これと係わる説明は図4を参照して説明する。
図4に示されたように、衝撃テストを実施する時は、液晶表示モジュール100を据え置き台300などにおいてプッシュプルゲージ(Push pull gage)や綿つち200で一定重さにあたる衝撃を液晶表示モジュール100に加える形態で実施することができる。衝撃テスト方法は、液晶表示モジュール100のリブ部上端等領域を分けて部位別で実施することができる。
図5を参照すれば、図4のような衝撃テストをした時、図5の(a)の場合、液晶パネル150が曲がりながら上部支持台180とメイン支持台110が開けば液晶パネル150とメイン支持台110の間に干渉が発生し液晶パネル150の中央領域から破損(割れ)が発生するようになる。(P1参照)
一方、図4のような衝撃テストをした時、本発明の一つの実施の形態にあたる図5の(b)の場合、液晶パネル150が曲がりながら上部支持台180とメイン支持台110が
開かれても液晶パネルとメイン支持台110の間に干渉が発生しないので液晶パネル150が破損(割れ)する問題が発生しなくなる。(P2参照)
実験結果、図5の(a)のような構造の場合、衝撃テストの時、おおよそ6kgにあたる衝撃によって液晶パネル150が破損したが、図5の(b)のような構造の場合、衝撃テストの時、おおよそ16kgにあたる衝撃が加えられても液晶パネル150が破損しなかった。
一方、メイン支持台110の形状はここに限定されなく、次の図6のような形状でも形成することができる。
図6を参照すれば、メイン支持台110の中央リブ部領域に位置するパターン化された領域115は長方形の形状に陷沒し、パターン化された領域115の周辺領域は傾いた勾配面を持つことができる。これと共に、図6のメイン支持台110に形成された第3段差部(c)の高さはブラックフレームの高さと同じに形成したり、ブラックフレームの高さより低く形成することもできる。
図7を参照すれば、メイン支持台110の中央リブ部領域に位置するパターン化された領域115は長方形の形状に陷沒され、パターン化された領域115の周辺領域に位置する傾いた勾配面の上部角領域はラウンド(R)形状を持つことができる。この場合、パターン化された領域115の両方の勾配面の上部角領域がラウンド(R)形状になっているので、衝撃テストの時、液晶パネルに伝達する衝撃の程度を緩和することができるようになる。これと共に、図7のメイン支持台110に形成された第3段差部(c)の高さはブラックフレームの高さと同じに形成したりブラックフレームの高さより低く形成することもできる。
図8を参照すれば、メイン支持台110の中央リブ部領域に位置するパターン化された領域115はパターン化された領域115の中心に向けて傾いた勾配面を持つことができる。このような構造もパターン化された領域115の両方の勾配面の上部角領域を図7のようにラウンド形状で形成することもできる。これと共に、図8のメイン支持台110に形成された第3段差部(c)の高さはブラックフレームの高さと同じに形成したりブラックフレームの高さより低く形成することもできる。
本発明の一つの実施の形態に係る液晶表示装置の一部断面図である。 図1に示された液晶パネルの概略的な断面図である。 図1に示されたメイン支持台の一部斜視図である。 液晶表示モジュールの衝撃テスト例示図である。 衝撃テストによる液晶表示モジュール内部の変化比較例示図である。 変形された実施の形態に係るメイン支持台の多様な斜視図である。 変形された実施の形態に係るメイン支持台の多様な斜視図である。 変形された実施の形態に係るメイン支持台の多様な斜視図である。

Claims (10)

  1. 液晶パネルと、
    前記液晶パネルの下部に位置して光源から出射された光を前記液晶パネル方向に案内する導光板と、前記導光板から出射された光を前記液晶パネルに提供する複数の光学シートを含むバックライトユニットと、
    前記液晶パネルと前記バックライトユニットを収納するように基底面から上部面まで形成された複数の段差部を含み、前記複数の段差部の中で前記液晶パネルと対面する段差部が前記液晶パネルと離隔するようにパターン化された領域を持つメイン支持台と
    を備えた液晶表示装置。
  2. 前記パターン化された領域は、前記メイン支持台の中央に位置するリブ(rib)部領域である
    ことを特徴とする、請求項1記載の液晶表示装置。
  3. 前記パターン化された領域は、陷沒したパターンを持つ
    ことを特徴とする、請求項1記載の液晶表示装置。
  4. 前記パターン化された領域は、長方形の形状に陷沒した
    ことを特徴とする、請求項1記載の液晶表示装置。
  5. 前記パターン化された領域の周辺領域は、傾いた勾配面を持つ
    ことを特徴とする、請求項4記載の液晶表示装置。
  6. 前記傾いた勾配面の上部角領域は、ラウンド形状を持つ
    ことを特徴とする、請求項5記載の液晶表示装置。
  7. 前記パターン化された領域は、前記パターン化された領域の中心に向けて傾いた勾配面を持つ
    ことを特徴とする、請求項1記載の液晶表示装置
  8. 前記パターン化された領域の幅の広さは、前記液晶パネルと対面する段差部面の幅の広さより狭い
    ことを特徴とする、請求項1記載の液晶表示装置。
  9. 前記液晶パネルと前記複数の光学シートとの間には、
    前記液晶パネルの表示領域は露出し非表示領域は遮断するブラックフレ−ムが位置することを含む、請求項1記載の液晶表示装置。
  10. 前記パターン化された領域の高さは、前記ブラックフレームの高さと同一であるか前記ブラックフレームの高さより低い
    ことを特徴とする、請求項9記載の液晶表示装置。
JP2008314669A 2008-06-30 2008-12-10 液晶表示装置 Expired - Fee Related JP4988691B2 (ja)

Applications Claiming Priority (2)

Application Number Priority Date Filing Date Title
KR1020080062853A KR101279119B1 (ko) 2008-06-30 2008-06-30 액정표시장치
KR10-2008-0062853 2008-06-30

Publications (2)

Publication Number Publication Date
JP2010015124A true JP2010015124A (ja) 2010-01-21
JP4988691B2 JP4988691B2 (ja) 2012-08-01

Family

ID=41446962

Family Applications (1)

Application Number Title Priority Date Filing Date
JP2008314669A Expired - Fee Related JP4988691B2 (ja) 2008-06-30 2008-12-10 液晶表示装置

Country Status (4)

Country Link
US (1) US8049831B2 (ja)
JP (1) JP4988691B2 (ja)
KR (1) KR101279119B1 (ja)
CN (1) CN101620339B (ja)

Cited By (1)

* Cited by examiner, † Cited by third party
Publication number Priority date Publication date Assignee Title
JP2014123122A (ja) * 2012-12-24 2014-07-03 Lg Display Co Ltd 液晶表示装置および液晶表示装置の製造方法

Families Citing this family (17)

* Cited by examiner, † Cited by third party
Publication number Priority date Publication date Assignee Title
US8731618B2 (en) * 2009-04-23 2014-05-20 Apple Inc. Portable electronic device
CN102591045A (zh) * 2012-02-29 2012-07-18 深圳市华星光电技术有限公司 液晶显示器及其液晶显示装置
KR102066076B1 (ko) * 2012-12-17 2020-01-14 엘지디스플레이 주식회사 액정표시장치
KR101552762B1 (ko) * 2013-04-12 2015-09-11 엘지디스플레이 주식회사 액정표시장치
CN103293723B (zh) 2013-06-26 2016-01-06 深圳市华星光电技术有限公司 一种防止显示模组玻璃面板变形的固定装置
CN103672614B (zh) * 2013-12-11 2017-02-15 深圳市华星光电技术有限公司 用于曲面液晶显示装置的背光模组以及曲面液晶显示装置
JP2015125182A (ja) 2013-12-25 2015-07-06 ソニー株式会社 表示装置
JP2015129818A (ja) * 2014-01-06 2015-07-16 パナソニック液晶ディスプレイ株式会社 液晶表示装置
TWI569073B (zh) * 2014-10-27 2017-02-01 瑞儀光電股份有限公司 背光模組及液晶顯示器
KR102227615B1 (ko) * 2014-11-24 2021-03-16 엘지디스플레이 주식회사 액정표시장치
CN105467678A (zh) * 2016-01-06 2016-04-06 京东方科技集团股份有限公司 支撑框、显示装置及其装配方法
CN106125405B (zh) * 2016-09-07 2020-11-03 海信视像科技股份有限公司 一种背光模组及液晶显示装置
KR102662681B1 (ko) * 2016-12-26 2024-04-30 엘지디스플레이 주식회사 터치 스크린 일체형 표시장치와 그의 제조방법
US10809571B2 (en) * 2017-01-31 2020-10-20 Sharp Kabushiki Kaisha Lighting device and display device
US11366348B2 (en) * 2018-08-27 2022-06-21 Lg Display Co., Ltd. Display device
KR102672833B1 (ko) 2018-08-27 2024-06-05 엘지디스플레이 주식회사 디스플레이 장치
CN113009737B (zh) * 2019-12-19 2022-07-29 京东方科技集团股份有限公司 背光模组和显示装置

Citations (4)

* Cited by examiner, † Cited by third party
Publication number Priority date Publication date Assignee Title
JPH0479328U (ja) * 1990-11-22 1992-07-10
JP2002108236A (ja) * 2000-09-28 2002-04-10 Sanyo Electric Co Ltd 表示装置
JP2005321614A (ja) * 2004-05-10 2005-11-17 Samsung Electronics Co Ltd 液晶表示パネル支持体、これを有するバックライトアセンブリ及び液晶表示装置
JP2007047241A (ja) * 2005-08-08 2007-02-22 Sanyo Epson Imaging Devices Corp 表示装置

Family Cites Families (13)

* Cited by examiner, † Cited by third party
Publication number Priority date Publication date Assignee Title
DE69423552T2 (de) * 1993-08-10 2000-09-07 Canon K.K., Tokio/Tokyo Flüssigkristallanzeige
JP3799829B2 (ja) * 1997-09-11 2006-07-19 セイコーエプソン株式会社 電気光学装置およびその製造方法並びに投射型表示装置
CN2329991Y (zh) * 1998-03-30 1999-07-21 金宝电子工业股份有限公司 电子器物的防止液晶显示器坠落破裂新型装置
JP2000330096A (ja) * 1999-05-25 2000-11-30 Nec Corp 液晶表示装置およびその組立方法
JP2001091945A (ja) * 1999-09-22 2001-04-06 Advanced Display Inc 液晶表示装置
KR100640997B1 (ko) * 2002-12-24 2006-11-02 엘지.필립스 엘시디 주식회사 액정 표시 장치 일체형 터치 패널
JP4564335B2 (ja) * 2004-11-04 2010-10-20 東芝モバイルディスプレイ株式会社 液晶表示装置
CN1929649A (zh) * 2005-09-08 2007-03-14 乐金电子(中国)研究开发中心有限公司 移动终端
JP4727383B2 (ja) * 2005-10-27 2011-07-20 株式会社 日立ディスプレイズ 液晶表示装置
KR101177909B1 (ko) * 2005-11-16 2012-08-28 엘지디스플레이 주식회사 액정 표시 장치용 백라이트 어셈블리 및 이를 이용한 액정표시 모듈
JP4738223B2 (ja) * 2006-03-24 2011-08-03 株式会社 日立ディスプレイズ 表示装置
KR101451737B1 (ko) * 2006-11-29 2014-10-16 엘지디스플레이 주식회사 액정표시장치
JP2008158432A (ja) * 2006-12-26 2008-07-10 Hitachi Displays Ltd 液晶表示装置

Patent Citations (4)

* Cited by examiner, † Cited by third party
Publication number Priority date Publication date Assignee Title
JPH0479328U (ja) * 1990-11-22 1992-07-10
JP2002108236A (ja) * 2000-09-28 2002-04-10 Sanyo Electric Co Ltd 表示装置
JP2005321614A (ja) * 2004-05-10 2005-11-17 Samsung Electronics Co Ltd 液晶表示パネル支持体、これを有するバックライトアセンブリ及び液晶表示装置
JP2007047241A (ja) * 2005-08-08 2007-02-22 Sanyo Epson Imaging Devices Corp 表示装置

Cited By (1)

* Cited by examiner, † Cited by third party
Publication number Priority date Publication date Assignee Title
JP2014123122A (ja) * 2012-12-24 2014-07-03 Lg Display Co Ltd 液晶表示装置および液晶表示装置の製造方法

Also Published As

Publication number Publication date
KR20100002816A (ko) 2010-01-07
CN101620339B (zh) 2011-04-27
US8049831B2 (en) 2011-11-01
CN101620339A (zh) 2010-01-06
US20090322989A1 (en) 2009-12-31
JP4988691B2 (ja) 2012-08-01
KR101279119B1 (ko) 2013-06-26

Similar Documents

Publication Publication Date Title
JP4988691B2 (ja) 液晶表示装置
US9482905B2 (en) Display with column spacer structures
US8982310B2 (en) Displays with light-curable sealant
KR101331942B1 (ko) 표시 장치 및 그 제조 방법
US8520173B2 (en) Display device
US20090273749A1 (en) Liquid crystal display device
KR102492032B1 (ko) 표시 장치 및 이의 제조 방법
US8400582B2 (en) Liquid crystal display device and backlight unit
US10690970B2 (en) Display with hybrid column spacer structures
EP3021161B1 (en) Curved liquid crystal display device with internal polarisers
WO2017022609A1 (ja) 表示パネル
KR101717653B1 (ko) 액정표시패널
US9275932B2 (en) Active matrix substrate, and display device
JP5659294B2 (ja) 表示装置
US20060028603A1 (en) Liquid crystal display device and method of fabricating the same
US20190049803A1 (en) Active switch array substrate, manufacturing method therefor same, and display device using same
US20200110320A1 (en) Display device
KR20100060380A (ko) 액정표시장치
KR101537413B1 (ko) 액정표시장치
CN113707668B (zh) 阵列基板及其制备方法、液晶面板和显示装置
KR20170061868A (ko) 미러 디스플레이 패널
KR101491162B1 (ko) 액정표시장치
KR20110077254A (ko) 횡전계방식 액정표시장치의 제조방법
KR20110093056A (ko) 백라이트유닛과 이를 이용한 액정표시장치
KR20160057228A (ko) 씨오티 구조 액정표시장치

Legal Events

Date Code Title Description
A131 Notification of reasons for refusal

Free format text: JAPANESE INTERMEDIATE CODE: A131

Effective date: 20110705

A977 Report on retrieval

Free format text: JAPANESE INTERMEDIATE CODE: A971007

Effective date: 20110706

A521 Request for written amendment filed

Free format text: JAPANESE INTERMEDIATE CODE: A523

Effective date: 20110926

TRDD Decision of grant or rejection written
A01 Written decision to grant a patent or to grant a registration (utility model)

Free format text: JAPANESE INTERMEDIATE CODE: A01

Effective date: 20120410

A01 Written decision to grant a patent or to grant a registration (utility model)

Free format text: JAPANESE INTERMEDIATE CODE: A01

A61 First payment of annual fees (during grant procedure)

Free format text: JAPANESE INTERMEDIATE CODE: A61

Effective date: 20120426

R150 Certificate of patent or registration of utility model

Free format text: JAPANESE INTERMEDIATE CODE: R150

Ref document number: 4988691

Country of ref document: JP

Free format text: JAPANESE INTERMEDIATE CODE: R150

FPAY Renewal fee payment (event date is renewal date of database)

Free format text: PAYMENT UNTIL: 20150511

Year of fee payment: 3

R250 Receipt of annual fees

Free format text: JAPANESE INTERMEDIATE CODE: R250

R250 Receipt of annual fees

Free format text: JAPANESE INTERMEDIATE CODE: R250

R250 Receipt of annual fees

Free format text: JAPANESE INTERMEDIATE CODE: R250

R250 Receipt of annual fees

Free format text: JAPANESE INTERMEDIATE CODE: R250

R250 Receipt of annual fees

Free format text: JAPANESE INTERMEDIATE CODE: R250

R250 Receipt of annual fees

Free format text: JAPANESE INTERMEDIATE CODE: R250

LAPS Cancellation because of no payment of annual fees