JP2010014617A - ピン型ロードセル - Google Patents

ピン型ロードセル Download PDF

Info

Publication number
JP2010014617A
JP2010014617A JP2008176140A JP2008176140A JP2010014617A JP 2010014617 A JP2010014617 A JP 2010014617A JP 2008176140 A JP2008176140 A JP 2008176140A JP 2008176140 A JP2008176140 A JP 2008176140A JP 2010014617 A JP2010014617 A JP 2010014617A
Authority
JP
Japan
Prior art keywords
pin
sensor
load cell
type load
strain measurement
Prior art date
Legal status (The legal status is an assumption and is not a legal conclusion. Google has not performed a legal analysis and makes no representation as to the accuracy of the status listed.)
Granted
Application number
JP2008176140A
Other languages
English (en)
Other versions
JP2010014617A5 (ja
JP5254685B2 (ja
Inventor
Yohei Tanno
洋平 丹野
Hiroyuki Ota
裕之 太田
Hiromi Shimazu
ひろみ 島津
Ryuji Takada
龍二 高田
Takayuki Shimodaira
貴之 下平
Current Assignee (The listed assignees may be inaccurate. Google has not performed a legal analysis and makes no representation or warranty as to the accuracy of the list.)
Hitachi Construction Machinery Co Ltd
Original Assignee
Hitachi Construction Machinery Co Ltd
Priority date (The priority date is an assumption and is not a legal conclusion. Google has not performed a legal analysis and makes no representation as to the accuracy of the date listed.)
Filing date
Publication date
Application filed by Hitachi Construction Machinery Co Ltd filed Critical Hitachi Construction Machinery Co Ltd
Priority to JP2008176140A priority Critical patent/JP5254685B2/ja
Publication of JP2010014617A publication Critical patent/JP2010014617A/ja
Publication of JP2010014617A5 publication Critical patent/JP2010014617A5/ja
Application granted granted Critical
Publication of JP5254685B2 publication Critical patent/JP5254685B2/ja
Expired - Fee Related legal-status Critical Current
Anticipated expiration legal-status Critical

Links

Images

Landscapes

  • Measurement Of Force In General (AREA)

Abstract

【課題】ひずみ測定センサの寿命を適切かつ簡便に判定できるピン型ロードセルを提供する。
【解決手段】ピン1と、ピン1の端面1aからピン1の軸方向に設けられた穴3と、ピン1の周方向に沿ってピン1の外周面上に設けられたピン溝5,6と、ピン溝5,6の幅内に収まるようにピン1の軸方向の異なる位置にそれぞれ配置され、穴3の内部に固定されたセンサ7,8と、穴3の内部に充填された樹脂4と、センサ7の出力値とセンサ8の出力値をサンプリングし、その出力値の差がセンサ7の寿命を判定するために設定した閾値を超えたことを報知する報知装置18とを備える。
【選択図】図1

Description

本発明は機械部品等が受ける荷重を検出するピン型ロードセルに関する。
機械を構成する各部品(機械部品)が受ける荷重を検出する技術の1つとして、各部品を結合するジョイントピン自体にひずみ測定センサを組み込んで形成したピン型ロードセルがある(特開昭61−145427号公報等参照)。ピン型ロードセルは、ピン内部に設置されたひずみゲージ(ひずみ測定センサ)によってピンの変形、すなわち機械への負荷荷重を検出するもので、例えば、油圧ショベルのバケットとアームを連結するジョイントピンに組み込まれて、油圧ショベルの掘削力や作業量等の測定に用いられている。
特開昭61−145427号公報
ピン型ロードセルのひずみ測定センサは、その裏面に塗布された接着剤によってピン内部に固定されているが、ピン内部に水分が侵入するとその接着剤が劣化してひずみ感度が低下することがある。ロードセルが受けた荷重は、予め得ておいた荷重とセンサ出力の校正直線に基づいて算出されるが、水分の侵入によってセンサのひずみ感度が低下すると、その校正直線の傾きに変化が生じるため、算出される荷重に測定誤差が生じてしまう。そのため、ピン型ロードセルを使用する場合には、このような測定誤差を防止するために、ひずみ測定センサの寿命判定を適切に行うことが必要となる。しかし、ピン型ロードセルを機械部品に組み込む場合、その機械の動作中はランダムな荷重がピンに作用するので、センサの感度低下の見極めが困難であった。
本発明の目的は、ひずみ測定センサの寿命を適切かつ簡便に判定できるピン型ロードセルを提供することにある。
本発明は、上記目的を達成するために、ピンと、このピンの一方の端面から前記ピンの軸方向に設けられた穴と、この穴の内部に固定され、前記ピンの軸方向の異なる位置に配置された複数のひずみ測定センサと、この複数のひずみ測定センサが、前記ピンの周方向に沿って前記ピンの外周面上に設けられた溝の幅内に収まるように形成された1または複数のピン溝と、前記穴の内部に充填された樹脂と、前記複数のひずみ測定センサのうち前記ピンの一方の端面に最も近いものの出力値、及びその他のひずみ測定センサのうち少なくとも1つの出力値をサンプリングし、そのサンプリングした前記ピンの一方の端面に最も近いひずみ測定センサの出力値と前記その他のひずみ測定センサの出力値の差が、前記ピンの一方の端面に最も近いひずみ測定センサの寿命を判定するために設定した閾値を超えたことを報知する報知装置とを備えるものとする。
本発明によれば、複数のひずみ測定センサの出力差を利用してひずみ感度の低下を判断できるので、ひずみ測定センサの寿命を適切かつ簡便に判定することができる。
以下、本発明の実施の形態を図面を用いて説明する。
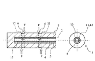
図1は本発明の第1の実施の形態であるピン型ロードセルの正面断面図であり、図2は図1中のII-IIからの横断面図である。
これらの図に示すピン型ロードセルは、ピン1と、穴(ピン穴)3と、ピン溝5,6と、ひずみ測定センサ(以下、センサと称す)7,8と、樹脂4と、報知装置18を備えている。
穴3は、ピン1の一方の端面1aからピン1の軸方向に沿って設けられており、穴3の一方の端部は開口部2としてピン1の端面1aに表出している。本実施の形態の穴3は、その中心軸がピン1の中心軸と合致する円筒状に形成されている。
センサ7,8は、穴3の内部に固定され、ピン1の軸方向の異なる位置にそれぞれ配置されている。センサ7は、開口部2が設けられた端面1a側に配置されており、センサ8は、端面1aの反対側の端面1b側に配置されている。センサ7,8は、報知装置18と接続されており、測定したひずみを報知装置18に出力している。また、本実施の形態のセンサ7,8は、図2に示すように、接着剤を介してピン1の内壁面に直接取り付けられている。このようにセンサ7,8をピン1に直接固定すると、センサ精度を向上させることができる。
なお、センサ7,8としては、金属抵抗式ひずみゲージ(ひずみゲージ)又は、半導体ひずみセンサなどが適用できる。半導体ひずみセンサは、ひずみ感応抵抗体として、単結晶シリコン板に不純物を導入して不純物拡散抵抗を用いたものである。また、半導体ひずみセンサは、ひずみゲージと比較して、感度が高いのでより小さいひずみを検出することができ、また、低ドリフトなので検出値の誤差が小さく、さらに、アンプを内蔵しているので小型化することができるという利点を有する。
ピン溝5,6は、それぞれ、ピン1の周方向に沿ってピン1の外周面上に設けられている。ピン溝(第1ピン溝)5は、開口部2が設けられた端面1a側に設けられており、その幅内にセンサ7が収まるように形成されている。また、ピン溝(第2ピン溝)6は、端面1aの反対側の端面1b側に設けられており、その幅内にセンサ8が収まるように形成されている。すなわち、本実施の形態では、センサ7,8が、ピン溝5,6の幅内に1つずつ収まるように配置されている。
また、本実施の形態では、端面1aからピン溝5までと端面1bからピン溝6までは等距離になっており、端面1aからセンサ7までと端面1bからセンサ8までも等距離になっている。
樹脂4は、穴3の内部に充填されており、穴3を封している。樹脂4としては、耐候性を確保する観点から、シリコーン樹脂や、フッ素樹脂などを利用することが好ましい。
図3は報知装置18の機能ブロック図である。なお、先の図と同じ部分には同じ符号を付して説明は省略する(後の図も同様とする)。
この図において、報知装置18は、サンプリング部181と、演算部182a,182bと、判定部183と、報知器184を備えている。
サンプリング部181は、センサ7,8からの出力を所定の周期でサンプリングする部分で、センサ7,8と接続されている。
演算部182a,182bは、センサ7,8からサンプリングした出力に基づいて荷重を演算する部分で、サンプリング部181と接続されている。サンプリング部181から演算部182aにはセンサ7の出力値が送信され、サンプリング部181から演算部182bにはセンサ8の出力値が送信されている。
判定部183は、演算部182a,182bの演算結果に基づいてセンサ7,8からの出力差を計算し、その出力差が閾値を超えているか否かを判定する部分である。この閾値は、センサ7,8のうち開口部2を有する端面1a側に配置されたもの(即ち、センサ7)の寿命を判定するために設定されたものである。なお、閾値を設定する際には、通常発生するおそれがある出力誤差等も考慮しながら、寿命到来時におけるひずみ感度の具体的な態様に基づいて決定することが好ましい。判定部183は、報知器184と接続されており、センサ7,8の出力差が閾値を超えた場合にその旨を出力する。
報知器184は、判定部183の判定に基づいてセンサ7の寿命の到来を操作者等に伝達するためのものである。報知器184の報知方法としては、種々の公知の技術によれば良いが、これには例えば、操作者の見やすい位置に警告灯を点灯させるものや、警告音を発するもの等がある。
次に本実施の形態のピン型ロードセルの作用及び効果について説明する。なお、本実施の形態では、ピン型ロードセルに作用するせん断荷重Fは、左右均等であることを前提とする。作業機械のジョイント部にピン型ロードセルを適用した場合、このような均等な荷重が発生するときとしては、クレーンによる吊り下げ作業等がある。
上記のように構成されるピン型ロードセルにおいて、機械部品からピン溝5,6にせん断荷重Fが作用すると、センサ7,8にせん断変形が生じる。本実施の形態のピン型ロードセルは、2つのセンサ7,8の出力値の平均から荷重を算出している。本実施の形態では、ピン溝5,6に作用する荷重Fは均等荷重のため、通常、センサ7,8の出力値は等しい値を示す。
ここで、本実施の形態のピン型ロードセルを使用し続けると、開口部2を介してピン1の内部へ水分(大気中の湿気や雨水等)が侵入していく。このとき、ピン穴3はピン1を貫通することなく凹状に形成されているから、ピン1の内部への水分侵入は開口部2のみに限定される。そのため、時間が経過するにつれ、水分は開口部2から徐々にピン1の内部に侵入し、やがてセンサ7に到達する。センサ7に到達した水分は、センサ7の裏面の接着剤で吸湿され、センサ7のひずみ感度(すなわち、出力)を低下させる。これにより、センサ7とセンサ8の間に出力差が生じ始める。
この際、報知装置18は、2つのセンサ7,8の出力値をサンプリング部181でサンプリングし、両者の出力差が閾値を超えるか否かを判定部183で判定している。そして、その出力差が閾値を超えると、報知器184を介してセンサ7の寿命が到来した旨を作業者に報知する。これにより作業者はセンサ7の寿命を知ることができる。
このように、本実施の形態のピン型ロードセルによれば、水分侵入によって感度が低下したセンサ7と感度が低下していないセンサ8との出力差を利用して、センサ7の感度が相対的に低下したことを判断できるので、作業機械の作業中のようにピン型ロードセルに作用する荷重がランダムに変化する環境であっても、センサ7の寿命を適切かつ簡便に判定することができる。また、本実施の形態は、一般的なピン型ロードセルに既に内蔵されているセンサ7,8の出力差を利用しているため、寿命判定用のセンサを新たに追加する必要がない。そのため、安価で簡便にセンサ7の寿命を判定することができるメリットも備えている。
なお、本実施の形態では、センサ7の寿命が報知された時点では未だセンサ8には水分は到達しておらず、しかも荷重Fは均等荷重でありセンサ7,8の出力の平均値を利用する必要もないため、その後もセンサ8のみを測定用センサとしてロードセルを継続使用することもできる。このようにセンサ8のみを使用する場合には、更に、センサ8の寿命の時期を判定する手段が必要となるが、これには例えば次の方法がある。即ち、その方法とは、報知装置18又は別途設けた制御装置(図示せず)等において、ピン型ロードセルの製造時からセンサ7,8の出力差が上記閾値を超えるまでに要した時間を測定しておき、その測定時間に基づいてピン1の内部における水分侵入速度を算出するものである。このように水分侵入速度を算出すれば、その水分侵入速度と、センサ7及びセンサ8間の距離とからセンサ8に水分が到達する時間を推定することができるので、センサ8の寿命を予測することができる。したがって、このように構成した実施の形態によれば、ピン型ロードセルの寿命を延長させることができる。
なお、実際にはピン1内の樹脂4は使用環境に応じて水分の吸湿と放湿を同時に行っているため、水分のセンサへの到達時間(水分到達時間)と水分の侵入距離(水分侵入距離)の関係は線形にならないことが多い。したがって、上記の方法では寿命予測に誤差が生じる場合がある。そのため、センサ8の寿命をより正確に予測する場合には、水分到達時間と水分侵入距離の関係の誤差を低減する校正曲線を事前に取得しておくことが好ましい。次に、この校正曲線を求める方法について図4を用いて説明する。
図4は開口部2からセンサ8までの水分侵入速度の測定例を示す図である。
この図に示すピン1は、穴3の内部において開口部2からピン1の軸方向に沿って複数のセンサ14a〜14jが一列に配列されたセンサ群14を備えている。センサ群14におけるセンサ14eは図1中のセンサ7の位置に配置されており、センサ14jは図1中のセンサ8の位置に配置されている。
このように構成したピン型ロードセルを利用して、ピン型ロードセルの製造時から各センサ14a〜14jの出力値が低下するまでに要する時間を実際に計測すれば、その計測結果から校正曲線を得ることができる。すなわち、上記の実施の形態の例では、センサ8と同位置に配置されたセンサ14jの出力が低下するまでの時間を事前に計測しておけば、それによって得られる校正曲線に基づいてセンサ8の寿命予測をより正確に行うことができる。
また、過去に得た校正曲線の実績を報知装置18等に複数記録しておき、その実績に基づいて校正曲線に適宜補正を加えれば、さらに正確な寿命予測が可能になる。なお、ピン1の内部への水分侵入速度は、ロードセルを使用する環境の気温・湿度等の条件によって異なるので、より正確な寿命予測を行うためには、使用環境に応じた校正曲線を選択することが好ましい。この場合には、様々な使用環境の校正曲線を予め用意しておき、使用環境に適した校正曲線を報知装置18等にその都度記憶して使用しても良い。
ところで、上記の例では、センサ7,8をピン1の内壁面に直接固定する場合について説明したが、2つのセンサ7,8は、開口部2からの距離が異なった位置に配置されていれば良く、上記以外の方法で配置しても良い。次に、その他の配置方法の具体例について、図5及び図6を用いて説明する。
図5は本実施の形態に係るセンサ7,8の配置の第1変形例を示す図であり、図6はその第2変形例を示す図である。
図5に示すピン型ロードセルのセンサ11,12は、樹脂4によって穴3の内部に固定された棒材13に取り付けられている。さらに、センサ11はピン溝5の幅内に相当する部分に収まるように、センサ12はピン溝6の幅内に相当する部分に収まるように穴3の内部に固定されている。このようにセンサ11,12を棒材13に固定すると、ピン1に急激な負荷が作用した場合にその負荷が直接センサ11,12に作用することが避けられるので、センサ11,12が損傷することを抑制することができる。
図6に示すピン型ロードセルは、4個のセンサから構成されるセンサ群31,32を備えている。センサ群31はセンサ31a〜31dから、センサ群32はセンサ32a〜32dから構成されている。
この図において、センサ群31を構成する4つのセンサ31a〜31dは、ピン1の同一横断面上において均等配置されるように、ピン1の内壁面に固定されている。このように4つのセンサ31a〜31dを配置すると、2組のセンサがそれぞれピン1の中心軸を介して対向して配置される。すなわち、図6に示した例では、センサ31aとセンサ31cが対向するように、かつセンサ31bとセンサ31dが対向するように配置されている。なお、センサ群32を構成する4つのセンサ31a〜31dも、センサ群31の4つのセンサ31a〜31dと同様にピン1の内壁面に固定されている。
このようにセンサ群31,32を配置すると、ピン1の横断面内の荷重方向と大きさを算出することができる。また、このようにセンサ群31,32を配置すると、ピン1の中心軸を介して対向する2面にセンサがそれぞれ設置されることになるので、対向する1組のセンサの出力値を足し合わせることにより、測定誤差の原因となる曲げ変形による出力変動をキャンセルすることができる。これにより、せん断変形に関する出力のみを抽出することができるので、ロードセルに作用する荷重をより正確に測定することができる。
ここで、図7を用いて、第1の実施の形態に係るセンサ7,8の好ましい取付姿勢について説明する。
図7は本実施の形態に係るセンサ7の取付姿勢を示す図である。
この図に示すセンサ7は、センサ7の感度を持つ方向(感度方向)がピン1の軸方向に対して45度(より具体的には、+45度、または−45度)傾いた姿勢で固定されている。
ピン1にせん断荷重Fが作用すると、図7に示すように、ピン1の軸方向に対して+45度及び−45度の方向に引張ひずみEと圧縮ひずみCが生じるが、上記のようにセンサ7を取り付けると、センサ7の感度方向とひずみC,Eの発生方向を揃えることができるので、センサ7の出力変動を抑制することができる。なお、本実施の形態に係るセンサ7としては、引張ひずみEと圧縮ひずみCのうちいずれかを検出するものを利用しても良いし、両者を検出するもの(2軸ゲージ等)を利用しても良い。
なお、ここでは、センサ7の取付姿勢についてのみ説明したが、センサ8もこれと同様に取り付けることができるのは言うまでもない。
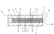
ところで、上記では、ピン1の一方の端面1aから穴3(凹部)を設けて水分の侵入方向を一方に限定したものについて説明したが、この他の方法でピン1に凹部を形成しても良い。次に、図8を用いて、その一例について説明する。
図8は本発明の第1の実施の形態であるピン型ロードセルの変形例の正面断面図である。
この図に示すピン型ロードセルは、ピン1の軸方向に沿って設けられた貫通孔30と、貫通孔30の一端(端面1b側)に取り付けられた封止部材(封止板)22を備えている点で第1の実施の形態と異なる。
貫通孔30は、図1等に示した穴3と同様に、その中心軸がピン1の中心軸と合致するように設けられている。封止部材22は、ピン1の端面1bからの水分侵入を防止するもので、溶接やOリング封止などで固定されている。
このように構成されたロードセルによっても、図1等に示した場合と同様に、水分の侵入方向をピン1の一方に限定することができるので、センサ7,8の出力差を利用してセンサ7の寿命を予測することができる。特に、本変形例のようにピン1を形成すると、ロードセルの組立作業中に端面1b側からもピン1内にアクセスすることができるので、センサ8を固定する作業が容易になるというメリットがある。
ところで、上記で説明した各例においては、1つのセンサ(又はセンサ群)が収められたピン溝が2つある場合について説明してきたが、ピン溝が少なくとも1つあり、その少なくとも1つのピン溝の幅内に複数のセンサがある場合であれば、センサの寿命予測は可能である。この場合には、開口部2が設けられたピン1の端面1aに最も近いピン溝に収められたセンサであって端面1aに最も近いものの出力値と、その他のセンサのうち少なくとも1つの出力値とをサンプリングし、そのサンプリングした端面1aに最も近いセンサの出力値とその他のセンサの出力値の差が、端面1aに最も近いセンサの寿命を判定するために設定した閾値を超えたときを、当該センサの寿命と判定すれば良い。すなわち、ロードセルに均等荷重が作用する場合には各ピン溝で生じるせん断力が等しいので、端面1aに最も近いセンサと、このセンサに対してピン1の軸方向の異なる位置に配置された他のセンサの出力差を閾値と比較すれば、端面1aに最も近いセンサの寿命を判定することができる。
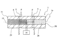
次に、図9を用いて、本発明の第2の実施の形態について説明する。なお、本実施の形態の場合も第1の実施の形態同様、ピン型ロードセルに作用するせん断荷重Fは左右均等であることを前提とする。
図9は本発明の第2の実施の形態であるピン型ロードセルの正面断面図である。
この図に示すピン型ロードセルは、第1樹脂28及び第2樹脂29を備えている点と、封止部材22を備えていない点で図8に示したものと異なる。
貫通孔30は、ピン1の端面1bにおいて開口部19として表出している。本実施の形態では、センサ(第2センサ)8は、端面1bまでの距離が、端面1aからセンサ(第1センサ)7までの距離と等しくなるようピン1内に固定されている。すなわち、本実施の形態のピン型ロードセルは、端面1a(開口部2)からセンサ7までの距離と、端面1b(開口部19)からセンサ8までの距離とは等しく設定されている。
第1樹脂28は貫通孔30内のセンサ7側に充填されており、第2樹脂29は貫通孔30内のセンサ8側に充填されている。第2樹脂29は、第1樹脂28より相対的に水分侵入速度が遅い樹脂である。すなわち、本実施の形態における第1樹脂28と第2樹脂29は互いに水分侵入速度が異なっている。
ここで、本実施の形態に係るピン型ロードセルと異なり、ピン1の貫通孔30の内部に同一の樹脂を充填した場合には、開口部2,19から同じ条件で水分が侵入するので、2つのセンサ7,8の出力がほぼ同時期に低下する恐れがある。そのため、第1の実施の形態のようにセンサ7,8の出力差を検知してセンサ7,8の寿命を判定することは困難となる。
これに対して、本実施の形態のピン型ロードセルは、貫通孔30の内部に水分侵入速度が互いに異なる樹脂28,29が充填されている。このように樹脂28,29を充填すると、センサ7とセンサ8が開口部2,19から等距離に配置されていても、2つのセンサ7,8の出力低下が始まる時刻を異ならせることができる。したがって、本実施の形態によれば、第1の実施の形態同様に、2つのセンサ7,8の出力差を利用して寿命予測ができるので、水分侵入速度が相対的に速い樹脂の内部に固定されたセンサ(即ち、本実施の形態ではセンサ7)の寿命を予測することができる。さらに、本実施の形態は、ピン1に貫通孔30を設けているので、図8の第1の実施の形態の変形例と同様に、ロードセルの組立作業時にピン1内へのアクセスが容易になるというメリットがある。
なお、上記では、センサ7の寿命を予測するために、第2樹脂29に相対的に水分侵入速度が遅いものを適用したが、センサ8の寿命を予測したい場合には第1樹脂28に第2樹脂29よりも水分侵入速度が遅いものを適用すれば良いのは言うまでもない。また、本実施の形態もロードセルに作用する荷重Fとして均等加重を前提としているので、水分到達時間と水分侵入距離の関係の校正曲線を予め用意しておけば、2つのセンサ7,8の寿命予測を行うことができる。
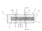
次に、図10を用いて、本発明の第3の実施の形態について説明する。本実施の形態は、ロードセルに設けられた2つのピン溝に不均一な荷重F1,F2が作用することを前提としている点で、上記の各実施の形態と異なる。ピン溝に不均一な荷重が作用する場合の例としては、機械部品の片当たりが発生した場合や、油圧ショベルの掘削作業時等がある。
図10は本発明の第3の実施の形態であるピン型ロードセルの正面断面図である。
この図に示したピン型ロードセルは、ピン溝5Bと、ピン溝6Bと、センサ15と、センサ16を備えている点で第1の実施の形態のものと異なる。
センサ15とセンサ16は、ピン1の軸方向の異なる位置にそれぞれ配置され、穴3の内部に固定されている。第1センサ15は、第2センサ16と比較して開口部2に近い位置(即ち、端面1a側)に配置されている。センサ15,16は報知装置18と接続されており、測定したひずみを報知装置18に出力している。なお、本実施の形態のセンサ15,16は、第1の実施の形態で説明したものと同じ方法で穴3の内部に固定されている。
ピン溝5Bは、ピン1の周方向に沿ってピン1の外周面上に設けられた溝で、他のピン溝と比較して最も開口部2に近い位置に配置されている。また、ピン溝5Bは、その幅内にセンサ15,16が収まるように形成されている。
ピン溝6Bは、ピン溝5B同様にピン1の周方向に沿ってピン1の外周面上に設けられた溝で、ピン溝5Bから端面1b側の位置に配置されている。また、ピン溝6Bは、その幅内にセンサ8が収まるように形成されている。
ここで、第1の実施の形態に係るピン型ロードセルに不均等な荷重F1,F2が作用したと仮定すると、その荷重F1,F2によってピン溝5,6内のセンサ7,8間に当初から出力差が生じてしまうため、センサ7,8の出力差からセンサ7の寿命を判定することは不可能となってしまう。
これに対して、本実施の形態のピン型ロードセルは、開口部2に最も近いピン溝5Bの幅内に2つのセンサ15,16を配置している。このように開口部2に最も近いピン溝5Bの幅内に2つのセンサ15,16を配置すると、不均等な荷重F1,F2が作用しても、それぞれのピン溝5B,6Bの幅内ではせん断変形が均一なので、センサ15とセンサ16の出力に当初から差が生じない状況をつくり出すことができる。これにより、2つのセンサ15,16の出力差を報知装置18で監視することでセンサ15の出力低下を認識できるようになるので、上記各実施の形態と同様に、センサ15,16の出力差と予め設定しておいた閾値とからセンサ15の寿命を予測することができる。
なお、本実施の形態においても、第1の実施の形態と同様に、ピン1内における水分侵入速度を予測したり、水分到達時間と水分侵入距離の校正曲線を利用する等してセンサ16の出力が低下するまでの時間を予測すれば、センサ15の寿命到来後もロードセルの継続使用が可能である。
また、上記では、同一のピン溝内にセンサが2つある場合について説明したが、同一のピン溝内に3つ以上のセンサを配置して、開口部2に最も近いセンサの出力値とその他のセンサのうち少なくとも1つの出力値の差を判別すれば、開口部2に最も近いセンサの寿命を予測することができる。
さらに、上記では不均等な荷重が作用することを前提として説明したが、本実施の形態のようにピン1の軸方向の異なる位置に配置された2つのセンサ15,16がある場合には、第1の実施の形態と同様に、これらの出力差を利用できるので、均等な荷重が作用している場合にもセンサ15の寿命が予測することができる。すなわち、本実施の形態によれば、ロードセルに作用する荷重の均等・不均等に関わらず、開口部2に最も近いセンサの寿命を予測することができる。
なお、本実施の形態においても、第1の実施の形態と同様に、算出した水分侵入速度や、事前に求めた校正曲線に基づいてひずみ測定センサの寿命を予測しても良い。また、図8に示した例のように、ピン1に貫通孔を設け、その端面1b側の端部に封止部材22を取り付けることで穴3を形成しても良い。
本発明の第1の実施の形態であるピン型ロードセルの正面断面図。 図1中のII-IIからの横断面図。 本発明の第1の実施の形態に係る報知装置の機能ブロック図。 本発明の第1の実施の形態においてピンの開口部から第2センサ(センサ8)までの水分侵入速度の測定例を示す図。 本発明の第1の実施の形態に係るセンサの配置の第1変形例を示す図。 本発明の第1の実施の形態に係るセンサの配置の第2変形例を示す図。 本発明の第1の実施の形態に係るセンサの取付姿勢を示す図。 本発明の第1の実施の形態であるピン型ロードセルの変形例の正面断面図。 本発明の第2の実施の形態であるピン型ロードセルの正面断面図。 本発明の第3の実施の形態であるピン型ロードセルの正面断面図。
符号の説明
1 ピン
1a 端面
1b 端面
2 開口部
3 穴(ピン穴)
4 樹脂
5 ピン溝
5B ピン溝
6 ピン溝
6B ピン溝
7 センサ
8 センサ
11 センサ
12 センサ
13 棒材
14 センサ群
15 センサ
16 センサ
18 報知装置
19 開口部
22 封止部材
28 第1樹脂
29 第2樹脂
30 貫通孔
31 センサ群
32 センサ群

Claims (12)

  1. ピンと、
    このピンの一方の端面から前記ピンの軸方向に設けられた穴と、
    この穴の内部に固定され、前記ピンの軸方向の異なる位置に配置された複数のひずみ測定センサと、
    この複数のひずみ測定センサが、前記ピンの周方向に沿って前記ピンの外周面上に設けられた溝の幅内に収まるように形成された1または複数のピン溝と、
    前記穴の内部に充填された樹脂と、
    前記複数のひずみ測定センサのうち前記ピンの一方の端面に最も近いものの出力値、及びその他のひずみ測定センサのうち少なくとも1つの出力値をサンプリングし、そのサンプリングした前記ピンの一方の端面に最も近いひずみ測定センサの出力値と前記その他のひずみ測定センサの出力値の差が、前記ピンの一方の端面に最も近いひずみ測定センサの寿命を判定するために設定した閾値を超えたことを報知する報知装置とを備えることを特徴とするピン型ロードセル。
  2. 請求項1記載のピン型ロードセルにおいて、
    前記ピン型ロードセルには均等な荷重が作用しており、
    前記複数のひずみ測定センサは、前記ピン溝の幅内に1つずつ収まるように配置されていることを特徴とするピン型ロードセル。
  3. 請求項1又は2記載のピン型ロードセルにおいて、
    前記ピン型ロードセルには均等な荷重が作用しており、
    前記複数のひずみ測定センサは、前記ピンの一方の端面から最も近い第1ひずみ測定センサと、及び前記ピンの他方の端面から最も近い第2ひずみ測定センサとによって構成され、
    前記ピンの一方の端面から前記第1ひずみ測定センサまでの距離と、前記ピンの他方の端面から前記第2ひずみ測定センサまでの距離とは等しく設定されており、
    前記穴は、前記ピンの他方の端面に向かって設けられた貫通孔であり、
    前記樹脂は、前記貫通孔の前記第1ひずみ測定センサ側に充填された第1樹脂と、前記貫通孔の前記第2ひずみ測定センサ側に充填され、前記第1樹脂より相対的に水分侵入速度が遅い第2樹脂とによって構成されていることを特徴とするピン型ロードセル。
  4. 請求項1記載のピン型ロードセルにおいて、
    前記ピンの一方の端面に最も近い前記ピン溝の幅内に、前記複数のひずみ測定センサのうちの2以上のひずみ測定センサを設けたことを特徴とするピン型ロードセル。
  5. 請求項1から4いずれかに記載のピン型ロードセルにおいて、
    前記報知装置は、前記出力差が前記閾値を超えるまでに要した時間に基づいて水分侵入速度を算出し、寿命に達していない残りのひずみ測定センサの寿命を予測することを特徴とするピン型ロードセル。
  6. 請求項1から4いずれかに記載のピン型ロードセルにおいて、
    前記報知装置は、前記ピンの軸方向に沿って前記穴の内部に一列に配列された複数のひずみ測定センサの出力値が低下するまでに要する時間を測定して事前に求めた校正曲線に基づいて、寿命に達していない残りのひずみ測定センサの寿命を予測することを特徴とするピン型ロードセル。
  7. 請求項1から6いずれかに記載のピン型ロードセルにおいて、
    前記ひずみ測定センサは、前記ピンの内壁面に固定されていることを特徴とするピン型ロードセル。
  8. 請求項1から6いずれかに記載のピン型ロードセルにおいて、
    前記ひずみ測定センサは、前記樹脂によって前記穴の内部に固定された棒材に取り付けられていることを特徴とするピン型ロードセル
  9. 請求項1から8いずれかに記載のピン型ロードセルにおいて、
    前記ひずみ測定センサは、その感度方向が前記ピンの軸方向に対して45度傾いた姿勢で固定されていることを特徴とするピン型ロードセル。
  10. 請求項1から9いずれかに記載のピン型ロードセルにおいて、
    前記ひずみ測定センサは、4個のひずみ測定センサから構成されるセンサ群であり、
    このセンサ群を構成する前記4個のひずみ測定センサは、前記ピンの同一横断面上において均等配置されるように、前記ピンの内壁面上に固定されていることを特徴とするピン型ロードセル。
  11. 請求項1から10いずれかに記載のピン型ロードセルにおいて、
    前記ひずみ測定センサは、ひずみゲージ又は半導体ひずみセンサであることを特徴とするピン型ロードセル。
  12. 請求項1から2、又は請求項4から11のいずれかに記載のピン型ロードセルにおいて、
    前記穴は、前記ピンの軸方向に設けた貫通孔の一端に封止部材を取り付けて設けられていることを特徴とするピン型ロードセル。
JP2008176140A 2008-07-04 2008-07-04 ピン型ロードセル Expired - Fee Related JP5254685B2 (ja)

Priority Applications (1)

Application Number Priority Date Filing Date Title
JP2008176140A JP5254685B2 (ja) 2008-07-04 2008-07-04 ピン型ロードセル

Applications Claiming Priority (1)

Application Number Priority Date Filing Date Title
JP2008176140A JP5254685B2 (ja) 2008-07-04 2008-07-04 ピン型ロードセル

Publications (3)

Publication Number Publication Date
JP2010014617A true JP2010014617A (ja) 2010-01-21
JP2010014617A5 JP2010014617A5 (ja) 2010-09-09
JP5254685B2 JP5254685B2 (ja) 2013-08-07

Family

ID=41700856

Family Applications (1)

Application Number Title Priority Date Filing Date
JP2008176140A Expired - Fee Related JP5254685B2 (ja) 2008-07-04 2008-07-04 ピン型ロードセル

Country Status (1)

Country Link
JP (1) JP5254685B2 (ja)

Cited By (3)

* Cited by examiner, † Cited by third party
Publication number Priority date Publication date Assignee Title
JP2019215270A (ja) * 2018-06-13 2019-12-19 アルプスアルパイン株式会社 踏力検出装置
JP2021116547A (ja) * 2020-01-23 2021-08-10 株式会社大林組 油圧ショベル
JP2024009435A (ja) * 2022-07-11 2024-01-23 株式会社グローセル 対象物状態解析システム、対象物状態解析方法、およびプログラム

Families Citing this family (1)

* Cited by examiner, † Cited by third party
Publication number Priority date Publication date Assignee Title
JP6473240B2 (ja) 2016-03-30 2019-02-20 日立建機株式会社 運搬用車両

Citations (6)

* Cited by examiner, † Cited by third party
Publication number Priority date Publication date Assignee Title
JPS5540954A (en) * 1978-09-18 1980-03-22 Kawasaki Steel Corp Load cell failure detection method and its unit
JPS6055237A (ja) * 1983-09-06 1985-03-30 Yotaro Hatamura 荷重検出装置
JPS61145427A (ja) * 1984-12-19 1986-07-03 Hitachi Constr Mach Co Ltd 荷重検出装置
JPH05264375A (ja) * 1992-03-23 1993-10-12 Yamato Scale Co Ltd 力または荷重センサの故障診断装置及びその自己復帰装置
JPH08201192A (ja) * 1995-01-25 1996-08-09 Kyowa Electron Instr Co Ltd ピン型荷重変換器
JPH10227684A (ja) * 1997-02-12 1998-08-25 Hitachi Constr Mach Co Ltd 掘削機の荷重測定装置

Patent Citations (6)

* Cited by examiner, † Cited by third party
Publication number Priority date Publication date Assignee Title
JPS5540954A (en) * 1978-09-18 1980-03-22 Kawasaki Steel Corp Load cell failure detection method and its unit
JPS6055237A (ja) * 1983-09-06 1985-03-30 Yotaro Hatamura 荷重検出装置
JPS61145427A (ja) * 1984-12-19 1986-07-03 Hitachi Constr Mach Co Ltd 荷重検出装置
JPH05264375A (ja) * 1992-03-23 1993-10-12 Yamato Scale Co Ltd 力または荷重センサの故障診断装置及びその自己復帰装置
JPH08201192A (ja) * 1995-01-25 1996-08-09 Kyowa Electron Instr Co Ltd ピン型荷重変換器
JPH10227684A (ja) * 1997-02-12 1998-08-25 Hitachi Constr Mach Co Ltd 掘削機の荷重測定装置

Cited By (5)

* Cited by examiner, † Cited by third party
Publication number Priority date Publication date Assignee Title
JP2019215270A (ja) * 2018-06-13 2019-12-19 アルプスアルパイン株式会社 踏力検出装置
JP2021116547A (ja) * 2020-01-23 2021-08-10 株式会社大林組 油圧ショベル
JP7484180B2 (ja) 2020-01-23 2024-05-16 株式会社大林組 油圧ショベル
JP2024009435A (ja) * 2022-07-11 2024-01-23 株式会社グローセル 対象物状態解析システム、対象物状態解析方法、およびプログラム
JP7777045B2 (ja) 2022-07-11 2025-11-27 株式会社マクニカ 対象物状態解析システム、対象物状態解析方法、およびプログラム

Also Published As

Publication number Publication date
JP5254685B2 (ja) 2013-08-07

Similar Documents

Publication Publication Date Title
JP4528810B2 (ja) 荷重センサおよび荷重センサの製造方法
JP5215878B2 (ja) 作業機械及びピン型ロードセル
US10488281B2 (en) Axial force pressure transducer
JP5254685B2 (ja) ピン型ロードセル
ES2947220T3 (es) Métodos y sistemas para la medición de la corrosión en el sitio
US8869633B2 (en) Bearing device having a sensor for measuring the vertical bearing force of a rotating shaft
US20130340537A1 (en) Force sensor including sensor plate with local differences in stiffness
EP3312556A1 (en) Mechanical strain amplifying transducer
US8479582B2 (en) Pressure transmitter
EP2081007B1 (en) Load measuring pin
JP2021045845A5 (ja)
KR100878545B1 (ko) 베어링의 하중 감지 및 베어링의 상태 감시를 조합한 센서어셈블리 및 센서 시스템
US20100108510A1 (en) Measuring device for monitoring the corrosion of a steel reinforcement
EP3532816B1 (en) Strain gauge
JP5184052B2 (ja) 燃焼圧センサ
JP5149081B2 (ja) ひずみ量測定機能付き締結具
JP2008281388A (ja) 軸受荷重測定装置付き軸受及びその軸受の荷重測定方法
JP2010014617A5 (ja)
JP4762620B2 (ja) 測定装置及び流速測定システム
US8117003B2 (en) Method of monitoring an electrochemical half-cell
CN206348218U (zh) 一种埋入式混凝土剪应力传感器
KR20070039705A (ko) 강선을 이용한 앵커의 축력측정용 모노로드셀 및 그앵커구조
KR200405462Y1 (ko) 강선을 이용한 앵커의 축력측정용 모노로드셀 및 그앵커구조
US20240151598A1 (en) Load cell
KR100965386B1 (ko) 미세힘 측정센서

Legal Events

Date Code Title Description
A521 Request for written amendment filed

Free format text: JAPANESE INTERMEDIATE CODE: A523

Effective date: 20100723

A621 Written request for application examination

Free format text: JAPANESE INTERMEDIATE CODE: A621

Effective date: 20100723

A977 Report on retrieval

Free format text: JAPANESE INTERMEDIATE CODE: A971007

Effective date: 20120615

A131 Notification of reasons for refusal

Free format text: JAPANESE INTERMEDIATE CODE: A131

Effective date: 20120626

A521 Request for written amendment filed

Free format text: JAPANESE INTERMEDIATE CODE: A523

Effective date: 20120810

TRDD Decision of grant or rejection written
A01 Written decision to grant a patent or to grant a registration (utility model)

Free format text: JAPANESE INTERMEDIATE CODE: A01

Effective date: 20130326

A61 First payment of annual fees (during grant procedure)

Free format text: JAPANESE INTERMEDIATE CODE: A61

Effective date: 20130418

R150 Certificate of patent or registration of utility model

Ref document number: 5254685

Country of ref document: JP

Free format text: JAPANESE INTERMEDIATE CODE: R150

Free format text: JAPANESE INTERMEDIATE CODE: R150

FPAY Renewal fee payment (event date is renewal date of database)

Free format text: PAYMENT UNTIL: 20160426

Year of fee payment: 3

LAPS Cancellation because of no payment of annual fees