JP2010013682A - 竪型溶解炉を用いた溶銑製造方法 - Google Patents
竪型溶解炉を用いた溶銑製造方法 Download PDFInfo
- Publication number
- JP2010013682A JP2010013682A JP2008172874A JP2008172874A JP2010013682A JP 2010013682 A JP2010013682 A JP 2010013682A JP 2008172874 A JP2008172874 A JP 2008172874A JP 2008172874 A JP2008172874 A JP 2008172874A JP 2010013682 A JP2010013682 A JP 2010013682A
- Authority
- JP
- Japan
- Prior art keywords
- iron
- furnace
- tuyere
- coke
- containing dust
- Prior art date
- Legal status (The legal status is an assumption and is not a legal conclusion. Google has not performed a legal analysis and makes no representation as to the accuracy of the status listed.)
- Granted
Links
Images
Landscapes
- Manufacture And Refinement Of Metals (AREA)
- Manufacture Of Iron (AREA)
- Vertical, Hearth, Or Arc Furnaces (AREA)
- Furnace Details (AREA)
Abstract
【解決手段】炉頂部から鉄含有ダスト/スラッジ塊成化物とコークスを装入し、炉下部の複数の羽口から熱風を吹き込み、コークスの燃焼熱で鉄含有ダスト/スラッジ塊成化物を溶解する方法であって、Vh≦220、L≦0.7、35.7×D≦Vh+50×L≦85.7×D(ただし、Vh(Nm/sec):羽口先端部での熱風流速、L(m):炉内壁から炉内に突き出た羽口管部分の長さ、D(m):羽口高さ位置での炉内径)を満足する条件で羽口から熱風を吹き込む。炉中心部を含めた炉径方向全般でのガス流れが適正化され、コークスの燃焼と鉄含有ダスト/スラッジ塊成化物の溶解が炉全体で適切に生じる。このため溶銑を高い生産性で且つ低コストに製造することができる。
【選択図】図8
Description
(1)生産量を高めるには炉径を大きくする必要があるが、炉径を大きくすると羽口から吹き込まれる熱風が炉中心部まで十分に届かないため、炉中心部側の領域でのガス流れが少なくなり、このため同領域でのコークスの燃焼や鉄含有ダスト塊成化物の溶解が不十分となり、場合によっては操業自体に支障を来すおそれもある。
(2)使用するコークスの粒径が小さいと、コークスが早く燃焼してしまうため、燃焼により生じたCO2が炉内を上昇する過程でコークスと反応する、所謂ソリューションロス反応(吸熱反応)が生じやすくなり、このため発熱量が下がり、出銑量が低下するという問題がある。これを防止するためには、高価な鋳物用コークスの使用比率を高める必要があり、製造コストの上昇を招いてしまう。
(3)生産量を高めるには送風酸素富化が有効であるが、この酸素富化を行うと炉頂温度が低下し、腐食性ガスが結露して排ガス管の腐食を引き起こしたり、ダストが排出されずに炉内に蓄積し、ガス通気性が低下するなどの問題を生じる。
本発明は、このような知見に基づきなされたもので、以下を要旨とするものである。
下記(1)〜(3)式を満足する条件で羽口から熱風を吹き込むことを特徴とする竪型溶解炉を用いた溶銑製造方法。
Vh≦220 …(1)
L≦0.7 …(2)
35.7×D≦Vh+50×L≦85.7×D …(3)
ただし、
Vh(Nm/sec):羽口先端部での熱風流速
L(m):炉内壁から炉内に突き出た羽口管部分の長さ
D(m):羽口高さ位置での炉内径
[3]上記[1]又は[2]の製造方法において、算術平均粒径が120mm以下のコークスを用いるとともに、熱風に酸素を富化することを特徴とする竪型溶解炉を用いた溶銑製造方法。
[4]上記[3]の製造方法において、炉内に装入する鉄源(ここで、鉄源とは、鉄含有ダスト及び/又は鉄含有スラッジの塊成化物、鉄系スクラップの1種以上を指す。)及び/又はコークスを事前に乾燥処理及び/又は予熱することを特徴とする竪型溶解炉を用いた溶銑製造方法。
[5]上記[1]又は[2]の製造方法において、熱風に酸素を富化するとともに、炉内に装入する鉄源(ここで、鉄源とは、鉄含有ダスト及び/又は鉄含有スラッジの塊成化物、鉄系スクラップの1種以上を指す。)及び/又はコークスを事前に乾燥処理及び/又は予熱することを特徴とする竪型溶解炉を用いた溶銑製造方法。
ΔTs+(2×ΔTc×Co)/1000+50×ΔWs+(50×Co×ΔWc)/1000
≧GTt−GTm …(4)
但し、
ΔTs(℃):予熱による鉄源温度の上昇幅(但し、鉄含有ダスト及び/又は鉄含有スラッジの塊成化物、鉄系スクラップの両方を予熱する場合には、両者の配合割合に応じた加重平均値)
ΔTc(℃):予熱によるコークス温度の上昇幅
ΔWs(mass%):乾燥処理及び/又は予熱による鉄源水分含有率の低下幅(但し、鉄含有ダスト及び/又は鉄含有スラッジの塊成化物、鉄系スクラップの両方を乾燥処理及び/又は予熱する場合には、両者の配合割合に応じた加重平均値)
ΔWc(mass%):乾燥処理及び/又は予熱によるコークス水分含有率の低下幅
Co(kg/溶銑ton):コークス比
GTt(℃):炉頂部における目標排ガス温度
GTm(℃):炉頂部における実績排ガス温度
さらに、炉装入原料を事前に乾燥・予熱することにより、炉頂温度の低下が抑えられ、このため排ガス管内での腐食性ガスの結露やダストの炉内蓄積が抑えられ、排ガス管の腐食や操業上のトラブルを生じることなく、安定した操業を行うことができる。
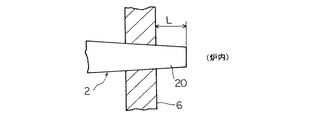
図2は、羽口2の拡大図であり、この例では、羽口2を構成する羽口管20の先端部が炉内壁6から炉内に所定長さLだけ突き出ている。この羽口数に制限はないが、通常、4〜10本程度である。
鉄源として鉄含有ダスト/スラッジ塊成化物を使用すると、鉄源として鉄系スクラップを使用する場合に比べてコークス原単位が増加するため、排ガス量が増加するが、送風酸素富化を実施することにより排ガス量を低減できるので、例えば、後述するような形態で送風酸素富化を行うのが好ましい。
鉄含有ダスト/スラッジ塊成化物(又は鉄含有ダスト/スラッジ塊成化物を
含む鉄源)とコークスは、炉内に同時に装入してもよいし、交互に装入してもよい。また、炉装入原料としては、上記以外に、例えば、銑鉄、還元鉄、鉄鉱石等の鉄源、木炭や無煙炭等の炭材などを装入してもよい。
Vh≦220 …(1)
L≦0.7 …(2)
35.7×D≦Vh+50×L≦85.7×D …(3)
ただし、
Vh(Nm/sec):羽口先端部での熱風流速
L(m):炉内壁から炉内に突き出た羽口管部分の長さ
D(m):羽口高さ位置での炉内径
図9は、羽口高さ位置での炉内径Dが2.1mであって、羽口突き出し長さLがそれぞれ0.1m、0.4m、0.6mの溶解炉を用いた操業において、羽口風速Vhとガス利用率ηとの関係を調べたものである。使用した各溶解炉は羽口本数が8本であり、操業条件は図7の場合と同様である。この操業では、鉄源として鉄含有ダスト/スラッジ塊成化物50mass%+鉄スクラップ50mass%を用いた。図9によれば、羽口突き出し長さLに応じた特定の範囲の羽口風速Vhにおいて高いガス利用率ηが得られている。図9の結果に基づき、高いガス利用率ηが得られ且つ上記(1)式及び(2)式の条件を満足する羽口突き出し長さLと羽口風速Vhの範囲を図10(斜線部)に示すが、この炉内径でも、高いガス利用率ηを得るには上記(3)式を満足する必要があることが判る。
以上の結果から、上記(3)式を満足することにより高いガス利用率ηが得られることが判る。このように高いガス利用率ηが得られるということは、炉中心部側の領域を含めた炉径方向全般でのガス流れが適正化し、これによりコークスの燃焼と鉄含有ダスト/スラッジ塊成化物(又は鉄含有ダスト/スラッジ塊成化物を含む鉄源)の溶解が炉全体で適切に生じていることを意味する。
なお、算術平均粒径とは、平均粒径=(Σai×Xi)/(Σai)(但し、Xi:代表粒径、ai:割合)で求められる粒径である。
酸素富化率(=送風中の酸素濃度の増加分)に特に制限はないが、送風酸素富化の効果を得るためには、一般には2vol%以上の酸素富化率とすることが好ましい。一方、酸素富化率が過剰であると、羽口前温度の上昇によって羽口抜熱量が徒に増大するとともに、羽口耐火物の溶損頻度が増大するおそれがある。また、炉径方向での温度分布が大きくなってガス流れの制御が困難になる等の問題を生じやすい。このため酸素富化率は50vol%程度を上限とするのが好ましい。
送風酸素富化を行うと熱風中のN2の割合が少なくなるため着熱効率が上昇し、炉頂温度が低下する。炉頂温度が低下すると、腐食性ガスが結露して排ガス管の腐食が引き起こされたり、ダストが排出されずに炉内に蓄積し、ガス通気性が低下するなどの問題を生じる。ここで、炉頂温度が130℃を下回ると腐食性ガス(NOx,SOx)の結露などが生じやすくなるため、炉頂温度は130℃以上に維持されることが好ましい。ここで、炉頂温度とは炉頂出口における排ガス温度のことである。
ΔTs+(2×ΔTc×Co)/1000+50×ΔWs+(50×Co×ΔWc)/1000
≧GTt−GTm …(4)
但し、
ΔTs(℃):予熱による鉄源温度の上昇幅(但し、鉄含有ダスト及び/又は鉄含有スラッジの塊成化物、鉄系スクラップの両方を予熱する場合には、両者の配合割合に応じた加重平均値)
ΔTc(℃):予熱によるコークス温度の上昇幅
ΔWs(mass%):乾燥処理及び/又は予熱による鉄源水分含有率の低下幅(但し、鉄含有ダスト及び/又は鉄含有スラッジの塊成化物、鉄系スクラップの両方を乾燥処理及び/又は予熱する場合には、両者の配合割合に応じた加重平均値)
ΔWc(mass%):乾燥処理及び/又は予熱によるコークス水分含有率の低下幅
Co(kg/溶銑ton):コークス比
GTt(℃):炉頂部における目標排ガス温度
GTm(℃):炉頂部における実績排ガス温度
なお、鉄含有ダスト/スラッジ塊成化物、鉄系スクラップの両方を予熱する場合、両者の予熱による温度上昇幅が異なることがあるので、ΔTsは両者の配合割合に応じた加重平均値とする。同じく、鉄含有ダスト/スラッジ塊成化物、鉄系スクラップの両方を乾燥処理及び/又は予熱する場合、両者の乾燥処理及び/又は予熱による鉄源水分含有率の低下幅が異なることがあるので、ΔWsは両者の配合割合に応じた加重平均値とする。
鉄源やコークスを事前に乾燥処理又は予熱する方法に特別な制限はなく、例えば、乾燥処理は、適当な熱源を用いて乾燥してもよいし、屋根付きヤードで長期間保管して自然乾燥を行ってもよい。また、予熱はロータリーキルン等の加熱設備を用いて行ってもよい。
前記鉄含有ダストは、酸化鉄及び/又は金属鉄を含むダストであり、その種類に特に制限はないが、代表的なものとしては、鉄鋼製造プロセスで生じる製鋼ダストを挙げることができる。この製鋼ダストには、溶銑予備処理工程で生じる溶銑予備処理ダスト、転炉脱炭工程で生じる転炉ダスト、電気炉で生じる電気炉ダストなどが含まれる。これらの製鋼ダストは、製鋼工程で発生した排ガスから集塵することにより回収されたものである。また、これらの中でも、転炉脱炭工程で生じる転炉ダスト、いわゆるOGダストが、不純物の含有量が少なく、したがって鉄含有量が高いため特に好ましい。また、製鋼ダスト以外の鉄含有ダストとしては、例えば、高炉ダスト、圧延ダストなどがある。
また、前記鉄含有スラッジは、酸化鉄及び/又は金属鉄を含むスラッジであり、その種類に特に制限はないが、上述したような各種ダストが湿式集塵機で捕集されることでスラッジ化したものが、代表例として挙げられる。
前記水硬性バインダーとしては、例えば、ポルトランドセメント、高炉セメント、アルミナセメント、フライアッシュセメントなどの各種セメント、高炉水砕スラグ微粉末、生石灰などの1種以上を用いることができる。原料中の水硬性バインダーの配合量は、強度の発現及びスラグ生成量の抑制の観点から、一般に2〜25mass%程度とすることが好ましい。
また、生成するスラグ量をなるべく少なくするという観点から、原料中でのSiO2、Al2O3、CaO、MgOの合計量を25mass%以下とすることが好ましい。当然、これら成分は水硬性バインダーなどに含有されるものも含まれる。
水の量は原料の配合によっても異なるが、成形時に圧縮しても水がしみ出てこない最大水量が望ましい。定量的には、JIS−A−1101(コンクリートのスランプ測定方法)に準じた測定においてスランプが0である最大水量となるように調整することが好ましい。水の量が少なすぎると適切に成形できず、また水硬性バインダーの硬化も進行しない。一方、水の量が多すぎて成形時に水がしみ出てくると、その水の処理などに特別な対応が必要になるからである。
成形物の形状は任意であるが、炉に装入した際の粉化をなるべく抑えるために角部が少ない方が好ましい。また、成形物の大きさも任意であるが、あまり小さいと竪型溶解炉に装入した際に炉の圧力損失を増大させ、一方、あまり大きいと竪型溶解炉に装入した際に塊成化物の中心部の昇温遅れによる還元・溶解遅れを生じるので、一般には容積で20〜2000cc程度のサイズが好ましい。
また、鉄含有ダスト/スラッジ塊成化物としては、上述したような水硬性バインダーを用いて成形体を水和硬化させる製法以外の方法で製造されたものでもよい。例えば、水硬性バインダー以外のバインダー(例えば、糖蜜や有機バインダー)を用いて成形体を固化させることにより得られたものでもよい。
鉄含有ダスト/スラッジ塊成化物としては、次のようなものを用いた。転炉OGダスト70mass%、高炉ダスト30mass%の割合で配合した鉄含有ダストに、水硬性バインダーであるポルトランドセメント(配合量8mass%)を配合した粉状原料に水を加えてミキサーでよく混練した後、圧縮成形して直径100mm、高さ110mmの円柱状の成形体とし、この成形体を放置(養生)して鉄含有ダスト/スラッジ塊成化物とした。また、鉄系スクラップとしては、H2をシュレッダーにかけ、異物を除去したものを用いた。
各操業での製造条件と結果(ガス利用率)を表1に示す。この実施例では、使用するコークス粒径(算術平均粒径)や酸素富化率を変えた条件でも操業を行ったが、本発明条件で操業することにより、本発明条件外で操業を行う場合(比較例)に較べて10%程度も高いガス利用率が得られている。
2 羽口
3 熱風管
4 排ガス出口
5 出銑口
6 炉内壁
20 羽口管
Claims (6)
- 竪型溶解炉において、炉頂部から鉄含有ダスト及び/又は鉄含有スラッジの塊成化物とコークスを装入し、炉下部に設けられた複数の羽口から熱風を吹き込み、コークスの燃焼熱で前記塊成化物を溶解することにより溶銑を製造する方法であって、
下記(1)〜(3)式を満足する条件で羽口から熱風を吹き込むことを特徴とする竪型溶解炉を用いた溶銑製造方法。
Vh≦220 …(1)
L≦0.7 …(2)
35.7×D≦Vh+50×L≦85.7×D …(3)
ただし、
Vh(Nm/sec):羽口先端部での熱風流速
L(m):炉内壁から炉内に突き出た羽口管部分の長さ
D(m):羽口高さ位置での炉内径 - 炉頂部からさらに鉄系スクラップを装入し、これを鉄含有ダスト及び/又は鉄含有スラッジの塊成化物とともに溶解して溶銑を製造することを特徴とする請求項1に記載の竪型溶解炉を用いた溶銑製造方法。
- 算術平均粒径が120mm以下のコークスを用いるとともに、熱風に酸素を富化することを特徴とする請求項1又は2に記載の竪型溶解炉を用いた溶銑製造方法。
- 炉内に装入する鉄源(ここで、鉄源とは、鉄含有ダスト及び/又は鉄含有スラッジの塊成化物、鉄系スクラップの1種以上を指す。)及び/又はコークスを事前に乾燥処理及び/又は予熱することを特徴とする請求項3に記載の竪型溶解炉を用いた溶銑製造方法。
- 熱風に酸素を富化するとともに、炉内に装入する鉄源(ここで、鉄源とは、鉄含有ダスト及び/又は鉄含有スラッジの塊成化物、鉄系スクラップの1種以上を指す。)及び/又はコークスを事前に乾燥処理及び/又は予熱することを特徴とする請求項1又は2に記載の竪型溶解炉を用いた溶銑製造方法。
- 鉄源及び/又はコークスを、下記(4)式を満足するように乾燥処理及び/又は予熱することを特徴とする請求項4又は5に記載の竪型溶解炉を用いた溶銑製造方法。
ΔTs+(2×ΔTc×Co)/1000+50×ΔWs+(50×Co×ΔWc)/1000
≧GTt−GTm …(4)
但し、
ΔTs(℃):予熱による鉄源温度の上昇幅(但し、鉄含有ダスト及び/又は鉄含有スラッジの塊成化物、鉄系スクラップの両方を予熱する場合には、両者の配合割合に応じた加重平均値)
ΔTc(℃):予熱によるコークス温度の上昇幅
ΔWs(mass%):乾燥処理及び/又は予熱による鉄源水分含有率の低下幅(但し、鉄含有ダスト及び/又は鉄含有スラッジの塊成化物、鉄系スクラップの両方を乾燥処理及び/又は予熱する場合には、両者の配合割合に応じた加重平均値)
ΔWc(mass%):乾燥処理及び/又は予熱によるコークス水分含有率の低下幅
Co(kg/溶銑ton):コークス比
GTt(℃):炉頂部における目標排ガス温度
GTm(℃):炉頂部における実績排ガス温度
Priority Applications (1)
| Application Number | Priority Date | Filing Date | Title |
|---|---|---|---|
| JP2008172874A JP5251297B2 (ja) | 2008-07-02 | 2008-07-02 | 竪型溶解炉を用いた溶銑製造方法 |
Applications Claiming Priority (1)
| Application Number | Priority Date | Filing Date | Title |
|---|---|---|---|
| JP2008172874A JP5251297B2 (ja) | 2008-07-02 | 2008-07-02 | 竪型溶解炉を用いた溶銑製造方法 |
Publications (3)
| Publication Number | Publication Date |
|---|---|
| JP2010013682A true JP2010013682A (ja) | 2010-01-21 |
| JP2010013682A5 JP2010013682A5 (ja) | 2013-02-14 |
| JP5251297B2 JP5251297B2 (ja) | 2013-07-31 |
Family
ID=41700047
Family Applications (1)
| Application Number | Title | Priority Date | Filing Date |
|---|---|---|---|
| JP2008172874A Expired - Fee Related JP5251297B2 (ja) | 2008-07-02 | 2008-07-02 | 竪型溶解炉を用いた溶銑製造方法 |
Country Status (1)
| Country | Link |
|---|---|
| JP (1) | JP5251297B2 (ja) |
Cited By (1)
| Publication number | Priority date | Publication date | Assignee | Title |
|---|---|---|---|---|
| JP7695601B1 (ja) * | 2024-01-10 | 2025-06-19 | 日本製鉄株式会社 | 高炉の操業方法 |
Citations (5)
| Publication number | Priority date | Publication date | Assignee | Title |
|---|---|---|---|---|
| JPS63161108A (ja) * | 1986-12-25 | 1988-07-04 | Nippon Steel Corp | 溶銑製造装置 |
| JPH11158519A (ja) * | 1997-11-25 | 1999-06-15 | Nippon Steel Corp | 竪型炉の操業方法 |
| JP2000336417A (ja) * | 1999-05-26 | 2000-12-05 | Kawasaki Steel Corp | 羽口設定方法 |
| JP2007002305A (ja) * | 2005-06-24 | 2007-01-11 | Nippon Chutetsukan Kk | キュポラによる溶銑の溶製方法 |
| JP2008150666A (ja) * | 2006-12-18 | 2008-07-03 | Jfe Steel Kk | 竪型スクラップ溶解炉を用いた溶銑製造方法 |
-
2008
- 2008-07-02 JP JP2008172874A patent/JP5251297B2/ja not_active Expired - Fee Related
Patent Citations (5)
| Publication number | Priority date | Publication date | Assignee | Title |
|---|---|---|---|---|
| JPS63161108A (ja) * | 1986-12-25 | 1988-07-04 | Nippon Steel Corp | 溶銑製造装置 |
| JPH11158519A (ja) * | 1997-11-25 | 1999-06-15 | Nippon Steel Corp | 竪型炉の操業方法 |
| JP2000336417A (ja) * | 1999-05-26 | 2000-12-05 | Kawasaki Steel Corp | 羽口設定方法 |
| JP2007002305A (ja) * | 2005-06-24 | 2007-01-11 | Nippon Chutetsukan Kk | キュポラによる溶銑の溶製方法 |
| JP2008150666A (ja) * | 2006-12-18 | 2008-07-03 | Jfe Steel Kk | 竪型スクラップ溶解炉を用いた溶銑製造方法 |
Cited By (1)
| Publication number | Priority date | Publication date | Assignee | Title |
|---|---|---|---|---|
| JP7695601B1 (ja) * | 2024-01-10 | 2025-06-19 | 日本製鉄株式会社 | 高炉の操業方法 |
Also Published As
| Publication number | Publication date |
|---|---|
| JP5251297B2 (ja) | 2013-07-31 |
Similar Documents
| Publication | Publication Date | Title |
|---|---|---|
| JP2004183070A (ja) | 溶鉄の製法 | |
| JP5729256B2 (ja) | 非焼成溶銑脱りん材および非焼成溶銑脱りん材を用いた溶銑の脱りん方法 | |
| JP5439756B2 (ja) | 竪型溶解炉を用いた溶銑製造方法 | |
| JP5251297B2 (ja) | 竪型溶解炉を用いた溶銑製造方法 | |
| JP5251296B2 (ja) | 竪型溶解炉を用いた溶銑製造方法 | |
| KR20040057191A (ko) | 일반탄을 이용한 용철 제조 공정에서 분환원철 및 분소성부원료의 괴성체를 이용한 용철제조방법 | |
| JP5125819B2 (ja) | 竪型溶解炉および溶銑製造方法 | |
| JP5082678B2 (ja) | 竪型スクラップ溶解炉を用いた溶銑製造方法 | |
| JP5910182B2 (ja) | 竪型溶解炉を用いた溶銑の製造方法 | |
| JP5515242B2 (ja) | 竪型溶解炉を用いた溶銑製造方法 | |
| JP4918754B2 (ja) | 半還元焼結鉱およびその製造方法 | |
| JP5181878B2 (ja) | 溶銑製造方法 | |
| JP4984488B2 (ja) | 半還元焼結鉱の製造方法 | |
| JP2002226920A (ja) | 焼結鉱の製造方法および焼結鉱 | |
| JP2010013690A (ja) | 鉄含有ダスト塊成化物および溶銑製造方法 | |
| JP2008291333A (ja) | 竪型スクラップ溶解炉を用いた溶銑製造方法 | |
| RU2506326C2 (ru) | Брикет экструзионный (брэкс) - компонент доменной шихты | |
| JP5262354B2 (ja) | 竪型溶解炉を用いた溶銑製造方法 | |
| JP4992549B2 (ja) | 竪型スクラップ溶解炉を用いた溶銑製造方法 | |
| JP5181875B2 (ja) | 竪型溶解炉を用いた溶銑製造方法 | |
| JP5200561B2 (ja) | 鉄含有ダスト塊成化物の製造方法 | |
| JP2010008030A (ja) | 竪型溶解炉を用いた溶銑製造方法 | |
| JP5200422B2 (ja) | 竪型スクラップ溶解炉を用いた溶銑製造方法 | |
| JP5867428B2 (ja) | 竪型溶解炉を用いた溶銑の製造方法 | |
| JP4893290B2 (ja) | 竪型スクラップ溶解炉を用いた溶銑製造方法 |
Legal Events
| Date | Code | Title | Description |
|---|---|---|---|
| A621 | Written request for application examination |
Free format text: JAPANESE INTERMEDIATE CODE: A621 Effective date: 20110421 |
|
| A521 | Request for written amendment filed |
Free format text: JAPANESE INTERMEDIATE CODE: A523 Effective date: 20121225 |
|
| A521 | Request for written amendment filed |
Free format text: JAPANESE INTERMEDIATE CODE: A821 Effective date: 20121225 |
|
| A977 | Report on retrieval |
Free format text: JAPANESE INTERMEDIATE CODE: A971007 Effective date: 20130311 |
|
| TRDD | Decision of grant or rejection written | ||
| A01 | Written decision to grant a patent or to grant a registration (utility model) |
Free format text: JAPANESE INTERMEDIATE CODE: A01 Effective date: 20130319 |
|
| A61 | First payment of annual fees (during grant procedure) |
Free format text: JAPANESE INTERMEDIATE CODE: A61 Effective date: 20130401 |
|
| R150 | Certificate of patent or registration of utility model |
Ref document number: 5251297 Country of ref document: JP Free format text: JAPANESE INTERMEDIATE CODE: R150 Free format text: JAPANESE INTERMEDIATE CODE: R150 |
|
| FPAY | Renewal fee payment (event date is renewal date of database) |
Free format text: PAYMENT UNTIL: 20160426 Year of fee payment: 3 |
|
| R250 | Receipt of annual fees |
Free format text: JAPANESE INTERMEDIATE CODE: R250 |
|
| LAPS | Cancellation because of no payment of annual fees |
