JP2010013347A - ガラス又はガラス−セラミック物品の装飾層用シール層 - Google Patents

ガラス又はガラス−セラミック物品の装飾層用シール層 Download PDF

Info

Publication number
JP2010013347A
JP2010013347A JP2009158333A JP2009158333A JP2010013347A JP 2010013347 A JP2010013347 A JP 2010013347A JP 2009158333 A JP2009158333 A JP 2009158333A JP 2009158333 A JP2009158333 A JP 2009158333A JP 2010013347 A JP2010013347 A JP 2010013347A
Authority
JP
Japan
Prior art keywords
glass
layer
sealing layer
sol
decorative
Prior art date
Legal status (The legal status is an assumption and is not a legal conclusion. Google has not performed a legal analysis and makes no representation as to the accuracy of the status listed.)
Granted
Application number
JP2009158333A
Other languages
English (en)
Other versions
JP5078948B2 (ja
JP2010013347A5 (ja
Inventor
Andrea Anton
アントン アンドレアス
Matthias Bockmeyer
ボックメイエル マティアス
Gabriele Roemer-Scheurmann
ロエメル−シュオイエルマン ガブリエレ
Hans-Joachim Schmidt
シュミット ハンス−ヨアヒム
Current Assignee (The listed assignees may be inaccurate. Google has not performed a legal analysis and makes no representation or warranty as to the accuracy of the list.)
Schott AG
Original Assignee
Schott AG
Priority date (The priority date is an assumption and is not a legal conclusion. Google has not performed a legal analysis and makes no representation as to the accuracy of the date listed.)
Filing date
Publication date
Application filed by Schott AG filed Critical Schott AG
Publication of JP2010013347A publication Critical patent/JP2010013347A/ja
Publication of JP2010013347A5 publication Critical patent/JP2010013347A5/ja
Application granted granted Critical
Publication of JP5078948B2 publication Critical patent/JP5078948B2/ja
Expired - Fee Related legal-status Critical Current
Anticipated expiration legal-status Critical

Links

Images

Classifications

    • CCHEMISTRY; METALLURGY
    • C03GLASS; MINERAL OR SLAG WOOL
    • C03CCHEMICAL COMPOSITION OF GLASSES, GLAZES OR VITREOUS ENAMELS; SURFACE TREATMENT OF GLASS; SURFACE TREATMENT OF FIBRES OR FILAMENTS MADE FROM GLASS, MINERALS OR SLAGS; JOINING GLASS TO GLASS OR OTHER MATERIALS
    • C03C17/00Surface treatment of glass, not in the form of fibres or filaments, by coating
    • C03C17/006Surface treatment of glass, not in the form of fibres or filaments, by coating with materials of composite character
    • C03C17/007Surface treatment of glass, not in the form of fibres or filaments, by coating with materials of composite character containing a dispersed phase, e.g. particles, fibres or flakes, in a continuous phase
    • BPERFORMING OPERATIONS; TRANSPORTING
    • B44DECORATIVE ARTS
    • B44CPRODUCING DECORATIVE EFFECTS; MOSAICS; TARSIA WORK; PAPERHANGING
    • B44C3/00Processes, not specifically provided for elsewhere, for producing ornamental structures
    • B44C3/02Superimposing layers
    • CCHEMISTRY; METALLURGY
    • C03GLASS; MINERAL OR SLAG WOOL
    • C03CCHEMICAL COMPOSITION OF GLASSES, GLAZES OR VITREOUS ENAMELS; SURFACE TREATMENT OF GLASS; SURFACE TREATMENT OF FIBRES OR FILAMENTS MADE FROM GLASS, MINERALS OR SLAGS; JOINING GLASS TO GLASS OR OTHER MATERIALS
    • C03C1/00Ingredients generally applicable to manufacture of glasses, glazes, or vitreous enamels
    • C03C1/006Ingredients generally applicable to manufacture of glasses, glazes, or vitreous enamels to produce glass through wet route
    • C03C1/008Ingredients generally applicable to manufacture of glasses, glazes, or vitreous enamels to produce glass through wet route for the production of films or coatings
    • CCHEMISTRY; METALLURGY
    • C03GLASS; MINERAL OR SLAG WOOL
    • C03CCHEMICAL COMPOSITION OF GLASSES, GLAZES OR VITREOUS ENAMELS; SURFACE TREATMENT OF GLASS; SURFACE TREATMENT OF FIBRES OR FILAMENTS MADE FROM GLASS, MINERALS OR SLAGS; JOINING GLASS TO GLASS OR OTHER MATERIALS
    • C03C17/00Surface treatment of glass, not in the form of fibres or filaments, by coating
    • C03C17/006Surface treatment of glass, not in the form of fibres or filaments, by coating with materials of composite character
    • C03C17/008Surface treatment of glass, not in the form of fibres or filaments, by coating with materials of composite character comprising a mixture of materials covered by two or more of the groups C03C17/02, C03C17/06, C03C17/22 and C03C17/28
    • CCHEMISTRY; METALLURGY
    • C03GLASS; MINERAL OR SLAG WOOL
    • C03CCHEMICAL COMPOSITION OF GLASSES, GLAZES OR VITREOUS ENAMELS; SURFACE TREATMENT OF GLASS; SURFACE TREATMENT OF FIBRES OR FILAMENTS MADE FROM GLASS, MINERALS OR SLAGS; JOINING GLASS TO GLASS OR OTHER MATERIALS
    • C03C17/00Surface treatment of glass, not in the form of fibres or filaments, by coating
    • C03C17/006Surface treatment of glass, not in the form of fibres or filaments, by coating with materials of composite character
    • C03C17/008Surface treatment of glass, not in the form of fibres or filaments, by coating with materials of composite character comprising a mixture of materials covered by two or more of the groups C03C17/02, C03C17/06, C03C17/22 and C03C17/28
    • C03C17/009Mixtures of organic and inorganic materials, e.g. ormosils and ormocers
    • CCHEMISTRY; METALLURGY
    • C03GLASS; MINERAL OR SLAG WOOL
    • C03CCHEMICAL COMPOSITION OF GLASSES, GLAZES OR VITREOUS ENAMELS; SURFACE TREATMENT OF GLASS; SURFACE TREATMENT OF FIBRES OR FILAMENTS MADE FROM GLASS, MINERALS OR SLAGS; JOINING GLASS TO GLASS OR OTHER MATERIALS
    • C03C17/00Surface treatment of glass, not in the form of fibres or filaments, by coating
    • C03C17/34Surface treatment of glass, not in the form of fibres or filaments, by coating with at least two coatings having different compositions
    • CCHEMISTRY; METALLURGY
    • C03GLASS; MINERAL OR SLAG WOOL
    • C03CCHEMICAL COMPOSITION OF GLASSES, GLAZES OR VITREOUS ENAMELS; SURFACE TREATMENT OF GLASS; SURFACE TREATMENT OF FIBRES OR FILAMENTS MADE FROM GLASS, MINERALS OR SLAGS; JOINING GLASS TO GLASS OR OTHER MATERIALS
    • C03C2217/00Coatings on glass
    • C03C2217/40Coatings comprising at least one inhomogeneous layer
    • C03C2217/43Coatings comprising at least one inhomogeneous layer consisting of a dispersed phase in a continuous phase
    • C03C2217/46Coatings comprising at least one inhomogeneous layer consisting of a dispersed phase in a continuous phase characterized by the dispersed phase
    • C03C2217/48Coatings comprising at least one inhomogeneous layer consisting of a dispersed phase in a continuous phase characterized by the dispersed phase having a specific function
    • C03C2217/485Pigments
    • CCHEMISTRY; METALLURGY
    • C03GLASS; MINERAL OR SLAG WOOL
    • C03CCHEMICAL COMPOSITION OF GLASSES, GLAZES OR VITREOUS ENAMELS; SURFACE TREATMENT OF GLASS; SURFACE TREATMENT OF FIBRES OR FILAMENTS MADE FROM GLASS, MINERALS OR SLAGS; JOINING GLASS TO GLASS OR OTHER MATERIALS
    • C03C2217/00Coatings on glass
    • C03C2217/70Properties of coatings
    • C03C2217/72Decorative coatings
    • CCHEMISTRY; METALLURGY
    • C03GLASS; MINERAL OR SLAG WOOL
    • C03CCHEMICAL COMPOSITION OF GLASSES, GLAZES OR VITREOUS ENAMELS; SURFACE TREATMENT OF GLASS; SURFACE TREATMENT OF FIBRES OR FILAMENTS MADE FROM GLASS, MINERALS OR SLAGS; JOINING GLASS TO GLASS OR OTHER MATERIALS
    • C03C2217/00Coatings on glass
    • C03C2217/70Properties of coatings
    • C03C2217/78Coatings specially designed to be durable, e.g. scratch-resistant
    • CCHEMISTRY; METALLURGY
    • C03GLASS; MINERAL OR SLAG WOOL
    • C03CCHEMICAL COMPOSITION OF GLASSES, GLAZES OR VITREOUS ENAMELS; SURFACE TREATMENT OF GLASS; SURFACE TREATMENT OF FIBRES OR FILAMENTS MADE FROM GLASS, MINERALS OR SLAGS; JOINING GLASS TO GLASS OR OTHER MATERIALS
    • C03C2218/00Methods for coating glass
    • C03C2218/10Deposition methods
    • C03C2218/11Deposition methods from solutions or suspensions
    • C03C2218/113Deposition methods from solutions or suspensions by sol-gel processes
    • YGENERAL TAGGING OF NEW TECHNOLOGICAL DEVELOPMENTS; GENERAL TAGGING OF CROSS-SECTIONAL TECHNOLOGIES SPANNING OVER SEVERAL SECTIONS OF THE IPC; TECHNICAL SUBJECTS COVERED BY FORMER USPC CROSS-REFERENCE ART COLLECTIONS [XRACs] AND DIGESTS
    • Y10TECHNICAL SUBJECTS COVERED BY FORMER USPC
    • Y10TTECHNICAL SUBJECTS COVERED BY FORMER US CLASSIFICATION
    • Y10T428/00Stock material or miscellaneous articles
    • Y10T428/24Structurally defined web or sheet [e.g., overall dimension, etc.]
    • Y10T428/24802Discontinuous or differential coating, impregnation or bond [e.g., artwork, printing, retouched photograph, etc.]
    • Y10T428/24851Intermediate layer is discontinuous or differential

Landscapes

  • Chemical & Material Sciences (AREA)
  • General Chemical & Material Sciences (AREA)
  • Life Sciences & Earth Sciences (AREA)
  • Engineering & Computer Science (AREA)
  • Chemical Kinetics & Catalysis (AREA)
  • Geochemistry & Mineralogy (AREA)
  • Materials Engineering (AREA)
  • Organic Chemistry (AREA)
  • Composite Materials (AREA)
  • Inorganic Chemistry (AREA)
  • Dispersion Chemistry (AREA)
  • Surface Treatment Of Glass (AREA)
  • Laminated Bodies (AREA)
  • Glass Compositions (AREA)

Abstract

【課題】本発明は、装飾層及びシール層を含むガラス又はガラス−セラミック物品を生成する方法に関する。
【解決手段】2つの層は、ゾル−ゲル・プロセスによって生成され、またさらに、少なくとも、フィラー及び無機顔料を含有し、装飾層及びシール層の染色が、同じか、そうでなければ異なることが可能である。装飾コーティングの良好な接着強度及び不透過性を達成するために、使用される無機顔料の量と種類に関するある組成規則を遵守しなければならず、また意外にも、本発明によるシール層については、装飾層と異なる。本発明は、さらに、本発明の方法に従って特に生成される、装飾コーティングを有するガラス又はガラス−セラミック物品に関し、前記物品は、ガラス−セラミック・レンジ台としての使用に特に適する。
【選択図】図1

Description

本発明は、強い熱負荷及び/又は化学的負荷及び/又は機械的負荷をかけられるガラス又はガラス−セラミック物品上の装飾層用シール層並びにこのシール層を生成する方法に関する。
ガラス、特に、ガラス−セラミック物品は、たとえば、レンジ台のコンポーネントなどとして熱い環境で使用されることが多い。このことは、装飾層及びシール層を含む装飾コーティングに使用される材料の温度安定性に高い要求が課されることをもたらす。しかし同時に、システムにより生じる因子に加えて、たとえば、接着強度及び引っかき傷に対する耐性並びに物品の使用中に生じる可能性がある流体及びガスの浸透に対する不透過性などの他の因子を考慮しなければならない。器具製造業者は、ボンディング剤/レンジ台システムの接着強度に関して特別な要求をし、その要求はまた、レンジ台の装飾層及びシール層を含む装飾下面コーティングによって達成されなければならない。特に、下面コーティングは、基材から剥離してはならない。
レンジ台の搭載電子機器の器具コンポーネントは、ガラス・セラミックの下面を、すなわち、下面コーティング式レンジ台の場合、シール層を直接、こする又は引っかく可能性がある。
さらに、生成されるコーティングは、たとえば、食物内に存在するような液体及び油含有物質に対して不透過性でなければならない。しかし、ある種の物質はまた、システムにより生じる可能性があり、コーティングされたガラス又はガラス−セラミック物品に有害な影響を絶対に及ぼしてはならない。この場合、たとえば、ガス加熱式ガラス−セラミック・レンジ台が考えられ、そこでは、ガスが燃焼するときに水と共に形成される硫黄酸化物が酸に変換され、酸は、基材並びに装飾層及びシール層を侵す可能性がある。
たとえば、シール層が有るまたシール層が無い、下面コーティングとして使用される、ガラス及びガラス・セラミック上の装飾コーティングが知られている。一般に、第1着色層は、その容積全体にわたって着色されていない透明なガラス/ガラス−セラミック物品上に直接付着させる。この第1層は、概して、一定の接着強度及び引っかき傷に対する耐性を有する。しかし、特に、下面コーティング式レンジ台の分野における高い要求に関しては、液体又はガス媒体の浸透に対する不透過性は、一般に不十分である。この理由で、装飾コーティングが、さらにシール層を備える2層構造が選択されることが多い。
機能的なガラス様の層、好ましくは、着色されるか又はコロイド的に着色される層を基材上で生成する方法が、EP 0729442から知られている。機能的なガラス様の層は、たとえば、加水分解性シラン、オルガノシラン及びガラス形成要素のオプションの成分並びに分子分散性又はナノスケール機能キャリアから、ゾル−ゲル・プロセスに基づいて加水分解及び縮合によって生成される。着色エレメントと呼ばれるのは、温度安定性染料及び顔料、金属又は非金属酸化物、着色金属イオン、金属コロイド又は金属化合物コロイド並びに金属イオンであり、これらは、還元状況下で金属コロイドを形成するように反応する。これらの成分の混合物から調製されるコートは、基材に塗布され、熱的に緻密化されて、ガラス様の層を形成する。それぞれ添加される機能キャリアの量は、たとえば、所望の色強度又は不透明度などの、生成されるコーティングの所望の機能特性によって左右される。この方法によって、高い熱的、機械的及び化学的安定性を有するひび割れの無いコーティングが、金属表面、ガラス表面及びセラミック表面上に生成されることが可能になる。
さらに詳しくは述べられていない以下の陳述、すなわち、「比較的高温における熱的緻密化の可能性は、金属表面、ガラス表面及びセラミック表面上への、高い熱的、機械的及び化学的安定性を有するひび割れの無いコーティングの生成を可能にする」(欄2、ライン25〜29)を除いて、生成されるガラス様の層の接着強度、引っかき傷に対する耐性、特に、不透過性に関して特定の情報は全く提供されていない。たとえば、ガラス−セラミック・レンジ台用の下面コーティングとして使用されるとき、装飾層又はシール層の不透過性は、これらの物品の製造業者にとって重要な基準である。それは、使用中の不透過性の欠如が、ガラス又はガラス−セラミック基材への損傷に至る光学的変化をもたらす可能性があるからである。
EP 1218202は、印刷用ペーストが、基材上に画像様に塗布され、(好ましくは、400℃と800℃との間での)熱処理によって緻密化される、インプリンテッド基材を生成する方法を記載している。この方法は、たとえば導電性トラックなどの導電性コンポーネントを基材にインプリントするために、導電性印刷用ペースト、特に、導電性スクリーン印刷用ペースト又はセリグラフィ・ペーストを生成するのに適する。印刷用ペーストは、ゾル−ゲル・プロセスによって得られるマトリクス形成ポリオルガノシラン・ベース縮合物並びに1種又は複数の着色、ルミネセント、導電性及び/又は触媒活性フィラーを含む。基材として、任意の熱安定性材料、好ましくは、セラミック、ガラス・セラミック又はガラスを使用することが可能である。
熱安定性材料についての要求は、前記方法の過程における熱処理のためである。たとえばレンジ台の下面コーティングについて起こる可能性があるような、本発明の方法に従って生成される層が、連続する高温負荷中にどのように挙動するかについては全く述べられていない。
着色、ルミネセント及び/又は触媒活性フィラーの量は、たとえば、所望の色強度などのコーティングの所望の機能特性によって左右される。接着強度、引っかき傷に対する耐性、そして特に、不透過性の基準が述べられていない。装飾層は、シール層を備えない。
特許明細書DE 10355160は、透明で無着色のガラス/ガラス−セラミック板に関し、そのガラス/ガラス−セラミック板は、使用中に高い熱負荷にさらされ、且つ、その全表面又はその一部上に、着色顔料を供給された有機/無機ネットワーク構造の形態で、視覚的に不透明で、着色された、高温安定性のコーティングを有する。この場合、無機ネットワーク構造は、好ましくは、色顔料及びフィラー粒子が予め指定された量比で組込まれるゾル−ゲル層によって形成される。顔料/ゾル混合比は、通常、重量に関して1:1であり、十分に覆う顔料の場合、割合は、20重量%に減ってもよい。
考えられる顔料として例示的な実施形態で述べられるのは、スピネル・ベース顔料、酸化物顔料及びジルコン・ベース顔料であるが、マイカ顔料もそうである。
得られる混合物は、着色されたコーティングとして、ガラス/ガラス−セラミック板上に塗布され、着色された層とコーティングされた表面との間で融着反応を全くもたらさない熱条件、すなわち、比較的低い温度下でベーキングインされる。好ましくは、油不透過性及び水不透過性外側シール層は、さらに、生成される装飾層の表面に塗布される。本発明の方法に従って生成される層は、さらに、レンジ台の連続運転中に起こる温度(たとえば、10時間の間、700℃)でも、基材上で層の十分な接着強度を有しなければならない。意外にも、特に、装飾層とシール層からなる2層構造の不透過性が、シール層の的確な組成に著しく依存することがわかった。DE 10355160は、シール層の的確な組成と、装飾層とシール層を含む層パケットの「不透過性(impermeability)」との間の関係を考慮しない。油不透過性及び水不透過性シール層が塗布され得ることが基本的に説明されるだけである。
説明した従来技術が示すように、広い色空間スペクトルは、ゾル−ゲルに基づく顔料層の生成において基本的に実現されてもよく、また、入手可能な高温安定性顔料によってだけ制限されるように見える。しかし、実際の実施態様では、層特性が、使用される染色に著しく依存することが多くの実験でわかった。それにより意外にも、ガラス−セラミック物品の定性的にハイグレードなコーティングが、特に、些細なことではないことが保証された。装飾層とシール層の両方の「最適な(optimal)」顔料組成からの逸脱は、特に、接着強度及び不透過性に関して、層特性の異常な劣化をもたらす。
EP 0729442 EP 1218202 DE 10355160
したがって、本発明は、ガラス又はガラス−セラミック基材上に装飾層用シール層を設けるという問題に基づいており、本発明は、一方で、装飾層と基材との間の接着強度に関して良好な特性を、他方で、装飾層とシール層との間で、流体及びガスの浸透に対する良好な不透過性を有する。
この問題は、独立請求項の主題によって簡単な方法で解決される。
具体的には、本発明は、ガラス又はガラス−セラミック基材の少なくとも一方の面上に装飾層用シール層を生成する方法を提供し、この方法では、第1ステップにおいて、装飾層は、ゾル−ゲル・プロセスによって生成され、層は、ガラス又はガラス−セラミック基材上に堆積されており、ベーキングインによって硬化され、第2ステップにおいて、装飾層は、ゾル−ゲル・プロセスによって同様に生成されるシール層で被覆され、無機装飾顔料及びフィラーはゾルと混合され、無機装飾顔料は、10:1〜1:1重量%、好ましくは5:1〜1:1重量%、そして特に好ましくは3:1〜1.5:1重量%の範囲内の比で添加されるフレーク状顔料粒子及び無機固体潤滑剤粒子を含み、生成される混合物は、硬化した装飾層を有するガラス−セラミック基材上に塗布される。
本発明はまた、先行する請求項の少なくとも1項に記載の方法によって、特に、生成され得るガラス又はガラス−セラミック物品(1)を提供し、ガラス又はガラス−セラミック物品(1)は、特に、少なくとも一方の面(3、4)上に、装飾層(5)を被覆するシール層(11)を備えるガラス又はガラス−セラミック基材(2)を備え、シール層(11)は、少なくとも1つの硬化したゾル−ゲル結合剤(9)、無機装飾顔料(6、7、12)及び必要である場合フィラー(8)を含有し、シール層(11)の硬化したゾル−ゲル結合剤(9)は、硬化したゾル−ゲル結合剤(9)に結合し、且つ、水反発性で油反発性である有機成分を含有し、無機顔料は、10:1〜1:1重量%、好ましくは5:1〜1:1重量%、特に好ましくは3:1〜1.5:1重量%の比でフレーク状顔料粒子及び無機固体潤滑剤粒子を含む。
有利な実施形態及びさらなる開発は、従属請求項に与えられる。
同じ組成を有する装飾層及びシール層を有する、本発明による装飾層及びシール層を有するガラス又はガラス−セラミック基材を貫通する略断面を示す。 図1に示す例の変形を貫通する略断面を示す。 本発明によるシール層及び装飾層を備えるガラス−セラミック・レンジ台の平面図を示す。
本発明による、ガラス又はガラス−セラミック基材上の装飾層用シール層は、ゾル−ゲル・プロセスによって生成され、少なくともフィラー及び無機顔料がゾル−ゲルによって混合される。装飾層用のフィラー及び顔料を有するゾル−ゲル結合剤は、ガラス又はガラス−セラミック基材の少なくとも一方の面上に堆積され、乾燥され、その後、ベーキングインされる。第2ステップでは、シール層用のゾル−ゲル結合剤は、フィラー及び無機顔料と混合され、硬化した装飾層を有する基材上に塗布され、その後、高温で硬化される。この場合、生成されるシール層は、半透明か、部分的に透明か、又は不透明被覆である可能性がある。
シール層に使用される無機装飾顔料は、10:1〜1:1、好ましくは5:1〜1:1、そして特に好ましくは3:1〜1.5:1の範囲内の重量%の比(フレーク状顔料の重量%:固体潤滑粒子の重量%)で添加されるフレーク状顔料粒子及び無機の、好ましくは、非酸化物固体潤滑剤を含む。特に、上述した所与の重量%比での固体潤滑剤の使用は、油性及び水性流体に対するシール層の不透過性の点で非常に有利であることがわかった。意外にも、他の組成比は、シール層の不透過性の点だけからでなく、特に、述べられる種類のコーティングにおいて重要な因子を示す接着強度の点でも、著しく低い特性を有する。
述べる方法に従って生成されるガラス又はガラス−セラミック物品は、このように、ガラス又はガラス−セラミック基材を備え、ガラス又はガラス−セラミック基材は、少なくとも一方の面上に装飾層を備え、そのとき、装飾層は、その全表面又はその一部をシール層で被覆される。装飾層とシール層は共に、本質的に金属酸化物ネットワークからなる硬化したゾル−ゲル・バインダを有する。この金属酸化物ネットワークは、好ましくは、SiOネットワーク、特に好ましくは、ガラス質金属酸化物ネットワークである。
有利には、低温で硬化したシール層の場合特に、装飾層は、金属酸化物ネットワークに結合する有機残留物を含有する。これらの有機残留物は、生成される層の水及び油反発特性のかなりの改善をもたらす。本発明の好ましい増強形態によれば、シール層は、有機残留物の数に関して装飾層に比べて少なくとも5%多い有機残留物を含有する。
染色の種類が、装飾層とシール層の両方に、特に、生成される装飾コーティングの接着強度及び不透過性に決定的な影響を及ぼすことが実験でわかった。本発明によれば、「良好な接着強度(good adhesive strength)」を有する層は、DIN 58196−6に基づく接着テープ試験において、層の離脱が全く起こらないことを意味することが理解される。この場合、異なるように前もって調整された(たとえば、ベーキングイン後の、蒸気負荷後の、急冷後などの)試料が使用された。或いは、DIN 58196−5に基づくクロックメータ試験が実行され、クロックメータ試験では、やはり、層の離脱が起こらないであろう。しかし、層の局所的な平滑化による、わずかの研磨作用が許容される。「良好な不透過性(good impermeability)」は、以下の試験に基づいて、作用物質に従って規定され、また、装飾層及びシール層を備える層パケットに関連する。
水性及び油性媒体並びに洗浄剤に対するコーティングの不透過性は、滴下試験によって規定される。試験される液体の液滴は、下面コーティングに当てられ、媒体に応じて異なる時間長の間、作用することが許される。水滴は30秒後に、油滴は24時間後に、洗浄剤又は洗剤滴は数分後にふき取られる。その後、ガラス/ガラス−セラミック物品は、基材を通して上から評価される。液滴又は液滴の影が見えてはならない。当てた媒体による層の浸透は許されない。水滴試験は、さらに、異なって事前調整をした状態、すなわち、アニーリング後、急冷後、蒸気負荷後など上述した状態で実行される。
油性媒体に対する不透過性に関するさらなる試験では、作用時間を1分と5分との間で変えながら、コーティングの切断エッジを油中に置く。油は層パケット中に上向きに広がってはならない。
接着剤に対する不透過性は、接着剤のビードをコーティング上に塗布し、そこで硬化させることによって判定される。必要である場合、こうして調製されたサンプルの異なるアニーリングが実行される。その後、ガラス/ガラス−セラミック物品は、基材を通して上から評価される。接着剤のビード又はその影が見えてはならない。接合材料に対する不透過性は、硬化ステップがなしであるが、同様に判定される。接合材料又は接合材料の脱ガスから生じる影が見えてはならない。
意外にも、フレーク状顔料と無機固体潤滑剤のある重量比での組合せが、装飾層の特別に良好な接着強度をもたらすことがわかった。シール層の良好な不透過性は、装飾層とシール層との間の良好な接着強度と共に、まず第1に、シール層について装飾層と同じ染色を使用することによって達成され得る。
さらにしかし、装飾層の染色に適さない組成でさえもが、意外にも、先に述べたシール層の特性に関して優れた結果を与えた。
装飾層及びシール層を含む装飾コーティングは、ガラス又はガラス−セラミック基材の下面と上面の両方に塗布され得、任意選択で、基材の両面に塗布され得る。装飾層とシール層は共に、全表面に塗布され得る。
有利にはしかし、たとえば、加熱板のレンジ台の機能表面が、非加熱エリアと光学的に区別され得るように、基材の異なるエリアは、異なる装飾層を備えてもよい。
任意選択で、装飾層が無いレンジ台エリアを設けること、及び、これらのエリアを、たとえば、ディスプレイ又はセンサ・エリアのために使用することも可能である。
本発明によるシール層は、不透明か、視覚的に濃度が濃いか、或いはそうでなければ部分的に透明か又は半透明であるように設計され得る。そのため、装飾層を備えていないエリアは、それでも、不透明でなくても、シールされ得る。
さらに、たとえば、コストを節約するために、全表面のシールが必要とされない場合、シール層はまた、部分的エリアだけに塗布され得る。
本発明による不透明シール層はまた、たとえば、最終顧客に見えると思われない下部構造を見えなくするのに適する。
好ましい実施形態では、フレーク状顔料が使用され、その最大断面の平均長は、10:1〜1:3、好ましくは8:1〜1:1、特に好ましくは6:1〜2:1の比にある。この有利な実施形態は、フレーク状顔料に、それ自体基材の表面に本質的に平行に配向するようにさせる。さらに、フレーク状顔料は、「互いにインターロックする(interlock with one another)」特性を有する。基材表面に対するフレークのほぼ平行な配向は、インターロックと一緒に、シール層の不透過性効果のかなりの向上をもたらす。しかし、層の染色はまた、なお他の顔料を含有し得る。好ましくはしかし、他の顔料の割合は、顔料の総重量(mass)の15%を超えない。この場合、フレーク状顔料のアスペクト比が少なくとも5:1にあり、その最大断面長が、平均して、2μmと120μmとの間、好ましくは10μmと60μmとの間にあるときが、特に有利である。この場合、先に示された無機フレーク状顔料の大きさは、有利には、シール層の不透過性効果をかなり促進するように選択される。
好ましい実施形態では、フレーク状顔料は、マイカ・フレーク及び/又はボロシリケート−ベース・フレーク及び/又はガラス・フレーク、特に好ましくは、コーティングされたマイカ・フレーク及び/又は金属フレーク及び/又はガラス・フレークからなる。フレーク状顔料は、異なる審美的外観を達成するために、異なるコーティングを有してもよい。しかし、ブラッシングされたスチールの審美的外観がそれによって作られ得るTiOコーティングを除いて、たとえば、Feをコーティングされたフレークなどの異なるようにコーティングされたフレークは、総フレーク状顔料の10重量%超を構成すべきでないことが示された。異なるようにコーティングされたフレークの高い割合は、特に、不透過性及び接着強度に関して劣化した層特性をもたらす可能性がある。
実験において、フレーク状顔料と、無機固体潤滑剤と、任意選択での他のエフェクト顔料との間の述べた重量比が維持されなければ、特に油性流体に対して、生成される層のスタックの不透過性の劣化がまず第1にもたらされ、その後、装飾層と基材との間の不十分な接着強度がもたらされるため、この比を維持すべきであることが驚くべきことにわかった。他のエフェクト顔料の量が多くなると、特に装飾層とシール層の両方の不透過性及び接着強度を極度に弱める。主顔料の代わりに、又は、さらなるエフェクト顔料として着色層に組込まれる、述べたものと異なる吸収顔料の使用もまた、述べた特性に関して層性能の強い低下をもたらす。
無機固体潤滑剤、好ましくは、非酸化物固体潤滑剤は、好ましくはグラファイトの表面エネルギー以下である、非常に低い表面エネルギーを有する顔料を指すことが、本発明の意味において理解される。好ましくは、その表面エネルギーがグラファイトの表面エネルギーより最大20%大きい非酸化物が使用される。
特に、たとえばグラファイト様構造などの層格子構造、すなわち、個々の層が低い結合力だけによって互いに下で結合している状態の、顔料の層様構造が有利であることがわかった。その顔料の層様構造は、こうした顔料が良好な潤滑挙動を示すという結果をもたらす。グラファイトに加えて、窒化ホウ素及び多くの硫化物、特に、二硫化モリブデンもまた、とりわけこれらの特性を示し、また、かわりに使用されてもよい。
好ましい実施形態では、グラファイトは、無機固体潤滑剤として使用される。好ましくは、グラファイトの最大90%は、2〜50マイクロメートルの範囲の値より小さい、好ましくは、6〜19μmの範囲の値より小さい粒径を有する(=D90)。粒径は、粒子の最大径を指すことが本発明の意味において理解される。
グラファイトが無機固体潤滑剤として使用されるとき、グラファイト含有量を変えることによって、異なるグレイ色相が生成される可能性がある。本発明の方法に従って、無機非酸化物としてグラファイトを用いて生成されてもよい色相の関連範囲は、CIELAB色システムにおいて、以下の値、すなわち、
L:85〜30
a:−8〜+8
b:−8〜+8
によって与えられる。
特に好ましい実施形態では、シール層は、装飾層と同じ組成を有する。有利には、フィラー及び顔料を有する単一ゾル−ゲル結合剤は、この実施形態のために生成され、その後、装飾層を生成すると共に、シール層を生成するために使用されてもよい。
他の色の色相を生成するために、グラファイトは、別の固体潤滑剤によって少なくとも部分的に置換えられ得る。考えられるものは、とりわけ、MoSなどの、層格子構造を有する窒化ホウ素又は硫化物である。窒化ホウ素が、固体潤滑剤として、グラファイトに加えて、又は、グラファイトの代わりに使用される場合、粒子サイズが、1μmと100μmとの間、好ましくは、3μmと20μmとの間にあるときが特に有利である。それは、ちょうどグラファイトの場合と同様に、添加される窒化ホウ素の粒子サイズが、完成したガラス又はガラス−セラミック物品のシール層の接着強度及び不透過性に大きな影響を及ぼすからである。この場合、大き過ぎる粒子は、不良の接着強度をもたらす。
しかし、シール層の不透過性及び接着強度の点で良好な特性はまた、他の染色によって得られ得る。染色のグラファイトの割合は、たとえば、著しく低減され得るか、又はさらに、完全になしで済まされ得る。たとえば容量性接触スイッチに関する十分なスイッチング信頼性を達成するために、たとえば、コーティングのコンダクタンスができる限り低いときに、こうした染色は適切である。この場合、とりわけ、異なる無機の、好ましくは非酸化物の固体潤滑剤、又はさらに、たとえば窒化ホウ素などの種々の無機非酸化物固体潤滑剤の混合物を使用することも可能である。窒化ホウ素は、非常に低い電気コンダクタンスだけを有し、そのため、容量性接触スイッチに関連して使用される層用の顔料として特に適するという利点を有する。
装飾層とシール層は共に、少なくとも1つのオルガノメタリック化合物、好ましくは、シリコン・アルコキシドからの加水分解とそれに続く縮合によって生成される硬化したゾル−ゲル・バインダに基づく。オルガノメタリック化合物の使用は、ゾル−ゲル結合剤が、硬化して、有機成分が結合する金属酸化物ネットワーク、好ましくはSiOネットワ−クを形成するという利点を有する。この場合、有機残留物又は成分は、たとえば、シール層の水及び油反発特性を、有利な方法で改善する。テトラエトキシシラン、トリエトキシメチルシランの同時使用の場合、特に良好な経験が得られた。
述べた基本物質以外に、顔料、フィラー及び/又は溶剤及び/又は添加剤が、ゾル−ゲル結合剤に添加される。フィラーとして、球状粒子が添加されてもよい。小さな球状粒子を形成する発熱性ケイ酸及び/又はコロイド分散性SiO粒子が、有利な方法でゾル−ゲル結合剤に添加されてもよい。フィラーとしての球状粒子は、フレーク状顔料が、基材の表面に対して主として平行に配向し、そのため、少し粗面化された又はブラッシングされた金属の外観を生じるという効果を有する。さらに、こうした装飾コーティングが、特に磨滅及び引っかき傷に対する耐性に関して著しく耐性があることがわかっている。
フィラーの割合が、コーティング組成において、フレーク状顔料の重量の40重量%を超えないときに、特に良好な結果が得られる。好ましくは、使用されるものは、コロイド分散性SiO粒子及び/又は発熱性ケイ酸からなるフィラーであり、その割合は、いずれの場合も、フレーク状顔料の量の最大20重量%を構成する。異なるサイズを有してもよい2種類のフィラーからなる混合物は、たとえば、装飾層及び/又は基材の強度などの装飾層及び/又は基材の特性について特に有利であることがわかった。特に好ましい実施形態では、装飾層及び/又はシール層内の顔料及びフィラーの重量分率は、固化した又は硬化したゾル−ゲル結合剤の重量分率より大きい。好ましくは、生成される装飾層及び/又はシール層内のゾル−ゲル結合剤の割合は、最大40重量%、好ましくは最大30重量%である。これらの混合比は、装飾層及び/又はシール層の多孔度及び構造にポジティブな影響を及ぼす。層は、より伸縮性があり、そのため、基材と装飾層の異なる温度膨張係数、又は、装飾層とシール層の異なる熱膨張係数が釣り合い得ることがわかった。結果として、装飾層の離脱及び/又は装飾層又は基材内での強度を減少させるマイクロクラックの形成が防止される。
ゾルが、所与の顔料及びフィラーを含む場合、ゲル様のゾル−ゲル結合剤は、添加される、且つ/又は、反応において形成する、溶媒の少なくとも部分的気化によって生成される。特に、ゲル様のゾル−ゲル結合剤は、加水分解中に形成されるアルコール及び/又は溶剤として添加されるアルコールを含有してもよい。溶媒の気化は、少なくとも部分的に基材への塗布後に起こるべきである。
一般に、少なくとも、ゾル、顔料及びフィラーを含む混合物を、ペインティング、吹付け又はディッピングによって基材上に塗布することが可能である。本発明の特に好ましいさらなる開発では、混合物は、糊のような粘度を有するため、スクリーン印刷ペーストとして使用されてもよい。この場合、装飾層を、全表面か又は表面の一部に、或いは同様に、横方向に構造化した方法で塗布する可能性が存在する。表面の一部への又は横方向に構造化した方法での塗布は、異なる組成及び/又は審美的外観及び/又は色を有するいくつかの装飾層が組合されて、基材の異なるエリア上で異なる光学的印象を生成することができる、たとえば、ある調理表面をその周囲から光学的に少なくとも強調することができるという利点を有する。本発明の別の実施形態は、たとえば、装飾層を備えていないセンサ又はディスプレイ用の窓などのエリアを含む。
有利には、装飾層が基材に塗布されると、ゾル−ゲルの縮合反応が、好ましくは100〜250℃における乾燥によって加速される。金属酸化物ネットワークを有するゲルが形成される。>350℃の温度におけるベーキングイン中に、水及び/又はアルコールは、ゲル様のゾル−ゲル結合剤からなくなり、そのとき、特にSiOの固体金属酸化物フレームワーク又は有機修飾を施したSiOフレームワークが形成される。特に好ましい実施形態では、方法「乾燥(drying)」及び「ベーキングイン(baking in)」の2つのステップが、たとえば、ローラ・オーブンの使用によって、単一プロセスに結合される。
本発明によれば、こうして生成される装飾層は、シール層で被覆されて、特に、液体及びガス状物質に対する不透過性に関して層特性を最適化する。好ましくは、塗布されるシール層は、<300℃の温度で乾燥されて、一方で、ゾル−ゲル・マトリクスの硬化を達成し、しかし他方で、同様にゾル−ゲル・マトリクスに結合する有機残留物を完全にはベーキングアウトしない。これらの有機残留物は、水及び油に反発するように作用するため、この層の良好なシール作用を提供する。
こうしたバリア又はシール層は、生成されるガラス又はガラス−セラミック物品が燃焼加熱されるときに特に有利である。たとえば、これは、ガス加熱式ガラス−セラミック・レンジ台の場合にそうである。ここで、燃焼中に、硫黄酸化物も形成される可能性があるという問題が生じる。硫黄酸化物は、燃焼中に同様に形成される水と反応して、酸を生じ、酸は、ガラス−セラミックを侵す可能性がある。本発明によるシール層は、この酸の攻撃に対して有利な方法で基材と装飾層の両方を保護する。
しかし、シールと連携した装飾層を用いると、本発明によって、光学的に満足のいく外観だけでなく、耐久性が向上した物品を作ることが可能である。
有利には、シール層は、ゾル−ゲル・マトリクスと無機顔料の両方の点で、装飾層と同じ組成を有することができる。こうした実施形態は、シール層についてゾル−ゲルを生成するステップがなしで済まされ得るため、プロセスを簡略化することを可能にする。装飾層の場合と同じゾル−ゲルが使用され得る。これは、有利な方法で、時間及びコストの節約をもたらす。
別の好ましい実施形態は、装飾層及びシール層が、異なる組成を有することを実現する。特に、シール層のグラファイト含有量又は潤滑剤含有量を、装飾層のグラファイト含有量又は潤滑剤含有量より多くなるように選択することが有利である可能性がある。
少量のグラファイトを有するか又はグラファイトが無いシール層の導電率が低いか又は無いことによって、容量性タッチ又は接触スイッチの分野で、こうしたガラス又はガラス−セラミック物品を、たとえば、タッチスクリーンの表面として使用することが可能になる。
本発明によるガラス−セラミック物品は、たとえば、ガラス−セラミック・レンジ台であってよい。スムーズで頑丈な表面を得るため、また、装飾コーティングを磨耗から保護するために、ガラス−セラミック・レンジ台の場合の装飾コーティングは、好ましくは、下面に設けられる。意外にも、装飾コーティングは、十分に熱伝導性があり且つ温度安定性があるため、レンジ台の加熱ゾーンを被覆することさえもできることがわかった。
装飾層と比較して低温で本発明に従って生成され得る、硬化されたゾル−ゲル・ベースの染色されたシール層は、匹敵するよう染色されたゾル−ゲル・ベースの装飾層に関して、低い多孔度を特徴とする。装飾層とシール層は共に、一般に、ミクロポーラスであり、2ナノメートル未満、特に、1.5ナノメートル未満の吸収に基づくBJH法によって測定された平均孔径を有する。
内部表面積が、窒素吸収による多点BET解析によって測定される場合、50m/グラム未満の値が、一般に、シール層について測定され得る。非常に良好なシール層の典型的な値は、10〜40m/グラムにある。これと対照的に、匹敵する装飾層は、通常、200〜300m/グラムの値を示す。
BJH法を使用することによって測定される累積吸収孔容積は、通常、本発明によるシール層の場合、0.08立方センチメートル/グラム未満になる。そのため、たとえば、非常に良好なシール特性を有するシール層に関して、0.048立方センチメートル/グラムの値が測定された。これと対照的に、匹敵する装飾層の累積吸収孔容積は、通常、0.1立方センチメートル/グラムより大きくなる。そのため、本発明によるシール層が有するような染色によって、十分な付着性がある装飾層に関して、0.18立方センチメートル/グラムの累積孔容積が測定された。
以下において、本発明は、例示的な実施形態を基礎とし、また、図面を参照して、より詳細に説明されるであろう。同一要素及び類似の要素は同じ参照数字を与えられ、異なる例示的な実施形態の特徴は互いに組合されてもよい。
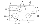
図1には、本発明による装飾層及びシール層を有するガラス又はガラス−セラミック物品1を貫通する略断面図である。ガラス又はガラス−セラミック物品1は、この例では、下面3及び上面4を有するガラス又はガラス−セラミック基材2を備える。物品1は、特に、ガラス−セラミック・レンジ台であり得る。面3又は4の一方には、本発明による顔料組成を有する装飾層5が付与される。物品1がガラス−セラミック・レンジ台である場合、装飾層5は、特に好ましくは、レンジ台の下面3に堆積されて、使用するために層の磨耗が生じることを防止する。本発明によるシール層11は、装飾層5と同じ組成を有する。
装飾層5を生成するために、装飾顔料6、7及びフィラー8が、ゾルと混合され、得られるゲル様のゾル−ゲル結合剤が、ベーキングインによってガラス又はガラス−セラミック基材2上で硬化される。プロセスにおいて、大きな内部表面積のミクロポーラスの複合構造を有する装飾層5が形成される。
本発明に従って使用される装飾顔料は、10:1(固体潤滑剤1の割合に対してフレーク状顔料粒子10の割合)〜1:1の範囲の重量比で存在する、フレーク状顔料6及びグラファイト7を含む。フレーク状顔料として、好ましくは、マイカ・フレーク及び/又はボロシリケート・ベース・フレーク、特に好ましくは、コーティングされたマイカ・フレーク及び/又はボロシリケート・ベース・フレーク及び/又はガラス・フレーク、特に好ましくは、TiO仕上げされたコーティングされたマイカ・フレーク及び/又はコーティングされたボロシリケート・ベース・フレーク及び/又はコーティングされたガラス・フレークが使用される。フレーク状顔料は、好ましくは、5μmと125μmとの間にある断面を有し、一方、グラファイトのD90値は、好ましくは、6〜19μmの範囲にある。
特定の実施形態では、フレーク状顔料として合成マイカ顔料を使用することが可能である。さらなる好ましい実施形態では、フレーク状マイカ顔料は、酸化コバルト及び酸化鉄をコーティングされ得る。
装飾顔料6、7以外に、フィラー粒子8が、さらに層5内に存在する。フィラー粒子8及び装飾顔料粒子6、7は、硬化したゾル−ゲル結合剤9を通して結合して、固体層を形成する。そのとき、顔料粒子6、7及びフィラー粒子8の重量分率は、固化し硬化したゾル−ゲル結合剤9の重量分率より大きい。好ましくは、図1に示す装飾層5の場合、ゾル−ゲル結合剤9の割合は、層5の総量の最大40重量%である又はさらに最大30重量%に過ぎない。孔10は、高い固形物割合のため、又は、ゾル−ゲル結合剤9の低い割合のために存在したままになる。全体の多孔質層は、基材2と装飾層5の温度膨張係数の差が釣り合い得るように、比較的柔軟性がある。以下で述べる異なる顔料混合物が添加されるゲル様のゾル−ゲル結合剤は、以下の通りに調製され得る。すなわち、テトラエトキシシラン(TEOS)及びトリエトキシメチルシラン(TEMS)の混合物が調製され、溶媒としてアルコールを添加することが可能である。水性金属酸化物分散液、特に、コロイド分散性SiO粒子の形態のSiO分散液が、酸、好ましくは塩酸又は硫酸などの異なる鉱酸と混合される。2つの別々に調製された混合物は、均質性の改善のために攪拌され得る。その後、2つの混合物は、組合され混合される。
有利には、この混合物は、好ましくは一定の攪拌下で、たとえば、1時間の間エージングすることを許容される。この混合物の調製と平行して、顔料及び任意選択でさらなるフィラー、好ましくは、発熱性ケイ酸が、秤量され、エージング混合物に添加され、分散される。発熱性ケイ酸及び/又はコロイドSiO分散液は、完成した装飾層5に球状フィラー粒子8を与える。ここで、それぞれの場合のフィラーの割合は、フレーク状顔料6、7の量の20重量%未満である。全体として、フィラー粒子8の重量分率は、この場合、好ましくは、顔料粒子6、7の重量分率の最大10重量%である。
計画されるタイプの基材上への塗布に応じて、異なる溶剤、レオロジー的添加剤及び他の添加剤が、混合物に添加されてもよい。
ゾルは、アルコールの気化を通して、また、加水分解したTEOS及びTEMSの重縮合を通して金属酸化物ゲルに変換される。このプロセスは、基材2上への混合物の塗布後に、塗布された層が固化してゲルを形成するように100℃と250℃との間の温度で乾燥させることによって加速される。たとえば、TEOS及び/又はTEMSが遊離体として使用される場合、SiOネットワーク、特に、同様に少なくとも部分的にメチル置換されたSiOネットワークが形成される。乾燥した層の好ましくは>350℃の温度におけるその後のベーキングインは、SiOネットワークを形成する反応を終了させ、生成される装飾層5の緻密化をもたらす。
図1に示す例示的な実施形態では、フレーク状顔料粒子6は、主に基材の表面に平行に配向する。主に平行な配向は、顔料粒子6の表面法線の角度分布がランダムであるのではなく、むしろ、基材表面の表面法線方向に明らかな最大値を有することを意味すると、本発明によって理解される。顔料粒子のこの秩序付けは、球状幾何形状を有するフィラー8の使用によって特別に簡単な方法で達成される。フレーク状顔料粒子6の秩序付けは、金属効果が高められ、生成される装層5が、さらに、引っかき傷及び磨滅に対する改善された耐性を有するという利点を有する。
図1に示す例示的な実施形態では、装飾層5は、さらに、本発明によるシール層11で被覆される。最も簡単な場合、シール層11は、装飾層5と同じ組成を有し、そのため、同等の方法によって同様に生成され得る。これは、コスト及び時間の節約をもたらす。
以下では、生成される装飾層に関して特別に良好な層特性を可能にする顔料組成が述べられる。好ましい例示的な実施形態では、この組成は、同時に、本発明によるシール層の組成である。
染色「黒(black)」は、シリコン酸化物、チタン酸化物、酸化第二すず(フレーク状顔料)をコーティングされた、67重量%のカルシウム・アルミニウム・ボロシリケート、及び、5〜8マイクロメートルのD90値(グラファイト)を有する33重量%の高結晶性グラファイトを含有する。接着強度及び引っかき傷に対する耐性並びにコーティングの不透過性の点で、優れた層特性は、この混合物によって達成される。装飾層は、色が暗い灰色で、金属効果を示す。適したシール層に関連して、調理表面の装飾下面コーティングにおけるこの顔料混合物の使用についての全ての基準が満たされる。
適したシール層に関連して、この染色による装飾層は、たとえば、ガラス−セラミック・レンジ台に課される、接着強度、不透過性及び引っかき傷に対する耐性に関する要求を満たす。
本発明によるシール層の染色についての第1の処方によれば、10〜60マイクロメートルの範囲の粒子サイズを有する、70重量%のフレーク状の、TiO及びSnOでコーティングされた、マイカ・ベース・エフェクト顔料、並びに、TiO、Fe及びSnOコーティングされ、5〜25マイクロメートルの範囲の粒子サイズを有する、6重量%の別のフレーク状のマイカ・ベース・エフェクト顔料が、15〜20マイクロメートルのD90値を有する24重量%の高結晶性グラファイトと組合される。この染色はまた、装飾層を生成するのに使用され得る。特に、コーティングは、装飾層とシール層について同じ処方を使用して構築され得る。
本発明によるシール層の染色についての第2の処方によれば、10〜60マイクロメートルの範囲の粒子サイズを有する、63重量%のフレーク状の、TiO及びSnOコーティングされた、マイカ・ベース・エフェクト顔料、並びに、TiO、Fe、SiO及びSnOでコーティングされ、5〜25マイクロメートルの範囲の粒子サイズを有する、5重量%の別のフレーク状のマイカ・ベース・エフェクト顔料が、5〜8マイクロメートルのD90値を有する32重量%の高結晶性グラファイトと組合される。この染色はまた、装飾層を生成するのに使用され得る。特に、コーティングは、装飾層とシール層について同じ処方を使用して構築され得る。
本発明によるシール層の染色についての第3の処方によれば、5〜60マイクロメートルの範囲の粒子サイズを有する、63重量%のフレーク状の、酸化コバルト及び酸化鉄コーティングされた、合成マイカ・ベース・エフェクト顔料、並びに、TiO、Fe、SiO及びSnOでコーティングされ、10〜120マイクロメートルの範囲の粒子サイズを有する、3重量%の別のフレーク状のマイカ・ベース・エフェクト顔料が、5〜8マイクロメートルのD90値を有する32重量%の高結晶性グラファイトと組合される。この染色はまた、装飾層を生成するのに使用され得る。特に、コーティングは、装飾層とシール層について同じ処方を使用して構築され得る。
上記3つの例示的な実施形態はまた、明らかに互いと組合され得、そのとき、処方の1つが装飾層を生成するために使用され、他の処方がシール層を生成するために使用される。
図2は、本発明による装飾層5及びシール層11を有するガラス又はガラス−セラミック基材2からなる、本発明によるガラス又はガラス−セラミック物品1を貫通する略断面を示す。装飾層5及びシール層11は、図1について述べた方法と同様に生成される。
図1に示す例示的な実施形態とちょうど同じように、シール層11は、一般に、異なる粒子サイズのTiO顔料を含有し得、粒子サイズは、有利には、50nmと350nmとの間にある。これらのさらなる顔料は、フレーク状である必要はない。図1に示す例と対照的に、固体潤滑剤として、窒化ホウ素粒子12が使用される。こうした顔料組成を有するシール層11は、層の電気伝導性が所望されない分野における適用を可能にする。こうしたコーティングを有する物品は、たとえば、タッチスクリーンの分野で使用され得る。
以下に例として、固体潤滑剤として窒化ホウ素を用いたゾル−ゲルに基づく層が、それにより生成され得る染色が与えられる。
7マイクロメートルのD50値及び4〜6平方メートル/グラムの比表面積を有する35重量%窒化ホウ素粉末、
5〜25マイクロメートルの範囲の粒子サイズを有する、5重量%のフレーク状でマイカ・ベースの、TiO、Fe及びSnOコーティングされたエフェクト顔料、
10〜60マイクロメートルの範囲の粒子サイズを有する、60重量%のフレーク状の、TiO及びSnOコーティングされた、マイカ・ベースのエフェクト顔料。
優れた層特性が、接着強度、引っかき傷に対する耐性及びコーティングの不透過性に関して得られる。適したシール層に関連して、顕著な層特性が、層の不透過性並びに調理表面における総合性能に関して達成される。
図3は、ガラス−セラミック・レンジ台の形態の、本発明に従ってコーティングされたガラス−セラミック物品1の平面図を示す。シール層11を備える装飾層5は、ガラス−セラミック・レンジ台2の下面3上にある。レンジ台2は、いくつかの加熱ゾーン又は加熱エリア20を有し、その下に加熱素子(図示せず)が配置される。加熱ゾーン20は、たとえば、異なるグレイ着色及び/又は審美的外観及び/又は組成を有する装飾層5によって、非加熱性周辺部14から境界を定められ得る。これらは、審美的機能又は同様に加熱ゾーン20を識別する機能を有し得る。有利には、たとえば、センサ・フィールドとして且つ/又はディスプレイのために使用されるように、装飾層15の無い及び/又はシール層16の無いブランク・エリアを残すことも可能である。
本発明による染色を施された装飾層5及びシール層11は、十分に温度安定性があるだけでなく、レンジ台上で調理するために、加熱素子によって生成される熱をうまく伝導することも可能である。特に、熱いエリア20の装飾コーティングは、長時間の運転後でも光学的外観を変えないことがわかった。
本発明が、上述した例示的な実施形態に限定されるのではなく、むしろ、いろいろな方法で変わる可能性があることが当業者には明らかである。特に、個々の例示的な実施形態の特徴はまた、互いに組合され得る。
1 ガラス又はガラス−セラミック物品
2 ガラス又はガラス−セラミック基材
3、4 面
5 装飾層
6、7 装飾顔料
8 フィラー
9 硬化したゾル−ゲル結合剤
10 孔
11 シール層
12 窒化ホウ素粒子
14 非加熱性周囲物
15 装飾層
16 シール層
20 熱いエリア

Claims (28)

  1. ガラス又はガラス−セラミック基材の少なくとも一方の面上に装飾層用シール層を生成する方法であって、第1ステップにおいて、前記装飾層は、ゾル−ゲル・プロセスによって生成され、前記層は、前記ガラス又はガラス−セラミック基材上に堆積され、ベーキングインによって硬化され、第2ステップにおいて、前記装飾層は、ゾル−ゲル・プロセスによって同様に生成されるシール層で被覆され、無機装飾顔料及びフィラーがゾルと混合されており、前記無機装飾顔料は、10:1〜1:1重量%、好ましくは5:1〜1:1重量%、そして特に好ましくは3:1〜1.5:1重量%の範囲内の比で添加されるフレーク状顔料粒子及び無機固体潤滑剤粒子を含み、生成される混合物は、前記硬化した装飾層を有する前記ガラス−セラミック基材上に付与され、その後、高温で硬化させる方法。
  2. 最大断面の平均長が、前記シール層の乾燥層厚に対して、10:1〜1:3、好ましくは8:1〜1:1、特に好ましくは6:1〜2:1の範囲内の比である、フレーク状顔料が使用されることをさらに特徴とする請求項1に記載の方法。
  3. アスペクト比が少なくとも5:1であり、また、最大断面が、2μmと120μm、好ましくは10μmと60μmとの間にある、フレーク状顔料が使用されることをさらに特徴とする請求項1又は2に記載の方法。
  4. フレーク状顔料粒子として、マイカ・フレーク及び/又はボロシリケート・ベース・フレーク及び/又はガラス・フレーク、特に、コーティングされたマイカ・フレーク及び/又はコーティングされたボロシリケート・ベース・フレーク及び/又はコーティングされたガラス・フレークが前記ゾルに添加されて、前記シール層を形成することをさらに特徴とする請求項1乃至3の少なくとも1項に記載の方法。
  5. 無機固体潤滑剤として、グラファイト及び/又は窒化ホウ素及び/又は低い表面エネルギー、好ましくは、グラファイトの表面エネルギーより最大20%大きい表面エネルギーを有する無機非酸化物が、前記ゾルに添加されて、前記シール層を形成し、グラファイトが使用されるとき、前記添加されるグラファイトの90%は、好ましくは、6〜19μmより小さい粒子サイズを有し、窒化ホウ素が使用されるとき、窒化ホウ素は、好ましくは、1μmと100μmとの間にある粒子サイズを有することをさらに特徴とする請求項1乃至4の少なくとも1項に記載の方法。
  6. 前記装飾層についてと同じ重量比で且つ同じ組成であるフレーク状顔料粒子及び無機固体潤滑剤が、前記シール層を形成するのに使用される前記ゾルに添加されることをさらに特徴とする請求項1乃至5の少なくとも1項に記載の方法。
  7. 好ましくは異なる断面を有し、特に好ましくは、50〜350nmの断面を含むTiO顔料が、前記シール層を形成するのに使用される前記ゾルに添加されることをさらに特徴とする請求項1乃至6の少なくとも1項に記載の方法。
  8. グラファイトは、無機固体潤滑剤として使用され、前記無機顔料の量は、前記シール層において生成されるグレイ色相が、CIELAB色システムにおいて、値L=85〜30、a=−8〜+8、b=−8〜+8を含む範囲になるように測定されることをさらに特徴とする請求項1乃至7の少なくとも1項に記載の方法。
  9. 前記シール層のゾル−ゲル結合剤が、少なくともテトラエトキシシラン及びトリエトキシメチルシランを含有するゾルから生成されることをさらに特徴とする請求項1乃至8の少なくとも1項に記載の方法。
  10. ペーストが、少なくとも、前記シール層、前記無機顔料及び前記フィラーのゾル−ゲルから生成され、前記ペーストは、スクリーン印刷又はセリグラフィによって、前記ベーキングインされた装飾層を有する前記ガラス又はガラス−セラミック基材上に付与されることをさらに特徴とする請求項1乃至9の少なくとも1項に記載の方法。
  11. 前記装飾層(5)は、横方向に構造化され、特に、前記表面の一部だけを覆って前記基材(2)上に付与され、前記シール層の前記ゾル−ゲル結合剤は、少なくとも前記装飾層によって被覆されない表面を被覆するように付与されることをさらに特徴とする請求項1乃至10の少なくとも1項に記載の方法。
  12. 前記ベーキングインされた装飾層上に付与される前記ペーストは、300℃未満の温度で硬化されることをさらに特徴とする請求項1乃至11の少なくとも1項に記載の方法。
  13. 請求項1乃至12の少なくとも1項に記載の方法によって、特に、生成され得るガラス又はガラス−セラミック物品(1)であって、少なくとも一方の面(3、4)上に、装飾層(5)を被覆するシール層(11)を備えるガラス又はガラス−セラミック基材(2)を備え、前記シール層(11)は、少なくとも1種の硬化したゾル−ゲル結合剤(9)、無機装飾顔料(6、7、12)及び必要である場合フィラー(8)を含有し、前記シール層(11)の前記硬化したゾル−ゲル結合剤(9)は、前記硬化したゾル−ゲル結合剤に結合し、且つ、水反発性で油反発性である有機成分を含有し、前記無機顔料は、10:1〜1:1重量%、好ましくは5:1〜1:1重量%、そして特に好ましくは3:1〜1.5:1重量%の比でフレーク状顔料粒子及び無機固体潤滑剤粒子を含むガラス又はガラス−セラミック物品(1)。
  14. 前記フレーク状顔料の最大断面平均長は、10:1〜1:3、好ましくは8:1〜1:1、特に好ましくは6:1〜2:1の範囲内にある、前記シール層の前記乾燥層厚に対する比を有することをさらに特徴とする請求項13に記載のガラス又はガラス−セラミック物品(1)。
  15. 前記シール層は、少なくとも5:1のアスペクト比を有するフレーク状顔料を含有し、前記フレーク状顔料の最大径は、5μmと120μmとの間、好ましくは、10μmと60μmとの間にあることをさらに特徴とする請求項13乃至14のいずれか1項に記載のガラス又はガラス−セラミック物品(1)。
  16. 前記シール層(11)の硬化したゾル−ゲル結合剤(9)は、フレーク状顔料粒子(6)として、マイカ・フレーク及び/又はボロシリケート・ベース・フレーク及び/又はガラス・フレーク、特に、コーティングされたマイカ・フレーク及び/又はコーティングされたボロシリケート・ベース・フレーク及び/又はコーティングされたガラス・フレーク及び/又は酸化コバルトコーティングされたフレーク状顔料及び/又は酸化鉄コーティングされたフレーク状顔料を含有することをさらに特徴とする請求項13乃至15のいずれか1項に記載のガラス又はガラス−セラミック物品(1)。
  17. 前記シール層(11)の前記硬化したゾル−ゲル結合剤(9)中の装飾顔料が、TiOコーティングされたフレーク状顔料(6)を含むことをさらに特徴とする請求項13乃至16のいずれか1項に記載のガラス又はガラス−セラミック物品(1)。
  18. 前記シール層は、無機固体潤滑剤として、グラファイト及び/又は窒化ホウ素及び/又は低い表面エネルギー、好ましくは、グラファイトの表面エネルギーより最大20%大きい表面エネルギーを有する無機非酸化物を含有し、グラファイトが使用されるとき、前記添加されるグラファイトの90%は、好ましくは、6〜19μmより小さい粒子サイズを有することをさらに特徴とする請求項13乃至17のいずれか1項に記載のガラス又はガラス−セラミック物品(1)。
  19. 前記装飾層(5)は、横方向に構造化され、特に、前記表面の一部だけを覆って前記基材(2)上に付与され、少なくとも前記装飾層によって被覆されない表面は、前記シール層(11)によって被覆されることをさらに特徴とする請求項13乃至18のいずれか1項に記載のガラス又はガラス−セラミック物品(1)。
  20. 前記シール層の前記硬化したゾル−ゲル結合剤は、生成されるシール層(5)が、CIELAB色システムにおいて、値L=85〜30、a=−8〜+8、b=−8〜+8を含む範囲にあるグレイ色相を有するような量で、無機固体潤滑剤(6、7)としてグラファイト(7)を含有することをさらに特徴とする請求項13乃至19のいずれか1項に記載のガラス又はガラス−セラミック物品(1)。
  21. 前記シール層(11)の前記硬化したゾル−ゲル結合剤(9)は、前記装飾層の前記硬化したゾル−ゲル結合剤と同じ重量比で且つ同じ組成で、フレーク状顔料(6)及び無機非酸化物(7)を含有することをさらに特徴とすることをさらに特徴とする請求項13乃至20の少なくとも1項に記載のガラス又はガラス−セラミック物品(1)。
  22. 前記シール層(11)及び前記装飾層(5)の前記硬化したゾル−ゲル結合剤(9)は、金属酸化物ネットワーク、特に、SiO含有金属酸化物ネットワークを含有することをさらに特徴とする請求項13乃至21の少なくとも1項に記載のガラス又はガラス−セラミック物品(1)。
  23. 前記生成されるシール層(11)は、前記硬化したゾル−ゲル結合剤(9)の重量分率より大きい重量分率の顔料(6、7)及びフィラー(8)を含み、好ましくは、前記顔料(6、7)及びフィラー(8)の重量分率について、前記硬化したゾル−ゲル結合剤(9)は、前記生成されるシール層(11)の総量の最大40重量%、好ましくは最大30重量%の分率を有することをさらに特徴とすることをさらに特徴とする請求項13乃至22のいずれか1項に記載のガラス又はガラス−セラミック物品(1)。
  24. 前記装飾層(5)は、横方向に構造化され、特に、前記表面の一部だけを覆って前記基材(2)上に付与され、少なくとも前記装飾層によって被覆されない表面は、前記シール層(11)によって被覆されることをさらに特徴とする請求項13乃至23の少なくとも1項に記載のガラス又はガラス−セラミック物品(1)。
  25. 前記硬化したシール層(11)は、前記硬化した装飾層(5)と同じ組成を有し、前記シール層(11)の金属酸化物ネットワークが、前記装飾層(5)の金属酸化物ネットワークに比べて、有機残留物の数に関してより多くの有機残留物、好ましくは、少なくとも5%多い有機残留物を含有するという点が異なることをさらに特徴とする請求項13乃至24の少なくとも1項に記載のガラス又はガラス−セラミック物品(1)。
  26. 請求項13乃至25の少なくとも1項に記載のガラス−セラミック物品(1)からなるガラス−セラミック・レンジ台。
  27. 前記シール層(11)及び前記装飾層(5)が、ガラス−セラミック基材(2)の下面(3)上に配置されることをさらに特徴とする請求項26に記載のガラス−セラミック・レンジ台。
  28. 前記シール層(11)が、レンジ台の少なくとも1つの加熱ゾーン(12)も被覆することをさらに特徴とする請求項26又は27に記載のガラス−セラミック・レンジ台。
JP2009158333A 2008-07-04 2009-07-03 ガラス又はガラス−セラミック物品の装飾層用シール層 Expired - Fee Related JP5078948B2 (ja)

Applications Claiming Priority (2)

Application Number Priority Date Filing Date Title
DE102008031426.9A DE102008031426B4 (de) 2008-07-04 2008-07-04 Verfahren zur Herstellung einer Versiegelungsschicht für Dekorschichten, Glas- oder Glaskeramik-Artikel und dessen Verwendung
DE102008031426.9 2008-07-04

Publications (3)

Publication Number Publication Date
JP2010013347A true JP2010013347A (ja) 2010-01-21
JP2010013347A5 JP2010013347A5 (ja) 2010-08-12
JP5078948B2 JP5078948B2 (ja) 2012-11-21

Family

ID=41057489

Family Applications (1)

Application Number Title Priority Date Filing Date
JP2009158333A Expired - Fee Related JP5078948B2 (ja) 2008-07-04 2009-07-03 ガラス又はガラス−セラミック物品の装飾層用シール層

Country Status (6)

Country Link
US (1) US20100028629A1 (ja)
EP (1) EP2141134B1 (ja)
JP (1) JP5078948B2 (ja)
CN (1) CN101618950B (ja)
DE (1) DE102008031426B4 (ja)
ES (1) ES2409219T3 (ja)

Cited By (1)

* Cited by examiner, † Cited by third party
Publication number Priority date Publication date Assignee Title
JP2013530913A (ja) * 2010-05-19 2013-08-01 ユーロケラ 改良コーティングを有するガラスまたはガラスセラミック物品の調製およびその物品

Families Citing this family (18)

* Cited by examiner, † Cited by third party
Publication number Priority date Publication date Assignee Title
JP5716679B2 (ja) * 2010-01-19 2015-05-13 旭硝子株式会社 撥水性基体およびその製造方法
DE102010031866A1 (de) * 2010-07-21 2012-01-26 Schott Ag Silikonbeschichtung als Versiegelungsschicht für eine Dekorbeschichtung
EP2838861B1 (de) 2012-04-20 2018-12-05 Schott AG Verbundmaterial mit dekorativer beschichtung sowie verfahren zu dessen herstellung
FR2992313B1 (fr) * 2012-06-21 2014-11-07 Eurokera Article vitroceramique et procede de fabrication
FR2998651B1 (fr) * 2012-11-26 2018-08-17 Eurokera S.N.C. Plaque de cuisson a fenetre et flasque, appareil de cuisson, et procede de fabrication de la plaque
DE102013112109A1 (de) * 2013-11-04 2015-05-21 Schott Ag Substrat mit elektrisch leitfähiger Beschichtung sowie Verfahren zur Herstellung eines Substrates mit einer elektrisch leitfähigen Beschichtung
DE102015103518A1 (de) 2015-03-10 2016-09-15 Schott Ag Verfahren zur Herstellung eines Glaskeramikelements mit strukturierter Beschichtung
EP3031785B1 (de) 2014-12-12 2018-10-17 Schott AG Verfahren zur herstellung eines glaskeramikelements mit strukturierter beschichtung
DE102014118497B4 (de) 2014-12-12 2017-06-29 Schott Ag Verfahren zur Herstellung eines Glaskeramikelements mit strukturierter Beschichtung, plattenförmig ausgebildetes Glaskeramikelement und Glaskeramik-Kochfeld
DE102015102743A1 (de) 2015-02-26 2016-09-01 Schott Ag Beschichteter Glas- oder Glaskeramikartikel
DE102016103524A1 (de) 2016-02-29 2017-08-31 Schott Ag Beschichteter Glas- oder Glaskeramikartikel
EP3210948B1 (de) 2016-02-29 2019-12-04 Schott Ag Beschichteter glas- oder glaskeramikartikel
DE202016104800U1 (de) 2016-08-31 2016-12-08 Schott Ag Beschichteter Glas- oder Glaskeramikartikel
DE102017118451A1 (de) 2016-12-23 2018-06-28 Schott Ag Kochfeld mit Anzeigeeinrichtung
DE102017127624A1 (de) 2017-11-22 2019-05-23 Schott Ag Beschichtetes Glas- oder Glaskeramik-Substrat, Beschichtung umfassend geschlossene Poren sowie Verfahren zur Beschichtung eines Substrats
EP3564197A1 (en) 2018-05-04 2019-11-06 Merck Patent GmbH Ceramic colours
DE102022118562A1 (de) 2022-07-25 2024-01-25 Schott Ag Glas- oder Glaskeramikplatte umfassend wenigstens eine auf einer Seite angeordnete Beschichtung sowie Verfahren zu deren Herstellung
DE102023107996A1 (de) 2023-03-29 2024-10-02 Schott Ag Glasscheibe umfassend eine in wenigstens einem Bereich wenigstens einer Seite der Glasscheibe aufgetragene Beschichtung, Verbund umfassend eine solche sowie Paste zur Herstellung einer solchen Glasscheibe

Citations (3)

* Cited by examiner, † Cited by third party
Publication number Priority date Publication date Assignee Title
JP2005154269A (ja) * 2003-11-26 2005-06-16 Schott Ag 光学的に密な着色コーティングを有する透明無色なガラスまたはガラスセラミックパネル及び同パネルの製造方法
WO2006111359A1 (de) * 2005-04-19 2006-10-26 Schott Ag Glas- oder glaskeramik-artikel mit dekorativer beschichtung
JP2008014552A (ja) * 2006-07-05 2008-01-24 Narumi China Corp 加熱調理器用ガラストッププレート

Family Cites Families (12)

* Cited by examiner, † Cited by third party
Publication number Priority date Publication date Assignee Title
US4396514A (en) * 1981-05-20 1983-08-02 Randisi Sal A Lubricating composition and method for making
US6492029B1 (en) * 1991-01-25 2002-12-10 Saint-Gobain Glass France Method of enameling substrates comprised of glass materials; enamel composition used; and products obtained thereby
US5306759A (en) * 1992-02-13 1994-04-26 Japan Synthetic Rubber Co., Ltd. Coating composition and process for manufacturing the same
DE4338360A1 (de) 1993-11-10 1995-05-11 Inst Neue Mat Gemein Gmbh Verfahren zur Herstellung von funktionellen glasartigen Schichten
JPH10113290A (ja) * 1996-10-11 1998-05-06 Zojirushi Corp 加熱調理器具
DE19946712A1 (de) 1999-09-29 2001-04-05 Inst Neue Mat Gemein Gmbh Verfahren und Zusammensetzungen zum Bedrucken von Substraten
DE20106167U1 (de) * 2001-04-07 2001-06-21 Schott Glas, 55122 Mainz Kochfeld mit einer Glaskeramikplatte als Kochfläche
DE20108167U1 (de) * 2001-05-15 2001-08-30 Lehrberger, Andreas, 82377 Penzberg Handbohrmaschine mit Höhenführung zum Bohren von senkrechten Löchern und senkrechten Verschrauben
US7598210B2 (en) * 2005-01-13 2009-10-06 Advanced Lubrication Technology Inc. High temperature lubricant composition
US20080102267A1 (en) * 2006-09-27 2008-05-01 The Sherwin-Williams Company Metallic groundcoat coating composition
WO2008059839A1 (fr) * 2006-11-14 2008-05-22 Asahi Kasei Chemicals Corporation Composition de pigment métallique
EP2219624A2 (en) * 2007-11-08 2010-08-25 Glaxo Group Limited Pharmaceutical formulations

Patent Citations (3)

* Cited by examiner, † Cited by third party
Publication number Priority date Publication date Assignee Title
JP2005154269A (ja) * 2003-11-26 2005-06-16 Schott Ag 光学的に密な着色コーティングを有する透明無色なガラスまたはガラスセラミックパネル及び同パネルの製造方法
WO2006111359A1 (de) * 2005-04-19 2006-10-26 Schott Ag Glas- oder glaskeramik-artikel mit dekorativer beschichtung
JP2008014552A (ja) * 2006-07-05 2008-01-24 Narumi China Corp 加熱調理器用ガラストッププレート

Cited By (2)

* Cited by examiner, † Cited by third party
Publication number Priority date Publication date Assignee Title
JP2013530913A (ja) * 2010-05-19 2013-08-01 ユーロケラ 改良コーティングを有するガラスまたはガラスセラミック物品の調製およびその物品
JP2016041658A (ja) * 2010-05-19 2016-03-31 ユーロケラ 改良コーティングを有するガラスまたはガラスセラミック物品の調製およびその物品

Also Published As

Publication number Publication date
EP2141134B1 (de) 2013-05-15
EP2141134A1 (de) 2010-01-06
CN101618950A (zh) 2010-01-06
DE102008031426A1 (de) 2010-01-07
CN101618950B (zh) 2014-08-06
JP5078948B2 (ja) 2012-11-21
DE102008031426B4 (de) 2014-07-31
ES2409219T3 (es) 2013-06-25
US20100028629A1 (en) 2010-02-04

Similar Documents

Publication Publication Date Title
JP5078948B2 (ja) ガラス又はガラス−セラミック物品の装飾層用シール層
JP5149249B2 (ja) ガラス又はガラスセラミック製品の装飾コーティング
US8329302B2 (en) Glass or glass-ceramic articles with decorative coating
JP5334812B2 (ja) ガラスもしくはガラスセラミックからなる調理面用の耐引掻性のシリコーン被覆
US10590036B2 (en) Composite material with decorative coating and method for producing same
US9388070B2 (en) Glass or glass-ceramic composite material and method for producing same
CN103003217B (zh) 作为用于装饰涂层的密封层的硅氧烷涂层
JP2010013347A5 (ja)
CN1621375B (zh) 涂层玻璃/玻璃陶瓷板及其制备方法
CN104364326B (zh) 溶胶凝胶油墨及其制造方法
JP5135830B2 (ja) 調理器用ガラストッププレート
DE102009004783B4 (de) Verfahren zur Herstellung einer glimmerreduzierten Versiegelungsschicht für Dekorschichten von Glas- oder Glaskeramik-Artikeln, mit diesem Verfahren hergestelltes Produkt sowie dessen Verwendung

Legal Events

Date Code Title Description
A521 Request for written amendment filed

Free format text: JAPANESE INTERMEDIATE CODE: A523

Effective date: 20100629

A621 Written request for application examination

Free format text: JAPANESE INTERMEDIATE CODE: A621

Effective date: 20100629

A977 Report on retrieval

Free format text: JAPANESE INTERMEDIATE CODE: A971007

Effective date: 20110523

A131 Notification of reasons for refusal

Free format text: JAPANESE INTERMEDIATE CODE: A131

Effective date: 20110627

A601 Written request for extension of time

Free format text: JAPANESE INTERMEDIATE CODE: A601

Effective date: 20110927

A602 Written permission of extension of time

Free format text: JAPANESE INTERMEDIATE CODE: A602

Effective date: 20110930

A521 Request for written amendment filed

Free format text: JAPANESE INTERMEDIATE CODE: A523

Effective date: 20111024

RD04 Notification of resignation of power of attorney

Free format text: JAPANESE INTERMEDIATE CODE: A7424

Effective date: 20120710

TRDD Decision of grant or rejection written
A01 Written decision to grant a patent or to grant a registration (utility model)

Free format text: JAPANESE INTERMEDIATE CODE: A01

Effective date: 20120731

A01 Written decision to grant a patent or to grant a registration (utility model)

Free format text: JAPANESE INTERMEDIATE CODE: A01

A61 First payment of annual fees (during grant procedure)

Free format text: JAPANESE INTERMEDIATE CODE: A61

Effective date: 20120828

FPAY Renewal fee payment (event date is renewal date of database)

Free format text: PAYMENT UNTIL: 20150907

Year of fee payment: 3

R150 Certificate of patent or registration of utility model

Ref document number: 5078948

Country of ref document: JP

Free format text: JAPANESE INTERMEDIATE CODE: R150

Free format text: JAPANESE INTERMEDIATE CODE: R150

R250 Receipt of annual fees

Free format text: JAPANESE INTERMEDIATE CODE: R250

R250 Receipt of annual fees

Free format text: JAPANESE INTERMEDIATE CODE: R250

R250 Receipt of annual fees

Free format text: JAPANESE INTERMEDIATE CODE: R250

R250 Receipt of annual fees

Free format text: JAPANESE INTERMEDIATE CODE: R250

R250 Receipt of annual fees

Free format text: JAPANESE INTERMEDIATE CODE: R250

R250 Receipt of annual fees

Free format text: JAPANESE INTERMEDIATE CODE: R250

LAPS Cancellation because of no payment of annual fees