JP2010013186A - 易引裂き性包装 - Google Patents

易引裂き性包装 Download PDF

Info

Publication number
JP2010013186A
JP2010013186A JP2009148488A JP2009148488A JP2010013186A JP 2010013186 A JP2010013186 A JP 2010013186A JP 2009148488 A JP2009148488 A JP 2009148488A JP 2009148488 A JP2009148488 A JP 2009148488A JP 2010013186 A JP2010013186 A JP 2010013186A
Authority
JP
Japan
Prior art keywords
carrier
cover film
groove
applicator
package
Prior art date
Legal status (The legal status is an assumption and is not a legal conclusion. Google has not performed a legal analysis and makes no representation as to the accuracy of the status listed.)
Granted
Application number
JP2009148488A
Other languages
English (en)
Other versions
JP5173947B2 (ja
Inventor
Alexander Bublewitz
ブーブレヴィッツ アレクサンダー
Matthias Suchan
ズーハン マティアス
Current Assignee (The listed assignees may be inaccurate. Google has not performed a legal analysis and makes no representation or warranty as to the accuracy of the list.)
Kettenbach GmbH and Co KG
Original Assignee
Kettenbach GmbH and Co KG
Priority date (The priority date is an assumption and is not a legal conclusion. Google has not performed a legal analysis and makes no representation as to the accuracy of the date listed.)
Filing date
Publication date
Application filed by Kettenbach GmbH and Co KG filed Critical Kettenbach GmbH and Co KG
Publication of JP2010013186A publication Critical patent/JP2010013186A/ja
Application granted granted Critical
Publication of JP5173947B2 publication Critical patent/JP5173947B2/ja
Expired - Fee Related legal-status Critical Current
Anticipated expiration legal-status Critical

Links

Images

Classifications

    • BPERFORMING OPERATIONS; TRANSPORTING
    • B65CONVEYING; PACKING; STORING; HANDLING THIN OR FILAMENTARY MATERIAL
    • B65DCONTAINERS FOR STORAGE OR TRANSPORT OF ARTICLES OR MATERIALS, e.g. BAGS, BARRELS, BOTTLES, BOXES, CANS, CARTONS, CRATES, DRUMS, JARS, TANKS, HOPPERS, FORWARDING CONTAINERS; ACCESSORIES, CLOSURES, OR FITTINGS THEREFOR; PACKAGING ELEMENTS; PACKAGES
    • B65D75/00Packages comprising articles or materials partially or wholly enclosed in strips, sheets, blanks, tubes or webs of flexible sheet material, e.g. in folded wrappers
    • B65D75/28Articles or materials wholly enclosed in composite wrappers, i.e. wrappers formed by associating or interconnecting two or more sheets or blanks
    • B65D75/30Articles or materials enclosed between two opposed sheets or blanks having their margins united, e.g. by pressure-sensitive adhesive, crimping, heat-sealing, or welding
    • B65D75/32Articles or materials enclosed between two opposed sheets or blanks having their margins united, e.g. by pressure-sensitive adhesive, crimping, heat-sealing, or welding one or both sheets or blanks being recessed to accommodate contents
    • B65D75/321Both sheets being recessed
    • B65D75/323Both sheets being recessed and forming several compartments
    • BPERFORMING OPERATIONS; TRANSPORTING
    • B65CONVEYING; PACKING; STORING; HANDLING THIN OR FILAMENTARY MATERIAL
    • B65DCONTAINERS FOR STORAGE OR TRANSPORT OF ARTICLES OR MATERIALS, e.g. BAGS, BARRELS, BOTTLES, BOXES, CANS, CARTONS, CRATES, DRUMS, JARS, TANKS, HOPPERS, FORWARDING CONTAINERS; ACCESSORIES, CLOSURES, OR FITTINGS THEREFOR; PACKAGING ELEMENTS; PACKAGES
    • B65D75/00Packages comprising articles or materials partially or wholly enclosed in strips, sheets, blanks, tubes or webs of flexible sheet material, e.g. in folded wrappers
    • B65D75/52Details
    • B65D75/58Opening or contents-removing devices added or incorporated during package manufacture
    • BPERFORMING OPERATIONS; TRANSPORTING
    • B65CONVEYING; PACKING; STORING; HANDLING THIN OR FILAMENTARY MATERIAL
    • B65DCONTAINERS FOR STORAGE OR TRANSPORT OF ARTICLES OR MATERIALS, e.g. BAGS, BARRELS, BOTTLES, BOXES, CANS, CARTONS, CRATES, DRUMS, JARS, TANKS, HOPPERS, FORWARDING CONTAINERS; ACCESSORIES, CLOSURES, OR FITTINGS THEREFOR; PACKAGING ELEMENTS; PACKAGES
    • B65D77/00Packages formed by enclosing articles or materials in preformed containers, e.g. boxes, cartons, sacks or bags
    • B65D77/22Details
    • B65D77/24Inserts or accessories added or incorporated during filling of containers
    • B65D77/245Utensils for removing the contents from the package, e.g. spoons, forks, spatulas

Landscapes

  • Engineering & Computer Science (AREA)
  • Mechanical Engineering (AREA)
  • Chemical & Material Sciences (AREA)
  • Composite Materials (AREA)
  • Packages (AREA)
  • Bag Frames (AREA)
  • Supplying Of Containers To The Packaging Station (AREA)
  • Cartons (AREA)
  • Control And Other Processes For Unpacking Of Materials (AREA)

Abstract

【課題】一つの物質及びアプリケータをその包装物から、容易に取り出せる様にする。
【解決手段】少なくとも1つの物質およびアプリケータ7を受け入れるための易引裂き性包装に関して、この易引裂き性包装は、フィルム状のキャリヤ2を備え、これには、一方側で開いた少なくとも1つの凹部(4a、4b)が形成され、一つのチャンバを形成するためにカバーフィルム3により密封される。さらに、キャリヤ2とカバーフィルム3との間に形成される溝5a、5bを備え、溝には、アプリケータ7がキャリヤ2およびカバーフィルム3によって完全に包囲され、引き裂き補助部として引き裂きタブ10が設けられる。
【選択図】図6

Description

本発明は、少なくとも1つの物質およびアプリケータを受けるための易引裂き性包装(tearable packaging)に関する。この易引裂き性包装は、カバーフィルムにより外部に対して密封可能であると共に、少なくとも1つのチャンバ(chamber)を形成するために一方側が開いた少なくとも1つの凹部が形成されている、例えばフィルム状のキャリヤを備え、さらに、キャリヤとカバーフィルムとの間に形成され、アプリケータがキャリヤおよびカバーフィルムによって完全に包囲されるようにアプリケータが少なくとも部分に収容される、溝を備える。
このような包装は特許文献1から知られている。この既知の包装を開封するには、包装の一端を引裂くか、または切離さなければならず、キャリヤとカバーフィルムの両方を切断しなければならない。このようにして、チャンバとは反対を向いたアプリケータの端を手にとることができるようになる。包装の一端の引裂きを助ける切欠き等を備えることは、引裂かれる端にいかなるアプリケータ等も配置されていない場合に適するにすぎない。そうでない場合には、アプリケータにより引裂きの進行が妨げられ、開封が難しくなるだろう。
国際公開第2004/041107A2号パンフレット(EP1555952)
この従来技術から出発し、本発明の目的は、細長い柄を有するアプリケータに特に適すると共に、特に単純で迅速な開封が可能な、冒頭に明記した形式の包装を提供することである。
この目的は、少なくとも1つのチャンバに面するキャリヤおよび/またはカバーフィルムの溝の区域において、包装の既定の開封のための引裂き補助具を設けることによって、本発明により実質的に達成される。この引裂き補助具は、溝の長手方向で前後に並んで配置された2つの脆弱化領域を有する。このため、2つの脆弱化領域の間で包装を把持して既定の様態で引裂くことが可能であり、2つの脆弱化領域の間に位置する包装の部分全体を引裂くことができる。このように、包装の2つの脆弱化領域の間の部分は引裂き帯の働きをし、これによって、引裂き帯を除去すると包装は2つの部分に分かれる。これによってアプリケータの細長い柄を包囲する部分を容易に取除くことができるので、アプリケータがアクセス可能となり、アプリケータによって少なくとも1つの物質を包装から取出すことができる。
キャリヤとカバーフィルムとの間の溝は、この場合、キャリヤおよび/またはカバーフィルムにおける陥凹部として構成することができる。または、これは例えばこれらの一方を他方の上に置いて、これらを互いに溶接または密封することによって形成することができる。
本発明の好ましい実施形態によれば、脆弱化領域は、切込み、ミシン目、切欠き点、先細りにされた材料部分等によって形成される。この場合、2つの脆弱化領域は、例えばどちらも切込み、といったように同じ脆弱部を有する必要はない。むしろ、脆弱化領域の各々は、2つの脆弱化領域間に位置する包装の部分を引裂くために、既定の引裂きをはじめることができるようにして構成されていれば十分である。キャリヤまたはカバーフィルムの脆弱部が、それぞれ他方の要素における脆弱部よりも強力に画成されていると特に有利であることがわかっている。このように、引裂きはじめは、例えばカバーフィルムにおいて助けられるだけであり、これによってカバーフィルムをキャリヤからより効果的に取外すことができる。このように、例えばカバーフィルムの切込みは、引裂きはじめを助けるようにキャリヤの切込みよりも深くすることができる。
上述の特徴にかかわらず、本発明は、キャリヤまたはカバーフィルムと一体に形成された少なくとも1つの引裂きタブを有する引裂き補助具を備えており、キャリヤとカバーフィルムとの間の結合部は引裂きタブの反対側に位置する領域に比べて引裂きタブの領域において脆弱である、請求項1による包装に向けられている。好ましくは、シーリング、接着、溶接等とすることができるキャリヤとカバーフィルムとの間の結合は、引裂きタブの領域において、包装の別の領域に比べて脆弱である。そして、キャリヤとカバーフィルムとの間の結合は、包装の別の領域に比べると、引裂きタブの反対側に位置する領域で同等であるかまたはより強力である。このように、引裂きタブの反対側に位置する領域の結合は、少なくともそのような包装の通常の開封から生じる力で剪断または手で別様に分離されないはずである。
好ましい実施形態によれば、引裂きタブの領域における切断部のような脆弱部は、引裂きタブと一体に形成された材料、すなわちキャリヤまたはカバーフィルムにだけ設けられるのに対し、引裂きタブの反対側に位置する領域における凹部のような脆弱部は、キャリヤおよびカバーフィルムに設けられる。前記脆弱部は互いに対向して配置することができ、すなわちそれらは溝の縦方向で見て凹部に面する側で引裂きタブに当接して配置される。
さらに、キャリヤとカバーフィルムとの間の結合は、引裂きタブの領域で包装の外端(境界)まで及んでいないことが好ましい。言い換えれば、引裂きタブの領域において、キャリヤとカバーフィルムとの間には隙間を設けることができる。
引裂きタブと一体に形成された材料にだけ、すなわちキャリヤまたはカバーフィルムにおいて、溝の長手方向で前後に並んで位置する2つの脆弱化領域が形成されるように、切断部のような脆弱部が、溝の長手方向で引裂きタブの両側に設けられると有利である。
2つの脆弱化領域の間に位置する部分を引裂くことによる包装の開封は、溝の長手方向で前後に並んで位置するそれぞれ2つの脆弱化領域を溝の両側に設けることによって、さらに容易となる。しかし、これらの付加的な脆弱化領域は、また、例えば、包装の幅が極めて小さい場合、かつ/またはキャリヤおよび/またはカバーフィルムの材料が特に容易に切断できる場合には、省いてもよい。
輸送および貯蔵の間、少なくとも1つの物質とアプリケータとを密に封鎖するため、すなわち、物質の漏れだけでなくバクテリアまたは汚染物質の侵入を防ぐために、キャリヤおよびカバーフィルムは互いに好適に密封される。この場合、密封は、例えば接着または溶接のように、カバーフィルムへのキャリヤのいずれかの適切な接合として理解される。
溝の一方側の引裂き補助具の区域においての密封が、溝の反対側におけるよりも脆弱になるように構成することによって、包装の開封はさらに容易となる。これにより、引裂き開始が起こる側ではキャリヤおよびカバーフィルムが互いに容易に分離されるが、反対側ではキャリヤおよびカバーフィルムが互いに堅固に接着され、包装の、2つの脆弱化領域の間に位置する部分全体が、引裂き帯のように完全に分離できるようになる。溝の少なくとも1部分におけるキャリヤのカバーフィルムへの異なる強さの結合は、2つの脆弱化領域による引裂き補助具を備えることにも関わらず、本発明の本質的な特徴である。
本発明のさらなる実施形態によれば、キャリヤまたはカバーフィルムとの一体品である少なくとも1つの引裂きタブが、前後に並んで位置する脆弱化領域の間に設けられる。また、キャリヤおよびカバーフィルムの両方は、少なくとも1つの引裂きタブをそれぞれ備えることができる。この引裂きタブは、例えばキャリヤとの一体品である場合にはカバーフィルムと接合されていない部分として構成されてもよく、またはその逆でもよい。このように、例えば引裂きタブは、包装を開封するために把持するのが特に容易である突出領域とすることができる。引裂きタブはまた、包装を開封するために引離されるキャリヤおよびカバーフィルムの両方に設けることができる。2つの引裂きタブを、キャリヤおよびカバーフィルムの両方に設けた場合、キャリヤおよびカバーフィルムは特に容易に把持することができ、剥離可能な様態で好適に引離すことができる。このように、包装は両側からの1度の引張りで引裂くことができるので、露出したアプリケータは(複数の)チャンバを有する包装部分とともに、例えばテーブルといった適格な支持上に落下することができる。
代替的にまたは付加的に、引裂き帯または引裂き糸を包装に組み込むことができる。これにより、包装は、部分で、引裂き帯または引裂き糸によって画成される線に沿って引裂くか、または引離すことができる。この目的のため、引裂き帯または引裂き糸が、キャリヤおよび/またはカバーフィルムの上に突出していてもよい。
前述の包装の開封は、まず、実質的にアプリケータを露出させるか、またはそれを手にとるために使用される。従って、包装に収容された少なくとも1つの物質は、必ずしもまた自由に手にとれなくてもよい。むしろ、1つのチャンバから別のチャンバに物質を移送するための放出溝が2つのチャンバの間に設けられると好ましい。放出溝は、圧力の印加を受け、所要の破壊点によってチャンバのうちの少なくとも1つに対して開く。この所要の破壊点は、例えば剥離可能な領域、脆弱化シーリングを有する領域等とすることができる。このように、溝の2つの脆弱化領域間の包装の部分を引裂いた後でも、物質ははじめはチャンバ内に密封態様で依然収容されている。
本発明の好ましい実施形態によれば、アプリケータは円錐形部分を備えている。溝がアプリケータによって密封できるように、溝は、特に引裂き補助具に隣接する部分において漏斗形に構成されている。溝のアプリケータによるこのような密封は、アプリケータによって包装を一時的に密封する必要がある場合、特に有用である。引裂き補助具に隣接する部分の溝の漏斗形の構成は、同時に、アプリケータを溝に再び挿入する必要がある場合に挿入補助具として役立つ。
本発明の着想のさらなる発展において、溝でのアプリケータの脱着可能な固定のために互いに割り当てられた保持手段が、アプリケータの外面および溝の内面に設けられることが規定される。これによれば、包装の一部を引裂いた後でも、アプリケータ自体は溝から落ちず、そこに保たれたままである。保持手段は、例えば、アプリケータの外面の溝と、溝の内面において内方へ対応して突出するウェブ等とによって構成することができる。
アプリケータは、基本的に、少なくとも1つの物質を放出および/または塗布するために適するあらゆる形状を有することができる。従って、アプリケータは、放出チューブ、ミキサー、小瓶、絵筆等とすることができる。好ましい実施形態によれば、アプリケータは細長い柄および、例えば絵筆状またはスポンジ状の頭部を備える。アプリケータはこのように容易かつ確実に把持することができる一方、頭部は物質を包装に受け入れ、物質を塗布するために適している。この場合、アプリケータの柄が溝に収容され、アプリケータの頭部がチャンバに収容されることが好ましい。言い換えれば、アプリケータは、頭部が物質で満たされたチャンバの方を向くのに対し、細長い柄はチャンバとは反対の方を向くように好適に収容される。このように、溝の2つの脆弱化領域の間の包装部分を引裂くことによる包装の前述の開封の後、アプリケータの柄は露出されることにより、アプリケータを取出すことができる。しかしまた、物質を収容するチャンバへのアクセスを開くため、さらに包装内にアプリケータを押し込むこともできる。代替的には、一方のチャンバから当初は空のチャンバに物質を絞り出し、その中にアプリケータ頭部が突出することによって、この放出室からアプリケータにより物質を取出すことができるようにしてもよい。
本発明による包装は、キャリヤおよび/またはカバーフィルムに形成された1つ以上のチャンバを有することができる。このようにして、例えば異なる物質が2つのチャンバに収容されることができ、これらの物質を施用する直前に初めて互いに混合されるようにすることができる。さらに、最初は空であるチャンバを設けてもよく、これは、アプリケータが少なくとも1つの物質を取出すことができるような混合室として、または放出室として役立つ。
キャリヤおよびカバーフィルムの両者は、好ましくは薄いフィルム状材料から構成される。この場合、キャリヤおよびカバーフィルムは同一の材料から構成される必要はない。むしろ、キャリヤはカバーフィルムに比べて強靱な材料から構成することができる。基本的に、包装は、プラスチック、プラスチック−金属複合材料または金属からブリスター包装の様態で構成されることが好ましい。ブリスター包装は、ここで一般に、例えば、透明および/または不透明材料でできた深絞り成形品(deep-drawn part)として理解される。
本発明による包装は、液体または糊状物質の貯蔵に特に適する。包装は、例えば接着剤等の歯科製品を貯蔵し、放出するために好適に使用される。
本発明による包装の構成要素を斜視図で示す。 アプリケータとともに図1による包装を側面図で示す。 封鎖状態にある図1による包装を斜視図で示す。 図1からの包装の詳細図を示す。 異なるアプリケータとともに図2による図を示す。 本発明のさらなる実施形態による包装の構成要素を斜視図で示す。 開封中の図6の包装を示す。 開封後の図6の包装を示す。 (a)〜(f)は、本発明による包装のさらなる実施形態を示す。
例示的な実施形態に関して、そして図面に関して、本発明を以下に詳細に説明する。
図面においては、以下が図式的に示されている。
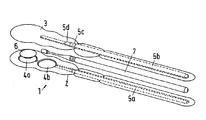
図に示された包装1は、キャリヤ2と、キャリヤ2と結合されて包装を形成するカバーフィルム3と、から構成される。図示された実施形態において、キャリヤ2には2つの凹部4a、4bが形成されており、これらは、カバーフィルム3が貼付されると閉じたチャンバを形成する。さらに、キャリヤ2およびカバーフィルム3には、細長い凹部5a、5bもまた形成されており、これら両方で円形断面を有する溝を形成する。
図1および図2から明らかであるように、図中左側の凹部4aには物質6が収容されているのに対し、第2の(右側の)凹部4bおよび溝には細長いアプリケータ7が挿入されている。本例では、アプリケータ7は、細長い柄7aと、第2の凹部4bに収容された例えばスポンジ状の頭部7bと、を有する。
アプリケータ7が外周溝7cを有し、溝がアプリケータ7の溝7cに係合するくびれ領域5cを有することは、図4の略図から明らかである。該手段によって、包装1においてアプリケータ7が脱着可能に固定される。さらに、アプリケータ7は頭部7bの方向にテーパ状の円錐形領域7dを有しており、溝には漏斗形領域5dが形成されている。アプリケータの円錐形領域7dは、溝の漏斗形領域5dと一緒にシール面を形成し、該手段によって溝がアプリケータ7により密封可能である。
キャリヤ2をカバーフィルム3に結合するためには、これらは密封されて互いに接着または溶接される。この場合、キャリヤ2の2つの凹部4a、4bの間の領域は、カバーフィルム3に接合される。これにより、包装された状態において、物質6は、凹部4aにより形成されるチャンバから凹部4bによって形成されるチャンバに流れ込むことができない。キャリヤ2のカバーフィルム3との接合部は、凹部4a、4bの間のこの領域において所要の破壊点を備えている。これにより、凹部4aによって形成されるチャンバが圧縮された時、凹部4bによって画成されるチャンバに物質6を移すことができる。代替的にまたは付加的には、物質を収容する少なくとも1つのチャンバは、所要の破壊点を突き通すアプリケータ7を用いて、アプリケータを包装内に押し込むか、すべり込ませることによって開封することもできる。
図4の拡大図から特に明らかであるように、キャリヤ2およびカバーフィルム3は、溝の区域において、溝の長手方向において互いに間離された2つのくびれ8を、両側に備えている。加えて、くびれ8の区域では、キャリヤ2およびカバーフィルム3に切込み9が設けられている。これにより、包装1において、溝すなわちアプリケータ7の長手方向で前後に並んだ2つの脆弱化領域が形成される。包装1の、これら2つの脆弱化領域の間に位置する部分は、引裂き帯の様態で構成されており、包装1が既定のように開封でき、アプリケータ7の柄7aが露出されるようになっている。
この目的のため、キャリヤ2を越えて突出するタブ10がカバーフィルム3に形成されており、包装1を開封するためにはこのタブを把持することができる。キャリヤ2とカバーフィルム3との間の接合は、タブ10の側では、2つの脆弱化領域の間で脆弱になるように構成されるか、または所要の破壊点を備えるように構成される。その一方、包装1の、タブ10とは反対側では、キャリヤ2とカバーフィルム3と間の接合は脆弱化されていない。その結果、使用者がタブ10を引っ張った時に、カバーフィルムをキャリヤ2から容易に分離することが可能となる。くびれ8および切込み9によって、カバーフィルム3における既定の引裂きを開始することができ、それにより、カバーフィルム3の、2つの脆弱化領域の間に位置する部分が、キャリヤ2から取外される。この場合、アプリケータ7の、柄7aの領域が露出される。タブ10の反対側においてはキャリヤ2とカバーフィルム3との間が(より堅固に)接合されているために、キャリヤ2からのカバーフィルム3の完全な分離は回避され、キャリヤ2においてカバーフィルム3の引裂きが継続する。これにより、2つの脆弱化領域の間に存在するアプリケータ7の周辺の包装1の部分全体を引裂くことができる。
従って、図1および図2の、凹部4a、4bを備えた包装1の左端が包装1の右端から分離され、これにより図1および図2の包装の右端をアプリケータ7から引離すことができる。図示された実施形態において、アプリケータの柄7aを露出した後、凹部4aによって形成された物質6を収納するチャンバは依然として閉じたままである。しかしまた、物質6が同時に露出されるように、引裂き補助部を構成してもよい。逆に、所要の破壊点を最初に開封することによって包装が活性化され、部分を引裂くことによりようやく包装が開封されてアプリケータが露出する。
図5に図示された実施形態において、包装自体はほぼ前述した通りに構成されている。しかし、包装に挿入されるアプリケータとしては、チューブ11が設けられている。特に、使用前に混合される複数の物質が包装に収容される場合には、チューブ11にミキサーを設けることができる。この場合、(複数の)物質の適用のために準備された端11aは、チャンバとは反対を向いている。従って、チューブ11は、アプリケータ7で定められているように物質(複数も)を放出するために包装から取外されるのではなく、包装に残る。チューブ11またはミキサーは、本発明による包装によればとりわけ広範に露出されることができ、物質(複数も)を分配する際の適用を助ける。
包装のさらなる実施形態が図6〜8に示される。この包装は、図1〜5の実施形態とほぼ同じ構成を有する。この包装は、シーリング、接着、溶接等によって一体に結合されたフィルム状キャリヤ2およびカバーフィルム3から同様に構成される。
カバーフィルム3は、引裂きタブ10と一体に形成されている。カバーフィルム3の引裂きタブ10の両側には、切込み(切断部)9a、9bが設けられている。これらの切込みは、溝5aまで到達せずに、アプリケータ7が密閉して格納されるようになっている。一方、キャリヤ2の各部分は脆弱化されていない。溝の、引裂きタブ10とは反対の側では、キャリヤ2およびカバーフィルム3に切欠きまたは凹み8aが形成されている。すなわち、両方の層に切欠きが設けられている。前記切欠きは、切込み9aの反対側に配置されており、凹部4a、4bから反対の方向で、アプリケータ7の円錐形シール7dを受け入れる溝の広げられた部分から離間されている。図6〜8において、円錐形シール7dは、(柄7aの方向で配置されている)段部を備えており、開封された包装からアプリケータ7が落下するのを防止している。言い換えれば、包装からのアプリケータの最初の取出しの間、溝の少なくとも一部は広げられる必要がある。この広げられた部分によって、追加の物質を引出すためにアプリケータを再び挿入することが容易になる。
キャリヤ2とカバーフィルム3との間の結合は、引裂きタブ10の領域Aにおいて、すなわち切込み9a、9bの間で脆弱にされている。これはより薄い結合区域および/またはより脆弱な結合によって実現できる。引裂きタブ10近傍の少なくとも領域Aにおける包装の外端(境界)は、キャリヤとカバーフィルムとの間の結合部を備えていないことが好ましい。これにより、これらの2つの層は単に互いに支え合うか、または空隙によって分離される。このため、引裂きタブ10によるキャリヤ2のカバーフィルム3からの分離が容易となる。しかし、溝の反対側の結合は、領域Bにおいて、より強力になっている。これにより、包装を開封する間に、キャリヤ2およびカバーフィルム3は領域Bにおいて互いに分離できない。
図7および図8に示す通り、引裂きタブ10と、カバーフィルム3およびキャリヤ2の(図6で見ると)右部分、すなわちアプリケータ7の柄を覆う部分とは互いに接続されたままであり、凹部4a、4bを備えた(図6で見ると)左部分から一体部分として分離される。
図6〜8に図示されたものとは対照的に、本発明の好ましい実施形態によれば、引裂きタブを、カバーフィルムではなくキャリヤに設けてもよい。そうすると、切込み9a、9bはキャリヤに設けられるであろう。
さらに、アプリケータの円錐形の密封状態を維持する溝部分の幾何形状は、図6〜8の実施形態に図示されたものとは異なってもよい。アプリケータ7’ が少なくともこの区域において三角形の輪郭(図9(a))を有する場合、キャリヤにおける凹部(エンボシング)はV字形であってもよい(図9(b))。さらに、アプリケータ7’’は、平坦な上面を有してもよく(図9(c))、この場合には平坦なカバーフィルム3(図9(d))対してに密封するよう当接する。凹部等を備えた図9(e)、(f)の実施形態に示すように、カバーフィルム3において突出があってもよい。このような場合、アプリケータ7’’’ は円錐形シールの領域を有する。
包装の諸構成要素、すなわちフィルムおよびアプリケータは、殺菌されることが好ましい。

Claims (14)

  1. 少なくとも1つの物質(6)およびアプリケータ(7、7’ 、7’’、7’’’ 、11)を受け入れるための易引裂き性包装であって、
    カバーフィルム(3)により外部に対して密封可能であると共に、少なくとも1つのチャンバを形成するために一方側が開いた少なくとも1つの凹部(4a、4b)が形成されている、例えばフィルム状のキャリヤ(2)を備えており、
    前記キャリヤ(2)と前記カバーフィルム(3)との間に形成される溝(5a、5b)を備えており、
    前記溝(5a、5b)には、前記アプリケータ(7、7’ 、7’’、7’’’ 、11)が前記アプリケータ(7、7’ 、7’’、7’’’ 、11)が少なくとも部分に収容され、前記キャリヤ(2)および前記カバーフィルム(3)によって完全に包囲されるようになっており、
    前記キャリヤ(2)および/または前記カバーフィルム(3)における前記溝(5a、5b)には、包装の既定の開封のための引裂き補助部が設けられており、
    前記引裂き補助部は、前記キャリヤ(2)または前記カバーフィルム(3)と一体に形成された少なくとも1つの引裂きタブ(10)を含み、
    前記キャリヤ(2)と前記カバーフィルム(3)との間の結合は、前記引裂きタブ(10)の反対側に位置する領域(B)に比べて、前記引裂きタブ(10)の領域(A)において脆弱である、易引裂き性包装。
  2. 前記引裂きタブ(10)の前記領域(A)における、切断部のような脆弱部(9a、9b)が、前記引裂きタブ(10)と一体に形成された前記キャリヤまたは前記カバーフィルムの材料にだけ設けられるのに対し、
    前記引裂きタブ(10)の反対側に位置する前記領域(B)における、凹部のような脆弱部(8a)が、前記キャリヤ(2)および前記カバーフィルム(3)に設けられることを特徴とする、請求項1に記載の包装。
  3. 前記脆弱部(8a、9a)は、互いに対向して配置されると共に、前記溝(5a、5b)の、前記凹部(4a、4b)の方に面する側で前記引裂きタブ(10)に当接することを特徴とする、請求項1または2に記載の包装。
  4. 前記キャリヤ(2)と前記カバーフィルム(3)との間の結合が、前記引裂きタブ(10)の前記領域(A)において包装の外端にまで及ばないことを特徴とする、請求項1〜3のいずれか1項に記載の包装。
  5. 前記切断部のような前記脆弱部(9a、9b)が、前記引裂きタブ(10)と一体に形成された前記キャリヤ(2)または前記カバーフィルム(3)の材料にだけ、前記溝(5a、5b)の長手方向で前記引裂きタブ(10)の両側に設けられることにより、前記溝(5a、5b)の長手方向に並んだ2つの脆弱化領域(8、9)が形成されることを特徴とする、請求項1〜4のいずれか1項に記載の包装。
  6. 前記溝(5a、5b)の少なくとも一方側で、前記キャリヤ(2)または前記カバーフィルム(3)における前記脆弱部が、他方の要素(3、2)における脆弱部よりも強力に画成されていることを特徴とする、請求項1〜5のいずれか1項に記載の包装。
  7. 前記溝(5a、5b)の両側に、前記溝(5a、5b)の長手方向に並んだ2つの脆弱化領域(8、9)がそれぞれ設けられることを特徴とする、請求項1〜6のいずれか1項に記載の包装。
  8. 2つのチャンバの間に、かつ/またはチャンバと前記溝(5a、5b)との間に、一方のチャンバからもう一方のチャンバまたは溝(5a、5b)に物質を移送するための放出溝が設けられており、前記放出溝は、圧力の印加を受けて所要の破壊点により前記チャンバの少なくとも1つに対し開くことを特徴とする、請求項1〜7のいずれか1項に記載の包装。
  9. 前記アプリケータ(7、7’ 、7’’、7’’’ 、11)が円錐形部分(7d)を備え、前記溝(5a、5b)は特に前記引裂き補助具に隣接する部分において漏斗形に構成されており、前記溝(5a、5b)が前記アプリケータによって密封可能であることを特徴とする、請求項1〜8のいずれか1項に記載の包装。
  10. 前記アプリケータ(7、7’ 、7’’、7’’’ 、11)の外面および前記溝(5a、5b)の内面に、前記溝(5a、5b)への前記アプリケータ(7、7’ 、7’’、7’’’ 、11)の脱着可能な固定のために互いへと割り当てられた保持手段(5c、7c)が設けられていることを特徴とする、請求項1〜9のいずれか1項に記載の包装。
  11. 前記アプリケータ(7、7’ 、7’’、7’’’)が、細長い柄(7a)と、好ましくは絵筆状またはスポンジ状の頭部(7b)を有することを特徴とする、請求項1〜10のいずれか1項に記載の包装。
  12. 前記アプリケータ(7、7’ 、7’’、7’’’)の前記柄(7a)が前記溝(5a、5b)に収容され、前記アプリケータ(7、7’ 、7’’、7’’’)の前記頭部(7b)がチャンバに収容されることを特徴とする、請求項11に記載の包装。
  13. 前記アプリケータ(11)がチューブまたはミキサーであり、少なくとも1つの物質を放出するために設けられた前記アプリケータ(11)の端(11a)が、少なくとも1つの前記チャンバとは反対を向いていることを特徴とする、請求項1〜9のいずれか1項に記載の包装。
  14. 前記引裂きタブ(10)は、前記溝(5a、5b)の長手方向に垂直に前記キャリヤ(2)または前記カバーフィルム(3)上で折り畳まれ、前記引裂きタブ(10)はその自由端が前記キャリヤ(2)および前記カバーフィルム(3)の上にある状態で突出することを特徴とする、請求項1〜13のいずれか1項に記載の包装。
JP2009148488A 2008-06-25 2009-06-23 易引裂き性包装 Expired - Fee Related JP5173947B2 (ja)

Applications Claiming Priority (2)

Application Number Priority Date Filing Date Title
DE102008029762 2008-06-25
DE102008029762.3 2008-06-25

Publications (2)

Publication Number Publication Date
JP2010013186A true JP2010013186A (ja) 2010-01-21
JP5173947B2 JP5173947B2 (ja) 2013-04-03

Family

ID=41396923

Family Applications (1)

Application Number Title Priority Date Filing Date
JP2009148488A Expired - Fee Related JP5173947B2 (ja) 2008-06-25 2009-06-23 易引裂き性包装

Country Status (4)

Country Link
US (1) US8181777B2 (ja)
JP (1) JP5173947B2 (ja)
DE (1) DE102009029941A1 (ja)
IT (1) IT1394569B1 (ja)

Cited By (5)

* Cited by examiner, † Cited by third party
Publication number Priority date Publication date Assignee Title
KR20190118581A (ko) * 2017-02-20 2019-10-18 센트릭스, 아이엔씨. 일회 용량 재료 및 어플리케이터 패키지
JP2022511056A (ja) * 2018-12-07 2022-01-28 セージ プロダクツ リミテッド ライアビリティ カンパニー 口腔ケアシステム及びパッケージ
USD988868S1 (en) 2019-03-11 2023-06-13 Sage Products, Llc Packaging for oral care device
US12336623B2 (en) 2020-07-17 2025-06-24 Sage Products, Llc Universal oral care tool
US12534262B2 (en) 2021-12-23 2026-01-27 Sage Products, Llc Oral care system

Families Citing this family (6)

* Cited by examiner, † Cited by third party
Publication number Priority date Publication date Assignee Title
CN103459264A (zh) * 2011-04-15 2013-12-18 高露洁-棕榄公司 口腔护理套件
US20160113377A1 (en) 2012-11-27 2016-04-28 Socoplan Device for Containing, Dispensing and Applying to a Substrate Content in Liquid, Gel, Cream or Paste Form
US9648784B2 (en) * 2013-03-15 2017-05-09 Inertech Ip Llc Systems and assemblies for cooling server racks
EP3045184B1 (de) 2015-01-13 2019-01-09 ECP Entwicklungsgesellschaft mbH Behälter für eine Herzpumpeneinrichtung sowie Verfahren zum Betrieb einer Herzpumpeneinrichtung
US10159824B2 (en) 2016-05-24 2018-12-25 Joseph Trznadel Multi-chamber container apparatuses and methods of making and using the same
USD857524S1 (en) * 2017-02-20 2019-08-27 Centrix, Inc. Material and applicator package

Citations (7)

* Cited by examiner, † Cited by third party
Publication number Priority date Publication date Assignee Title
JPS61175156U (ja) * 1985-04-19 1986-10-31
US5320217A (en) * 1993-06-17 1994-06-14 Birchwood Laboratories, Inc. Wet swab captured package
JPH10503150A (ja) * 1994-07-13 1998-03-24 セントリックス、インク. 患者一人分用量のアプリケータ付き薬物ディスペンサー
US20020185401A1 (en) * 2001-03-22 2002-12-12 Valois S.A. Perfume test packaging
JP2006504594A (ja) * 2002-11-02 2006-02-09 ケッテンバッハ ゲゼルシャフト ミット ベシュレンクテル ハフツング ウント コンパニー コマンディートゲゼルシャフト 粘性の物質の貯蔵及び供給のための装置
JP2006102478A (ja) * 2004-09-10 2006-04-20 Nippo Corp 収容具
JP2008525285A (ja) * 2004-12-22 2008-07-17 スリーエム イノベイティブ プロパティズ カンパニー 組成物を貯蔵および注出するためのデバイス

Family Cites Families (21)

* Cited by examiner, † Cited by third party
Publication number Priority date Publication date Assignee Title
US2864118A (en) * 1956-12-04 1958-12-16 Ray D Adams Disposable shoe polishing kit
US3086647A (en) * 1961-09-20 1963-04-23 Barnes Hind Lab Inc Dispensing package
US3185291A (en) * 1962-06-27 1965-05-25 Braun Co W Container with an applicator and supporting means for the container
US3186628A (en) * 1964-03-27 1965-06-01 Tower Packaging Company Packaging
US3369267A (en) * 1965-05-24 1968-02-20 Foremost Chemicals Inc Combination container and applicator
US3498448A (en) * 1968-07-03 1970-03-03 Johnson & Johnson Surgical package
US3685645A (en) * 1970-08-17 1972-08-22 Physio Control Corp Defibrillation electrode pad and package therefor
US3759375A (en) * 1971-05-21 1973-09-18 J Nappi Disposable swab-type applicator package
US3835834A (en) * 1972-02-24 1974-09-17 J Brown Culture transporter
US4220244A (en) * 1978-06-09 1980-09-02 Sabra Elmore Fresh face pad
FR2625083B1 (fr) 1987-12-29 1990-06-01 Oreal Ensemble de maquillage a utilisation unique
US5112152A (en) * 1989-02-08 1992-05-12 Mcbride Carla Combination applicator and package
US4982838A (en) * 1989-05-31 1991-01-08 Georg Karl Geka-Brush Gmbh Disposable mascara tester
US5244089A (en) * 1991-04-30 1993-09-14 Yang Frank C F Package for an elongate medical article
US6685013B2 (en) * 1994-07-13 2004-02-03 Centrix, Inc. Single patient dose medicament dispenser with applicator
DE29714246U1 (de) * 1997-08-08 1998-12-10 THERA Patent GmbH & Co. KG Gesellschaft für industrielle Schutzrechte, 82229 Seefeld Vorrichtung zum Lagern und Auftragen einer fließfähigen Substanz
DE29814215U1 (de) 1998-08-12 1998-10-15 Klocke Verpackungs-Service GmbH, 76356 Weingarten Mehrkammerbehälter
DE19962436B4 (de) 1999-12-22 2005-05-25 3M Espe Ag Verfahren zum Ausbringen einer fließfähigen Substanz aus einer Verpackung
US6516947B1 (en) * 2000-08-11 2003-02-11 Viridian Packaging Solutions, Llc Containers having a fracture recess for opening the containers
DE202004007693U1 (de) 2004-05-13 2004-07-22 Klocke Verpackungs-Service Gmbh Verpackung mit mehreren Aufnahmebereichen
EP1972358B1 (de) * 2007-03-20 2012-09-19 Sulzer Mixpac AG Vorrichtung zum Auftragen fliessfähiger Stoffe

Patent Citations (7)

* Cited by examiner, † Cited by third party
Publication number Priority date Publication date Assignee Title
JPS61175156U (ja) * 1985-04-19 1986-10-31
US5320217A (en) * 1993-06-17 1994-06-14 Birchwood Laboratories, Inc. Wet swab captured package
JPH10503150A (ja) * 1994-07-13 1998-03-24 セントリックス、インク. 患者一人分用量のアプリケータ付き薬物ディスペンサー
US20020185401A1 (en) * 2001-03-22 2002-12-12 Valois S.A. Perfume test packaging
JP2006504594A (ja) * 2002-11-02 2006-02-09 ケッテンバッハ ゲゼルシャフト ミット ベシュレンクテル ハフツング ウント コンパニー コマンディートゲゼルシャフト 粘性の物質の貯蔵及び供給のための装置
JP2006102478A (ja) * 2004-09-10 2006-04-20 Nippo Corp 収容具
JP2008525285A (ja) * 2004-12-22 2008-07-17 スリーエム イノベイティブ プロパティズ カンパニー 組成物を貯蔵および注出するためのデバイス

Cited By (11)

* Cited by examiner, † Cited by third party
Publication number Priority date Publication date Assignee Title
KR20190118581A (ko) * 2017-02-20 2019-10-18 센트릭스, 아이엔씨. 일회 용량 재료 및 어플리케이터 패키지
JP2020508264A (ja) * 2017-02-20 2020-03-19 セントリックス、インコーポレーテッド 単回投与材料およびアプリケータパッケージ
JP7068325B2 (ja) 2017-02-20 2022-05-16 セントリックス、インコーポレーテッド 単回投与材料およびアプリケータパッケージ
KR102479300B1 (ko) * 2017-02-20 2022-12-20 센트릭스, 아이엔씨. 일회 용량 재료 및 어플리케이터 패키지
JP2022511056A (ja) * 2018-12-07 2022-01-28 セージ プロダクツ リミテッド ライアビリティ カンパニー 口腔ケアシステム及びパッケージ
JP7595572B2 (ja) 2018-12-07 2024-12-06 セージ プロダクツ リミテッド ライアビリティ カンパニー 口腔ケアシステム及びパッケージ
US12369703B2 (en) 2018-12-07 2025-07-29 Sage Products, Llc Oral care system and packaging
USD988868S1 (en) 2019-03-11 2023-06-13 Sage Products, Llc Packaging for oral care device
USD1044501S1 (en) 2019-03-11 2024-10-01 Sage Products, Llc Packaging for oral care device
US12336623B2 (en) 2020-07-17 2025-06-24 Sage Products, Llc Universal oral care tool
US12534262B2 (en) 2021-12-23 2026-01-27 Sage Products, Llc Oral care system

Also Published As

Publication number Publication date
JP5173947B2 (ja) 2013-04-03
US8181777B2 (en) 2012-05-22
US20100018881A1 (en) 2010-01-28
DE102009029941A1 (de) 2010-01-07
ITMI20091119A1 (it) 2010-12-25
IT1394569B1 (it) 2012-07-05

Similar Documents

Publication Publication Date Title
JP5173947B2 (ja) 易引裂き性包装
US7320398B2 (en) Device for storing and dispensing a free-flowing substance and method of making and using the device
US9434522B2 (en) Packaging for storing a free-flowing, paste-like or powdery substance and method for storing and applying the substance
EP1302213B1 (en) Single patient dose medicament dispenser with applicator
CA2244628C (en) A device for storing and dispensing a flowable substance
JP3877764B2 (ja) 一回量ディスポーザブルディスペンサー
US7556147B2 (en) Packaging for storing substances
US7086528B2 (en) Device for storing and dispensing substances and method of making and using same
US8109387B2 (en) Device for applying flowable substances
US8584838B2 (en) Container for mixing of components
US20160257470A1 (en) Applicator package
CN102143895A (zh) 注出口部件以及使用该注出口部件的包装袋
CA2306283A1 (en) Multi-chamber container
JP2006315762A (ja) 使い捨て計量分配装置
US20080262408A1 (en) Multi-Constituent Packaging with Applicator
CN104159729B (zh) 包装材料、由其生产的包装,以及构造包装的方法
US7008133B2 (en) Disposable single-use applicator
JP4998793B2 (ja) 包装容器
US20240002136A1 (en) Device for storing and dispensing flowable compositions
KR20080035681A (ko) 액상 및/또는 점성 물질의 저장 및 도포를 위한 장치
WO2020158238A1 (ja) 複合液剤包装体及びその製造方法、並びに前記複合液剤包装体を用いた多成分系液状組成物調製用キット及びその製造方法
JP5354325B2 (ja) 塗布具付き容器
JP2008120450A (ja) 塗布器具包装体
WO2005000696A1 (en) Double wall bags
JP2008155955A (ja) 綿棒包装容器

Legal Events

Date Code Title Description
A521 Request for written amendment filed

Free format text: JAPANESE INTERMEDIATE CODE: A523

Effective date: 20101203

A977 Report on retrieval

Free format text: JAPANESE INTERMEDIATE CODE: A971007

Effective date: 20120223

A131 Notification of reasons for refusal

Free format text: JAPANESE INTERMEDIATE CODE: A131

Effective date: 20120228

A601 Written request for extension of time

Free format text: JAPANESE INTERMEDIATE CODE: A601

Effective date: 20120525

A602 Written permission of extension of time

Free format text: JAPANESE INTERMEDIATE CODE: A602

Effective date: 20120530

A521 Request for written amendment filed

Free format text: JAPANESE INTERMEDIATE CODE: A523

Effective date: 20120625

TRDD Decision of grant or rejection written
A01 Written decision to grant a patent or to grant a registration (utility model)

Free format text: JAPANESE INTERMEDIATE CODE: A01

Effective date: 20121204

A61 First payment of annual fees (during grant procedure)

Free format text: JAPANESE INTERMEDIATE CODE: A61

Effective date: 20121227

R150 Certificate of patent or registration of utility model

Ref document number: 5173947

Country of ref document: JP

Free format text: JAPANESE INTERMEDIATE CODE: R150

R250 Receipt of annual fees

Free format text: JAPANESE INTERMEDIATE CODE: R250

R250 Receipt of annual fees

Free format text: JAPANESE INTERMEDIATE CODE: R250

R250 Receipt of annual fees

Free format text: JAPANESE INTERMEDIATE CODE: R250

R250 Receipt of annual fees

Free format text: JAPANESE INTERMEDIATE CODE: R250

R250 Receipt of annual fees

Free format text: JAPANESE INTERMEDIATE CODE: R250

LAPS Cancellation because of no payment of annual fees