JP2010012840A - 傾倒制御装置を備えた機器 - Google Patents

傾倒制御装置を備えた機器 Download PDF

Info

Publication number
JP2010012840A
JP2010012840A JP2008172864A JP2008172864A JP2010012840A JP 2010012840 A JP2010012840 A JP 2010012840A JP 2008172864 A JP2008172864 A JP 2008172864A JP 2008172864 A JP2008172864 A JP 2008172864A JP 2010012840 A JP2010012840 A JP 2010012840A
Authority
JP
Japan
Prior art keywords
control device
tilt control
tilt
weight
movable
Prior art date
Legal status (The legal status is an assumption and is not a legal conclusion. Google has not performed a legal analysis and makes no representation as to the accuracy of the status listed.)
Granted
Application number
JP2008172864A
Other languages
English (en)
Other versions
JP5222637B2 (ja
Inventor
Makoto Ito
真 伊東
Current Assignee (The listed assignees may be inaccurate. Google has not performed a legal analysis and makes no representation or warranty as to the accuracy of the list.)
Kajima Corp
Original Assignee
Kajima Corp
Priority date (The priority date is an assumption and is not a legal conclusion. Google has not performed a legal analysis and makes no representation as to the accuracy of the date listed.)
Filing date
Publication date
Application filed by Kajima Corp filed Critical Kajima Corp
Priority to JP2008172864A priority Critical patent/JP5222637B2/ja
Publication of JP2010012840A publication Critical patent/JP2010012840A/ja
Application granted granted Critical
Publication of JP5222637B2 publication Critical patent/JP5222637B2/ja
Expired - Fee Related legal-status Critical Current
Anticipated expiration legal-status Critical

Links

Images

Landscapes

  • Handcart (AREA)

Abstract


【課題】
本発明は、機器類の本体或いはその一部が傾倒した場合、一定の角度傾倒するとその傾倒を制御し、それ以上の急激な傾倒や転倒を防止する傾倒制御装置を備えた機器を提供するものである。
【解決手段】
可動機器類において、該機器類本体或いはその一部が一定の角度傾倒すると該機器類本体或いはその一部に負荷が作用し、それらの傾倒を制御する傾倒制御装置を設けてなることを特徴とする傾倒制御装置を備えた機器。
【選択図】 図2

Description

本発明は、バケット車等の運搬機器或いは可動する部材と一体となった揚重機器等の可動機器類が一定角度傾倒し、該可動機器類に大きな傾倒負荷が作用した場合、その傾倒負荷を制御することを目的とした傾倒制御装置を備えた機器に関する。
バケット車は、少量の生コンクリートや土砂類を運搬するのに使用される運搬機器であるが、それらにより運ばれる被運搬物をバケットから排出する場合、一般的な転倒式バケット車にあっては該バケット車本体を傾けて排出している。その際、その傾きが一定の角度を超える臨界域に達すると該バケット車の自重及び被運搬物の重量等の加重が移動し急激な傾きが生じ、該バケット車の傾きを緩やかに行う制御が困難になったり、或いは転倒を防ぐには反対方向への大きな力を必要としていた。
また、可動する部材と一体化され、その部材の傾倒を制御する機器がある。例えば、一端が固定され、他端側を可動して所定位置に設置する揚重機器は、該他端側を傾倒移動させることになるが、一定の角度を超えると、上記同様、該部材本体の自重が傾倒方向へ加わることになり、その傾倒を加速させることになる。
上記のように、各種可動機器類において、その傾倒が一定の角度を超える臨界域に達すると、該機器類の自重及び該機器類が収納する被運搬物等により急激な傾倒現象が生じることになり、当該可動機器類の操作を難しくし、場合によっては危険な状態とし、或いは該可動機器類に損傷を与えていた。
上記急激な移動を回避するために、上記バケット車等の運搬機器にあっては、下記する文献のように、可動機器本体に錘を載置し、その錘の移動により傾倒のバランスを取るものがあったが、該錘が移動するための大きな余分なスペースを本体に設ける必要があった。
また、被運搬物の重さを軽減するために開閉可能な扉やスライド式の開閉機構を備えた運搬機器とし、傾倒に応じて被運搬物を徐々に排出し、急激な傾倒負荷がかからないようにしているものがあるが、被運搬物が分割不可能なものにあっては採用することができないし、開口状態から閉鎖状態へと移行する場合に、残った被運搬物が邪魔をして扉が閉まらない場合が多く、その除去調整に手間がかかっていた。また、運搬中に扉の隙間から被運搬物が漏れる現象も多く生じていた。
また、揚重機器は、可動部材を滑車を介してロープやチェーン等で他端側から常時牽引することにより本体の急激な傾倒負荷に耐えるようにしていた。しかし、上記牽引手段を設けた揚重機器にあっては、牽引手段を傾倒状態に応じて常時操作しなくてはならず、非効率的なものであった。
特開昭61−85266号公報 特開昭62−41192号公報
本発明は、上記欠点を解決したもので、機器類の本体或いはその一部が傾倒した場合、一定の角度傾倒するとその傾倒を制御し、それ以上の傾倒や転倒を防止する傾倒制御装置を備えた機器を提供するものである。
可動機器類において、該機器類本体或いはその一部が一定の角度傾倒すると該機器類本体或いはその一部に負荷が作用し、それらの傾倒を制御する傾倒制御装置を設けてなる傾倒制御装置を備えた機器を特徴とする。
また、上記可動機器類本体或いはその一部と傾倒制御装置とを別体とし、該傾倒制御装置は、該可動機器類本体或いはその一部が一定の角度まで傾倒することを許容できるように連結一体化してなる傾倒制御装置を備えた機器を特徴とする。
更に、上記傾倒制御装置は、錘及び該錘と可動機器類本体或いはその一部とを連結一体化した所定長の紐状体とよりなる傾倒制御装置を備えた機器を特徴とする。
また、上記可動機器類を運搬機器とした傾倒制御装置を備えた機器を特徴とする。
更に、上記運搬機器をバケット車とした傾倒制御装置を備えた機器を特徴とする。
また、上記可動機器類を跳ね上げ橋或いは跳ね出しステージ等の揚重機器とした傾倒制御装置を備えた機器を特徴とする。
本発明の傾倒制御装置を備えた機器は、該機器の本体或いはその一部が一定の角度傾倒すると、その予め想定される傾倒程度により事前に紐状のものの長さや強さ等と錘の重さ等を調整しておくことができ、傾倒や転倒方向への自重や被運搬物等による大きな力が作用しても手動等により緩やかな傾倒へと移行することを可能とした。
また、該可動機器に常時牽引手段を作用させることがなく、傾倒時の一定の条件下でのみ傾倒制御手段を作用させることになり、常時牽引のための操作負担がなくなり効率的となった。
以下、本発明の実施例を図面に基づいて説明する。
図1は、本発明の傾倒制御装置を備えた機器の実施例を示している。本実施例の可動機器としてバケット車1を示している。該バケット車1は、コンクリート、土砂等の被運搬物を収納する容器2、本体を移動させるための車輪3、該車輪3を可動させるための手押し部4及び傾倒制御装置5とより構成されている。
容器2は、底板6と側壁7とよりなる上方部が開口した被運搬物の収納手段で、その前方側は該容器2内に収納した生コンクリート、土砂等の被運搬物が外部へ排出し易いように先端側が大きく開口した傾斜側壁としている。
車輪3は、図のものは底板6に固定された車軸8の両端に各々輪を設けた2輪としているが、一輪でもよい。
手押し部4は、移動させる手段となるもので、例えば、パイプ状の手摺によりコ字形とされたものを後方側側壁7の上部或いは適宜な箇所に設けたもので、該バケット車1を手押ししたり持ち上げたりする操作手段として設けている。上記手押し部4の取着位置或いはその形状や材質等は特定されたものではなく、適宜選択できる事項である。
傾倒制御装置5は、紐9と錘10とよりなり、該紐9は上記後方側側壁7の下方部或いは底板6にその一端が固定でき、他端には錘10が固定できるようにされている。該傾倒制御装置5は、必要とする適宜箇所へ運ばれて装着自在とされ、或いは追随形の場合は、錘10がバケット車1とともにスムーズに可動できるようにその下面側にローラ等の可動手段を設けている。
紐9の長さは、該バケット車1が移動している状態或いは停車している状態では、錘10が該バケット車1に対して作用することなく、該バケット車1に追随するか、図1に示すように、緩んだ弛緩状態となるような長さとされ、該バケット車1の容器2から被運搬物を排出させるために該バケット車1を前方へ傾倒した場合、或いは何等かの状態で側方等へ傾倒すると、後端側にある紐9が緊張状態となり、錘10がバケット車1に作用し、該バケット車1がそれ以上に急激に傾倒することを防止させる。これによって図2に示すように、該バケット車1の傾倒が加速されることなく制御できる程度に緩やかに傾倒させることができる。
上記状態で図3に示すように、車輪3の接地面を支点として手押し部4を持ち上げることによりバケット車1を更に傾倒させることができ、該バケット車1からの被運搬物の排出を停止したり続行したりして制御しながら行うことが可能となる。
図1乃至3では、錘10を1個使用した例を示しているが、バケット車1の自重や被運搬物の重量等に応じて2個以上の適宜個数を使用できるように積層可能に構成することができる。
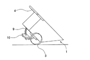
図4は、本発明の傾倒制御装置を備えた機器を跳ね上げ橋とした実施例を示している。本実施例の機器となる跳ね上げ橋11は、一定間隔を隔てた他方側へ橋12を架け渡すことのできる位置に設置或いは移動設置するものである。
該跳ね上げ橋11は、橋12、三角形状の立て起し用フレーム13、該立て起し用フレーム13の先端に設けられた滑車14、牽引ロープ15、該牽引ロープ15の一端側の巻き上げ機16、牽引ロープ15の他端側の係止具17よりなる揚重手段及び該立て起し用フレーム13に沿って設けた傾倒制御装置18とより構成されている。
揚重手段は、立て起し用フレーム13を、図4に示すように、橋12を架け渡す近接位置に設置し、牽引ロープ15を滑車14を介して一端側は橋12の先端の係止具17に固定し、他端は巻き上げ機16に巻き上げ連結し、該巻き上げ機16により巻き上げ自在とされている。該橋12先端の係止具17には紐19の一端を固定し、滑車20を介して他端側には錘21を設け、傾倒制御装置18としている。
図4(a)の橋12が立設されている状態から図4(b)の橋12を架け渡す状態へと該橋12を傾倒する場合、該橋12が一定角度傾倒すると、その自重により加速度的に傾倒することになるが、その際、該橋12が一定角度傾倒すると、紐19が緊張状態となり、該紐19の他端側の錘21が該橋12先端の係止具17を通じて橋12に作用することになる。これにより該橋12の急激な傾倒が防止されることになる。
図4(c)乃至(e)は、上記傾倒制御装置18の作用変化を示すものである。錘21は必要に応じた適宜数量の錘21a、21b、21c、21d、・・・が使用され、その隣接する錘となる錘21aと21b、21bと21c、・・・相互は、紐19a、19b、19c、・・・により連結されている。図4(c)は、該紐19a、19b、19c、・・・が全て弛緩している状態を示している。この場合は、橋12の傾倒に錘21aが作用しているのみとなる。図4(d)は、橋12がある程度傾倒した場合を示し、この状態では紐19aが上方へ引っ張られて緊張し、錘21bが作用していることになる。更に橋12が傾倒すると、図4(e)に示すように、紐19bが緊張し、錘21cが作用することになる。上記のように、橋12の傾倒に応じて錘21a、21b、21c、・・・が順次作用することになり、最終段階では全ての錘21が作用することになる。これにより該橋12は急激に傾倒することなく調整しながら緩やかに傾倒させることが可能となる。
図5は、本発明の傾倒制御装置を備えた機器として建物から突出させるカンティレバー形式の跳ね出しステージ22の実施例を示している。本実施例の機器となる跳ね出しステージ22は、建物から外方へ突出する位置となる建物の端部に設置されることになる。
該跳ね出しステージ22は、ステージ23、該跳ね出しステージ22が設置される建物の端部側の上方部の梁の固定部24と該ステージ23先端の係止具25との間に張られた制御ロープ26、滑車27を介して該係止具25と連結した人力等の操作手段となる牽引ロープ28及び該ステージ23の一端側より立ち上げ形成された傾倒制御装置29とより構成されている。
制御ロープ26は、梁に取着された固定部24と連結され、該ステージ23が立設しているときは、図5(a)に示すように、撓んだ弛緩状態とされ、跳ね出して設置された状態では、図5(b)に示すように、緊張状態となり、これ以下に該ステージ23が傾倒することを防止している。
他方、牽引ロープ28は、該ステージ23が所定位置に徐々に傾倒することができるように操作する手段で、図に示すように、人力によって滑車27を介して操作できるように形成している。
上記傾倒制御装置29は、前記実施例2の傾倒制御装置18と同様、紐30、滑車31及び錘32とより構成され、同様の作用をすることになる。該紐30の一端は該ステージ23先端の係止具25に固定され、滑車31を介して他端は錘32と連結されている(図5(c)に示している)。該ステージ23が一定の角度傾倒すると、該紐30が緊張し、錘32が該ステージ23に作用することになる。従って、該ステージ23は、前記実施例2の図4(c)乃至(e)に示した錘21と同様、該錘32a、32b、32c、32d・・・と紐30a、30b、30c、30d、・・・の作用により急激に傾倒することなく漸次倒れていくことになる。
その際、滑車27を介して該ステージ23の先端の係止具25側と連結されている牽引ロープ28を作業員が操作することで傾倒状態を調整しながら該ステージ23を設置することができる。
上記実施例2、3における傾倒制御装置18、29には、滑車20、31の他に動滑車20’、31’を設けているが、これは係止具17、25による係止部のストロークと錘21、32のストロークとを調整することを可能とするために設けたものである。
上記実施例1乃至3における錘は、いずれも可動機器との関係でその作用させる荷重を適宜調整することができるが、その作用増減は紐と錘の関係で効率的に行うことができる。上記紐に代えて、錘の相互間に、図6(a)、(b)に示すように、ゴムバネ、線バネ、板バネ、圧縮バネ、引張バネ等の各種のものを適宜介在させることにより、上記紐やロープ状のものと同様、錘の作用状態を調整することができ、且つ強度に優れ、劣化を防ぐことができる錘調整機構とすることが可能となる。
また、上記錘相互の連結手段として、上記紐状やバネ状のもの以外に、図7(a)、(b)に示すように、屈折形式のもの、スライド形式のもの等適宜のものを選択することができる。
本発明の傾倒制御装置を備えた機器の一実施例となるバケット車の斜視図。 同バケット車が傾倒した状態を示す斜視図。 同バケット車から被運搬物を排出する状態を示す斜視図。 本発明の傾倒制御装置を備えた機器の他の実施例となる跳ね上げ 橋の側面図。 本発明の傾倒制御装置を備えた機器の他の実施例となる跳ね 上げ橋の側面図。 本発明の傾倒制御装置を備えた機器の他の実施例となる跳ね出し ステージの側面図。 本発明の傾倒制御装置を備えた機器の他の実施例となる跳ね出し ステージの側面図。 錘相互の連結状態に使用する一実施例の側断面図。 紐の他の実施例を示す側断面図。
符号の説明
1 バケット車
2 容器
3 車輪
4 手押し部
5、18、29 傾倒制御装置
6 底板
7 側壁
8 車軸
9、19、30 紐
10、21、32 錘
11 跳ね上げ橋
12 橋
13 立て起し用フレーム
14、20、27、31 滑車
15、28 牽引ロープ
16 巻き上げ機
17、25 係止具
22 跳ね出しステージ
23 ステージ
24 固定部
26 制御ロープ

Claims (6)

  1. 可動機器類において、該機器類本体或いはその一部が一定の角度傾倒すると該機器類本体或いはその一部に負荷が作用し、それらの傾倒を制御する傾倒制御装置を設けてなることを特徴とする傾倒制御装置を備えた機器。
  2. 可動機器類本体或いはその一部と傾倒制御装置とを別体とし、該傾倒制御装置は、該可動機器類本体或いはその一部が一定の角度まで傾倒することを許容できるように連結一体化してなることを特徴とする請求項1に記載の傾倒制御装置を備えた機器。
  3. 傾倒制御装置は、錘及び該錘と可動機器類本体或いはその一部とを連結一体化した所定長の紐状体とよりなることを特徴とする請求項1又は2に記載の傾倒制御装置を備えた機器。
  4. 可動機器類を運搬機器としたことを特徴とする請求項1乃至3のいずれか1に記載の傾倒制御装置を備えた機器。
  5. 運搬機器をバケット車としたことを特徴とする請求項4に記載の傾倒制御装置を備えた機器。
  6. 可動機器類を跳ね上げ橋或いは跳ね出しステージ等の揚重機器としたことを特徴とする請求項1乃至3のいずれか1に記載の傾倒制御装置を備えた機器。
JP2008172864A 2008-07-02 2008-07-02 傾倒制御装置を備えた機器 Expired - Fee Related JP5222637B2 (ja)

Priority Applications (1)

Application Number Priority Date Filing Date Title
JP2008172864A JP5222637B2 (ja) 2008-07-02 2008-07-02 傾倒制御装置を備えた機器

Applications Claiming Priority (1)

Application Number Priority Date Filing Date Title
JP2008172864A JP5222637B2 (ja) 2008-07-02 2008-07-02 傾倒制御装置を備えた機器

Publications (2)

Publication Number Publication Date
JP2010012840A true JP2010012840A (ja) 2010-01-21
JP5222637B2 JP5222637B2 (ja) 2013-06-26

Family

ID=41699387

Family Applications (1)

Application Number Title Priority Date Filing Date
JP2008172864A Expired - Fee Related JP5222637B2 (ja) 2008-07-02 2008-07-02 傾倒制御装置を備えた機器

Country Status (1)

Country Link
JP (1) JP5222637B2 (ja)

Citations (2)

* Cited by examiner, † Cited by third party
Publication number Priority date Publication date Assignee Title
JP3073203U (ja) * 2000-05-11 2000-11-14 株式会社日本キャリア工業 容器の傾倒用具
JP2007015570A (ja) * 2005-07-08 2007-01-25 Toshiba Electric Appliance Co Ltd 台車および自動販売機

Patent Citations (2)

* Cited by examiner, † Cited by third party
Publication number Priority date Publication date Assignee Title
JP3073203U (ja) * 2000-05-11 2000-11-14 株式会社日本キャリア工業 容器の傾倒用具
JP2007015570A (ja) * 2005-07-08 2007-01-25 Toshiba Electric Appliance Co Ltd 台車および自動販売機

Also Published As

Publication number Publication date
JP5222637B2 (ja) 2013-06-26

Similar Documents

Publication Publication Date Title
US9707880B2 (en) Motorcycle lift
KR101639550B1 (ko) 화물차용 리프트 파워게이트
KR102003443B1 (ko) 전자동 화물승강기
US7815410B2 (en) Vehicle parking apparatus and elevator apparatus
JP5222637B2 (ja) 傾倒制御装置を備えた機器
US5807058A (en) Truck deck with ground level loading/unloading position
KR102476247B1 (ko) 실린더 작용점 이동 방식 핸드크레인
CN100436298C (zh) 升运系统及升运系统的连接弹性补偿机构
CN110436354A (zh) 一种铁路货运吊装设备
US3497094A (en) Truck loading and unloading apparatus
US945547A (en) Hoisting and automatic load-dumping mechanism.
JP2007191291A (ja) 部品整列供給装置
KR200322583Y1 (ko) 리프트장치가 구비된 덤프차량
CN108473283A (zh) 具有用于牵引机构的储库的电梯系统
CN215326693U (zh) 一种物料提升机
CN208499386U (zh) 翻斗提升机构
US1854973A (en) Hoisting and loading device
JP6692276B2 (ja) 支持構造、及び、底開き式バケットのホッパーへの載置方法
CN223574435U (zh) 用于混凝土盖板的运输装置
KR102300106B1 (ko) 체인 구동소음이 저감된 특장차용 리프트 게이트
KR200245448Y1 (ko) 컨테이너 지지대의 안전장치
US236684A (en) Donald
JP6712035B2 (ja) ウインチ駆動のダンプ装置、及びこのダンプ装置を積載した車両
US737426A (en) Hoisting and dumping apparatus.
US244874A (en) Grain dumping and elevating device

Legal Events

Date Code Title Description
A621 Written request for application examination

Free format text: JAPANESE INTERMEDIATE CODE: A621

Effective date: 20110311

A977 Report on retrieval

Free format text: JAPANESE INTERMEDIATE CODE: A971007

Effective date: 20120621

A131 Notification of reasons for refusal

Free format text: JAPANESE INTERMEDIATE CODE: A131

Effective date: 20120710

A521 Request for written amendment filed

Free format text: JAPANESE INTERMEDIATE CODE: A523

Effective date: 20120817

TRDD Decision of grant or rejection written
A01 Written decision to grant a patent or to grant a registration (utility model)

Free format text: JAPANESE INTERMEDIATE CODE: A01

Effective date: 20130305

A61 First payment of annual fees (during grant procedure)

Free format text: JAPANESE INTERMEDIATE CODE: A61

Effective date: 20130311

FPAY Renewal fee payment (event date is renewal date of database)

Free format text: PAYMENT UNTIL: 20160315

Year of fee payment: 3

R150 Certificate of patent or registration of utility model

Ref document number: 5222637

Country of ref document: JP

Free format text: JAPANESE INTERMEDIATE CODE: R150

Free format text: JAPANESE INTERMEDIATE CODE: R150

R250 Receipt of annual fees

Free format text: JAPANESE INTERMEDIATE CODE: R250

R250 Receipt of annual fees

Free format text: JAPANESE INTERMEDIATE CODE: R250

R250 Receipt of annual fees

Free format text: JAPANESE INTERMEDIATE CODE: R250

LAPS Cancellation because of no payment of annual fees