JP2010012466A - 一体型反応器、その製造方法並びに、発熱反応及び吸熱反応を同時に実施する方法 - Google Patents
一体型反応器、その製造方法並びに、発熱反応及び吸熱反応を同時に実施する方法 Download PDFInfo
- Publication number
- JP2010012466A JP2010012466A JP2009171869A JP2009171869A JP2010012466A JP 2010012466 A JP2010012466 A JP 2010012466A JP 2009171869 A JP2009171869 A JP 2009171869A JP 2009171869 A JP2009171869 A JP 2009171869A JP 2010012466 A JP2010012466 A JP 2010012466A
- Authority
- JP
- Japan
- Prior art keywords
- reaction chamber
- catalyst
- endothermic
- exothermic reaction
- endothermic reaction
- Prior art date
- Legal status (The legal status is an assumption and is not a legal conclusion. Google has not performed a legal analysis and makes no representation as to the accuracy of the status listed.)
- Granted
Links
Images
Landscapes
- Chemical & Material Sciences (AREA)
- Chemical Kinetics & Catalysis (AREA)
- Organic Chemistry (AREA)
- Physical Or Chemical Processes And Apparatus (AREA)
- Hydrogen, Water And Hydrids (AREA)
- Health & Medical Sciences (AREA)
- General Health & Medical Sciences (AREA)
- Engineering & Computer Science (AREA)
- Combustion & Propulsion (AREA)
- Inorganic Chemistry (AREA)
Abstract
【解決手段】吸熱反応触媒17を含む吸熱反応チャンバ15に吸熱反応組成物を流通させるとともに、熱伝導性のチャンバ壁を介して前記吸熱反応チャンバと隣接して設けた発熱反応チャンバ12に燃料と酸素を供給し、前記発熱反応チャンバに内包される発熱反応触媒14、16の作用のもとに燃料を燃焼させ、発生した熱を前記熱伝導性チャンバ壁を通して前記吸熱反応チャンバに輸送することにより、少ない熱損失で吸熱反応チャンバ内に熱を供給する。
【選択図】図1
Description
目下、マイクロリアクターで実施される吸熱反応は、外部燃焼器からの流出液などの外部供給源由来の熱を使用して運転している。その際、熱を供給するガス細流の温度は、構成材料によって課せられた制約で制限されている。たとえば、インコネル(Inconel)625で組み立てられた典型的なマイクロリアクターは、ガス提供に関する利用では約1050℃以下の温度に限定されている。実際、このことは、外部燃焼器由来の流出液を冷却ガス(すなわち、過剰の空気)で希釈して、材料温度の制約に合うようにガス温度を下げなければならないことを意味している。このため総ガス流速が増加して、ブロワー/コンプレッサのコストが上昇する。さらには、ガス細流を外部から加熱すると、燃焼器をマイクロリアクターに接続するためには、(マイクロリアクターへ熱いガスを送るのと一緒になって)熱損失と高価な高温材料とを投入することになる。
[用語解説]
「シム(間隙調整板):shim」とは、任意の幅及び高さを持ち、好ましくは2ミリメートル(mm)以下、好ましい態様によっては50〜500μmの厚さ(最少寸法)をもつ実質的に平面のプレートまたはシートを指す。
「開放チャネル」とは、ガスが比較的小さい圧力降下で反応チャンバの中を流動できるように、反応チャンバ内を貫通して伸長する全態様での少なくとも0.05mmの隙間(gap)である。
本発明に従った一体型反応器は、発熱反応を触媒し得る触媒を含有する第一の反応チャンバと、吸熱反応を触媒し得る触媒を含有する隣接する第二の反応チャンバとを含有する。反応器チャンバの壁は、前記第一の反応器チャンバと第二の反応器チャンバとを隔てる。
1.発熱反応として燃焼を利用することに関し、近化学量論量の燃料:酸素比(過剰空気100%未満)で安全に操作できる。これにより、必要な空気量が減らせるので、系全体の熱効率を高め、且つ外部空気ブロワーまたはコンプレッサに必要な負荷が減らせる。
3.高い熱流束で操作できる。これには、短い接触時間で操作する必要がある。
5.追加:気相反応の急冷/阻害ができる。チャネル径が急冷直径に近いか、それよりも低下するにつれて、都合の悪い気相均質燃焼反応の寄与分が減少する。
改質器チャネルの触媒は、Technetics、Deland、Florida製のFeCrAlY合金の金属フェルト上に13.8%-Rh/6%-MgO/Al2O3の触媒を含んでいた。この改質触媒は、厚さ0.01インチと90%多孔性のFeCrAlYフェルトをベースとするウォッシュコート法を使用して製造した。ウォッシュコート前に、空気中で2時間、900℃に急速加熱することにより金属フェルトを予備処理した。金属表面と触媒との間の密着性を高めるために、密でピンホールのない界面層を、金属有機化学蒸着法(metal organic chemical vapor deposition:MOCVD)により最初に酸化FeCrAlYフェルト上にコーティングした。この界面層は、Al2O3、Al2O3+SiO2またはTiO2などであってもよい。たとえばTiO2をコーティングしたとき、チタニウムイソプロポキシド(Strem Chemical、Newburyport、MA)を、250〜900℃の温度、0.1〜100トール(torr)の圧力で蒸着した。フォームに対して優れた接着性を持つチタニアコーティングは、600℃の蒸着温度及び3トール(torr)の反応器圧力で得られた。この層は金属フェルトと触媒との間の接着性を高めただけでなく、水蒸気改質反応の間、FeCrAlYが腐蝕しないようにも保護した。13.8重量%Rh6重量%MgO/Al2O3粉末化触媒は、1)高表面積ガンマ-アルミナを500℃で5時間焼結し;2)硝酸マグネシウムの水溶液を使用する初期湿潤法を利用してガンマ-アルミナをMgOで含浸させて、MgO変性ガンマ-アルミナ支持体を得;3)この変性支持体を110℃で4時間乾燥し;続いて4)900℃で2時間、二回目の焼結をし;5)硝酸ロジウム溶液で初期湿潤法を使用して、この変性支持体をRh2O3で含浸させ;6)続いて110℃で4時間最終乾燥し;次いで7)500℃で3時間最終焼結させて、担持触媒粉末を得ることにより製造した。触媒コーティングスラリーは、1:6の割合で上記粉末触媒と脱イオン水とを混合することにより製造した。この混合物を24時間ボールミルにかけて、1ミクロン未満の触媒粒子を含有するコーティングスラリーを得た。熱処理し、CVDコーティングしたフェルトは、このフェルトを触媒スラリー中に浸漬することによってウォッシュコートした。このウォッシュコートプロセスを繰り返して、所望の重量増加を得た。それぞれのコーティングの間に、触媒をコーティングしたフェルトを、100℃のオーブン中で1時間乾燥した。このコーティング手順を繰り返して、所望のコーティング厚さまたは触媒充填量を得た。最終コーティング段階の後、触媒を100℃のオーブン中で一晩乾燥し、次いで空気中、2℃/分の速度で300℃〜500℃の温度にゆっくりと加熱することにより焼結した。コーティング化触媒の量を測定すると、フェルト1平方インチ(6.5cm2)当たり触媒0.1グラムであった。水蒸気改質試験の前に、加工処理済み触媒フェルトを活性化処理、好ましくは300℃〜400℃での還元に暴露した。
加工処理済み燃焼触媒は、Technetics製FeCrAlYフェルトをベースとしても製造した。加工処理済み水蒸気改質触媒の製造と同様に、このFeCrAlYフェルト基板を最初にマッフル炉(muffle furnace)(傾斜速度:ramping rate=20℃/分)で、空気中、900℃で2時間熱した。燃焼プロセス後、このフェルトを室温に冷却した。次いでこれをミクロンサイズのガンマAl2O3粒子を含有するコロイドAl2O3溶液(PQコーポレーション製)中に浸漬コーティングした。この段階は、フェルトを溶液中に浸漬し、次いで吸着シート上でフェルトの余分な溶液を取り除き、続いて110℃で一晩真空乾燥することにより実施した。このサンプルを500℃に3時間加熱してから、Pdを添加した。このPdは、今はAl2O3層を含有する加工処理済み基板を、20重量%Pd(NO3)2溶液(Engelhard製)に浸漬することにより添加した。過剰のPd(NO3)2溶液を除去し、サンプルを真空下、110℃で少なくとも4時間乾燥した。350℃に2℃/分で加熱し、次いでその温度で等温的に3時間、保持することにより、最終焼結を実施した。製造したPd/Al2O3加工処理済み触媒は、Al2O3上47重量%Pdの公称充填量と、0.126g触媒/gFrCrAlYである。
一体型燃焼反応器(ICR)
この一体型接触燃焼反応器は、単一の接触燃焼チャネルと壁を共有する単一メタン水蒸気改質装置チャネルから構成されていた。熱は、高温(燃焼)側から低温(改質反応)側へこの共通する壁の中を通って移動し、吸熱反応を生じさせた。ICRの一つのデザイン(バージョン1)では、燃焼細流用のヘッダ空間(header space)もフッタ空間(footer space)も有さず、代わりに触媒の上に直接、混合していない燃焼ガスを導入した。これは、触媒の上流で(すなわち、ヘッダで)均質燃焼が起きないように確保するためであった。改質器側のもの(図8参照)と同一の、燃焼側上に0.25インチ(6.4mm)×0.4インチ(10.2mm)のヘッダ空間とフッタ空間を含むICRの第二のデザイン(バージョン2)を製造した。これは燃焼器側でのチャネル形成の可能性を減少し、反応器の幅全体にわたって流れ(及び反応熱)をより均一に分配して、触媒寿命を長期化し、改質器転換率を高めるために実施した。それぞれのICRユニットの全寸法は、0.23インチ×0.5インチ×1.7インチであり、それぞれの触媒の寸法は、0.01インチ×0.5インチ×1.0インチであった。この実施例だけの熱流束計算の目的に関しては、残存触媒容積が反応体の流れで閉塞するので、0.4インチの触媒幅を算入した。改質器及び燃焼器チャネル触媒は両方とも、一度組み立てるとフローバイ隙間がないので、触媒の中を貫通する反応体の流れを伴って作用し(従って極端に大きく圧力降下し)た。使用した試験実験条件を表1に示す。燃焼燃料及び空気は予熱せず、SMR反応体を約600〜650℃まで予熱した。出口圧力については報告しないが、周囲気圧に近かった(〜約1絶対バール)。
バージョン1
最大燃焼器出口温度を1050℃未満としつつ、5%過剰の空気(燃焼当量比0.95)で一体型燃焼反応器で水素転換率99.9%を達成した。対照的に、外部水素燃焼器は、断熱的燃焼生成物温度を1050℃以下に保持するのに、186%の過剰の空気(燃料当量比0.35)が必要であった。燃焼器チャネル内の典型的な圧力降下は、1.75ミリ秒(ms)の接触時間では約〜40psigであった。一体型燃焼器のマイクロリアクターでの圧力降下は、第一に流速が非常に大きいこと(接触時間が非常に短いこと)と、第二に空気が(非常に狭い環を通って)供給されることにより、燃焼側で非常に高かった。
ICRバージョン2の燃焼器にヘッダを装備すると、燃焼器と改質器の両方の運転効率が大きく高まった。ICRバージョン2の燃焼器試験結果を表2に示す。ICRバージョン2の燃焼器側部を横切る最大圧力降下は、全チャネル接触時間2.8ミリ秒でCH4/空気に関して5.4バール(78psid)であった。
バージョン2の燃焼器のより効率的且つより均一に実行できる能力により、本水蒸気改質器は、バージョン1の改質器よりもずっと高い転換率を達成し得た。バージョン2のICRの結果は、図11〜12に示す。予想されたように、温度上昇に伴って転換率は上昇するが(図11参照)、ヘッダ、フッタ及び本体温度は、内部ガス温度よりもずっと低いだろうから、改質器内部の温度はそのような小さな装置では確認するのが難しい。40〜20ミリ秒に接触時間を減らすとSRメタン転換率も減少する(図12参照)が、処理量が増加するに連れて温度も(少なくとも25℃だけ)低下するので、変化が強調される。COに対する選択性は温度上昇に伴って顕著に増加するが(図11参照)、接触時間の増加には伴わない(図12参照)。最高SR転換率は、最も熱い条件であり(65.4Wthermalメタンは、43%過剰空気で燃焼した)、ここでは98.6%メタン転換率及び66%のCO選択率が、48psigの供給材料圧力、水蒸気:炭素=3:1及び38.0ミリ秒(SR)の接触時間で達成された。最高燃焼器温度で1.5時間運転した後、転換率は98.0%に低下し、やや失活したという証拠が示された。最低SRメタン転換率は、19.0ミリ秒のSR接触時間で93.6%であった。本水蒸気改質器は、全部で6.5時間稼働した。炭素バランスは、一つの条件だけ除いてほぼ±4%以内であった。
以下は、実施例1での重要な知見である。
1.一体型水素/空気燃焼(フローバイ構成)は、ヘッダがデザインに含まれる場合、よく混合した、均一分散細流、少量の過剰空気及び、3.2ミリ秒と短い総チャネル接触時間に関しては、非常に前途有望のようである。これらの燃焼器(CR)条件下では、100%のH2転換率が達成された。一体型メタン/空気燃焼(フローバイ構成)は、ヘッダがデザインに含まれる場合、よく混合した、均一分散細流、少量の過剰空気及び、2.7ミリ秒と短い総チャネル接触時間に関しては、非常に見込みがあるようだ。驚くべき99.6%のCH4転換率と、CO2に対する100%の選択性は、これらのCR条件と、空気予備加熱なしで達成された。そのような性能は、外部接触燃焼器におけるメタン燃焼に関しては、少なくとも5倍以上長い接触時間(及び空気予備加熱約400℃)が必要であった。
4.これらのICRデバイスのデザイン(バージョン1&2)により、温度(約850℃〜900℃)で、40ミリ秒のSR接触時間で運転したときに、改質器(約〜3.3バールまたは48psid)と燃焼器(約〜5.4バールまたは78psid)のいずれにおいても予想外に大きな圧力降下が起きた。
この実施例は、熱生成(発熱性)及び熱消費(吸熱性)反応チャネルが直ぐ隣接している(一体化している)、高効率、高処理量の小さなマイクロチャネル反応器のデザイン、組み立て、及び試験結果について記載する。空気中の水素の燃焼を発熱反応として利用し、同時に水蒸気対炭素モル比3:1でのメタンの水蒸気改質を吸熱反応として利用した。新しいICRデザイン(フローバイ)を使用すると、多孔質加工処理済み触媒に隣接する狭い(0.125mm)隙間に反応体細流をそれぞれ流しておくことによって、最少(すなわち<11psi)の圧力降下で、ずっと多い処理量が可能になった。この新しいデザインは、両側に改質器チャネルによって側面に配置された(二つのマイクロチャネルの)中心燃焼領域を含んでいた。
1.一体型燃焼器反応器(ICR)デバイスを設計、組み立て、改質器と燃焼器チャネルでそれぞれ0.76バール(11psid)及び0.46バール(7psid)の圧力降下で、13.2W/cm2の熱伝達速度を到達できることが示された。
[実施例3]
この実施例は、熱生成(発熱)及び熱消費(吸熱)反応チャネルが互いに交互配置(一体化)されたマルチチャネル交互配置(interleaved)マイクロチャネル反応器の設計及び試験について記載する。空気中の水素の燃焼を発熱反応として利用し、同時に水蒸気対炭素モル比2:1でメタンの水蒸気改質を吸熱反応として利用した。いずれの反応の圧力も大気圧程度であり、系の圧力降下を乗り切るのに必要な圧力で操作した。SMR側に関しては、典型的な操作圧力は139kPa(5.5psig)であり、燃焼側での典型的な操作圧力も137kPa(5.2psig)であった。中実チャネル壁または熱伝達面と緊密に熱的接触している多孔質の加工処理済み触媒の二層間の狭い(約0.2mm)隙間にそれぞれのチャネル(発熱か吸熱)の反応体細流が流れるようにすることにより、最少(<0.2バールまたは3psid)圧力降下でずっと多い処理量となる、フローバイデザイン(フローバイ)を使用した。反応体は実質的に、隙間から多孔質の加工処理済み触媒へ拡散する。次いで反応体は、熱伝達表面に近接する多孔質の加工処理済み触媒内に拡散し反応し続ける。このデザインは、並流配置の10個の改質器チャネルの間に交互に重ねられた9つの燃焼チャネルを含んでいた。一体型燃焼反応器(ICR)試験結果は、このICRの概念はマルチチャネルデバイスでの利用に関しスケールアップ可能であることを示した。
圧力降下が最小で、非常に高い吸熱反応に一際高い熱流束(最大29W/cm2以下と118W/cm3)を提供し得る一体型燃焼マイクロチャネル反応器をデザインし、組み立て、証明した。この報告は、熱の生成(発熱)及び熱の消費(吸熱)反応チャネルが交互配置されている(一体化)マルチチャネル一体型マイクロチャネル反応器のデザイン及び試験について記載する。空気中での水素の燃焼を発熱反応として利用し、同時に水蒸気対炭素モル比2:1を利用するメタンの水蒸気改質(SMR)を吸熱反応として利用した。中実チャネル壁または熱伝達表面と本質的に熱接触する二層の多孔質加工処理済み触媒の間の狭い(約0.3mm)隙間に、それぞれのチャネル(発熱または吸熱)の反応体細流を流すことによって、最少(<0.34バール)の圧力降下でもっと高い処理量を可能にする、フローバイデザインを使用した。このデザインには、並流配置で6つの改質器チャネルの間に差し込まれた5つの燃焼チャネルが含まれていた。この試験結果は、マイクロチャネル一体型燃焼デバイスを使用して、慣用の改質器で可能であったよりもずっと高い容積あたり熱流束(すなわち118W/cm3)を伝達でき、これらの熱流束は最小圧力降下(0.28〜0.34バール)で達成可能であることを示している。非常に高い気体空間速度(たとえば、106/時間)で高い転換率も可能であった。
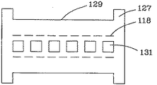
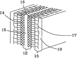
燃焼と一体となった高熱流束マルチチャネル反応デバイスを設計し、組み立て、試験した。このデバイス本体は、1インチ×1.37インチ×1.7インチ(2.5cm×3.48cm×4.3cm)の中実金属ブロックにワイヤEDMを使用してスロットを形成することによりインコネル625から製造した。入口ガスマニホールドと出口ガスマニホールド(すなわちヘッダとフッタ)を含む外部カバープレートをそれぞれ機械加工して、本体に溶接した。ヘッダはそれぞれチャネルからチャネルへ、そしてそれぞれのチャネル内に均一に流れが分配されるように設計した。このデバイス外部の図面が図19aに示されており、入口102、水素入口104、改質器供給材料入口106、改質器生成物出口108及び改質器出口110を含む。試験をする目的に関しては、温度のモニターは、熱電対112によって実施した。図19の小さな管112は全て熱電対の管である。図19bと19cは一体型改質器の分解部品配列図を示す。空気をヘッダ114に供給し、それぞれのスロットの中で等圧で、スロット116に等圧で分配する。同様に、水素をそれぞれの管に等圧で、溝付き管118に入口104を通して供給する。この管118は、水素入口からマニホールド本体120まで伸長する。ガス混合機125の概略図を図19dと図19eに示す(一定の比例に拡大して描かれていない)。突起127は空気フロー用の隙間129を画定する。スロット131を出た水素は、チャネル133を通過し、反応器本体124内の燃焼チャンバ122で空気と混合される。図に示すように、このデザインでは燃焼チャンバの中で且つ燃焼触媒137の非常に近くで空気と燃料を混合する。従って、燃焼チャンバの外の燃焼によるヒートロスを防ぐことができる。水蒸気改質器供給材料をヘッダ130に供給して、等圧で水蒸気改質器チャンバ正面に通す。それぞれのチャンバ132内の改質物の流れの説明が図20に示されている。プレート134は、改質器チャンバの上部及び底部に対して改質器触媒を押し付ける支持体136をもつ。
高い熱流束の一体型燃焼マイクロチャネル反応器を使用した試験結果を表5と、図21〜24に示す。メタンの転換率は、非常に高い空間速度(106/時間以下、図21を参照されたい)でさえも、一酸化炭素と水素に対する平衡転換率及び平衡選択性に近づいた。
29W/cm2の高い熱流束と、118W/cm3の容積当たり熱流束で、改質器及び燃焼器側で1インチの反応器の流れの長さ当たりそれぞれ4psi及び5psi未満の圧力降下で、高いメタン転換率を達成し得る一体型燃焼マイクロチャネル反応器を設計、組み立て、試験した。このマイクロチャネルデバイスでは、2:1の水蒸気:Cの割合で、約1気圧及び850℃の平均壁温度で、非常に高い気体の時間当たり空間速度(1.3×105〜1.0×106)に関し、平衡に近いメタン転換率(73〜98%)を達成した。この高い熱流束マイクロチャネル反応器は、20%もの低い過剰の燃焼空気で操作が可能であることが判明した。
分配燃料注入及び交差流改質及び燃焼流れ配置の一体型燃焼マイクロチャネル反応器をデザインし、組み立て、実証した。この実施例は、このマイクロチャネルのデザインと試験について記載する。空気中での水素の燃焼を発熱反応として利用し、水蒸気対炭素モル比3:1を利用するメタンの水蒸気改質(SMR)を吸熱反応として利用した。このデバイスは、SMRチャネルに対して交差流配置で流れる3つの燃焼フローバイチャネルをもつ単一SMRフローバイチャネルを含んでいた。SMR反応体を壁と、中実チャネル壁または熱伝達表面と本質的に(intimate)熱接触する多孔質加工処理済み触媒層の壁との間の0.13mmの隙間に流した。それぞれが壁に燃焼触媒がコーティングされた3つの平行な2.5mm円筒型チャネルに燃焼空気を流した。燃焼チャネルの流れる長さに沿って均等に分配された3つの点で、燃焼チャネルに水素燃料を注入した。それぞれの燃焼チャネルは、0.5mmノッチを付けて捻ったインコネルシート材料で製造したスタティックミキサー(static mixer)も含んでいた。この試験結果は、この交差流一体型燃焼装置が高い熱流束(約15W/cm2)を得ることができることを示している。非常に高い空間速度で高い転換率も到達可能であった。
燃焼と一体化された交差流マイクロチャネル反応デバイスを設計し、組み立て、試験した。このデバイス本体は(図25を参照されたい)、それぞれ大体2.3インチ×1.2インチ(5.8cm×3.0cm)の燃焼プレート200(1.1cm厚さ)とSMRプレート202(約0.6cm厚さ)の両方を形成するように、ワイヤEDMと慣用切削法を利用してインコネル625から製造した。次いで加工処理済みSMR触媒をプレートの間のSMRチャネルに設置し、2片を一緒に溶接してデバイスをシールした。それぞれ幅0.5インチ(1.3cm)×長さ0.45インチ(1.1cm)の4つの隆起領域を、壁(熱伝達表面)に対して触媒を保持するようにSMRチャネルに均等に分配した。このSMR触媒は1.5インチ×0.45インチ×0.011インチ厚さであり、スロットの厚さが0.016インチであった以外には、等しい寸法のスロットの中に設置した。入口と出口のガスマニホールド(すなわちヘッダとフッタ)を含む外部カバープレートをそれぞれ機械加工して、3つの別個の入口管を通って供給される燃焼燃料入口以外は、本体に溶接した。このSMRヘッダは、0.005インチ(0.013cm)のフローバイ隙間に流れる前に、1.5インチ(3.8cm)触媒幅を均等に横切って流れを分配するように設計された。燃焼空気は、SMRチャネルに対して交差流配置の3つの0.1インチ(0.3cm)径の円筒状フローバイチャネルに流れた。壁に燃焼触媒がそれぞれコーティングされた、3つの平行2.5mm円筒状チャネルの流れに対して反対の壁から注入された、水素燃料を燃焼空気と混合した。それぞれの燃焼チャネルの流れの長さに沿って0.5インチ(0.13cm)毎に分配された3つの点で、水素燃料を0.012インチ(0.0030cm)穴の燃焼チャネルに注入した。0.5mmのノッチを付けて捻ったインコネルシート材料で製造したスタティックミキサーを、空気と燃料とをそれぞれのチャネルで混合しやすくしたそれぞれの燃焼チャネルに挿入した。燃焼触媒は燃焼チャネルの壁及びスタティックミキサーにコーティングして、燃料/空気混合物の接触燃焼を促進させた。試験の間、本デバイスは、セラミックファイバ断熱材で断熱した。
交差流一体型燃焼マイクロチャネル反応器を使用した試験結果を以下の表と、図26に示す。重要な特徴としては、触媒を壁に直接適用したこと;スタティックミキサーを反応チャンバに挿入したこと;燃料を分配したこと;及び燃焼流体と改質物を交差流配置にしたことが挙げられる。
[実施例6]
[設計及び操作]
一体型改質・燃焼反応器を、交差流配置で評価した。単一SMRスロットは3つの燃焼シリンダに隣接していた。
2.最初の長さ0.25インチの区分を始まりの配置から90゜捻った。
4.第二の長さ0.250インチの端部を、最初の長さ0.250インチの区分との反対方向に90゜に捻った。
本デバイスを、水蒸気対炭素モル比3:1で、12絶対気圧及び850℃で、接触時間5ミリ秒で改質反応に関して実証した。本デバイスは、図27に見られるように、平衡転換率をもたらした。メタン転換率とCO選択性は、次の5.5日の時間では連続的に低下した。条件を2:1の水蒸気対炭素モル比に代え、温度、圧力及び接触時間は一定に保持して、活性損失を継続した。表5に示されるように、このデバイスは、実質的な熱流束と平均容積あたり熱流束を示した。この最初の2つの設定は、5ミリ秒の接触時間での水蒸気対炭素モル比3:1であり、設定#1は図27の実験の最初の部分を指し、設定#2は、実験の最後の方を指す。同様に、以下の表の設定#3と設定#4は、図27にも示されている5ミリ秒の接触時間で、2:1の水蒸気対炭素モル比での開始及び収量性能を指す。全てのデータは、830〜840℃のSMR反応体入口温度を反映する。
[熱流束測定試験]
850℃、1.70バール(10psig)、3:1の水蒸気対炭素モル比及び、100ミリ秒の接触時間で、メタン水蒸気改質反応のために本デバイスを運転した。接触時間とは、標準温度及び圧力(STP:273K及び1絶対気圧)における反応体の全容量当たり入口流速で割った全反応容積として定義する。全反応容積は、触媒を含む反応チャネル容積と水蒸気改質触媒とを含める。
1.使用しなければならない気相燃料は水素である。
4.空気と水素は、燃焼反応器の直ぐ上流のマニホールドか、または反応器それ自体で混合されなければならない。
6.80%過剰空気条件をベースとして、メタン水蒸気改質反応器を通るメタン流速0.15SLPM当たり、燃焼反応器を通る対応最小空気流速及び最大空気流速は、それぞれ0.600SLPMと0.875SLPMである。
[ICR用の圧力試験−高温試験]
好ましい態様において、本明細書中に記載のいずれのデバイスも、内部圧力差に耐えられる。たとえば、好ましい態様によっては、以下の圧力試験の要件を満たす。約2mm未満の少なくとも一つの臨界チャネル寸法をもつマイクロチャネルユニット運転デバイスについて、少なくとも二つの入口流体細流で実施する。第一の流体細流は850℃及び180psigでなければならない。第二の液体細流は800℃及び10psigでなければならない。任意の流速を使用することができる。ガスの流れを使用して300時間にわたってデバイスを運転する。300時間の操作後、それぞれの流体のフローライン(flow line)を50psigに加圧し、2時間保持する。圧力は一定のままでなければならず、このことは環境への漏洩路が極小であることを示す。次いで第二の流体フローラインを50psigに加圧し、第一の流路フローラインを大気圧に対して開いたままとし、2時間保持する。圧力は一定のままでなければならず、このことは内部漏洩路が極小であることを示す。極小漏洩路とは、ヘリウムを最終漏洩試験用の流体として使用するときに、1秒当たりヘリウム10-6標準立方センチメートル未満の漏洩速度として定義する。
Claims (40)
- 一体型反応器内で吸熱反応を行う方法であって、
発熱反応組成物を少なくとも1の発熱反応チャンバに通すことと、
該発熱反応チャンバは、少なくとも1の吸熱反応チャンバと隣接する少なくとも1の発熱反応チャンバ壁を具備し、少なくとも1の吸熱反応チャンバと隣接する少なくとも1の発熱反応チャンバ壁と少なくとも接触している発熱反応触媒を内包し、
該発熱反応触媒は、該発熱反応チャンバ内に露出した表面を有し、該発熱反応触媒の露出した表面と該発熱反応チャンバ内の第2の表面とは該発熱反応チャンバ内に開放チャネルを画定し、該開放チャネルは、運転中に該発熱反応チャンバをガスが移動する方向に対して直交する方向に2mm以下の厚みを有し、
ここで該発熱反応組成物は、該発熱反応チャンバ内で50ミリ秒以下の接触時間を有し、該発熱反応組成物は、該発熱反応チャンバ内で反応して発熱し、
吸熱反応組成物を少なくとも1の吸熱反応チャンバに通すこと
を含む方法。 - 前記発熱反応触媒は、5〜98%の細孔容積を有し、該細孔容積の少なくとも20%は0.1〜300μmの範囲にある寸法の細孔である、請求項1に記載の方法。
- 前記吸熱反応チャンバは入口と出口とを有し、該入口と出口との間の圧力降下は該吸熱反応チャンバの長さ1cm当たり250,000Pa未満である、請求項1又は2に記載の方法。
- 前記吸熱反応チャンバは突起及び該突起上にコーティングされた吸熱反応触媒を具備する、請求項1又は2に記載の方法。
- 前記発熱反応チャンバ壁は開口部を具備し、該開口部を通って酸素が前記発熱反応チャンバ内に通過し、酸素と燃料との反応は主として前記発熱反応触媒上で生じる、請求項1に記載の方法。
- 前記発熱反応チャンバは、発熱反応チャンバの幅を部分的に覆って延在するフィンを具備する、請求項1に記載の方法。
- 前記発熱反応チャンバは入口と出口と該入口から出口に至る連続バルク流路とを有し、該入口から該出口に至る圧力降下は装置入口圧力の20%未満である、請求項1〜6のいずれか1項に記載の方法。
- 前記吸熱反応チャンバは入口と出口と該入口から出口に至る連続バルク流路とを有し、該入口から該出口に至る圧力降下は装置入口圧力の20%未満である、請求項1〜7のいずれか1項に記載の方法。
- 前記発熱反応チャンバは、50ppm未満のNOxを発生させる、請求項1〜8のいずれか1項に記載の方法。
- 前記発熱反応組成物は、50%未満の過剰の空気と反応する、請求項1〜9のいずれか1項に記載の方法。
- 前記吸熱反応は炭化水素蒸気改質反応であり、前記吸熱反応組成物は炭化水素及び水を含み、前記吸熱反応組成物は50ミリ秒未満の接触時間で少なくとも1の吸熱反応チャンバを通り、少なくとも1の吸熱反応チャンバに入る炭化水素の転化平衡の少なくとも90%が水素、一酸化炭素及び二酸化炭素に転化する、請求項1〜10のいずれか1項に記載の方法。
- 前記吸熱反応チャンバは、Rhを含む吸熱反応触媒を内包する、請求項1〜11のいずれか1項に記載の方法。
- 前記発熱反応組成物及び前記吸熱反応組成物は、一体型反応器内に並流で存在する、請求項1〜12のいずれか1項に記載の方法。
- 前記吸熱反応はメタン蒸気改質反応である、請求項1〜13のいずれか1項に記載の方法。
- 前記発熱反応組成物は、48%〜75%の過剰の空気と反応する、請求項1〜14のいずれか1項に記載の方法。
- 前記反応器内部の最高温度は950℃以下である、請求項1〜15のいずれか1項に記載の方法。
- 前記吸熱反応チャンバ内の温度は750℃〜850℃の間である、請求項1〜16のいずれか1項に記載の方法。
- 前記発熱反応組成物はメタンを含む、請求項1〜17のいずれか1項に記載の方法。
- 前記吸熱反応は脱水素反応を含む、請求項1に記載の方法。
- 前記発熱反応チャンバ内の発熱反応組成物と前記吸熱反応チャンバ内の吸熱反応組成物とは同じ方向に流れ、前記発熱反応チャンバに流入及び流出する流れとは異なる一体型反応器の面にマニホールド接続を提供するために、前記吸熱反応チャンバに流入及び流出する流れは前記吸熱反応チャンバを通過する流れに対して直交する、請求項1〜19のいずれか1項に記載の方法。
- 前記発熱反応組成物の流れと前記吸熱反応組成物の流れの両者に、同時に変化が生じる、請求項1〜20のいずれか1項に記載の方法。
- 2mm以下の幅を持つ第一の反応チャンバであって、該第一の反応チャンバ内を通る開放チャネルがあり、該第一の反応チャンバは5〜95容積%の多孔質触媒と5〜95容積%の開放空間とを含む内容積を有し、該多孔質触媒は5〜98%の細孔容積を有し、該細孔容積の少なくとも20%は0.1〜300μmの範囲の寸法の細孔である、第一の反応チャンバと;
2mm以下の幅をもつ第二の反応チャンバであって、該第二の反応チャンバを通る開放チャネルがあり、該第二の反応チャンバは触媒と少なくとも5容積%の開放空間とを含む内容積を有する、第二の反応チャンバと;
前記第一のチャンバと前記第二のチャンバとを隔てている反応チャンバ壁と
を具備する一体型反応器。 - 前記一体型反応器は、標準NOx試験測定法に従って測定したときに100ppm未満のNOx発生特性を有する、請求項22に記載の一体型反応器。
- 熱伝導性材料の単一ブロックを設け;
該熱伝導性材料の単一ブロックの上に、少なくとも1の第1のマイクロチャネルを形成し;
該熱伝導性材料の単一ブロックの上に、少なくとも1の第2のマイクロチャネルを形成し;
該少なくとも1の第1のマイクロチャネル内に、発熱反応を促進し得る少なくとも1の触媒を設置し;
該少なくとも1の第2のマイクロチャネル内に、吸熱反応を促進し得る少なくとも1の触媒を設置する;
ことを含み、前記第1のマイクロチャネルと第2のマイクロチャネルとは1cm未満だけ離れている、一体型反応器を製作する方法。 - 前記マイクロチャネルを形成することは、ワイヤEDM(放電加工)によりなされる、請求項24に記載の方法。
- 一体型反応器内で吸熱反応を行う方法であって、
少なくとも1の吸熱反応チャンバ内に吸熱反応組成物を通すことと、
少なくとも1の発熱反応チャンバ内に発熱反応組成物を通すことと、を含み、
該発熱反応チャンバは、少なくとも1の吸熱反応チャンバに隣接する少なくとも1の発熱反応チャンバ壁を具備し、
該吸熱反応チャンバは、少なくとも1の発熱反応チャンバ壁に隣接する少なくとも1の吸熱反応チャンバ壁と少なくとも接触している吸熱反応触媒を内包し、
該吸熱反応触媒は、5〜98%の細孔容積を有する多孔質触媒であり、該細孔容積の少なくとも20%は0.1〜300μmの範囲の寸法を有する細孔であり、
該吸熱反応触媒は、該吸熱反応チャンバ内に露出した表面を含み、
該吸熱反応触媒の露出した表面と吸熱反応チャンバ内の第2の表面とは吸熱反応チャンバ内に開放チャネルを画定し、
該開放チャネルは、運転中に該発熱反応チャンバをガスが移動する方向と直交する方向に2mm以下の厚みを有する
方法。 - 前記発熱反応チャンバ内に、燃料を分散して噴射する、請求項26に記載の方法。
- 前記吸熱反応組成物は、アルカン及び水を含有する、請求項26に記載の方法。
- 前記発熱反応組成物は、空気及び燃料を含有し、
少なくとも1の発熱反応チャンバ及び少なくとも1の吸熱反応チャンバの間の容積当たりの熱容積が容積当たり熱流束測定試験により測定した際に1W/cc以上となるように制御される、請求項28に記載の方法。 - 前記発熱反応組成物は、50ppm未満のNOxを含む生成物に転化される、請求項29に記載の方法。
- 前記吸熱反応組成物は、1種類のアルカンのみを含有する、請求項28に記載の方法。
- 一体型反応器内で吸熱反応を行う方法であって、
少なくとも1の吸熱反応チャンバに吸熱反応組成物を通すことと、
少なくとも1の発熱反応チャンバに発熱反応組成物を通すことと、を含み、
該発熱反応チャンバは、少なくとも1の吸熱反応チャンバに隣接する少なくとも1の発熱反応チャンバ壁を具備し、
該吸熱反応チャンバは、少なくとも1の発熱反応チャンバに隣接する少なくとも1の吸熱反応チャンバ壁と接触している吸熱反応触媒を内包し、
該吸熱反応触媒は、5〜98%の細孔容積を有する多孔質触媒であり、該細孔容積の少なくとも20%は0.1〜300μmの範囲の寸法の細孔であり、
該吸熱反応触媒は、吸熱反応チャンバ内に露出した表面を有し、
該吸熱反応触媒の露出した表面と吸熱反応チャンバ内の第2の表面とは吸熱反応チャンバ内に開放チャネルを画定し、該開放チャネルは、運転中に吸熱反応チャンバをガスが移動する方向と直交する方向に2mm以下の厚みを有し、
該発熱反応組成物は、空気及び燃料を含有し、
該発熱反応組成物は、100ppm未満のNOxを含有する生成物に転化される、方法。 - 前記燃料は、水素又はメタンを含む、請求項32に記載の方法。
- 前記吸熱反応はメタンの蒸気改質反応を含む、請求項32に記載の方法。
- 発熱反応チャンバと、
突起及び該突起上にコーティングされている吸熱反応触媒を含む吸熱反応チャンバと、を具備し、
該発熱反応チャンバは、該吸熱反応チャンバに隣接する少なくとも1の発熱反応チャンバ壁を具備し、
該発熱反応チャンバは、該吸熱反応チャンバに隣接する少なくとも1の発熱反応チャンバ壁に接触している発熱反応触媒を内包し、
該発熱反応触媒は、該発熱反応チャンバ内に露出した表面を有し、該発熱反応触媒の露出した表面と該発熱反応チャンバ内の第2の表面とは該発熱反応チャンバ内に開放チャネルを画定し、
該開放チャネルは、運転中に該発熱反応チャンバをガスが移動する方向と直交する方向に2mm以下の厚みを有する
一体型反応器。 - 前記発熱反応チャンバは、入口、出口、及び該入口から該出口に至る連続バルク流路を有する、請求項35に記載の一体型反応器。
- 前記吸熱反応チャンバは、入口、出口、及び該入口から該出口に至る連続バルク流路を有し、該入口から該出口に至る圧力降下は装置入口圧力の20%未満である、請求項35又は36に記載の一体型反応器。
- 前記一体型反応器は、標準NOx試験測定により測定した際に100ppm未満のNOx発生特性を有する、請求項35〜37のいずれか1項に記載の一体型反応器。
- 前記吸熱反応触媒はRhを含む、請求項35〜38のいずれか1項に記載の一体型反応器。
- 一体型反応器を起動させる方法であって、
不活性ガスを一体型反応器内の燃焼チャネル及び改質チャネルに流し、
燃焼チャネルに水素を流して、水素に着火し、続いて、
改質チャネルにメタンを導入する
ことを含む方法。
Applications Claiming Priority (4)
| Application Number | Priority Date | Filing Date | Title |
|---|---|---|---|
| US26962801P | 2001-02-16 | 2001-02-16 | |
| US60/269,628 | 2001-02-16 | ||
| US10/076,875 | 2002-02-14 | ||
| US10/076,875 US6969506B2 (en) | 1999-08-17 | 2002-02-14 | Methods of conducting simultaneous exothermic and endothermic reactions |
Related Parent Applications (1)
| Application Number | Title | Priority Date | Filing Date |
|---|---|---|---|
| JP2002564036A Division JP2004537392A (ja) | 2001-02-16 | 2002-02-15 | 一体化反応器、その製造方法並びに、同時に発熱反応及び吸熱反応を実施する方法 |
Related Child Applications (1)
| Application Number | Title | Priority Date | Filing Date |
|---|---|---|---|
| JP2014038539A Division JP2014131804A (ja) | 2001-02-16 | 2014-02-28 | 一体型反応器、その製造方法並びに、発熱反応及び吸熱反応を同時に実施する方法 |
Publications (2)
| Publication Number | Publication Date |
|---|---|
| JP2010012466A true JP2010012466A (ja) | 2010-01-21 |
| JP5623715B2 JP5623715B2 (ja) | 2014-11-12 |
Family
ID=34134919
Family Applications (1)
| Application Number | Title | Priority Date | Filing Date |
|---|---|---|---|
| JP2009171869A Expired - Fee Related JP5623715B2 (ja) | 2001-02-16 | 2009-07-23 | 一体型反応器、その製造方法並びに、発熱反応及び吸熱反応を同時に実施する方法 |
Country Status (2)
| Country | Link |
|---|---|
| JP (1) | JP5623715B2 (ja) |
| ZA (1) | ZA200306075B (ja) |
Cited By (4)
| Publication number | Priority date | Publication date | Assignee | Title |
|---|---|---|---|---|
| JP2014526962A (ja) * | 2011-07-19 | 2014-10-09 | ヴェロシス インコーポレイテッド | マイクロチャネルリアクタ及び製作工程 |
| JP2016195993A (ja) * | 2010-10-18 | 2016-11-24 | ヴェロシス,インク. | マイクロチャネルプロセス装置 |
| JP2017527432A (ja) * | 2014-07-09 | 2017-09-21 | レール・リキード−ソシエテ・アノニム・プール・レテュード・エ・レクスプロワタシオン・デ・プロセデ・ジョルジュ・クロード | 加法的プロセスにおいて製造される交換器および/または反応器−交換器 |
| US10118148B2 (en) | 2015-06-08 | 2018-11-06 | Ihi Corporation | Reactor |
Families Citing this family (1)
| Publication number | Priority date | Publication date | Assignee | Title |
|---|---|---|---|---|
| JP6819199B2 (ja) | 2016-10-13 | 2021-01-27 | 株式会社Ihi | 圧力容器 |
Citations (10)
| Publication number | Priority date | Publication date | Assignee | Title |
|---|---|---|---|---|
| JPS6186935A (ja) * | 1984-10-05 | 1986-05-02 | Kawasaki Heavy Ind Ltd | 反応装置およびこの反応装置を用いる燃料電池発電方法 |
| JPS648280A (en) * | 1987-06-29 | 1989-01-12 | Shimadzu Corp | Corroding device |
| JPH0459052A (ja) * | 1990-06-22 | 1992-02-25 | Toyo Eng Corp | 水蒸気改質用触媒 |
| JPH06111838A (ja) * | 1992-09-30 | 1994-04-22 | Toshiba Corp | 改質器、改質システム、及び燃料電池システム |
| JPH07208743A (ja) * | 1993-09-27 | 1995-08-11 | Haldor Topsoe As | 発熱接触反応における発火温度を低減する方法 |
| JPH08312912A (ja) * | 1995-05-19 | 1996-11-26 | Nippon Oil Co Ltd | 燃焼方法 |
| WO2000006295A1 (en) * | 1998-07-27 | 2000-02-10 | Battelle Memorial Institute | Method and apparatus for obtaining enhanced production rate of thermal chemical reactions |
| WO2000026137A1 (en) * | 1998-11-05 | 2000-05-11 | Abb Lummus Global Inc. | Production of hydrogen-containing gas streams |
| JP2000279823A (ja) * | 1999-03-31 | 2000-10-10 | Ngk Insulators Ltd | セラミックハニカム構造体及びその製造方法 |
| WO2001010773A1 (en) * | 1999-08-07 | 2001-02-15 | Lattice Intellectual Property Ltd. | Compact reactor |
-
2003
- 2003-08-06 ZA ZA200306075A patent/ZA200306075B/en unknown
-
2009
- 2009-07-23 JP JP2009171869A patent/JP5623715B2/ja not_active Expired - Fee Related
Patent Citations (10)
| Publication number | Priority date | Publication date | Assignee | Title |
|---|---|---|---|---|
| JPS6186935A (ja) * | 1984-10-05 | 1986-05-02 | Kawasaki Heavy Ind Ltd | 反応装置およびこの反応装置を用いる燃料電池発電方法 |
| JPS648280A (en) * | 1987-06-29 | 1989-01-12 | Shimadzu Corp | Corroding device |
| JPH0459052A (ja) * | 1990-06-22 | 1992-02-25 | Toyo Eng Corp | 水蒸気改質用触媒 |
| JPH06111838A (ja) * | 1992-09-30 | 1994-04-22 | Toshiba Corp | 改質器、改質システム、及び燃料電池システム |
| JPH07208743A (ja) * | 1993-09-27 | 1995-08-11 | Haldor Topsoe As | 発熱接触反応における発火温度を低減する方法 |
| JPH08312912A (ja) * | 1995-05-19 | 1996-11-26 | Nippon Oil Co Ltd | 燃焼方法 |
| WO2000006295A1 (en) * | 1998-07-27 | 2000-02-10 | Battelle Memorial Institute | Method and apparatus for obtaining enhanced production rate of thermal chemical reactions |
| WO2000026137A1 (en) * | 1998-11-05 | 2000-05-11 | Abb Lummus Global Inc. | Production of hydrogen-containing gas streams |
| JP2000279823A (ja) * | 1999-03-31 | 2000-10-10 | Ngk Insulators Ltd | セラミックハニカム構造体及びその製造方法 |
| WO2001010773A1 (en) * | 1999-08-07 | 2001-02-15 | Lattice Intellectual Property Ltd. | Compact reactor |
Cited By (6)
| Publication number | Priority date | Publication date | Assignee | Title |
|---|---|---|---|---|
| JP2016195993A (ja) * | 2010-10-18 | 2016-11-24 | ヴェロシス,インク. | マイクロチャネルプロセス装置 |
| JP2014526962A (ja) * | 2011-07-19 | 2014-10-09 | ヴェロシス インコーポレイテッド | マイクロチャネルリアクタ及び製作工程 |
| US10159954B2 (en) | 2011-07-19 | 2018-12-25 | Velocys, Inc. | Microchannel reactors and fabrication processes |
| US10737234B2 (en) | 2011-07-19 | 2020-08-11 | Velocys, Inc. | Microchannel reactors and fabrication processes |
| JP2017527432A (ja) * | 2014-07-09 | 2017-09-21 | レール・リキード−ソシエテ・アノニム・プール・レテュード・エ・レクスプロワタシオン・デ・プロセデ・ジョルジュ・クロード | 加法的プロセスにおいて製造される交換器および/または反応器−交換器 |
| US10118148B2 (en) | 2015-06-08 | 2018-11-06 | Ihi Corporation | Reactor |
Also Published As
| Publication number | Publication date |
|---|---|
| ZA200306075B (en) | 2004-09-08 |
| JP5623715B2 (ja) | 2014-11-12 |
Similar Documents
| Publication | Publication Date | Title |
|---|---|---|
| CA2795630C (en) | Integrated reactors, methods of making same, and methods of conducting simultaneous exothermic and endothermic reactions | |
| JP4658603B2 (ja) | 統合燃焼反応器と吸熱及び発熱反応の同時実施方法 | |
| AU2002253957A1 (en) | Integrated reactors, methods of making same, and methods of conducting simultaneous exothermic and endothermic reactions | |
| JP5623715B2 (ja) | 一体型反応器、その製造方法並びに、発熱反応及び吸熱反応を同時に実施する方法 | |
| US9192929B2 (en) | Integrated combustion reactor and methods of conducting simultaneous endothermic and exothermic reactions | |
| WO2007075429A2 (en) | Compact integrated combustion reactors, systems and methods of conducting integrated combustion reactions | |
| JP4562775B2 (ja) | 均一加熱のための微細流路加熱器 | |
| NO20121234A1 (no) | Integrert forbrenningsreaktor og fremgangsmåter for utførelse av en endoterm reaksjon deri |
Legal Events
| Date | Code | Title | Description |
|---|---|---|---|
| A977 | Report on retrieval |
Free format text: JAPANESE INTERMEDIATE CODE: A971007 Effective date: 20120521 |
|
| A131 | Notification of reasons for refusal |
Free format text: JAPANESE INTERMEDIATE CODE: A131 Effective date: 20120703 |
|
| A601 | Written request for extension of time |
Free format text: JAPANESE INTERMEDIATE CODE: A601 Effective date: 20121003 |
|
| A602 | Written permission of extension of time |
Free format text: JAPANESE INTERMEDIATE CODE: A602 Effective date: 20121009 |
|
| A601 | Written request for extension of time |
Free format text: JAPANESE INTERMEDIATE CODE: A601 Effective date: 20121105 |
|
| A602 | Written permission of extension of time |
Free format text: JAPANESE INTERMEDIATE CODE: A602 Effective date: 20121108 |
|
| A601 | Written request for extension of time |
Free format text: JAPANESE INTERMEDIATE CODE: A601 Effective date: 20121203 |
|
| A602 | Written permission of extension of time |
Free format text: JAPANESE INTERMEDIATE CODE: A602 Effective date: 20121206 |
|
| A521 | Written amendment |
Free format text: JAPANESE INTERMEDIATE CODE: A523 Effective date: 20130104 |
|
| A02 | Decision of refusal |
Free format text: JAPANESE INTERMEDIATE CODE: A02 Effective date: 20131028 |
|
| A521 | Written amendment |
Free format text: JAPANESE INTERMEDIATE CODE: A523 Effective date: 20140228 |
|
| A911 | Transfer of reconsideration by examiner before appeal (zenchi) |
Free format text: JAPANESE INTERMEDIATE CODE: A911 Effective date: 20140307 |
|
| A131 | Notification of reasons for refusal |
Free format text: JAPANESE INTERMEDIATE CODE: A131 Effective date: 20140422 |
|
| A601 | Written request for extension of time |
Free format text: JAPANESE INTERMEDIATE CODE: A601 Effective date: 20140722 |
|
| A602 | Written permission of extension of time |
Free format text: JAPANESE INTERMEDIATE CODE: A602 Effective date: 20140725 |
|
| A521 | Written amendment |
Free format text: JAPANESE INTERMEDIATE CODE: A523 Effective date: 20140728 |
|
| TRDD | Decision of grant or rejection written | ||
| A01 | Written decision to grant a patent or to grant a registration (utility model) |
Free format text: JAPANESE INTERMEDIATE CODE: A01 Effective date: 20140827 |
|
| A61 | First payment of annual fees (during grant procedure) |
Free format text: JAPANESE INTERMEDIATE CODE: A61 Effective date: 20140925 |
|
| R150 | Certificate of patent or registration of utility model |
Ref document number: 5623715 Country of ref document: JP Free format text: JAPANESE INTERMEDIATE CODE: R150 |
|
| R250 | Receipt of annual fees |
Free format text: JAPANESE INTERMEDIATE CODE: R250 |
|
| LAPS | Cancellation because of no payment of annual fees |
