JP2010010738A - 補聴器 - Google Patents

補聴器 Download PDF

Info

Publication number
JP2010010738A
JP2010010738A JP2008164138A JP2008164138A JP2010010738A JP 2010010738 A JP2010010738 A JP 2010010738A JP 2008164138 A JP2008164138 A JP 2008164138A JP 2008164138 A JP2008164138 A JP 2008164138A JP 2010010738 A JP2010010738 A JP 2010010738A
Authority
JP
Japan
Prior art keywords
hearing aid
electronic paper
color electronic
color
image data
Prior art date
Legal status (The legal status is an assumption and is not a legal conclusion. Google has not performed a legal analysis and makes no representation as to the accuracy of the status listed.)
Granted
Application number
JP2008164138A
Other languages
English (en)
Other versions
JP5037440B2 (ja
Inventor
Keisuke Watanuki
敬介 綿貫
Current Assignee (The listed assignees may be inaccurate. Google has not performed a legal analysis and makes no representation or warranty as to the accuracy of the list.)
Rion Co Ltd
Original Assignee
Rion Co Ltd
Priority date (The priority date is an assumption and is not a legal conclusion. Google has not performed a legal analysis and makes no representation as to the accuracy of the date listed.)
Filing date
Publication date
Application filed by Rion Co Ltd filed Critical Rion Co Ltd
Priority to JP2008164138A priority Critical patent/JP5037440B2/ja
Publication of JP2010010738A publication Critical patent/JP2010010738A/ja
Application granted granted Critical
Publication of JP5037440B2 publication Critical patent/JP5037440B2/ja
Expired - Fee Related legal-status Critical Current
Anticipated expiration legal-status Critical

Links

Images

Abstract

【課題】 補聴器の装用状態が目立たない補聴器を提供する。
【解決手段】 耳あな型補聴器1の表面の少なくとも装用時に外方から見えるフェースプレート3にカラー電子ペーパー12からなるパネル13を取り付け、カラー電子ペーパー12に耳あな型補聴器1を装用する耳介の外耳道入口周辺の非装用時の写真による画像データを書き込み、この画像データをカラー電子ペーパー12に表示する。カラー電子ペーパー12に書き込む画像データは、書き換え可能である。パネル13の裏面には、パーソナルコンピュータに接続するためのコネクタを設けた。
【選択図】 図1

Description

本発明は、補聴器の装用状態が目立たない補聴器に関する。
従来から補聴器装用者は、補聴器の装用状態が目立たないことを要望する傾向にある。このような要望に応えるために、耳かけ型補聴器や耳あな型補聴器の多くは肌色であり、髪の色に合わせて黒やグレーなども用意されている。
しかし、肌色と言っても、実際の肌の色は十人十色であり、実際の肌の色と異なる肌色の補聴器を装用すると、かえって目立つ場合がある。また、季節により肌の色は変わるため、四季を通して補聴器の色を実際の肌の色に合わせるのは難しい。また、髪の色に補聴器の色を合わせても、不自然に見える場合がある。
本発明は、従来の技術が有するこのような問題点に鑑みてなされたものであり、その目的とするところは、補聴器の装用状態が目立たない補聴器を提供しようとするものである。
上記課題を解決すべく請求項1に係る発明は、補聴器の表面の少なくとも装用時に外方から見える面にカラー電子ペーパーを取り付け、このカラー電子ペーパーに補聴器を装用する部位の非装用時の写真による画像データを表示するものである。
請求項2に係る発明は、請求項1記載の補聴器において、前記カラー電子ペーパーに書き込む前記画像データは書き換え可能である。
請求項3に係る発明は、請求項1又は2記載の補聴器において、前記カラー電子ペーパーからなるパネルを構成し、このパネルの裏面にパーソナルコンピュータ接続用コネクタを設けた。
請求項1に係る発明によれば、装用者が補聴器を装用していないときの写真を画像データに使うので、補聴器は装用者の肌とほぼ同じ色になり、しわや陰影もそのままカラー電子ペーパーに表示され、補聴器が目立たなくなる。また、カラー電子ペーパーは、電力を消費することがないので、取り扱い易い。
請求項2に係る発明によれば、日焼けなどで肌の色が変わっても、カラー電子ペーパーの画像データを入れ替えることで対応することができる。
請求項3に係る発明によれば、カラー電子ペーパーに対する画像データの入れ替え作業がパーソナルコンピュータを使って容易に行うことができる。
以下に本発明の実施の形態を添付図面に基づいて説明する。ここで、図1は本発明を耳あな型補聴器に適用した場合の概要外観図、図2は同じく構成図、図3は同じく作用の説明図、図4は本発明を耳かけ型補聴器に適用した場合の概要外観図、図5は同じく構成図、図6は同じく作用の説明図である。
本発明を適用した耳あな型補聴器1は、図1に示すように、樹脂製のシェル2とフェースプレート3でケース体4を形成し、ケース体4の内部にボタン形の電池を収納する電池収納部を設けている。フェースプレート3には、電池を保持して電池収納部に収納する電池ホルダ5が回動自在に取り付けられている。また、ケース体4の内部には、図2に示すように、マイクロホン6、DSP(Digital Signal Processor)7、イヤホン8や電池9などの電気部品が設置されている。DSP7は、補聴処理部10と、補聴処理パラメータ記憶部11などから構成される。
更に、耳あな型補聴器1の外界側に位置するフェースプレート3には、カラー電子ペーパー12などで構成されるパネル13が取り付けられている。この取付は、パネル13の裏面に設けた取付ピン(不図示)をフェースプレート3の表面に形成した取付穴(不図示)に嵌合させたり、パネル13にスナップフィット構造(不図示)を持たせたりして行うことができる。
ここで、カラー電子ペーパー12とは、印刷物と電子ディスプレイの長所を併せ持つ表示媒体であり、電子的に書き換えが可能で、書き換え後の表示は電力を一切必要としない。また、パネル13の裏面には、カラー電子ペーパー12とパーソナルコンピュータ14を接続するためのコネクタ(不図示)が設けられている。
以上のように構成された本発明を適用した耳あな型補聴器1の作用について説明する。先ず、デジタルカメラ15で非装用時の耳介の外耳道入口周辺、即ち耳あな型補聴器1が装着される部分を撮影し、画像データを得る。
次いで、図2に示すように、パーソナルコンピュータ14を使って耳あな型補聴器1を調整した後、パーソナルコンピュータ14をパネル13の裏面に設けたコネクタに接続する。
次いで、デジタルカメラ15をパーソナルコンピュータ14に接続し、このパーソナルコンピュータ14を使って、デジタルカメラ15の画像データをカラー電子ペーパー12に書き込む。すると、非装用時の耳介の外耳道入口周辺の画像がカラー電子ペーパー12に表示される。
次いで、パネル13からパーソナルコンピュータ14の接続を外し、パネル13の裏面に設けた取付ピンをフェースプレート3の表面に形成した取付穴に嵌合させて、パネル13をフェースプレート3の表面に取り付ける。カラー電子ペーパー12は、電力が供給されなくても表示している画像を維持することができる。従って、パネル13をフェースプレート3の表面に取り付けた後、電池9による電力をカラー電子ペーパー12に供給する必要がない。
パネル13を取り付けた耳あな型補聴器1を装用しても、カラー電子ペーパー12に、図3(a)に示す非装用時の耳介の外耳道入口周辺の画像が表示されているので、図3(b)に示す従来の耳あな型補聴器100の装用状態のように目立つことはなく、図3(c)に示すように、外方(第三者)からはあたかも補聴器を装用していないかの如く見えるため、耳あな型補聴器1の装用状態が目立ち難い。
また、日焼けなどで肌の色が変わったら、再びデジタルカメラ15で非装用時の耳介の外耳道入口周辺を撮影し、パーソナルコンピュータ14でカラー電子ペーパー12の画像データを書き換えればよい。なお、カラー電子ペーパー12に表示させる画像は、お気に入りの画像でもよい。
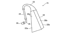
次に、本発明を適用した耳かけ型補聴器21は、図4に示すように、補聴器本体22、フック23、チューブ24、ジョイント25、耳せん26などからなる。27は電池ホルダである。また、補聴器本体22には、図5に示すように、マイクロホン28、DSP29、イヤホン30や電池31などの電気部品が収納されている。DSP29は、補聴処理部32と、補聴処理パラメータ記憶部33などから構成される。電池ホルダは耳介側に設けると目立たない。
更に、補聴器本体22の表面には、カラー電子ペーパーが取り付けられる。ここで、補聴器本体22の表面とは、両側面及び背面をいい、本実施の形態では右耳の専用なので、頭部に対向する側面にはカラー電子ペーパーを接着する必要がないため、一方の側面22aと背面22bにカラー電子ペーパー35a,35bが接着されている。接着に限らず、スナップインで取り付けてもよい。側面側カラー電子ペーパー35aと背面側カラー電子ペーパー35bは、一体のものでもよい。
また、補聴器本体22に設けたコネクタ(不図示)にパーソナルコンピュータ36を接続すると、図5に示すように、パーソナルコンピュータ36はDSP29と接続されると共に、側面側カラー電子ペーパー35a及び背面側カラー電子ペーパー35bとも接続される。
以上のように構成された本発明を適用した耳かけ型補聴器21の作用について説明する。先ず、デジタルカメラ37で非装用時の耳介の付け根周辺、即ち耳かけ型補聴器21が装着される部分を後から撮影し、画像データを得る。
次いで、図5に示すように、パーソナルコンピュータ36を補聴器本体22に設けたコネクタ接続し、耳かけ型補聴器21を調整した後、パーソナルコンピュータ36を使って、デジタルカメラ37の画像データをカラー電子ペーパー35a,35bに書き込む。すると、非装用時の耳介の付け根周辺の画像がカラー電子ペーパー35a,35bに表示される。
次いで、補聴器本体22からパーソナルコンピュータ36の接続を外し、耳かけ型補聴器21を装用する。カラー電子ペーパー35a,35bは、電力が供給されなくても表示している画像を維持することができる。従って、電池31による電力をカラー電子ペーパー35a,35bに供給する必要がない。
カラー電子ペーパー35a,35bを接着した耳かけ型補聴器21を装用しても、カラー電子ペーパー35a,35bに、図6(a)に示す後方から見た非装用時の耳介の付け根周辺の画像が表示されているので、図6(b)に示す従来の耳かけ型補聴器101の装用状態のように目立つことはなく、図6(c)に示すように、外方(第三者)からはあたかも補聴器を装用していないかの如く見えるため、耳かけ型補聴器21の装用状態が目立ち難い。
また、日焼けなどで肌の色が変わったら、再びデジタルカメラ37で非装用時の耳介の付け根周辺を撮影し、パーソナルコンピュータ36でカラー電子ペーパー35a,35bの画像データを書き換えればよい。なお、カラー電子ペーパー35a,35bに表示させる画像は、お気に入りの画像でもよい。
本発明によれば、装用時に外方から見える補聴器の表面に非装用状態の画像を表示するカラー電子ペーパーを取り付けることにより装用状態が目立たない補聴器を提供することができる。
本発明を耳あな型補聴器に適用した場合の概要外観図 本発明を耳あな型補聴器に適用した場合の構成図 作用の説明図で、(a)非装用状態、(b)は従来の耳あな型補聴器の装用状態、(c)は本発明を適用した耳あな型補聴器の装用状態 本発明を耳かけ型補聴器に適用した場合の概要外観図 本発明を耳かけ型補聴器に適用した場合の構成図 作用の説明図で、(a)非装用状態、(b)は従来の耳かけ型補聴器の装用状態、(c)は本発明を適用した耳かけ型補聴器の装用状態
符号の説明
1…耳あな型補聴器、2…シェル、3…フェースプレート、4…ケース体、5,27…電池ホルダ、6,28…マイクロホン、7,29…DSP、8,30…イヤホン、9,31…電池、12…カラー電子ペーパー、13…パネル、14,36…パーソナルコンピュータ、15,37…デジタルカメラ、21…耳かけ型補聴器、22…補聴器本体、22a…側面、22b…背面、35a…側面側カラー電子ペーパー、35b…背面側カラー電子ペーパー。

Claims (3)

  1. 補聴器の表面の少なくとも装用時に外方から見える面にカラー電子ペーパーを取り付け、このカラー電子ペーパーに補聴器を装用する部位の非装用時の写真による画像データを表示することを特徴とする補聴器。
  2. 請求項1記載の補聴器において、前記カラー電子ペーパーに書き込む前記画像データは書き換え可能であることを特徴とする補聴器。
  3. 請求項1又は2記載の補聴器において、前記カラー電子ペーパーからなるパネルを構成し、このパネルの裏面にパーソナルコンピュータ接続用コネクタを設けたことを特徴とする補聴器。
JP2008164138A 2008-06-24 2008-06-24 補聴器 Expired - Fee Related JP5037440B2 (ja)

Priority Applications (1)

Application Number Priority Date Filing Date Title
JP2008164138A JP5037440B2 (ja) 2008-06-24 2008-06-24 補聴器

Applications Claiming Priority (1)

Application Number Priority Date Filing Date Title
JP2008164138A JP5037440B2 (ja) 2008-06-24 2008-06-24 補聴器

Publications (2)

Publication Number Publication Date
JP2010010738A true JP2010010738A (ja) 2010-01-14
JP5037440B2 JP5037440B2 (ja) 2012-09-26

Family

ID=41590773

Family Applications (1)

Application Number Title Priority Date Filing Date
JP2008164138A Expired - Fee Related JP5037440B2 (ja) 2008-06-24 2008-06-24 補聴器

Country Status (1)

Country Link
JP (1) JP5037440B2 (ja)

Cited By (2)

* Cited by examiner, † Cited by third party
Publication number Priority date Publication date Assignee Title
WO2011110228A1 (en) * 2010-03-12 2011-09-15 Phonak Ag Display of information on a hearing aid housing
WO2022211831A1 (en) * 2021-04-01 2022-10-06 Dataforce, Inc. System and method for securing accessories to a personal intra-aural auditory device

Cited By (2)

* Cited by examiner, † Cited by third party
Publication number Priority date Publication date Assignee Title
WO2011110228A1 (en) * 2010-03-12 2011-09-15 Phonak Ag Display of information on a hearing aid housing
WO2022211831A1 (en) * 2021-04-01 2022-10-06 Dataforce, Inc. System and method for securing accessories to a personal intra-aural auditory device

Also Published As

Publication number Publication date
JP5037440B2 (ja) 2012-09-26

Similar Documents

Publication Publication Date Title
US10025119B2 (en) Mechanical arrangement for head-worn computer
US8374367B2 (en) Hearing aid with a flexible elongated member
US9217882B2 (en) Head mounted display, display device for eyeglasses and temple tip for display device
US8229149B2 (en) Hearing apparatus with visually active housing
US20050111686A1 (en) Otoplasty for behind-the-ear (BTE) hearing aids
TWM368816U (en) Digital peephole device
TW201332333A (zh) 行動電話
JP2011508548A (ja) モジュール式聴覚補助装置
CN102404677A (zh) 用于助听装置的连接器、助听装置及助听系统
JP5037440B2 (ja) 補聴器
CN1791283A (zh) 鼻骨传导助听装置
JP6200110B1 (ja) 眼鏡装着具
US20110293125A1 (en) Deep-ear-canal hearing device
WO2023185665A1 (zh) 一种智能眼镜套件以及智能眼镜
WO2019117806A1 (en) Hearing aid spectacles
CN101998219B (zh) 带有识别装置的助听器
WO2009101142A1 (en) Receiver module for a hearing device, hearing device and hearing device earpiece
CN218734963U (zh) 入耳式助听器
JP3077384U (ja) 補聴器
JP2020039663A (ja) 耳介展開器
JP2014003479A (ja) 聴取装置
JP5976443B2 (ja) 携帯電話および軟骨伝導振動源装置
JP4359600B2 (ja) 接続モジュールと耳かけ形補聴器
CN109769187A (zh) 一种耳背式骨导助听装置
CN103064191B (zh) 带无线耳机的3d眼镜

Legal Events

Date Code Title Description
A621 Written request for application examination

Free format text: JAPANESE INTERMEDIATE CODE: A621

Effective date: 20110510

A977 Report on retrieval

Free format text: JAPANESE INTERMEDIATE CODE: A971007

Effective date: 20120620

TRDD Decision of grant or rejection written
A01 Written decision to grant a patent or to grant a registration (utility model)

Free format text: JAPANESE INTERMEDIATE CODE: A01

Effective date: 20120626

A01 Written decision to grant a patent or to grant a registration (utility model)

Free format text: JAPANESE INTERMEDIATE CODE: A01

A61 First payment of annual fees (during grant procedure)

Free format text: JAPANESE INTERMEDIATE CODE: A61

Effective date: 20120704

FPAY Renewal fee payment (event date is renewal date of database)

Free format text: PAYMENT UNTIL: 20150713

Year of fee payment: 3

R150 Certificate of patent or registration of utility model

Ref document number: 5037440

Country of ref document: JP

Free format text: JAPANESE INTERMEDIATE CODE: R150

Free format text: JAPANESE INTERMEDIATE CODE: R150

R250 Receipt of annual fees

Free format text: JAPANESE INTERMEDIATE CODE: R250

R250 Receipt of annual fees

Free format text: JAPANESE INTERMEDIATE CODE: R250

R250 Receipt of annual fees

Free format text: JAPANESE INTERMEDIATE CODE: R250

R250 Receipt of annual fees

Free format text: JAPANESE INTERMEDIATE CODE: R250

LAPS Cancellation because of no payment of annual fees