JP2010009893A - 筐体構造 - Google Patents

筐体構造 Download PDF

Info

Publication number
JP2010009893A
JP2010009893A JP2008166674A JP2008166674A JP2010009893A JP 2010009893 A JP2010009893 A JP 2010009893A JP 2008166674 A JP2008166674 A JP 2008166674A JP 2008166674 A JP2008166674 A JP 2008166674A JP 2010009893 A JP2010009893 A JP 2010009893A
Authority
JP
Japan
Prior art keywords
release knob
housing
panel
slide groove
release
Prior art date
Legal status (The legal status is an assumption and is not a legal conclusion. Google has not performed a legal analysis and makes no representation as to the accuracy of the status listed.)
Granted
Application number
JP2008166674A
Other languages
English (en)
Other versions
JP5332340B2 (ja
Inventor
Hiroaki Minagawa
博昭 皆川
Current Assignee (The listed assignees may be inaccurate. Google has not performed a legal analysis and makes no representation or warranty as to the accuracy of the list.)
Icom Inc
Original Assignee
Icom Inc
Priority date (The priority date is an assumption and is not a legal conclusion. Google has not performed a legal analysis and makes no representation as to the accuracy of the date listed.)
Filing date
Publication date
Application filed by Icom Inc filed Critical Icom Inc
Priority to JP2008166674A priority Critical patent/JP5332340B2/ja
Publication of JP2010009893A publication Critical patent/JP2010009893A/ja
Application granted granted Critical
Publication of JP5332340B2 publication Critical patent/JP5332340B2/ja
Expired - Fee Related legal-status Critical Current
Anticipated expiration legal-status Critical

Links

Images

Classifications

    • YGENERAL TAGGING OF NEW TECHNOLOGICAL DEVELOPMENTS; GENERAL TAGGING OF CROSS-SECTIONAL TECHNOLOGIES SPANNING OVER SEVERAL SECTIONS OF THE IPC; TECHNICAL SUBJECTS COVERED BY FORMER USPC CROSS-REFERENCE ART COLLECTIONS [XRACs] AND DIGESTS
    • Y02TECHNOLOGIES OR APPLICATIONS FOR MITIGATION OR ADAPTATION AGAINST CLIMATE CHANGE
    • Y02EREDUCTION OF GREENHOUSE GAS [GHG] EMISSIONS, RELATED TO ENERGY GENERATION, TRANSMISSION OR DISTRIBUTION
    • Y02E60/00Enabling technologies; Technologies with a potential or indirect contribution to GHG emissions mitigation
    • Y02E60/10Energy storage using batteries

Landscapes

  • Battery Mounting, Suspending (AREA)

Abstract

【課題】携帯用無線通信機等の電池収納部の開閉蓋を確実にロックできる筐体構造を提供する。
【解決手段】第1パネルと第2パネルとを突き合わせて筐体10が組み立てられ、筐体の表面の一部に開口部が形成され、この開口部の蓋3が、開閉可能に軸支されてなる筐体構造において、開閉蓋を閉じた状態で保持するロック位置と、開閉蓋が開くことが可能な状態に開放するリリース位置の2位置にスライド可能なリリースノブ4を、筐体の表面の一部に形成されたリリースノブスライド溝11の内部に配設するとともに、リリースノブをロック位置にスライドさせる方向に付勢する弾性体を、リリースノブの裏側に少なくとも一部が隠れるように配設し、リリースノブスライド溝の内面には、断面が三角形状の突起を形成し、リリースノブスライド溝の内部に押し込んで配設したリリースノブが、突起によってリリースノブスライド溝の内部に嵌め殺し状態になるように構成した。
【選択図】図6

Description

本発明は、携帯用無線通信機等の筐体構造に関するものであり、特には、電池収納部等の蓋を備えた筐体構造に関するものである。
従来より、電池収納部の蓋を閉じた状態に保持するための構造としては、種々の構造が採用されている。
例えば、特許文献1には、筐体底面中央を回動支点とするヒンジ構造を有する電池蓋について、筐体側面にスライド式の電池蓋ロックボタンを設けた電池蓋ロック構造(特許文献1中の図8)と、電池蓋をスライドさせることによって筐体の係止突部との係止/解除を行う電池蓋ロック構造(特許文献1中の図1〜図3)が開示されている。
また、特許文献2には、筐体角部を回動支点としてバネ付勢されたヒンジ構造を有する電池蓋について、筐体底面中央で係止部材と電池蓋を係合させた電池蓋ロック構造(特許文献2中の第3図)が開示されている。
特開平6−349466号 実開昭57−64063号
ところが、上述した特許文献1の構造を、携帯用無線通信機に適用した場合、筐体側面にスライド式の電池蓋ロックボタンを設けると運用中に不用意にロック解除される恐れがあるため、携帯用無線通信機の運用中に電池が脱落する可能性がある。
また、電池蓋をスライドさせて筐体の係止突部に係合させる構造は、防水性が必要とされる場合、電池蓋に防水パッキンを配置しなければならないので適用しにくい。
また、上述した特許文献2の構造を、携帯用無線通信機に適用した場合、上述のような問題は発生しないが、係止部材のバネ付勢に使用するコイルバネを係止部材の端部と筐体溝部との間に配置しているため、バネのストロークを稼ぐためには電池蓋ロック構造は「係止部材の長さ+コイルバネの長さ」を必要とするため小型化するのに適さない。かつ、コイルバネを保護する構造を有していないため、埃や水が入り込んでコイルバネの劣化が早くなる。また、電池蓋と係止部材を解除した時、電池蓋が開くようにヒンジ部にバネを有しているため、電池蓋を係止部材で係止している状態においても、常に電池蓋が開く方向にストレスがかかるため、電池蓋浮きや係止部材の劣化が早くなるといった問題もある。
そこで、本発明は、以上のような問題を解決する収納部を備えた筐体構造を提供することを目的としてなされたものである。
請求項1に係る筐体構造においては、
第1パネルと第2パネルとを突き合わせて筐体が組み立てられ、
前記筐体の表面の一部に開口部が形成され、この開口部の蓋として配設された開閉蓋が、開閉可能に軸支されてなる筐体構造において、
前記開閉蓋を閉じた状態で保持するロック位置と、前記開閉蓋が開くことが可能な状態に開放するリリース位置の2位置にスライド可能なリリースノブを、前記筐体の表面の一部に形成されたリリースノブスライド溝の内部に配設するとともに、
前記リリースノブを前記ロック位置にスライドさせる方向に付勢する弾性体を、前記リリースノブの裏側に少なくとも一部が隠れるように配設したことを特徴としている。
請求項2においては、
前記リリースノブは、基本形状が長方形状の板状部材であり、
前記リリースノブの短手方向の両側部には凸条が形成され、
前記リリースノブスライド溝の両側面には前記凸条がスライド可能なガイド溝が前記筐体の表面に平行に形成され、
前記リリースノブは、前記ガイド溝に沿って前記筐体の表面に平行にスライド可能であって、前記筐体の表面に浮き上がる方向には移動できないように規制されている。
請求項3においては、
筐体に形成されたリリースノブスライド溝の内面には、
断面が三角形状の突起を形成し、
前記リリースノブスライド溝の内部に押し込んで配設したリリースノブが、前記突起によって前記リリースノブスライド溝内に嵌め殺し状態になるように構成した。
請求項4においては、
筐体に形成されたリリースノブスライド溝の近傍には、
前記第1パネルと第2パネルとが嵌合して前記リリースノブスライド溝を補強する嵌合構造が形成されている。
請求項5においては、
前記嵌合構造は、
第1パネルの端面において筐体の表面に平行に形成された凸条と、第2パネルの端面において前記凸条と嵌合しうる位置であって筐体の表面に平行に形成された凹部とによって構成されている。
本発明によれば、
前記開閉蓋を閉じた状態で保持するロック位置と、前記開閉蓋が開くことが可能な状態に開放するリリース位置の2位置にスライド可能なリリースノブを、前記筐体の表面の一部に形成されたリリースノブスライド溝の内部に配設するとともに、
前記リリースノブを前記ロック位置にスライドさせる方向に付勢する弾性体を、前記リリースノブの裏側に少なくとも一部が隠れるように配設したので、
前記弾性体が外部に露出しにくい状態にできるとともに、前記弾性体を埃などから保護することができる。
また、前記リリースノブは、筐体の表面に浮き上がる方向には移動できないように規制されているので、前記開閉蓋が開方向に付勢されている場合でも、閉じた状態に確実に保持することができる。
また、リリースノブスライド溝の内部に押し込んで配設したリリースノブが、リリースノブスライド溝内に嵌め殺し状態になるように構成したので、リリースノブを簡単に取り付けて、その状態を保持できる。
また、筐体に形成されたリリースノブスライド溝の近傍は、嵌合構造によって補強されているので、前記開閉蓋が開方向に強く付勢されている場合でも、閉じた状態に確実に保持することができる。
また、前記嵌合構造は、第1パネルの端面において筐体の表面に平行に形成された凸条と、第2パネルの端面において前記凸条と嵌合しうる位置であって筐体の表面に平行に形成された凹部とによって構成されているので、リリースノブスライド溝の近傍が、第1パネルと第2パネルとの嵌合構造によって確実に補強される。
以下に、本発明にかかる筐体構造を、その実施の形態を示した図面に基づいて詳細に説明する。
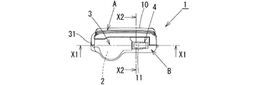
図1は、本発明に係る筐体構造の実施例の構造を採用した携帯用無線通信機の斜視図、図2は、前記携帯用無線通信機の底面図、図3(a)、(b)は、前記携帯用無線通信機の底面部分の断面図であり、図3(a)は図2のX1−X1線断面図であり、電池蓋3を閉じてロックした状態を示し、図3(b)は電池蓋3を開いた状態を示す断面図である。
図1に示した携帯用無線通信機1の底面には、図2、3に示したように、携帯用無線通信機1の筐体10の内部に電池を収納し得る電池収納部2が形成されている。この電池収納部2は、例えば単三電池を1本収納するように構成されており、電池蓋3がヒンジ部31で開閉するように構成され、図3(a)に示したように、電池蓋3が前記携帯用無線通信機1の底面に平行で且つ底面の他の部分と面一になるような閉じた状態と、図3(b)に示したように、電池蓋3が開いた状態とに回動可能に取り付けられている。なお、電池蓋3は、前記底面に対して90度以上の開度まで開くことが可能である。
前記閉じた状態は使用状態に対応し、前記開いた状態は電池交換等の状態に対応している。
図3に示したように、携帯用無線通信機1の筐体10の底面部分には、リリースノブスライド溝11が形成されており、電池蓋3を閉じた状態でロックするためのリリースノブ4が前記リリースノブスライド溝11に収納されている。図3(a)のように、電池蓋3が閉じた状態において、前記リリースノブ4を後退させることによって、閉じた状態にロックされていた電池蓋3は、ロック状態からリリース状態になり、Oリング32の弾性復元力もしくは他の弾性付勢手段によって図3(b)のように開いた状態となる。
前記電池蓋3の裏面(電池側)には、閉じた状態で、電池の例えば−極と電気的に接続し得る電極(図示略)が配設されている。また、前記電池蓋3の裏面の前記電極の周囲には、閉じた状態における防水機能を実現するために前記Oリング32(図3、6参照)が嵌められており、このOリング32の弾性復元力で、前記電池蓋3は開方向に付勢されている。
なお、前記筐体10は前面側の第1パネルAと、背面側の第2パネルBとを突き合わせて固定することによって組み立てられている。
前述したように、前記電池蓋3は開方向に付勢されているので、閉じた状態を保持するためのリリースノブ4が配設されている。
このリリースノブ4は、筐体10の底面に形成されたリリースノブスライド溝11内に配設されており、電池蓋3側から離れて、前記電池蓋3が開き得るリリース状態と、電池蓋3側に移動して、電池蓋3が開くことを禁止するロック状態とにスライド可能に配設されている。
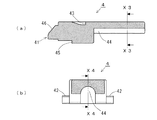
図4(a)はリリースノブ4の単体の斜視図、図4(b)はリリースノブ4の単体の裏面の斜視図である。
図5(a)はリリースノブ4の単体の正面断面図、図5(b)はリリースノブ4の単体を後端側から見た右側面図である。なお、図5(b)は図5(a)のX3−X3線断面図であり、図5(a)は図5(b)のX4−X4線断面図である。
前記リリースノブ4は、図4(a)、図5(a)に示したように、平面視した基本形状が長方形状の板状部材であり、その長手方向の先端には係合凸部41が形成され、短手方向の両側部には摺動凸部42、42が形成され、表面(筐体の外面側)には、前記リリースノブ4をリリース状態にスライドさせるために操作する引っ掛部43が形成されている。
裏面には、図4(b)、図5(b)に示したように、前記電池蓋3をロック状態に保持するために前記リリースノブ4を付勢する弾性体としての巻バネ5を収納するバネ収納スペース44が凹設され、裏面には、また、図4(b)、図5(a)に示したように、前記リリースノブ4の電池側への移動範囲を規制するための規制段差45が形成されている。
なお、前記摺動凸部42、42は、図7に示したように、前記リリースノブスライド溝11の内側面に形成されたガイド溝12、13に沿って、筐体10の表面に平行な方向へはスライド可能であるが、前記リリースノブスライド溝11から外れて筐体10の表面からはみ出す方向へは移動できないように規制されている。
つぎに、前記電池蓋3のロック状態とリリース状態とを図6を参照して説明する。
図6(a)は電池蓋3がリリース状態の場合の正面断面図であり、図6(b)は電池蓋3を閉じる方向へ回動させている途中の正面断面図であり、図6(c)は電池蓋3がロック状態の場合の正面断面図である。なお、図6(d)は、図6(b)のX5−X5線断面図であり、図6(b)は、図6(d)のX6−X6線断面図である。
図6(a)において、前記電池蓋3は、Oリング32の弾性復元力によって半開きの状態になっており、さらに全開させることも可能である。
リリースノブ4は、巻バネ5の弾性復元力によって、図上の左側(電池蓋側)に付勢されているが、リリースノブ4の裏面に形成されている規制段差45が、リリースノブスライド溝11の底面に形成された断面が三角形状の規制突起14に当接する位置で規制されて停止している。
この状態から、図6(a)に示した矢印Aのように、電池蓋3を押して閉じる方向へ回動させると、図6(b)に示したように、電池蓋3の先端部の下面に形成された面取り部33の傾斜面が、前記リリースノブ4の先端に形成された係合凸部41の上面に形成された面取り部46の傾斜面を押すので、リリースノブ4は巻バネ5を圧縮させながら図上の右側へ後退する。このとき、図6(d)に示すように、筐体10のリリースノブ4移動面には、断面形状が略半円状のリブ15が凸設されており、バネ収納スペース44が前記リブ15上を移動しながら、リリースノブ4は図上の右側へ後退する。
電池蓋3をさらに押さえて閉じた状態にすると、図6(c)に示したように、電池蓋3の先端の端面に形成された係合凹部34に、前記リリースノブ4の先端に形成された係合凸部41が、巻バネ5の弾性復元力で押し出されて嵌まり込み、電池蓋3はロック状態になる。
図6(c)に示したようなロック状態から、電池交換等のためにリリース状態にするためには、リリースノブ4の表面に形成された前記引っ掛部43に、爪などを掛けて、図6(c)に示した矢印Bのように、図上の右側へスライドさせて、電池蓋3の先端の端面に形成された係合凹部34から、前記リリースノブ4の先端に形成された係合凸部41を引き抜くと、図6の(a)に示したように、前記電池蓋3は、Oリング32の弾性復元力によって半開きの状態になる。そして、電池蓋3を全開させて電池の交換等の作業を行う。
以上のように、電池蓋3の裏側に配設されたOリング32は、防水機能だけでなく、電池蓋3がロック状態からリリース状態になったときに、電池蓋3を半開きの状態まで回動させるための弾性付勢手段としての機能も有している。なお、このような弾性付勢手段としての機能は、Oリング32に代えて、電池蓋3のヒンジ部31に電池蓋3を開く方向に付勢するバネなどの弾性体を配してもよく、さらには、Oリングとバネを併用してもよい。
また、電池蓋3の先端の端面に形成された係合凹部34は、ロック状態においては、リリースノブ4の先端に形成された係合凸部41が嵌まり込むように構成されているので、ロック状態が保持される。なお、リリースノブ4は、前述したように、リリースノブ4の摺動凸部42、42と、リリースノブスライド溝11のガイド溝12、13とによって、リリースノブスライド溝11から外れて筐体10の表面からはみ出さないように規制されているので、Oリング32による弾性復元力に抗して前記ロック状態は保持される。
また、電池蓋3の先端部の面取り部33の傾斜面で、前記リリースノブ4の先端の係合凸部41の面取り部46の傾斜面を押すことによって、リリースノブ4を後退させるので、ロック状態にするときにリリースノブ4を手で操作する必要がない。
また、リリースノブ4の裏面には前記巻バネ5を収納するためのバネ収納スペース44が、断面形状が略半円状に凹設され、このバネ収納スペース44に巻バネ5を収納しているので、リリースノブ4の後端を巻バネで押すような構造に比較して、リリースノブ4の周囲の構造がコンパクトになる。また、巻バネ5を略半円状の収納スペース44で覆うことになるので、巻バネ5が外部に露出することなく、埃などから巻バネ5を保護することが可能になる。さらに、リリースノブ4を右側へ移動させるとき、バネ収納スペース44が筐体10に凸設された断面形状が略半円状のリブ15上を移動するので、リリースノブ4を右側へ後退させるときのグラつきを防止することができる。
また、リリースノブスライド溝11の底面には、リリースノブ4の進出位置を、図6の(a)における位置に規制するための規制突起14が形成されているので、巻バネ5の弾性復元力が作用しても、リリースノブ4は所定の位置までしか進出しない。したがって、リリース状態の電池蓋3を閉じるときに、リリースノブ4の先端が邪魔にならず、且つ、電池蓋3の先端部の面取り部33の傾斜面が、前記リリースノブ4の先端の係合凸部41の面取り部46の傾斜面を押すことができる。
また、前記規制突起14は断面が三角形状であるので、組み立て時においては、リリースノブ4を電池蓋側の開口部からリリースノブスライド溝11に強く押し込むことによって、前記規制突起14を乗り越えさせて、リリースノブ4をリリースノブスライド溝11内に配設して、嵌め殺しの状態にセットすることができる。
なお、前記筐体10を樹脂成形によって構成する場合、前記規制突起14を成形するための金型は、リリースノブスライド溝11のガイド溝から横方向へ引き抜くことができるので、筐体10の外観に影響を与えるような成形上の孔などが一切不要である。
なお、電池蓋側に係合凸部を設け、リリースノブ側に係合凹部を設けてもよい。
つぎに、筐体10におけるリリースノブスライド溝11の周囲の構造を説明する。
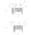
携帯用無線通信機1の筐体10は、図7(a)に示したように、前面側の第1パネルAと、背面側の第2パネルBの二つのパネルから構成されている。
第1パネルAには、スピーカや表示部などが取り付けられ、第2パネルBには、操作部やアンテナなどが取り付けられるように構成されている。
これらの二つのパネルA、Bを組み立てるときには、図7(b)に示したように、防水用のパッキンを挟んで組み立てて、携帯用無線通信機1の防水機能を実現している。
なお、図7(b)は図2のX2−X2線断面図である。
前記第2パネルBの底面には、前述した電池収納部2と電池蓋3とリリースノブスライド溝11などが設けられている。
そして、リリースノブスライド溝11の側部に位置する第2パネルBには、凸条B1が形成されている。この凸条B1は、図7(a)に示したように、リリースノブスライド溝11のガイド溝12、13と一体に成形されている。
前記第1パネルA側には、組み立て状態において前記凸条B1と対応する位置に、前記凸条B1が嵌まり込む凹部A1が、嵌合構造として形成されている。
したがって、2つのパネルA、Bを組み合わせて固定して、筐体10として組み立てた状態では、前記リリースノブスライド溝11側の前記凸条B1と、第1パネルA側の凹部A1とが嵌合して、前記リリースノブスライド溝11の周囲が補強される。
したがって、電池蓋3がロック状態の場合に、Oリング32による弾性復元力によって電池蓋3が開こうとして、リリースノブ4を浮き上がらせようとする方向の力が作用しても、リリースノブ4は、ガイド溝12、13で浮き上がる方向の動きが規制され、そのガイド溝12、13は、前記凸条B1と前面パネルA側の凹部A1とが嵌合することで、浮き上がる方向への変形が補強されるので、ロック状態が確実に保持される。
かかる構成を備えていないと、Oリング32による弾性復元力によって電池蓋3が開こうとしたときに、ガイド溝12、13が変形して浮き上がり、スライドがうまくいかなかったり、ガイド溝が破損するという危険性がある。
なお、第1パネル側に凸条を設け、第2パネル側に凹部を設けてもよい。
前記リリースノブとリリースノブスライド溝の構造は、以上のような構成に限らず、例えば、図8(a)、(b)に示す実施例2のように、巻バネ5Bを覆うリリースノブ4Bの後部40Bの長さを伸長状態の巻バネ5Bより短くして、巻バネ5Bの一部がリリースノブ4Bの後部40Bの裏側に隠されるような構成にすることもできる。
なお、実施例2を示した図8(a)は進出した状態のリリースノブ4Bの周囲の正面断面図であり、図8(b)は後退した状態のリリースノブ4Bの周囲の正面断面図である。
この実施例2の場合には、リリースノブ4Bの後部40Bから露出される巻バネ5Bの一部とリリースノブ40Bの一部を、筐体10の一部で覆うようにすることで、埃などから巻バネ5Bを保護することが可能になる。また、実施例1と同様に、リリースノブ4Bの後端で巻バネを押すような構造に比較して、リリースノブ4Bの周囲の構造がコンパクトになる。
また、前記リリースノブとリリースノブスライド溝の構造を、例えば、図9(a)、(b)、(c)、(d)に示す実施例3のように、リリースノブスライド溝11側にバネ収納スペース16を凹設し、前記バネ収納スペース16に巻バネ5Cを収納し、リリースノブ4C側には、前記バネ収納スペース16に挿入される凸部47を設けた構成にすることもできる。
なお、実施例3を示した図9(a)は進出した状態のリリースノブ4Cの周囲の正面断面図であり、図9(b)は図9(a)のX7−X7線断面図、図9(c)は後退した状態のリリースノブ4Cの周囲の正面断面図であり、図9(d)は図9(c)のX8−X8線断面図である。
この実施例3の場合には、図9(a)、(c)に示すように、巻バネ5Cの全体がリリースノブ4Cで覆われるため、埃などから巻バネ5Cを保護することが可能になる。このとき、リリースノブ4Cにバネ収納スペース44Cを凹設して、リリースノブスライド溝11に設けたバネ収納スペース16とリリースノブ4Cに設けたバネ収納スペース44Cの二つのバネ収納スペースで巻バネ5Cを覆うと、巻バネ5Cの保護効果はさらに向上する。また、実施例1と同様に、リリースノブの後端で巻バネを押すような構造に比較して、リリースノブ4Cの周囲の構造がコンパクトになる。
本発明の筐体構造は、携帯用無線通信機等の電子機器に限らず、開口部とその蓋を備えた種々の筐体構造に適用することができる。
本発明にかかる筐体構造の実施例1としての携帯用無線通信機の斜視図である。 前記携帯用無線通信機の底面図である。 前記携帯用無線通信機の底面部分の断面図である。 リリースノブの斜視図である。 リリースノブの断面図である。 電池蓋の開閉動作とリリースノブの進退動作を説明する説明図である。 筐体を構成する2つのパネルの説明図である。 実施例2におけるリリースノブとリリースノブスライド溝の周辺構造の断面図である。 実施例3におけるリリースノブとリリースノブスライド溝の周辺構造の断面図である。
符号の説明
1 携帯用無線通信機
10 筐体
11 リリースノブスライド溝
12 ガイド溝
13 ガイド溝
14 規制突起
15 リブ
2 電池収納部
3 電池蓋
31 ヒンジ部
32 Oリング
33 面取り部
34 係合凹部
4 リリースノブ
41 係合凸部
42 摺動凸部
43 引っ掛部
44 バネ収納スペース
45 規制段差
46 面取り部
5 巻バネ
A 第1パネル
A1 凹部
B 第2パネル
B1 凸条
4B リリースノブ
40B リリースノブの後部
5B 巻バネ
4C リリースノブ
16 バネ収納スペース
47 凸部
5C 巻バネ
44C バネ収納スペース

Claims (5)

  1. 第1パネルと第2パネルとを突き合わせて筐体が組み立てられ、
    前記筐体の表面の一部に開口部が形成され、この開口部の蓋として配設された開閉蓋が、開閉可能に軸支されてなる筐体構造において、
    前記開閉蓋を閉じた状態で保持するロック位置と、前記開閉蓋が開くことが可能な状態に開放するリリース位置の2位置にスライド可能なリリースノブを、前記筐体の表面の一部に形成されたリリースノブスライド溝の内部に配設するとともに、
    前記リリースノブを前記ロック位置にスライドさせる方向に付勢する弾性体を、前記リリースノブの裏側に少なくとも一部が隠れるように配設したことを特徴とする筐体構造。
  2. 前記リリースノブは、基本形状が長方形状の板状部材であり、
    前記リリースノブの短手方向の両側部には凸条が形成され、
    前記リリースノブスライド溝の両側面には前記凸条がスライド可能なガイド溝が前記筐体の表面に平行に形成され、
    前記リリースノブは、前記ガイド溝に沿って前記筐体の表面に平行にスライド可能であって、前記筐体の表面に浮き上がる方向には移動できないように規制されていることを特徴とする請求項1に記載の筐体構造。
  3. 筐体に形成されたリリースノブスライド溝の内面には、
    断面が三角形状の突起を形成し、
    前記リリースノブスライド溝の内部に押し込んで配設したリリースノブが、前記突起によって前記リリースノブスライド溝内に嵌め殺し状態になるように構成したことを特徴とする請求項1、2の何れか1項に記載の筐体構造。
  4. 筐体に形成されたリリースノブスライド溝の近傍には、
    前記第1パネルと第2パネルとが嵌合して前記リリースノブスライド溝を補強する嵌合構造が形成されていることを特徴とする請求項1、2、3の何れか1項に記載の筐体構造。
  5. 前記嵌合構造は、
    第1パネルの端面において筐体の表面に平行に形成された凸条と、第2パネルの端面において前記凸条と嵌合しうる位置であって筐体の表面に平行に形成された凹部とによって構成されていることを特徴とする請求項1、2、3、4の何れか1項に記載の筐体構造。
JP2008166674A 2008-06-26 2008-06-26 筐体構造 Expired - Fee Related JP5332340B2 (ja)

Priority Applications (1)

Application Number Priority Date Filing Date Title
JP2008166674A JP5332340B2 (ja) 2008-06-26 2008-06-26 筐体構造

Applications Claiming Priority (1)

Application Number Priority Date Filing Date Title
JP2008166674A JP5332340B2 (ja) 2008-06-26 2008-06-26 筐体構造

Publications (2)

Publication Number Publication Date
JP2010009893A true JP2010009893A (ja) 2010-01-14
JP5332340B2 JP5332340B2 (ja) 2013-11-06

Family

ID=41590138

Family Applications (1)

Application Number Title Priority Date Filing Date
JP2008166674A Expired - Fee Related JP5332340B2 (ja) 2008-06-26 2008-06-26 筐体構造

Country Status (1)

Country Link
JP (1) JP5332340B2 (ja)

Cited By (2)

* Cited by examiner, † Cited by third party
Publication number Priority date Publication date Assignee Title
JP2014038395A (ja) * 2012-08-10 2014-02-27 Digital Electronics Corp 機器収納体および電子機器
JP2014206755A (ja) * 2014-07-15 2014-10-30 カシオ計算機株式会社 防水蓋装置、及び電子機器

Citations (6)

* Cited by examiner, † Cited by third party
Publication number Priority date Publication date Assignee Title
JPS5657465U (ja) * 1979-10-08 1981-05-18
JP2004146618A (ja) * 2002-10-25 2004-05-20 Matsushita Electric Ind Co Ltd 電子機器の蓋装置
JP2005174919A (ja) * 2004-11-15 2005-06-30 Sony Corp 電子機器
WO2007061183A1 (en) * 2005-11-23 2007-05-31 Lg Chem, Ltd. Locker structure of battery pack for wireless device
JP2007273308A (ja) * 2006-03-31 2007-10-18 Icom Inc 電池ケース
JP2007279498A (ja) * 2006-04-10 2007-10-25 Fujifilm Corp 防水構造

Patent Citations (6)

* Cited by examiner, † Cited by third party
Publication number Priority date Publication date Assignee Title
JPS5657465U (ja) * 1979-10-08 1981-05-18
JP2004146618A (ja) * 2002-10-25 2004-05-20 Matsushita Electric Ind Co Ltd 電子機器の蓋装置
JP2005174919A (ja) * 2004-11-15 2005-06-30 Sony Corp 電子機器
WO2007061183A1 (en) * 2005-11-23 2007-05-31 Lg Chem, Ltd. Locker structure of battery pack for wireless device
JP2007273308A (ja) * 2006-03-31 2007-10-18 Icom Inc 電池ケース
JP2007279498A (ja) * 2006-04-10 2007-10-25 Fujifilm Corp 防水構造

Cited By (2)

* Cited by examiner, † Cited by third party
Publication number Priority date Publication date Assignee Title
JP2014038395A (ja) * 2012-08-10 2014-02-27 Digital Electronics Corp 機器収納体および電子機器
JP2014206755A (ja) * 2014-07-15 2014-10-30 カシオ計算機株式会社 防水蓋装置、及び電子機器

Also Published As

Publication number Publication date
JP5332340B2 (ja) 2013-11-06

Similar Documents

Publication Publication Date Title
US7837484B2 (en) Cover mechanism and electronic device using same
JP6335691B2 (ja) 電子機器
JP5633921B2 (ja) スライド蓋の防水装置、及び電子機器
US20160306395A1 (en) Electronic device
US20140038018A1 (en) Battery cover latching assembly for portable electronic device
US20090314044A1 (en) Cover mechanism and electronic device using same
JP5332340B2 (ja) 筐体構造
JP4104466B2 (ja) 電子機器
JP2006032089A (ja) 携帯電子機器
TWI381790B (zh) 閂鎖機構
US11152036B2 (en) Electronic apparatus and protective cover
JP2008166274A (ja) 電子機器
CN104393553B (zh) 电网设备箱
US20120118892A1 (en) Cover locking device for portable terminal
JP5388202B2 (ja) 電子部品収納装置、及び電子機器
JP5012501B2 (ja) 開閉蓋のロック装置
US20110262125A1 (en) Camera
JP5082840B2 (ja) 開閉蓋のロック装置
KR200476433Y1 (ko) 잠금부 수납 구조를 갖는 휴대 단말기 보호 케이스
JP5435649B2 (ja) ロック構造および該ロック構造を備える電子機器
US20170226783A1 (en) Door-equipped housing
CN210295175U (zh) 一种滑盖式具有增强型通信自锁机构的电子设备存储装置
JP2012018771A (ja) 電子機器
KR200410089Y1 (ko) 외장형 하드디스크 드라이브 보관케이스
US8779289B2 (en) Electronic apparatus including lid opening and closing mechanism

Legal Events

Date Code Title Description
A621 Written request for application examination

Free format text: JAPANESE INTERMEDIATE CODE: A621

Effective date: 20110526

A977 Report on retrieval

Free format text: JAPANESE INTERMEDIATE CODE: A971007

Effective date: 20130322

A131 Notification of reasons for refusal

Free format text: JAPANESE INTERMEDIATE CODE: A131

Effective date: 20130514

A521 Request for written amendment filed

Free format text: JAPANESE INTERMEDIATE CODE: A523

Effective date: 20130617

TRDD Decision of grant or rejection written
A01 Written decision to grant a patent or to grant a registration (utility model)

Free format text: JAPANESE INTERMEDIATE CODE: A01

Effective date: 20130702

A61 First payment of annual fees (during grant procedure)

Free format text: JAPANESE INTERMEDIATE CODE: A61

Effective date: 20130715

R150 Certificate of patent or registration of utility model

Ref document number: 5332340

Country of ref document: JP

Free format text: JAPANESE INTERMEDIATE CODE: R150

Free format text: JAPANESE INTERMEDIATE CODE: R150

R250 Receipt of annual fees

Free format text: JAPANESE INTERMEDIATE CODE: R250

R250 Receipt of annual fees

Free format text: JAPANESE INTERMEDIATE CODE: R250

R250 Receipt of annual fees

Free format text: JAPANESE INTERMEDIATE CODE: R250

R250 Receipt of annual fees

Free format text: JAPANESE INTERMEDIATE CODE: R250

R250 Receipt of annual fees

Free format text: JAPANESE INTERMEDIATE CODE: R250

R250 Receipt of annual fees

Free format text: JAPANESE INTERMEDIATE CODE: R250

LAPS Cancellation because of no payment of annual fees