JP2010008965A - 表示装置 - Google Patents

表示装置 Download PDF

Info

Publication number
JP2010008965A
JP2010008965A JP2008171601A JP2008171601A JP2010008965A JP 2010008965 A JP2010008965 A JP 2010008965A JP 2008171601 A JP2008171601 A JP 2008171601A JP 2008171601 A JP2008171601 A JP 2008171601A JP 2010008965 A JP2010008965 A JP 2010008965A
Authority
JP
Japan
Prior art keywords
optical waveguide
scanning line
light
display device
light extraction
Prior art date
Legal status (The legal status is an assumption and is not a legal conclusion. Google has not performed a legal analysis and makes no representation as to the accuracy of the status listed.)
Granted
Application number
JP2008171601A
Other languages
English (en)
Other versions
JP5193704B2 (ja
Inventor
Takeshi Hioki
毅 日置
Yutaka Nakai
豊 中井
Current Assignee (The listed assignees may be inaccurate. Google has not performed a legal analysis and makes no representation or warranty as to the accuracy of the list.)
Toshiba Corp
Original Assignee
Toshiba Corp
Priority date (The priority date is an assumption and is not a legal conclusion. Google has not performed a legal analysis and makes no representation as to the accuracy of the date listed.)
Filing date
Publication date
Application filed by Toshiba Corp filed Critical Toshiba Corp
Priority to JP2008171601A priority Critical patent/JP5193704B2/ja
Priority to US12/493,560 priority patent/US8390610B2/en
Publication of JP2010008965A publication Critical patent/JP2010008965A/ja
Application granted granted Critical
Publication of JP5193704B2 publication Critical patent/JP5193704B2/ja
Expired - Fee Related legal-status Critical Current
Anticipated expiration legal-status Critical

Links

Images

Classifications

    • GPHYSICS
    • G02OPTICS
    • G02BOPTICAL ELEMENTS, SYSTEMS OR APPARATUS
    • G02B5/00Optical elements other than lenses
    • G02B5/04Prisms
    • G02B5/045Prism arrays
    • GPHYSICS
    • G02OPTICS
    • G02BOPTICAL ELEMENTS, SYSTEMS OR APPARATUS
    • G02B6/00Light guides; Structural details of arrangements comprising light guides and other optical elements, e.g. couplings
    • G02B6/0001Light guides; Structural details of arrangements comprising light guides and other optical elements, e.g. couplings specially adapted for lighting devices or systems
    • G02B6/0005Light guides; Structural details of arrangements comprising light guides and other optical elements, e.g. couplings specially adapted for lighting devices or systems the light guides being of the fibre type
    • G02B6/001Light guides; Structural details of arrangements comprising light guides and other optical elements, e.g. couplings specially adapted for lighting devices or systems the light guides being of the fibre type the light being emitted along at least a portion of the lateral surface of the fibre

Landscapes

  • Physics & Mathematics (AREA)
  • General Physics & Mathematics (AREA)
  • Optics & Photonics (AREA)
  • Mechanical Light Control Or Optical Switches (AREA)
  • Light Guides In General And Applications Therefor (AREA)
  • Devices For Indicating Variable Information By Combining Individual Elements (AREA)

Abstract

【課題】構造を容易に形成できると共に、高効率な光取り出しを実現する表示装置を提供すること。
【解決手段】表示装置は、列方向に沿って配列された、光取り出し領域を有する複数の光導波路2と、複数の光導波路2に光を入射する複数の光源と、行方向において凸部と凹部が交互に位置する断面を有し、凸部及び凹部のそれぞれの内面が光導波路2に対向するように配置され、電界が印加されることにより凸部及び凹部が光導波路2の光取り出し領域に応力を与えるように変位を生じる複数の走査線1と、複数の走査線1に電界を順次印加する制御部とを備える。
【選択図】 図1

Description

この発明は、1次元の光導波路構造の集積体からなる表示装置に関する。
現在広く用いられている表示装置については、CRT(Cathode Ray Cube)、LCD(Liquid Crystal Display)、PDP(Plasma Display Panel)、OLED(Organic Light Emitting Display)、FED(Field Emission Display)などが挙げられる。CRTについては、電子線走査の必要性から奥行き方向にサイズが必要なため、現在は、FPD(Flat Panel Display)と呼ばれるLCD、PDP、OLED、FEDなどが主流になりつつある。このFPDについては、発光メカニズムや光バルブなど方式はそれぞれ異なるが、2次元に配置された画素毎において光変調を行っている。この光変調に関するアナログ情報を各画素に伝送するために、精度の高いマトリックス構造を駆使したものとなっている。したがって、これらFPDを作製する際には、例えばガラス基板などの大面積基板を用いた例えばスパッタ法などの真空プロセスによる成膜やフォトエッチングプロセスに代表される精度の高い形状形成などの技術が適応されている。
一方、光変調をマトリックス配線の交点に位置する各画素で行わない方式の検討も進められている。すなわち、光変調などの処理については画素部以外の部分にて行い、これを所望の位置まで導光した後に出光させる方式である。本構成を用いることにより、光導波路へ全反射条件を満たすように光源より入射された光は、例えば光取出素子の変位などによりその出光位置を光導波路内の一部位置にて規定できるようになる。また、本方式によれば各画素部の役割は、所望の強度に調整された光の導波と光取出の選択に軽減できることになる。
例えば、特許文献1においては、各画素に光源や光バルブなど光変調素子を設けるのではなく、光源に付随する強度変調器を用いて光変調を行い、これを所望の画素位置まで導光した後、画素位置にて光取出を行う手法が提案されている。すなわち、光源にて強度調整された光を、光ファイバの全反射条件下における導光により所望の位置まで伝送した後、その位置でのコア材料の屈折率を変化させて光取出を行うものである。コア材料の屈折率を電界印加により部分的に変化させることにより、光ファイバ内での全反射条件を満たさない領域となる。このため、全反射条件を満たさない領域では、導波された光が光ファイバ側面から出射することになる。
特開平1−185692号公報
しかしながら、光ファイバのような1次元の光導波路構造の集積体からなる表示装置においては、表示のための走査駆動が必要である。上述したディスプレイデバイス構造では、走査は光導波路に対して電界を印加して屈折率を変化させることにより走査位置が決定される。走査駆動を厳密に行うには、製造において精密な構造形成が要求される。
この発明は上記事情に着目してなされたもので、その目的とするところは、構造を容易に形成できると共に、高効率な光取り出しを実現する表示装置を提供することにある。
上記目的を達成するためにこの発明に係わる表示装置は、列方向に沿って配列された、光取り出し領域を有する複数の光導波路と、前記複数の光導波路に光を入射する複数の光源と、行方向において凸部と凹部が交互に位置する断面を有し、前記凸部及び凹部のそれぞれの内面が前記光導波路に対向するように配置され、電界が印加されることにより前記凸部及び凹部が前記光導波路の光取り出し領域に応力を与えるように変位を生じる複数の走査線と、前記複数の走査線に前記電界を順次印加する制御部とを具備するものである。
したがってこの発明によれば、製造プロセスを容易にできると共に、高効率な光取り出しを実現する表示装置を提供することができる。
以下、図面を参照しながら本発明の実施の形態を詳細に説明する。
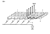
図1は、本発明の一実施形態に係る表示装置の表示面を概略的に示す斜視図である。図2に、図1に示す表示面のYZ平面の断面図を示す。
図1に示すように、この表示面は、複数の光導波路2は、X方向に沿って配列された、複数の光導波路2を備える。走査線1は、凸部と凹部が交互に位置する波形状の断面を有し、この凸部及び凹部のそれぞれの内面が上記光導波路2に対向するように配置される。走査線1の断面構造を模式的に示したものが図2であり、本図に示されるように走査線1は、光導波路2の形状に応じて凹部または凸部が形成されて波形状を有している。光導波路2は、例えば光ファイバのコア部で構成され、コア層の屈折率を変化させることでその領域から光導波路2に伝播する光を取り出し可能である。走査線1は、可撓性を有する圧電体などにより構成され、電界が印加されることにより上記凸部及び凹部が光導波路2の光取り出し領域に応力を与えるように変位を生じる。
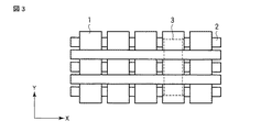
図3は、図1のXY面の平面構成例を模式的に示したものである。本実施形態では、光導波路2の集積構造に対して交互に走査線1が配置する構成としている。なお、本発明の配置関係はこれに制限されるものではなく、例えば、図4に示すように、波形状の走査線2に対して、その凸部のみに光導波路1を配置させるようにしてもよい。
また、光取出方向については、光導波路2に対して透過方向、反射方向のいずれの方向でも光取出素子の構成を変えることにより対応可能である。図5、図6、図7に光取出素子の構成を示す。例えば、図5に示すように導光に対してその光伝播方向を変化させて、プリズム面を作製することにより透過モードとして、所望の出光方向に光取り出しを行うことが可能である。また、図6に示すような屈折率の異なる多層膜においても同様に光取り出しが対応可能である。また、図7に示されるように光取出素子をプリズム面に対向する反射層を設けた構造とすることで、反射モードとして動作させることが可能である。
図1に示す表示部の構成を採用した場合、隣り合う光導波路2では異なる動作モードにて走査動作が可能になる。例えば、図1の構成では波状形成された走査線に対して凸部に配置された光導波路2では透過モードにて光取り出しを行い、これに隣接する凹部に配置された光導波路2では反射モードにて光取り出しを行うという別モードにて走査を行うことが可能となる。一方、図4に示される配置関係においては、各光導波路2においては、例えば、透過モードといった単一モードにて動作することになる。この場合、走査線選択時に凸部に生じる変位により各光導波路2に応力が加わるが、凹部においては、この変位を補償するように電界を印加し、走査線全体としては変化量を相殺する動作とすることが可能となる。したがって、本動作を行うことにより、凹部と凸部とで相異なる変位を与えることで、走査線1の1組の凹凸部において変位を相互に相殺させて、選択される走査線全体での負荷を低減させることが可能となる。
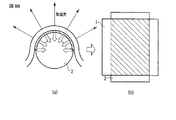
また、本実施形態の走査線の形状を採用することにより、光取出領域での接触部位の面積の増大を図ることができる。図8Aは、作製が容易な円形状の断面の光導波路2に光を取出すための板状走査線10が接触した場合の断面構成を模式的に示している。このとき、図8Aに示すように接触部位は円断面において接点で接触するため、走査時の光取出可能な領域は狭く限定されてしまう。図8Aの構造の場合、接触部に局所的に大きな応力を与えることは可能であるが、接触面積を広げるためには、光導波路2または光取出すための板状走査線10が変形する程度の応力が必要になり、走査線に用いる圧電体材料やその形状について制限やより大きな負荷が生じることになる。
これに対して、本実施形態では、図8Bに示すように光導波路2の断面形状に合わせて、光を取出すための走査線1が接触していくため、広い接触面積において光導波路2に応力を与えることが可能である。これにより、図8Aの場合と比較して走査時の光取出可能な領域を拡大することが可能となる。さらに、例えば光導波路2の表面が均一でなくある程度の凹凸などを有していたとしても、図8Bに示されるように、光導波路2は、各接触部分において波形状走査線1から垂直方向に圧力を受けることになるため、その凹凸に応じて波形状圧電体1が変位することにより凹凸による空隙形成を回避することが可能である。したがって、構造を容易に形成できると共に、高効率な光取り出しが可能な表示装置を実現することができる。
また、図8Bのように断面形状が円形の光導波路2を用いることで、走査時において、その光取り出し方向が光導波路2の断面形状に対して、その接線方向に取ることが可能である。このため、光取り出し時の出射方向が図8Aと比較して広く取ることができる。つまり、全体の光取り出し量を増大するだけでなく、表示装置における視野角と呼ばれる表示の可視範囲を広げることも可能になるという利点を有している。
図9に、本実施形態に係る表示装置の全体構成例を示す。本表示装置は、光源4から表示すべき情報に応じた光が入射される光導波路2と、この光導波路2の一部から選択的に光を取り出すことを可能にする走査線1と、光取り出しを行う走査線1を順次選択するためのライン選択素子5と、走査線1の電界をコントロールするための電源とを有する。ライン選択素子5により選択された走査線1については、例えば走査線1に圧電性材料を用いた場合にはその電位を操作することにより走査線1が変位することによって光導波路2に応力を与え、その部分での光導波路2の全反射条件を崩すように構成される。この全反射条件を崩すためには、走査線1の光取り出しを行う部分を光導波路2よりも屈折率の高い材料で形成する、または、その部分に上記図5、図6、図7に示されるような光取出素子を走査線1に付加する、などの構造を採用することにより対応可能となる。
図10、図11は、図9において、走査線を光導波路に対して交互配置した場合の表示装置の光導波路集積構造と走査線群との位置関係を示す構造模式例である。図10及び図11に示すように、各走査線1は光導波路2に対してその凹凸部が交互に配置される。また、図11に示すように、互いに隣り合う走査線1においては、凹凸形状が交互配置となっている。すなわち、各走査線1については、各光導波路2に対して凹部と凸部が互いに隣接配置する波形状となっている。図12は、走査線のYZ平面における断面構成例を示したものである。本図から各走査線1は、光導波路2の上部を覆う部分と光導波路2の下部を覆う部分が、交互に位置する構成であることがわかる。
図13は、走査線にある電位が印加され変位した状態を示す模式例である。本図においては、走査線1は、光導波路2の上部側に位置する部分については、光導波路2に対して収縮する方向に変位しており、光導波路2の下部側に位置する部分については光導波路2に対して伸長する方向に変位している。このとき、各光導波路2に対して、上部側に走査線が配置されている領域では、各光導波路2に対して走査線1による接触や応力を与えることが可能であるため、例えば、図5,6,7に示されるような光取出素子を光導波路2と走査線1の間に配置させることにより光導波路2から光取り出しが可能となる。
一方、図14は、走査線に図13とは異なる電位が印加され変位した状態を示す模式例である。本図においては、図13とはその方向が異なり、各光導波路2に対して、走査線1が光導波路2の上部側に位置する部分については光導波路に対して伸長する方向に変位しており、走査線1が光導波路2に対して下部側に位置する部分については光導波路2に対して収縮する方向に変位している。したがって各光導波路2の下部側に走査線2が配置されている領域では、各光導波路2に対して走査線1による接触や応力を与えることが可能であるため、例えば、図5,6,7に示されるような光取出素子を光導波路2と走査線1の間に配置させることにより光導波路2からの光取り出しが可能を可能にすることができる。
図13及び図14に示したように、隣り合う光導波路間においては、走査線1の凹部と凸部とで変位方向が相反するため、収縮方向と伸長方向で変位を低減ないしは相殺することが可能となる。これにより、伸長方向の効果により収縮方向の効果を高めることができるとともに、選択された走査線1では伸長方向と収縮方向との変位量が低減されるため、走査線全体での変位が低減または相殺された、安定したデバイス動作が可能となる。
図15および図16は、本実施形態における走査線の変位を可能にするための走査線における電極配置例を示したものである。図15は断面構成例、図16は平面構成例を示す。本実施形態では、交互配置される光導波路2に対して互いに相反する変位を与える構造が必要である。これは、例えば光導波路2に対して走査線1が上部に位置する領域と、下部に位置する領域では正負が互いに異なる電界を与えることにより動作可能である。このため、例えばポリフッ化ビニリデン(PVDF)やこれを含む有機材料混合体により形成された圧電体フィルム11の両面に、光導波路2の幅に相当する位置において交互に第1電極121と、この第1電極121と相反する変位を与える第2電極122とまた、第1電極121及び第2電極122に対向する位置にそれぞれ第3電極123及び第4電極124を配置することにより所望の変位が形成可能である。すなわち、第1電極121と第3電極123との間に印加する電位差と、第2電極122と第4電極124との間に印加する電位差を相反する変位を与えるように制御すればよい。
また、図15及び図16の走査線構造に限らず、圧電体フィルムを2層以上重ねて、変位方向をそれぞれ機能分離した構造を用いても良い。図17および図18は2層化した場合の走査線2の電極配置構成例を示したものである。図17は断面構成例、図18は平面構成例を示す。第1圧電体111及び第2圧電体112に挟持される中間電極125と、第1圧電体111の上部に位置する第1電極121と、第2圧電体112の下部に位置する第2電極122とから構成される。第1電極121は、光導波路2の幅に相当するピッチにて電極形成されており、その隣り合う電極は光導波路2が1つおきに納まる配置となっている。これに対して第2電極122は第1電極121が電極形成されていない領域で、光導波路2の幅に相当する電極が形成されている。本構造を用いることにより上部側の第1電極121と下部側の第1電極122で正負が相反する電位を印加することにより、光導波路2の幅相当で隣り合う変位が相反する走査線を形成することができる。
さらに、図19に、他の走査線構造の断面の詳細構造を示す。図19に示すように、走査線は、PVDFなどの圧電体フィルムからなる第1圧電体111と第2圧電体112と、第1圧電体111及び第2圧電体112に挟持される中間電極層125と、第1圧電体111の上面に接して形成される第1電極121及び第2電極122と、第2圧電体112の下面に接して形成される第3電極123及び第4電極124とから構成される。この走査線は、凸部の内面でファイバ形状の光導波路2と対向し、凹部の内面で線状体6と対向するように配置される波形状の断面を有している。
線状体6は、例えば、光吸収可能な色素を含有したアクリル樹脂を用いて、光導波路2と同一サイズに形成されたものである。光吸収可能な色素を含有したアクリル樹脂は、光の導入を行なわずに、表示装置として画素間の境界を明確にするためのブラックマトリックスとしての機能を有することになる。また、線状体6を光導波路2と交互に配列することで、例えば表示面側といった同一方向への光取り出しが可能である。また、本実施形態では、光導波路2から効率良く光を取り出すことを可能とするために光導波路2と第2電極122との間に光取出機能層13を配置している。この光取出機能層13は、上述したように、例えばマイクロプリズムを用いた屈折効果や微粒子による散乱効果を用いて、光導波路2から光を取り出す動作選択時にはより効率的に光を取り出すことを可能とするものである。
図19に示される構成においては、例えば、光導波路2に対応する位置に形成されている第1電極121と線状体6に対応する位置に形成されている第3電極123においては、異なる電位が印加可能である。また、第2電極122と第4電極124においても同様に異なる電位が印加可能である。したがって、第1圧電体111及び第2圧電体112の分極方向と、第1乃至第4電極121〜124及び中間電極125への電位の与え方により、例えば、光導波路2上の走査線部については、光導波路2に接触する方向に変位すると同時に、線状体6上の走査線部については、線状体6から開離する方向に変位させることが可能である。このとき、走査線上に位置する光導波路2から光取出機能層13を介して光を取り出すことが可能となる。さらに、本走査線の動作方法を用いた場合には、光導波路2に対向する走査線部と線状体6に対向する走査線部が相異なる動作、すなわち、光導波路2に対向する走査線部は曲率半径が小さくなる方向へ変位し、線状体6に対向する走査線部は曲率半径が大きくなる方向へ変位するため、走査線全体としては変化量を低減または相殺する動作とすることが可能となる。
また、図19の走査線構造について、光導波路2と走査線1との間、及び線状体6と走査線1との間にそれぞれスペーサを設けることで、デバイス構造を安定化させることができる。
図20に、この場合の走査線の断面の詳細構造を示す。図20に示すように、光導波路2と光取出機能層13との間に第1スペーサ141を配置し、線状体6と第3電極124との間に第2スペーサ142を配置させた構成となっている。第1スペーサ141及び第2スペーサ142を介して両端を接着することにより、光導波路2と線状体6の配置関係を維持できるとともに、光導波路2及び線状体6と走査線にて形状を維持可能な表示面を形成することも可能である。このとき、第1スペーサ141及び第2スペーサ142は、光導波路2に接する面が光導波路2における全反射を妨げないような光導波路2よりも屈折率が低い材料や反射材料であることが望ましい。
図21は、各光導波路2に赤色(R)、緑色(G)、青色(B)の光をそれぞれ独立に入射する場合の画素の構成を示したものである。
図21において、上側に断面構成例、下側に平面構成例を示す。表示装置の画素に相当するサイズについては、用いる光導波路2と線状体6の太さと圧電体などから構成される走査線1の幅により規定できる。ここでは、図21に示すように、3本の光導波路2と3本の線状体6の計6本と、走査線1の幅から囲まれた領域が1画素の基本構成となり、図21において示すLが画素サイズに相当することになる。
したがって、表示装置としての仕様にあわせて、走査線1の幅や、光導波路2及び線状体6の太さを選択することにより任意の精細度をもつ表示装置が構成可能である。例えば、画格が対角100インチで1920×1080の画素数をもつ表示装置を作製する場合、1画素のサイズは約1.15mm×1.15mm程度となる。このとき、例えば、光導波路2と線状体6として断面が直径0.15mmの円状のものを用いて光導波路2と線状体6との間を約0.042mmピッチで配置し、幅が1.0mmの走査線1を走査線間を0.15mmピッチで配置することにより、図21におけるLはそれぞれ1.15mmとすることができる。
このように、本実施形態によれば、希望する画面サイズとその画素数に応じて、光導波路や線状体、及び走査線のサイズを選択することにより任意に対応できることになる。また、逆に光導波路や線状体、走査線のサイズが予め決められたサイズのものを組み合わせて、自由な画面サイズや画素数が実現可能である。
また、図22に示すように、光導波路2に予め光源にてR、G、B成分などを混色した光を入射するように構成してもよい
図22は、このような構成における画素相当の断面構成例と平面構成例を示したものである。この場合、1つの光導波路2に光源から例えばR,G,B成分などを混ぜて入射可能であるため、従来の表示装置のように空間分割または時間分割による色分割を行う必要がない。このようにすると、例えば前述した画格が対角100インチで1920×1080の画素数をもつ表示装置を作製する場合、例えば、走査線幅は同様であるが、光導波路2と線状体6として断面が直径0.50mmとし、光導波路2と線状体6と間との間を0.075mmピッチで配置させることにより実現可能となる。ここでは精細度を対角100インチ相当で1920×1080の画素数としたが、本表示装置の精細度は、用いる光導波路2や線状体6の直径や走査線1の幅を変更することにより容易に変更可能である。なお、上記実施形態では、光導波路2と線状体6を同一形状としたが、同一形状でなくとも形成は可能である。
なお、この発明は上記実施形態そのままに限定されるものではなく、実施段階ではその要旨を逸脱しない範囲で構成要素を変形して具体化できる。例えば、本実施形態においては、断面が円形状の光導波路2や線状体6を用いているが断面形状はこれに限られたものではない。また、上記実施形態に開示されている複数の構成要素の適宜な組み合せにより種々の発明を形成できる。例えば、実施形態に示される全構成要素から幾つかの構成要素を削除してもよい。さらに、異なる実施形態に亘る構成要素を適宜組み合せてもよい。
本発明の一実施形態に係る表示装置の表示面を概略的に示す斜視図。 図1に示す表示面のYZ平面の断面図。 図1に示す表示面のXY平面の構成を示す図。 図1に示す表示面の画素部の拡大図。 プリズムを用いた光取出素子の一例を示す図。 屈折率の異なる多層膜を用いた光取出素子の模式例を示す図。 反射モードで光取り出し可能な光取出素子の模式例を示す図。 板状走査線を用いた表示装置における光取出領域を模式的に示す図。 図1に示す表示装置における光取出領域を模式的に示す図。 図1に示す表示装置の全体構成例を示す図。 走査線配置の他の構成例を示す図。 図10に示す構成におけるXY平面の構成を示す図。 走査線の断面構成例を示す図。 図12に示す走査線が変位した状態の一例を示す図。 図12に示す走査線が変位した状態の他の例を示す図。 走査線における電極配置の断面構成例を示す図。 図15に示す電極配置の平面構成例を示す図。 走査線における電極配置の断面構成の他の例を示す図。 図17に示す電極配置の平面構成例を示す図。 走査線の断面の詳細構造例を示す図。 走査線の断面の他の詳細構造例を示す図。 各光導波路にRGBの光をそれぞれ独立に入射する場合の画素の構成を示す図。 光導波路にRGBを混色した光を入射する場合の画素の構成を示す図。
符号の説明
1…走査線、2…光導波路、3…走査領域、4…光源、5…ライン選択素子、11…圧電層、121…第1電極、122…第2電極、123…第3電極、124…第4電極、111…第1圧電層、112…第1圧電層、125…中間電極、13…光取出機能層、6…線状体、141…第1スペーサ、143…第2スペーサ。

Claims (5)

  1. 列方向に沿って配列された、光取り出し領域を有する複数の光導波路と、
    前記複数の光導波路に光を入射する複数の光源と、
    行方向において凸部と凹部が交互に位置する断面を有し、前記凸部及び凹部のそれぞれの内面が前記光導波路に対向するように配置され、電界が印加されることにより前記凸部及び凹部が前記光導波路の光取り出し領域に応力を与えるように変位を生じる複数の走査線と、
    前記複数の走査線に前記電界を順次印加する制御部と
    を具備することを特徴とする表示装置。
  2. 前記走査線は、可撓性を有する少なくとも1つの圧電体層と、前記圧電体層を厚み方向の両側から挟むように配置された複数の電極層とを含み、前記制御部は前記複数の電極層間に前記電界を印加することを特徴とする請求項1記載の表示装置。
  3. 前記走査線は、前記凸部と前記凹部とで相異なる変位を生じ、前記凸部での変位と前記凹部での変位が低減可能であることを特徴とする請求項1記載の表示装置。
  4. 前記複数の光導波路の相互間に配置された光吸収性の線状体をさらに具備することを特徴とする請求項1記載の表示装置。
  5. 前記光導波路と前記走査線との間に配置されたスペーサをさらに具備することを特徴とする請求項1記載の表示装置。
JP2008171601A 2008-06-30 2008-06-30 表示装置 Expired - Fee Related JP5193704B2 (ja)

Priority Applications (2)

Application Number Priority Date Filing Date Title
JP2008171601A JP5193704B2 (ja) 2008-06-30 2008-06-30 表示装置
US12/493,560 US8390610B2 (en) 2008-06-30 2009-06-29 Display apparatus with scanning lines having convex and concave portions

Applications Claiming Priority (1)

Application Number Priority Date Filing Date Title
JP2008171601A JP5193704B2 (ja) 2008-06-30 2008-06-30 表示装置

Publications (2)

Publication Number Publication Date
JP2010008965A true JP2010008965A (ja) 2010-01-14
JP5193704B2 JP5193704B2 (ja) 2013-05-08

Family

ID=41446806

Family Applications (1)

Application Number Title Priority Date Filing Date
JP2008171601A Expired - Fee Related JP5193704B2 (ja) 2008-06-30 2008-06-30 表示装置

Country Status (2)

Country Link
US (1) US8390610B2 (ja)
JP (1) JP5193704B2 (ja)

Families Citing this family (3)

* Cited by examiner, † Cited by third party
Publication number Priority date Publication date Assignee Title
JP5367383B2 (ja) * 2009-01-14 2013-12-11 株式会社東芝 表示装置及びその駆動方法
JP5161934B2 (ja) 2010-08-03 2013-03-13 株式会社東芝 表示素子および表示装置
CN105629378B (zh) * 2016-01-04 2018-03-16 京东方科技集团股份有限公司 显示基板以及显示装置

Citations (4)

* Cited by examiner, † Cited by third party
Publication number Priority date Publication date Assignee Title
JPS59148030A (ja) * 1983-02-15 1984-08-24 Sony Corp 光フアイバ−デイスプレイ装置
JP2001265265A (ja) * 2000-03-15 2001-09-28 Sony Corp 表示装置
JP2005221590A (ja) * 2004-02-03 2005-08-18 Seiko Epson Corp 表示装置
JP2005221589A (ja) * 2004-02-03 2005-08-18 Seiko Epson Corp 表示装置

Family Cites Families (4)

* Cited by examiner, † Cited by third party
Publication number Priority date Publication date Assignee Title
JPH01185692A (ja) 1988-01-19 1989-07-25 Sanyo Electric Co Ltd 平面ディスプレイパネル
JP4460732B2 (ja) * 2000-07-21 2010-05-12 富士フイルム株式会社 平面表示装置および露光装置
WO2004100118A1 (ja) * 2003-05-07 2004-11-18 Toshiba Matsushita Display Technology Co., Ltd. El表示装置およびその駆動方法
JP4282533B2 (ja) * 2004-04-19 2009-06-24 株式会社東芝 表示装置

Patent Citations (4)

* Cited by examiner, † Cited by third party
Publication number Priority date Publication date Assignee Title
JPS59148030A (ja) * 1983-02-15 1984-08-24 Sony Corp 光フアイバ−デイスプレイ装置
JP2001265265A (ja) * 2000-03-15 2001-09-28 Sony Corp 表示装置
JP2005221590A (ja) * 2004-02-03 2005-08-18 Seiko Epson Corp 表示装置
JP2005221589A (ja) * 2004-02-03 2005-08-18 Seiko Epson Corp 表示装置

Also Published As

Publication number Publication date
US20090322736A1 (en) 2009-12-31
JP5193704B2 (ja) 2013-05-08
US8390610B2 (en) 2013-03-05

Similar Documents

Publication Publication Date Title
US7236663B2 (en) Display element and display device using the same
US8619210B2 (en) Display device
KR100861059B1 (ko) 광변조 소자, 표시 소자 및 노광 소자
US8780015B2 (en) Display device with image expansion via peripherial light guide elements
US8797633B1 (en) Display device assembly and manufacture thereof
US20090027587A1 (en) Planar lighting device and liquid crystal display device using the same
CN102087814A (zh) 一种无边框显示装置及大屏幕显示器
US20100053535A1 (en) Display apparatus and method of fabrication the same
JP2022524582A (ja) 光制御フィルムを有する水平視差マルチビューディスプレイ及び方法
US20040240782A1 (en) Light scattering optical resonator
JP5193704B2 (ja) 表示装置
TWI689758B (zh) 具有方向性控制輸出之顯示裝置,及該顯示裝置的背光
JPWO2007013249A1 (ja) 視差バリア、多重表示装置、及び視差バリアの製造方法
CN118317628A (zh) 显示基板及其制备方法、显示面板
CN210691001U (zh) 立体显示装置
CN103123425A (zh) 液晶显示装置及其制造方法
CN115620613B (zh) 量子点背光模组及显示装置
CN111837070A (zh) 具有倾斜的多光束列的水平视差多视图显示器和方法
CN110212010B (zh) 像素排布结构及显示面板
JP2007193288A (ja) 薄膜トランジスターアレイおよび半透過型液晶表示パネル
JP2009282102A (ja) 液晶表示装置
JP4994649B2 (ja) カラー液晶表示装置のバックライト
CN114966927A (zh) 防窥膜及拼接面板
JP2008164703A (ja) 表示素子およびその製造方法
JP2001042777A (ja) 表示装置

Legal Events

Date Code Title Description
A621 Written request for application examination

Free format text: JAPANESE INTERMEDIATE CODE: A621

Effective date: 20110323

A977 Report on retrieval

Free format text: JAPANESE INTERMEDIATE CODE: A971007

Effective date: 20120808

A131 Notification of reasons for refusal

Free format text: JAPANESE INTERMEDIATE CODE: A131

Effective date: 20120821

A521 Written amendment

Free format text: JAPANESE INTERMEDIATE CODE: A523

Effective date: 20121017

TRDD Decision of grant or rejection written
A01 Written decision to grant a patent or to grant a registration (utility model)

Free format text: JAPANESE INTERMEDIATE CODE: A01

Effective date: 20130108

A61 First payment of annual fees (during grant procedure)

Free format text: JAPANESE INTERMEDIATE CODE: A61

Effective date: 20130204

FPAY Renewal fee payment (event date is renewal date of database)

Free format text: PAYMENT UNTIL: 20160208

Year of fee payment: 3

LAPS Cancellation because of no payment of annual fees