JP2010008029A - 竪型溶解炉を用いた溶銑製造方法 - Google Patents

竪型溶解炉を用いた溶銑製造方法 Download PDF

Info

Publication number
JP2010008029A
JP2010008029A JP2008171536A JP2008171536A JP2010008029A JP 2010008029 A JP2010008029 A JP 2010008029A JP 2008171536 A JP2008171536 A JP 2008171536A JP 2008171536 A JP2008171536 A JP 2008171536A JP 2010008029 A JP2010008029 A JP 2010008029A
Authority
JP
Japan
Prior art keywords
oxygen
iron
furnace
tuyere
hot air
Prior art date
Legal status (The legal status is an assumption and is not a legal conclusion. Google has not performed a legal analysis and makes no representation as to the accuracy of the status listed.)
Granted
Application number
JP2008171536A
Other languages
English (en)
Other versions
JP5181875B2 (ja
Inventor
Eiju Matsuno
英寿 松野
Yoshitaka Sawa
義孝 澤
Ryota Murai
亮太 村井
Yukio Takahashi
幸雄 高橋
Current Assignee (The listed assignees may be inaccurate. Google has not performed a legal analysis and makes no representation or warranty as to the accuracy of the list.)
JFE Steel Corp
Original Assignee
JFE Steel Corp
Priority date (The priority date is an assumption and is not a legal conclusion. Google has not performed a legal analysis and makes no representation as to the accuracy of the date listed.)
Filing date
Publication date
Application filed by JFE Steel Corp filed Critical JFE Steel Corp
Priority to JP2008171536A priority Critical patent/JP5181875B2/ja
Publication of JP2010008029A publication Critical patent/JP2010008029A/ja
Application granted granted Critical
Publication of JP5181875B2 publication Critical patent/JP5181875B2/ja
Expired - Fee Related legal-status Critical Current
Anticipated expiration legal-status Critical

Links

Images

Classifications

    • YGENERAL TAGGING OF NEW TECHNOLOGICAL DEVELOPMENTS; GENERAL TAGGING OF CROSS-SECTIONAL TECHNOLOGIES SPANNING OVER SEVERAL SECTIONS OF THE IPC; TECHNICAL SUBJECTS COVERED BY FORMER USPC CROSS-REFERENCE ART COLLECTIONS [XRACs] AND DIGESTS
    • Y02TECHNOLOGIES OR APPLICATIONS FOR MITIGATION OR ADAPTATION AGAINST CLIMATE CHANGE
    • Y02PCLIMATE CHANGE MITIGATION TECHNOLOGIES IN THE PRODUCTION OR PROCESSING OF GOODS
    • Y02P10/00Technologies related to metal processing
    • Y02P10/20Recycling

Landscapes

  • Manufacture And Refinement Of Metals (AREA)
  • Manufacture Of Iron (AREA)
  • Vertical, Hearth, Or Arc Furnaces (AREA)

Abstract

【課題】堅型溶解炉を用いて鉄系スクラップを溶解し、溶銑を製造する方法において、安定した操業を行いつつ、溶銑を高い生産性で製造する。
【解決手段】堅型溶解炉において、炉頂部から鉄系スクラップとコークスを装入し、炉下部に設けられた複数の羽口から熱風を吹き込み、コークスの燃焼熱で鉄系スクラップを溶解することにより溶銑を製造する方法であって、少なくとも一部の羽口内に、酸素を超音速で噴射する酸素噴射ノズルを配置して、該酸素噴射ノズルから酸素(a)を吹き込むとともに、酸素(b)を予め熱風と混合して、熱風とともに羽口から吹き込み、且つ酸素(a)と酸素(b)の流量が−2.5×A+92.5≦X≦−1.2×A+100(但し、A(vol%)=([酸素(a)と酸素(b)の合計流量]/[熱風流量])×100、X(vol%)=([酸素(a)の流量]/[酸素(a)と酸素(b)の合計流量])×100)を満足する。
【選択図】図3

Description

本発明は、竪型溶解炉を用い、コークスの燃焼熱により鉄系スクラップを溶解して溶銑を製造する方法に関する。
従来、竪型溶解炉を用いて鉄系スクラップを溶解するプロセスが知られており(例えば、特許文献1)、このプロセスでは、竪型溶解炉の炉頂部から鉄系スクラップとコークスを装入し、炉下部に設けられた複数の羽口(送風羽口)から熱風を吹き込み、コークスの燃焼熱で鉄系スクラップを溶解することにより溶銑が得られる。
特開昭56−156709号公報
上記のようなプロセスで溶銑を製造する場合に、生産量を増加させようとすると、次のような問題がある。すなわち、生産量を増加させる場合、排ガス量を増加させないために酸素富化を行うのが有効であるが、羽口から吹き込まれた酸素が炉中心部まで十分に届かない場合には、炉中心部側の領域でのガスの流れが少なくなる。その結果、炉中心部側でのコークスの燃焼や鉄系スクラップの溶解が不十分となり、出銑温度の低下を招くばかりでなく、場合によっては操業自体に支障をきたす恐れがある。また、ダストがうまく排出されずに炉内に蓄積し、ガスの通気性が低下する等の問題も生じる。さらに、多量の酸素富化の場合においては、羽口先の温度が非常に高温になるため、安定的な操業に支障をきたす可能性もある。
したがって本発明の目的は、以上のような課題を解決し、竪型溶解炉を用いて鉄系スクラップを溶解し、溶銑を製造する方法において、安定した操業を行いつつ、溶銑を高い生産性で製造することができる方法を提供することにある。
本発明者らは、上記課題を解決すべく検討を重ねた結果、羽口内に配置された酸素噴射ノズルから超音速で酸素(a)を噴射することにより酸素富化を行うとともに、酸素(b)を予め熱風と混合して、熱風とともに羽口から吹き込むことにより酸素富化を行い、且つ酸素(a),(b)の流量の比率を酸素富化率に応じて最適化することにより、上記課題を適切に解決できることを見出した。
本発明は、このような知見に基づきなされたもので、以下を要旨とするものである。
[1]竪型溶解炉において、炉頂部から鉄系スクラップとコークスを装入し、炉下部に設けられた複数の羽口から熱風を吹き込み、コークスの燃焼熱で鉄系スクラップを溶解することにより溶銑を製造する方法であって、
少なくとも一部の羽口内に、酸素を超音速で噴射する酸素噴射ノズルを配置して、該酸素噴射ノズルから酸素(a)を吹き込むとともに、酸素(b)を予め熱風と混合して、熱風とともに羽口から吹き込み、且つ前記酸素(a)と酸素(b)の流量が下記(1)式を満足することを特徴とする堅型溶解炉を用いた溶銑製造方法。
−2.5×A+92.5≦X≦−1.2×A+100 …(1)
但し、
A:酸素富化率(vol%)=([酸素(a)と酸素(b)の合計流量]/[熱風流量])×100
X(vol%)=([酸素(a)の流量]/[酸素(a)と酸素(b)の合計流量])×100
[2]上記[1]の溶銑製造方法において、鉄系スクラップとともに、鉄含有ダストおよび/または鉄含有スラッジの塊成化物を装入することを特徴とする堅型溶解炉を用いた溶銑製造方法。
本発明によれば、羽口内に配置された酸素噴射ノズルから超音速で酸素(a)を噴射することにより酸素富化を行うとともに、酸素(b)を予め熱風と混合して、熱風とともに羽口から吹き込むことにより酸素富化を行い、且つ両酸素(a),(b)の流量の比率を酸素富化率に応じて最適化することにより、炉内でのガスの流れと酸素の供給が適正化され、これによりコークスの燃焼と鉄系スクラップの溶解が炉全体で生じることになる。このため安定した操業を行いつつ、溶銑を高い生産性で製造することができる。
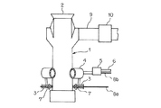
図1は、本発明で用いる竪型溶解炉(この実施形態では竪型スクラップ溶解炉。以下、単に「溶解炉」という)とその基本的な操業形態を模式的に示している。図において、1は炉体、2は炉頂に設けられる原料装入部、3は炉下部の周方向において適当な間隔で設けられる複数の羽口(送風羽口)、4はこの羽口3に熱風を供給する熱風管、5は熱風を発生させて熱風管4に供給する熱風発生装置、6は熱風発生装置5に空気を供給する空気配管、7は羽口3内に設けられる酸素噴射ノズル、8a,8bはそれぞれ酸素噴射ノズル7と熱風発生装置5に酸素を供給する酸素配管、9は炉体上部に接続される排気ダクト、10はこの排気ダクト9の途中に設けられる集塵装置である。
この溶解炉の大きさ等に本質的な制限はないが、実質的に操業可能若しくは操業上有利なサイズとして、通常は、羽口位置での炉内径が2〜4m程度、炉高が6〜10m程度である。羽口数に制限はないが、通常、4〜12本程度である。
このような溶解炉では、炉頂の原料装入部2から鉄系スクラップとコークスを装入するとともに、複数の羽口3から熱風を吹き込み、コークスの燃焼ガスの熱で鉄系スクラップを溶解し、溶銑とする。生成した溶銑は炉底部の出銑口から炉外に取り出される。また、炉内では上昇する熱風に伴いダストも生成し、このダストは排気ダクト9を経由して集塵装置10で捕集される。
原料である鉄系スクラップとコークスは、炉内に同時に装入してもよいし、交互に装入してもよい。また、主たる炉装入原料は鉄系スクラップとコークスであるが、さらに鉄源として、鉄含有ダストおよび/または鉄含有スラッジの塊成化物(以下、説明の便宜上「鉄含有ダスト/スラッジ塊成化物」という。)を装入することができる。この鉄含有ダスト/スラッジ塊成化物を装入すると、鉄系スクラップ単独装入の場合に比べてコークス原単位が増加するため、排ガス量が増加する。送風酸素富化により、排ガス量を低減できるため、鉄含有ダスト/スラッジ塊成化物を装入する場合は、送風酸素富化の制御がより重要となる。溶解炉には、上記鉄源およびコークス以外にも、例えば、銑鉄、還元鉄、鉄鉱石等の鉄源、木炭や無煙炭等の炭材などを装入してもよい。鉄系スクラップと鉄含有ダスト/スラッジ塊成化物を併せて装入する際の炉内への装入方法は任意であるが、なるべく均一に装入する方が操業の安定性には良い。
鉄含有ダスト/スラッジ塊成化物は、鉄含有ダスト、鉄含有スラッジの1種以上またはこれを主体とする原料を塊状に固めたものであればよく、したがって塊成化物の種類や製法を問わないが、一般には、鉄含有ダスト、鉄含有スラッジの1種以上に水硬性バインダーを配合し、さらに必要に応じて還元用の炭材粉などを配合した原料に水を加えて混合した後、成形し、この成形物を水和硬化させて塊成化物としたものが用いられる。なお、鉄含有ダスト/スラッジ塊成化物の構成成分や製法については、後に詳述する。
本発明では、排ガス量の増大を抑えつつ溶銑の生産量を高めるために、送風酸素富化を行うが、この送風酸素富化を以下のような2つの系統で行う。すなわち、少なくとも一部の羽口3内に、酸素(ジェット)を超音速で噴射する酸素噴射ノズル7を配置して、この酸素噴射ノズル7から酸素(a)を吹き込むとともに(第1の系統)、酸素(b)を予め熱風と混合して、熱風とともに羽口3から吹き込む(第2の系統)。
図2は、酸素噴射ノズル7が配置された羽口3の拡大断面図であり、酸素噴射ノズル7は、通常、羽口管30内に同心状に配置される。この酸素噴射ノズル7は、複数ある羽口3の全部に配置してもよいし、一部の羽口3にのみ配置してもよい。一般に酸素噴射ノズル7は、入口径が小さく出口径が大きい所謂ラバールノズルであり、超音速の出口流速(初期流速)で酸素ジェットを噴射することができる。酸素噴射ノズル7には酸素配管8aから酸素(a)が供給される。
このような酸素噴射ノズル7からの超音速酸素噴射による送風酸素富化を行うことにより、単位時間当たりの発熱量が増加するとともに、酸素供給条件が適正化される。
羽口3から吹き込む熱風に予め酸素(b)を混合するために、熱風発生装置5には酸素配管8bから酸素(b)が供給され、ここで、空気配管6から供給された空気と混合されるとともに加熱され、この熱風+酸素(b)が熱風管4を経由して各羽口3に供給される。
酸素噴射ノズル7が配置された羽口3では、羽口3のほぼ中央に位置する酸素噴射ノズル7から酸素ジェットが超音速で噴射され、その外側の羽口先端から熱風+酸素(b)が吹き込まれる。
本発明では、上記のようにして2系統での送風酸素富化を行うにあたり、酸素噴射ノズル7から吹き込む酸素(a)の流量と、羽口3から吹き込む熱風に予め混合する酸素(b)の流量が、下記(1)式を満足するようにする。
−2.5×A+92.5≦X≦−1.2×A+100 …(1)
但し、
A:酸素富化率(vol%)=([酸素(a)と酸素(b)の合計流量]/[熱風流量])×100
X(vol%)=([酸素(a)の流量]/[酸素(a)と酸素(b)の合計流量])×100
このように羽口3内に配置された酸素噴射ノズル7から超音速の酸素(a)を噴射することにより酸素富化を行うとともに、酸素(b)を予め熱風と混合して、熱風とともに羽口から吹き込むことにより酸素富化を行い、且つ両酸素(a),(b)の流量の比率を酸素富化率に応じて最適化することにより、炉中心部を含めた炉径方向全般でのガス流れが適正化され、これによりコークスの燃焼と鉄系スクラップ(さらには、鉄含有ダスト/スラッジ塊成化物)の溶解が炉全体で適切に生じることになる。
図1に示す構造を有する炉床径2m、羽口数6本、羽口からの有効高さ7mの堅型溶解炉を用いて、以下のような試験を行った。この試験では、酸素噴射ノズル7を全羽口に設置した。
試験条件は、シュレダー屑、プレス屑等の市中スクラップを9割、製鉄所内で発生するスクラップ屑を1割の割合で鉄源とし、熱源であるコークスは鋳物コークスと篩目40mmで篩った篩上の高炉コークスを用い、鋳物コークスの質量比率は60質量%で一定とした。酸素富化量毎に酸素噴射ノズル7から吹き込む酸素量の比率を変更し、溶銑の出銑温度が1510〜1530℃となるようにコークス原単位を調整した結果、コークス原単位は125〜190kg/t・pigで変化した。また、送風量は12000〜14000Nm/h、送風温度は550℃とし、炉頂ガス温度は200〜250℃となった。
また、酸素噴射ノズル7は、酸素富化率に応じて酸素流量が変化するため、スロート径dt:4〜20mm、出口径de:4〜20mm、背圧:0.90〜0.99MPaの範囲で変更し、ノズル出口の初期流速が500m/s程度の超音速となるようにした。
この試験の結果に基づき、酸素噴射ノズルからの酸素(a)の比率X(上記(1)式で規定する“X”)と酸素富化率Aとの関係をコークス原単位で整理したものを図3に示す。ここでは、コークス原単位:150kg/t・pig未満の場合を良好(○)、コークス原単位:150kg/t・pig以上の場合を不良(●)とした。コークス原単位が低いということは、炉中心部側の領域を含めた炉径方向全般でのガス流れが適正化し、これによりコークスの燃焼と鉄系スクラップの溶解が炉全体で適切に生じていることを意味する。
図3によれば、酸素富化率Aによってコークス原単位が150kg/t・pig未満となる領域が変化していることが判る。これは、酸素富化率の増加とともに、羽口前温度が高くなって炉径方向での温度分布が大きくなるが、酸素噴射ノズルからの酸素(a)の比率Xを小さくすることにより、炉径方向での温度分布が小さくなるためであると考えられ、特に高酸素富化率になるにつれて、ガスの流れの制御が重要になるためである。そして、上記(1)式で規定される範囲において、コークス原単位が150kg/t・pig未満が達成されている。
これに対してX>−1.2×A+100の領域では、酸素噴射ノズル7から噴射された酸素ジェットが炉中心部まで到達しすぎて、酸素ジェットどうしが干渉し合い、ガスの流れが不安定となるため、スクラップの溶解が不安定となり、コークス原単位が増加するものと考えられる。一方、X<−2.5×A+92.5の領域では、酸素が炉内部まで届きにくいためガス流れが十分でなく、熱不足となるため、この場合もコークス原単位が増加するものと考えられる。
なお、酸素富化率Aに特に制限はないが、送風酸素富化の効果を得るためには、一般には5vol%以上の酸素富化率とすることが好ましい。一方、酸素富化率が過剰であると、羽口前温度の上昇によって羽口抜熱量が徒に増大するとともに、羽口耐火物の溶損頻度が増大するおそれがある。また、炉径方向での温度分布が大きくなってガス流れの制御が困難になる等の問題を生じやすい。このため酸素富化率は35vol%程度を上限とするのが好ましい。
以下、鉄含有ダスト/スラッジ塊成化物の構成成分や製法などについて、それらの好ましい実施形態を説明する。
前記鉄含有ダストは、酸化鉄及び/又は金属鉄を含むダストであり、その種類に特に制限はないが、代表的なものとしては、鉄鋼製造プロセスで生じる製鋼ダストを挙げることができる。この製鋼ダストには、溶銑予備処理工程で生じる溶銑予備処理ダスト、転炉脱炭工程で生じる転炉ダスト、電気炉で生じる電気炉ダストなどが含まれる。これらの製鋼ダストは、製鋼工程で発生した排ガスから集塵することにより回収されたものである。また、これらの中でも、転炉脱炭工程で生じる転炉ダスト、いわゆるOGダストが、不純物の含有量が少なく、したがって鉄含有量が高いため特に好ましい。また、製鋼ダスト以外の鉄含有ダストとしては、例えば、高炉ダスト、圧延ダストなどがある。
また、前記鉄含有スラッジは、酸化鉄及び/又は金属鉄を含むスラッジであり、その種類に特に制限はないが、上述したような各種ダストが湿式集塵機で捕集されることでスラッジ化したものが、代表例として挙げられる。
さきに述べたように、鉄含有ダスト/スラッジ塊成化物は、一般には、鉄含有ダストまたは/および鉄含有スラッジに水硬性バインダーを配合し、さらに必要に応じて還元用の炭材粉などを配合した原料に水を加えて混合した後、成形し、この成形物を水和硬化させることにより得られる。
前記水硬性バインダーとしては、例えば、ポルトランドセメント、高炉セメント、アルミナセメント、フライアッシュセメントなどの各種セメント、高炉水砕スラグ微粉末、生石灰などの1種以上を用いることができる。原料中の水硬性バインダーの配合量は、強度の発現及びスラグ生成量の抑制の観点から、一般に2〜25mass%程度とすることが好ましい。
前記炭材粉とは炭素を主成分とする粉体のことであり、竪型溶解炉中で酸化鉄の還元材となる。一般に、製鉄用の竪型溶解炉では還元材として塊コークスが用いられるが、塊コークスよりもコークス粉などの炭材粉の方が価格が安く、コスト的に有利なことに加え、酸化鉄と炭素の接触面積が増大するため、酸化鉄の還元反応も速やかに進行する利点がある。炭材粉としては、コークス粉、石炭粉(好ましくは無煙炭粉)、プラスチック粉などの1種以上を用いることができるが、特に、コークス粉などのように揮発分が少ないものが好ましい。また、鉄含有ダスト/スラッジ塊成化物中に大きな炭材が存在すると、その部分から亀裂が生じ、強度を低下させる原因となるため、炭材粉は粒径3mm以下が好ましい。原料中の炭材粉の配合量は、一般に2〜25mass%程度が好ましい。
また、鉄含有ダスト/スラッジ塊成化物の原料中には、上述した鉄含有ダストまたは/および鉄含有スラッジ、水硬性バインダーおよび炭材粉以外の材料を必要に応じて適宜配合してもよい。例えば、硬化速度調整剤、界面活性剤、ベントナイト、さらには、鉄含有ダスト/スラッジ塊成化物の圧縮強度を高めるための塩化物、原料に適度な粒度分布を与えて成型性を高めるための材料として焼結篩下粉、ミルスケールなどの鉄含有粉粒物、スラグの塩基度を調整するための石灰石、硅石などの粉粒物などの1種以上を配合してもよい。
また、生成するスラグ量をなるべく少なくするという観点から、原料中でのSiO、Al、CaO、MgOの合計量を25mass%以下とすることが好ましい。当然、これら成分は水硬性バインダーなどに含有されるものも含まれる。
水硬性バインダーを用いて鉄含有ダスト/スラッジ塊成化物を得るには、上述した原料に水を加えて混合した後、成形し、この成形物を水和硬化させる。
水の量は原料の配合によっても異なるが、成形時に圧縮しても水がしみ出てこない最大水量が望ましい。定量的には、JIS−A−1101(コンクリートのスランプ測定方法)に準じた測定においてスランプが0である最大水量となるように調整することが好ましい。水の量が少なすぎると適切に成形できず、また水硬性バインダーの硬化も進行しない。一方、水の量が多すぎて成形時に水がしみ出てくると、その水の処理などに特別な対応が必要になるからである。
成形工程は、型枠を用いた成形、押し出し成形、ロールプレス成形など任意の方式で行うことができるが、成形物を高密度にすると鉄含有ダスト/スラッジ塊成化物は高強度化する傾向があるため、できるだけ高密度化に成形することが好ましい。このため原料と水の混合物を圧縮成形し、または加振しつつ圧縮成形することが好ましい。具体的には、ブリケット成形機、プレス成形機、押出成形機などのような圧縮成形機や、これに加振機能を持たせたものなどを用いて成形することが好ましい。
成形物の形状は任意であるが、炉に装入した際の粉化をなるべく抑えるために角部が少ない方が好ましい。また、成形物の大きさも任意であるが、あまり小さいと竪型溶解炉に装入した際に炉の圧力損失を増大させ、一方、あまり大きいと竪型溶解炉に装入した際に塊成化物の中心部の昇温遅れによる還元・溶解遅れを生じるので、一般には容積で20〜2000cm程度のサイズが好ましい。
原料と水の混合物を成形して得られた成形物は、水硬性バインダーにより水和硬化させるため、一定期間養生させる。この養生の方法や期間は任意であり、例えば、蒸気による一次養生を行った後、大気下での二次養生を行ってもよい。養生期間は、養生スペースや生産性などの面からはなるべく短い方が好ましいが、養生後の必要強度に応じて適宜選択すればよい。一般には1〜7日間程度が好ましい。
また、鉄含有ダスト/スラッジ塊成化物としては、上述したような水硬性バインダーを用いて成形体を水和硬化させる製法以外の方法で製造されたものでもよい。
本発明で使用する竪型溶解炉とその基本的な操業形態を模式的に示す説明図 図1の竪型溶解炉の羽口の拡大断面図 羽口内に配置された酸素噴射ノズルから超音速で酸素を吹き込むとともに、羽口から吹き込む熱風に予め酸素を混合して、熱風とともに吹き込む方法において、酸素噴射ノズルからの酸素の比率Xと酸素富化率Aとの関係をコークス原単位で整理して示したグラフ
符号の説明
1 炉体
2 原料装入部
3 羽口
4 熱風管
5 熱風発生装置
6 空気配管
7 酸素噴射ノズル
8a,8b 酸素配管
9 排気ダクト
10 集塵装置
30 羽口管

Claims (2)

  1. 竪型溶解炉において、炉頂部から鉄系スクラップとコークスを装入し、炉下部に設けられた複数の羽口から熱風を吹き込み、コークスの燃焼熱で鉄系スクラップを溶解することにより溶銑を製造する方法であって、
    少なくとも一部の羽口内に、酸素を超音速で噴射する酸素噴射ノズルを配置して、該酸素噴射ノズルから酸素(a)を吹き込むとともに、酸素(b)を予め熱風と混合して、熱風とともに羽口から吹き込み、且つ前記酸素(a)と酸素(b)の流量が下記(1)式を満足することを特徴とする竪型溶解炉を用いた溶銑製造方法。
    −2.5×A+92.5≦X≦−1.2×A+100 …(1)
    但し、
    A:酸素富化率(vol%)=([酸素(a)と酸素(b)の合計流量]/[熱風流量])×100
    X(vol%)=([酸素(a)の流量]/[酸素(a)と酸素(b)の合計流量])×100
  2. 鉄系スクラップとともに、鉄含有ダストおよび/または鉄含有スラッジの塊成化物を装入することを特徴とする請求項1に記載の堅型溶解炉を用いた溶銑製造方法。
JP2008171536A 2008-06-30 2008-06-30 竪型溶解炉を用いた溶銑製造方法 Expired - Fee Related JP5181875B2 (ja)

Priority Applications (1)

Application Number Priority Date Filing Date Title
JP2008171536A JP5181875B2 (ja) 2008-06-30 2008-06-30 竪型溶解炉を用いた溶銑製造方法

Applications Claiming Priority (1)

Application Number Priority Date Filing Date Title
JP2008171536A JP5181875B2 (ja) 2008-06-30 2008-06-30 竪型溶解炉を用いた溶銑製造方法

Publications (2)

Publication Number Publication Date
JP2010008029A true JP2010008029A (ja) 2010-01-14
JP5181875B2 JP5181875B2 (ja) 2013-04-10

Family

ID=41588739

Family Applications (1)

Application Number Title Priority Date Filing Date
JP2008171536A Expired - Fee Related JP5181875B2 (ja) 2008-06-30 2008-06-30 竪型溶解炉を用いた溶銑製造方法

Country Status (1)

Country Link
JP (1) JP5181875B2 (ja)

Citations (3)

* Cited by examiner, † Cited by third party
Publication number Priority date Publication date Assignee Title
JPH11504707A (ja) * 1996-03-04 1999-04-27 ゲオルク フィッシャー ディサ エンジニアリング アー ゲー シャフト炉内で金属質原料を製錬する方法
JP2000204409A (ja) * 1999-01-13 2000-07-25 Nippon Steel Corp 竪型炉の操業方法
JP2007002305A (ja) * 2005-06-24 2007-01-11 Nippon Chutetsukan Kk キュポラによる溶銑の溶製方法

Patent Citations (3)

* Cited by examiner, † Cited by third party
Publication number Priority date Publication date Assignee Title
JPH11504707A (ja) * 1996-03-04 1999-04-27 ゲオルク フィッシャー ディサ エンジニアリング アー ゲー シャフト炉内で金属質原料を製錬する方法
JP2000204409A (ja) * 1999-01-13 2000-07-25 Nippon Steel Corp 竪型炉の操業方法
JP2007002305A (ja) * 2005-06-24 2007-01-11 Nippon Chutetsukan Kk キュポラによる溶銑の溶製方法

Also Published As

Publication number Publication date
JP5181875B2 (ja) 2013-04-10

Similar Documents

Publication Publication Date Title
US10407744B2 (en) Production method of granular metallic iron
KR100498100B1 (ko) 일반탄을 이용한 용철 제조 공정에서 분환원철 및 분소성부원료의 괴성체를 이용한 용철제조방법
JP5515242B2 (ja) 竪型溶解炉を用いた溶銑製造方法
JP5262354B2 (ja) 竪型溶解炉を用いた溶銑製造方法
JP5181875B2 (ja) 竪型溶解炉を用いた溶銑製造方法
JP5125819B2 (ja) 竪型溶解炉および溶銑製造方法
JP5439756B2 (ja) 竪型溶解炉を用いた溶銑製造方法
JP5181878B2 (ja) 溶銑製造方法
JP5251296B2 (ja) 竪型溶解炉を用いた溶銑製造方法
JP5251297B2 (ja) 竪型溶解炉を用いた溶銑製造方法
JP5910182B2 (ja) 竪型溶解炉を用いた溶銑の製造方法
JP4899726B2 (ja) 高炉の操業方法
JP2002226920A (ja) 焼結鉱の製造方法および焼結鉱
JP2010013690A (ja) 鉄含有ダスト塊成化物および溶銑製造方法
JP5867428B2 (ja) 竪型溶解炉を用いた溶銑の製造方法
JP2010008030A (ja) 竪型溶解炉を用いた溶銑製造方法
CN112266994A (zh) 一种高比例球团矿高炉炼铁方法
RU2186118C1 (ru) Способ доменной плавки
JP5862514B2 (ja) スクラップ溶解竪型炉の操業方法
JP4992549B2 (ja) 竪型スクラップ溶解炉を用いた溶銑製造方法
JP5200422B2 (ja) 竪型スクラップ溶解炉を用いた溶銑製造方法
JP4705483B2 (ja) 溶融鉄の製造方法
JP5369848B2 (ja) 竪型溶解炉の操業方法
JP5867427B2 (ja) 竪型溶解炉を用いた溶銑の製造方法
JP2014015653A (ja) 銑鉄製造方法及び銑鉄製造炉

Legal Events

Date Code Title Description
A621 Written request for application examination

Free format text: JAPANESE INTERMEDIATE CODE: A621

Effective date: 20110421

A131 Notification of reasons for refusal

Free format text: JAPANESE INTERMEDIATE CODE: A131

Effective date: 20121002

A521 Request for written amendment filed

Free format text: JAPANESE INTERMEDIATE CODE: A523

Effective date: 20121126

TRDD Decision of grant or rejection written
A521 Request for written amendment filed

Free format text: JAPANESE INTERMEDIATE CODE: A821

Effective date: 20121126

A01 Written decision to grant a patent or to grant a registration (utility model)

Free format text: JAPANESE INTERMEDIATE CODE: A01

Effective date: 20121218

A61 First payment of annual fees (during grant procedure)

Free format text: JAPANESE INTERMEDIATE CODE: A61

Effective date: 20121231

R150 Certificate of patent or registration of utility model

Free format text: JAPANESE INTERMEDIATE CODE: R150

Ref document number: 5181875

Country of ref document: JP

Free format text: JAPANESE INTERMEDIATE CODE: R150

FPAY Renewal fee payment (event date is renewal date of database)

Free format text: PAYMENT UNTIL: 20160125

Year of fee payment: 3

R250 Receipt of annual fees

Free format text: JAPANESE INTERMEDIATE CODE: R250

LAPS Cancellation because of no payment of annual fees