JP2010006563A - 硬貨搬送用ベルト - Google Patents
硬貨搬送用ベルト Download PDFInfo
- Publication number
- JP2010006563A JP2010006563A JP2008169903A JP2008169903A JP2010006563A JP 2010006563 A JP2010006563 A JP 2010006563A JP 2008169903 A JP2008169903 A JP 2008169903A JP 2008169903 A JP2008169903 A JP 2008169903A JP 2010006563 A JP2010006563 A JP 2010006563A
- Authority
- JP
- Japan
- Prior art keywords
- pin
- tooth
- diameter
- pin hole
- belt
- Prior art date
- Legal status (The legal status is an assumption and is not a legal conclusion. Google has not performed a legal analysis and makes no representation as to the accuracy of the status listed.)
- Granted
Links
Images
Landscapes
- Belt Conveyors (AREA)
Abstract
【解決手段】大型歯部の形状要素、底部の厚みt、ピッチラインからの歯高さH、歯高さh、根元R、幅Wが、t≧0.6mmであって、背面アイドラプーリ径Dに対して t/D≦0.034 かつ H/D≦0.12 かつ h/D≦0.096 かつ W/D≦0.174 かつ R/D>0.02の関係を満たす形状である大型歯部を備えた硬貨搬送ベルト。
【選択図】図3
Description
本出願人は、特許文献1(特許第3588480号公報)として、熱硬化性ウレタンベルト本体に、プーリに噛合する複数の歯部を備えた歯付面を有する搬送ベルトであって、各歯部をベルト長さ方向に間隔を存してベルト幅方向に延ばして成し、これら歯部のうち一定ピッチ毎に、歯の高さ寸法及び歯の長さ寸法の少なくとも一方が他の歯部よりも大きく設定された大型歯部を設け、この大型歯部の側面に、ベルト走行時に硬貨を係止して搬送するための係止板を備えた硬貨搬送ベルトを提案した。
本発明の主な構成は次のとおりである。
係止板は、ピン部を有する押しピン形状に形成されており、大型歯部には、その幅方向に延びるピン孔が形成され、前記係止板のピン部が前記ピン孔に挿着されることにより大型歯部の側面に取り付けられる硬貨搬送ベルトであって、
前記大型歯部の形状要素の内、底部の厚みt、ピッチラインからの歯高さH、歯高さh、根元R、幅Wが、t≧0.6mmであって、背面アイドラプーリ径Dに対して t/D≦0.034 かつ H/D≦0.12 かつ h/D≦0.096 かつ W/D≦0.174 かつ R/D>0.02の関係を満たす形状であること
を特徴とする硬貨搬送ベルト。
釣り銭機の小型化等に対応するには、正転用のプーリの小型化に伴い噛み合うベルトの歯部も小さくなる必要がある。大型歯部の両側歯底部にコード(芯線)をカバーするウレタン層の厚みを形成し、両側歯底部の亀裂損傷の防止を図る一方、この厚みを出したウレタン層は大型歯部が湾曲部を走行する場合に屈曲歪みの増大となり大型歯部根元亀裂の原因となるので、本願発明は大型歯部の形状を特定することにより亀裂などの破損不良を発生させることなく小型に対応できる硬貨搬送ベルトを実現した。
特に、複雑な掛け回しを実現するためには、きつい背面曲げが必要となり、更に小径となる逆曲げ用の背面アイドラプーリよって、大型歯部は反り返ることにより応力が集中し破損の危険性が高くなるので、背面アイドラプーリとの関係に着目して、耐久性のある硬貨搬送ベルトを実現することができた。本発明では、30mm未満の小径プーリ、25mm径のプーリにも対応できる硬貨搬送ベルトを提供することができる。
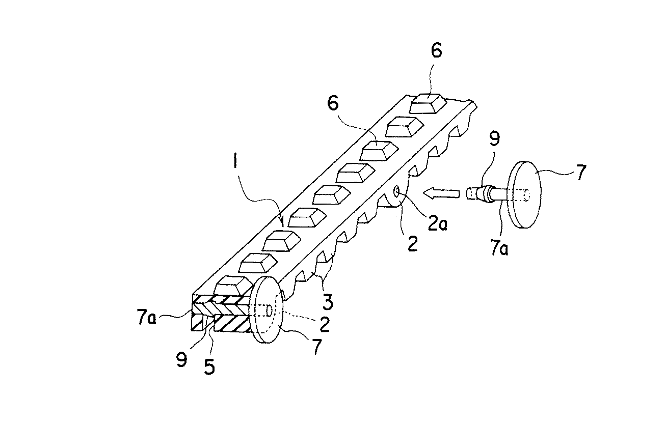
この硬貨搬送ベルトBは、自動釣り銭機や硬貨選別機等で硬貨の搬送用として用いられる。1はたとえば、熱硬化性ウレタン等で形成されたベルト本体であって、その歯付面では一定ピッチ毎に形成された大型歯部2と、これら大型歯部2,2との間に形成された通常寸法の歯部3,3,…とから構成されている。また、7は上記大型歯部2の側面にベルト走行時に硬貨を係止して搬送するための係止板である。ピン部7aを備えた押しピン形状の係止板7とし、かつ一定ピッチ毎に形成された大型歯部2にベルト幅方向に貫通したピン孔2aを設け、このピン孔2aに係止板7のピン部7aを差し込んで係止板7を歯部2に挿着するようにしている。なお、上記ベルトBは大型歯部2の側面に係止板7が取り付けられる構成であるので、ベルトBと噛合するプーリの端面に蛇行防止用のフランジを設けることが物理的にできないので、蛇行防止用のフランジはプーリの幅方向のいずれかの位置に設けられることになり、5はこの場合にプーリ幅方向に設けられた上記フランジに係合して蛇行を防止するため、上記フランジに対応する位置に形成されたベルト蛇行防止用の凹条部、6は同じくベルトを背面駆動させた場合に該当するフランジに対応する位置に形成されたベルト蛇行防止用の凸条部である。
図2は、硬貨搬送ベルトの部分拡大図である。
図3(b)に示す従来例は、t=t1であり、Hは大きくRは小さくきついカーブを描いていることが分かる。これに対して、図3(a)に示す本発明の実施例では、Hを小さくし、t>t1とし、Rを大きくしてなだらかとしている。ピン穴の径dは小径とし、ピン穴周りの肉厚を確保して、保持強度を確保している。このように設計することにより、大型歯部2を小さくし、十分なピン保持強度を確保しつつ、背面側に曲げられて大型歯部2の根元部の湾曲部Rに発生する応力集中を緩和して、破損を抑制して耐久性を確保することができる。
ピン穴2aは、大型歯部が従来よりも低くなったことに合わせて、十分な肉厚を確保するために小さくする必要があるが、一方、小さくすると十分な保持力が得られない可能性があるので、挿入されるピンの太さ、形状との関係を追求した結果、ピン穴の径dは大型歯部の高さhに対して0.233以上、一方、ピン径aの最小は大型歯部の高さhに対して0.396以上が望ましい。さらに、特に、ピン部7aは、複数のクサビ状の抜止用の段部を設け、蛇行防止用に設けられている凹状部5に係止される構成が、ピン部の挿入動作にしたがって、しっかりとした接合が完成するので望ましい。
図6(a)は、図5(b)に示すピンを用いた固着構造の例を示す。小さな段部がピン穴2aの周壁に密着し、更に、大きな段部が凹条部の端部に係合して抜止機能を果たしている。
図6(b)ピン部7aに接着剤を塗布したものを、ピン孔2aに差し込むようにしたものであり、係止板7のピン部7aと歯部2のピン孔2aとは接着剤層8を介して挿着される。
本発明の硬貨搬送ベルトは、図12に例示されるようにプーリに複雑に屈曲するように掛け回されて使用される。この硬貨搬送ベルトは、硬貨を係止して搬送するための突起部としての係止板が通常寸法の歯部ではなく、歯付面の一定ピッチ毎に形成された大型歯部側に取り付けられた構成であるので、歯部に必要な強度や係止板の取付面積を広くとることができる。ベルト本体が熱硬化性ウレタンで構成されており、係止板を、ピン部を有する押しピン形状に形成するとともに大型歯部にピン孔を形成して、上記係止板をそのピン部がピン孔に差し込むことにより係止板を挿着している。ピンの取付け部となる歯部を大寸法としている。係止板のピン部先端に歯部のピン孔の径よりも大きい係止部を形成しているので、挿着後には上記係止部によってピンの抜け防止作用がある。
通常のベルトは、プーリに蛇行防止用フランジを設けるが、この硬貨搬送ベルトは側面に硬貨を押す係止板が設けられているのでこのようなフランジを設けることはできない。この硬貨搬送ベルトでは、歯部の一部を切欠き、長手方向に凹条部を連続して設けて、案内突条との案内係合部分として設ける。この凹条部を、ピン部を係止するための凹部として利用することができる。大型歯部に設けるピン孔を係止板のピン部の径よりも小径に形成しているので、係止板の挿着後にピン孔から係止板のピン部が容易に抜け難くなり、ピンの抜け防止作用がある。
また、ねじ切りされた係止板のピン部を用いた場合は、ピン孔にねじ込みによって挿着されているので、挿着後にはねじ切り部分によってピンの抜け防止作用がある。さらに、係止部のピン先端をつきだしてナット止めされることも可能である。また、さらに、ピン部と歯部のピン孔とは接着剤を介して挿着することもできる。
小型化するためには、ベルトの大型歯部も小さくなる必要がある。大型歯部の両側歯底部にコード(芯線)をカバーするウレタン層の厚みを形成し、両側歯底部の亀裂損傷の防止を図る一方、この厚みを出したウレタン層は大型歯部が湾曲部を走行する場合に屈曲歪みの増大となり大型歯部根元亀裂の原因となるので、本願発明は大型歯部の形状を特定することにより亀裂などの破損不良を発生させることなく小型に対応できる硬貨搬送ベルトを実現した。
特に、逆曲げ用の背面アイドラプーリは、小径が求められ、また、背面プーリの掛け回し角度を大きくして、90°などのきつい曲げが求められ、大型歯部は反り返ることにより応力が集中し破損の危険性が高くなるので、背面アイドラプーリとの関係に着目して、耐久性のある小型化した硬貨搬送ベルトを設定した。本発明では、30mm未満の小径プーリ、25mm径のプーリにも対応できる硬貨搬送ベルトを提供することができる。
即ち、大型歯部2付近の形状について、大型歯部2の高さhを小さくし、大型歯部の歯底に連続する部分は大きな湾曲Rとしてなめらかにし、大型歯部の両側に存在する歯底部tの厚さを通常の歯部の歯底部の厚さt1よりも大きくしている。芯線(コード)の中心であるピッチラインを基準として、大型歯部の高さをHとし、通常の歯部の歯底から大型歯部の高さをh1とし、大型歯部2の両側の歯底部から大型歯部の高さをhとし、大型歯部の根元の半径をR、根元R部の両端点の垂直2等分線と根元R部での交点の水平間距離を大型歯部の歯幅W、大型歯部に設けたピンを挿入するピン穴2aの径をd、ピン部7aの最小径をaとする。ピッチラインから通常の歯底までの厚さをt1で示すとt1=H-h1で示される。大型歯部の両側の歯底部の厚さtは、H−h=tで示される。図3(b)にしめす従来例は、t=t1であり、Hは大きくRは小さくきついカーブを描いていることが分かる。これに対して、図3(a)に示す本発明の実施例では、Hを小さくし、t>t1とし、Rを大きくしてなだらかとしている。ピン穴の径dは小径とし、ピン穴周りの肉厚を確保して、保持強度を確保している。このように設計することにより、大型歯部を小さくし、十分なピン保持強度を確保しつつ、背面側に曲げられて大型歯部の根元部に発生する応力集中を緩和して、破損を抑制して耐久性を確保することができる。
本発明は、最小の背面アイドラプーリの径を基準として、大型歯部の形状を規定し、更に、係止板の固着を確保する基準を提案する。
底部の厚みt、ピッチラインからの歯高さH、歯高さh、根元R、幅Wは背面アイドラプーリの径Dに対して次の関係を満たすように大型歯部の形状を設計することが重要である。t≧0.6mmとし、背面アイドラプーリ径Dに対して t/D≦0.034 かつ H/D≦0.12 かつ h/D≦0.096 かつ W/D≦0.174 かつ R/D>0.02の関係を満たす形状に設計する。
さらに、ピン孔の径dは係止板のピン部の径aよりも小径に形成し、ピン孔径d及びピン径aは歯高さhに対して、d/h≧0.233, a/h≧0.396 とすることにより、強固な固着を実現できる。
この結果、本発明は、プーリ径Dが30mm未満の小径にも、90°の逆曲げにも十分対応できる耐久性を実現できる。
硬貨搬送ベルトは、例えば、図12に示すように、屈曲して掛け回されて使用される。駆動プーリなど通常の歯側が掛け回されるプーリCは、大型歯部を収容可能な形状に設計されているので、走行に伴う応力集中は発生しにくい。これに対して、硬貨搬送ベルトの背側を屈曲する逆方向に曲げることになる背面アイドラプーリMでは、大型歯部に応力集中が発生しやすく、破損の原因となる。そこで、自動釣り銭機などが故障することなく使用できる耐久性の設計目安として10年以上を設定した。この耐久性は、経験及び別途の加速度試験などにより逆曲げ時には応力を5MPa以下に設定することが重要であると知見した。
各種の硬貨搬送ベルトを試作し、2個の背面アイドラプーリに背面側を掛け回してFEM解析を行い、その評価を表1に示す。
大型歯部付近についてFEM解析した事例を図11に示す。背面アイドラプーリは径25mmを用いた例である。図11(b)は、試験例2に相当する従来例は、大型歯部の根元に応力が集中し、大きな歪みが発生している様子が分かる。これに対して、試験例10に相当する図11(a)は、背面側に弱い応力集中が認められるが、大型歯部側には問題となる応力集中が認められていないことが分かる。
図10に従来の硬貨搬送ベルトを用いた試験例1〜3、試作タイプCの硬貨搬送ベルトを用いた試験例9〜11のFEM解析の結果をグラフ化して示す。試作タイプCは各径のプーリとも最大主応力を1MPa程度低下させることができ、プーリ径を小さくするほど低減効果が大きいことが分かる。
図3に示す大型歯部を基本形状として、従来例の他5種類を試作し、背面アイドラプーリ径を20mm、25mm、30mmの3種類にベルトの背面を掛けして、試験を行った。6種類の硬貨搬送ベルトの仕様及び応力測定結果を表1に示す。
その結果、背面アイドラプーリ径が小さいほど曲げによる応力が大きくなる傾向があり、背面アイドラプーリが大きいほど設計が容易となることが分かる。背面アイドラプーリの径が30mmでは従来の硬貨搬送ベルトは若干5MPaを上回るが、25mm以下では6MPa以上となってしまう。
小型の観点から、大型歯部の歯高hをなるべく小さくすることが求められ、逆曲げによる破損防止の観点からは、例えば、芯線のかぶり厚さに影響するtを大きくして芯線の暴露を抑えることを指向するのが、一般的な対応策である。しかし、単純にピッチラインから歯先までの高さHをそのままにして、tを大きくしたベルトタイプA(試験例4〜6)は、6MPa以上とり目標をクリアすることができないので、単純に芯線のかぶり厚を大きくしても、耐久性を確保できない。
その結果、根元Rを1.6mm、歯先高さHを3.0mm以下、芯線のかぶり厚相当tを0.60mmと設定することにより、背面アイドラプーリ径30mm以下でも5MPaを下回ることができる組み合わせがあることを見出すことができた。
更に、大型歯部には係止板のピンを取り付け、強固な接合を確保する必要がある。ピンの径、形状、大型歯部に設ける穴の大きさとの関係を検討した。ピン径を従来例に対して60%程度、穴の大きさを70%程度に設定することができることを見出すことができた。
本発明の硬貨搬送ベルトは、各要素が相互に影響するので、単純に規定因子を設定することが困難であるが、逆曲げをする背面アイドラプーリの径の影響が大きいので、このプーリ径を基準として、それぞれクリアできる数値を設定した。また、係止ピンの挿入穴の肉厚に影響する歯高hを、基準として固着要素を規定した。
FEM解析結果から、根元Rの応力を緩和させるために、ピン部のボリュームを小さくする。疲労性および抜け性を両立するためには、ウレタンの圧縮率(下穴径に対するピン径)は従来形状の圧縮率が好ましく、同等とした。図9に穴とピン形状の例を示す。ベルトボリュームRは図8に示す大型歯部の外径を示す。ピンは4段にクサビ状に膨らました部分を設け、内一つを大膨出部とした。この大膨出部が、大型歯部の凹部に係合することとなる。ピン孔の径dは係止板のピン部の径aよりも小径に形成し、ピン孔径d及びピン径aは歯高さhに対して、d/h≧0.233, a/h≧0.396 とすることにより、強固な固着を実現できる。
C プーリ
M 背面アイドラプーリ
1 ベルト本体
2 大型歯部
2a ピン孔
3 歯部7 係止板
5 凹条部
7a ピン
9 係止部
Claims (9)
- 熱硬化性ウレタン製ベルト本体に、プーリに噛合する複数の歯部を備えた歯付面を有する搬送ベルトであって、前記各歯部はベルト長さ方向に間隔を存してベルト幅方向に延びており、これら歯部のうち一定ピッチ毎には歯の高さ寸法及び歯の長さ寸法の少なくとも一方が他の歯部よりも大きく設定された大型歯部が設けられており、この大型歯部の側面には、ベルト走行時に硬貨を係止して搬送するための係止板が備えられている硬貨搬送ベルトにおいて、
係止板は、ピン部を有する押しピン形状に形成されており、大型歯部には、その幅方向に延びるピン孔が形成され、前記係止板のピン部が前記ピン孔に挿着されることにより大型歯部の側面に取り付けられる硬貨搬送ベルトであって、
前記大型歯部の形状要素の内、底部の厚みt、ピッチラインからの歯高さH、歯高さh、根元R、幅Wが、t≧0.6mmであって、背面アイドラプーリ径Dに対して t/D≦0.034 かつ H/D≦0.12 かつ h/D≦0.096 かつ W/D≦0.174 かつ R/D>0.02の関係を満たす形状であること
を特徴とする硬貨搬送ベルト。 - プーリ径Dが30mm未満であることを特徴とする請求項1記載の硬貨搬送ベルト。
- ピン孔の径dは係止板のピン部の径aよりも小径に形成されており、ピン孔径d及びピン径aは歯高さhに対して、d/h≧0.233, a/h≧0.396 であることを特徴とする請求項1又は2記載の硬貨搬送ベルト。
- 係止板のピン部はねじ切りされ、該ピン部がピン孔へねじ込まれることにより、係止板が歯部側面に取り付けられていることを特徴とする請求項3記載の硬貨搬送ベルト。
- ピン孔は大型歯部に貫通形成されており、係止板のピン部先端には、該ピン部の挿入側とは反対側の歯部側面から突出されると共にピン孔の径よりも大径に形成されて歯部側面に係止される係止部が形成されていることを特徴とする請求項3又は4記載の硬貨搬送ベルト。
- 歯付面には、一部がピン孔に連通する凹部が形成されており、ピン部には、ピン孔の径よりも大径で且つ凹部のピン孔に対する連通部分の縁部に係止する係止部が形成されていることを特徴とする請求項1〜4のいずれかに記載の硬貨搬送ベルト。
- 凹部は、プーリに形成されたベルト蛇行防止用フランジに係合するように成っていることを特徴とする請求項6記載の硬貨搬送ベルト。
- ピン孔は大型歯部に貫通形成されており、係止板のピン部先端は、ねじ切りされてピン部の挿入側とは反対側の歯部側面から突出されており、このねじ切り部分にはナットが螺合されていることを特徴とする請求項4記載の硬貨搬送ベルト。
- 係止板のピン部と大型歯部のピン孔とは接着剤を介して挿着されていることを特徴とする請求項1〜8のいずれかに記載の硬貨搬送ベルト。
Priority Applications (1)
| Application Number | Priority Date | Filing Date | Title |
|---|---|---|---|
| JP2008169903A JP5525145B2 (ja) | 2008-06-30 | 2008-06-30 | 硬貨搬送用ベルト |
Applications Claiming Priority (1)
| Application Number | Priority Date | Filing Date | Title |
|---|---|---|---|
| JP2008169903A JP5525145B2 (ja) | 2008-06-30 | 2008-06-30 | 硬貨搬送用ベルト |
Publications (2)
| Publication Number | Publication Date |
|---|---|
| JP2010006563A true JP2010006563A (ja) | 2010-01-14 |
| JP5525145B2 JP5525145B2 (ja) | 2014-06-18 |
Family
ID=41587505
Family Applications (1)
| Application Number | Title | Priority Date | Filing Date |
|---|---|---|---|
| JP2008169903A Active JP5525145B2 (ja) | 2008-06-30 | 2008-06-30 | 硬貨搬送用ベルト |
Country Status (1)
| Country | Link |
|---|---|
| JP (1) | JP5525145B2 (ja) |
Cited By (1)
| Publication number | Priority date | Publication date | Assignee | Title |
|---|---|---|---|---|
| EP2620395A1 (en) | 2012-01-25 | 2013-07-31 | Asahi Seiko Co. Ltd. | Article conveyer belt and coin sorting device |
Citations (2)
| Publication number | Priority date | Publication date | Assignee | Title |
|---|---|---|---|---|
| JPH08180245A (ja) * | 1994-12-26 | 1996-07-12 | Glory Ltd | 硬貨間欠繰出搬送装置 |
| JP3588480B2 (ja) * | 1993-06-21 | 2004-11-10 | バンドー化学株式会社 | 硬貨搬送ベルト |
-
2008
- 2008-06-30 JP JP2008169903A patent/JP5525145B2/ja active Active
Patent Citations (2)
| Publication number | Priority date | Publication date | Assignee | Title |
|---|---|---|---|---|
| JP3588480B2 (ja) * | 1993-06-21 | 2004-11-10 | バンドー化学株式会社 | 硬貨搬送ベルト |
| JPH08180245A (ja) * | 1994-12-26 | 1996-07-12 | Glory Ltd | 硬貨間欠繰出搬送装置 |
Cited By (4)
| Publication number | Priority date | Publication date | Assignee | Title |
|---|---|---|---|---|
| EP2620395A1 (en) | 2012-01-25 | 2013-07-31 | Asahi Seiko Co. Ltd. | Article conveyer belt and coin sorting device |
| EP2648164A1 (en) | 2012-01-25 | 2013-10-09 | Asahi Seiko Co. Ltd. | Article conveyer belt and coin sorting device |
| US8776993B2 (en) | 2012-01-25 | 2014-07-15 | Asahi Seiko Kabushiki Kaisha | Article conveyer belt and coin sorting device |
| US8960413B2 (en) | 2012-01-25 | 2015-02-24 | Asahi Seiko Kabushiki Kaisha | Article conveyer belt and coin sorting device |
Also Published As
| Publication number | Publication date |
|---|---|
| JP5525145B2 (ja) | 2014-06-18 |
Similar Documents
| Publication | Publication Date | Title |
|---|---|---|
| TWI745424B (zh) | 具有強化帶刃及/或降低撕裂鉤架構之捲尺 | |
| EP3219291B1 (en) | Interdental cleaning device | |
| CN102361569B (zh) | 旁开扣 | |
| US8567593B2 (en) | Belt profile and profiled belt | |
| US20100249510A1 (en) | Device for preventing slippage of protective covers and an endoscope set provided with it | |
| CN109196246B (zh) | 带齿v带及使用了该带齿v带的传动系统 | |
| US6641494B1 (en) | Bicycle front derailleur fork and derailleur comprising this fork | |
| US7263745B2 (en) | Binding band | |
| US20150024889A1 (en) | Chain guide | |
| US20140174275A1 (en) | String locking structure for electric guitar and tailpiece | |
| JP5525145B2 (ja) | 硬貨搬送用ベルト | |
| CN107109884B (zh) | 玻璃升降器 | |
| CN104019127A (zh) | 滚动体收纳件 | |
| US9949467B2 (en) | Fishing line guide | |
| JP5315095B2 (ja) | 硬貨搬送用ベルト | |
| US20150000017A1 (en) | Goggles comprising adjustable nose bridge | |
| US7731531B2 (en) | Power cord | |
| JP4760439B2 (ja) | 結束機におけるワイヤのカール径調整機構 | |
| US8250951B2 (en) | Tool of tool set | |
| JP2014189404A (ja) | コンベヤチェーン | |
| JP6140456B2 (ja) | 同軸型光ファイバヘッド、光ファイバセンサ、同軸型光ファイバヘッドの製造方法 | |
| EP2551708A1 (en) | Clamp terminal comprising adaptor and kit for assembling clamp terminal comprising adaptor | |
| JP4969329B2 (ja) | シャッターおよびコーナーレール固定部材 | |
| US20100231848A1 (en) | Fixing mechanism of gut for half rim | |
| JP6687417B2 (ja) | 歯付プロファイル及び歯付ベルト |
Legal Events
| Date | Code | Title | Description |
|---|---|---|---|
| A621 | Written request for application examination |
Free format text: JAPANESE INTERMEDIATE CODE: A621 Effective date: 20110323 |
|
| A977 | Report on retrieval |
Free format text: JAPANESE INTERMEDIATE CODE: A971007 Effective date: 20120801 |
|
| A131 | Notification of reasons for refusal |
Free format text: JAPANESE INTERMEDIATE CODE: A131 Effective date: 20121211 |
|
| A521 | Request for written amendment filed |
Free format text: JAPANESE INTERMEDIATE CODE: A523 Effective date: 20130131 |
|
| A131 | Notification of reasons for refusal |
Free format text: JAPANESE INTERMEDIATE CODE: A131 Effective date: 20130716 |
|
| A521 | Request for written amendment filed |
Free format text: JAPANESE INTERMEDIATE CODE: A523 Effective date: 20130904 |
|
| TRDD | Decision of grant or rejection written | ||
| A01 | Written decision to grant a patent or to grant a registration (utility model) |
Free format text: JAPANESE INTERMEDIATE CODE: A01 Effective date: 20140401 |
|
| A61 | First payment of annual fees (during grant procedure) |
Free format text: JAPANESE INTERMEDIATE CODE: A61 Effective date: 20140411 |
|
| R150 | Certificate of patent or registration of utility model |
Ref document number: 5525145 Country of ref document: JP Free format text: JAPANESE INTERMEDIATE CODE: R150 |
|
| R250 | Receipt of annual fees |
Free format text: JAPANESE INTERMEDIATE CODE: R250 |
|
| R250 | Receipt of annual fees |
Free format text: JAPANESE INTERMEDIATE CODE: R250 |
|
| R250 | Receipt of annual fees |
Free format text: JAPANESE INTERMEDIATE CODE: R250 |
|
| R250 | Receipt of annual fees |
Free format text: JAPANESE INTERMEDIATE CODE: R250 |
|
| R250 | Receipt of annual fees |
Free format text: JAPANESE INTERMEDIATE CODE: R250 |
|
| R250 | Receipt of annual fees |
Free format text: JAPANESE INTERMEDIATE CODE: R250 |
|
| R250 | Receipt of annual fees |
Free format text: JAPANESE INTERMEDIATE CODE: R250 |
|
| R250 | Receipt of annual fees |
Free format text: JAPANESE INTERMEDIATE CODE: R250 |
|
| R250 | Receipt of annual fees |
Free format text: JAPANESE INTERMEDIATE CODE: R250 |
