JP2010005914A - 印判 - Google Patents

印判 Download PDF

Info

Publication number
JP2010005914A
JP2010005914A JP2008167615A JP2008167615A JP2010005914A JP 2010005914 A JP2010005914 A JP 2010005914A JP 2008167615 A JP2008167615 A JP 2008167615A JP 2008167615 A JP2008167615 A JP 2008167615A JP 2010005914 A JP2010005914 A JP 2010005914A
Authority
JP
Japan
Prior art keywords
printing
adjustment knob
printing material
outer frame
stamp
Prior art date
Legal status (The legal status is an assumption and is not a legal conclusion. Google has not performed a legal analysis and makes no representation as to the accuracy of the status listed.)
Granted
Application number
JP2008167615A
Other languages
English (en)
Other versions
JP5282458B2 (ja
Inventor
Masaki Kida
昌樹 木田
Motohide Imaizumi
元秀 今泉
Keiji Nakano
啓二 中野
Current Assignee (The listed assignees may be inaccurate. Google has not performed a legal analysis and makes no representation or warranty as to the accuracy of the list.)
Shachihata Inc
Original Assignee
Shachihata Inc
Priority date (The priority date is an assumption and is not a legal conclusion. Google has not performed a legal analysis and makes no representation as to the accuracy of the date listed.)
Filing date
Publication date
Application filed by Shachihata Inc filed Critical Shachihata Inc
Priority to JP2008167615A priority Critical patent/JP5282458B2/ja
Publication of JP2010005914A publication Critical patent/JP2010005914A/ja
Application granted granted Critical
Publication of JP5282458B2 publication Critical patent/JP5282458B2/ja
Active legal-status Critical Current
Anticipated expiration legal-status Critical

Links

Images

Landscapes

  • Printing Methods (AREA)

Abstract

【課題】 印面の接触量を的確容易に規制して印字濃度を簡単に微調整でき、しかも、調整部材の緩みや損傷を防止できるようにした多孔性印材を用いた印判を提供する。
【解決手段】 多孔性印材を収納した印材ホルダ5を外套枠3の内側に昇降動自在に装着して前記印材ホルダ5の上部には把持部材6を嵌着してある印字体ユニット1をその印字面が弾発ばね2によって常時は外套枠3の脚端よりやや上方に位置されるように装着するとともに、外套枠3に対する印字体ユニット1の印字面を捺印条件に応じた位置に微調整する捺印圧調整機構7を組み込んだ印判であって、捺印圧調整機構7が、印材ホルダ5の中央頂部に立設したねじ棒8と、このねじ棒8に螺合されてその正逆回動により外套枠3に対する印字体ユニット1の高低位置を調整する調整ノブ10とを少なくとも備えたもので、さらに、この調整ノブ10の回動を阻止する緩み止め機構を内部に設けた。
【選択図】 図1

Description

本発明は、被捺印面に対する印面の接触量を的確容易に規制して印字濃度を簡単に微調整でき、しかも、調整部材の緩みや損傷によって印面の接触量規制が解除されることを防止できるようにした多孔性印材を用いた印判に関するものである。
多孔性印材を用いた印判は連続捺印が可能なため広く普及しているが、捺印圧の強弱によってインキが紙面に過剰に付着して印影が潰れたり、インキの付着量が不足して印影がかすれたりして印字不良を生じるという問題があるため、捺印圧を一定にするための捺印圧調整機構を組み込んだ印判が提案されている。(例えば、特許文献1、2、3、4参照)。
しかしながら、従来のものはいずれも調整機構をロックする機構がないため、長期間使用しているうちに捺印圧調整機構が調整部材の緩みや損傷によって有効に作用されなくなって調整量が変わってしまい、適正な捺印ができなくなるという問題がある。しかも、スライド量の微調整が難しいので光沢紙のように僅かなスライド量で適正な捺印領域からずれるものには対応できないという問題もあった。
実平4−5335号公報 実平4−14218号公報 特開平6−8607号公報 特開2007−152748号公報
本発明は前記のような問題を解決して、被捺印面に対する印面の接触量を的確容易に規制して印字濃度を簡単に微調整でき、しかも、調整部材の緩みや損傷を防止できるようにした印判を提供することを目的とするものである。
前記のような課題を解決した本発明の印判は、下端の印材収納部に多孔性印材を収納した印材ホルダを外套枠の内側に昇降動自在に装着するとともにこの印材ホルダの上部に把持部材を嵌着してある印字体ユニットを前記した多孔性印材の印字面が弾発ばねによって常時は外套枠の脚端よりやや上方に位置されるように装着するとともに、前記した外套枠3に対する印字体ユニットの印字面を捺印条件に応じた位置に微調整する捺印圧調整機構を組み込んだ印判であって、前記した捺印圧調整機構が、印材ホルダの中央頂部に立設したねじ棒と、このねじ棒に螺合されてその正逆回動により外套枠に対する印字体ユニットの高低位置を調整する調整ノブとを少なくとも備えたものであり、さらに、この調整ノブの回動を阻止する緩み止め機構を印判内部に設けてあることを特徴とする。
なお、調整ノブの回動を阻止する緩み止め機構としては、調整ノブの外周面に形成してあるローレットと、把持部材の内面に形成されて前記したローレットと係合する係止片とよりなるものであってもよいが、弾発ばねにより常時は上向きに弾発されるスライド部材をその脚部が外套枠の上部内面に添って上下摺動可能に組み込んでおき、このスライド部材の天板部上面に複数の円弧状凹部を配設しておく一方、前記した調整ノブの下面に前記した円弧状凹部と係合する係合用凸部とを設けておき、調整ノブの回動により前記した係合用凸部が複数の円弧状凹部のいずれかに係合してこれにより調整ノブの回動操作が節度を付与しながら一定角度宛間欠的に行なわれて外套枠に対する印字体ユニットの高低位置が所定量宛段階的に調整されるようにしておけば、外套枠に対する印字体ユニットの印字面を捺印条件に応じた位置に的確に微調整できるので特に好ましい。
本発明の印判は、下端の印材収納部に多孔性印材を収納した印材ホルダを外套枠の内側に昇降動自在に装着するとともにこの印材ホルダの上部に把持部材を嵌着してある印字体ユニットを前記した多孔性印材の印字面が弾発ばねによって常時は外套枠の脚端よりやや上方に位置されるように装着するとともに、前記した外套枠に対する印字体ユニットの捺印圧調整機構を組み込んだものであるから、常時は外套枠の内側に昇降動自在に装着した印字体ユニットの印字面が弾発ばねによって外套枠の脚端よりやや上方に位置されていて印字面により他物を汚すおそれがなく、捺印時には弾発ばねの弾発力に抗して印字体ユニットを押し下げるだげで捺印できることは従来のこの種の印判と同様であるが、本発明では、前記した捺印圧調整機構が、印材ホルダの中央頂部に立設したねじ棒と、このねじ棒に螺合されてその正逆回動により外套枠に対する印字体ユニットの高低位置を調整する調整ノブとを少なくとも備えたものであって、さらに、この調整ノブの回動を阻止する緩み止め機構が内部に設けられているものであるから、印字面を捺印条件に応じた位置に微調整する操作が簡単なうえに、微調整後には調整ノブの回動が皆無となって、長期間使用しているうちに調整ノブの緩みや損傷によって調整量が変わってしまい、適正な捺印ができなくなることがない。
特に、調整ノブの回動を阻止する緩み止め機構として弾発ばねにより常時は上向きに弾発されるスライド部材をその脚部が外套枠の上部内面に添って上下摺動可能に組み込んでおき、このスライド部材の天板部上面に複数の円弧状凹部を配設しておく一方、前記した調整ノブの下面に前記した円弧状凹部と係合する係合用凸部とを設けておき、調整ノブの回動により前記した係合用凸部が複数の円弧状凹部のいずれかに係合してこれにより調整ノブの回動操作が節度を付与しながら一定角度宛間欠的に行なわれて外套枠に対する印字体ユニットの高低位置が所定量宛段階的に調整されるようにしておけば、印字濃度を調整したいときに被捺印面に対する印面の接触量を規制すべく、把持部材を外したうえねじ棒に螺合されている調整ノブを1ノッチ宛回動させれば、外套枠に対する印字体ユニットの高低位置を調整して印面位置を捺印条件に応じた位置に微調整することができ、この間、調整ノブの回動角度を1ノッチ毎に得られる節度に基づいて正確に知ることができるので、1 ノッチ毎の回動角度に基づいて捺印位置を微調整できることとなり、光沢紙のように適正な捺印位置の範囲が狭くても適正な捺印位置を高精度に設定できるものとなる。外套枠に対する印字体ユニットの印字面を捺印条件に応じた位置に的確に微調整できることとなり、また、調整ノブの外周面にローレットを形成する一方、把持部材の内面に前記したローレットと係合して調整ノブを回り止めする係止片を形成しておくことにより、調整ノブは把持部材を外さない限りずれることがないので、適正な捺印位置を長期間維持することができるものとなる。
さらに、調整ノブの下端縁にストッパを設ける一方、スライド部材の天板部上面に前記した調整ノブのストッパと係合して調整ノブの最大回動量を規制する係止部を備えたロックリングを取付けておけば、捺印濃度の調整範囲(最大濃度から最小濃度)を規制して最適化することができるうえに調整ノブの過剰な回動を防止できる。
次に、本発明の好ましい実施の形態を図に基づいて詳細に説明する。
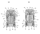
図1において、1は弾発ばね2を介して外套枠3に昇降動自在に支持される印字体ユニットであり、該印字体ユニット1は印字体4aとインキ吸蔵体4bとを組み込んだ印材カセット4をスライドおよび脱着自在に装着した印材ホルダ5と把持部材6とからなり、7は捺印位置を調整する捺印圧調整機構である。
前記した外套枠3は、図4に示されるように、下部前後に脚板3aを対向させて垂設して脚板3a間に印材ホルダ5の下部を収納する空間を形成するとともに、上部中央にスライド部材9をスライドガイドする凹部3bを形成し、また、上部両側には印材ホルダ5の角軸部5a、5aを嵌挿させる筒孔3c、3cを形成しており、3dは印材ホルダ5の後ねじ棒8を立設するためのブロック部を嵌挿させる透孔であり、3eはスライド部材9の縦隆条9cに係合されるガイド用の縦溝である。
また、印材カセット4は、図1、2 に示されるように、受金4dにより印字体4aとインキ吸蔵体4bとを支持したものであり、この印材カセット4の前後面には印材ホルダ5の前後内面に形成された横凸条5b、5bと係合する横凹溝4c、4cが形成されており、印材カセット4は横スライドさせることにより印材ホルダ5から簡単に着脱できるものとなっている。
さらに、捺印圧調整機構7は、印材ホルダ5の中央頂部に立設したねじ棒8と、このねじ棒8に螺合されてその正逆回動により外套枠3に対する印字体ユニット1の高低位置を調整する調整ノブ10とを少なくとも備えたものに調整ノブ10の回動を阻止する緩み止め機構を組み込んであればよいが、図1および図2aに示す実施態様において、緩み止め機構は、調整ノブ10の外周面に形成してあるローレット10aと、把持部材6の内面に形成されて前記したローレット10aと係合する係止片6bとよりなるものとし、また、図2aに示す他の実施態様においては、弾発ばね2により常時は上向きに弾発されるスライド部材9がその脚部を外套枠3の上部内面に添わせて上下摺動可能に組み込まれており、調整ノブ10の回動を阻止する緩み止め機構が、このスライド部材9の天板部上面に配設した複数のノッチ と、前記した調整ノブ10の下面に設けられた係合用凸部9aとよりなり、調整ノブ10の回動により前記した係合用凸部9aが複数のノッチのいずれかに係合してこれにより調整ノブ10の回動操作が節度を付与しながら一定角度宛間欠的に行なわれて外套枠3に対する印字体ユニット1の高低位置が所定量宛段階的に調整されるようにしたものとしてある。
一方、前記した把持部材6は、上端に表示ラベルを拡大表示するレンズ部6aを嵌着した角箱蓋形状のもので、把持部6の天井部中央の前後面には、図2に示されるように、調整ノブ10の回動を阻止する緩み止め機構としての係止片6b、6bが垂設されており、該係止片6bは把持部6を印字体ユニット1に嵌着することにより調整ノブ10のローレット10aに係合されて、調整ノブ10が不用意に回動することを防止している。
6c、6cは図1に示されるように把持部6の天井部両側から垂設される押圧片であり、該押圧片6cは印材ホルダ5の角軸部5aに捺印圧を加えるものである。6d、6dは印材ホルダ5を把持部材6に係止させる保持板であり、該保持板6dには印材ホルダ5の角軸部5aに形成される横隆条5cと係合する横溝6eが形成されていて、この横溝6eと横隆条5cとの係合により把持部材6は印材ホルダ5と一体化される。
また、第1の実施態様に用いたスライド部材9は、図5、6に示されるように、調整ノブ10の回動を阻止する緩み止め機構としても働くように、上面に72°の角度で配設されるノッチに対応した大きさの4つの半球状の係合用凸部9aと、この半球状の係合用凸部9aより大きな直径で36°間隔で透孔9bが透設されている。このように半球状の係合用凸部9aとすることにより調整ノブ10の円弧状凹部10bとの係脱が円滑に節度をもって行なわれる。また、半球状の係合用凸部9aは4つ設けられているが少なくとも一つあればよく、複数個設ける場合は36°毎の角度で設けることはいうまでもない。9cは図5に示されるように、スライド部材9の両側外壁面に形成されるテーパ状の縦突条であり、該縦突条9cは図4に示されるように、外套枠3の凹部3bの側壁内面に形成されたテーパ状の縦溝3eと係合されることにより、スライド部材9を凹部3bに嵌めこむ際の作業が円滑に行なわれるようにしている。9dは外套枠3の凹部3bの上端縁と当接するようにスライド部材9の天板部周縁に形成されたフランジであり、図1、2に示されるように、該フランジ9dと凹部3bの上端縁間の間隔を調整することにより、捺印面の出没量を変えることができるようになっている。
また、前記した調整ノブ10のローレット10aは外周面にV字状凹部を18°間隔に配設したもので、該V字状凹部は把持部6の前後面に対して直交するように配置され、把持部6の係止片6bと係合できるようになっている。さらに、調整ノブ10の座面には節度付与機構11の角度割出ノッチとしての10個の円弧状凹部10bが36°間隔に形成され、スライド部材9の上面に形成された節度付与機構11としての円弧状凸起9aと弾発ばね2の弾発力により係脱されるようになっている。このため調整ノブ10の回動操作は36°毎節度をもって行なわれる。また、調整ノブ10の雌ねじ10cは0.5mmピッチとしているため、調整ノブ10を36°回動させるとフランジ9dと凹部3bの上端縁との間隔は0.05mm間隔で狭くなったり、拡がったりする。この調整は8段階で行なわれるため、最大0.4mm捺印面を出没させることができる。なお、雌ねじ10cのピッチは0.5mmピッチに限定されるものではなく、紙の種類はインキの種類に応じて細かいピッチとしたり荒いピッチとしたりすればよいことはいうまでもない。
また、捺印位置の調整8を段階状とするのは、調整ノブ10のストッパ12が18°の開き角度で形成され、後記するロックリング13の係止部13bが50.6°の開き角度で形成されるため、360°のうち約70°の角度は不使用領域となるからである。10dはストッパ位置に形成されて捺印が濃くなるほうに回動されたのか薄くなるほうに回動されたかを視認するための凸状の矢印表示である。
前記調整ノブ10の座面周縁部に形成されるストッパ12は後記ロックリング13の係止部13bと係止されて調整ノブ10の回動範囲が360°以内となるようにするものである。前記したロックリング13には爪付の係止脚13aを対向垂設するとともに、前記した調整ノブ10に形成されるストッパ12と当接する係止部13bを内周面に形成している。係止脚13aは前記スライド部材9の36°間隔で透設された任意の透孔9bに嵌合することにより、ロックリング13の取り付け位置を変えることができるようにして、捺印濃度の調整範囲(最大濃度から最小濃度)を最適化することができるようになっている。
前記した弾発ばね2は、上端をスライド部材9の天井面に当接させるとともに下端を外套枠3の凹部3bの内底面に当接させている。14は印材カセット4に係合される印面キャップであり、該印面キャップ14は印材カセット4の下端縁を受ける係止段部14bが両側に形成されて、印字体4aが印面キャップ14の内面に接触しないようにしている。
このように構成されたものは、印字体ユニット1が、下端に多孔性印材が収納されるとともに中央頂部にねじ棒8が立設された印材ホルダ5と、天板部に形成された中心孔を前記したねじ棒8に遊挿させた状態で前記した外套枠3の内部に形成されたスライドガイド用の凹部3bに嵌入されて弾発ばね2により常時は前記した天板部の周縁のフランジ9dと外套枠3の内部に形成されるストッパ部との間に所要の隙間が形成されるように上向きに弾発されているスライド部材9と、このスライド部材9の上部に着脱自在に嵌装された把持部材6とよりなるものであるから、常時は外套枠の内側に昇降動自在に装着した印字体ユニット1の印字面が弾発ばね2によって常時は外套枠の脚端よりやや上方に位置されていて印字面により他物を汚すおそれがなく、また、捺印時には弾発ばね2の弾発力に抗して印字体ユニット1を押し下げるだげで捺印できることは従来のこの種の印判と同様であるが、例えば、光沢紙に捺印を行なう場合のようにインキの付着量が多いとインキの乾燥に時間がかかり机上を乾燥させるための捺印書類が占有して仕事ができなくなったり、捺印を行なった直後に不用意に書類を重ね合わせると、捺印面のインキが重ね合わせた上側の紙の裏面に付着する裏移りを生じさせたり、紙を束ねて整列させる際、インキがこすれて捺印が不鮮明になったり、インクの付着量が少なくて、捺印面がかすれて読み難くかったりするので、このようなときには、先ず、把持部材6を印材ホルダ5から外して、調整ノブ10を露呈させる。
次に、調整ノブ10を正回転あるいは逆回転させれば、調整ノブ10は印材ホルダ5のねじ棒8にねじ込まれるかねじ戻されるので、スライド部材9は外套枠3の凹部31内で上下スライドすることなり、スライド部材9のフランジ9dと外套枠3の凹部3b上端縁間の間隔は調整され、これにより印字体4aの出没量は変更され、インキの付着量が調整されることとなる。
このとき、調整ノブ10は36°間隔で回動されるので、ねじ棒8は0.5mmピッチとしているため、36°回動させれば0.05mm単位で印面を上下動させ、インキの付着量を微調整することができる。
このようにして調整を行なったうえ、把持部材6を印材ホルダ5に係合させれば、調整ノブ10のV字状凹部に把持部材6の係止片6b、6bが係合されるので、調整ノブ10は完全に動き止めされることとなる。
この状態で捺印を行なってインキの付着量を確かめ、付着量が多すぎたり少なすぎたりしたら、前記と同様にして印面の張出量を変えて調整を行なえばよい。このようにして適正なインキの付着量が得られれば、たとえ被捺印面が光沢紙であっても、インキの乾燥は速くなるので、捺印を行なった書類を机上に広げてインキを乾燥させる必要がなくなるので、仕事を迅速且つ円滑にこなすことができるものとなる。
本発明の好ましい実施の形態を示す前部縦断断面図である。 (a) 同じく側部縦断断面図である。 (b)本発明の好ましい他の実施の形態を示す側部縦断断面図である。 把持部を外して調整ノブを露呈させた平面図である。 外套枠の斜視図である。 スライド部材の斜視図である。 同じく平面図である。 ロックリングの平面図である。 同じく断面図である。 調整ノブの斜視図である。 同じく平面図である。 同じく底面図である。 同じく断面図である。 印材ホルダの斜視図である。
符号の説明
1 印字体ユニット
2 弾発ばね
3 外套枠
3a 脚板
3b 凹部
3c 筒孔
3d 透孔
3e 縦溝
4 印材カセット
4a 印字体
4b インキ吸蔵体
4d 受金
4c 横凹溝
5 印材ホルダ
5a 角軸部
5b 横凸条
5c 横隆条
6 把持部
6a レンズ部
6b 係止片
6c 押圧片
6d 保持板
6e 横溝
7 捺印圧調整機構
8 ねじ棒
9 スライド部材
9a 半球状の係合用凸部
9b 透孔
9c 縦突条
9d フランジ
10 調整ノブ
10a ローレット
10b 円弧状凹部
10c 雌ねじ
10d 矢印表示
11 節度付与機構
12 ストッパ
13 ロックリング
13a 係止脚
13b 係止部
14 印面キャップ
14a 係止段部

Claims (4)

  1. 下端の印材収納部に多孔性印材を収納した印材ホルダ5を外套枠3の内側に昇降動自在に装着するとともにこの印材ホルダ5の上部に把持部材6を嵌着してある印字体ユニット1を前記した多孔性印材の印字面が弾発ばね2によって常時は外套枠3の脚端よりやや上方に位置されるように装着するとともに、前記した外套枠3に対する印字体ユニット1の印字面を捺印条件に応じた位置に微調整する捺印圧調整機構7を組み込んだ印判であって、前記した捺印圧調整機構7が、印材ホルダ5の中央頂部に立設したねじ棒8と、このねじ棒8に螺合されてその正逆回動により外套枠3に対する印字体ユニット1の高低位置を調整する調整ノブ10とを少なくとも備えたものであり、さらに、この調整ノブ10の回動を阻止する緩み止め機構が内部に設けられていることを特徴とする印判。
  2. 調整ノブ10の回動を阻止する緩み止め機構が、調整ノブ10の外周面に形成してあるローレット10aと、把持部材6の内面に形成されて前記したローレット10aと係合する係止片6bとよりなるものである請求項1に記載の印判。
  3. 弾発ばね2により常時は上向きに弾発されるスライド部材9がその脚部を外套枠3の上部内面に添わせて上下摺動可能に組み込まれており、調整ノブ10の回動を阻止する緩み止め機構が、このスライド部材9の天板部上面に配設した複数の円弧状凹部10bと、前記した調整ノブ10の下面に設けられた係合用凸部9aとよりなり、調整ノブ10の回動により前記した係合用凸部9aが複数の円弧状凹部10bのいずれかに係合してこれにより調整ノブ10の回動操作が節度を付与しながら一定角度宛間欠的に行なわれて外套枠3に対する印字体ユニット1の高低位置が所定量宛段階的に調整されるようにした請求項1に記載の印判。
  4. 調整ノブ10の下端縁にストッパ12を設ける一方、スライド部材9の天板部上面に前記した調整ノブ10のストッパ12と係合して調整ノブ10の最大回動量を規制する係止部13bを備えたロックリング13を取付けてある請求項3に記載の印判。
JP2008167615A 2008-06-26 2008-06-26 印判 Active JP5282458B2 (ja)

Priority Applications (1)

Application Number Priority Date Filing Date Title
JP2008167615A JP5282458B2 (ja) 2008-06-26 2008-06-26 印判

Applications Claiming Priority (1)

Application Number Priority Date Filing Date Title
JP2008167615A JP5282458B2 (ja) 2008-06-26 2008-06-26 印判

Publications (2)

Publication Number Publication Date
JP2010005914A true JP2010005914A (ja) 2010-01-14
JP5282458B2 JP5282458B2 (ja) 2013-09-04

Family

ID=41586946

Family Applications (1)

Application Number Title Priority Date Filing Date
JP2008167615A Active JP5282458B2 (ja) 2008-06-26 2008-06-26 印判

Country Status (1)

Country Link
JP (1) JP5282458B2 (ja)

Cited By (7)

* Cited by examiner, † Cited by third party
Publication number Priority date Publication date Assignee Title
EP2346161A1 (en) 2010-01-14 2011-07-20 Renesas Electronics Corporation Receiving circuit
CN105459649A (zh) * 2016-01-07 2016-04-06 苏州大学应用技术学院 一种盖章夹头装置
JP2016179601A (ja) * 2015-03-24 2016-10-13 小林 敬 印鑑補助具および押印確認機構付印鑑
CN107825884A (zh) * 2017-11-10 2018-03-23 嵊州德庆机械有限公司 一种新型的加工信箱装置
CN108724996A (zh) * 2018-04-13 2018-11-02 大庆元子科技开发有限公司 一种用于物联网防盗用自毁式印章
CN109291669A (zh) * 2018-10-12 2019-02-01 漯河医学高等专科学校 一种图书馆书籍连续自动盖章装置
CN110717737A (zh) * 2019-10-12 2020-01-21 珠海优特物联科技有限公司 印章管控方法、装置及印章

Families Citing this family (2)

* Cited by examiner, † Cited by third party
Publication number Priority date Publication date Assignee Title
EP2595008B1 (fr) * 2011-11-17 2015-01-07 Montres Rado S.A. Boîte pour pièce d'horlogerie
CN109383145B (zh) * 2018-10-26 2020-07-24 郑州轻工业学院 一种便携式智能公章

Citations (3)

* Cited by examiner, † Cited by third party
Publication number Priority date Publication date Assignee Title
JPH045335Y2 (ja) * 1987-03-05 1992-02-14
JPH0414218Y2 (ja) * 1987-03-05 1992-03-31
JPH068607A (ja) * 1993-05-10 1994-01-18 Sanbii Kk ゴム印

Patent Citations (3)

* Cited by examiner, † Cited by third party
Publication number Priority date Publication date Assignee Title
JPH045335Y2 (ja) * 1987-03-05 1992-02-14
JPH0414218Y2 (ja) * 1987-03-05 1992-03-31
JPH068607A (ja) * 1993-05-10 1994-01-18 Sanbii Kk ゴム印

Cited By (8)

* Cited by examiner, † Cited by third party
Publication number Priority date Publication date Assignee Title
EP2346161A1 (en) 2010-01-14 2011-07-20 Renesas Electronics Corporation Receiving circuit
JP2016179601A (ja) * 2015-03-24 2016-10-13 小林 敬 印鑑補助具および押印確認機構付印鑑
CN105459649A (zh) * 2016-01-07 2016-04-06 苏州大学应用技术学院 一种盖章夹头装置
CN107825884A (zh) * 2017-11-10 2018-03-23 嵊州德庆机械有限公司 一种新型的加工信箱装置
CN108724996A (zh) * 2018-04-13 2018-11-02 大庆元子科技开发有限公司 一种用于物联网防盗用自毁式印章
CN109291669A (zh) * 2018-10-12 2019-02-01 漯河医学高等专科学校 一种图书馆书籍连续自动盖章装置
CN110717737A (zh) * 2019-10-12 2020-01-21 珠海优特物联科技有限公司 印章管控方法、装置及印章
CN110717737B (zh) * 2019-10-12 2022-08-16 珠海优特物联科技有限公司 印章管控方法、装置及印章

Also Published As

Publication number Publication date
JP5282458B2 (ja) 2013-09-04

Similar Documents

Publication Publication Date Title
JP5282458B2 (ja) 印判
US9545806B2 (en) Self-inking stamp
RU2710628C2 (ru) Штамп, штемпельная подушка и замыкающая крышка
CN105392632B (zh) 具有印章壳体的回墨印章
US8336454B2 (en) Stamping device including cover member and interlock mechanism for causing rotation of cover member
EP1846248B1 (en) Self-inking hand stamp with spare ink supply
US20050155717A1 (en) Transfer device
JP5984778B2 (ja) 印判スタンド
US6360661B1 (en) Pre-inked hand stamp
JP6026807B2 (ja) スタンプ装置
US7021211B1 (en) Stamp housing assembly
JP3642402B2 (ja) 日付印
JP2007152748A (ja) スタンプ
JP5984763B2 (ja) ダイヤル露出型の日付印
JP6186872B2 (ja) 反転式印判
JP3141178U (ja) インク供給体、及び、該インク供給体を備える自動着肉式スタンプ
JP5619968B1 (ja) スタンプ用印字体ホルダー、スタンプ
JP4693103B2 (ja) 差込印
JP2021070481A (ja) 容器装置、リフィル容器装置、および容器装置の内容器の交換方法
EP2361782B1 (en) Handheld stamp assembly
JP2012091431A (ja) 替芯ケース
JP2011240588A (ja) 自動着肉式スタンプ
JP5109896B2 (ja) 固定印付き回転印
JP3133230U (ja) 押印補助具
JP2006312324A (ja) 印鑑ホルダー

Legal Events

Date Code Title Description
A621 Written request for application examination

Free format text: JAPANESE INTERMEDIATE CODE: A621

Effective date: 20110517

A131 Notification of reasons for refusal

Free format text: JAPANESE INTERMEDIATE CODE: A131

Effective date: 20120828

A521 Request for written amendment filed

Free format text: JAPANESE INTERMEDIATE CODE: A523

Effective date: 20121018

TRDD Decision of grant or rejection written
A01 Written decision to grant a patent or to grant a registration (utility model)

Free format text: JAPANESE INTERMEDIATE CODE: A01

Effective date: 20130430

A61 First payment of annual fees (during grant procedure)

Free format text: JAPANESE INTERMEDIATE CODE: A61

Effective date: 20130513

R150 Certificate of patent or registration of utility model

Ref document number: 5282458

Country of ref document: JP

Free format text: JAPANESE INTERMEDIATE CODE: R150

R250 Receipt of annual fees

Free format text: JAPANESE INTERMEDIATE CODE: R250

R250 Receipt of annual fees

Free format text: JAPANESE INTERMEDIATE CODE: R250

R250 Receipt of annual fees

Free format text: JAPANESE INTERMEDIATE CODE: R250

R250 Receipt of annual fees

Free format text: JAPANESE INTERMEDIATE CODE: R250

R250 Receipt of annual fees

Free format text: JAPANESE INTERMEDIATE CODE: R250

R250 Receipt of annual fees

Free format text: JAPANESE INTERMEDIATE CODE: R250

R250 Receipt of annual fees

Free format text: JAPANESE INTERMEDIATE CODE: R250

R250 Receipt of annual fees

Free format text: JAPANESE INTERMEDIATE CODE: R250

R250 Receipt of annual fees

Free format text: JAPANESE INTERMEDIATE CODE: R250

R250 Receipt of annual fees

Free format text: JAPANESE INTERMEDIATE CODE: R250