JP2010004928A - パルスフォトメトリープローブ - Google Patents

パルスフォトメトリープローブ Download PDF

Info

Publication number
JP2010004928A
JP2010004928A JP2008164392A JP2008164392A JP2010004928A JP 2010004928 A JP2010004928 A JP 2010004928A JP 2008164392 A JP2008164392 A JP 2008164392A JP 2008164392 A JP2008164392 A JP 2008164392A JP 2010004928 A JP2010004928 A JP 2010004928A
Authority
JP
Japan
Prior art keywords
light
light receiving
light emitting
sheet
unit
Prior art date
Legal status (The legal status is an assumption and is not a legal conclusion. Google has not performed a legal analysis and makes no representation as to the accuracy of the status listed.)
Granted
Application number
JP2008164392A
Other languages
English (en)
Other versions
JP4565418B2 (ja
Inventor
Masahiro Takeuchi
雅浩 竹内
Tokuaki Todokoro
徳昭 外処
Current Assignee (The listed assignees may be inaccurate. Google has not performed a legal analysis and makes no representation or warranty as to the accuracy of the list.)
Nippon Koden Corp
Original Assignee
Nippon Koden Corp
Priority date (The priority date is an assumption and is not a legal conclusion. Google has not performed a legal analysis and makes no representation as to the accuracy of the date listed.)
Filing date
Publication date
Application filed by Nippon Koden Corp filed Critical Nippon Koden Corp
Priority to JP2008164392A priority Critical patent/JP4565418B2/ja
Priority to US12/491,211 priority patent/US9808166B2/en
Publication of JP2010004928A publication Critical patent/JP2010004928A/ja
Application granted granted Critical
Publication of JP4565418B2 publication Critical patent/JP4565418B2/ja
Active legal-status Critical Current
Anticipated expiration legal-status Critical

Links

Images

Classifications

    • AHUMAN NECESSITIES
    • A61MEDICAL OR VETERINARY SCIENCE; HYGIENE
    • A61BDIAGNOSIS; SURGERY; IDENTIFICATION
    • A61B5/00Measuring for diagnostic purposes; Identification of persons
    • A61B5/02Detecting, measuring or recording for evaluating the cardiovascular system, e.g. pulse, heart rate, blood pressure or blood flow
    • A61B5/026Measuring blood flow
    • A61B5/0261Measuring blood flow using optical means, e.g. infrared light
    • AHUMAN NECESSITIES
    • A61MEDICAL OR VETERINARY SCIENCE; HYGIENE
    • A61BDIAGNOSIS; SURGERY; IDENTIFICATION
    • A61B5/00Measuring for diagnostic purposes; Identification of persons
    • A61B5/0059Measuring for diagnostic purposes; Identification of persons using light, e.g. diagnosis by transillumination, diascopy, fluorescence
    • AHUMAN NECESSITIES
    • A61MEDICAL OR VETERINARY SCIENCE; HYGIENE
    • A61BDIAGNOSIS; SURGERY; IDENTIFICATION
    • A61B5/00Measuring for diagnostic purposes; Identification of persons
    • A61B5/02Detecting, measuring or recording for evaluating the cardiovascular system, e.g. pulse, heart rate, blood pressure or blood flow
    • A61B5/024Measuring pulse rate or heart rate
    • A61B5/02444Details of sensor
    • AHUMAN NECESSITIES
    • A61MEDICAL OR VETERINARY SCIENCE; HYGIENE
    • A61BDIAGNOSIS; SURGERY; IDENTIFICATION
    • A61B5/00Measuring for diagnostic purposes; Identification of persons
    • A61B5/145Measuring characteristics of blood in vivo, e.g. gas concentration or pH-value ; Measuring characteristics of body fluids or tissues, e.g. interstitial fluid or cerebral tissue
    • A61B5/1455Measuring characteristics of blood in vivo, e.g. gas concentration or pH-value ; Measuring characteristics of body fluids or tissues, e.g. interstitial fluid or cerebral tissue using optical sensors, e.g. spectral photometrical oximeters
    • A61B5/14551Measuring characteristics of blood in vivo, e.g. gas concentration or pH-value ; Measuring characteristics of body fluids or tissues, e.g. interstitial fluid or cerebral tissue using optical sensors, e.g. spectral photometrical oximeters for measuring blood gases
    • A61B5/14552Details of sensors specially adapted therefor
    • AHUMAN NECESSITIES
    • A61MEDICAL OR VETERINARY SCIENCE; HYGIENE
    • A61BDIAGNOSIS; SURGERY; IDENTIFICATION
    • A61B5/00Measuring for diagnostic purposes; Identification of persons
    • A61B5/68Arrangements of detecting, measuring or recording means, e.g. sensors, in relation to patient
    • A61B5/6801Arrangements of detecting, measuring or recording means, e.g. sensors, in relation to patient specially adapted to be attached to or worn on the body surface
    • A61B5/6813Specially adapted to be attached to a specific body part
    • A61B5/6825Hand
    • A61B5/6826Finger
    • AHUMAN NECESSITIES
    • A61MEDICAL OR VETERINARY SCIENCE; HYGIENE
    • A61BDIAGNOSIS; SURGERY; IDENTIFICATION
    • A61B5/00Measuring for diagnostic purposes; Identification of persons
    • A61B5/68Arrangements of detecting, measuring or recording means, e.g. sensors, in relation to patient
    • A61B5/6801Arrangements of detecting, measuring or recording means, e.g. sensors, in relation to patient specially adapted to be attached to or worn on the body surface
    • A61B5/6813Specially adapted to be attached to a specific body part
    • A61B5/6829Foot or ankle
    • AHUMAN NECESSITIES
    • A61MEDICAL OR VETERINARY SCIENCE; HYGIENE
    • A61BDIAGNOSIS; SURGERY; IDENTIFICATION
    • A61B5/00Measuring for diagnostic purposes; Identification of persons
    • A61B5/68Arrangements of detecting, measuring or recording means, e.g. sensors, in relation to patient
    • A61B5/6801Arrangements of detecting, measuring or recording means, e.g. sensors, in relation to patient specially adapted to be attached to or worn on the body surface
    • A61B5/683Means for maintaining contact with the body
    • A61B5/6838Clamps or clips
    • AHUMAN NECESSITIES
    • A61MEDICAL OR VETERINARY SCIENCE; HYGIENE
    • A61BDIAGNOSIS; SURGERY; IDENTIFICATION
    • A61B2562/00Details of sensors; Constructional details of sensor housings or probes; Accessories for sensors
    • A61B2562/16Details of sensor housings or probes; Details of structural supports for sensors
    • A61B2562/164Details of sensor housings or probes; Details of structural supports for sensors the sensor is mounted in or on a conformable substrate or carrier

Landscapes

  • Health & Medical Sciences (AREA)
  • Life Sciences & Earth Sciences (AREA)
  • Physics & Mathematics (AREA)
  • Surgery (AREA)
  • General Health & Medical Sciences (AREA)
  • Engineering & Computer Science (AREA)
  • Biomedical Technology (AREA)
  • Heart & Thoracic Surgery (AREA)
  • Medical Informatics (AREA)
  • Molecular Biology (AREA)
  • Biophysics (AREA)
  • Animal Behavior & Ethology (AREA)
  • Pathology (AREA)
  • Public Health (AREA)
  • Veterinary Medicine (AREA)
  • Cardiology (AREA)
  • Physiology (AREA)
  • Spectroscopy & Molecular Physics (AREA)
  • Optics & Photonics (AREA)
  • Hematology (AREA)
  • Measurement Of The Respiration, Hearing Ability, Form, And Blood Characteristics Of Living Organisms (AREA)
  • Measuring Pulse, Heart Rate, Blood Pressure Or Blood Flow (AREA)

Abstract

【課題】生体に装着した場合に綺麗にフィットし、外乱光の入り込みを抑える。
【解決手段】生体に装着され生体組織に向けて光を射出する発光部21、生体組織を介し到来する発光部21の射出光を受光する受光部22、発光部21の光射出側面及び受光部22の光受側面に位置し、生体組織に接する表面シート40、発光部21の非光射出側面と受光部22の非光受側面に位置し、発光部21と受光部22の距離方向に伸縮可能とするスリット31が形成され、発光部21と受光部22を保護する保護シート30、表面シート40と保護シート40を覆う第1のシート12、発光部12又は受光部22に到る第1のリード線23、生体に装着された際に、第1のリード線23と束ねられる基部26から受光部22又は発光部21のいずれか他方まで到る適正長となる1以上の弛み部を有する第2のリード線24を具備する。
【選択図】図1

Description

この発明は、パルスフォトメトリー方式により脈波や血中吸光物質を測定するためのパルスフォトメトリープローブに関するものである。
従来、この種のプローブローブは、長尺の装着体とセンサ保持部材に、受光素子と発光素子とを生体に装着した状態において対向するように配置して設けている。使用状態では、センサ保持部材を折り曲げ、更には指などの生体に巻回して装着するものである(特許文献1の図1、図2、特許文献2の図4参照)。
しかしながら、上記のものにあってはセンサ保持部材や装着体などが受光素子と発光素子とを保護する必要があり、ある程度の剛性があり、綺麗に生体にフィットし難く、図6に示すような隙間ができることがある。この隙間から外乱光が入り込み受光素子により検出されると、誤測定が起こることになる。
特開2004−495795号公報 特開2003−225215号公報
また、センサ保持部材や装着体などに配置されているコードにおいてもある程度の剛性があり、センサ保持部材や装着体などと同様にプローブが生体に綺麗にフィットする妨げとなっていた。例えば、プローブの幅狭側縁に概ね直交する方向からケーブルが延び、ケーブル内の二本のリード線が基部から別れて発光素子及び受光素子に接続される構成においては、基部から遠い方の素子までリード線が殆ど湾曲しないで延びるように設けられる。このため、指などの生体に装着する場合に生体にフィットする形状となる変形の妨げとなるものであった。
本発明は上記のような従来のパルスフォトメトリープローブにおける問題点を解決せんとしてなされたもので、その目的は、生体に装着した場合に綺麗にフィットし、外乱光の入り込みを抑えて適切な生体信号測定を可能とするパルスフォトメトリープローブを提供することである。
本発明に係るパルスフォトメトリープローブは、生体に装着された状態において生体組織に向けて光を射出するための発光部と、前記生体組織を介して到来する前記発光部の射出光を受光する受光部と、前記発光部の光射出側面及び前記受光部の光受側面に位置し、生体組織に接する表面シートと、前記発光部の非光射出側面及び前記受光部の非光受側面に位置し、前記発光部と前記受光部の距離方向に伸縮可能とするスリットが形成され、前記発光部及び前記受光部を保護する保護シートと、前記表面シート及び前記保護シートを覆う第1のシートと、前記発光部若しくは前記受光部のいずれか一方に到る第1のリード線と、生体に装着された際に、前記第1のリード線と束ねられる基部から前記受光部若しくは前記発光部のいずれか他方まで到る適正長となる少なくとも一つ以上の弛み部を有する第2のリード線とを具備することを特徴とする。
本発明に係るパルスフォトメトリープローブでは、前記スリットは、保護シートを貫通して切り込まれた全抜きにて形成されるか、保護シートの途中まで切り込み貫通させない半抜きにて形成されることを特徴とする
本発明に係るパルスフォトメトリープローブでは、前記基部は前記保護シート若しくは前記第1のシートの少なくともいずれか一方に覆われることを特徴とする。
本発明に係るパルスフォトメトリープローブでは、前記第2のリード線は、前記発光部と前記受光部の距離方向に対して、前記基部から30度以上の角度により前記受光部方向に延びていることを特徴とする。
本発明に係るパルスフォトメトリープローブでは、前記受光部の光受側面に対応する前記表面シートには、光量調整部が設けられていることを特徴とする。
本発明に係るパルスフォトメトリープローブでは、前記表面シートより更に生体組織側に位置し、生体組織に接する第2のシートを具備することを特徴とする。
本発明に係るパルスフォトメトリープローブでは、前記受光部の光受側面に対応する前記第2のシートには、光量調整部が設けられていることを特徴とする。
本発明によれば、発光部及び受光部を保護する保護シートにおいては、上記発光部と上記受光部の距離方向に伸縮可能とするスリットが形成されているため、パルスフォトメトリープローブを生体に装着する際に保護シートが伸び、指などに隙間なく装着させることができる。また、第1のリード線と束ねられる基部から上記受光部まで到る適正長となる弛み部を有する第2のリード線を備えているので、パルスフォトメトリープローブを生体に装着すると、上記第2のリード線が適正長となって基部から上記受光部まで伸びた状態となり、装着時に上記第2のリード線に引っ張られることを防ぎ、指などに隙間なく綺麗に装着させることができる。
また、本発明に係るパルスフォトメトリープローブでは、受光部の光受側面に対応する第2のシートに、光量調整部が設けられているので、光量調整部を硬質のプレートにより作成する場合に比べてこの光量調整部が第2のシートとして指などの生体に隙間なく綺麗に装着する。
特に皮膚が弱く装着部位の細い新生児等に装着する際には、装着が容易になることで必要な力は最小限ですみ、隙間が生じにくく発光部と受光部の対向性が向上するため、測定精度を悪化させない。さらに、装着部とプローブとの接触面積が大きくなることで、体動時のズレや外れを防ぐ効果もある。
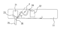
以下、添付図面を参照して本発明に係るパルスフォトメトリープローブの実施例を説明する。各図において同一の構成要素には、同一の符号を付して重複する説明を省略する。実施例に係るパルスフォトメトリープローブ10は、図1に示される通り、発光部21と受光部22と、第2のシート11、第1のシート12、保護シート30及び表面シート40を主な構成要素としている。このパルスフォトメトリープローブの組立て完了状態におけるA−A断面図は、図2に示すようである。
第2のシート11は長尺状の例えば不織布により構成され、発光部21の光射出側面及び受光部22の光受側面に位置し、生体組織に接するシートであり、生体接触面13は粘着樹脂層となっている。パルスフォトメトリープローブを使用する前の生体接触面13には、剥離の際にツマミとなる把持部51を有する剥離シート50が貼着されている。把持部51を除く剥離シート50の面積は、第2のシート11の面積に等しい。
第1のシート12も長尺状の例えば不織布により構成され、発光部21及び受光部22を挟んで上記第2のシート11と対向した位置に設けられる。第1のシート12の、発光部21及び受光部22に対向する面は、粘着樹脂層面14となっている。
表面シート40は、発光部21の光射出側面及び受光部22の光受側面に触れ、これらのカバーとなるシートであり、例えば両面に粘着樹脂層を有する樹脂シートにより構成される。表面シート40には、発光部21から射出された光を通過させる穴41が形成され、また、装着時の生体組織を介して到来する上記発光部21の射出光を通過させる穴42が形成されている。
保護シート30は、第1のシート12と上記発光部21及び上記受光部22により挟まれ、上記発光部21及び上記受光部22を保護する保護シートであり、例えば表面シート40よりやや厚く、かつ両面に粘着樹脂層を有する樹脂シートにより構成される。両面に粘着樹脂層を有する二種類のシートを二重にしたシートであっても良く、一種類は両面に粘着樹脂層を有する不織布であっても良い。保護シート30における、発光部21と受光部22が位置する間の部分には、スリット31が形成されている。このスリット31は、発光部21と受光部22の距離方向に保護シート30を伸縮可能とする方向に切込線32が形成されているものであり、ここでは図3に示すように、長尺な辺33と直交する方向に切込線32が延びている。なお、切込線32は図3(b)に示すように、短尺な辺35の60%程度の長さを有してもよい。上記スリット31は、保護シート30を貫いて切り込まれた全抜きにて形成されるか、保護シート30の途中まで切り込み貫通させない半抜きにて形成される。
発光部21は、生体に装着された状態において生体組織に向けて光を射出するものであり、LEDを備えて構成される。受光部22は、生体組織を介して到来する上記発光部21の射出光を受光するものであり、受光素子を備えて構成される。
発光部21にはリード線(第1のリード線)23が接続され、電力供給を行うように構成され、受光部22にはリード線(第2のリード線)24が接続され、生体組織を介して到来する上記発光部21の射出光を受光して光電変換された信号を取り出し可能に構成されている。リード線23とリード線24とは、例えば発光部21の近傍において一束のリード線25にまとめられている。
一束のリード線25にまとめられた部分を基部26とすると、第2のリード線24は基部26から受光部22まで到る適正長となる弛み部Fを有する。また、別言すると、第2のリード線24は、図4に示すように、上記発光部21と上記受光部22の距離方向Lに対して、上記基部26から30度以上の角度θにより上記受光部22方向に延びている。
また、第2のシート11において、表面シート40の光受側面に対応する領域には、光量調整部15が設けられている。この光量調整部15は、例えば青色による印刷(例えばシルク印刷)により生体接触面13の裏面である内側面16に施される。光量調整部15において、表面シート40の穴42に対応する位置では、穴42と同じ形状の範囲の印刷はなされていない。
図1における図1(b)は、第2のシート11を備えない構成のパルスフォトメトリープローブ10Aを示したものである。このパルスフォトメトリープローブ10Aにおいては、表面シート40における図1(b)の状態における裏面側が粘着樹脂層となっており、この粘着樹脂層と第1のシート12の粘着樹脂層14の一部が、生体組織に接する機能を有する。また、光量調整部15も、このパルスフォトメトリープローブ10Aに備えられていないが、表面シート40における受講部22の光受側面に対応する部分(領域)に光量調整部を設けることができる。
発光部21と受光部22とは、保護シート30及び表面シート40に対し適切な位置に位置決めされて重ねられて、保護シートの粘着剤もしくは表面シートの粘着剤などにより位置ずれを生じないように固定される。この固定された発光部21、受光部22、保護シート30及び表面シート40を含む測定部60は、第2のシート11と第1のシート12の間の所定位置に、位置決めされて重ねられて、保護シートの粘着剤もしくは表面シートの粘着剤などにより位置ずれを生じないように固定される。測定部60は、図5に示されるように他の部位に比べてやや厚みを有する。
以上の通りに構成されたパルスフォトメトリープローブ10を使用する際には、図5に示されるように剥離シート50を剥がして、発光部21の光射出側面が指における爪の生え際付近に位置するように第2のシート11を貼り付け、測定部60を指に巻き付ける。また、被験者によっては測定部60を足の甲や足の趾など被験者の一部に巻き付けてもよい。このとき、受光部22の光受側面が指を介して上記発光部21の光射出側面と対向する位置に貼り付けられる。更に、パルスフォトメトリープローブ10の測定部60が存在しない部分の第2のシート11を貼り付け、測定の準備が完了する。
リード線25の一端には、図5に示すコネクタ61が設けられており、このコネクタ61を、パルスフォトメトリー方式により脈波や血中吸光物質を測定する測定装置に接続して必要な測定が行われる。
図6(a)〜図6(c)に、従来のパルスフォトメトリープローブを6φ、8φ、10φの棒70に巻いた状態の端面方向から見た図を示し、図7(a)〜図7(c)に、本願の実施例に係るパルスフォトメトリープローブ10を6φ、8φ、10φの棒70に巻いた状態の端面方向から見た図を示す。本願発明の実施例では、発光部21と受光部22の平面形状が図4に示されるように縦長の長方形であるのに対し、従来のパルスフォトメトリープローブでは、発光部と受光部の平面形状が横長の長方形であることも影響して、発光部のブロックB1、発光部と受光部をつなぐケーブルのブロックB2、受光部のブロックB3に別れて、棒70を三角形が取り囲む如き状態を呈して隙間が生じ、隙間から外乱光が入り込み受光素子により検出されると、誤測定が起こるなどの事態を想起させるものである。
これに対し、本願発明の実施例では、発光部21と受光部22の平面形状が図4に示されるように縦長の長方形であり、保護シート30のスリット31によるきめ細かい湾曲を許容する作用、また、第2のリード線24が基部26から受光部22まで到る適正長となる弛み部Fを有する点によって、図7(a)〜図7(c)に示すように棒70に綺麗に巻き付いており、隙間が生じる事態を防止でき、隙間から外乱光による誤測定などを防ぐことができる。
上記実施例において、第1のリード線23と第2のリード線24とは同じ側から発光部21と受光部22に接続された構成を備えているが、図8に示すように、第1のリード線23が図8の下側から発光部21に接続される一方、第2のリード線24が図8の上側から受光部22に接続される構成を採用することもできる。この構成においても、第2のリード線24は基部26から受光部22まで到る適正長となる弛み部Fを有する。また、第2のリード線24は、上記発光部21と上記受光部22の距離方向Lに対して、上記基部26から30度以上の角度θにより上記受光部22の方向に延びている。
また、光量調整部15は、例えば青色による印刷により全てが構成されていたが、光量調整部を図9に示すように、穴81が穿設された青色の幅狭のプレート80と、シート11における青色印刷部85、86により構成することもできる。この構成では、プレート80を第2のシート11における、受光部22の光受側面に対応する領域に載置したときに、プレート80の両側に青色印刷部85、86が位置し、プレート80と青色印刷部85、86による領域位置と面積が図1の光量調整部15の領域位置と面積に等しく構成されている。
上記図9の構成によっても、光量調整部を構成するプレート80が幅狭であり、青色印刷部85、86は第2のシート11にあり、生体への装着の際に折れ曲り難い部分による平板状部位が殆ど生じることなく、生体に綺麗に巻き付くので、隙間が生じる事態を防止できる。
本発明に係るパルスフォトメトリープローブの実施例の組立斜視図。 組立後の図1のパルスフォトメトリープローブの実施例のA−A断面図。 本発明に係るパルスフォトメトリープローブの実施例における保護シートが露出する状態を示した平面図。 本発明に係るパルスフォトメトリープローブの実施例における弛み部を有する第2のリード線が露出する状態を示した平面図。 本発明に係るパルスフォトメトリープローブの実施例を指に装着する状態を示した斜視図。 従来のパルスフォトメトリープローブを径の異なる三種の棒に巻き付けた状態の平面図。 本発明に係るパルスフォトメトリープローブの実施例を径の異なる三種の棒に巻き付けた状態の平面図。 図4の弛み部を有する第2のリード線部分を変更した構成を示す平面図。 図1の実施例における光量調整部の構成を変更したパルスフォトメトリープローブの実施例の組立斜視図。
符号の説明
10 パルスフォトメトリープローブ
11 第2のシート
12 第1のシート
13 生体接触面
14 粘着樹脂層面
15 光量調整部
21 発光部
22 受光部
23 第1のリード線
24 第2のリード線
26 基部
30 保護シート
31 スリット
40 表面シート
50 剥離シート
60 測定部

Claims (7)

  1. 生体に装着された状態において生体組織に向けて光を射出するための発光部と、
    前記生体組織を介して到来する前記発光部の射出光を受光する受光部と、
    前記発光部の光射出側面及び前記受光部の光受側面に位置し、生体組織に接する表面シートと、
    前記発光部の非光射出側面及び前記受光部の非光受側面に位置し、前記発光部と前記受光部の距離方向に伸縮可能とするスリットが形成され、前記発光部及び前記受光部を保護する保護シートと、
    前記表面シート及び前記保護シートを覆う第1のシートと、
    前記発光部若しくは前記受光部のいずれか一方に到る第1のリード線と、
    生体に装着された際に、前記第1のリード線と束ねられる基部から前記受光部若しくは前記発光部のいずれか他方まで到る適正長となる少なくとも一つ以上の弛み部を有する第2のリード線と
    を具備することを特徴とするパルスフォトメトリープローブ。
  2. 前記スリットは、保護シートを貫通して切り込まれた全抜きにて形成されるか、保護シートの途中まで切り込み貫通させない半抜きにて形成されることを特徴とする請求項1に記載のパルスフォトメトリープローブ。
  3. 前記基部は前記保護シート若しくは前記第1のシートの少なくともいずれか一方に覆われることを特徴とする請求項1または2に記載のパルスフォトメトリープローブ。
  4. 前記第2のリード線は、前記発光部と前記受光部の距離方向に対して、前記基部から30度以上の角度により前記受光部方向に延びていることを特徴とする請求項1乃至3のいずれか1項に記載のパルスフォトメトリープローブ。
  5. 前記受光部の光受側面に対応する前記表面シートには、光量調整部が設けられていることを特徴とする請求項1乃至4のいずれか1項に記載のパルスフォトメトリープローブ。
  6. 前記表面シートより更に生体組織側に位置し、生体組織に接する第2のシートを
    具備することを特徴とする請求項1乃至4に記載のパルスフォトメトリープローブ。
  7. 前記受光部の光受側面に対応する前記第2のシートには、光量調整部が設けられていることを特徴とする請求項6に記載のパルスフォトメトリープローブ。
JP2008164392A 2008-06-24 2008-06-24 パルスフォトメトリープローブ Active JP4565418B2 (ja)

Priority Applications (2)

Application Number Priority Date Filing Date Title
JP2008164392A JP4565418B2 (ja) 2008-06-24 2008-06-24 パルスフォトメトリープローブ
US12/491,211 US9808166B2 (en) 2008-06-24 2009-06-24 Pulse photometry probe

Applications Claiming Priority (1)

Application Number Priority Date Filing Date Title
JP2008164392A JP4565418B2 (ja) 2008-06-24 2008-06-24 パルスフォトメトリープローブ

Publications (2)

Publication Number Publication Date
JP2010004928A true JP2010004928A (ja) 2010-01-14
JP4565418B2 JP4565418B2 (ja) 2010-10-20

Family

ID=41431944

Family Applications (1)

Application Number Title Priority Date Filing Date
JP2008164392A Active JP4565418B2 (ja) 2008-06-24 2008-06-24 パルスフォトメトリープローブ

Country Status (2)

Country Link
US (1) US9808166B2 (ja)
JP (1) JP4565418B2 (ja)

Cited By (1)

* Cited by examiner, † Cited by third party
Publication number Priority date Publication date Assignee Title
JP2017153533A (ja) * 2016-02-29 2017-09-07 日本光電工業株式会社 パルスフォトメトリ用プローブ

Citations (7)

* Cited by examiner, † Cited by third party
Publication number Priority date Publication date Assignee Title
JPS60158803U (ja) * 1984-03-30 1985-10-22 スタンレー電気株式会社 光センサ
JPH05317295A (ja) * 1992-05-26 1993-12-03 Omron Corp 生体組織酸素計測用プローブ
JPH06327658A (ja) * 1993-03-26 1994-11-29 Nippon Koden Corp 酸素飽和度計用プローブ
JP2004049579A (ja) * 2002-07-19 2004-02-19 World Wide Network:Kk 医療用測定装置
JP2005505360A (ja) * 2001-10-12 2005-02-24 ネルコアー ピューリタン ベネット インコーポレイテッド 積層接着性光学センサ
JP2007105316A (ja) * 2005-10-14 2007-04-26 Konica Minolta Sensing Inc 生体情報測定器
JP2007195816A (ja) * 2006-01-27 2007-08-09 Sharp Corp 使い捨て型の光検出器および非侵襲型光学的生体センサ

Family Cites Families (14)

* Cited by examiner, † Cited by third party
Publication number Priority date Publication date Assignee Title
US4865038A (en) * 1986-10-09 1989-09-12 Novametrix Medical Systems, Inc. Sensor appliance for non-invasive monitoring
US5680857A (en) * 1992-08-28 1997-10-28 Spacelabs Medical, Inc. Alignment guide system for transmissive pulse oximetry sensors
US7190984B1 (en) * 1996-03-05 2007-03-13 Nellcor Puritan Bennett Incorporated Shunt barrier in pulse oximeter sensor
US5797841A (en) * 1996-03-05 1998-08-25 Nellcor Puritan Bennett Incorporated Shunt barrier in pulse oximeter sensor
AU3065997A (en) * 1996-05-15 1997-12-05 Nellcor Puritan Bennett Incorporated Semi-reusable sensor with disposable sleeve
US5830136A (en) * 1996-10-31 1998-11-03 Nellcor Puritan Bennett Incorporated Gel pad optical sensor
IL124787A0 (en) * 1998-06-07 1999-01-26 Itamar Medical C M 1997 Ltd Pressure applicator devices particularly useful for non-invasive detection of medical conditions
AU7355900A (en) * 1999-09-10 2001-04-10 Stephen H. Gorski Oximeter sensor with functional liner
ATE287237T1 (de) * 1999-11-22 2005-02-15 Mallinckrodt Inc Pulsoximetersensor mit einem breiteren metallband
US20030100840A1 (en) * 2001-11-28 2003-05-29 Nihon Kohden Corporation Pulse photometry probe
JP3896408B2 (ja) 2001-11-28 2007-03-22 日本光電工業株式会社 パルスフォトメトリープローブ
US7280858B2 (en) * 2004-01-05 2007-10-09 Masimo Corporation Pulse oximetry sensor
US7937129B2 (en) * 2005-03-21 2011-05-03 Masimo Corporation Variable aperture sensor
US20100317945A1 (en) * 2007-07-20 2010-12-16 Olaf Schraa cuff for determining a physiological parameter

Patent Citations (7)

* Cited by examiner, † Cited by third party
Publication number Priority date Publication date Assignee Title
JPS60158803U (ja) * 1984-03-30 1985-10-22 スタンレー電気株式会社 光センサ
JPH05317295A (ja) * 1992-05-26 1993-12-03 Omron Corp 生体組織酸素計測用プローブ
JPH06327658A (ja) * 1993-03-26 1994-11-29 Nippon Koden Corp 酸素飽和度計用プローブ
JP2005505360A (ja) * 2001-10-12 2005-02-24 ネルコアー ピューリタン ベネット インコーポレイテッド 積層接着性光学センサ
JP2004049579A (ja) * 2002-07-19 2004-02-19 World Wide Network:Kk 医療用測定装置
JP2007105316A (ja) * 2005-10-14 2007-04-26 Konica Minolta Sensing Inc 生体情報測定器
JP2007195816A (ja) * 2006-01-27 2007-08-09 Sharp Corp 使い捨て型の光検出器および非侵襲型光学的生体センサ

Cited By (2)

* Cited by examiner, † Cited by third party
Publication number Priority date Publication date Assignee Title
JP2017153533A (ja) * 2016-02-29 2017-09-07 日本光電工業株式会社 パルスフォトメトリ用プローブ
US10765330B2 (en) 2016-02-29 2020-09-08 Nihon Kohden Corporation Probe for pulse photometry

Also Published As

Publication number Publication date
US20090318819A1 (en) 2009-12-24
JP4565418B2 (ja) 2010-10-20
US9808166B2 (en) 2017-11-07

Similar Documents

Publication Publication Date Title
US4911169A (en) Biomedical electrode with limb band
US9642548B2 (en) Electrode pad for use on living organism
US10765335B2 (en) Biomedical electrode
EP0381480A1 (en) Body electrode holder
JP6205176B2 (ja) 湾曲形状センサ
US20090131770A1 (en) Conformable physiological sensor
JP2007044208A (ja) 防水性生体電極
JP2012504000A5 (ja)
JP4519123B2 (ja) 医療センサ
JP4565418B2 (ja) パルスフォトメトリープローブ
CN102078197B (zh) 用于医疗传感器的传感器支架
JP4709672B2 (ja) 心電計用電極
JP2004264207A (ja) X線防護掛布
JP2009106418A (ja) センサ装着用バンド及び生体情報機器
JP5571021B2 (ja) プローブ
JP6148438B2 (ja) 心電図センサーシート
JP2017093808A (ja) 携帯型生体情報測定装置
US20210330222A1 (en) Pulse oximeter
US11647933B2 (en) Biological information detection device
JP2005183133A (ja) 生体情報取得用リード線
JP6244435B2 (ja) 心電図センサーシート
JP4274516B2 (ja) 電子内視鏡の先端部
WO2024004590A1 (ja) 伸縮性デバイス
US20240315406A1 (en) Mobile electronics device
JP5400446B2 (ja) ワニ口クリップカバー

Legal Events

Date Code Title Description
A621 Written request for application examination

Free format text: JAPANESE INTERMEDIATE CODE: A621

Effective date: 20100216

A977 Report on retrieval

Free format text: JAPANESE INTERMEDIATE CODE: A971007

Effective date: 20100622

TRDD Decision of grant or rejection written
A01 Written decision to grant a patent or to grant a registration (utility model)

Free format text: JAPANESE INTERMEDIATE CODE: A01

Effective date: 20100629

A01 Written decision to grant a patent or to grant a registration (utility model)

Free format text: JAPANESE INTERMEDIATE CODE: A01

A61 First payment of annual fees (during grant procedure)

Free format text: JAPANESE INTERMEDIATE CODE: A61

Effective date: 20100723

R150 Certificate of patent or registration of utility model

Free format text: JAPANESE INTERMEDIATE CODE: R150

Ref document number: 4565418

Country of ref document: JP

Free format text: JAPANESE INTERMEDIATE CODE: R150

FPAY Renewal fee payment (event date is renewal date of database)

Free format text: PAYMENT UNTIL: 20130813

Year of fee payment: 3

R250 Receipt of annual fees

Free format text: JAPANESE INTERMEDIATE CODE: R250

R250 Receipt of annual fees

Free format text: JAPANESE INTERMEDIATE CODE: R250

R250 Receipt of annual fees

Free format text: JAPANESE INTERMEDIATE CODE: R250

R250 Receipt of annual fees

Free format text: JAPANESE INTERMEDIATE CODE: R250

R250 Receipt of annual fees

Free format text: JAPANESE INTERMEDIATE CODE: R250