JP2010004706A - 電気配線貫通部の補修方法 - Google Patents

電気配線貫通部の補修方法 Download PDF

Info

Publication number
JP2010004706A
JP2010004706A JP2008163390A JP2008163390A JP2010004706A JP 2010004706 A JP2010004706 A JP 2010004706A JP 2008163390 A JP2008163390 A JP 2008163390A JP 2008163390 A JP2008163390 A JP 2008163390A JP 2010004706 A JP2010004706 A JP 2010004706A
Authority
JP
Japan
Prior art keywords
sleeve
penetration
electrical wiring
attached
flat plate
Prior art date
Legal status (The legal status is an assumption and is not a legal conclusion. Google has not performed a legal analysis and makes no representation as to the accuracy of the status listed.)
Granted
Application number
JP2008163390A
Other languages
English (en)
Other versions
JP5148383B2 (ja
Inventor
Yuji Takiguchi
裕司 瀧口
Hiroyuki Nojima
宏之 野島
Takehiro Mizuno
雄大 水野
Current Assignee (The listed assignees may be inaccurate. Google has not performed a legal analysis and makes no representation or warranty as to the accuracy of the list.)
Toshiba Corp
Original Assignee
Toshiba Corp
Priority date (The priority date is an assumption and is not a legal conclusion. Google has not performed a legal analysis and makes no representation as to the accuracy of the date listed.)
Filing date
Publication date
Application filed by Toshiba Corp filed Critical Toshiba Corp
Priority to JP2008163390A priority Critical patent/JP5148383B2/ja
Publication of JP2010004706A publication Critical patent/JP2010004706A/ja
Application granted granted Critical
Publication of JP5148383B2 publication Critical patent/JP5148383B2/ja
Expired - Fee Related legal-status Critical Current
Anticipated expiration legal-status Critical

Links

Images

Classifications

    • YGENERAL TAGGING OF NEW TECHNOLOGICAL DEVELOPMENTS; GENERAL TAGGING OF CROSS-SECTIONAL TECHNOLOGIES SPANNING OVER SEVERAL SECTIONS OF THE IPC; TECHNICAL SUBJECTS COVERED BY FORMER USPC CROSS-REFERENCE ART COLLECTIONS [XRACs] AND DIGESTS
    • Y02TECHNOLOGIES OR APPLICATIONS FOR MITIGATION OR ADAPTATION AGAINST CLIMATE CHANGE
    • Y02EREDUCTION OF GREENHOUSE GAS [GHG] EMISSIONS, RELATED TO ENERGY GENERATION, TRANSMISSION OR DISTRIBUTION
    • Y02E30/00Energy generation of nuclear origin
    • YGENERAL TAGGING OF NEW TECHNOLOGICAL DEVELOPMENTS; GENERAL TAGGING OF CROSS-SECTIONAL TECHNOLOGIES SPANNING OVER SEVERAL SECTIONS OF THE IPC; TECHNICAL SUBJECTS COVERED BY FORMER USPC CROSS-REFERENCE ART COLLECTIONS [XRACs] AND DIGESTS
    • Y02TECHNOLOGIES OR APPLICATIONS FOR MITIGATION OR ADAPTATION AGAINST CLIMATE CHANGE
    • Y02EREDUCTION OF GREENHOUSE GAS [GHG] EMISSIONS, RELATED TO ENERGY GENERATION, TRANSMISSION OR DISTRIBUTION
    • Y02E30/00Energy generation of nuclear origin
    • Y02E30/30Nuclear fission reactors

Landscapes

  • Installation Of Indoor Wiring (AREA)

Abstract

【課題】貫通スリーブの両端に設けたヘッダーリングあるいはシェルを取り払う必要なく、また部分補修をする必要なく、電気配線貫通部の気密性能の回復を図ることができる電気配線貫通部の補修方法を提供する。
【解決手段】密閉容器を貫通する貫通スリーブ4と、この貫通スリーブ4の両端に取り付けた平板とで形成される内部空間内に電線を貫通させ、平板4の両端をシール材で密閉した電気配線貫通部の気密性が損なわれた場合に、貫通スリーブ4に取り付けた平板4の表面の少なくとも一方を被覆用スリーブ20にて覆うとともに、この被覆用スリーブの端部側を新たな平板6により閉塞することにより、貫通モジュールを気密構造とする。
【選択図】 図1

Description

本発明は、密閉容器を貫通して密閉容器の内外の電線を接続する電気配線貫通部において、気密性保持用の補修を行う電気配線貫通部の補修方法に関する。
一般に、電気配線貫通部の補修方法とは、密閉容器を貫通して電線を導く電気配線貫通部に発生したリークパスを補修し、気密性の回復を行う方法である。
例えば、原子炉格納容器のような密閉容器では、内部のプロセス量を電気的に計測するために、原子炉格納容器を貫通してプロセス出力量を外部に導くようにしている。
図4および図5は、原子炉格納容器における電気配線貫通部の従来構造の一例を示している。図4に示すように、電気配線貫通部1においては、原子炉格納容器2に電線3を挿通するため、原子炉格納容器2の壁を貫通する貫通スリーブ4が設けられている。
貫通スリーブ4の両端位置には、電線3を処理するための端子箱5a,5bがそれぞれ設けられている。また、原子炉格納容器2の内外面に位置する貫通スリーブ4の各端部には、それぞれ蓋状のヘッダーリング6a,6bが溶接によって取り付けられている。そして、貫通スリーブ4の内側端部には電線3を保持するためのシェル7が溶接によって取り付けられている。
貫通スリーブ4の内外端部に取り付けられた各ヘッダーリング6a,6bの内側近傍にはシール材8a,8bがそれぞれ充填されており、シール材8a,8bの中に電線3が貫通している。
このように、電気配線貫通部1は、貫通スリーブ4の両端をシール材8a,8bで充填された部分を電線3が貫通する構造となっており、原子炉格納容器2のバウンダリーを構成している。そして、電気配線貫通部1の気密性能については、シール材8a,8bと電線3との間の気密性が損なわれた否かを、リークモニター口9に取り付けられる図示省略の圧力計等によって監視される。
図5は、図4に示した電気配線貫通部1の各端部におけるシール材8a,8bの構造を詳細に示す拡大断面図である。この図5に示すように、シール材8a,8bは複数枚のシール素材を重合した構成とされており、電線3はこれらのシール材8a,8bの内部に配置された電線端子11を貫通している。この構成により、電線3の内部導体とその周りの絶縁体との空隙部分が主に気体のリーク経路となり、気密性能の劣化を招くことを防止している。
このように構成された電気配線貫通部1の気密性能に、万一の支障が生じた場合には、電気配線貫通部1の全体を新設して取替えることが一般に行われている。
特開昭61−66514号公報
上述したように、電気配線貫通部を新設して取替える電気配線貫通部の補修方法においては、気密性能に万一の支障が生じた場合、新たな電気配線貫通部の設置に十分な準備期間が必要であるため、本格的な改修工事を計画する必要がある。
さらに、機密性能の改善のために部分的に補修する場合には、作業環境が悪く、また経年劣化したケーブルや樹脂との接着性に課題がある。
本発明は上述した課題を解決するためになされたものであり、貫通スリーブの両端に設けたヘッダーリングあるいはシェルを取り払う必要なく、また部分補修をする必要なく、電気配線貫通部の気密性能の回復を図ることができる電気配線貫通部の補修方法を提供することにある。
前記の目的を達成するため、本発明では、密閉容器の内部と外部とを貫通する貫通スリーブと、この貫通スリーブの両端に取り付けた平板とで形成される内部空間内に、電線を貫通させて前記平板の両端をシール材で密閉した電気配線貫通部の気密性が損なわれた場合にその補修を行う電気配線貫通部の補修方法において、前記貫通スリーブに取り付けた前記平板の表面の少なくとも一方を被覆用スリーブにて覆うとともに、この被覆用スリーブの端部側を新たな平板により閉塞することにより、貫通モジュールを気密構造とすることを特徴とする電気配線貫通部の補修方法を提供する。
本発明によれば、ヘッダーリング部分の電線あるいはシール材よりリークが生じたことをリークモニター口にて検知したならば、スリーブからなる新たなバウンダリーを構成することにより気密性の回復を図ることが可能となる。
また、スリーブを取り付けた後にリークモニター口に取り付けた圧力計等でリークを検知した場合、ヘッダープレートに取り付けたモジュールボディーを他のモジュールボディーに置き換えることで迅速かつ容易に気密性の回復を図ることが可能となる。
以下、本発明に係る電気配線貫通部の補修方法の実施形態について、図面を参照して説明する。
[第1実施形態](図1、図2)
図1は、本発明の第1実施形態を示す断面図であり、図2は図1のA部を拡大して示す要部拡大図である。なお、本実施形態では、電気配線貫通部におけるヘッダーリング側のシール材部分でリークが生じた場合を仮定した例について説明する。
図1に示すように、本実施形態の補修方法では、貫通スリーブ4の端部に取り付けられた平板としてのヘッダーリング6の先端にスリーブ20を、たとえば端子箱5の取り付け穴を用いて取り付け、その先端部にモジュール取り付け用のヘッダープレート21を取り付ける。
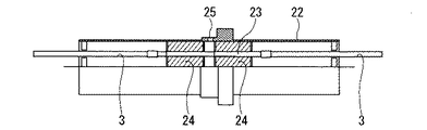
このヘッダープレート21の穴部に、オーリング等のシール機構を用いてモジュールボディー22を取り付ける。
モジュールボディー22の内部は、図2に示すように、電線3の間に導体棒23を接続しこの導体棒23をシール材24でシールし、モジュールボディー22の中央部分に設けたリークモニター室25にてシール材24部から生じるリークを監視するように構成する。
発生するリーク量は、リークモニター室25に圧力計等を接続して検知する構造となっている。
すなわち、本実施形態においては、密閉容器の内部と外部とを貫通する貫通スリーブと、この貫通スリーブの両端に取り付けた平板とで形成される内部空間内に、電線を貫通させ、平板の両端をシール材で密閉した電気配線貫通部の気密性が損なわれた場合にその補修を行う電気配線貫通部の補修方法おいて、貫通スリーブに取り付けた平板の表面の少なくとも一方を被覆用スリーブにて覆うとともに、この被覆用スリーブの端部側を新たな平板により閉塞することにより、貫通モジュールを気密構造とする。
このような本実施形態の方法によれば、ヘッダーリング6部分の電線3あるいはシール材8よりリークが生じたことがリークモニター口9にて検知されたならば、スリーブ20からなる新たなバウンダリーが構成されることにより、気密性の回復を図ることが可能となる。
さらに、スリーブ20を取り付けた後に、リークモニター口9に取り付けた圧力計等でリークを検知した場合には、ヘッダープレート21に取り付けたモジュールボディー22を他のモジュールボディー22に置き換えることにより、迅速かつ容易に気密性の回復を図ることが可能となる。
なお、本発明においては、貫通スリーブ4の端部に取り付けられたヘッダーリング6にスリーブ20を溶接にて取り付けるようにし、ヘッダーリング6とスリーブ20との接続部から生じ得るリークをより確実に防止するように構成してもよい。
また、本発明においては、モジュールボディー22の気密性を確保する手段としてシール24を用いる代わりに、セラミックコネクタ等を用いて構成してもよい。
[第2実施形態](図3)
図3は、本発明の第2実施形態を示す断面図である。
本実施形態においても、貫通スリーブ4の端部に取り付けられたヘッダーリング6の先端にスリーブ20を、たとえば端子箱5の取り付け穴を利用して取り付け、その先端部にモジュール取り付け用のヘッダープレート21を取り付けている。
本実施形態においては、ヘッダーリング6側のシール材8の部分でリークが生じたと仮定した場合の例を示しており、貫通スリーブ4の片端部に取り付けられたヘッダーリング6の先端にスリーブ27を、たとえば端子箱5の取り付け穴を利用して取り付け、ヘッダーリング6と同様の構造を有するヘッダープレート28に電線端子30を用いて電線3と新たに設置される接続電線29を接続する。
この電線端子30の両端をシール材31にて充填することによりリークの発生を防止する。
このような方法によれば、リークが生じたシール部と同様の構造体を用いることにより、モジュールボディー22等の追加部品を用いることなく容易に気密性を回復させることが可能となる。
なお、各実施形態では、原子炉格納容器の外側にてリークが発生した場合について説明したが、内側のシェル7のシール材8にてリークが発生した場合も同様の手法にてリーク防止及び気密性能の回復を図ることができる。
以上の各実施形態において説明したように、本発明の電気配線貫通部の補修方法によれば、被覆用スリーブ内部で電線を固定具により接続し、その後に被覆用スリーブ内部をシール材にて密封することにより、密閉容器である原子炉格納容器の電気配線貫通部に、万一シール性能の劣化による気密性の低下が生じた場合でも早急かつ容易に当該電線の補修を行うことが可能となる。更に大掛かりな電気配線貫通部の取替え工事を行うことなく確実にリークを止めることが可能となる効果がある。
本発明の第1実施形態による電気配線貫通部の補修方法を適用する電気配線貫通部の断面図。 本発明の第1実施形態による電気配線貫通部の補修方法を説明する電気配線貫通部のモジュール構造の断面図。 本発明の第2実施形態による電気配線貫通部の補修方法を説明する電気配線貫通部の断面図。 原子炉格納容器の電気配線貫通部を示す断面図。 原子炉格納容器の電気配線貫通部を示す部分断面図。
符号の説明
1 電気配線貫通部
2 原子炉格納容器
3 電線
4 貫通スリーブ
6 ヘッダーリング
7 シェル
8 シール材
9 リークモニター口
10 貫通電線
20 電線端子
20 スリーブ
21 ヘッダープレート
22 モジュールボディー
23 導体棒
27 スリーブ
28 ヘッダープレート
29 接続電線
30 電線端子
31 シール材

Claims (4)

  1. 密閉容器の内部と外部とを貫通する貫通スリーブと、この貫通スリーブの両端に取り付けた平板とで形成される内部空間内に、電線を貫通させて前記平板の両端をシール材で密閉した電気配線貫通部の気密性が損なわれた場合にその補修を行う電気配線貫通部の補修方法において、前記貫通スリーブに取り付けた前記平板の表面の少なくとも一方を被覆用スリーブにて覆うとともに、この被覆用スリーブの端部側を新たな平板により閉塞することにより、貫通モジュールを気密構造とすることを特徴とする電気配線貫通部の補修方法。
  2. 前記被覆用スリーブ内部で前記電線を固定具により接続し、その後に前記被覆用スリーブ内部をシール材にて密封する請求項1記載の電気配線貫通部の補修方法。
  3. 前記貫通モジュールの気密性を確保する手段としてシールまたはセラミックコネクタを適用する請求項1または2記載の電気配線貫通部の補修方法。
  4. 前記貫通スリーブの端部に取り付けられたヘッダーリングに、スリーブを端子箱に取り付け、その先端部に前記貫通モジュールの取り付け用のヘッダープレートを取り付ける請求項1ないし3のいずれかに記載の電気配線貫通部の補修方法。
JP2008163390A 2008-06-23 2008-06-23 電気配線貫通部の補修方法 Expired - Fee Related JP5148383B2 (ja)

Priority Applications (1)

Application Number Priority Date Filing Date Title
JP2008163390A JP5148383B2 (ja) 2008-06-23 2008-06-23 電気配線貫通部の補修方法

Applications Claiming Priority (1)

Application Number Priority Date Filing Date Title
JP2008163390A JP5148383B2 (ja) 2008-06-23 2008-06-23 電気配線貫通部の補修方法

Publications (2)

Publication Number Publication Date
JP2010004706A true JP2010004706A (ja) 2010-01-07
JP5148383B2 JP5148383B2 (ja) 2013-02-20

Family

ID=41585927

Family Applications (1)

Application Number Title Priority Date Filing Date
JP2008163390A Expired - Fee Related JP5148383B2 (ja) 2008-06-23 2008-06-23 電気配線貫通部の補修方法

Country Status (1)

Country Link
JP (1) JP5148383B2 (ja)

Cited By (1)

* Cited by examiner, † Cited by third party
Publication number Priority date Publication date Assignee Title
JP2020148585A (ja) * 2019-03-13 2020-09-17 株式会社東芝 電気配線貫通装置および電気配線貫通モジュール

Citations (4)

* Cited by examiner, † Cited by third party
Publication number Priority date Publication date Assignee Title
JPS61273115A (ja) * 1985-05-27 1986-12-03 株式会社日立製作所 原子炉格納施設のケ−ブル貫通部
JPH0694561A (ja) * 1992-09-11 1994-04-05 Matsushita Electric Ind Co Ltd 圧電型圧力センサ
JPH11153688A (ja) * 1997-11-25 1999-06-08 Toshiba Corp 原子炉格納容器電線貫通装置
JP2002131463A (ja) * 2000-10-24 2002-05-09 Toshiba Corp 電気配線貫通部の補修方法

Patent Citations (4)

* Cited by examiner, † Cited by third party
Publication number Priority date Publication date Assignee Title
JPS61273115A (ja) * 1985-05-27 1986-12-03 株式会社日立製作所 原子炉格納施設のケ−ブル貫通部
JPH0694561A (ja) * 1992-09-11 1994-04-05 Matsushita Electric Ind Co Ltd 圧電型圧力センサ
JPH11153688A (ja) * 1997-11-25 1999-06-08 Toshiba Corp 原子炉格納容器電線貫通装置
JP2002131463A (ja) * 2000-10-24 2002-05-09 Toshiba Corp 電気配線貫通部の補修方法

Cited By (1)

* Cited by examiner, † Cited by third party
Publication number Priority date Publication date Assignee Title
JP2020148585A (ja) * 2019-03-13 2020-09-17 株式会社東芝 電気配線貫通装置および電気配線貫通モジュール

Also Published As

Publication number Publication date
JP5148383B2 (ja) 2013-02-20

Similar Documents

Publication Publication Date Title
US9601240B2 (en) High-voltage insulator
CN107851467A (zh) 用于核反应堆容器的电气贯穿组件
EP3887788A1 (en) Seal assembly and method of testing
EP2895702B1 (en) Hard lead egress adapter for an instrumentation component
JP5148383B2 (ja) 電気配線貫通部の補修方法
KR101691469B1 (ko) 기밀 방식으로 하우징 벽을 통해 도체를 유도하기 위한 장치
US9933580B2 (en) Optical fiber penetration
EP4056977A2 (en) System and method for carrying out leakage tests
JPWO2006097972A1 (ja) 海底中継装置のフィードスルー及び海底中継装置
JP2014048229A (ja) 高圧用電気配線貫通部
EP2390698B1 (en) Sealed optoelectronic isolation connection device and sealed cabin
JP2010060430A (ja) 原子炉格納容器電気配線貫通部のケーブルモジュール
RU2022383C1 (ru) Герметичный ввод
CN209545079U (zh) 电缆连接组件及其电缆固定头
JP2012115096A (ja) 絶縁ガスの封止方法
JP2002131463A (ja) 電気配線貫通部の補修方法
TWM593094U (zh) 電纜接頭
KR20210056353A (ko) 파티션, 특히 내수성 전기 커넥터의 케이블 글랜드 피드-스루에 대한 기밀성 테스트 시스템
KR101723050B1 (ko) 와이어링 하네스의 조인트부 기밀 구조 및 방법
KR101035202B1 (ko) 케이블 절연체의 내구성 시험용 밀봉장치
JP7178318B2 (ja) 電気配線用貫通部構造
JP2014007888A (ja) 高圧用電気配線貫通部及びその設置方法並びに高圧用電気配線貫通構造
CN112421558B (zh) 电力电缆中间接头防护装置
KR20180022372A (ko) 제네레이터 밀폐 시스템
JP2001008336A (ja) 高放射線環境セル内の配線構造

Legal Events

Date Code Title Description
RD04 Notification of resignation of power of attorney

Free format text: JAPANESE INTERMEDIATE CODE: A7424

Effective date: 20100424

A621 Written request for application examination

Free format text: JAPANESE INTERMEDIATE CODE: A621

Effective date: 20101214

RD01 Notification of change of attorney

Free format text: JAPANESE INTERMEDIATE CODE: A7421

Effective date: 20111217

A977 Report on retrieval

Free format text: JAPANESE INTERMEDIATE CODE: A971007

Effective date: 20120531

A131 Notification of reasons for refusal

Free format text: JAPANESE INTERMEDIATE CODE: A131

Effective date: 20120807

A521 Request for written amendment filed

Free format text: JAPANESE INTERMEDIATE CODE: A523

Effective date: 20121003

TRDD Decision of grant or rejection written
A01 Written decision to grant a patent or to grant a registration (utility model)

Free format text: JAPANESE INTERMEDIATE CODE: A01

Effective date: 20121030

A61 First payment of annual fees (during grant procedure)

Free format text: JAPANESE INTERMEDIATE CODE: A61

Effective date: 20121128

R151 Written notification of patent or utility model registration

Ref document number: 5148383

Country of ref document: JP

Free format text: JAPANESE INTERMEDIATE CODE: R151

FPAY Renewal fee payment (event date is renewal date of database)

Free format text: PAYMENT UNTIL: 20151207

Year of fee payment: 3

LAPS Cancellation because of no payment of annual fees