JP2010004644A - 単相誘導電動機のエアギャップ偏心検査装置、エアギャップ偏心検査方法、及びエアギャップ偏心調整方法、並びにこれらを用いて製造される単相誘導電動機 - Google Patents

単相誘導電動機のエアギャップ偏心検査装置、エアギャップ偏心検査方法、及びエアギャップ偏心調整方法、並びにこれらを用いて製造される単相誘導電動機 Download PDF

Info

Publication number
JP2010004644A
JP2010004644A JP2008160600A JP2008160600A JP2010004644A JP 2010004644 A JP2010004644 A JP 2010004644A JP 2008160600 A JP2008160600 A JP 2008160600A JP 2008160600 A JP2008160600 A JP 2008160600A JP 2010004644 A JP2010004644 A JP 2010004644A
Authority
JP
Japan
Prior art keywords
air gap
rotor
phase induction
induction motor
winding
Prior art date
Legal status (The legal status is an assumption and is not a legal conclusion. Google has not performed a legal analysis and makes no representation as to the accuracy of the status listed.)
Granted
Application number
JP2008160600A
Other languages
English (en)
Other versions
JP5100528B2 (ja
Inventor
Hisafumi Naemura
尚史 苗村
Shinobu Kokubu
忍 國分
Current Assignee (The listed assignees may be inaccurate. Google has not performed a legal analysis and makes no representation or warranty as to the accuracy of the list.)
Mitsubishi Electric Corp
Original Assignee
Mitsubishi Electric Corp
Priority date (The priority date is an assumption and is not a legal conclusion. Google has not performed a legal analysis and makes no representation as to the accuracy of the date listed.)
Filing date
Publication date
Application filed by Mitsubishi Electric Corp filed Critical Mitsubishi Electric Corp
Priority to JP2008160600A priority Critical patent/JP5100528B2/ja
Priority to CN2008101821895A priority patent/CN101608911B/zh
Publication of JP2010004644A publication Critical patent/JP2010004644A/ja
Application granted granted Critical
Publication of JP5100528B2 publication Critical patent/JP5100528B2/ja
Expired - Fee Related legal-status Critical Current
Anticipated expiration legal-status Critical

Links

Images

Landscapes

  • Manufacture Of Motors, Generators (AREA)
  • Connection Of Motors, Electrical Generators, Mechanical Devices, And The Like (AREA)

Abstract

【課題】エアギャップの偏心状態(偏心量及び方向)を精度よく測定することができるとともに、得られた偏心計測結果より、エアギャップの良否判定を確実に行い、更にエアギャップ偏心状態のデータを基にエアギャップを調整することができる単相誘導電動機のエアギャップ偏心検査装置及びエアギャップ偏心検査方法並びにエアギャップ調整方法を提供する。
【解決手段】単相誘導電動機に通電した際の電流を計測することでロータの回転数を計算し、計算したロータの回転数と通電時に計測した振動波形と電流波形から電動機のエアギャップ偏心状態を精度よく推定し、推定したエアギャップ偏心状態の情報に基づいてエアギャップ偏心状態を調整するようにした。
【選択図】図9

Description

この発明は、ロータ回転中のエアギャップ偏心量及び偏心方向を測定することにより、正確にエアギャップの良否判定を行うことができる単相誘導電動機のエアギャップ偏心検査装置、エアギャップ偏心検査方法及びエアギャップ偏心調整方法、並びにこれらを用いて製造される単相誘導電動機に関するものである。
従来、単相誘導電動機のエアギャップ偏心状態を計測するものとして、単相誘導電動機に通電し、ロータが回転している状態において発生する振動を計測し、これにより単相誘導電動機のエアギャップの偏心状態を推定するものが提案されている。
例えば、主巻線または補助巻線に流れる交流電流を調整し、その交流電流の周期より小さい回転周期にてロータが回転することのできる駆動回路を構成し、エアギャップに誘起される磁束が一方に比べて大なる巻線の巻線方向と垂直方向に振動検出センサを装着し、回転駆動中に得られた振動の振動波形の振幅あるいは形状を計測することにより、ロータの位相により変化する上記エアギャップの偏心状態を計算するものがある。(例えば、特許文献1を参照)
特開2007−37323号公報
このような従来のエアギャップ偏心状態の計測方法においては、ロータの回転速度を調べる機能を持たないため、異なる機種について条件パラメータを設定する際に電動機へ通電する電圧と回転数の関係を逐一、光センサなどを用いて調べる必要があり、手数を要するという問題があった。さらには、同じ機種でも電動機ごとにロータの回転数にばらつきが生じるが、回転数のばらつきを認知することができないため、回転数のばらつきに起因する振動のばらつきによってエアギャップ偏心量の推定精度が低下するという問題があった。
この発明は、上記のような問題点を解決するためになされたものであり、エアギャップの偏心状態(偏心量及び方向)を精度よく測定することができるとともに、得られた偏心計測結果より、エアギャップの良否判定を確実に行い、更にエアギャップ偏心状態のデータを基にエアギャップを調整することができる単相誘導電動機のエアギャップ偏心検査装置及びエアギャップ偏心検査方法並びにエアギャップ調整方法を提供することを目的とする。
上記課題を解決するために、本発明に係る単相誘導電動機のエアギャップ偏心検査装置は、主軸と共に回転するロータと、主巻線と補助巻線とを備え上記ロータとの間でエアギャップを有するように配置されたステータとからなる単相誘導電動機において、上記電動機に交流電圧を印加する手段と、上記電動機に流れる電流の電流波形を計測する電流計測手段と、上記電動機に上記交流電圧を印加した際に、上記ロータに発生する不平衡磁気吸引力が最大となる方向の単相誘導電動機の振動波形を計測する振動計測手段と、上記電流計測手段によって計測された結果から上記ロータの回転数を計算し、上記計算したロータの回転数と上記計測した電流波形と振動波形から上記エアギャップの偏心状態を推定し、上記推定したエアギャップの偏心状態に基づいて上記エアギャップの良否を判定する判定手段とを設けたことを特徴とする。
また本発明に係る単相誘導電動機のエアギャップ偏心検査方法は、主軸と共に回転するロータと、主巻線と補助巻線とを備えロータとの間でエアギャップを有するように配置されたステータとからなる単相誘導電動機であって、主巻線または補助巻線のどちらか一方の巻線に交流電圧を印加して巻線に流れる電流波形を計測する工程と、回路を切り替えて主巻線及び補助巻線の両方の巻線に交流電圧を印加して巻線に流れる電流波形を計測するとともに、ロータに発生する不平衡磁気吸引力が最大となる方向の電動機の振動の振動波形を計測する工程と、計測した電流波形からロータの回転数を計算する工程と、計算したロータの回転数と計測した電流波形と振動波形とからエアギャップの偏心量と偏心方向を計算する工程と、計算したエアギャップの偏心量及び偏心方向に基づいてエアギャップの良否を判定する工程とを有することを特徴とする。
更に、本発明に係る単相誘導電動機のエアギャップ偏心調整方法は、主軸と共に回転するロータと、主巻線と補助巻線とを備えロータとの間でエアギャップを有するように配置されたステータとからなる単相誘導電動機であって、主巻線または補助巻線のどちらか一方の巻線に交流電圧を印加して巻線に流れる電流波形を計測する工程と、回路を切り替えて主巻線及び補助巻線の両方の巻線に交流電圧を印加して巻線に流れる電流波形を計測するとともに、ロータに発生する不平衡磁気吸引力が最大となる方向の電動機の振動の振動波形を計測する工程と、計測した電流波形からロータの回転数を計算する工程と、計算したロータの回転数と計測した電流波形と振動波形とからエアギャップの偏心量と偏心方向を計算する工程と、計算したエアギャップの偏心量及び偏心方向に基づいてエアギャップの良否を判定する工程と、この判定結果に基づいてステータが固定されたシェルを変形させることによりエアギャップを調整する工程とを有することを特徴とする。
この発明によれば、電動機の巻線に流れる電流波形からロータの回転数を計算し、計算したロータの回転数と計測した電流波形と振動波形からエアギャップの偏心状態を計算することにより、様々な機種の電動機であっても共通パラメータを用いて計測条件を簡易に設定できる。さらには、振動計測時のロータの回転数のばらつきによる影響を低減することにより、精度よくエアギャップの偏心状態を推定することができるという効果がある。
実施の形態1.
本発明に基づく単相誘導電動機のエアギャップ偏心検査装置、及びエアギャップ偏心検査方法について図を参照して詳細に説明する。
図1に本発明を適用する単相誘導電動機の製品例として単相誘導電動機を内在する冷凍・空調機用のロータリ圧縮機100の縦方向断面図を示す。図2は図1の矢視Aから見た横方向断面図である。
単相誘導電動機は主にロータ102とステータ103から構成される。ロータ102とステータ103の間の円筒状の空間は、エアギャップ101として示される。ステータ103は圧力容器であるシェル104に焼嵌め固定されている。ロータ102は主軸105と焼嵌めにより一体に固定されている。主軸105はフレーム106、シリンダヘッド107内に内在するすべり軸受(図示されていない)において支持されている。フレーム106、シリンダヘッド107はシリンダ108にボルト(図示されていない)にて固定されており、シリンダ108はシェル104に3つの溶接点109(図1にて1点のみ図示している)にて溶接固定されている。
ステータ103の巻線は主巻線110と補助巻線111と呼ばれる2種類の巻線から構成されている。ステータ103は圧縮機外部の交流電源(図示されていない)から、シェル104に溶接固定された端子112を通して電力を供給される。シェル104には圧縮前の気体の吸入口であるマフラ114及び圧縮した気体を外部へ排出する吐出パイプ113がろう付けにより固定されており、圧縮前の気体はマフラ114より吸入され、シリンダ108内にて圧縮され、フレーム106からシェル104内に吐出された後、吐出パイプ113を通ってロータリ圧縮機100の外に吐出される。
図3は単相誘導電動機を内在する冷凍・空調機用圧縮機を被計測体としたエアギャップ偏心検査装置の概略図である。図4は、図3の矢視Bから見た横方向断面図である。
接続端子120をロータリ圧縮機100の端子112に接続することで、ロータリ圧縮機100内の単相誘導電動機に外部電源(図示しない)から交流電圧を印加することができる。主巻線110に通電する導線に電流計121aが取り付けられており、補助巻線111に通電する導線に電流計121bが取り付けられている。
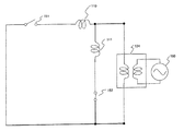
電動機に通電する回路はスイッチ(図示しない)により自動で切り替え可能である。図5乃至図8は通電回路の例を示している。図5は主巻線110と補助巻線111の両方に通電する(以下では回転通電と称す)回路図であり、回路内には主巻線スイッチ144と補助巻線スイッチ145とを備える。主巻線スイッチ144が接点B143側に接地され、補助巻線スイッチ145が接点C146側に接地されることで補助巻線111に補助巻線抵抗器148と補助巻線コンデンサ149を接続することにより、主巻線110によって誘起される磁束が補助巻線111によって誘起される磁束より大きくなり、ロータ102は回転する(以下ではこのような回転を正回転と称し、正回転となる通電状態を正回転通電と称す)。
また図6は図5と同様の回路図であり、主巻線スイッチ144が接点A142側に接地され、
補助巻線スイッチ145が接点D147側に接地されることで主巻線110に主巻線抵抗器141と主巻線コンデンサ140を接続することにより、補助巻線111によって誘起される磁束が主巻線110によって誘起される磁束よりも大きくなり、ロータ102は正回転と逆方向に回転する(以下ではこのような回転を逆回転と称し、逆回転となる通電状態を逆回転通電と称す)。
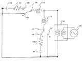
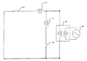
図7は主巻線と補助巻線のどちらか一方に通電する(以下ではロック通電と称す)回路図であり、回路内には主巻線通電スイッチ151と補助巻線通電スイッチ152とを備える。主巻線通電スイッチ151が接地され、補助巻線通電スイッチ152が接地されない場合、主巻線110にのみ交流電圧が印加され、ロータ102はロック状態で不平衡磁気吸引力が働く(以下ではこのような通電状態を主ロック通電と称す)。
また図8は図7と同様の回路図であり、主巻線スイッチ151が接地されず、補助巻線ス
イッチ152が接地されることで、補助巻線111にのみ交流電圧が印加され、ロータ102はロック状態で不平衡磁気吸引力が働く(以下ではこのような通電状態を補助ロック通電と称す)。上記電流計121aと121bは正回転通電、逆回転通電、主ロック通電、補助ロック通電の4種類の通電状態について、それぞれ主巻線と補助巻線に流れる電流の電流波形を計測する。
電動機に通電した際に発生する振動を加速度ピックアップ122で計測する。加速度ピッ
クアップ122は2つあり、図4のように加速度ピックアップ122aにより主巻線110により誘起される磁束と垂直方向(以下、補助巻線方向と称す)に生ずる振動を計測し、また122bにより補助巻線により誘起される磁束と垂直方向(以下、主巻線方向と記す)に生ずる振動を計測する。加速度ピックアップ122は、加速度ピックアップシリンダ123(図3参照)により、ロータリ圧縮機100の半径方向に移動可能であり、振動計測時にはピックアップ除振材124を介してロータリ圧縮機100に押し付けられ、通電した際に生じる振動を測定する。
加速度ピックアップ122をロータリ圧縮機100に押し付けたときにロータリ圧縮機100が横転しないように、クランプ爪125によってロータリ圧縮機100を固定する。クランプ爪125はクランプ除振材126を介してクランプシリンダ127の推力により、ロータリ圧縮機100を横方向から把持することができる。ロータリ圧縮機100はワーク除振材128の上に配置されている。計測ユニットベース板129の下には防振材130が配置されており、計測部に外部からの振動が伝播することを防止している。
計測した振動の電気信号はアンプ131によって増幅される。計測された電流の電気信号
と増幅された振動の信号はA/Dボード(図示しない)によってコンピュータ132内に記録される。コンピュータ132は回転通電時の電流値とロック通電時の電流値の差からロータの回転数を計算するとともに、記録した電流波形と振動波形と計算したロータの回転数に基づきエアギャップ偏心方向とエアギャップ偏心量を計算し、計算された結果はコンピュータの表示器133によって表示される。電圧調整器134によって主巻線110と補助巻線111に通電する交流電圧を調整することができる。また抵抗器135、及びコンデンサ136によって電動機に流れる交流電流の大きさを調整する。上記の電気機器類は架台137によって固定される。
次に、エアギャップ偏心状態の検査方法を図9のフローチャートを用いて説明する。本フローチャートのステップは1〜33であり、以後ステップをSTと表記する。
ST1:ロータリ圧縮機100をワーク除振材128の上に設置する。
ST2:クランプ爪125をクランプシリンダ127によって前進させ、ロータリ圧縮機100を固定する。
ST3:接続端子120を端子112に接続する。
ST4:加速度ピックアップ122を加速度ピックアップシリンダ123によって前進させ、ロータリ圧縮機100に押し付ける。
ST5:正回転通電状態となるように回路を切り替える。具体的には下記ST5-1〜ST5-3による。
ST5-1:図5に示す単相誘導電動機の駆動回路において、主巻線スイッチ144の接続先を接点B143側とする。
ST5-2:図5に示す単相誘導電動機の駆動回路において、補助巻線スイッチ145の接続先を接点C146側とし、補助巻線111に直列に補助巻線抵抗器148と補助巻線コンデンサ149を接続する。これにより主巻線110に流れる電流を大、補助巻線111に流れる電流を小となるように個々の巻線に流れる電流を調整し、通電時に生じる主巻線110により誘起されるエアギャップの磁束の大きさを補助巻線111により誘起される磁束の大きさより大きくする。
ST5-3:交流電源の電圧を電圧調整器134により特定の電圧に調整する。
ST6:ワークに交流電圧を印加し、主巻線110に流れる電流と補助巻線方向の振動の計測を開始する。
ST7:主巻線110に流れる電流波形を電流計121aにより計測する。また補助巻線方向の振動波形を加速度ピックアップ122aにより計測する。
ST8:所定の計測時間が経過したら計測を終了し、同時に通電も終了する。
ST9:計測した電流波形をA/Dボード(図示しない)を通じてコンピュータ132に取り込み、記録する。また計測した振動波形をアンプ131によって増幅し、A/Dボード(図示しない)を通じてコンピュータ132に取り込み、記録する。
ST10:主ロック通電状態となるように回路を切り替える。図7に示す単相誘導電動機の駆動回路において、主巻線通電スイッチ151を接地し、補助巻線152を接地しない状態とする。
ST11:ワークに交流電圧を印加し、主巻線110に流れる電流の電流波形を電流計121aによ
り計測を開始する。
ST12:主巻線110に流れる電流の電流波形を電流計121aにより計測する。
ST13:所定の計測時間が経過したら計測を終了し、同時に通電を終了する。
ST14:計測した電流波形をA/Dボード(図示しない)を通じてコンピュータ132に取り込み、記録する。
ST15:正回転通電時に計測した電流波形と主ロック通電時に計測した電流波形から、それぞれの実効値をコンピュータ132により計算する。また、後述する方法により電流の実効値の差からロータの回転数を計算する。
ST16:正回転通電時に計測した電流波形と補助巻線方向の振動波形と上記計算したロータの回転数より、補助巻線方向のエアギャップの偏心方向と偏心量をコンピュータ132によ
り計算する。
以上は主巻線磁束が大となる設定の検査フローであり、以下に補助巻線磁束が大となる設定の検査フローを示す。
ST17:逆回転通電状態となるように回路を切り替える。具体的には下記ST17-1〜ST17-3による。
ST17-1:図6に示す単相誘導電動機の駆動回路において、主巻線スイッチ144の接続先を
接点A142側とし、主巻線110に直列に主巻線抵抗器141と主巻線コンデンサ140を接続する。
ST17-2:図6に示す単相誘導電動機の駆動回路において、補助巻線スイッチ145の接続先
を接点D147側とする。これにより主巻線110に流れる電流を小、補助巻線111に流れる電流を大となるように個々の巻線に流れる電流を調整し、通電時に生じる補助巻線111により誘起される磁束の大きさを主巻線110により誘起される磁束の大きさより大きくする。
ST17-3:交流電源の電圧を電圧調整器134により特定の電圧に調整する。
ST18:ワークに交流電圧を印加し、補助巻線111に流れる電流と主巻線方向の振動の計測
を開始する。
ST19:補助巻線111に流れる電流波形を電流計121bにより計測する。また主巻線方向の振
動波形を加速度ピックアップ122bにより計測する。
ST20:所定の計測時間が経過したら計測を終了し、同時に通電も終了する。
ST21:計測した電流波形をA/Dボード(図示しない)を通じてコンピュータ132に取り込み、記録する。また計測した振動波形をアンプ131によって増幅し、A/Dボード(図示しない)を通じてコンピュータ132に取り込み、記録する。
ST22:補助ロック通電状態となるように回路を切り替える。図8に示す単相誘導電動機の駆動回路において、主巻線通電スイッチ151を接地せず、補助巻線152を接地する状態とする。
ST23:ワークに交流電圧を印加し、補助巻線111に流れる電流の電流波形を電流計121bにより開始する。
ST24:補助巻線111に流れる電流の電流波形を電流計121bにより計測を計測する。
ST25:所定の計測時間が経過したら計測を終了し、同時に通電を終了する。
ST26:計測した電流波形をA/Dボード(図示しない)を通じてコンピュータ132に取り込み、記録する。
ST27:逆回転通電時に計測した電流波形と補助ロック通電時に計測した電流波形から、それぞれの実効値をコンピュータ132により計算する。また、後述する方法により電流の実効値の差からロータの回転数を計算する。
ST28:逆回転通電時に計測した電流波形と補助巻線方向の振動波形と上記計算したロータの回転数より、主巻線方向のエアギャップの偏心方向と偏心量をコンピュータ132により
計算する。
ST29:ST16の結果から推定した補助巻線方向のエアギャップ偏心状態と、ST28の結果から推定した主巻線方向のエアギャップ偏心状態から、エアギャップ101の良否の判定を行い
、その結果をコンピュータの表示器133に表示する。
ST30:加速度ピックアップ122を加速度ピックアップシリンダ123によって後退させる。
ST31:接続端子120を端子112から取外す。
ST32:クランプ爪120をクランプシリンダ127によって後退させる。
ST33:ロータリ圧縮機100をワーク徐振材128の上から取り除く。
ここで、図9のフローチャートのST5-2において接続される補助巻線抵抗器148の大きさ及び補助巻線コンデンサ149の容量、ST5-3において調整される電圧の大きさ、ST17-1において接続される主巻線抵抗器141の大きさ及び主巻線コンデンサ140の容量、ST17-3において調整される電圧の大きさは、各巻線に流れる交流電流の周期の2/3以下のゆっくりとした回転周期にてロータ102が回転するように調整された値であり、様々な値の組み合わせが存在する。ゆっくりとロータを回転させながら振動計測を行うことで、振動波形に現れるノイズの影響を低減することができ、計測精度を向上させることができる。
なお、ここでそれぞれの巻線によりエアギャップに誘起される磁束を調整する手段として、電圧調整器、コンデンサ、抵抗器を用いたが、巻線の電流を調整する電流調整器を用いてもよい。
次に、回転通電時とロック通電時に巻線に流れる電流の実効値の差からロータの回転数を計算する方法を説明する。単相誘導電動機のロータの回転数はトルクと負荷のバランスによって決まる。単相誘導電動機に交流電圧を印加した場合、回転通電時であれば例えば印加する電圧の変動、負荷の変動、電動機の温度ばらつきやステータやロータの組立ばらつきなどの様々な要因により巻線に流れる電流の実効値はばらつく。一方、ロック通電時であればロータは回転しないため、巻線に流れる電流の実効値のばらつきに負荷の影響は含まれない。そこで、回転通電とロック通電を続けて行い、それぞれの場合に巻線に流れる電流の実効値を計算し、その差をとることで、電動機に印加する電圧の変動や電動機の温度ばらつきやステータやロータの組立ばらつきなどの要因を除き、負荷について調べることができる。
図10に、異なる3機種について、ロータの回転数と回転通電時とロック通電時の巻線に流れる電流の実効値の差(以下では電流差と記す)の関係を示している。横軸がロータの回転数で、縦軸が電流差である。一般に機種によって関係式は異なるが、ロータがゆっくり回転する場合においては回転数と電流差の関係が機種によらずほぼ同じであるため、ロータがゆっくりと回転するように制御する場合には機種によらず共通のパラメータを用いることができる。このように、この発明は主巻線のみに通電した場合の電流と主巻線及び補助巻線に通電した場合の電流との差が、ある回転数の範囲では機種や個体差によらず回転数と一定の関係を持つ事実を見出したことに基づいており、その結果、多数の機種に容易に展開することができると共に、開発期間の短縮にも大いに寄与するものである。
次に計測した電流波形と振動波形と計算したロータの回転数からエアギャップの偏心量と偏心方向を推定する方法を説明する。事前にエアギャップの偏心量と偏心方向の分っている電動機のサンプルを複数用意して確認実験を行い、各種パラメータを設定する。すなわちロータリ圧縮機を溶接によって密閉する前の段階でエアギャップの偏心状態をゲージ等によって測定し、また所定の交流電圧を印加した場合の振動の大きさを計測し、振動の大きさとエアギャップ偏心量の相関関係からパラメータを設定する。
エアギャップの偏心量と計測した振動の大きさは線形の相関関係にあるため、振動の大きさに上記設定したパラメータをかけることでエアギャップの偏心量を計算できる。振動の大きさを振動波形のRMS振幅により求める。また振動波形の正方向の振動と負方向の振
動のうち振動の絶対値の大きい方向の振動の絶対値の平均値により求めても良い。更には正方向の振動の強さの絶対値の平均値と負方向の振動の強さの絶対値の平均値との間の平均値により求めても良い。
また振動の大きさはロータの回転数と相関関係にあり、かつロータの回転数と電流差は相関関係にあるため、電流差と振動の大きさは相関関係がある。図11に同じ機種のエアギャップの偏心量が同程度の2つの異なる電動機(No.1とNo.2)について、正回転通電を行った場合の電流差と振動の大きさを示す。横軸が電流差で、縦軸が振動の大きさである。電流差と振動の大きさの間にほぼ線形の関係が見られ、電流差の絶対値が大きくなるにつれて、振動の大きさが大きくなるといえる。
なお、図11の左上付近にNo.1の点が複数あるが、これは回転通電状態であっても起動トルクが不十分でロータが回転しなかった場合の点で、このような場合は振動の大きさのばらつきが大きい。これらのことから、あらかじめ目標電流差を決めておき、計測時の電流差と目標電流差の差から振動の大きさの補正を行うことで、計測精度を高めることができる。
一方、エアギャップの偏心方向を推定する方法は、振動波形から推定する方法と振動波形と電流波形の位相差から求める方法がある。振動波形から推定する方法としては、例えば主巻線110と垂直方向にエアギャップ101の不平衡がある場合、主巻線110に電流が流れ磁束が誘起されると磁束と直交する方向に不平衡磁気吸引力が働き、ロータ102はエアギャップの狭い方へ移動する。例えば単相2極誘導電動機に交流電圧が印加された場合、電流の絶対値の増加に伴い磁束が大きくなり、不平衡磁気吸引力も増加する。
このように不平衡磁気吸引力は、エアギャップの狭い方向に常に0以上の力が働くため、振動波形の+側の振動の大きさと−側の振動の大きさを比較することで、エアギャップの偏心方向を推定することができる。また振動波形と電流波形の位相差から求める方法としては、電流の絶対値が最大となると(すなわち電流波形が極値となると)、不平衡磁気吸引力も最大となるため、振動波形も電流波形の極値から位相の遅れをもってエアギャップの偏心方向に応じて極大値もしくは極小値をとる。そのため電流波形が極値をとる時刻と振動波形が極大値または極小値をとる時刻をそれぞれ計算し、その差をそれぞれ求めることでエアギャップの偏心方向を推定することができる。
主巻線110に電流を通電した際に誘起される磁束に垂直方向と、補助巻線111に電流を通電した際に誘起される磁束に垂直方向の2方向について、エアギャップ偏心量とエアギャップ偏心方向の計算結果からエアギャップ偏心状態を2次元座標系として表すことができ、エアギャップの良否を判定することができる。
上記のように構成することにより、様々な機種の単相誘導電動機についても共通のパラメータを用いてエアギャップの偏心状態を検査することができるため、開発期間を短縮することができる。さらにはロータ102とステータ103の位置関係が直接目視することができない製品の完成状態において、単相誘導電動機ごとの加工や組立のばらつきや外乱がある場合でも、エアギャップ偏心状態を精度よく検査することができるようになる。
実施の形態2.
本実施の形態においては、計測時に通電する電圧の周波数を調整することによりエアギャップ偏心方向とエアギャップ偏心量を精度よく検査する検査装置について説明する。単相誘導電動機を含むロータリ圧縮機100は実施の形態1で説明したものと同様であり、説明を省略する。
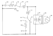
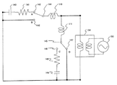
検査装置の外観は図3と同様であるが、図12、図13に示す駆動回路に違いがあり、周波数調整器153が付け加えられている。
図14に本実施の形態での検査フローチャートを示す。ここでは実施の形態1との違いについてのみ説明する。実施の形態1においてST5の駆動回路の切替はST5-1において、主巻線スイッチ144の接続先を接点B143側とし、ST5-2において補助巻線スイッチ145の接続先を接点C146側とし、補助巻線111に直列に補助巻線抵抗器148と補助巻線コンデンサ149を接続し、その後、ST5-3において電圧調整器134により電圧を特定の電圧に調整するようにした。しかし、本実施の形態においては、ST5-1において主巻線スイッチ144の接続先を接点B143側とし、ST5-2において補助巻線スイッチ145の接続先を接点C146側とし、補助巻線111に直列に補助巻線抵抗器148と補助巻線コンデンサ149を接続する点は実施の形態1と同様であるが、その後、ST5-3において周波数調整器153により電源周波数を特定の周波数に調整し、ST5-4において電圧調整器134により電圧を特定の電圧に調整するようにしている点が相違する。
また、実施の形態1においてはST11の駆動回路の切替はST17-1において、主巻線スイッチ141の接続先を接点A142側とし、ST17-2において補助巻線スイッチ145の接続先を接点D147側とし、主巻線111に直列に主巻線抵抗器141と主巻線コンデンサ140を接続し、その後、ST17-3において電圧調整器134により電圧を特定の電圧に調整する。しかし、本実施の形態においては、ST17-1において主巻線スイッチ141の接続先を接点A142側とし、ST17-2において補助巻線スイッチ145の接続先を接点D147側とし、主巻線111に直列に主巻線抵抗器141と主巻線コンデンサ140を接続する点は実施の形態1と同様であるが、その後、ST17-3において周波数調整器153により電源周波数を特定の周波数に調整し、ST17-4において電圧調整器134により電圧を特定の電圧に調整するようにしている点が相違する。
ここで、図14のフローチャートのST5-2において接続される補助巻線抵抗器148の大きさ及び補助巻線コンデンサ149の容量、ST5-3において調整される電源周波数、ST5-4において調整される電圧の大きさ、ST17-1において接続される主巻線抵抗器141の大きさ及び主巻線コンデンサ140の容量、ST17-3において調整される電源周波数、ST17-4において調整される電圧の大きさは、磁束の周期の2/3以下のゆっくりとした回転周期にてロータ102が回転するように調整された値であり、様々な値の組み合わせが存在する。 ゆっくりとロータを回転させながら振動計測を行うことで、振動波形に現れるノイズの影響を低減することができ、計測精度を向上させることができる。なお、それぞれの巻線により誘起される磁束を調整する手段として、電圧調整器、コンデンサ、抵抗器を用いたが、巻線の電流を調整する電流調整器を用いてもよい。
本実施の形態による効果としては、電源周波数の整数倍が単相誘導機の固有振動数に等しい場合、共振し計測される振動が大きくなり、振動の方向の判定が困難になる場合があるが、単相誘導機の固有振動数とロータの振動周波数を異なる周波数とすることにより、ロータの振動方向の測定が精度よく行うことができるようになり、エアギャップ偏心状態の良否を正確に判定することができる。
なお、実施の形態1または2において、インピーダンス固定型のコンデンサ・抵抗器を駆動回路に組み込むようにしたが、可変型のコンデンサ・抵抗器を使用してもよく、その場合多機種の単相誘導機に対応する駆動回路を比較的安価に構成できる。
また、交流印加時に発生する主巻線110により誘起される磁束と補助巻線111により誘起される磁束の大きさの比を調整する手段にコンデンサと抵抗器を用いたが、リアクタンスを接続して各巻線のインピーダンスを調整してもよい。
図3では計測体に押し付け振動を測定するタイプのピックアップを図示したが、マグネットあるいは接着剤等にて装着するタイプを用いてもよく、その場合、シェルをクランプするクランプ機構を及びシリンダを設置する必要がないため、検出装置を安価に構成することができる。
さらに、振動を検出する手段として加速度ピックアップを例示したが、例えば変位や位置情報から振動を検出するタイプの振動検出手段であってもよい。
また図3では電流を計測するための電流計として、クランプ式の電流計を図示したが、あらかじめ駆動回路中に電流計を組み込んで使用してもよい。
実施の形態1または2において、電流差とロータの回転数との関係に基づいてロータの回転数を計算する方法を説明したが、電動機の機種ごとにロータの回転数と主巻線と補助巻線に流れる電流、あるいは印加電圧の位相差の関係を調べ、位相差とロータの回転数の関係に基づいてロータの回転数を計算する方法を用いたとしても、エアギャップ偏心状態を精度よく検査することができることには変わりない。
また図9と図14のフローチャートにおいて、正回転通電を行ったあと、主ロック通電を行い、その後逆回転通電を行った後、補助ロック通電を行っているが、順番に変更があってもよい。例えば逆回転通電を行った後、正回転通電を行い、その後主ロック通電を行った後、補助ロック通電を行って電流、及び振動を計測したとしても本発明による効果を得ることができる。また、さらには計測を行う前に、電動機に計測時よりも高電圧を印加する予備通電を行い、電動機のウォームアップを行ってもよい。
実施の形態3.
本実施の形態においては、エアギャップ偏心状態を検査した後、調整するエアギャップ偏心調整方法について説明する。図15はエアギャップ偏心状態を2次元的に表すためのuv座標系を示す断面図、図16はエアギャップ偏心状態を調整するための方法を示す断面図である。
検査の対象となる単相誘導電動機を含むロータリ圧縮機100は実施の形態1で説明した
ものと同様であるとともに、ロータリ圧縮機100のエアギャップ偏心状態を検査する方法
も実施の形態1の場合と同じである。以下では、検査した結果を元にエアギャップ偏心状態を調整する方法について詳細に説明する。
ロータリ圧縮機100は、製品の完成状態において密閉された容器の内部に単相誘導電動
機が組みつけられているため、エアギャップ偏心状態を目視やギャップゲージによる測定などの直接的な手段で検査することができない。上記実施の形態1においては、そのような状態の単相誘導電動機のエアギャップ状態を検査することができ、検査した結果は図15に示すuv座標系においてベクトルとして表すことができる。
図15において、加速度ピックアップ122aをu軸、加速度ピックアップ122bをv軸とする。上記実施の形態1においては、図9のST16において計算した補助巻線方向のエアギャップ偏心方向と偏心量の結果をu軸上の座標で表し、また図9のST28において計算した主巻線方向のエアギャップ偏心方向と偏心量の結果をv軸上の座標で表すことにより、単相誘導電動機のエアギャップが狭くなる方向を2次元的に表すことができる。
検査の対象となる単相誘導電動機はシェル104の内部に固定されているため、シェル104を変形させることにより単相誘導電動機のエアギャップ状態を調整することができる。シェル104を変形させる方法として、例えばシェル104を加熱して歪ませる方法があり、図16に示すように、バーナー160によりシェル104を変形させることができる。
ロータリ圧縮機100をサーボモータ(図示しない)によって回転させられる回転機構を
有する回転テーブル162上に設置し、ステータ103と溶接点109の間にバーナー160の火炎161が当たるようにバーナー160の高さを固定する。バーナー160に着火した後に回転テーブル162を回転させ、シェル104の周上に加熱する。
一般にシェル104を外部より加熱した場合、冷却された後に加熱した方向へ凹となるよ
うにシェル104は変形する。ステータ103はシェル104に焼嵌め固定されているため、シェル104の変形に従ってステータ103の中心軸が傾き、エアギャップ偏心状態が変化する。前記エアギャップ偏心状態の検査結果に従い、エアギャップの狭い方向から加熱し、エアギャップ偏心量に応じて加熱量を調整することで、エアギャップ偏心状態を調整することができる。その結果、電動機の騒音を低減し、高効率な電動機を安定して実現することができる。
図16においてはバーナー160によって加熱する方法を示したが、シェル104の加熱手段はバーナーに限らず、例えば高周波加熱、レーザー及びTIG溶接等を使用しても良い。高周波加熱、レーザー及びTIG溶接では、シェル104に対する加熱量をバーナーより制御しやすいため、精度よくエアギャップ偏心状態を調整することができる。また本実施の形態においてはシェル104を変形させる手段として、加熱による方法を説明したが、例えばハンマーなどで叩いてシェル104を変形させてもよい。
実施の形態4.
本実施の形態では、本発明による単相誘導電動機のエアギャップ偏心状態の検査方法及び調整方法を用いて製造された単相誘導電動機について説明する。一般に、単相誘導電動機の出力を向上するためには電動機の大型化を図ることが考えられるが、以下のような問題がある。
例えば、径方向に大型化を図る場合、ステータの製造時に使用されるプレス金型や電動機を保持するシェルのサイズを変更する必要がある。そのため様々な出力の電動機のラインナップを持つ場合、製造設備や周辺部材の変更が大掛かりになりコストが高くつく。
また、高さ方向に大型化を図る場合、電動機の組立時にロータがステータの軸心からわずかに傾いて組立てられるだけで大きくエアギャップが偏心することとなり、そのため高精度の組立技術が必要となる。
本実施の形態によれば、機種毎に巻線スペックが変更されていたとしても、主巻線と補助巻線に流れる電流あるいは印加電圧の位相差からロータの回転数を計算する従来の方法と違い、共通のパラメータを用いてロータの回転数を計算することが可能であるため、巻線スペックの異なる機種に対しても立ち上げに時間をかけることなく適用することができ、開発期間を短縮することができる。
また、容器に密閉された状態において、実施の形態1で説明したエアギャップ偏心検査装置によってエアギャップ偏心状態を検査し、実施の形態3で説明した方法でエアギャップ偏心状態を調整することにより、電動機の高さが高い機種であっても高精度に組立てることが可能であり、低騒音で高効率な電動機を実現することができる。実施の形態3においてはエアギャップ偏心状態を調整する方法を示したが、もちろんこの方法を用いた製造設備を製作し、エアギャップ偏心の調整に用いてもよい。
単相誘導電動機を内在するロータリ圧縮機の断面概略図、 図1矢視Aから見た横方向断面図、 本発明のエアギャップ検査装置の概略図、 図3矢視Bから見た横方向断面図、 本発明の実施の形態1に関わる正回転通電状態の駆動回路の模式図、 本発明の実施の形態1に関わる逆回転通電状態の駆動回路の模式図、 本発明の実施の形態1に関わる主ロック通電状態の駆動回路の模式図、 本発明の実施の形態1に関わる補助ロック通電状態の駆動回路の模式図、 本発明の実施の形態1に関わるエアギャップ検査方法を示したフローチャート図、 ロータの回転数と電流差の関係図、 電流差と振動の大きさの関係図、 本発明の実施の形態2に関わる正回転通電状態の駆動回路の模式図、 本発明の実施の形態2に関わる逆回転通電状態の駆動回路の模式図、 本発明の実施の形態2に関わるエアギャップ検査方法を示したフローチャート図、 本発明の実施の形態3に関わるuv座標系を用いたエアギャップ偏心状態を表す断面図、 本発明の実施の形態3に関わるエアギャップ偏心状態の調整方法を示す模式図である。
符号の説明
100 ロータリ圧縮機、101 エアギャップ、102 ロータ、103 ステータ、104 シェル、
105 主軸、106 フレーム、107 シリンダヘッド、108 シリンダ、109 溶接点、
110 主巻線、111 補助巻線、112 端子、113 吐出管、114 マフラ、
120 接続端子、121a 電流計、121b 電流計、122 加速度ピックアップ、
122a 加速度ピックアップ、122b 加速度ピックアップ、
123 加速度ピックアップシリンダ、124 ピックアップ除振材、125 クランプ爪、
126 クランプ除振材、127 クランプシリンダ、128 ワーク除振材、
129 計測ユニットベース板、130 防振材、131 アンプ、132 コンピュータ、
133 コンピュータの表示器、134 電圧調整器、135 抵抗器、136 コンデンサ、
137 架台、
140 主巻線コンデンサ、141 主巻線抵抗器、142 接点A、143 接点B、
144 主巻線スイッチ、145 補助巻線スイッチ、146 接点C、147 接点D、
148 補助巻線抵抗器、149 補助巻線コンデンサ、150 交流電源、
151 主巻線通電スイッチ、152 補助巻線通電スイッチ、153 電源周波数調整器。

Claims (8)

  1. 主軸と共に回転するロータと、主巻線と補助巻線とを備え上記ロータとの間でエアギャップを有するように配置されたステータとからなる単相誘導電動機において、
    上記電動機に交流電圧を印加する手段と、
    上記電動機に流れる電流の電流波形を計測する電流計測手段と、
    上記電動機に上記交流電圧を印加した際に、上記ロータに発生する不平衡磁気吸引力が最大となる方向の単相誘導電動機の振動波形を計測する振動計測手段と、
    上記電流計測手段によって計測された結果から上記ロータの回転数を計算し、上記計算したロータの回転数と上記計測した電流波形と振動波形から上記エアギャップの偏心状態を推定し、上記推定したエアギャップの偏心状態に基づいて上記エアギャップの良否を判定する判定手段と、
    を設けたことを特徴とする単相誘導電動機のエアギャップ偏心検査装置。
  2. 上記主巻線及び補助巻線に交流電圧を印加した際に、上記主巻線及び補助巻線のうち一方の巻線によりエアギャップに誘起される磁束が他方の巻線によりエアギャップに誘起される磁束より大きい状態で、上記ロータを回転通電させる駆動回路と、上記主巻線と補助巻線のどちらか一方にのみ通電する駆動回路とを設けたことを特徴とする請求項1に記載の単相誘導電動機のエアギャップ偏心検査装置。
  3. 上記交流電源の電圧を変更するための電圧調整機構を備え、印加する交流電圧の周波数の2/3以下の回転周期によって上記ロータを回転させる駆動回路を設けたことを特徴とする請求項1あるいは請求項2に記載の単相誘導電動機のエアギャップ偏心検査装置。
  4. 上記主巻線及び補助巻線の両方の巻線に通電する回転通電と、上記主巻線又は補助巻線のどちらか一方の巻線のみに通電するロック通電とを切り替えることができる手段を備え、上記回転通電の電流値とロック通電時の電流値の差から上記ロータの回転数を計算することを特徴とする請求項1から請求項3のいずれか1項に記載の単相誘導電動機のエアギャップ偏心検査装置。
  5. 上記交流電圧の周波数を変更するための周波数変換機構を備えたことを特徴とする請求項1から請求項4のいずれか1項に記載の単相誘導電動機のエアギャップ偏心検査装置。
  6. 主軸と共に回転するロータと、主巻線と補助巻線とを備えロータとの間でエアギャップを有するように配置されたステータとからなる単相誘導電動機であって、
    主巻線または補助巻線のどちらか一方の巻線に交流電圧を印加して巻線に流れる電流波形を計測するステップと、
    回路を切り替えて主巻線及び補助巻線の両方の巻線に交流電圧を印加して巻線に流れる電流波形を計測するとともに、ロータに発生する不平衡磁気吸引力が最大となる方向の電動機の振動の振動波形を計測するステップと、
    計測した電流波形からロータの回転数を計算するステップと、
    計算したロータの回転数と計測した電流波形と振動波形とからエアギャップの偏心量と偏心方向を計算するステップと、
    計算したエアギャップの偏心量及び偏心方向に基づいてエアギャップの良否を判定するステップと、
    を有することを特徴とする単相誘導電動機のエアギャップ偏心検査方法。
  7. 主軸と共に回転するロータと、主巻線と補助巻線とを備え上記ロータとの間でエアギャップを有するように配置されたステータとからなる単相誘導電動機であって、
    主巻線及び補助巻線の両方の巻線に交流電圧を印加し、巻線に流れる電流波形を計測し、
    回路を切り替えて、主巻線または補助巻線のどちらか一方の巻線に交流電圧を印加し、巻線に流れる電流波形を計測するとともに、上記ロータに発生する不平衡磁気吸引力が最大となる方向の単相誘導電動機の振動の振動波形を計測し、
    上記計測した電流波形からロータの回転数を計算し、
    上記計測した電流波形と振動波形と上記計算したロータの回転数から上記エアギャップの偏心量と偏心方向とを計算し、
    上記計算したエアギャップの偏心量及び偏心方向に基づいて上記エアギャップの良否を判定し、
    この判定結果に基づいて上記ステータが固定されたシェルを変形させることにより上記単相誘導電動機のエアギャップを調整することを特徴とする単相誘導電動機のエアギャップ調整方法。
  8. 上記請求項6の方法でエアギャップ偏心状態を検査し、あるいは請求項7の方法でエアギャップ偏心状態を調整することにより製造されることを特徴とする単相誘導電動機。
JP2008160600A 2008-06-19 2008-06-19 単相誘導電動機のエアギャップ偏心検査装置、エアギャップ偏心検査方法、及びエアギャップ偏心調整方法、並びにこれらを用いて製造される単相誘導電動機 Expired - Fee Related JP5100528B2 (ja)

Priority Applications (2)

Application Number Priority Date Filing Date Title
JP2008160600A JP5100528B2 (ja) 2008-06-19 2008-06-19 単相誘導電動機のエアギャップ偏心検査装置、エアギャップ偏心検査方法、及びエアギャップ偏心調整方法、並びにこれらを用いて製造される単相誘導電動機
CN2008101821895A CN101608911B (zh) 2008-06-19 2008-11-24 气隙偏心检测装置、方法、调整方法、以及单相感应电动机

Applications Claiming Priority (1)

Application Number Priority Date Filing Date Title
JP2008160600A JP5100528B2 (ja) 2008-06-19 2008-06-19 単相誘導電動機のエアギャップ偏心検査装置、エアギャップ偏心検査方法、及びエアギャップ偏心調整方法、並びにこれらを用いて製造される単相誘導電動機

Publications (2)

Publication Number Publication Date
JP2010004644A true JP2010004644A (ja) 2010-01-07
JP5100528B2 JP5100528B2 (ja) 2012-12-19

Family

ID=41482747

Family Applications (1)

Application Number Title Priority Date Filing Date
JP2008160600A Expired - Fee Related JP5100528B2 (ja) 2008-06-19 2008-06-19 単相誘導電動機のエアギャップ偏心検査装置、エアギャップ偏心検査方法、及びエアギャップ偏心調整方法、並びにこれらを用いて製造される単相誘導電動機

Country Status (2)

Country Link
JP (1) JP5100528B2 (ja)
CN (1) CN101608911B (ja)

Cited By (1)

* Cited by examiner, † Cited by third party
Publication number Priority date Publication date Assignee Title
CN112230145A (zh) * 2020-10-16 2021-01-15 中车永济电机有限公司 一种模块化直线感应电机旋转试验装置

Families Citing this family (11)

* Cited by examiner, † Cited by third party
Publication number Priority date Publication date Assignee Title
CN104965175B (zh) * 2015-07-16 2017-10-10 华北电力大学(保定) 一种发电机气隙静态偏心故障方位及故障程度的检测方法
CN105044602A (zh) * 2015-08-25 2015-11-11 合肥工业大学 一种感应电动机的偏心检测装置及其检测方法
CN105044601A (zh) * 2015-08-25 2015-11-11 合肥工业大学 一种利用漏磁场检测感应电动机的偏心检测装置及其检测方法
CN105490603B (zh) * 2015-12-28 2018-01-12 浙江科技学院 一种轮毂电机驱动的电动汽车轮毂侧电磁减震控制方法
CN106403880B (zh) * 2016-10-13 2020-02-04 Tcl瑞智(惠州)制冷设备有限公司 一种压缩机转子和定子之间的间隙检测方法和装置
DE102016122862A1 (de) * 2016-11-28 2018-05-30 Wobben Properties Gmbh Messsystem und ein Messverfahren zum Vermessen eines Stators einer getriebelosen Windenergieanlage
CN108736656A (zh) * 2017-04-13 2018-11-02 舍弗勒技术股份两合公司 电机、用于电机的校正装置和校正方法
US10514428B2 (en) * 2017-07-13 2019-12-24 Itt Manufacturing Enterprises Llc Technique to detect motor leakage flux anomalies
CN109323675B (zh) * 2018-09-21 2020-09-08 南京航轩轨道交通科技有限公司 一种直线电机气隙在线检测方法
CN112491228B (zh) * 2020-11-06 2023-01-24 华能澜沧江水电股份有限公司 基于振动波形检测引起定子低频振动的关键磁极的方法
CN115980576B (zh) * 2023-01-10 2026-01-16 蜂巢传动系统(江苏)有限公司 基于mcu的转子偏心故障诊断方法、装置及车辆

Citations (5)

* Cited by examiner, † Cited by third party
Publication number Priority date Publication date Assignee Title
JPS60152262A (ja) * 1984-01-20 1985-08-10 Matsushita Electric Ind Co Ltd 誘導電動機の磁気空隙の検査方法
JPH06284655A (ja) * 1993-03-30 1994-10-07 Sanyo Electric Co Ltd 回転圧縮機用電動機のロ−タ部エアギャップ偏りの検出方法とその偏りの検出方法を用いたロ−タ部エアギャップ偏りの改善方法
JP2007037323A (ja) * 2005-07-28 2007-02-08 Mitsubishi Electric Corp 単相誘導機のエアギャップ偏心検出装置及びエアギャップ偏心検査方法
JP2007325336A (ja) * 2006-05-30 2007-12-13 Mitsubishi Electric Corp 電動機のエアギャップ偏心計測装置及びエアギャップ偏心計測方法
JP4474469B2 (ja) * 2008-01-23 2010-06-02 三菱電機株式会社 単相誘導電動機のエアギャップ偏心検査装置及びエアギャップ修正方法

Patent Citations (5)

* Cited by examiner, † Cited by third party
Publication number Priority date Publication date Assignee Title
JPS60152262A (ja) * 1984-01-20 1985-08-10 Matsushita Electric Ind Co Ltd 誘導電動機の磁気空隙の検査方法
JPH06284655A (ja) * 1993-03-30 1994-10-07 Sanyo Electric Co Ltd 回転圧縮機用電動機のロ−タ部エアギャップ偏りの検出方法とその偏りの検出方法を用いたロ−タ部エアギャップ偏りの改善方法
JP2007037323A (ja) * 2005-07-28 2007-02-08 Mitsubishi Electric Corp 単相誘導機のエアギャップ偏心検出装置及びエアギャップ偏心検査方法
JP2007325336A (ja) * 2006-05-30 2007-12-13 Mitsubishi Electric Corp 電動機のエアギャップ偏心計測装置及びエアギャップ偏心計測方法
JP4474469B2 (ja) * 2008-01-23 2010-06-02 三菱電機株式会社 単相誘導電動機のエアギャップ偏心検査装置及びエアギャップ修正方法

Cited By (2)

* Cited by examiner, † Cited by third party
Publication number Priority date Publication date Assignee Title
CN112230145A (zh) * 2020-10-16 2021-01-15 中车永济电机有限公司 一种模块化直线感应电机旋转试验装置
CN112230145B (zh) * 2020-10-16 2024-04-19 中车永济电机有限公司 一种模块化直线感应电机旋转试验装置

Also Published As

Publication number Publication date
CN101608911A (zh) 2009-12-23
CN101608911B (zh) 2012-09-19
JP5100528B2 (ja) 2012-12-19

Similar Documents

Publication Publication Date Title
JP5100528B2 (ja) 単相誘導電動機のエアギャップ偏心検査装置、エアギャップ偏心検査方法、及びエアギャップ偏心調整方法、並びにこれらを用いて製造される単相誘導電動機
JP4474469B2 (ja) 単相誘導電動機のエアギャップ偏心検査装置及びエアギャップ修正方法
JP4657048B2 (ja) 単相誘導機のエアギャップ偏心検出装置及びエアギャップ偏心検査方法
EP3190390A1 (en) Wide-frequency-band large displacement angle shaker
CN101988951B (zh) 电机的空隙调整方法
JP2005525537A (ja) 出力を確定する方法、測定装置及び供試体のための出力用試験台
CN108702118A (zh) 方法、角度确定装置和控制装置
JP2011177312A (ja) モータ駆動装置及び圧縮機及び冷凍サイクル装置及び洗濯機及び洗濯乾燥機及び送風機
Wu et al. Eliminating load oscillation effects for rotor eccentricity detection in closed-loop drive-connected induction motors
MXPA00009140A (es) Deteccion de la posicion de reluctancia conmutada.
KR101841577B1 (ko) 농형 유도 전동기 회전자 결함 진단 시스템, 및 방법
CN116679093A (zh) 一种无壳电机测试台架及定转子同轴度调节方法
CN104145407B (zh) 用于运行电机的方法
JP4878920B2 (ja) 電動機のエアギャップ偏心計測装置及びエアギャップ偏心計測方法
JP4469185B2 (ja) インバータ制御装置及びインバータ制御方法及び密閉型圧縮機及び冷凍空調装置
JP3443132B2 (ja) 回転圧縮機用電動機のロ−タ部エアギャップ偏りの検出方法とその偏りの検出方法を用いたロ−タ部エアギャップ偏りの改善方法
CN109687799A (zh) 基于假定旋转坐标的磁轴承转子分层振动补偿方法
WO2021124515A1 (ja) 回転電機の検査装置および回転電機の検査方法
JPS63177037A (ja) セラミツクスの動的疲労試験方法および装置
JP4215504B2 (ja) 電気的スターティング・ロータ角度をもとめるための装置及び方法
Leitner et al. Rheometer-based cogging torque measurement for sub-fractional hp permanent magnet motors
US7023219B2 (en) A/C generator rotor test apparatus
Shi et al. Characterising the Orthogonal Outputs of an On-Rotor Sensing Vibration Node for Efficient Condition Monitoring of Electric Motors
JP2007121042A (ja) タイヤ試験機及びタイヤ試験の方法
Song et al. Dynamic Compliance of Measuring Device for Force on High-speed Rotors

Legal Events

Date Code Title Description
A621 Written request for application examination

Free format text: JAPANESE INTERMEDIATE CODE: A621

Effective date: 20100924

TRDD Decision of grant or rejection written
A01 Written decision to grant a patent or to grant a registration (utility model)

Free format text: JAPANESE INTERMEDIATE CODE: A01

Effective date: 20120904

A01 Written decision to grant a patent or to grant a registration (utility model)

Free format text: JAPANESE INTERMEDIATE CODE: A01

A977 Report on retrieval

Free format text: JAPANESE INTERMEDIATE CODE: A971007

Effective date: 20120905

A61 First payment of annual fees (during grant procedure)

Free format text: JAPANESE INTERMEDIATE CODE: A61

Effective date: 20120925

FPAY Renewal fee payment (event date is renewal date of database)

Free format text: PAYMENT UNTIL: 20151005

Year of fee payment: 3

R151 Written notification of patent or utility model registration

Ref document number: 5100528

Country of ref document: JP

Free format text: JAPANESE INTERMEDIATE CODE: R151

FPAY Renewal fee payment (event date is renewal date of database)

Free format text: PAYMENT UNTIL: 20151005

Year of fee payment: 3

R250 Receipt of annual fees

Free format text: JAPANESE INTERMEDIATE CODE: R250

R250 Receipt of annual fees

Free format text: JAPANESE INTERMEDIATE CODE: R250

R250 Receipt of annual fees

Free format text: JAPANESE INTERMEDIATE CODE: R250

R250 Receipt of annual fees

Free format text: JAPANESE INTERMEDIATE CODE: R250

R250 Receipt of annual fees

Free format text: JAPANESE INTERMEDIATE CODE: R250

R250 Receipt of annual fees

Free format text: JAPANESE INTERMEDIATE CODE: R250

R250 Receipt of annual fees

Free format text: JAPANESE INTERMEDIATE CODE: R250

LAPS Cancellation because of no payment of annual fees