JP2010003690A - 二次電池 - Google Patents

二次電池 Download PDF

Info

Publication number
JP2010003690A
JP2010003690A JP2009145576A JP2009145576A JP2010003690A JP 2010003690 A JP2010003690 A JP 2010003690A JP 2009145576 A JP2009145576 A JP 2009145576A JP 2009145576 A JP2009145576 A JP 2009145576A JP 2010003690 A JP2010003690 A JP 2010003690A
Authority
JP
Japan
Prior art keywords
secondary battery
plate
battery according
electrode tab
terminal plate
Prior art date
Legal status (The legal status is an assumption and is not a legal conclusion. Google has not performed a legal analysis and makes no representation as to the accuracy of the status listed.)
Granted
Application number
JP2009145576A
Other languages
English (en)
Other versions
JP5356122B2 (ja
Inventor
Soo-Youn Maenn
壽蓮 孟
Jinha Jun
珍河 全
Current Assignee (The listed assignees may be inaccurate. Google has not performed a legal analysis and makes no representation or warranty as to the accuracy of the list.)
Samsung SDI Co Ltd
Original Assignee
Samsung SDI Co Ltd
Priority date (The priority date is an assumption and is not a legal conclusion. Google has not performed a legal analysis and makes no representation as to the accuracy of the date listed.)
Filing date
Publication date
Application filed by Samsung SDI Co Ltd filed Critical Samsung SDI Co Ltd
Publication of JP2010003690A publication Critical patent/JP2010003690A/ja
Application granted granted Critical
Publication of JP5356122B2 publication Critical patent/JP5356122B2/ja
Active legal-status Critical Current
Anticipated expiration legal-status Critical

Links

Images

Classifications

    • HELECTRICITY
    • H01ELECTRIC ELEMENTS
    • H01MPROCESSES OR MEANS, e.g. BATTERIES, FOR THE DIRECT CONVERSION OF CHEMICAL ENERGY INTO ELECTRICAL ENERGY
    • H01M50/00Constructional details or processes of manufacture of the non-active parts of electrochemical cells other than fuel cells, e.g. hybrid cells
    • H01M50/50Current conducting connections for cells or batteries
    • H01M50/572Means for preventing undesired use or discharge
    • HELECTRICITY
    • H01ELECTRIC ELEMENTS
    • H01MPROCESSES OR MEANS, e.g. BATTERIES, FOR THE DIRECT CONVERSION OF CHEMICAL ENERGY INTO ELECTRICAL ENERGY
    • H01M10/00Secondary cells; Manufacture thereof
    • H01M10/02Details
    • HELECTRICITY
    • H01ELECTRIC ELEMENTS
    • H01MPROCESSES OR MEANS, e.g. BATTERIES, FOR THE DIRECT CONVERSION OF CHEMICAL ENERGY INTO ELECTRICAL ENERGY
    • H01M50/00Constructional details or processes of manufacture of the non-active parts of electrochemical cells other than fuel cells, e.g. hybrid cells
    • H01M50/10Primary casings; Jackets or wrappings
    • H01M50/147Lids or covers
    • HELECTRICITY
    • H01ELECTRIC ELEMENTS
    • H01MPROCESSES OR MEANS, e.g. BATTERIES, FOR THE DIRECT CONVERSION OF CHEMICAL ENERGY INTO ELECTRICAL ENERGY
    • H01M50/00Constructional details or processes of manufacture of the non-active parts of electrochemical cells other than fuel cells, e.g. hybrid cells
    • H01M50/10Primary casings; Jackets or wrappings
    • H01M50/147Lids or covers
    • H01M50/148Lids or covers characterised by their shape
    • H01M50/15Lids or covers characterised by their shape for prismatic or rectangular cells
    • HELECTRICITY
    • H01ELECTRIC ELEMENTS
    • H01MPROCESSES OR MEANS, e.g. BATTERIES, FOR THE DIRECT CONVERSION OF CHEMICAL ENERGY INTO ELECTRICAL ENERGY
    • H01M10/00Secondary cells; Manufacture thereof
    • H01M10/05Accumulators with non-aqueous electrolyte
    • H01M10/052Li-accumulators
    • HELECTRICITY
    • H01ELECTRIC ELEMENTS
    • H01MPROCESSES OR MEANS, e.g. BATTERIES, FOR THE DIRECT CONVERSION OF CHEMICAL ENERGY INTO ELECTRICAL ENERGY
    • H01M2200/00Safety devices for primary or secondary batteries
    • YGENERAL TAGGING OF NEW TECHNOLOGICAL DEVELOPMENTS; GENERAL TAGGING OF CROSS-SECTIONAL TECHNOLOGIES SPANNING OVER SEVERAL SECTIONS OF THE IPC; TECHNICAL SUBJECTS COVERED BY FORMER USPC CROSS-REFERENCE ART COLLECTIONS [XRACs] AND DIGESTS
    • Y02TECHNOLOGIES OR APPLICATIONS FOR MITIGATION OR ADAPTATION AGAINST CLIMATE CHANGE
    • Y02EREDUCTION OF GREENHOUSE GAS [GHG] EMISSIONS, RELATED TO ENERGY GENERATION, TRANSMISSION OR DISTRIBUTION
    • Y02E60/00Enabling technologies; Technologies with a potential or indirect contribution to GHG emissions mitigation
    • Y02E60/10Energy storage using batteries
    • YGENERAL TAGGING OF NEW TECHNOLOGICAL DEVELOPMENTS; GENERAL TAGGING OF CROSS-SECTIONAL TECHNOLOGIES SPANNING OVER SEVERAL SECTIONS OF THE IPC; TECHNICAL SUBJECTS COVERED BY FORMER USPC CROSS-REFERENCE ART COLLECTIONS [XRACs] AND DIGESTS
    • Y02TECHNOLOGIES OR APPLICATIONS FOR MITIGATION OR ADAPTATION AGAINST CLIMATE CHANGE
    • Y02PCLIMATE CHANGE MITIGATION TECHNOLOGIES IN THE PRODUCTION OR PROCESSING OF GOODS
    • Y02P70/00Climate change mitigation technologies in the production process for final industrial or consumer products
    • Y02P70/50Manufacturing or production processes characterised by the final manufactured product

Landscapes

  • Chemical & Material Sciences (AREA)
  • Chemical Kinetics & Catalysis (AREA)
  • Electrochemistry (AREA)
  • General Chemical & Material Sciences (AREA)
  • Engineering & Computer Science (AREA)
  • Manufacturing & Machinery (AREA)
  • Connection Of Batteries Or Terminals (AREA)
  • Secondary Cells (AREA)
  • Sealing Battery Cases Or Jackets (AREA)

Abstract

【課題】本発明は、二次電池に関するものであり、より詳しくは縦圧縮時の初期に電流消費による電流の速やかな放電によって二次電池の過熱を防止できる二次電池を提供すること。
【解決手段】本発明に係る二次電池は、電極組立体と、上記電極組立体が内部に収容される缶と、上記缶の上端開口部を密封するキャップ組立体と、を含み、縦圧縮時、上記缶と接触して電流消費を誘導する放電誘導部材を含むことを特徴とし、上記放電誘導部材は、上記キャップ組立体のターミナルプレートが縦圧縮時に上記缶と接触するように延伸形成し、または上記放電誘導部材は上記缶の内部に上記缶と接触するように設けられる導電性プレートを用いる。
【選択図】図1

Description

本発明は、二次電池に関するものであり、より詳しくは縦圧縮時に初期の電流消費を通じた電流の速やかな放電によって、二次電池の過熱による発火または爆発事故を防止できる二次電池に関する。
二次電池は、電極組立体の内部短絡や外部短絡または過充放電などによって電圧が急上昇する。急上昇する電圧により過度な熱が発生して発火または爆発のような事故の危険が存在する。
近年、二次電池の発火または爆発事故が頻繁に発生したため消費者に不安感を与え、これにより二次電池に対する信頼性が低下している。また、二次電池の輸入による各国の安全性検査がより強化されている実情にある。
二次電池の安全性検査は、電池の短絡、非正常充電、過充電、強制放電などの電気的試験と、振動や衝撃など物理的状況におけるリチウムイオン電池の爆発および発火に対する安全性を検査する。
特に、二次電池の安全性テストのうち、縦圧縮試験は、電池の缶の外部から両側面を急激に加圧させて、電池の変形による安全性の有無をテストする。この縦圧縮時に電池の電極組立体が変形し、正極板の活物質と負極板の活物質とが直接接触することにより、電気化学的に反応してショートが発生する。したがって、煙および火炎が発生する確率が高く、最悪の場合には爆発の危険まである。
よって、正極板と負極板との活物質が接触してショートが発生する前に他の経路に電流放電を誘導すれば、電池の発火および爆発の危険を大幅に減少させることができる。
一般に、縦圧縮時、電池の部品中で缶が最初に圧縮すると共に変形が生じる。したがって、缶と異なる極性を有している電池の部品を缶と電気的にショートさせることにより電流消費を誘導すると、電池の発火および爆発の危険を大幅に抑制することができる。
そこで、本発明は、上記問題に鑑みてなされたものであり、本発明の目的とするところは、縦圧縮時に変形する缶に対し、缶と相異する極性を有している電池の部品を電気的にショートさせて電流を消費させることが可能な、新規かつ改良された二次電池を提供することにある。
本発明の他の目的とするところは、縦圧縮時に速やかな電流放電効果によって電池の発火および爆発などの安全性事故を防止することが可能な、新規かつ改良された二次電池を提供することにある。
上記課題を解決するために、本発明のある観点によれば、電極組立体と、上記電極組立体が内部に収容される缶と、上記缶の上端開口部を密封するキャップ組立体と、を含み、縦圧縮時に上記缶と接触して電流消費を誘導する放電誘導部材を含む二次電池が提供される。
本発明の第1の実施形態によれば、上記缶の側面は長辺部と、上記長辺部に対して幅が狭い短辺部とを含み、上記放電誘導部材は縦圧縮時に上記缶の一側短辺部と接触する方向に延伸形成された上記キャップ組立体のターミナルプレートであってもよい。
上記ターミナルプレートは、上記缶の一側短辺部と対向する一端部が絶縁プレートの一端部より長く形成されてもよい。
この時、上記ターミナルプレートの一端部と上記缶の一側短辺部の間隔dは0.5〜3.5mmであることが好ましく、より好ましくは1mmであることが良い。
または、上記ターミナルプレートは上記缶の一側短辺部と対向する一端部に対し反対側の他端部を絶縁プレートより長く形成されてもよい。
上記絶縁プレートは、底板と、上記底板の縁部から突出形成された側壁とを含み、上記底板の縁部において、上記ターミナルプレートの少なくともある一部が延伸形成される部位に上記側壁が除去された領域が形成されてもよい。
上記缶は上記電極組立体の正極タブと電気的に接続されてもよい。
上記ターミナルプレートは上記電極組立体の負極タブと電気的に接続されてもよい。
本発明の第2の実施形態によれば、上記電極組立体と上記キャップ組立体との間に絶縁ケースが設けられ、上記放電誘導部は上記絶縁ケースに含まれる導電性プレートであってもよい。
上記導電性プレートは上記絶縁ケースの上面に積層設置されてもよい。
また、上記導電性プレートは、上記絶縁ケースにインサート射出成形されて一体に形成されてもよい。
上記導電性プレートは、上記電極組立体の電極タブが通過する電極タブ通孔が形成されてもよい。
上記缶は上記電極組立体の正極タブと電気的に接続されてもよい。
上記導電性プレートの電極タブ通孔を通過する電極タブは負極タブであってもよい。
以上説明したように本発明によれば、圧縮時に変形される缶に対し、缶と互いに異なる極性を有しているキャップ組立体のターミナルプレートを缶の短辺部、または長辺部と近接する位置まで延伸形成し、缶とターミナルプレートを電気的にショートさせて電池の電流消費を起こす効果がある二次電池を提供できる。
また、本発明は、縦圧縮時に変形される缶に対し、缶と互いに異なる極性を有している電極組立体の電極タブと、缶と接触する導電性プレートとを電気的にショートさせて電池の電流消費を起こす効果がある二次電池を提供できる。
このように、本発明は、縦圧縮時、缶を通して速やかに電流が放電されることにより、電池の発火および爆発などの安全性事故を防止する効果がある二次電池を提供できる。
以下に添付図面を参照しながら、本発明の好適な実施の形態いついて詳細に説明する。なお、本明細書及び図面において、実質的に同一の機能構成を有する構成要素については、同一の符号を付することにより重複説明を省略する。
(第1の実施形態)
まず、本発明の第1の実施形態に係る二次電池について説明する。
図1は本発明の第1の実施形態に係る二次電池の分解斜視図であり、図2は図1の部分縦断面図であり、図3は図2のA-A’の断面図である。
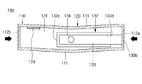
図1〜図3に示すように、本発明の第1の実施形態による二次電池100は、缶110と、上記缶110に収納される電極組立体120と、上記缶110の上端開口部を密封するキャップ組立体130とを含む。
上記缶110は上部が開放された略直方体の形態を有する。すなわち、上記缶110は相互一定距離で離隔され相対的に広い面積を有する一対の長辺部111と、上記一対の長辺部111に対して相対的に狭い面積を有する一対の短辺部112と、上記長辺部111および短辺部112の下部にこれらと垂直に形成された底部113とが形成されている。通常上記缶110は、ディープドローイング方式で製造されて上記長辺部111、短辺部112および底部113が一体に形成される。
一般に縦方向圧縮とは、外力によって上記短辺部112が圧縮されながら缶110が変形する状態をいう。縦方向圧縮時、上記短辺部112が最初に変形しながら短辺部112と一体に形成された長辺部111および底部113の形状が順次に変形し、缶110の内部に収納された電極組立体120の形態が変形する。これにより、本発明の第1の実施形態に係る二次電池は縦方向圧縮時に最初に変形される缶110の短辺部112と、上記キャップ組立体130のターミナルプレート133とを接触させることにより、電流消費による放電を誘導するように構成する。
上記キャップ組立体130のターミナルプレート133の構造は後述する。
上記缶110はスチール、アルミニウム、またはその等価物から選択されるいずれか一つを用いて形成されるが、ここではその材質の限定はしない。
上記電極組立体120は、正極板121、負極板122、および上記極板121、122との間に介するセパレータ123からなっている。また、上記電極組立体120は、上記正極板121、負極板122、およびセパレータ123が略ゼリーロール(jelly roll)状に巻き取られる。
さらに説明すると、上記電極組立体120は、正極活物質がコーティングされた正極板121、負極活物質がコーティングされた負極板122、および正極板121と負極板122との間に位置してショートを防止し、リチウムイオンの移動だけを可能にするセパレータ123からなる。ここで、上記正極板121はアルミニウム(Al)箔、上記負極板122は銅(Cu)箔、上記セパレータ123はポリエチレン(PE)またはポリプロピレン(PP)であるが、本発明においてはこのような材質を限定しない。また、上記正極板121には上方に一定長さ突出した正極タブ124が接続され、上記負極板122にも上方に一定長さ突出した負極タブ125が接続される。上記正極タブ124はアルミニウム(Al)材質、上記負極タブ125はニッケル(Ni)材質であるが、本発明においてはこのような材質を限定しない。
上記缶110には上記電極組立体120とともに電解液が収容される。この電解液は、充放電時に電池100内部の正極板121および負極板122で電気化学的反応によって生成されるリチウムイオンの移動媒体の役割を果たし、これはリチウム塩と高純度有機溶媒類の混合物の非水質系有機電解液である。さらに、上記電解液は高分子電解質を用いたポリマーの場合もある。
上記キャップ組立体130は上記缶110の上部に結合され、上記電極組立体120が外部に離脱しなく、また、電解液が漏液しないようにする役割をする。このようなキャップ組立体130はキャッププレート131、絶縁プレート132、ターミナルプレート133が順次結合されてなる。
上記キャッププレート131は上記缶110の上端開口部110aに相応するサイズと形状の金属板で形成され、好ましくはアルミニウムまたはアルミニウム合金で形成される。上記キャッププレート131の中央には端子通孔131aが形成され、一側には電解液注入のための電解液注入孔131bが形成されている。上記端子通孔131aには負極端子134が挿入され、この端子通孔131aには負極端子134の挿入時に絶縁のためのチューブ型のガスケット135が介している。上記電解液注入孔131bは上記キャップ組立体130が上記缶110の上端開口部に組み立てられた後に電解液注入孔131bを通して電解液が注入され、電解液が注入された後に栓136により密閉される。
上記絶縁プレート132は上記ガスケット135のような絶縁物質で形成され、上記キャッププレート131の下面に設けられる。上記絶縁プレート132は、上記キャッププレートの端子通孔131aと対応する部位に端子通孔132aが形成された底板132bと、上記底板132bの縁部から延伸形成された側壁132cとから構成される。上記絶縁プレート132は上記キャッププレート131の下面に底板132bが密着し、側壁132cは下方向に向くようになる。
上記絶縁プレート132は、底板132bの縁部において一部分は上記側壁132cが除去された領域132dを有する。すなわち、上記底板132bは上記ターミナルプレート133の面積に対応するサイズに形成され、上記側壁132cは少なくとも上記ターミナルプレート133の厚さに相当する高さに形成される。この時、上記底板132bの縁部において上記缶110の一側短辺部112aと対応する部位には側壁132cが除去された領域132dが形成される。したがって、上記ターミナルプレート133の一端部133bは上記絶縁プレート132の側壁132cが除去された領域132dを通して外部に長く形成される。
上記ターミナルプレート133はニッケル(Ni)またはニッケル合金金属で形成され、上記絶縁プレート132の底板132bの下面に設けられる。
上記ターミナルプレート133は上記絶縁プレート132の端子通孔132aと対応される部位に端子通孔133aが形成され、上記ターミナルプレート133の一端部133bは上記絶縁プレート132の側壁132cが除去された領域132dを通して外部に長く形成される。
上記ターミナルプレート133は上記絶縁プレート132の側壁132cが除去された領域132dを通して長く突出した状態で、縦圧縮時に上記缶110の短辺部112の内側面と接触する長さで形成される。したがって、上記ターミナルプレート133の一端部133bと缶110の短辺部112との間隔dは約0.5〜3.5mmで形成される。
このようにターミナルプレート133の一端部133bと缶110の短辺部112aとの間隔dを限定する理由は次の通りである。すなわち、上記間隔dが0.5mmより狭くなると、ターミナルプレート133の一端部133bと缶110の短辺部112aとの間隔が非常に狭くなることになる。したがって縦圧縮によって缶の変形が生じない状態でも、上記ターミナルプレート133と缶110が接触して電流消費による電流放電が発生するという問題がある。また、上記間隔dが3.5mmより広くなると、缶110とターミナルプレート133とが接触する前に上記電極組立体120の変形がかなり進行し、電極組立体120で先に内部ショートが発生して電池が発火または爆発するという問題がある。したがって組み立て誤差を考慮して間隔dが0.5mm以上、3.5mm以下であれば、目的を達成することができる。
好ましくは、上記ターミナルプレート133の一端部133bと缶110の短辺部112との間隔dが1mmである場合に電池が変形前の状態で外部衝撃などによる電流消費が発生せず、縦圧縮時に電極組立体より先に電流放電が行われることにする。
上記負極端子134は、上記キャッププレート131、絶縁プレート132およびターミナルプレート133の端子通孔131a、132a、133aを通って挿入される。上記負極端子134が端子通孔131a、132a、133aに挿入された状態で、上記負極端子134は上記ガスケット135によりキャッププレート131と絶縁され、上記ターミナルプレート133とは電気的に接続される。したがって上記ターミナルプレート133は負極端子134と接続されて負の極性を有することになる。
上記負極端子134は上記負極タブ125と接続され、上記正極タブ124は上記キャッププレート131に直接接続され、上記キャッププレート131が結合された上記缶110は正極の役割を果たす。
したがって、正の極性を有する上記缶110に対し、負の極性を有する上記ターミナルプレート133が接触することにより、電流消費による放電が行われる。
もし、上記負極端子134に正極端子124が接続され、上記キャッププレート131に負極タブ125が接続される場合には、上記缶110と上記ターミナルプレート133の極性が変わることになるのは当然であろう。
上記缶110の内部において上記電極組立体120と上記キャップ組立体130との間には絶縁ケース140をさらに備えることができる。
上記絶縁ケース140は、正極タブ通孔141と負極タブ通孔142が形成され、上記正極タブ通孔141を通して上記正極タブ124がキャッププレート131と連続し、上記負極タブ孔142を通して上記負極タブ125が上記ターミナルプレート133と連続する。
(第2の実施形態)
次に、本発明の第二の実施形態に係る二次電池について説明する。
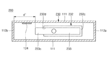
まず、図1に示すように、本発明の第2の実施形態による二次電池は、本発明の第1の実施形態の構成と同様に、缶110と、上記缶110に収納される電極組立体120と、上記缶110の上端開口部を密封するキャップ組立体230とを含む構成を有する。また、上記缶110および電極組立体120とキャップ組立体230の一部構成も同一構成を有する。したがって同一構成に対する詳細な説明は省略する。
図4に示すように、本発明の第2の実施形態に係る二次電池200は、キャップ組立体230において絶縁プレート232とターミナルプレート233とが本発明の第1の実施形態の構成と相違する。
本発明の第2の実施形態に係る二次電池200において、上記絶縁プレート232は側壁232cを含み、上記側壁232cの中で側壁が除去された領域232dを上記缶110の他側短辺部112bと対応する部位に形成する。
また、上記ターミナルプレート233は絶縁プレート232の長さより長く形成する。すなわち、上記ターミナルプレート233の他端部233cが絶縁プレート232より長く形成されて外側に突出する。この時、上記ターミナルプレート233の他端部233cは上記絶縁プレート232の側壁が除去された領域232dを通して長く形成される。
上記ターミナルプレート233の他端部233cと缶110の他側短辺部112bとの間には正極タブ124が設けられている。つまり、ターミナルプレート233の他端部233cと缶110の他側短辺部112bの間の距離は、十分に確保されている。一方、ターミナルプレート233の他端部233cと缶110の長辺部111は近接している。したがって、上記ターミナルプレート233の他端部233cが缶110の他側短辺部112bと接触するよりは、縦圧縮時にターミナルプレート233の他端部233cは缶110の長辺部111と接触して電流消費による放電が行われる。
したがって上記ターミナルプレート233の他端部233cと缶110の他側短辺部112bとの間の間隔d’は限定する必要がない
このように構成された本発明の第1の実施形態および第2の実施形態に係る二次電池の作用を説明する。
図3および図5に示すように、本発明の第1の実施形態に係る二次電池100は、上記キャップ組立体130に正極タブ124と負極タブ125とが電気的に接続された後、上記キャップ組立体130を上記缶110の上端開口部110aに結合させると、上記ターミナルプレート133の一端部133bは上記缶110の内側面と一程間隔dだけ離隔されて電気的に絶縁された状態になる。
このような状態で、二次電池100に対し缶110の短辺部112a、112bの両側方向に縦圧縮が発生すると、缶110の一側短辺部112aは隣接設置されたターミナルプレート133の一端部133bと接触する。したがって縦圧縮の発生初期に正の極性を有している缶110と負の極性を有しているターミナルプレート133とが接触することにより、電流消費による速やかな電流の放電が行われる。このような電流放電は上記電極組立体120の変形が生じる前に行われるので、電極組立体120の過熱による電池の発火および爆発事故を防止することができる。
以上、本発明の第1の実施形態に係る二次電池100は、縦圧縮が発生する初期に上記缶110の短辺部112aがターミナルプレート133の一端部133bと接触して電流消費を誘導することになる。
また、図4および図6に示すように、本発明の第2の実施形態に係る二次電池200は、上記キャップ組立体230に正極タブ124と負極タブ125とが電気的に接続された後、上記缶110の上端開口部110aに結合させると、上記ターミナルプレート233の他端部233cは上記絶縁プレート232の側壁が除去された領域232dによって上記缶110の他側短辺部122bおよび缶110の長辺部111と離隔されて電気的に絶縁された状態になる。
このような状態で、二次電池200に対し、缶100の両側の短辺部122a、122bに対して縦圧縮が発生すると、缶110の長辺部111が折り曲がると共に、ターミナルプレート233の他端部233cと接触する。したがって、正の極性を有している缶110と負の極性を有しているターミナルプレート233とが接触して、電流消費による速やかな電流放電が行われる。このように電極組立体120の内部短絡による過熱が発生する前に電流放電が行われることにより、電池の発火および爆発などの安全性事故を防止することができる。
以上、本発明の第2の実施形態は、二次電池の縦圧縮時、缶110の長辺部111がターミナルプレート233の他端部233cと接触して電流消費を誘導することになる。
(第3の実施形態)
次に、本発明の第3の実施形態に係る二次電池を説明する。
図7は本発明の第3の実施形態に係る二次電池の分解斜視図であり、図8は図7の部分縦断面図であり、図9は図8のB-B’の断面図である。
図7〜図9に示すように、本発明の第3の実施形態に係る二次電池300は、缶110と、上記缶110に収納される電極組立体120と、上記缶110の上端開口部を密封するキャップ組立体330と、上記電極組立体120と上記キャップ組立体330を絶縁するための絶縁ケース340と、上記絶縁ケース340の上面に設けられる導電性プレート350とを含む。
本発明の第3の実施形態において、上記缶110と電極組立体120の構成は、上述した本発明の第1の実施形態と同一であるので、詳細な説明は省略し、同一構成に対して同一符号を使用する。
上記キャップ組立体330はキャッププレート131と絶縁プレート332とターミナルプレート333とを含む。ここで上記キャッププレート131の構成は本発明の第1の実施形態と同一であるので説明を省略する。
上記絶縁プレート332は端子通孔332aが形成された底板332bと、上記底板332bの縁部で下方向に形成された側壁332cから構成される。この時、絶縁プレート332は底板332bの縁部の4辺に側壁332cが連続的に形成され、上記絶縁プレート332の下面に設けられるターミナルプレート333の4辺は上記側壁332cに囲まれることになる。
上記ターミナルプレート333は、上記絶縁プレート332の端子通孔332aと対応する部位に端子通孔333aが形成され、上記絶縁プレート332より短く形成され、ターミナルプレート333の両端部は絶縁プレート332の外側に突出しない。
上記絶縁ケース340は、底板341と、上記底板341の両側長側辺に上方向に突出した側壁342とから構成される。上記底板341には正極タブ通孔343と負極タブ通孔344とが形成される。そして上記正極タブ通孔343を通して上記電極組立体120の正極タブ124がキャッププレート131と電気的に接続され、上記負極タブ通孔344を通して上記電極組立体120の負極タブ125が上記ターミナルプレート333と電気的に接続される。
上記導電性プレート350は、上記正極タブ124が通過する位置に正極タブ通孔351が形成され、上記負極タブ125が通過する位置に負極タブ通孔352が形成される。上記正極タブ通孔351と負極タブ通孔352は、正極タブ124と負極タブ125の断面積より通孔の面積がより大きく形成され、通過する正極タブ124および負極タブ125は導電性プレート350と接触しない。
上記導電性プレート350は上記絶縁ケース340の底板341の長さより長く形成される。したがって、上記導電性プレート350は両端部が缶110の短辺部112の内側面と当接して缶110と同一の正の極性を有することになる。
図7および図8に示すように、本発明の第3の実施形態においては上記導電性プレート350を上記絶縁ケース340と別の構成として例示して説明したが、通常の合成樹脂で製造される上記絶縁ケース340の成形時、上記導電性プレート350をインサート方式によって射出成形することができる。したがって上記絶縁ケース340は上記導電性プレート350と一体に形成することができる。
このように構成される本発明の第3の実施形態に係る二次電池300の作用を説明する。
図9および図10に示すように、二次電池300に縦圧縮が発生する前は、上記電極組立体120の負極タブ125は上記導電性プレート350の負極タブ通孔352を通過して上記キャップ組立体330のターミナルプレート333と接続された状態になる。この時、上記負極タブ125は導電性プレート350とは電気的に接続されていない状態になる。
そして上記導電性プレート350は両端部が缶110の短辺部112と接触して正の極性を有することになる。この時、電極組立体120の正極タブ124は導電性プレート350の正極タブ通孔351の通過時に、導電性プレート350と接触しても正極タブ124と導電性プレート350とは同一極性であるためショートが発生しなくなる。
このような状態で、二次電池300に対し、缶の短辺部112の両側方向に縦圧縮が発生すると、缶110の長辺部111の変形によって絶縁ケース340と絶縁ケース340の上面に設けられた導電性プレート350が折り曲がることになる。したがって負極タブ通孔352の形状が歪み、負極タブ125は導電性プレート350と接触することにより、電流消費による電流放電が行われる。
さらに、本発明の第3の実施形態は、缶110の縦圧縮が進行しながら導電性プレート350が上方向に折り曲がることにより、導電性プレート350の上面と上記負極タブ125のジグザグ状に折り曲がった折曲面125aが互いに面接触することから、より確実に電流放電が行われる。
このように本発明の第3の実施形態による二次電池300は、正の極性を有している缶110と電気的に接続された導電性プレート350が負極タブ125と接触することにより、電流消費による速やかな電流放電が行われる。したがって、縦圧縮が発生する初期時点から電池の電流が放電され、電極組立体の過熱による電池の発火および爆発などの事故を防止することができる。
以上、本発明の第3の実施形態は、縦圧縮時に缶110と接触する導電性プレート350を絶縁ケース340の上面に設け、絶縁ケース340を貫通して設けられた負極タブ125と導電性プレート350とが接触して電流消費を誘導することになる。
以上、添付図面を参照しながら本発明の好適な実施形態について詳細に説明したが、本発明はかかる例に限定されない。本発明の属する技術の分野における通常の知識を有する者であれば、特許請求の範囲に記載された技術的思想の範疇内において、各種の変更例または修正例に想到し得ることは明らかであり、これらについても、当然に本発明の技術的範囲に属するものと了解される。
本発明の第1の実施形態に係る二次電池を示す分解斜視図である。 図1の部分縦断面図である。 図2のA-A’の断面図である。 図1に対する本発明の第2の実施形態に係る二次電池の断面図である。 本発明の第1の実施形態に係る二次電池の縦圧縮時の状態断面図である。 本発明の第2の実施形態に係る二次電池の縦圧縮時の状態断面図である。 本発明の第3の実施形態に係る二次電池の分解斜視図である。 図7の部分縦断面図である。 図8のB-B’の断面図である。 本発明の第3の実施形態に係る二次電池の縦圧縮時の状態断面図である。
100、200、300 二次電池
110 缶
111 長辺部
112、112a、112b 短辺部
120 電極組立体
124 正極タブ
125 負極タブ
130 キャップ組立体
131 キャッププレート
132、232、332 絶縁プレート
133、233、333 ターミナルプレート
134 負極端子
340 絶縁ケース
350 導電性プレート

Claims (15)

  1. 電極組立体と、
    前記電極組立体が内部に収容される缶と、
    前記缶の上端開口部を密封するキャップ組立体と、
    を含み、
    縦圧縮時に前記缶と接触して電流消費を誘導する放電誘導部材を含む二次電池。
  2. 前記缶の側面は、
    長辺部と、
    前記長辺部に対して幅が狭い短辺部と、
    を含み、
    前記放電誘導部材は、縦圧縮時、前記缶の一側短辺部と接触する方向に延伸形成された前記キャップ組立体のターミナルプレートであることを特徴とする請求項1に記載の二次電池。
  3. 前記ターミナルプレートは、前記缶の一側短辺部と対向する一端部が絶縁プレートの一端部より長く形成されることを特徴とする請求項2に記載の二次電池。
  4. 前記ターミナルプレートの一端部と前記缶の一側短辺部との間隔dは0.5〜3.5mmであることを特徴とする請求項3に記載の二次電池。
  5. 前記ターミナルプレートの一端部と前記缶の一側短辺部との間隔dは1mmであることを特徴とする請求項4に記載の二次電池。
  6. 前記ターミナルプレートは、前記缶の一側短辺部と対向する一端部に対し、反対側の他端部が絶縁プレートより長く形成されることを特徴とする請求項2に記載の二次電池。
  7. 前記絶縁プレートは、
    底板と、
    前記底板の縁部から突出形成された側壁を含み、前記底板の縁部において、前記ターミナルプレートの少なくともある一部が延伸形成される部位に前記側壁が除去された領域が形成されることを特徴とする請求項3または請求項6に記載の二次電池。
  8. 前記缶は前記電極組立体の正極タブと電気的に接続されることを特徴とする請求項2に記載の二次電池。
  9. 前記ターミナルプレートは前記電極組立体の負極タブと電気的に接続されることを特徴とする請求項2に記載の二次電池。
  10. 前記電極組立体と前記キャップ組立体との間に絶縁ケースが設けられ、
    前記放電誘導部材は前記絶縁ケースに含まれる導電性プレートであることを特徴とする請求項1に記載の二次電池。
  11. 前記導電性プレートは前記絶縁ケースの上面に積層設置されることを特徴とする請求項10に記載の二次電池。
  12. 前記導電性プレートは、前記絶縁ケースにインサート射出成形されて一体に形成されることを特徴とする請求項10に記載の二次電池。
  13. 前記導電性プレートは、前記電極組立体の電極タブが通過する電極タブ通孔が形成されることを特徴とする請求項10に記載の二次電池。
  14. 前記缶は前記電極組立体の正極タブと電気的に接続されることを特徴とする請求項10に記載の二次電池。
  15. 前記導電性プレートの電極タブ通孔を通過する電極タブは負極タブであることを特徴とする請求項13に記載の二次電池。
JP2009145576A 2008-06-23 2009-06-18 二次電池 Active JP5356122B2 (ja)

Applications Claiming Priority (2)

Application Number Priority Date Filing Date Title
KR10-2008-0059129 2008-06-23
KR1020080059129A KR101002518B1 (ko) 2008-06-23 2008-06-23 이차 전지

Related Child Applications (1)

Application Number Title Priority Date Filing Date
JP2013144780A Division JP5728051B2 (ja) 2008-06-23 2013-07-10 二次電池

Publications (2)

Publication Number Publication Date
JP2010003690A true JP2010003690A (ja) 2010-01-07
JP5356122B2 JP5356122B2 (ja) 2013-12-04

Family

ID=41059567

Family Applications (2)

Application Number Title Priority Date Filing Date
JP2009145576A Active JP5356122B2 (ja) 2008-06-23 2009-06-18 二次電池
JP2013144780A Active JP5728051B2 (ja) 2008-06-23 2013-07-10 二次電池

Family Applications After (1)

Application Number Title Priority Date Filing Date
JP2013144780A Active JP5728051B2 (ja) 2008-06-23 2013-07-10 二次電池

Country Status (5)

Country Link
US (1) US20090317665A1 (ja)
EP (1) EP2144312B1 (ja)
JP (2) JP5356122B2 (ja)
KR (1) KR101002518B1 (ja)
CN (1) CN101615688B (ja)

Cited By (8)

* Cited by examiner, † Cited by third party
Publication number Priority date Publication date Assignee Title
WO2011096035A1 (ja) * 2010-02-05 2011-08-11 パナソニック株式会社 角形電池
JP2011171297A (ja) * 2010-02-18 2011-09-01 Sb Limotive Co Ltd 二次電池
WO2012114697A1 (ja) * 2011-02-22 2012-08-30 パナソニック株式会社 角形電池
WO2013031056A1 (ja) * 2011-08-31 2013-03-07 パナソニック株式会社 角形電池
EP2829430A2 (en) 2013-07-12 2015-01-28 GS Yuasa International Ltd. Discharge control device, discharge control method, and computer readable medium
US9023513B2 (en) 2009-08-27 2015-05-05 Samsung Sdi Co., Ltd. Rechargeable secondary battery having improved safety against puncture and collapse
JP2015118912A (ja) * 2013-12-16 2015-06-25 三星エスディアイ株式会社Samsung SDI Co.,Ltd. 絶縁ケースを有する二次電池
JP2020167022A (ja) * 2019-03-29 2020-10-08 トヨタ自動車株式会社 蓄電装置

Families Citing this family (20)

* Cited by examiner, † Cited by third party
Publication number Priority date Publication date Assignee Title
US10629947B2 (en) 2008-08-05 2020-04-21 Sion Power Corporation Electrochemical cell
WO2010016881A1 (en) 2008-08-05 2010-02-11 Sion Power Corporation Application of force in electrochemical cells
KR101036070B1 (ko) * 2010-01-26 2011-05-19 에스비리모티브 주식회사 이차 전지
KR101094046B1 (ko) 2010-01-26 2011-12-19 에스비리모티브 주식회사 이차 전지
KR101165514B1 (ko) 2010-01-27 2012-07-16 에스비리모티브 주식회사 이차 전지
US9293756B2 (en) 2010-09-17 2016-03-22 Samsung Sdi Co., Ltd. Rechargeable battery
US20120183825A1 (en) * 2011-01-14 2012-07-19 Seung-Hun Lee Secondary battery and method of manufacturing the same
KR101807911B1 (ko) 2011-06-17 2017-12-11 시온 파워 코퍼레이션 전극 도금 기술
US9331312B2 (en) 2011-10-12 2016-05-03 Samsung Sdi Co., Ltd. Secondary battery
KR101925584B1 (ko) 2011-11-30 2018-12-06 삼성에스디아이 주식회사 이차 전지
KR102087599B1 (ko) 2013-10-01 2020-03-12 삼성에스디아이 주식회사 이차 전지
JP2015204248A (ja) * 2014-04-16 2015-11-16 住友電気工業株式会社 角型電池用電気絶縁シート、角型電池、及び角型電池の製造方法
WO2018213661A2 (en) 2017-05-19 2018-11-22 Sion Power Corporation Passivating agents for electrochemical cells
US10868306B2 (en) 2017-05-19 2020-12-15 Sion Power Corporation Passivating agents for electrochemical cells
CN114128024A (zh) 2019-06-21 2022-03-01 赛昂能源有限公司 用于向电化学装置施加力的方法、系统和装置
KR20220104001A (ko) 2019-11-19 2022-07-25 시온 파워 코퍼레이션 배터리, 관련 시스템 및 방법
US11791511B2 (en) 2019-11-19 2023-10-17 Sion Power Corporation Thermally insulating compressible components for battery packs
US11978917B2 (en) 2019-11-19 2024-05-07 Sion Power Corporation Batteries with components including carbon fiber, and associated systems and methods
US11984575B2 (en) 2019-11-19 2024-05-14 Sion Power Corporation Battery alignment, and associated systems and methods
US11923495B2 (en) 2020-03-13 2024-03-05 Sion Power Corporation Application of pressure to electrochemical devices including deformable solids, and related systems

Citations (5)

* Cited by examiner, † Cited by third party
Publication number Priority date Publication date Assignee Title
JPH1173941A (ja) * 1997-08-29 1999-03-16 Toyota Motor Corp 電池の安全装置
JP2006049312A (ja) * 2004-07-30 2006-02-16 Samsung Sdi Co Ltd 缶型二次電池
JP2006310294A (ja) * 2005-04-25 2006-11-09 Samsung Sdi Co Ltd 缶型リチウム二次電池
JP2007335104A (ja) * 2006-06-12 2007-12-27 Sony Corp 電池およびキャップ
JP2008181683A (ja) * 2007-01-23 2008-08-07 Sony Corp 電池

Family Cites Families (3)

* Cited by examiner, † Cited by third party
Publication number Priority date Publication date Assignee Title
EP0924783B1 (en) * 1997-12-22 2003-04-09 Japan Storage Battery Company Limited Process for producing a porous pasted electrode
JP4440548B2 (ja) * 2002-02-13 2010-03-24 パナソニック株式会社 電池とその製造方法
JP4984551B2 (ja) * 2006-01-27 2012-07-25 ソニー株式会社 電池

Patent Citations (5)

* Cited by examiner, † Cited by third party
Publication number Priority date Publication date Assignee Title
JPH1173941A (ja) * 1997-08-29 1999-03-16 Toyota Motor Corp 電池の安全装置
JP2006049312A (ja) * 2004-07-30 2006-02-16 Samsung Sdi Co Ltd 缶型二次電池
JP2006310294A (ja) * 2005-04-25 2006-11-09 Samsung Sdi Co Ltd 缶型リチウム二次電池
JP2007335104A (ja) * 2006-06-12 2007-12-27 Sony Corp 電池およびキャップ
JP2008181683A (ja) * 2007-01-23 2008-08-07 Sony Corp 電池

Cited By (16)

* Cited by examiner, † Cited by third party
Publication number Priority date Publication date Assignee Title
US9023513B2 (en) 2009-08-27 2015-05-05 Samsung Sdi Co., Ltd. Rechargeable secondary battery having improved safety against puncture and collapse
US20120301757A1 (en) * 2010-02-05 2012-11-29 Tomohiko Yokoyama Rectangular battery
WO2011096035A1 (ja) * 2010-02-05 2011-08-11 パナソニック株式会社 角形電池
JP5525551B2 (ja) * 2010-02-05 2014-06-18 パナソニック株式会社 角形電池
US9362587B2 (en) * 2010-02-05 2016-06-07 Panasonic Intellectual Property Management Co., Ltd. Rectangular battery
JP2011171297A (ja) * 2010-02-18 2011-09-01 Sb Limotive Co Ltd 二次電池
US8691424B2 (en) 2010-02-18 2014-04-08 Samsung Sdi Co., Ltd. Rechargeable battery
WO2012114697A1 (ja) * 2011-02-22 2012-08-30 パナソニック株式会社 角形電池
JP5113959B2 (ja) * 2011-02-22 2013-01-09 パナソニック株式会社 角形電池
US9455422B2 (en) 2011-08-31 2016-09-27 Panasonic Intellectual Property Management Co., Ltd. Rectangular battery
WO2013031056A1 (ja) * 2011-08-31 2013-03-07 パナソニック株式会社 角形電池
EP2829430A2 (en) 2013-07-12 2015-01-28 GS Yuasa International Ltd. Discharge control device, discharge control method, and computer readable medium
US9673642B2 (en) 2013-07-12 2017-06-06 Gs Yuasa International Ltd. Discharge control device, discharge control method and computer readable medium
JP2015118912A (ja) * 2013-12-16 2015-06-25 三星エスディアイ株式会社Samsung SDI Co.,Ltd. 絶縁ケースを有する二次電池
JP2020167022A (ja) * 2019-03-29 2020-10-08 トヨタ自動車株式会社 蓄電装置
JP7151592B2 (ja) 2019-03-29 2022-10-12 トヨタ自動車株式会社 蓄電装置

Also Published As

Publication number Publication date
JP5728051B2 (ja) 2015-06-03
CN101615688B (zh) 2012-08-15
EP2144312A1 (en) 2010-01-13
JP2013232432A (ja) 2013-11-14
EP2144312B1 (en) 2017-09-06
CN101615688A (zh) 2009-12-30
KR101002518B1 (ko) 2010-12-17
US20090317665A1 (en) 2009-12-24
KR20090132926A (ko) 2009-12-31
JP5356122B2 (ja) 2013-12-04

Similar Documents

Publication Publication Date Title
JP5728051B2 (ja) 二次電池
JP4499684B2 (ja) 缶型リチウム二次電池
KR100624934B1 (ko) 원통형 리튬 이차 전지
EP2816637A1 (en) Rechargeable battery
KR100591422B1 (ko) 캔형 이차전지
KR101925584B1 (ko) 이차 전지
KR20060102751A (ko) 리튬 이차전지
KR20150101862A (ko) 이차 전지
KR101975392B1 (ko) 이차 전지
KR101073193B1 (ko) 이차전지
KR20150086797A (ko) 이차 전지
US20120208075A1 (en) Secondary Battery
KR100659848B1 (ko) 리튬 이차전지용 캔 및 이를 이용한 리튬 이차전지
KR100646536B1 (ko) 원통형 리튬 이차 전지
KR100624941B1 (ko) 원통형 리튬 이차 전지
KR100696781B1 (ko) 이차 전지
KR100601499B1 (ko) 원통형 리튬 이차 전지
KR100601532B1 (ko) 이차 전지
KR20070097151A (ko) 이차 전지
KR100670428B1 (ko) 이차전지
KR100686811B1 (ko) 원통형 리튬 이차 전지
KR100686833B1 (ko) 이차 전지
KR20060087002A (ko) 리튬 이차전지
KR20060037828A (ko) 원통형 리튬 이차 전지
KR20150049609A (ko) 안전성이 향상된 이차전지

Legal Events

Date Code Title Description
A977 Report on retrieval

Free format text: JAPANESE INTERMEDIATE CODE: A971007

Effective date: 20120224

A131 Notification of reasons for refusal

Free format text: JAPANESE INTERMEDIATE CODE: A131

Effective date: 20120306

A521 Request for written amendment filed

Free format text: JAPANESE INTERMEDIATE CODE: A523

Effective date: 20120605

RD03 Notification of appointment of power of attorney

Free format text: JAPANESE INTERMEDIATE CODE: A7423

Effective date: 20120605

A02 Decision of refusal

Free format text: JAPANESE INTERMEDIATE CODE: A02

Effective date: 20130312

A521 Request for written amendment filed

Free format text: JAPANESE INTERMEDIATE CODE: A523

Effective date: 20130710

A911 Transfer to examiner for re-examination before appeal (zenchi)

Free format text: JAPANESE INTERMEDIATE CODE: A911

Effective date: 20130726

TRDD Decision of grant or rejection written
A01 Written decision to grant a patent or to grant a registration (utility model)

Free format text: JAPANESE INTERMEDIATE CODE: A01

Effective date: 20130820

A61 First payment of annual fees (during grant procedure)

Free format text: JAPANESE INTERMEDIATE CODE: A61

Effective date: 20130828

R150 Certificate of patent or registration of utility model

Free format text: JAPANESE INTERMEDIATE CODE: R150

Ref document number: 5356122

Country of ref document: JP

Free format text: JAPANESE INTERMEDIATE CODE: R150

R250 Receipt of annual fees

Free format text: JAPANESE INTERMEDIATE CODE: R250

R250 Receipt of annual fees

Free format text: JAPANESE INTERMEDIATE CODE: R250

R250 Receipt of annual fees

Free format text: JAPANESE INTERMEDIATE CODE: R250

R250 Receipt of annual fees

Free format text: JAPANESE INTERMEDIATE CODE: R250

R250 Receipt of annual fees

Free format text: JAPANESE INTERMEDIATE CODE: R250

R250 Receipt of annual fees

Free format text: JAPANESE INTERMEDIATE CODE: R250

R250 Receipt of annual fees

Free format text: JAPANESE INTERMEDIATE CODE: R250

R250 Receipt of annual fees

Free format text: JAPANESE INTERMEDIATE CODE: R250

R250 Receipt of annual fees

Free format text: JAPANESE INTERMEDIATE CODE: R250

R250 Receipt of annual fees

Free format text: JAPANESE INTERMEDIATE CODE: R250