JP2010003591A - スイッチ - Google Patents

スイッチ Download PDF

Info

Publication number
JP2010003591A
JP2010003591A JP2008162600A JP2008162600A JP2010003591A JP 2010003591 A JP2010003591 A JP 2010003591A JP 2008162600 A JP2008162600 A JP 2008162600A JP 2008162600 A JP2008162600 A JP 2008162600A JP 2010003591 A JP2010003591 A JP 2010003591A
Authority
JP
Japan
Prior art keywords
push knob
switch
lens
push
knob
Prior art date
Legal status (The legal status is an assumption and is not a legal conclusion. Google has not performed a legal analysis and makes no representation as to the accuracy of the status listed.)
Granted
Application number
JP2008162600A
Other languages
English (en)
Other versions
JP5074309B2 (ja
Inventor
Kotaro Mae
航太郎 前
Hisashi Matsuhashi
寿 松橋
Current Assignee (The listed assignees may be inaccurate. Google has not performed a legal analysis and makes no representation or warranty as to the accuracy of the list.)
Valeo Japan Co Ltd
Original Assignee
Niles Co Ltd
Priority date (The priority date is an assumption and is not a legal conclusion. Google has not performed a legal analysis and makes no representation as to the accuracy of the date listed.)
Filing date
Publication date
Application filed by Niles Co Ltd filed Critical Niles Co Ltd
Priority to JP2008162600A priority Critical patent/JP5074309B2/ja
Publication of JP2010003591A publication Critical patent/JP2010003591A/ja
Application granted granted Critical
Publication of JP5074309B2 publication Critical patent/JP5074309B2/ja
Expired - Fee Related legal-status Critical Current
Anticipated expiration legal-status Critical

Links

Images

Landscapes

  • Switches With Compound Operations (AREA)
  • Switch Cases, Indication, And Locking (AREA)

Abstract

【課題】プッシュノブが照明されるようにしたスイッチをより簡便な構成で提供する。
【解決手段】プッシュノブ20と、プッシュノブ20を囲むプッシュノブ10と、光源73からの光をプッシュノブ10とプッシュノブ20に導くレンズ90と、を有するスイッチ1であって、プッシュノブ20を、プリント基板70に設けられたスイッチ65の被押圧部65bにレンズ90を介して載置し、プッシュノブ10のプッシュノブ20側の内壁12を、プッシュノブ10のフランジ部22で支持させると共に、反対側の外壁13を、プリント基板70に設けられたスイッチ64の被押圧部64bに載置されたプッシュロッド59に載置させ、レンズ90を、スイッチ65の被押圧部65bで傾斜可能に支持させた構成とした。
【選択図】図3

Description

本発明は、プッシュノブが照明されるようにしたスイッチに関する。
プッシュノブの真下に配置した光源からの光で、プッシュノブが照明されるようにしたスイッチがある(例えば特許文献1)。
特開平07−249347号公報
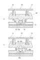
近年、光源からの光を、プッシュノブに直接照射させずに、レンズを通過させたのちに照射するようにしたスイッチが種々提案されており、このようなスイッチとして、例えば図12に示したような構成のスイッチがある。
図12の(a)は、従来例に係るスイッチの断面図であり、(b)は、(a)におけるA−A線で示す断面を矢視方向から見た図である。
図12の(a)に示すように、従来例に係るスイッチ200では、第1プッシュノブ201と、第1プッシュノブ201を囲む第2プッシュノブ202とが設けられており、第1プッシュノブ201の真下に設けた光源203からの光が、レンズ204を通過したのちに第1プッシュノブ201に照射されるようになっている。
このスイッチ200では、図12の(b)に示すように、レンズ204の下端から横方向に延出させた接続部205に設けた可動接点206と、基板207に設けた図示しない接点とからなるスイッチ208を設けて、このスイッチ208のON、OFFで、第1プッシュノブ201の操作を検知できるようにしている。
ここで、スイッチ200では、第1プッシュノブ201とレンズ204との間に、可動部材209を設けて、第1プッシュノブ201に加えられた付勢力が、可動部材209を介して、レンズ204に伝達されるようにしている。
ここで、可動部材209の下端には、半球形状の摺動部209aが形成されており、この摺動部209aは、第2プッシュノブ202が操作された際に、摺動部209aがレンズ204の上面を摺動することで、可動部材209が接続部205を基板207側に付勢するのを防止して、スイッチ208がONにされないようにするために設けられている。
しかし、近年、部品点数の削減が望まれており、より簡単な構成のスイッチとすることが望まれている。
本発明は、プッシュノブが照明されるようにしたスイッチをより簡便な構成で提供できるようにすることを目的とする。
本発明は、第1のプッシュノブと、第1のプッシュノブを囲む第2のプッシュノブと、光源からの光を第1のプッシュノブと第2のプッシュノブに導くレンズと、を有するスイッチであって、第1のプッシュノブを、基板に設けられた第1のスイッチの可動接点を有する被押圧部に、レンズを介して載置し、第2のプッシュノブの第1のプッシュノブ側を、第1のプッシュノブで支持させると共に、反対側を、基板に設けられた第2のスイッチの可動接点を有する被押圧部に載置させ、レンズを第1のスイッチの被押圧部で傾斜可能に支持させたスイッチとした。
本発明によれば、第1のプッシュノブを囲む第2のプッシュノブが操作されて、レンズを第2のプッシュノブの操作方向に傾ける力が作用しても、第1のスイッチの被押圧部で傾斜可能に支持されているレンズが傾くことで、レンズを第2のプッシュノブの操作方向に傾ける力を第1のスイッチの被押圧部に作用させない。よって、第1のスイッチの被押圧部の可動接点が基板側に変位させられて、第1のスイッチが作動することがない。
よって、従来の装置のように、操作のノブの移動をレンズに伝達する可動部材を設ける必要がないので、部品点数を削減することができ、より簡単な構成のスイッチとなる。
以下、本発明の実施例を説明する。
図1は、実施形態にかかるスイッチの平面図であり、図2は、図1に示すスイッチの分解斜視図であり、図3は、図1におけるA−A線断面図であり、図4は、レンズの平面図であり、図5は、図1におけるB−B線断面図である。
図1に示すように、実施形態にかかるスイッチ1は、リング形状のプッシュノブ10および円形のプッシュノブ20が上面に露出させて設けられたスイッチであり、例えば車両用ハンドルに埋め込まれて、車載機器の操作などに用いられる。
プッシュノブ10は、周方向に沿って90度間隔で被操作位置が設けられた4方向スイッチであり、例えば本実施形態では、図中「□」で示す領域a〜dに、ユーザが機器を操作するために押圧する被操作位置が設定されている。
プッシュノブ10は、図中点線で囲むリング状の領域α内が、スイッチ1内部に設けた光源からの光が照射されて照明される面とされている。
プッシュノブ20は、上面全体が被操作部とされており、中央の点線で囲む円形領域β内が照明される面とされている。なお、プッシュノブ10およびプッシュノブ20はともに、光透過性のある樹脂材料から形成されている。
図2に示すように、スイッチ1は、アッパケース30とロアケース40とからなる本体ケース内に、ベース50、ラバコンシート60、そしてプリント基板70などが設けられて構成される。
プッシュノブ10は、ジョイント80を介してベース50に取り付けられ、レンズ90は、ジョイント80の内側で、プッシュノブ20とラバコンシート60との間で挟み込まれた状態で配置される。
アッパケース30は、上面視において矩形形状を有しており、中央部にプッシュノブ10およびプッシュノブ20の上面を露出させる開口31が設けられている。
図3に示すように、プッシュノブ10では、中央部に形成された開口11を全周に亘って囲む内壁12が、発光面10aとは反対側の面から下方向(レンズ90の方向)に延出して設けられており、プッシュノブ10の外周縁にも、内壁12と同方向に伸びる外壁13が、内壁12を所定間隔で囲むように設けられている。
外壁13の延出長さh1は、内壁12の延出長さh2よりも短く設定されており、外壁13の下端には、径方向外側に延出するフランジ部14が形成されている。フランジ部14は、上面視においてプッシュノブ10の外壁13の全周に亘って形成されており、フランジ部14の下面14aは、後記するプッシュロッド100をプリント基板70側に押圧する押圧面となる。
図2に示すように、プッシュノブ10では、外壁13の下端から下方向に突出させて取付部15が設けられている。
取付部15は、上面視において、開口11を挟んで対向する位置(周方向180度位置)、具体的には図1におけるY−Y線と外壁13とが交差する位置に設けられており、取付部15の孔15aに、後記するジョイント80の外側突起82を径方向の内側から外側に挿通させることで、ジョイント80に支持される。
これにより、プッシュノブ10は、ジョイント80において一軸周りに揺動可能に支持される。
図3に示すように、プッシュノブ20は、有底の円筒形状を有しており、上壁部24の周縁から下方向に伸びる周壁部21の下端には、径方向外側に延びるフランジ部22が全周に亘って形成されている。
周壁部21の長さh3は、プッシュノブ10の内壁12の長さh2よりも長く形成されており、スイッチ1において、プッシュノブ10の内壁12の下端が、プッシュノブ20のフランジ部22の上面に載置された状態で、プッシュノブ10と、プッシュノブ20とが組み付けられるようになっている。
また、周壁部21の外周面には、軸方向(図3において上下方向)に延びる突起23が、計三カ所、周方向に沿って90度間隔で設けられている(図2参照)。突起23は、プッシュノブ20の上壁部24の発光面20aとは反対側の面からフランジ部22までの範囲に形成されている。
この突起23は、プッシュノブ10の内壁12に形成されたガイド溝16(図2参照)と整合する幅で形成されており、突起23は、プッシュノブ10の開口11内に配置されたプッシュノブ20が、上下移動するときのガイドとして機能する。
ジョイント80は、上面視においてリング形状を有しており、中央の開口81を挟んで対向する位置、具体的には図1におけるY−Y線とジョイント80とが交差する位置の下端には、径方向外側に突出する円柱形状の外側突起82が設けられている。
図3に示すように、ジョイント80の外径は、プッシュノブ10の外壁13の内径よりも小さく設定されており、ジョイント80とプッシュノブ10とを組み付けた際に、断面視において、ジョイント80の少なくとも上側半分が、プッシュノブ10の外壁13に囲まれた空間内に配置されるようになっている。
さらに、ジョイント80の内周面では、開口81を挟んで対向する位置、具体的には図1におけるX−X線とジョイント80とが交差する位置の下端に、径方向内側に突出する円柱形状の内側突起83が設けられている。
ここで、内側突起83は、外側突起82から、ジョイント80の周方向に90度オフセットした位置に設けられており、内側突起83を、後記するベース50に設けられたジョイント取付部54の孔54aに、径方向外側から内側に挿通させることで、ジョイント80が、ベース50において一軸周りに揺動可能に支持されるようになっている。
ここで、ジョイント80の揺動軸(図1においてX−X線で示す軸)と、プッシュノブ10の揺動軸(図2においてY−Y線で示す軸)とは、互いに直交しているので、プッシュノブ10が組み付けられたジョイント80をベース50に取り付けると、プッシュノブ10は、図1においてX−X線で示す軸と、Y−Y線で示す軸の2軸周りに揺動可能となり、ユニバーサルジョイントが形成されている。
よって、プッシュノブ10は、周方向において90度おきに被操作位置(図中「□」示す)が設定された4方向スイッチとして機能することになる。
図4は、レンズ90をロアケース40側から見た平面図である。
レンズ90は、平面視において略円形形状の本体部91と、本体部91の端部から接線方向に延出する延出部92とを備えている。
図3に示すように、レンズ90では、本体部91の上側の面が、後記する光源73から入射した光を、プッシュノブ10およびプッシュノブ20に向けて出射する出射面とされている。
本体部91の中央部には、プッシュノブ20の周壁部21の内径と整合する外径の円柱部93が、上方に延出して形成されており、円柱部93の上端面93aが、上方に位置するプッシュノブ20に向けて光を出射する出射面となっている。
さらに、円柱部93を囲むようにリング形状の凹溝94が形成されており、凹溝94は、プッシュノブ20の下端に形成されたフランジ部22を支持する支持部となっている。
また、リング状の凹溝94を囲む周壁部95は、下端から所定距離離間した位置から上方に進むに従って縮径すると共に、円柱部93の上端面93aを超えた位置からさらに大きく縮径しており、プッシュノブ10に向けて光を出射する出射面95a、95bを成している。
本体部91の下面91aには、円柱形状の開口96と、開口96を囲むように設けられた円筒形状の被支持部97が設けられている。
被支持部97の下端97aは、本体部91の下面91aよりも下方に突出しており、後記するスイッチ65で支持されている。
図4および図5に示すように、レンズ90の延出部92では、先端部に、プリント基板70側に突出する突出部92aが設けられており、突出部92aの下端面が、光源73から照射された光が入射する入射面92cとされている。突出部92aの上面は、テーパ面92dとされており、入射面92cから入射した光が、テーパ面92dで反射されて、進行方向を延出部92の本体部91側に変えられたのちに、延出部92内で反射を繰り返しながら本体部91側に向けて導かれるようになっている。
なお、本体部91内に導かれた光は、本体部91内を反射しながら本体部91の全体に行き渡ったのち、上方に設けた出射面93a、95a、95b(図3参照)から、それぞれ対応するプッシュノブ20、プッシュノブ10に向けて出射されるようになっている。
本実施形態では、レンズ90が、プッシュノブ10、20に向けて光を出射する出射面93a、95a、95bを有する本体部91と、本体部91から離間した位置に入射面92cを設けて、入射面92cから入射した光を本体部91に導く延出部92とを備えているのでプッシュノブ10、20の照明のために複数の光源を設ける必要がない。
さらに、照明するプッシュノブの真下に光源を設ける必要がないので、光源の代わりにプッシュノブの操作を検知するスイッチを、プッシュノブの真下に配置できるので、プッシュノブが操作されたことを精度良く検知できるようになっている。
図2および図3に示すように、ベース50の上壁部51の中央部には、レンズ90を内側に収容する開口52が設けられており、この開口52の周縁には、上方に延出する周壁部53が、全周に亘って設けられている。
図2に示すように、周壁部53の開口52を挟んで対向する位置(周方向180度位置)、具体的には図1におけるX−X線と周壁部53とが交差する位置に、ジョイント取付部54が設けられており、ジョイント取付部54は、側面視において曲面形状を成す上端部を周壁部53の上端よりも上方に突出させて設けられている。
ジョイント取付部54には、ジョイント80の内側突起83を挿通させる孔54aが形成されており、ジョイント80は、ベース50において1軸周りに揺動可能に支持される。
ベース50の周壁部53の外周面には、周方向に沿って90度間隔で、プッシュロッド取付部55が、径方向外側に延出して設けられている。
図6に示すように、プッシュロッド取付部55は、ベース50の上壁部51から上方に突出して形成されており、後記するプッシュロッド100の押圧部100aを収容する収容部56を内側に形成すると共に、プッシュロッド100の軸100bを挿通する挿通孔57が、上下方向に貫通して設けられている。
プッシュロッド100は、押圧部100aを、後記するスイッチ64の上に載置させ、軸100bの上端をプッシュノブ10のフランジ部14の下面14aに当接させて設けられており、図中上下方向に移動可能に設けられている。
本実施形態では、プッシュロッド取付部55は、プッシュノブ10に設定された被操作位置a〜dに対応させて設けられている。
さらに、図2および図5に示すように、上壁部51において、レンズ90の延出部92の直上に位置する範囲には、プッシュノブ10側に突出する遮光壁部58が形成されている。
遮光壁部58は、延出部92の入射面92cの直上の位置から、延出部92の上方の全域に亘って、延出部92との接触を避けつつ延出部92を覆うように設けられており、入射面92cから入射した光が、延出部92の上部から漏出しても、漏出した光が、遮光壁部58で遮られて、プッシュノブ10に直接照射されないようにするために設けられている。
漏出した光がプッシュノブ10に直接照射されると、照射された部分の明るさが他の部分の明るさと異なり、プッシュノブ10の明るさにバラツキが生じてしまうからである。
ベース50は、上壁部51の周縁からロアケース40側に延出した周壁部51aを、ロアケース40の周壁部41にインロー嵌合させて、ロアケース40に取り付けられる。そして、その状態で、アッパケース30の周壁部32を、ベース50の周壁部51aにインロー嵌合させることで、アッパケース30とロアケース40とからなるスイッチ1の本体ケースが形成される。
図3に示すように、ラバコンシート60は、ロアケース40内に配置されたプリント基板70の周縁に、周壁部61を外嵌させて、プリント基板70に載置されている。
ラバコンシート60は、プリント基板70に載置される載置部62と、載置部62同士を繋ぐ上壁部63と、スイッチ64、65と、プリント基板70上に設けられた光源73を保護するための筒状壁67(図5参照)とを備えており、これらは可撓性と弾性に優れたゴム系の材料から一体に形成されている。
図6に示すように、載置部62は、プリント基板70上に露出する固定接点71、72、および光源73(図5参照)を囲むように設けられている。
スイッチ64は、プリント基板70の表面に露出する固定接点71と、下面に固定接点71と対になる可動接点66が設けられた円筒部64aと、円筒部64aの上に設けられて、円筒部64aよりも一回り大きい直径を有する略円筒形状の被押圧部64bと、被押圧部64bの下端側の周縁から載置部62側に延出する周壁部64cとから構成される。
周壁部64cは、被押圧部64bから離れるにつれて内径が広くなるように形成されており、その先端は載置部62に接続している。周壁部64cは、プリント基板70から上方に所定距離離間した位置に被押圧部64bを位置させて、その下端に接続する円筒部64aの可動接点66と、プリント基板70の固定接点71とを離間させる。
スイッチ64は、被押圧部64bでプッシュロッド100をプッシュノブ10側に付勢した状態で配置される。
ユーザによるプッシュノブ10の操作により、プッシュノブ10が押し下げられてプッシュロッド100がプリント基板70側に押し込まれると、プッシュロッド100は、スイッチ64をプリント基板70側に付勢する。
この際、周壁部64cが撓んで変形し、円筒部64aと被押圧部64bをプリント基板70側へ移動させるので、スイッチ64は、円筒部64aの可動接点66がプリント基板70の固定接点71と接触するまで、プリント基板70側に移動する。
また、プッシュノブ10の押し下げが終了すると、ラバコンシート60は弾性に富む材料から構成されているので、周壁部64cの復元力により、被押圧部64bがプッシュロッド100を持ち上げながら上方に移動して、円筒部64aの下端に設けられた可動接点66を、プリント基板70の固定接点71から離間させる。
図7の(a)は、ラバコンシート60のスイッチ65を説明する拡大断面図であり、(b)は、スイッチ65の被押圧部65bの上面に形成された突起65eの配置を説明する図であって、図1に示したスイッチ1において、プッシュノブ20とレンズ90とを外して、プッシュノブ10の開口11内にスイッチ65を露出させた状態を示した図である。
図7に示すように、スイッチ65は、被押圧部65bの形状のみが、前記したスイッチ64と大きく異なる。スイッチ65の被押圧部65bの上端部には、上面視において、中心から周縁部に掛けて傾斜する傾斜面65dが設けられており、スイッチ65の上端部が、円錐形状を成している。
傾斜面65dには、周縁から所定距離離れた位置に、上方に延びる可撓性の突起65eが形成されている。
図7の(b)に示すように、突起65eは、上面視において、被押圧部65bの周方向に沿って所定間隔で合計4つ設けられており、これら突起65eは、プッシュノブ10の4つの被操作位置a〜dのうち、開口11を挟んで対向している二つの被操作位置同士を結ぶ線分(図7の(b)の場合は、線分I、II)を横切るように設けられている。
スイッチ65は、突起65eを、レンズ90の被支持部97の下端97aに当接させて、レンズ90をプッシュノブ20側に付勢した状態で配置されている。
そのため、スイッチ65の突起65eは、設置状態において若干撓んでいる(図7の(a)参照)。
これにより、レンズ90は、スイッチ65とプッシュノブ20との間で挟み込まれた状態で配置されて、レンズ90のガタツキが生じないようにされている。
ここで、レンズ90の下側は、被支持部97と当接するスイッチ65のみで支持されており、被支持部97は上面視においてレンズ90の本体部91の中心を支持している。よって、レンズ90は、被支持部97を中心として、360度方向の何れにも、傾くことができるようになっている。
ここで、図3に示すように、プッシュノブ20は、レンズ90の本体部91における中央に載置されているので、プッシュノブ20が操作された際には、レンズ90は、真下に位置するスイッチ65のみをプリント基板70側に移動させる。
一方、プッシュノブ10は、その内壁12を、レンズ90の周縁側の凹溝94に係止させた状態で設けられているので、プッシュノブ10の被操作位置a〜dの何れかが押されると、その際にプッシュノブ10に作用した押圧力は、内壁12からレンズ90に伝わって、レンズ90を、押し込まれた被操作位置a〜dの方向に傾ける力として作用する。
例えば、図3において、図中左側に示したプッシュノブ10の部分がプリント基板70側に押されると、プッシュノブ10の内壁12が、レンズ90の左側をプリント基板70側に押し下げて、レンズ90が左側に傾けられる。
ここで、スイッチ65の被押圧部65bに可撓性の突起65e(図7参照)が設けられているので、レンズ90の傾きを突起65eがより撓むことで吸収し、レンズ90を傾ける力が、スイッチ65をプリント基板70側に移動させる力として、スイッチ65に作用しないようにして、スイッチ65の誤作動を防止している。
本実施形態では、スイッチ65の被押圧部65bは、上端部が円錐形状とされており、中心から周縁に向かう傾斜が設けられている。そのため、この傾斜の分だけ、突起65e撓み代が確保されるので、突起65eを上方に大きく突出させなくても、レンズ90の傾きを十分に吸収できるようになっている。
また、図7の(b)に示すように、突起65eは、被押圧部65bの上端面の中心Oとプッシュノブ10に設定された被操作位置a〜dとを結ぶ線分I、IIを横切るように設けられており、中心Oから見て、プッシュノブ10に設定された被操作位置a〜dにより決まるレンズ90の傾倒方向に位置している。
本実施形態では、プッシュノブ10は4方向スイッチであるので、図8に示すように、ラバコンシート60の中央のスイッチ65を中心として90度間隔でスイッチ64が設けられている。
ラバコンシート60において、スイッチ64およびスイッチ65は、それぞれプリント基板の固定接点71、72と整合する位置に設けられている。
また、ラバコンシート60では、プリント基板70の光源73に対応する位置に筒状壁67が設けられている。
図5に示すように、筒状壁67は、光源73から発光される光の光路に沿って、光源73からレンズ90の入射面92cまでの範囲に、光路の周りを所定間隔で囲むように設けられている。光源73から照射された光を、拡散させずに入射面92cに入射させるためである。
筒状壁67の、レンズ90側の端部は、光源73の出射面73aの形状、またはレンズ90の入射面92cの形状と略整合する形状の開口を残すように縮径されている。
また、筒状壁67は、ラバコンシート60と一体に形成されており、筒状壁67のプリント基板70からの高さh4は、プッシュノブ20の操作によりレンズ90がプリント基板70側に押し込まれていない状態の時に、レンズ90の入射面92cのプリント基板70からの高さと略同じ高さとなるように設定されている。
プリント基板70の上方の筒状壁67で囲まれた空間68内では、保護壁69が、光源73から発光される光の光路を横切るように設けられて、空間68内を、光源73側の空間68aと、入射面92c側の空間68bとに区画している。
保護壁69は、ラバコンシート60の他の部分よりも非常に薄く形成されており、光源73から発光された光を透過可能な厚みで、ラバコンシート60と一体に形成されている。
筒状壁67と保護壁69とプリント基板70とにより囲まれて、隔離された空間68a内に光源73を収容配置することで、光源73にゴミや汚れが付着しないようにしている。
図2に示すように、プリント基板70には、図示しない配線が設けられており、上面70aに、ラバコンシート60の可動接点66と対になる固定接点71、72と、LEDからなる光源73とが設けられている。
プリント基板70において固定接点71は、プッシュノブ10の4つの被操作位置a〜dの真下であってスイッチ64の可動接点66に対向する位置で、表面に露出しており、固定接点72は、プッシュノブ20の真下であって、スイッチ65の可動接点66に対向する位置で、表面に露出している。
プリント基板70には、図示しないコネクタ端子が接続されており、コネクタ端子の出力に基づいて、プッシュノブ20と、プッシュノブ10の4つの被操作位置a〜dのうちの何れの被操作位置が操作されたのか、そしてその操作時間などが検出できるようになっている。
光源73は、プリント基板70上に一つのみ設けられており、光源73の直上に位置するレンズ90の受光面に向けて光を照射する。
以上の通り、本実施例では、プッシュノブ20と、プッシュノブ20を囲むプッシュノブ10と、光源73からの光をプッシュノブ10とプッシュノブ20に導くレンズ90と、を有するスイッチ1であって、プッシュノブ20を、プリント基板70に設けられたスイッチ65の可動接点66を有する被押圧部65bにレンズ90を介して載置し、プッシュノブ10のプッシュノブ20側の内壁12を、プッシュノブ10のフランジ部22で支持させると共に、反対側の外壁13を、プリント基板70に設けられたスイッチ64の可動接点66を有する被押圧部64bに載置されたプッシュロッド100に載置させ、レンズ90を、スイッチ65の被押圧部65bで傾斜可能に支持させた構成とした。
これにより、プッシュノブ20を囲むプッシュノブ10が操作されて、レンズ90をプッシュノブ10の被操作位置a〜d側に傾ける力が作用しても、レンズ90はスイッチ65の被押圧部65bで傾斜可能に支持されているので、プッシュノブ20が操作されたことを検知するスイッチ65がプリント基板70側に変位させられて、作動することがない。
よって、従来の装置のように、プッシュノブの操作をレンズに伝達する可動部材を設ける必要がないので、部品点数を削減することができる。
また、可動部材を廃止することで、スイッチ1の厚みを、その分だけ薄くすることができる。さらに、プッシュノブ20がレンズ90を直接押圧して、真下に位置するスイッチ65を作動させるので、プッシュノブが操作されたことを精度良く検知できるようになる。
スイッチ65の被押圧部65bのプッシュノブ20側の面には、レンズ90側に突出して可撓性の突起65eが設けられており、レンズ90は、被支持部97の下端97aが突起65eで傾斜可能に支持されている構成とした。
これにより、プッシュノブ20を囲むプッシュノブ10が操作されて、レンズ90をプッシュノブ10の被操作位置a〜d側に傾ける力が作用すると、突起65eが撓むことでレンズ90の傾きを許容する。よって、プッシュノブ20が操作されたことを検知するスイッチ65が、プリント基板70側に変位させられて、作動することがない。
さらに、被押圧部65bの上端面をレンズと直接接触させる構成と比べ、レンズに接触させた突起65eを撓ませるようにしたため、周壁部65cへの荷重を抑えることができ、スイッチの寿命を延ばすことができる。
さらに、突起65eは、被押圧部65bのプッシュノブ20側の面の中心Oから見て、プッシュノブ20に設定された被操作位置a〜dに応じて決まるレンズ90の傾倒方向、すなわちスイッチ64の方向に設けられている構成とした。
これにより、プッシュノブ20を囲むプッシュノブ10が操作されて、レンズ90をプッシュノブ10の被操作位置側に傾ける力が作用した際に、突起65eが撓んで、レンズ90の傾きを確実に許容する。よって、スイッチ65が、プリント基板70側に変位させられて、作動することがない。
前記実施形態では、レンズ90の底部に設けられた円筒形状の被支持部97を、スイッチ65の被押圧部65bの突起65eで支持して、レンズ90を傾斜可能とした場合を例示したが、例えば、図9の(a)に示すように、被支持部97の代わりにスイッチ65A側に突出する半円球形状の突起97Aを設けて、これをスイッチ65Aで支持することでレンズ90が傾斜可能に支持されるようにしても良い。
さらに、図9の(b)に示すように、被押圧部65bの上面の中央部分に平坦部65fを設けたスイッチ65Bとしても良い。
このようにすることによっても、前記実施形態の場合と同様の効果が奏されることになる。
図10は、実施形態に係るスイッチの変形例を説明する図であり、図11は、変形例に係るスイッチのラバコンシートを説明する図である。
前記実施形態では、レンズ90の下面91aをスイッチ65の被押圧部65bでのみ支持している場合を例示したが、例えば、図10に示すように、レンズ90の下面を支持する可撓性の支持部110を設けても良い。
支持部110は、円筒形状の被押圧部110aと、被押圧部110aの下端側の周縁から載置部62側に延出する周壁部110bとから構成され、レンズ90の下端を、支持部110でプッシュノブ10側に付勢した状態で設けられている。
なお、支持部110の周壁部110bは、前記したスイッチ64、65の周壁部64c、65cよりも横方向に大きく延出して形成されているので、スイッチ64、65の場合よりも弱い力で、プリント基板70側に移動させることができるようになっている。プッシュノブ10が操作された際に、プッシュノブ10の内壁12のプリント基板70側への移動が、支持部110により大きく阻害されないようにするためである。
この支持部110を設けることで、レンズ90のガタツキを好適に防止できる。この場合に、支持部110を、レンズ90の本体部91のプッシュノブ10の下方まで延出する部分の下側に設けることで、レンズ90のガタツキをより好適に防止できる。
なお、支持部110は、前記したスイッチ64、65と同様に、ラバコンシート60と一体に形成することが好ましい。
この場合、図11に示すように、スイッチ65から見て、スイッチ64が設けられた方向に支持部110を設けることで、プッシュノブ10、プッシュノブ20が操作されていない間のレンズ90の傾きを好適に防止できる。
前記実施形態では、筒状壁67、スイッチ64、65などが形成されたラバコンシートは、ゴム系の材料から構成される場合を例示したが、可撓性と弾性に優れた材料であれば、例えば樹脂系の材料から構成するようにしても良い。
さらに、前記実施形態では、円形のプッシュノブ20を囲むプッシュノブ10が、リング形状の場合を例示したが、例えば図1においてリング形状のプッシュノブ10を線分X−X、Y−Yに沿って4分割し、4分割したプッシュノブが、プッシュノブ20を囲むように設けたスイッチとしても良い。
実施形態に係るスイッチの平面図である。 実施形態に係るスイッチの分解斜視図である。 図1におけるA−A線断面図である。 実施形態に係るスイッチのレンズを説明する図である。 図1におけるB−B線断面図である。 図3の部分拡大図である。 スイッチを説明する図である。 ラバコンシートを説明する図である。 レンズとスイッチとの当接部分の形状の変形例を示す図である。 変形例に係るスイッチの断面図である。 変形例に係るスイッチのラバコンシートを説明する図である。 従来例に係るスイッチの断面図である。
符号の説明
1 スイッチ
10 プッシュノブ(第2のプッシュノブ)
20 プッシュノブ(第1のプッシュノブ)
30 アッパケース
40 ロアケース
50 ベース
60 ラバコンシート
64 スイッチ
65 スイッチ(第1のスイッチ)
65b 被押圧部
65d 傾斜面
65e 突起(可撓性の突起)
67 筒状壁
69 保護壁
70 プリント基板(基板)
73 光源
80 ジョイント
90 レンズ
91 本体部
92 延出部
93 円柱部
94 凹溝
95 周壁部
96 開口
97 被支持部
100 プッシュロッド
110 支持部(可撓性のレンズ支持部)

Claims (6)

  1. 第1のプッシュノブと、
    前記第1のプッシュノブを囲む第2のプッシュノブと、
    光源からの光を前記第1のプッシュノブと前記第2のプッシュノブに導くレンズと、を有するスイッチであって、
    前記第1のプッシュノブを、基板に設けられた第1のスイッチの可動接点を有する被押圧部に、前記レンズを介して載置し、
    前記第2のプッシュノブの前記第1のプッシュノブ側を、前記第1のプッシュノブで支持させると共に、反対側を、前記基板に設けられた第2のスイッチの可動接点を有する被押圧部に載置させ、
    前記レンズを、前記第1のスイッチの被押圧部で傾斜可能に支持させたことを特徴とするスイッチ。
  2. 前記第2のプッシュノブは、ユニバーサルジョイントを介して、ケースに支持されていることを特徴とする請求項1に記載のスイッチ
  3. 前記第1のスイッチの被押圧部の前記第1のプッシュノブ側の面には、前記レンズ側に突出して可撓性の突起が設けられており、前記レンズは前記突起で傾斜可能に支持されていることを特徴とする請求項1または請求項2に記載のスイッチ。
  4. 前記突起は、前記第1のプッシュノブ側の面の中心から見て、前記第2のスイッチの方向に設けられていることを特徴とする請求項3に記載のスイッチ。
  5. 前記レンズには、前記第1のスイッチの被押圧部側に突出して半円球形状の突起が設けられており、前記レンズは、前記半円球形状の突起で傾斜可能に支持されていることを特徴とする請求項1に記載のスイッチ。
  6. 前記基板には、前記レンズを支持する可撓性のレンズ支持部が設けられていることを特徴とする請求項1から請求項5の何れか一項に記載のスイッチ。
JP2008162600A 2008-06-20 2008-06-20 スイッチ Expired - Fee Related JP5074309B2 (ja)

Priority Applications (1)

Application Number Priority Date Filing Date Title
JP2008162600A JP5074309B2 (ja) 2008-06-20 2008-06-20 スイッチ

Applications Claiming Priority (1)

Application Number Priority Date Filing Date Title
JP2008162600A JP5074309B2 (ja) 2008-06-20 2008-06-20 スイッチ

Publications (2)

Publication Number Publication Date
JP2010003591A true JP2010003591A (ja) 2010-01-07
JP5074309B2 JP5074309B2 (ja) 2012-11-14

Family

ID=41585143

Family Applications (1)

Application Number Title Priority Date Filing Date
JP2008162600A Expired - Fee Related JP5074309B2 (ja) 2008-06-20 2008-06-20 スイッチ

Country Status (1)

Country Link
JP (1) JP5074309B2 (ja)

Cited By (3)

* Cited by examiner, † Cited by third party
Publication number Priority date Publication date Assignee Title
CN104916481A (zh) * 2014-03-11 2015-09-16 阿尔卑斯电气株式会社 输入装置
WO2018139060A1 (ja) * 2017-01-24 2018-08-02 アルプス電気株式会社 防水および光漏れ防止の構造を含むスイッチ
JP2021002421A (ja) * 2019-06-19 2021-01-07 株式会社東海理化電機製作所 スイッチ装置

Citations (3)

* Cited by examiner, † Cited by third party
Publication number Priority date Publication date Assignee Title
JPH0314908A (ja) * 1989-06-12 1991-01-23 Nippon Seiko Kk 転動体を使用した相対移動装置
JP2006252947A (ja) * 2005-03-10 2006-09-21 Alps Electric Co Ltd 複合入力装置
JP2006318687A (ja) * 2005-05-11 2006-11-24 Calsonic Kansei Corp 方向入力装置

Patent Citations (3)

* Cited by examiner, † Cited by third party
Publication number Priority date Publication date Assignee Title
JPH0314908A (ja) * 1989-06-12 1991-01-23 Nippon Seiko Kk 転動体を使用した相対移動装置
JP2006252947A (ja) * 2005-03-10 2006-09-21 Alps Electric Co Ltd 複合入力装置
JP2006318687A (ja) * 2005-05-11 2006-11-24 Calsonic Kansei Corp 方向入力装置

Cited By (7)

* Cited by examiner, † Cited by third party
Publication number Priority date Publication date Assignee Title
CN104916481A (zh) * 2014-03-11 2015-09-16 阿尔卑斯电气株式会社 输入装置
WO2018139060A1 (ja) * 2017-01-24 2018-08-02 アルプス電気株式会社 防水および光漏れ防止の構造を含むスイッチ
JPWO2018139060A1 (ja) * 2017-01-24 2019-06-27 アルプスアルパイン株式会社 防水および光漏れ防止の構造を含むスイッチ
CN110199370A (zh) * 2017-01-24 2019-09-03 阿尔卑斯阿尔派株式会社 包括防水及防漏光的结构的开关
US10923299B2 (en) 2017-01-24 2021-02-16 Alps Alpine Co., Ltd. Switch including waterproof and light leak prevention structure
JP2021002421A (ja) * 2019-06-19 2021-01-07 株式会社東海理化電機製作所 スイッチ装置
JP7267853B2 (ja) 2019-06-19 2023-05-02 株式会社東海理化電機製作所 スイッチ装置

Also Published As

Publication number Publication date
JP5074309B2 (ja) 2012-11-14

Similar Documents

Publication Publication Date Title
US7292741B2 (en) Multi-input optical switch
US8263882B2 (en) Electrical control device
US20020139651A1 (en) Switch assembly having diffused illumination
US20080037277A1 (en) Operation Device
JP5074309B2 (ja) スイッチ
JP2008192407A (ja) 操作スイッチ
JP5224076B2 (ja) 操作入力装置
KR101068913B1 (ko) 다기능 스위치의 조명구조
US20120286977A1 (en) Operation input device
JP5271144B2 (ja) スイッチ
JP4725384B2 (ja) 押しボタンスイッチの照明構造
JP2016091981A (ja) スイッチ装置
JP5027061B2 (ja) スイッチ装置
JP2010003592A (ja) スイッチ
KR102674728B1 (ko) 다기능 노브
JP4609247B2 (ja) 発光スイッチ
CN113168987A (zh) 输入装置
JP2000173379A (ja) 照光押釦スイッチ装置
US11415739B2 (en) Illuminating device comprising a symbol and input device comprising the same
JP4383463B2 (ja) 照光式スイッチ装置
KR102594479B1 (ko) 스위치 노브 및 이를 갖는 차량용 멀티 오퍼레이팅 스위치 유닛
JP2005044521A (ja) スイッチ
JP2599929Y2 (ja) 多方向スイッチ
KR19990047429A (ko) 엘리베이터용 압전스위치
JP7489209B2 (ja) 操作装置

Legal Events

Date Code Title Description
A621 Written request for application examination

Free format text: JAPANESE INTERMEDIATE CODE: A621

Effective date: 20110601

TRDD Decision of grant or rejection written
A01 Written decision to grant a patent or to grant a registration (utility model)

Free format text: JAPANESE INTERMEDIATE CODE: A01

Effective date: 20120821

A01 Written decision to grant a patent or to grant a registration (utility model)

Free format text: JAPANESE INTERMEDIATE CODE: A01

A61 First payment of annual fees (during grant procedure)

Free format text: JAPANESE INTERMEDIATE CODE: A61

Effective date: 20120823

R150 Certificate of patent or registration of utility model

Ref document number: 5074309

Country of ref document: JP

Free format text: JAPANESE INTERMEDIATE CODE: R150

Free format text: JAPANESE INTERMEDIATE CODE: R150

FPAY Renewal fee payment (event date is renewal date of database)

Free format text: PAYMENT UNTIL: 20150831

Year of fee payment: 3

S111 Request for change of ownership or part of ownership

Free format text: JAPANESE INTERMEDIATE CODE: R313111

R350 Written notification of registration of transfer

Free format text: JAPANESE INTERMEDIATE CODE: R350

R250 Receipt of annual fees

Free format text: JAPANESE INTERMEDIATE CODE: R250

R250 Receipt of annual fees

Free format text: JAPANESE INTERMEDIATE CODE: R250

R250 Receipt of annual fees

Free format text: JAPANESE INTERMEDIATE CODE: R250

R250 Receipt of annual fees

Free format text: JAPANESE INTERMEDIATE CODE: R250

LAPS Cancellation because of no payment of annual fees