JP2010002037A - 高圧ホースの寿命検知装置 - Google Patents

高圧ホースの寿命検知装置 Download PDF

Info

Publication number
JP2010002037A
JP2010002037A JP2008163342A JP2008163342A JP2010002037A JP 2010002037 A JP2010002037 A JP 2010002037A JP 2008163342 A JP2008163342 A JP 2008163342A JP 2008163342 A JP2008163342 A JP 2008163342A JP 2010002037 A JP2010002037 A JP 2010002037A
Authority
JP
Japan
Prior art keywords
pressure hose
life
peripheral surface
outer peripheral
life detection
Prior art date
Legal status (The legal status is an assumption and is not a legal conclusion. Google has not performed a legal analysis and makes no representation as to the accuracy of the status listed.)
Granted
Application number
JP2008163342A
Other languages
English (en)
Other versions
JP5257585B2 (ja
Inventor
Yoshiyuki Aoyama
芳之 青山
Current Assignee (The listed assignees may be inaccurate. Google has not performed a legal analysis and makes no representation or warranty as to the accuracy of the list.)
Yokohama Rubber Co Ltd
Original Assignee
Yokohama Rubber Co Ltd
Priority date (The priority date is an assumption and is not a legal conclusion. Google has not performed a legal analysis and makes no representation as to the accuracy of the date listed.)
Filing date
Publication date
Application filed by Yokohama Rubber Co Ltd filed Critical Yokohama Rubber Co Ltd
Priority to JP2008163342A priority Critical patent/JP5257585B2/ja
Publication of JP2010002037A publication Critical patent/JP2010002037A/ja
Application granted granted Critical
Publication of JP5257585B2 publication Critical patent/JP5257585B2/ja
Expired - Fee Related legal-status Critical Current
Anticipated expiration legal-status Critical

Links

Images

Landscapes

  • Pipeline Systems (AREA)
  • Rigid Pipes And Flexible Pipes (AREA)

Abstract

【課題】寿命検知を正確に行うことができ、しかも完成している高圧ホースに後から容易に取付けることのできる寿命検知装置を提供する。
【解決手段】この高圧ホースの寿命検知装置は、寿命検知部材30が高圧ホース10の外周面に取付けられているので、寿命検知部材30が破断した際に寿命検知部材30の動きが規制されず、寿命検知部材30の破断部同士の接触を防止することができ、抵抗検出装置40によって寿命検知部材30の破断が正確に検知される。また、寿命検知部材30は高圧ホース10の外周面の伸長に応じて変形し、高圧ホース10の寿命に応じた所定の変形履歴を受けると破断するので、高圧ホース10の寿命を正確に検知することができる。さらに、寿命検知部材30は高圧ホース10の外周面に取付けられていることから、完成している高圧ホース10に後から容易に取付けることができる。
【選択図】図2

Description

本発明は、例えば油圧機器に使用される高圧ホースの寿命を検知する高圧ホースの寿命検知装置に関するものである。
一般に、この種の高圧ホースとしては、補強用鋼線が螺旋状に巻回されて形成された補強層を有するものが知られている。また、この種の高圧ホースの寿命検知装置としては、補強用鋼線とともに巻回されて補強層内に設けられるとともに、補強用鋼線よりも破断強度の低い鋼線から形成された検知用鋼線と、補強用鋼線と検知用鋼線とを絶縁する絶縁層と、検知用鋼線の一端及び他端に接続されて検知用鋼線の抵抗値を計測する抵抗測定装置とを備え、補強用鋼線が破断する前に検知用鋼線の破断を検知することにより、補強用鋼線の破断を防止するようにしたものが知られている(例えば、特許文献1参照。)。
特開昭61−70289号公報
ところで、前記寿命検知装置では、検知用鋼線が補強用鋼線とともに巻回されて補強層内に設けられ、検知用鋼線の動きが高圧ホースを構成するゴムや補強用鋼線によって規制されているので、検知用鋼線の一部が破断しても検知用鋼線の破断部同士が接触している場合があり、検知用鋼線の破断を正確に検知することができないという問題点があった。
また、検知用鋼線を補強層内に設けているので、既に完成している高圧ホースに後から寿命検知機能を付加することができないという問題点があった。
本発明は前記問題点に鑑みてなされたものであり、その目的とするところは、寿命検知を正確に行うことができ、しかも完成している高圧ホースに後から容易に取付けることのできる寿命検知装置を提供することにある。
本発明は前記目的を達成するために、高圧ホースの寿命を検知する高圧ホースの寿命検知装置において、前記高圧ホースの外周面に取付けられた寿命検知部材を備え、寿命検知部材を、高圧ホースの外周面の伸長に応じて変形し、高圧ホースの寿命に応じた所定の変形履歴を受けると破断するように構成している。
これにより、寿命検知部材は高圧ホースの外周面に取付けられていることから、寿命検知部材が破断した際に寿命検知部材の動きが規制されず、例えば寿命検知部材の両端部間の抵抗値に基づいて寿命検知部材の破断を検知する場合に、寿命検知部材の破断部同士の接触を防止することができ、寿命検知部材の破断が正確に検知される。また、寿命検知部材は高圧ホースの外周面の伸縮に応じて変形し、高圧ホースの寿命に応じた所定の変形履歴を受けると破断するので、高圧ホースの寿命を正確に検知することができる。さらに、寿命検知部材は高圧ホースの外周面に取付けられていることから、完成している高圧ホースに後から容易に取付けることができる。
本発明によれば、寿命検知を正確に行うことができ、しかも完成している高圧ホースに後から容易に取付けることができるので、用途に応じて高圧ホースの寿命検知を効率的且つ正確に行うことができる。
図1乃至図2は本発明の第1実施形態を示すもので、図1は寿命検知装置が取付けられた継手付き高圧ホースの正面図、図2は寿命検知装置が取付けられた高圧ホースの要部正面図である。
この高圧ホースの寿命検知装置は、例えば油圧機器用の継手付き高圧ホースに取付けられる。この継手付き高圧ホースは、可撓性の高圧ホース10と、高圧ホース10の両端にそれぞれ加締めによって取付けられた周知の金属製の継手部材20とを有する。高圧ホース10は、図1に示すように、例えば複数本の鋼線が螺旋状に巻回されて形成された補強層11を内部に有する周知の構造を有し、外周面はゴム材料から形成されている。
一方、高圧ホースの寿命検知装置は、高圧ホース10の外周面に取付けられた寿命検知部材30と、寿命検知部材30の電気抵抗値を検出可能な周知の抵抗検出装置40とを備えている。
寿命検知部材30は金属製の線材から成る。また、寿命検知部材30は、高圧ホース10の周方向に延設されるとともに高圧ホース10の外周面に接触するように設けられ、一端が高圧ホース10の外周面に固定された一対の延設部31と、各延設部31の他端の間を連結するとともに各延設部31の延設方向に変形可能な連結部32とを有する。各延設部31の一端は例えば接着剤及びゴム製の固定部材31aによって高圧ホース10の外周面に固定されている。また、連結部32はV字型に形成され、その一端及び他端が各延設部31の他端にそれぞれ連結されている。即ち、所定の長さに切断された1本の線材の一部をV字型に変形させることにより、各延設部31及び連結部32が一体に設けられた寿命検知部材30を形成することが可能である。また、V字型に形成された線材の一端及び他端にそれぞれ延設部31用の2本の線材を溶接等によって取付けることにより、寿命検知部材30を形成することも可能である。線材を構成する金属材料の例としては鉄やステンレスが挙げられ、他の金属材料を用いることも可能である。また、連結部32は、例えば各延設部31の延設方向への1.25mmの変形が120万回加わると破断するように構成されている。
抵抗検出装置40は、一方の接続端子41が一方の延設部31に接続されるとともに、他方の接続端子42が他方の延設部31に接続され、各端子41,42の間の電気抵抗を検出するようになっている。
以上のように構成された寿命検知装置は、サージ圧によって高圧ホース10の外周面が周方向に伸長すると、寿命検知部材30の連結部32が高圧ホース10の外周面の伸長に応じて変形する。
ここで、高圧ホース10は補強層11によって補強されており、補強層11はサージ圧等による高圧ホース10の変形を極力規制するようにしているので、サージ圧が加わった場合の高圧ホース10の外周面の周方向への伸長は小さい。
例えば、油圧機器に使用される鋼線補強ホースのJIS規格において、サージ圧が加わった際の長さ変化率が+2%〜−4%の範囲に入るように求められており、一般的には長さ変化率が±1%の範囲に入るように設計されている。また、長さ変化率を極力小さくするために、補強層11の鋼線の交差する角度αは略109°に設定されている。このように設計された高圧ホース10において、例えば20.5MPaのサージ圧が加わった際の外周面の周長の変化率は、内径が6mm(外径は12.4mm)のもので平均約3.2%となり、内径が25mm(外径は36mm)のもので平均約1.2%となる。即ち、外周面の周長の変化は、内径が6mmのもので平均約1.25mm、内径が25mmのもので平均約1.4mmとなる。従って、サージ圧が加わった際の外周面の周長の変化は極めて小さい。
従って、例えば寿命検知部材30が内径6mmの高圧ホース10に取付けられるとともに、寿命検知部材30が高圧ホース10の外周面の1周に亘って延びるように設けられている場合、高圧ホース10に20.5MPaのサージ圧が加わると、寿命検知部材30が平均約1.25mm伸びる。ここで、各延設部31は高圧ホース10の周方向に延設されているので、各延設部31はほとんど高圧ホース10の周方向に伸長変形せず、各延設部31の他端同士の間隔が変化する。即ち、高圧ホース10に20.5MPaのサージ圧が加わると、寿命検知部材30においてV字型に形成された連結部32が高圧ホース10の周方向に平均約1.25mm変形する。連結部32は各延設部31の延設方向への1.25mmの変形が120万回加わると破断するように構成されているので、高圧ホース10に20.5MPaのサージ圧が120万回加わると、連結部32が破断し、その破断が抵抗検出装置40によって検知される。
このように、本実施形態の高圧ホースの寿命検知装置によれば、寿命検知部材30が高圧ホース10の外周面に取付けられていることから、寿命検知部材30が破断した際に寿命検知部材30の動きが規制されない。即ち、寿命検知部材30の抵抗値に基づいて寿命検知部材30の破断を検知する場合に、寿命検知部材30の破断部同士の接触を防止することができ、寿命検知部材30の破断が正確に検知される。また、寿命検知部材30は高圧ホース10の外周面の伸長に応じて変形し、高圧ホース10の寿命に応じた所定の変形履歴(例えば1.25mm×120万回の変形履歴)を受けると破断するので、高圧ホース10の寿命を正確に検知することができる。さらに、寿命検知部材30は高圧ホース10の外周面に取付けられていることから、完成している高圧ホース10に後から容易に取付けることができる。従って、寿命検知を正確に行うことができ、しかも完成している高圧ホース10に後から容易に取付けることができるので、用途に応じて高圧ホース10の寿命検知を効率的且つ正確に行うことができる。
また、寿命検知部材30は、サージ圧が加わる際に高圧ホース10の外周面が伸長する周方向に延設されて一端が高圧ホース10の外周面に固定されている一対の延設部31と、各延設部31の他端の間を連結するとともに各延設部31の延設方向に変形可能な連結部32とから構成され、サージ圧によって高圧ホース10の外周面が周方向に伸長する際に、各延設部31がほとんど伸長変形せずに各延設部31の他端同士の間隔が変化するように構成されている。このため、サージ圧によって高圧ホース10の外周面が周方向に伸長すると、寿命検知部材30において主に連結部32が変形する。また、連結部32は高圧ホース10の寿命に応じた所定の変形履歴(例えば1.25mm×120万回の変形履歴)を受けると破断する。従って、各延設部31ではなく連結部32を確実に破断させることができ、破断の有無を正確に検知する上で極めて有利である。
また、連結部32の一端及び他端を直接高圧ホース10の外周面に取付けても、連結部32の変形量が小さく、連結部32の破断による検知を行うことは難しいが、連結部32の一端及び他端が各延設部31を介して高圧ホース10の外周面に取付けられているので、各延設部31の延設された範囲の分だけ連結部32の変形量が大きくなり、連結部32の破断による検知を正確に行うことが可能となる。
また、各延設部31は高圧ホース10の周方向に延設されているので、高圧ホース10が曲げ方向に変形する際の連結部32の変形を低減することができ、高圧ホース10の寿命を正確に検知する上で極めて有利である。
また、連結部32はV字型に形成され、一端及び他端が各延設部31の他端にそれぞれ連結されているので、連結部32の中央の屈曲部に応力が集中し易く、連結部32の破断による検知を正確に行う上で有利である。
また、連結部32が金属材料によって形成され、連結部32の抵抗値の変化に基づいて連結部32の破断が検知されるので、連結部32の破断を確実に検知可能である。
尚、本実施形態では、各延設部31が高圧ホース10の周方向に延設されたものを示した。これに対し、寿命検知部材30が高圧ホース10における曲げ方向に変形しない部分に取付けられるならば、各延設部31が高圧ホース10の軸方向に延設される場合でも、前述と同様の作用効果を達成することが可能である。また、寿命検知部材30をその他の方向に延設することも可能である。
尚、本実施形態では、連結部32が破断する変形履歴を20.5MPa時の変形量である1.25mm×120万回としたものを示した。これに対し、連結部32が破断する変形履歴を定格圧力の1.33倍の時の変形量×120万回とすることも可能であり、他の圧力の時の変形量及び他の回数とすることも可能である。
図3は本発明の第2実施形態を示す寿命検知装置が取付けられた継手付き高圧ホースの要部正面図である。尚、第1実施形態と同等の構成部分には同一の符号を付して示す。
この高圧ホースの寿命検知装置は、第1実施形態の寿命検知部材30の代わりに寿命検知部材50を設けたものである。
この場合、寿命検知部材50は金属製の線材から成る。また、寿命検知部材50は、高圧ホース10の周方向に延設されるとともに高圧ホース10の外周面に接触するように設けられた延設部51と、延設部51の両端を連結するとともに延設部の延設方向に変形可能な連結部52とを有する。また、延設部51は高圧ホース10の外周面に複数回(本実施形態では3回)巻回されている。連結部52はV字型に形成され、その一端及び他端が延設部51の両端にそれぞれ連結されている。即ち、所定の長さに切断された1本の線材の一部をV字型に変形させ、その線材の端部同士を溶接等によって接続することにより、寿命検知部材50を形成することが可能である。また、V字型に形成された線材の一端及び他端にそれぞれ延設部51用の1本の線材の両端を溶接等によってそれぞれ取付けることにより、寿命検知部材50を形成することも可能である。また、連結部52は、例えば延設部51の延設方向への3.75mmの変形が120万回加わると破断するように構成されている。また、抵抗検出装置40の一方の接続端子41は連結部52の一端に接続され、他方の接続端子42は連結部52の他端に接続されている。
以上のように構成された寿命検知装置は、サージ圧によって高圧ホース10の外周面が周方向に伸長すると、寿命検知部材50の連結部52が高圧ホース10の外周面の伸長に応じて変形する。
例えば、寿命検知部材50が第1実施形態と同様に内径6mmの高圧ホース10に取付けられ、高圧ホース10に20.5MPaのサージ圧が加わると、高圧ホース10の外周面の周長が平均約1.25mm伸びる。ここで、延設部51は高圧ホース10の外周面に3周巻回されており、延設部51がほとんど高圧ホース10の周方向に伸長変形しないので、延設部51の端部同士の間隔が平均約3.75mm変化する。即ち、高圧ホース10に20.5MPaのサージ圧が加わると、寿命検知部材50においてV字型に形成された連結部52が高圧ホース10の周方向に平均約3.75mm変形する。連結部52は延設部51の延設方向への3.75mmの変形が120万回加わると破断するように構成されているので、高圧ホース10に20.5MPaのサージ圧が120万回加わると、連結部52が破断し、その破断が抵抗検出装置40によって検出される。
このように、本実施形態の高圧ホースの寿命検知装置によれば、寿命検知部材50が高圧ホース10の外周面に取付けられていることから、寿命検知部材50が破断した際に寿命検知部材50の動きが規制されない。即ち、寿命検知部材50の抵抗値に基づいて寿命検知部材50の破断を検知する場合に、寿命検知部材50の破断部同士の接触を防止することができ、寿命検知部材50の破断が正確に検知される。また、寿命検知部材50は高圧ホース10の外周面の伸長に応じて変形し、高圧ホース10の寿命に応じた所定の変形履歴(例えば3.75mm×120万回の変形履歴)を受けると破断するので、高圧ホース10の寿命を正確に検知することができる。さらに、寿命検知部材50は高圧ホース10の外周面に取付けられていることから、完成している高圧ホース10に後から容易に取付けることができる。従って、寿命検知を正確に行うことができ、しかも完成している高圧ホース10に後から容易に取付けることができるので、用途に応じて高圧ホース10の寿命検知を効率的且つ正確に行うことができる。
また、寿命検知部材50は、高圧ホース10の周方向に延設された延設部51と、延設部51の両端の間を連結するとともに延設部51の延設方向に変形可能な連結部52とから構成され、サージ圧によって高圧ホース10の外周面が周方向に伸長する際に、延設部51がほとんど伸長変形せずに延設部51の両端部同士の間隔が変化するように構成されている。このため、サージ圧によって高圧ホース10の外周面が周方向に伸長すると、寿命検知部材50において主に連結部52が変形する。また、連結部52は高圧ホース10の寿命に応じた所定の変形履歴(例えば3.75mm×120万回の変形履歴)を受けると破断する。従って、延設部51ではなく連結部52を確実に破断させることができ、破断の有無を正確に検知する上で極めて有利である。
また、連結部52の一端及び他端を直接高圧ホース10の外周面に取付けても、連結部52の変形量が小さく、連結部52の破断による検知を行うことは難しいが、連結部52の一端及び他端が延設部51の両端にそれぞれ取付けられ、延設部51が高圧ホース10の周方向に延設されているので、延設部51の延設された範囲の分だけ連結部52の変形量が大きくなり、連結部52の破断による検知を正確に行うことが可能となる。
また、その他の作用効果は第1実施形態と同様である。
尚、第1及び第2実施形態では、寿命検知部材30,50を高圧ホース10の外周面に直接接触させるものを示した。これに対し、図4に示すように、例えば寿命検知部材50と高圧ホース10の外周面との間に円筒状部材60を設けることも可能である。この場合、円筒状部材60は高圧ホース10の外周面よりも硬い材料(例えばプラスチックや金属)から形成された薄い板状部材から成り、内周面が高圧ホース10の外周面に接触するように形成されている。また、円筒状部材60は断面C型に形成され、高圧ホース10の外径の変化に追随可能である。一方、寿命検知部材50の延設部51は円筒状部材60の外周面に接触するように設けられる。即ち、サージ圧によって高圧ホース10の外周面が周方向に伸長すると、円筒状部材60の周長(外径)が大きくなるとともに、連結部52が延設部51の延設方向に変形するので、前述と同様の作用効果を達成することが可能である。また、円筒状部材60が高圧ホース10の外周面よりも硬い材料から形成されているので、高圧ホース10の径寸法の変化が寿命検知部材50に効率良く伝達され、検知精度を向上する上で有利である。
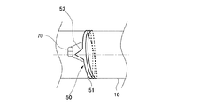
尚、第1及び第2実施形態では、連結部32,52の破断を電気的に検知するものを示した。これに対し、図5に示すように、例えば延設部51の両端部に接続されたインク収納部材70を設け、連結部52が破断するとインク収納部材70からインクが流出するように構成することも可能である。この場合、流出したインクは高圧ホース10の外周面に付着するので、インクが高圧ホース10の外周面と異なる色を有していれば、連結部52の破断を容易に目視確認することができるようになる。
また、第1及び第2実施形態では、連結部32,52の破断を電気的に検知するものを示した。これに対し、図6に示すように、例えば寿命検知部材50を覆う可撓性且つ筒状の被覆部材80を設け、連結部52が破断すると延設部51が巻き戻って拡径し、延設部51の拡径によって被覆部材80が径方向に膨らむようにすることも可能である。
尚、第1及び第2実施形態では、寿命検知部材30,50を金属製の線材から形成したものを示した。これに対し、寿命検知部材30を金属製且つ細長い板状部材から形成することも可能であり、プラスチックや他の材料から成る線材や板状部材から形成することも可能である。
また、第1及び第2実施形態では、連結部32,52をV字型に形成したものを示したが、連結部32,52をU型やW型など他の形状に形成する場合でも前述と同様の作用効果を達成することが可能である。
本発明における第1実施形態を示す寿命検知装置が取付けられた継手付き高圧ホースの正面図 寿命検知装置が取付けられた高圧ホースの要部正面図 本発明における第2実施形態を示す寿命検知装置が取付けられた継手付き高圧ホースの要部正面図 第2実施形態の第1変形例を示す寿命検知装置が取付けられた継手付き高圧ホースの要部正面図 第2実施形態の第2変形例を示す寿命検知装置が取付けられた継手付き高圧ホースの要部正面図 第2実施形態の第3変形例を示す寿命検知装置が取付けられた継手付き高圧ホースの要部正面図
符号の説明
10…高圧ホース、11…補強層、20…継手部材、30…寿命検知部材、31…延設部、32…連結部、40…抵抗検出装置、41…接続端子、42…接続端子、50…寿命検知部材、51…延設部、52…連結部、60…円筒状部材、70…インク収納部材、80…被覆部材。

Claims (9)

  1. 高圧ホースの寿命を検知する高圧ホースの寿命検知装置において、
    前記高圧ホースの外周面に取付けられた寿命検知部材を備え、
    寿命検知部材を、高圧ホースの外周面の伸長に応じて変形し、高圧ホースの寿命に応じた所定の変形履歴を受けると破断するように構成した
    ことを特徴とする高圧ホースの寿命検知装置。
  2. 前記寿命検知部材を、サージ圧が加わる際に高圧ホースの外周面が伸長変形する方向にそれぞれ延設されるとともに、それぞれ一端が高圧ホースの外周面に固定された一対の延設部と、各延設部の他端の間を連結するとともに各延設部の延設方向に変形可能な連結部とから構成し、
    サージ圧によって高圧ホースの外周面が伸長すると、各延設部自体の伸長方向の変形量よりも各延設部の他端同士の間隔変化の方が大きくなるように構成するとともに、前記所定の変形履歴を受けると連結部が破断するように構成した
    ことを特徴とする請求項1に記載の高圧ホースの寿命検知装置。
  3. 前記各延設部を高圧ホースの周方向に延設した
    ことを特徴とする請求項2に記載の高圧ホースの寿命検知装置。
  4. 前記寿命検知部材における連結部は、V字型に形成されるとともに一端及び他端が各延設部の他端にそれぞれ連結されている
    ことを特徴とする請求項2または3の何れかに記載の高圧ホースの寿命検知装置。
  5. 前記寿命検知部材に、高圧ホースの周方向に延びるように設けられた延設部と、延設部の両端を連結するとともに延設部の延設方向に変形可能な連結部とから構成し、
    サージ圧によって高圧ホースの外周面が伸長すると、延設部自体の伸長方向の変形量よりも延設部の両端部同士の間隔変化の方が大きくなるように構成するとともに、前記所定の変形履歴を受けると連結部が破断するように構成した
    ことを特徴とする請求項1に記載の高圧ホースの寿命検知装置。
  6. 前記寿命検知部材における連結部は、V字型に形成されるとともに一端及び他端が延設部の両端にそれぞれ連結されている
    ことを特徴とする請求項5に記載の高圧ホースの寿命検知装置。
  7. 前記寿命検知部材の連結部を金属材料によって形成し、連結部の破断を電気的に検知するように構成した
    ことを特徴とする請求項2、3、4、5または6の何れかに記載の高圧ホースの寿命検知装置。
  8. 前記高圧ホースの外周面または寿命検知部材に取付けられ、高圧ホースの外周面と異なる色のインクを収納しているインク収納部材を備え、
    前記寿命検知部材の連結部が破断するとインク収納部材からインクが流出するように構成した
    ことを特徴とする請求項2、3、4、5、6または7の何れかに記載の高圧ホースの寿命検知装置。
  9. 前記寿命検知部材と高圧ホースの外周面との間に介在するとともに、高圧ホースの外径の変化に追随して拡縮する円筒状部材を備え、
    円筒状部材を高圧ホースの外周面よりも硬い材料から形成した
    ことを特徴とする請求項1、2、3、4、5、6または7の何れかに記載の高圧ホースの寿命検知装置。
JP2008163342A 2008-06-23 2008-06-23 高圧ホースの寿命検知装置 Expired - Fee Related JP5257585B2 (ja)

Priority Applications (1)

Application Number Priority Date Filing Date Title
JP2008163342A JP5257585B2 (ja) 2008-06-23 2008-06-23 高圧ホースの寿命検知装置

Applications Claiming Priority (1)

Application Number Priority Date Filing Date Title
JP2008163342A JP5257585B2 (ja) 2008-06-23 2008-06-23 高圧ホースの寿命検知装置

Publications (2)

Publication Number Publication Date
JP2010002037A true JP2010002037A (ja) 2010-01-07
JP5257585B2 JP5257585B2 (ja) 2013-08-07

Family

ID=41583912

Family Applications (1)

Application Number Title Priority Date Filing Date
JP2008163342A Expired - Fee Related JP5257585B2 (ja) 2008-06-23 2008-06-23 高圧ホースの寿命検知装置

Country Status (1)

Country Link
JP (1) JP5257585B2 (ja)

Citations (8)

* Cited by examiner, † Cited by third party
Publication number Priority date Publication date Assignee Title
JPS6170289A (ja) * 1984-09-11 1986-04-11 東海ゴム工業株式会社 ホ−ス
JPH0577680U (ja) * 1992-03-23 1993-10-22 三菱樹脂株式会社 地中埋設管
JPH06241940A (ja) * 1993-02-09 1994-09-02 Bridgestone Corp 輸送物漏出検知構造ホース
JPH06249372A (ja) * 1993-02-23 1994-09-06 Bridgestone Corp 輸送物漏出検知ホ−ス
JPH1130363A (ja) * 1997-07-10 1999-02-02 Kawasaki Steel Corp 高圧ゴムホース
JP2000179755A (ja) * 1998-12-16 2000-06-27 Yokohama Rubber Co Ltd:The 流体移送用ホース
JP2001187986A (ja) * 1999-12-28 2001-07-10 Bridgestone Corp 流体輸送マリンホース
WO2007119793A1 (ja) * 2006-04-12 2007-10-25 Bridgestone Corporation 流体輸送ホース

Patent Citations (8)

* Cited by examiner, † Cited by third party
Publication number Priority date Publication date Assignee Title
JPS6170289A (ja) * 1984-09-11 1986-04-11 東海ゴム工業株式会社 ホ−ス
JPH0577680U (ja) * 1992-03-23 1993-10-22 三菱樹脂株式会社 地中埋設管
JPH06241940A (ja) * 1993-02-09 1994-09-02 Bridgestone Corp 輸送物漏出検知構造ホース
JPH06249372A (ja) * 1993-02-23 1994-09-06 Bridgestone Corp 輸送物漏出検知ホ−ス
JPH1130363A (ja) * 1997-07-10 1999-02-02 Kawasaki Steel Corp 高圧ゴムホース
JP2000179755A (ja) * 1998-12-16 2000-06-27 Yokohama Rubber Co Ltd:The 流体移送用ホース
JP2001187986A (ja) * 1999-12-28 2001-07-10 Bridgestone Corp 流体輸送マリンホース
WO2007119793A1 (ja) * 2006-04-12 2007-10-25 Bridgestone Corporation 流体輸送ホース

Also Published As

Publication number Publication date
JP5257585B2 (ja) 2013-08-07

Similar Documents

Publication Publication Date Title
KR101604153B1 (ko) 고장 검출 능력을 구비한 호스
EP3412952B1 (en) Marine hose status monitoring system
KR101661845B1 (ko) 그로밋 및 와이어 하니스
CA2660496A1 (en) Improved sliding anchor
CN108603621B (zh) 船舶用软管的状态监视系统
JP2004150606A (ja) 蛇腹金属管付ホース
JP5257585B2 (ja) 高圧ホースの寿命検知装置
JP2005337403A (ja) 管継手
KR20150031450A (ko) 커플링 및 커플링 조립체
US6164704A (en) Hose fitting
JP2009031217A (ja) 連結具の変位量表示装置
JP6234785B2 (ja) 継手
JP5254861B2 (ja) コントロールケーブル
JP4348100B2 (ja) 高圧ホース
JP2007333112A (ja) ホース金具およびブレーキホース
JP4106694B2 (ja) 可撓性継手のリブ付管用締付けリング構造
JP2017137958A (ja) マリンホース
JP6349233B2 (ja) 治具およびホース付き継手にスプリングを外装する方法
JP7748083B2 (ja) 押し当て部材および振動情報取得装置
JP5875473B2 (ja) 伸長型フレキシブルチューブ
JP2005090673A (ja) 異形管の構造
JP4100408B2 (ja) 同軸ケーブルかしめリング
JP4585878B2 (ja) 可変抵抗装置
JP4931560B2 (ja) 伸縮管およびその製造方法
SE528501C2 (sv) Anordning för fixering av avlånga element med en elastisk deformerbar yttre mantel

Legal Events

Date Code Title Description
A621 Written request for application examination

Free format text: JAPANESE INTERMEDIATE CODE: A621

Effective date: 20110510

A131 Notification of reasons for refusal

Free format text: JAPANESE INTERMEDIATE CODE: A131

Effective date: 20130130

A521 Written amendment

Free format text: JAPANESE INTERMEDIATE CODE: A523

Effective date: 20130306

TRDD Decision of grant or rejection written
A01 Written decision to grant a patent or to grant a registration (utility model)

Free format text: JAPANESE INTERMEDIATE CODE: A01

Effective date: 20130327

A61 First payment of annual fees (during grant procedure)

Free format text: JAPANESE INTERMEDIATE CODE: A61

Effective date: 20130409

FPAY Renewal fee payment (event date is renewal date of database)

Free format text: PAYMENT UNTIL: 20160502

Year of fee payment: 3

R150 Certificate of patent or registration of utility model

Free format text: JAPANESE INTERMEDIATE CODE: R150

R250 Receipt of annual fees

Free format text: JAPANESE INTERMEDIATE CODE: R250

R250 Receipt of annual fees

Free format text: JAPANESE INTERMEDIATE CODE: R250

LAPS Cancellation because of no payment of annual fees