JP2010001712A - 建設機械における電動機作動用配線構造及びこれを用いた建設機械 - Google Patents

建設機械における電動機作動用配線構造及びこれを用いた建設機械 Download PDF

Info

Publication number
JP2010001712A
JP2010001712A JP2008163749A JP2008163749A JP2010001712A JP 2010001712 A JP2010001712 A JP 2010001712A JP 2008163749 A JP2008163749 A JP 2008163749A JP 2008163749 A JP2008163749 A JP 2008163749A JP 2010001712 A JP2010001712 A JP 2010001712A
Authority
JP
Japan
Prior art keywords
electric motor
motor
battery
wire
turning
Prior art date
Legal status (The legal status is an assumption and is not a legal conclusion. Google has not performed a legal analysis and makes no representation as to the accuracy of the status listed.)
Granted
Application number
JP2008163749A
Other languages
English (en)
Other versions
JP4856124B2 (ja
Inventor
Hiroyuki Tsukamoto
浩之 塚本
Takashi Kubo
隆 久保
Motoharu Yoshida
基治 吉田
Current Assignee (The listed assignees may be inaccurate. Google has not performed a legal analysis and makes no representation or warranty as to the accuracy of the list.)
Sumitomo SHI Construction Machinery Co Ltd
Original Assignee
Sumitomo SHI Construction Machinery Co Ltd
Priority date (The priority date is an assumption and is not a legal conclusion. Google has not performed a legal analysis and makes no representation as to the accuracy of the date listed.)
Filing date
Publication date
Application filed by Sumitomo SHI Construction Machinery Co Ltd filed Critical Sumitomo SHI Construction Machinery Co Ltd
Priority to JP2008163749A priority Critical patent/JP4856124B2/ja
Publication of JP2010001712A publication Critical patent/JP2010001712A/ja
Application granted granted Critical
Publication of JP4856124B2 publication Critical patent/JP4856124B2/ja
Expired - Fee Related legal-status Critical Current
Anticipated expiration legal-status Critical

Links

Images

Landscapes

  • Operation Control Of Excavators (AREA)
  • Component Parts Of Construction Machinery (AREA)

Abstract

【課題】バッテリと電動機の間の電線が切断された場合に、電動機により駆動される機構を適切に停止させること。
【解決手段】本発明は、バッテリに接続される電動機により駆動される機構を備える建設機械において、前記電動機の作動させるための配線構造であって、前記バッテリと前記電動機の間を接続する電力供給用電線と、前記電力供給用電線に接続され、前記電動機を短絡させるための短絡用電線と、前記短絡用電線に設けられ、常態が閉であり、制御信号が供給されることで開成するリレー若しくはスイッチング素子と、前記制御信号を前記リレー若しくはスイッチング素子に供給するための制御信号線とを備え、前記電力供給用電線と前記制御信号線が並走するように配策されることを特徴とする。
【選択図】図3

Description

本発明は、建設機械における電動機作動用配線構造及びこれを用いた建設機械に関する。
従来より、駆動機構の一部を電動化したハイブリッド型の建設機械が提案されている。このような建設機械では、上部旋回体を旋回させるための旋回機構の動力源として電動機を備え、この電動機の力行運転で旋回機構を加速(駆動)するとともに、旋回機構を減速(制動)する際に回生運転を行い、発電される電力をバッテリに充電している(例えば、特許文献1参照)。
特開平2004−036303号公報
しかしながら、電動機はバッテリを電源として動作しているので、仮にバッテリと電動機の間の電線が切断された場合には、電動機が作動不能となるが故に旋回機構の旋回動作が制御されない状態に陥る。かかる制御不能状態に対するフェールセーフとして、バッテリと電動機の間の電線が切断された場合に、メカニカルブレーキを作動させて旋回機構に機械的な制動力(摩擦力)を付与することも可能であるが、上部旋回体の旋回動作の慣性が大きい場合等にはメカニカルブレーキにより旋回機構を適切に停止させることができない虞がある。かかる問題は、電動機により駆動される機構が、旋回機構でなく他の機構(例えば下部走行体の走行機構)である場合も同様に生じうる。
本発明は、バッテリと電動機の間の電線が切断された場合に、電動機により駆動される機構を適切に停止させることができる配線構造及びこれを用いた建設機械の提供を目的とする。
上記目的を達成するため、本発明の第1の局面によれば、バッテリに接続される電動機により駆動される機構を備える建設機械において、前記電動機の作動させるための配線構造であって、
前記バッテリと前記電動機の間を接続する電力供給用電線と、
前記電力供給用電線に接続され、前記電動機を短絡させるための短絡用電線と、
前記短絡用電線に設けられ、常態が閉であり、制御信号が供給されることで開成するリレー若しくはスイッチング素子と、
前記制御信号を前記リレー若しくはスイッチング素子に供給するための制御信号線とを備え、
前記電力供給用電線と前記制御信号線が並走するように配策されることを特徴とする、配線構造が提供される。
本発明の第2の局面によれば、バッテリと、前記バッテリに接続される電動機と、前記電動機により駆動される機構とを備える建設機械であって、
本発明の第1の局面による配線構造と、
前記電動機の作動を制御する制御装置と、
前記バッテリと前記電動機の間の電線に流れる電流の状態を検出する検出手段とを備え、
前記制御装置は、前記検出手段の検出結果に基づいて前記電線の切断が検出された場合に、前記電動機を短絡状態に切り替えることを特徴とする、建設機械が提供される。
本発明によれば、バッテリと電動機の間の電線が切断された場合に、電動機により駆動される機構を適切に停止させることができる配線構造及びこれを用いた建設機械が得られる。
以下、図面を参照して、本発明を実施するための最良の形態の説明を行う。
「実施の形態1」
図1は、本実施の形態1の制御装置を含む建設機械100を示す側面図である。
この建設機械100の下部走行体1には、旋回機構2Aを介して上部旋回体3が搭載されている。また、上部旋回体3には、ブーム4、アーム5、及びバケット6と、これらを油圧駆動するためのブームシリンダ7、アームシリンダ8、及びバケットシリンダ9に加えて、キャビン10及び動力源が搭載される。
図2は、本実施の形態1の制御装置を含む建設機械100の構成を表すブロック図である。この図2では、機械的動力系を二重線、高圧油圧ラインを実線、パイロットラインを破線、電気駆動・制御系を一点鎖線でそれぞれ示す。
エンジン11と、電動発電機12は、ともに減速機13の入力軸に接続されている。また、この減速機13の出力軸には、メインポンプ14及びパイロットポンプ15が接続されている。メインポンプ14には、高圧油圧ライン16を介してコントロールバルブ17が接続されている。
コントロールバルブ17は、本実施の形態1の建設機械100における油圧系の制御を行う制御装置であり、このコントロールバルブ17には、下部走行体1用の油圧モータ1A(右用)及び1B(左用)、ブームシリンダ7、アームシリンダ8、及びバケットシリンダ9が高圧油圧ラインを介して接続される。
また、電動発電機12には、インバータ18を介してバッテリ19が接続されており、また、バッテリ19には、インバータ20を介して旋回用電動機21が接続されている。
旋回用電動機21の回転軸21aには、レゾルバ22、メカニカルブレーキ23、及び旋回減速機24が接続される。また、パイロットポンプ15には、パイロットライン25を介して操作装置26が接続される。
操作装置26には、油圧ライン27及び28を介して、コントロールバルブ17及び圧力センサ29がそれぞれ接続される。この圧力センサ29には、本実施の形態1の建設機械100の電気系の駆動制御を行うコントローラ30が接続されている。
このような本実施の形態1の建設機械100は、エンジン11、電動発電機12、及び旋回用電動機21を動力源とするハイブリッド型の建設機械である。これらの動力源は、図1に示す上部旋回体3に搭載される。以下、各部について説明する。
エンジン11は、例えば、ディーゼルエンジンで構成される内燃機関であり、その出力軸は減速機13の一方の入力軸に接続される。このエンジン11は、建設機械100の運転中は常時運転される。
電動発電機12は、力行運転及び回生運転の双方が可能な電動機であればよい。ここでは、電動発電機12として、インバータ20によって交流駆動される電動発電機を示す。この電動発電機12は、例えば、磁石がロータ内部に埋め込まれたIPM(Interior Permanent Magnetic)モータで構成することができる。電動発電機12の回転軸は減速機13の他方の入力軸に接続される。
減速機13は、2つの入力軸と1つの出力軸を有する。2つの入力軸の各々には、エンジン11の駆動軸と電動発電機12の駆動軸が接続される。また、出力軸にはメインポンプ14の駆動軸が接続される。エンジン11の負荷が大きい場合には、電動発電機12が力行運転を行い、電動発電機12の駆動力が減速機13の出力軸を経てメインポンプ14に伝達される。これによりエンジン11の駆動がアシストされる。一方、エンジン11の負荷が小さい場合は、エンジン11の駆動力が減速機13を経て電動発電機12に伝達されることにより、電動発電機12が回生運転による発電を行う。電動発電機12の力行運転と回生運転の切り替えは、コントローラ30により、エンジン11の負荷等に応じて行われる。
メインポンプ14は、コントロールバルブ17に供給するための油圧を発生するポンプである。この油圧は、コントロールバルブ17を介して油圧モータ1A、1B、ブームシリンダ7、アームシリンダ8、及びバケットシリンダ9の各々を駆動するために供給される。
パイロットポンプ15は、油圧操作系に必要なパイロット圧を発生するポンプである。この油圧操作系の構成については後述する。
コントロールバルブ17は、高圧油圧ラインを介して接続される下部走行体1用の油圧モータ1A、1B、ブームシリンダ7、アームシリンダ8、及びバケットシリンダ9の各々に供給する油圧を運転者の操作入力に応じて制御することにより、これらを油圧駆動制御する油圧制御装置である。
インバータ18は、上述の如く電動発電機12とバッテリ19との間に設けられ、コントローラ30からの指令に基づき、電動発電機12の運転制御を行う。これにより、インバータ18が電動発電機12の力業を運転制御している際には、必要な電力をバッテリ19から電動発電機12に供給する。また、電動発電機12の回生を運転制御している際には、電動発電機12により発電された電力をバッテリ19に充電する。
バッテリ19は、インバータ18とインバータ20との間に配設されている。これにより、電動発電機12と旋回用電動機21の少なくともどちらか一方が力行運転を行っている際には、力行運転に必要な電力を供給するとともに、また、少なくともどちらか一方が回生運転を行っている際には、回生運転によって発生した回生電力を電気エネルギーとして蓄積するための電源である。尚、バッテリ19は、充放電可能なバッテリであれば種類は任意であり、鉛バッテリ、ニッケル水素バッテリ、リチウムイオンバッテリや電気2重層キャパシタ等の容量性負荷から構成されてもよい。
インバータ20は、上述の如く旋回用電動機21とバッテリ19との間に設けられ、コントローラ30からの指令に基づき、旋回用電動機21に対して運転制御を行う。これにより、インバータ20が旋回用電動機21の力業を運転制御している際には、必要な電力をバッテリ19から旋回用電動機21に供給する。また、旋回用電動機21が回生運転をしている際には、旋回用電動機21により発電された電力をバッテリ19へ充電する。
旋回用電動機21は、力行運転及び回生運転の双方が可能な電動機であり、上述のインバータ20によってPWM(Pulse Width Modulation)駆動される。旋回用電動機21は、好ましくは、磁石がロータ内部に埋め込まれたIPMモータである。旋回用電動機21は、上部旋回体3の旋回機構2Aを駆動するために設けられている。力行運転の際には、旋回用電動機21の回転駆動力の回転力が旋回減速機24にて増幅され、上部旋回体3が加減速制御され回転運動を行う。また、上部旋回体3の慣性回転により、旋回減速機24にて回転数が増加されて旋回用電動機21に伝達され、回生電力を発生させることができる。
なお、バッテリ19の充放電制御は、バッテリ19の充電状態、電動発電機12の運転状態(力行運転又は回生運転)、及び、旋回用電動機21の運転状態(力行運転又は回生運転)に基づき、コントローラ30によって行われる。
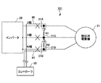
リレー21A及び21Bは、図3に示すように、インバータ20と旋回用電動機21との間の三相配線(U相、V相、W相)に配設される。リレー21Aは、U相とV相の間を結ぶ短絡用電線21C上に配設されており、リレー21Bは、V相とW相の間を結ぶ短絡用電線21D上に配設されている。短絡用電線21C及び短絡用電線21Dには、好ましくは、抵抗R1,R2が設けられる。尚、この抵抗R1,R2は、後述のダイナミックブレーキ機構作動時に旋回用電動機21の内部抵抗の抵抗値を増加させるのに寄与し、後述のダイナミックブレーキ機構による制動能力を増加させる。従って、抵抗R1,R2の抵抗値は、ダイナミックブレーキ機構による必要な制動能力に応じて決定されてもよい。
リレー21A及び21Bは、常態が閉成であり、コントローラ30から駆動信号を受けて開成する。コントローラ30からの駆動信号は、図3に示すように、信号線90,91によりリレー21A及び21Bに供給される。即ち、コントローラ30により信号線90,91に駆動電流が流されると、リレー21A及び21Bは開成状態となり、信号線90,91に駆動電流が流されない状態(即ち駆動電流がゼロの状態)では、リレー21A及び21Bは閉成状態となる。コントローラ30は、通常時、信号線90,91を介して駆動信号を常時供給し、リレー21A及び21Bを開成状態に維持する一方、後述のダイナミックブレーキ機構を作動させるときに、信号線90,91を介した駆動信号の供給を停止して、リレー21A及び21Bを閉成させる。
リレー21A及び21Bが閉成されると、旋回用電動機21の三相配線が短絡状態となる。旋回用電動機21の三相配線が短絡状態であるとき、旋回用電動機21のロータ(磁石)が回転すると、コイルに電流が誘起されて回路上の抵抗(旋回用電動機21の内部抵抗)で熱エネルギーが生ずる。即ち、旋回用電動機21の三相配線が短絡状態であるときに、旋回用電動機21のロータ(磁石)が回転すると、旋回用電動機21の回転エネルギーが回路上の抵抗で熱エネルギーに変換される。従って、旋回用電動機21の三相配線を短絡状態に切り替えることで、旋回用電動機21の回転に対して制動力を付与することができる。尚、このときの制動力(制動トルク)は、旋回用電動機21の内部抵抗の抵抗値と回転軸21aの回転速度とによって定まる。以下、このようにして旋回用電動機21の回転に対して制動力を付与する機構を、「ダイナミックブレーキ機構」とも称する。
レゾルバ22は、旋回用電動機21の回転軸21aの回転位置及び回転角度を検出するセンサであり、旋回用電動機21と機械的に連結することで旋回用電動機21の回転前の回転軸21aの回転位置と、左回転又は右回転した後の回転位置との差を検出することにより、回転軸21aの回転角度及び回転方向を検出するように構成されている。旋回用電動機21の回転軸21aの回転角度を検出することにより、旋回機構2Aの回転角度及び回転方向が導出される。
メカニカルブレーキ23は、機械的な制動力を発生させる制動装置であり、旋回用電動機21の回転軸21aを機械的に停止させる。このメカニカルブレーキ23は、電磁式スイッチにより制動/解除が切り替えられる。この切り替えは、コントローラ30によって行われる。
旋回減速機24は、旋回用電動機21の回転軸21aの回転速度を減速して旋回機構2Aに機械的に伝達する減速機である。これにより、力行運転の際には、旋回用電動機21の回転力を増力させ、より大きな回転力として旋回体へ伝達することができる。これとは逆に、回生運転の際には、旋回体で発生した回転数を増加させ、より多くの回転動作を旋回用電動機21に発生させることができる。
旋回機構2Aは、旋回用電動機21のメカニカルブレーキ23が解除された状態で旋回可能となり、これにより、上部旋回体3が左方向又は右方向に旋回される。
操作装置26は、旋回用電動機21、下部走行体1、ブーム4、アーム5、及びバケット6を操作するための操作装置であり、レバー26A及び26Bとペダル26Cを含む。レバー26Aは、旋回用電動機21及びアーム5を操作するためのレバーであり、上部旋回体3の運転席近傍に設けられる。レバー26Bは、ブーム4及びバケット6を操作するためのレバーであり、運転席近傍に設けられる。また、ペダル26Cは、下部走行体1を操作するための一対のペダルであり、運転席の足下に設けられる。
この操作装置26は、パイロットライン25を通じて供給される油圧(1次側の油圧)を運転者の操作量に応じた油圧(2次側の油圧)に変換して出力する。操作装置26から出力される2次側の油圧は、油圧ライン27を通じてコントロールバルブ17に供給されるとともに、圧力センサ29によって検出される。
レバー26A及び26Bとペダル26Cの各々が操作されると、油圧ライン27を通じてコントロールバルブ17が駆動され、これにより、油圧モータ1A、1B、ブームシリンダ7、アームシリンダ8、及びバケットシリンダ9内の油圧が制御されることによって、下部走行体1、ブーム4、アーム5、及びバケット6が駆動される。
なお、油圧ライン27は、油圧モータ1A及び1Bを操作するために1本ずつ(すなわち合計2本)、ブームシリンダ7、アームシリンダ8、及びバケットシリンダ9をそれぞれ操作するために2本ずつ(すなわち合計6本)設けられるため、実際には全部で8本あるが、説明の便宜上、1本にまとめて表す。
圧力センサ29では、レバー26A、レバー26B、及びペダル26Cの各々の操作による油圧ライン28内の油圧の変化が別個独立的に圧力センサ29で検出される。圧力センサ29は、レバー26A、レバー26B、及びペダル26Cの各々の操作により、旋回用電動機21、ブーム4、アーム5、バケット6、及び下部走行体1の各々を操作するための油圧の変化を検出し、各々の操作による油圧ライン28内の油圧を表す電気信号を出力する。これらの電気信号は、コントローラ30に入力される。
バッテリ19とインバータ20の間には、バッテリ19とインバータ20の間の電線を流れる電流を検出する電流センサ70が設けられる。電流センサ70は、バッテリ19とインバータ20の間に代えて若しくは加えて、インバータ20とリレー21A,21Bの間に設けられてもよい。即ち、電流センサ70は、インバータ20の入力側及び/又は出力側に設けられてもよい。電流センサ70により検出された電流値を表す電気信号は、コントローラ30に入力される。
コントローラ30は、CPU(Central Processing Unit)及び内部メモリを含む演算処理装置で構成される。コントローラ30は、本実施の形態1の建設機械100の各種の駆動制御を行う。コントローラ30は、例えば、圧力センサ29から出力される電気信号に基づいて、レバー26Aの操作量に応じて、インバータ20を介して旋回用電動機21を回転駆動させる。
ところで、上述の如く、旋回用電動機21はバッテリ19を電源として動作しているので、仮にバッテリ19と旋回用電動機21の間の電線が切断されると、旋回機構2Aの旋回動作が制御不能な状態に陥る。かかる制御不能状態に対するフェールセーフとして、バッテリ19と旋回用電動機21の間の電線が切断された場合に、メカニカルブレーキ23を作動させて旋回用電動機21の回転軸21aの回転に機械的な制動力を付与することも可能であるが、上部旋回体3の旋回動作の慣性が大きい場合等にはメカニカルブレーキ23により旋回用電動機21の回転軸21aの回転を適切に停止させることができない虞がある。
そこで、本実施の形態1では、以下で詳説するように、バッテリ19と旋回用電動機21の間の電線が切断された場合に、旋回用電動機21の回転軸21aの回転を適切に停止させるフェールセーフ機能を電線の配線構造101により実現する。
以下、このフェールセーフ機能を実現する電線の配線構造101について、図3を再度参照して、詳説する。
本実施の形態1の配線構造101では、リレー21A及び21Bに対する信号線90,91は、図3に模式的に示すように、旋回用電動機21への電力供給線と並走するように配策される。即ち、リレー21A及び21Bに対する信号線90,91は、旋回用電動機21への電力供給線と同時に切断されるように配策される。図3に示す例では、リレー21Aに対する信号線90は、U相配線と並走するように配策され、リレー21Bに対する信号線91は、W相配線と並走するように配策されている。但し、信号線90又は信号線91は、V相配線と並走するように配策されてもよい。或いは、信号線90及び/又は信号線91は、3相配線のうちの任意の組み合わせの2相配線(例えばU相配線及びV相配線)、若しくは3相配線の全てに並走するように配策されてもよい。例えば、3相配線が束状にされて旋回用電動機21に配策されている場合には、信号線90及び信号線91は、当該3相配線の束に密着して配策されてよい。
信号線90,91が旋回用電動機21への電力供給線と並走して配策される範囲は、長いほど有効であるが、例えば図3に示すように、インバータ20の出力端子から旋回用電動機21の入力端子までの略全区間を含むような範囲であってよい。また、信号線90,91は、旋回用電動機21への電力供給線の切断が生じ易い箇所(例えば周辺部材とのクリアランスが小さい箇所や振動部や可動部のそば)において、旋回用電動機21への電力供給線と並走して配策されてもよい。
ここで、本実施の形態1では、図3にて×マークで模式的に示すように、旋回用電動機21への電力供給線が切断されると、信号線90及び信号線91も同時に切断されることになる。信号線90及び信号線91が切断されると、コントローラ30からリレー21A及び21Bへの駆動信号の供給が遮断される。この結果、リレー21A及び21Bは、常態に復帰して閉成されるので、短絡状態が形成されてダイナミックブレーキ機構が働く。尚、例え信号線90及び信号線91の一方しか切断されない場合でも、2相間が短絡するので、制動力がその分だけ低下するもののダイナミックブレーキ機構は機能する。
このように本実施の形態1によれば、旋回用電動機21の作動中にバッテリ19と旋回用電動機21の間の電線が切断された場合でも、ダイナミックブレーキ機構を働かせることができる。これにより、回転中の旋回用電動機21の回転軸21aの回転速度を、メカニカルブレーキ23が機能する回転速度領域まで低下させることができる。
尚、本実施の形態1によれば、上述の如く旋回用電動機21への電力供給線が切断されると、信号線90及び信号線91も同時に切断されることで、ダイナミックブレーキ機構が働くので、電流センサ70の検出結果に基づいて、旋回用電動機21への電力供給線の切断の有無を検出することを不要とすることも可能ではある。しかしながら、好ましくは、信号線90,91が旋回用電動機21への電力供給線と同時に切断されない場合に対するフェールセーフとして、電流センサ70の検出結果に基づいて、旋回用電動機21への電力供給線の切断が検出された場合に、コントローラ30がリレー21A及び21Bへの駆動信号の供給を停止して、ダイナミックブレーキ機構を作動させる。即ち、コントローラ30は、好ましくは、図4に示すように、バッテリ19と旋回用電動機21の間の電線が切断された場合に、旋回用電動機21の回転軸21aの回転を適切に停止させるフェールセーフ機能を実現する。
図4は、実施の形態1のコントローラ30により実現されるフェールセーフ機能用の主要処理の一例を示すフローチャートである。図4に示す処理ルーチンは、例えば旋回用電動機21の作動中(力行運転又は回生運転中)に所定周期毎に繰り返し実行される。
ステップ400では、電流センサ70からの電気信号に基づいて、バッテリ19と旋回用電動機21の間の電線が切断されたか否かを判定する。バッテリ19と旋回用電動機21の間の電線が切断されると、当該電線を流れる電流はゼロとなる。即ち、バッテリ19から旋回用電動機21への電力供給が遮断される。従って、例えばバッテリ19と旋回用電動機21の間の電線を流れる電流が、突然ゼロに変化した場合に、バッテリ19と旋回用電動機21の間の電線が切断されたと判定されることとしてもよい。バッテリ19と旋回用電動機21の間の電線が切断されたと判定された場合には、ステップ402に進み、それ以外の場合には、今回周期の処理はそのまま終了する。
ステップ402では、リレー21A及び21Bに対する駆動信号の供給を停止してリレー21A及び21Bを閉成し、ダイナミックブレーキ機構を働かせる。これにより、旋回用電動機21の内部抵抗の抵抗値と旋回用電動機21の回転軸21aの回転速度とによって定まる制動トルクが生じる。
ステップ404では、レゾルバ22からの信号に基づいて、旋回用電動機21の回転軸21aの回転速度を算出し(回転角度を微分演算し)、旋回用電動機21の回転軸21aの回転速度の絶対値が所定値以下であるか否かを判定する。この所定値は、メカニカルブレーキ23により旋回用電動機21の回転軸21aを停止させることができる回転速度の最大値(若しくはそれよりも僅かに低い値)に対応してよい。旋回用電動機21の回転軸21aの回転速度の絶対値が所定値よりも大きい場合には、ダイナミックブレーキ機構を引き続き作動させる必要があるため、ステップ402に戻る。他方、旋回用電動機21の回転軸21aの回転速度の絶対値が所定値以下である場合には、ステップ406に進む。
ステップ406では、メカニカルブレーキ23を作動させて旋回用電動機21の回転軸21aの回転を機械的に停止させる。
このように図4に示す処理によれば、旋回用電動機21の作動中にバッテリ19と旋回用電動機21の間の電線が切断された場合でも、ダイナミックブレーキ機構を働かせることで、回転中の旋回用電動機21の回転軸21aの回転速度を、メカニカルブレーキ23が機能する回転速度領域まで低下させることができる。これにより、旋回用電動機21の作動中にバッテリ19と旋回用電動機21の間の電線が切断されるというフェールに適切に対処することができる。尚、上記ステップ402の処理時若しくはステップ406の処理時に、警告を出力して、ユーザに電線の断線に対する点検ないし整備を行うように促してもよい。
「実施の形態2」
本実施の形態2は、上述の実施の形態1の下部走行体1用の油圧モータ1A、1Bを、バッテリ19を電源として動作する走行用発電機201A,201Bに置き換えた点が主に異なる。以下では、本実施の形態2に特有の構成を重点的に説明し、その他の構成は上述の実施の形態1と同様であってよく、同一の参照符号を付して説明を省略する。尚、コントローラ30については、以下で詳説する走行用発電機201A,201Bに関連する制御内容(ソフトウェア)だけが上述の実施の形態1のコントローラ30と異なるものであってよい。
図5は、本実施の形態2の建設機械200の構成を表すブロック図である。
走行用発電機201A,201Bは、建設機械200の左右輪にそれぞれ設けられ、左走行用発電機201Aと右走行用発電機201Bとして機能する。左走行用発電機201Aに関連する構成と、右走行用発電機201Bに関連する構成とは、実質的に同一であり、バッテリ19に対して並列に接続されている。以下では、主に、左走行用発電機201Aに関連する構成を代表として説明し、右走行用発電機201Bに関連する構成の説明は適宜省略する。
コントロールバルブ170は、本実施の形態2の建設機械200における油圧系の制御を行う制御装置であり、このコントロールバルブ170には、ブームシリンダ7、アームシリンダ8、及びバケットシリンダ9が高圧油圧ラインを介して接続される。コントロールバルブ170は、高圧油圧ラインを介して接続されるブームシリンダ7、アームシリンダ8、及びバケットシリンダ9の各々に供給する油圧を運転者の操作入力に応じて制御する。即ち、レバー26A及び26Bの各々が操作されると、油圧ライン27を通じてコントロールバルブ170が駆動され、これにより、ブームシリンダ7、アームシリンダ8、及びバケットシリンダ9内の油圧が制御されることによって、ブーム4、アーム5、及びバケット6が駆動される。
インバータ240は、左走行用発電機201Aとバッテリ19との間に設けられ、コントローラ300からの指令に基づき、左走行用発電機201Aに対して運転制御を行う。これにより、インバータ240が左走行用発電機201Aの力業を運転制御している際には、必要な電力をバッテリ19から左走行用発電機201Aに供給する。また、左走行用発電機201Aが回生運転をしている際には、左走行用発電機201Aにより発電された電力をバッテリ19へ充電する。
左走行用発電機201Aは、力行運転及び回生運転の双方が可能な電動機であり、上述のインバータ240によってPWM駆動される。左走行用発電機201Aは、好ましくは、磁石がロータ内部に埋め込まれたIPMモータである。力行運転の際には、左走行用発電機201Aの回転駆動力の回転力が左走行減速機244にて増幅され、下部走行体1が加減速制御される。また、下部走行体1の慣性走行により、左走行減速機244にて回転数が増加されて左走行用発電機201Aに伝達され、回生電力を発生させることができる。
なお、バッテリ19の充放電制御は、バッテリ19の充電状態、電動発電機12の運転状態(力行運転又は回生運転)、旋回用電動機21の運転状態(力行運転又は回生運転)、及び、左走行用発電機201Aや右走行用発電機201Bの運転状態(力行運転又は回生運転)に基づき、コントローラ300によって行われる。
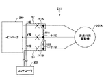
リレー241A及び241Bは、図6に示すように、インバータ240と左走行用発電機201Aとの間の三相配線(U相、V相、W相)に配設される。リレー241Aは、U相とV相の間を結ぶ短絡用電線241C上に配設されており、リレー241Bは、V相とW相の間を結ぶ短絡用電線241D上に配設されている。短絡用電線241C及び短絡用電線241Dには、好ましくは、抵抗R10,R20が設けられる。尚、この抵抗R10,R20は、ダイナミックブレーキ機構作動時における左走行用発電機201Aの内部抵抗を増加させるのに寄与し、後述のダイナミックブレーキ機構による制動能力を増加させる。従って、抵抗R10,R20の抵抗値は、ダイナミックブレーキ機構による必要な制動能力に応じて決定されてもよい。
リレー241A及び241Bは、常態が閉成であり、コントローラ300から駆動信号を受けて開成する。コントローラ300からの駆動信号は、図6に示すように、信号線92,93によりリレー241A及び241Bに供給される。即ち、コントローラ300により信号線92,93に駆動電流が流されると、リレー241A及び241Bは開成状態となり、信号線92,93に駆動電流が流されない状態(即ち駆動電流がゼロの状態)では、リレー241A及び241Bは閉成状態となる。コントローラ300は、通常時、信号線92,93を介して駆動信号を常時供給し、リレー241A及び241Bを開成状態に維持する一方、ダイナミックブレーキ機構を作動させるときに、信号線92,93を介した駆動信号の供給を停止して、リレー241A及び241Bを閉成させる。
リレー241A及び241Bが閉成されると、左走行用発電機201Aの三相配線が短絡状態となる。左走行用発電機201Aの三相配線が短絡状態であるとき、左走行用発電機201Aのロータ(磁石)が回転すると、コイルに電流が誘起されて回路上の抵抗(左走行用発電機201Aの内部抵抗)で熱エネルギーが生ずる。即ち、左走行用発電機201Aの三相配線が短絡状態であるときに、左走行用発電機201Aのロータ(磁石)が回転すると、左走行用発電機201Aの回転エネルギーが回路上の抵抗で熱エネルギーに変換される。従って、左走行用発電機201Aの三相配線を短絡状態に切り替えることで、左走行用発電機201Aの回転に対して制動力を付与することができる。尚、このときの制動力(制動トルク)は、左走行用発電機201Aの内部抵抗の抵抗値と回転軸241aの回転速度とによって定まる。以下、このようにして左走行用発電機201Aの回転に対して制動力を付与する機構を、上述と同様に、「ダイナミックブレーキ機構」とも称する。
レゾルバ242は、左走行用発電機201Aの回転軸241aの回転位置及び回転角度を検出するセンサであり、左走行用発電機201Aと機械的に連結することで左走行用発電機201Aの回転前の回転軸241aの回転位置と、左回転又は右回転した後の回転位置との差を検出することにより、回転軸241aの回転角度及び回転方向を検出するように構成されている。
メカニカルブレーキ243は、機械的な制動力を発生させる制動装置であり、左走行用発電機201Aの回転軸241aを機械的に停止させる。このメカニカルブレーキ243は、電磁式スイッチにより制動/解除が切り替えられる。この切り替えは、コントローラ300によって行われる。
走行機構2Bは、左走行減速機244のメカニカルブレーキ243が解除された状態で走行可能となり、これにより、下部走行体1が前後方向等に走行される。
左走行減速機244は、左走行用発電機201Aの回転軸241aの回転速度を減速して走行機構2Bに機械的に伝達する減速機である。これにより、力行運転の際には、左走行用発電機201Aの回転力を増力させ、より大きな推進力として下部走行体1へ伝達することができる。これとは逆に、回生運転の際には、下部走行体1で発生した推進力に基づく回転数を増加させ、より多くの回転動作を左走行用発電機201Aに発生させることができる。
バッテリ19とインバータ240の間には、バッテリ19とインバータ240の間の電線を流れる電流を検出する電流センサ272が設けられる。電流センサ272は、バッテリ19とインバータ240の間に代えて若しくは加えて、インバータ240とリレー241A、241Bの間に設けられてもよい。即ち、電流センサ272は、インバータ240の入力側及び/又は出力側に設けられてもよい。電流センサ272により検出された電流値を表す電気信号は、コントローラ300に入力される。
コントローラ300は、CPU及び内部メモリを含む演算処理装置で構成される。コントローラ300は、本実施の形態2の建設機械100の各種の駆動制御を行う。コントローラ300は、例えば、圧力センサ29から出力される電気信号に基づいて、レバー26Aの操作量に応じて、インバータ20を介して旋回用電動機21を回転駆動させたり、ペダル26Cの操作量に応じて、インバータ220及び240を介して右走行用発電機201B及び左走行用発電機201Aを回転駆動させたりする。
ところで、上述の如く、左走行用発電機201Aはバッテリ19を電源として動作しているので、仮にバッテリ19と左走行用発電機201Aの間の電線が切断されると、走行機構2Bが制御不能な状態に陥る。かかる制御不能状態に対するフェールセーフとして、バッテリ19と左走行用発電機201Aの間の電線が切断された場合に、メカニカルブレーキ243を作動させて左走行用発電機201Aの回転軸241aの回転に機械的な制動力を付与することも可能であるが、上部旋回体3の旋回動作の慣性が大きい場合等にはメカニカルブレーキ243により左走行用発電機201Aの回転軸241aの回転を適切に停止させることができない虞がある。
そこで、本実施の形態2では、以下で詳説するように、バッテリ19と左走行用発電機201Aの間の電線が切断された場合に、左走行用発電機201Aの回転軸21aの回転を適切に停止させるフェールセーフ機能を電線の配線構造211により実現する。
以下、このフェールセーフ機能を実現する電線の配線構造211について、図6を再度参照して詳説する。尚、以下で説明する配線構造211は、左走行用発電機201Aに関するものであるが、右走行用発電機201B及び旋回用電動機21に関しても同様であってよい。
本実施の形態2の配線構造211では、リレー241A及び241Bに対する信号線92,93は、図6に模式的に示すように、左走行用発電機201Aへの電力供給線と並走するように配策される。即ち、リレー241A及び241Bに対する信号線92,93は、左走行用発電機201Aへの電力供給線と同時に切断されるように配策される。図6に示す例では、リレー241Aに対する信号線92は、U相配線と並走するように配策され、リレー241Bに対する信号線93は、W相配線と並走するように配策されている。但し、信号線92又は信号線93は、V相配線と並走するように配策されてもよい。或いは、信号線92及び/又は信号線93は、3相配線のうちの任意の組み合わせの2相配線、若しくは3相配線の全てに並走するように配策されてもよい。例えば、3相配線が束状にされて左走行用発電機201Aに配策されている場合には、信号線92及び信号線93は、当該3相配線の束に密着して配策されてよい。
信号線92,93が左走行用発電機201Aへの電力供給線と並走して配策される範囲は、長いほど有効であるが、例えば図6に示すように、インバータ20の出力端子から左走行用発電機201Aの入力端子までの略全区間を含むような範囲であってよい。このような範囲は、特に、左走行用発電機201A(右走行用発電機201Bについても同様)の場合に好適である。これは、左走行用発電機201Aが下部走行体1に設けられ、インバータ20が上部旋回体3に設けられるので、左走行用発電機201Aとインバータ20との間の電力供給線は、必然的に長くなり、且つ、上部旋回体3と下部走行体1の間のセンタージョイントを通過し、センタージョイント付近で切断され易くなるからである。また、信号線92,93は、左走行用発電機201Aへの電力供給線の切断が生じ易い箇所(例えば周辺部材とのクリアランスが小さい箇所や振動部や可動部のそば)において、左走行用発電機201Aへの電力供給線と並走して配策されてもよい。
ここで、本実施の形態2では、図6にて×マークで模式的に示すように、左走行用発電機201Aへの電力供給線が切断されると、信号線92及び信号線93も同時に切断されることになる。信号線92及び信号線93が切断されると、コントローラ300からリレー241A及び241Bへの駆動信号の供給が遮断される。この結果、リレー241A及び241Bは、常態に復帰して閉成されるので、短絡状態が形成されてダイナミックブレーキ機構が働く。尚、例え信号線92及び信号線93の一方しか切断されない場合でも、制動力がその分だけ低下するもののダイナミックブレーキ機構は機能する。
このように本実施の形態2によれば、左走行用発電機201Aの作動中にバッテリ19と左走行用発電機201Aの間の電線が切断された場合でも、ダイナミックブレーキ機構を働かせることができる。これにより、回転中の左走行用発電機201Aの回転軸21aの回転速度を、メカニカルブレーキ243が機能する回転速度領域まで低下させることができる。
尚、本実施の形態2によれば、上述の如く左走行用発電機201Aへの電力供給線が切断されると、信号線92及び信号線93も同時に切断されることで、ダイナミックブレーキ機構が働くので、電流センサ272の検出結果に基づいて、左走行用発電機201Aへの電力供給線の切断の有無を検出することを不要とすることも可能ではある。しかしながら、信号線92,93が左走行用発電機201Aへの電力供給線と同時に切断されない場合に対するフェールセーフとして、電流センサ272の検出結果に基づいて、左走行用発電機201Aへの電力供給線の切断が検出された場合に、コントローラ300がリレー241A及び241Bへの駆動信号の供給を停止して、ダイナミックブレーキ機構を作動させることとしてもよい。即ち、コントローラ30は、好ましくは、図7に示すように、バッテリ19と左走行用発電機201Aの間の電線が切断された場合に、左走行用発電機201Aにより駆動される走行機構2Bを適切に停止させるフェールセーフ機能を実現する。
図7は、実施の形態2のコントローラ300により実現されるフェールセーフ機能用の主要処理の一例を示すフローチャートである。図7に示す処理ルーチンは、例えば左走行用発電機201Aの作動中に所定周期毎に繰り返し実行される。尚、図7に示す処理ルーチンは、左走行用発電機201Aに関するものであるが、右走行用発電機201B及び旋回用電動機21に関しても同様であってよい。
ステップ700では、電流センサ272からの電気信号に基づいて、バッテリ19と左走行用発電機201Aの間の電線が切断されたか否かを判定する。バッテリ19と左走行用発電機201Aの間の電線が切断されると、当該電線を流れる電流はゼロとなる。従って、例えばバッテリ19と左走行用発電機201Aの間の電線を流れる電流が、突然ゼロに変化した場合に、バッテリ19と左走行用発電機201Aの間の電線が切断されたと判定されることとしてもよい。バッテリ19と左走行用発電機201Aの間の電線が切断されたと判定された場合には、ステップ702に進み、それ以外の場合には、今回周期の処理はそのまま終了する。
ステップ702では、リレー241A及び241Bに対する駆動信号の供給を停止してリレー241A及び241Bを閉成し、ダイナミックブレーキ機構を働かせる。これにより、左走行用発電機201Aの内部抵抗の抵抗値と左走行用発電機201Aの回転軸241aの回転速度とによって定まる制動トルクが生じる。
ステップ704では、レゾルバ242からの信号に基づいて、左走行用発電機201Aの回転軸241aの回転速度を算出し(回転角度を微分演算し)、左走行用発電機201Aの回転軸241aの回転速度の絶対値が所定値以下であるか否かを判定する。この所定値は、メカニカルブレーキ243により左走行用発電機201Aの回転軸241aを停止させることができる回転速度の最大値(若しくはそれよりも僅かに小さい値)に対応してよい。左走行用発電機201Aの回転軸241aの回転速度の絶対値が所定値よりも大きい場合には、ダイナミックブレーキ機構を引き続き作動させる必要があるため、ステップ702に戻る。他方、左走行用発電機201Aの回転軸241aの回転速度の絶対値が所定値以下である場合には、ステップ706に進む。
ステップ706では、メカニカルブレーキ243を作動させて左走行用発電機201Aの回転軸241aの回転を機械的に停止させる。
このように図7に示す処理によれば、左走行用発電機201Aの作動中にバッテリ19と左走行用発電機201Aの間の電線が切断された場合でも、ダイナミックブレーキ機構を働かせることで、回転中の左走行用発電機201Aの回転軸241aの回転速度を、メカニカルブレーキ243が機能する回転速度領域まで低下させることができる。これにより、左走行用発電機201Aの作動中にバッテリ19と左走行用発電機201Aの間の電線が切断されるというフェールに適切に対処することができる。尚、上記ステップ702の処理時若しくはステップ706の処理時に、警告を出力して、ユーザに電線の断線に対する点検ないし整備を行うように促してもよい。
以上、本発明の好ましい実施例について詳説したが、本発明は、上述した実施例に制限されることはなく、本発明の範囲を逸脱することなく、上述した実施例に種々の変形及び置換を加えることができる。
例えば、上述の実施の形態1においては、リレー21A及び21Bを閉成することで、ダイナミックブレーキ機構を働かせていたが、インバータ20のスイッチング素子を用いてダイナミックブレーキ機構を働かせることも可能である。例えば、図8は、実施の形態1の建設機械100の旋回用電動機21を駆動制御するためのインバータ20の構成を示す図である。インバータ20は、旋回用電動機21を三相駆動するために6つのトランジスタT1〜T6を含むブリッジ回路を有する。この場合、実施の形態1で説明したリレー21A及び21Bを廃止し、その代わりに、インバータ20内のトランジスタの駆動状態によって旋回用電動機21を短絡状態にする。即ち、上述と同様に旋回用電動機21への電力供給線の断線に伴いトランジスタ駆動用の信号線が断線すると、常態がオン状態のトランジスタT1、T2及びT3を同時にオンに切り替えられることによって旋回用電動機21の三相配線が短絡される。以上の変形例は、上述の実施の形態2に対しても同様に当てはまる。
また、上述の実施の形態1においては、旋回用電動機21がインバータ20によってPWM駆動される交流モータであったが、旋回用電動機21は直流モータであってもよい。このように旋回用電動機21として直流モータを用いる場合は、直流モータに電力を供給する2本の電力供給線を短絡させるためのリレーを1つ設ければよい。このリレーを閉成すれば、直流モータの短絡制動によって回転軸に制動トルクが生じるため、交流モータの場合と同様に旋回停止状態を実現することができる。この場合も、リレーに対する駆動信号を供給する信号線を電力供給線と並走させればよい。以上の変形例は、上述の実施の形態2における左走行用発電機201A、右走行用発電機201B及び旋回用電動機21に対しても同様に当てはまる。
また、実施の形態1において、上述の如く旋回用電動機21への電力供給線の切断に起因してダイナミックブレーキ機構を作動させた場合に、所定時間経過後に、旋回用電動機21の回転軸21aの回転速度がメカニカルブレーキ23の機能する回転速度領域まで低下したと判断して(看做して)、メカニカルブレーキ23を作動させることとしてもよい。かかる構成によれば、レゾルバ22とコントローラ30の間の信号線が切断されたフェール時にも適切な段階でメカニカルブレーキ23を作動させることができる。以上の変形例は、上述の実施の形態2に対しても同様に当てはまる。
実施の形態1の建設機械100を示す側面図である。 実施の形態1の建設機械100の構成を表すブロック図である。 実施の形態1の建設機械100における配線構造101の要部を示す図である。 実施の形態1のコントローラ30により実現されるフェールセーフ機能用の主要処理の一例を示すフローチャートである。 実施の形態2の建設機械200の構成を表すブロック図である。 実施の形態2の建設機械200における配線構造211の要部を示す図である。 実施の形態2のコントローラ300により実現されるフェールセーフ機能用の主要処理の一例を示すフローチャートである。 実施の形態1の建設機械100の旋回用電動機21を駆動制御するためのインバータ20の構成を示す図である。
符号の説明
1 下部走行体
1A、1B 油圧モータ
2A 旋回機構
2B 走行機構
3 上部旋回体
4 ブーム
5 アーム
6 バケット
7 ブームシリンダ
8 アームシリンダ
9 バケットシリンダ
10 キャビン
11 エンジン
12 電動発電機
13 減速機
14 メインポンプ
15 パイロットポンプ
16 高圧油圧ライン
17,170 コントロールバルブ
18 インバータ
19 バッテリ
20,220,240 インバータ
21A、21B、241A、241Bは リレー
21 旋回用電動機
22 レゾルバ
23,223,243 メカニカルブレーキ
24 旋回減速機
25 パイロットライン
26 操作装置
26A、26B レバー
26C ペダル
27 油圧ライン
28 油圧ライン
29 圧力センサ
30,300 コントローラ
70,270,272 電流センサ
90,91,92,93 信号線
100,200 建設機械
101,211 配線構造
201A 左走行用発電機
201B 右走行用発電

Claims (7)

  1. バッテリに接続される電動機により駆動される機構を備える建設機械において、前記電動機の作動させるための配線構造であって、
    前記バッテリと前記電動機の間を接続する電力供給用電線と、
    前記電力供給用電線に接続され、前記電動機を短絡させるための短絡用電線と、
    前記短絡用電線に設けられ、常態が閉であり、制御信号が供給されることで開成するリレー若しくはスイッチング素子と、
    前記制御信号を前記リレー若しくはスイッチング素子に供給するための制御信号線とを備え、
    前記電力供給用電線と前記制御信号線が並走するように配策されることを特徴とする、配線構造。
  2. 前記電力供給用電線と前記制御信号線は同時に切断されるように配策される、請求項1に記載の配線構造。
  3. 前記電力供給用電線と前記制御信号線は互いに密着して配策される、請求項1に記載の配線構造。
  4. 前記機構は、建設機械の上部旋回体の旋回機構、及び、建設機械の下部走行体の走行機構の少なくともいずれか一方である、請求項1乃至3のいずれか一項に記載の配線構造。
  5. 前記電動機は、磁石埋込型三相交流モータである、請求項1乃至4のいずれか一項に記載の配線構造。
  6. バッテリと、前記バッテリに接続される電動機と、前記電動機により駆動される機構とを備える建設機械であって、
    請求項1〜5のうちのいずれか一項に記載の配線構造と、
    前記電動機の作動を制御する制御装置と、
    前記バッテリと前記電動機の間の電線に流れる電流の状態を検出する検出手段とを備え、
    前記制御装置は、前記検出手段の検出結果に基づいて前記電線の切断が検出された場合に、前記電動機を短絡状態に切り替えることを特徴とする、建設機械。
  7. 前記制御装置は、前記電動機を短絡状態に切り替えた後、前記電動機の回転速度が所定値以下となった場合に、メカニカルブレーキを作動させて前記電動機の回転を停止させる、請求項6に記載の建設機械。
JP2008163749A 2008-06-23 2008-06-23 建設機械における電動機作動用配線構造及びこれを用いた建設機械 Expired - Fee Related JP4856124B2 (ja)

Priority Applications (1)

Application Number Priority Date Filing Date Title
JP2008163749A JP4856124B2 (ja) 2008-06-23 2008-06-23 建設機械における電動機作動用配線構造及びこれを用いた建設機械

Applications Claiming Priority (1)

Application Number Priority Date Filing Date Title
JP2008163749A JP4856124B2 (ja) 2008-06-23 2008-06-23 建設機械における電動機作動用配線構造及びこれを用いた建設機械

Publications (2)

Publication Number Publication Date
JP2010001712A true JP2010001712A (ja) 2010-01-07
JP4856124B2 JP4856124B2 (ja) 2012-01-18

Family

ID=41583642

Family Applications (1)

Application Number Title Priority Date Filing Date
JP2008163749A Expired - Fee Related JP4856124B2 (ja) 2008-06-23 2008-06-23 建設機械における電動機作動用配線構造及びこれを用いた建設機械

Country Status (1)

Country Link
JP (1) JP4856124B2 (ja)

Cited By (2)

* Cited by examiner, † Cited by third party
Publication number Priority date Publication date Assignee Title
JP2013163956A (ja) * 2012-02-13 2013-08-22 Sumitomo Heavy Ind Ltd ショベル
EP4700180A1 (en) * 2024-08-20 2026-02-25 J.C. Bamford Excavators Limited Brake system

Citations (4)

* Cited by examiner, † Cited by third party
Publication number Priority date Publication date Assignee Title
JPH0223080A (ja) * 1988-07-08 1990-01-25 Meidensha Corp ロボットの制動方式
JP2001012404A (ja) * 1999-06-28 2001-01-16 Kobe Steel Ltd ハイブリッド建設機械
JP2005290902A (ja) * 2004-04-02 2005-10-20 Kobelco Contstruction Machinery Ltd 作業機械の非常時旋回制動方法及び同装置
JP2007318473A (ja) * 2006-05-26 2007-12-06 Hitachi Constr Mach Co Ltd 建設機械用無線通信装置のアンテナケーブル断線検出装置及び建設機械用無線通信装置

Patent Citations (4)

* Cited by examiner, † Cited by third party
Publication number Priority date Publication date Assignee Title
JPH0223080A (ja) * 1988-07-08 1990-01-25 Meidensha Corp ロボットの制動方式
JP2001012404A (ja) * 1999-06-28 2001-01-16 Kobe Steel Ltd ハイブリッド建設機械
JP2005290902A (ja) * 2004-04-02 2005-10-20 Kobelco Contstruction Machinery Ltd 作業機械の非常時旋回制動方法及び同装置
JP2007318473A (ja) * 2006-05-26 2007-12-06 Hitachi Constr Mach Co Ltd 建設機械用無線通信装置のアンテナケーブル断線検出装置及び建設機械用無線通信装置

Cited By (2)

* Cited by examiner, † Cited by third party
Publication number Priority date Publication date Assignee Title
JP2013163956A (ja) * 2012-02-13 2013-08-22 Sumitomo Heavy Ind Ltd ショベル
EP4700180A1 (en) * 2024-08-20 2026-02-25 J.C. Bamford Excavators Limited Brake system

Also Published As

Publication number Publication date
JP4856124B2 (ja) 2012-01-18

Similar Documents

Publication Publication Date Title
JP5149826B2 (ja) ハイブリッド式作業機械及びサーボ制御システム
US8543296B2 (en) Turning drive control unit and construction machine including same
JP5090527B2 (ja) 旋回駆動制御装置及びこれを含む建設機械
JP5265754B2 (ja) ハイブリッド型ショベル
CN104220287A (zh) 动力传递装置以及具备该动力传递装置的混合动力工程机械
CN105922877A (zh) 用于控制车辆的电气化动力传动系的方法和设备
JP2009280973A (ja) 建設機械用制御装置及びこれを用いた建設機械
WO2015141449A1 (ja) 作業機械
JP2009284575A (ja) 走行機構用制御装置及びこれを用いた建設機械
JP5583901B2 (ja) ハイブリッド型建設機械
JP5274978B2 (ja) ハイブリッド型建設機械
JP4949308B2 (ja) 旋回駆動制御装置及びこれを含む建設機械
JP4594981B2 (ja) 旋回駆動制御装置及びこれを含む建設機械
JP4949457B2 (ja) ハイブリッド型建設機械
JP4856124B2 (ja) 建設機械における電動機作動用配線構造及びこれを用いた建設機械
JP5797983B2 (ja) 電気自動車のコンデンサ電荷放電装置
JP4648938B2 (ja) 旋回駆動制御装置及びこれを用いた建設機械
JP4745322B2 (ja) 旋回駆動制御装置及びこれを含む建設機械
JP4611370B2 (ja) 旋回駆動制御装置及びこれを含む建設機械
JP2018014781A (ja) 電気自動車
JP5307692B2 (ja) リフティングマグネット式自走機械
JP5160359B2 (ja) ハイブリッド型建設機械
JP4995048B2 (ja) 建設機械の異常検出装置及びこれを含む建設機械
JP5101405B2 (ja) 旋回駆動制御装置及びこれを含む建設機械
JP2010185257A (ja) ハイブリッド型作業機械

Legal Events

Date Code Title Description
RD04 Notification of resignation of power of attorney

Free format text: JAPANESE INTERMEDIATE CODE: A7424

Effective date: 20091014

A625 Written request for application examination (by other person)

Free format text: JAPANESE INTERMEDIATE CODE: A625

Effective date: 20100809

A977 Report on retrieval

Free format text: JAPANESE INTERMEDIATE CODE: A971007

Effective date: 20111007

TRDD Decision of grant or rejection written
A01 Written decision to grant a patent or to grant a registration (utility model)

Free format text: JAPANESE INTERMEDIATE CODE: A01

Effective date: 20111025

A01 Written decision to grant a patent or to grant a registration (utility model)

Free format text: JAPANESE INTERMEDIATE CODE: A01

A61 First payment of annual fees (during grant procedure)

Free format text: JAPANESE INTERMEDIATE CODE: A61

Effective date: 20111027

FPAY Renewal fee payment (prs date is renewal date of database)

Free format text: PAYMENT UNTIL: 20141104

Year of fee payment: 3

R150 Certificate of patent (=grant) or registration of utility model

Free format text: JAPANESE INTERMEDIATE CODE: R150

LAPS Cancellation because of no payment of annual fees