JP2010000335A - 超音波処置具 - Google Patents

超音波処置具 Download PDF

Info

Publication number
JP2010000335A
JP2010000335A JP2009018560A JP2009018560A JP2010000335A JP 2010000335 A JP2010000335 A JP 2010000335A JP 2009018560 A JP2009018560 A JP 2009018560A JP 2009018560 A JP2009018560 A JP 2009018560A JP 2010000335 A JP2010000335 A JP 2010000335A
Authority
JP
Japan
Prior art keywords
treatment
main body
ultrasonic
transmission member
longitudinal axis
Prior art date
Legal status (The legal status is an assumption and is not a legal conclusion. Google has not performed a legal analysis and makes no representation as to the accuracy of the status listed.)
Granted
Application number
JP2009018560A
Other languages
English (en)
Other versions
JP5379501B2 (ja
Inventor
Hideto Yoshimine
英人 吉嶺
Kenichi Kimura
健一 木村
Susumu Komagata
進 駒形
Manabu Ishikawa
学 石川
Current Assignee (The listed assignees may be inaccurate. Google has not performed a legal analysis and makes no representation or warranty as to the accuracy of the list.)
Olympus Medical Systems Corp
Original Assignee
Olympus Medical Systems Corp
Priority date (The priority date is an assumption and is not a legal conclusion. Google has not performed a legal analysis and makes no representation as to the accuracy of the date listed.)
Filing date
Publication date
Application filed by Olympus Medical Systems Corp filed Critical Olympus Medical Systems Corp
Publication of JP2010000335A publication Critical patent/JP2010000335A/ja
Application granted granted Critical
Publication of JP5379501B2 publication Critical patent/JP5379501B2/ja
Expired - Fee Related legal-status Critical Current
Anticipated expiration legal-status Critical

Links

Images

Classifications

    • AHUMAN NECESSITIES
    • A61MEDICAL OR VETERINARY SCIENCE; HYGIENE
    • A61BDIAGNOSIS; SURGERY; IDENTIFICATION
    • A61B17/00Surgical instruments, devices or methods
    • A61B17/32Surgical cutting instruments
    • A61B17/320068Surgical cutting instruments using mechanical vibrations, e.g. ultrasonic
    • AHUMAN NECESSITIES
    • A61MEDICAL OR VETERINARY SCIENCE; HYGIENE
    • A61BDIAGNOSIS; SURGERY; IDENTIFICATION
    • A61B17/00Surgical instruments, devices or methods
    • A61B17/32Surgical cutting instruments
    • A61B17/320016Endoscopic cutting instruments, e.g. arthroscopes, resectoscopes
    • AHUMAN NECESSITIES
    • A61MEDICAL OR VETERINARY SCIENCE; HYGIENE
    • A61BDIAGNOSIS; SURGERY; IDENTIFICATION
    • A61B17/00Surgical instruments, devices or methods
    • A61B17/32Surgical cutting instruments
    • A61B17/3205Excision instruments
    • A61B17/32056Surgical snare instruments
    • AHUMAN NECESSITIES
    • A61MEDICAL OR VETERINARY SCIENCE; HYGIENE
    • A61BDIAGNOSIS; SURGERY; IDENTIFICATION
    • A61B17/00Surgical instruments, devices or methods
    • A61B17/32Surgical cutting instruments
    • A61B17/3205Excision instruments
    • A61B17/3207Atherectomy devices working by cutting or abrading; Similar devices specially adapted for non-vascular obstructions
    • AHUMAN NECESSITIES
    • A61MEDICAL OR VETERINARY SCIENCE; HYGIENE
    • A61BDIAGNOSIS; SURGERY; IDENTIFICATION
    • A61B17/00Surgical instruments, devices or methods
    • A61B17/32Surgical cutting instruments
    • A61B17/320068Surgical cutting instruments using mechanical vibrations, e.g. ultrasonic
    • A61B2017/320089Surgical cutting instruments using mechanical vibrations, e.g. ultrasonic node location
    • AHUMAN NECESSITIES
    • A61MEDICAL OR VETERINARY SCIENCE; HYGIENE
    • A61BDIAGNOSIS; SURGERY; IDENTIFICATION
    • A61B17/00Surgical instruments, devices or methods
    • A61B17/32Surgical cutting instruments
    • A61B17/320068Surgical cutting instruments using mechanical vibrations, e.g. ultrasonic
    • A61B17/320092Surgical cutting instruments using mechanical vibrations, e.g. ultrasonic with additional movable means for clamping or cutting tissue, e.g. with a pivoting jaw
    • A61B2017/320093Surgical cutting instruments using mechanical vibrations, e.g. ultrasonic with additional movable means for clamping or cutting tissue, e.g. with a pivoting jaw additional movable means performing cutting operation

Landscapes

  • Health & Medical Sciences (AREA)
  • Surgery (AREA)
  • Engineering & Computer Science (AREA)
  • Life Sciences & Earth Sciences (AREA)
  • Heart & Thoracic Surgery (AREA)
  • Nuclear Medicine, Radiotherapy & Molecular Imaging (AREA)
  • Mechanical Engineering (AREA)
  • Biomedical Technology (AREA)
  • Dentistry (AREA)
  • Medical Informatics (AREA)
  • Molecular Biology (AREA)
  • Animal Behavior & Ethology (AREA)
  • General Health & Medical Sciences (AREA)
  • Public Health (AREA)
  • Veterinary Medicine (AREA)
  • Surgical Instruments (AREA)

Abstract

【課題】処置対象部位を容易且つ繊細に処置することができ、軟組織を巻き込むことなく処置でき、意図しない損傷を生じさせることなく処置できる超音波処置具を提供すること。
【解決手段】超音波処置具は、超音波振動を発生する超音波振動子ユニットと、超音波振動子ユニットと基端側にて接続し、超音波振動子ユニットにて発生した超音波振動を基端側から先端側に伝達する伝達部材と、伝達部材が挿通されるシースと、シースの先端から突出するように伝達部材の先端に配設され、超音波振動によって処置対象部位を処置する処置部と、処置部に配設され、処置対象部位を処置する処置部本体部と、シースの先端から突出するようにシースの中に配設され、処置対象部位を処置する処置部材と、処置部材の先端に配設され、処置対象部位を処置する処置部材本体部と、を具備し、処置部材本体部が処置部本体部と重なることで、処置部材本体部と処置部本体部とは処置対象部位を処置する。
【選択図】 図5

Description

本発明は、骨などを処置する整形外科用の超音波処置具に関する。
一般に整形外科手術における骨や軟骨などの硬組織が切除または切削される場合、機器が用いられる。この機器は、例えばコールドナイフ、手動式のパンチ鉗子、電動モータによって駆動するシェーバー、ドリルである。
例えば特許文献1には、超音波ハンドピースとこれに使用する超音波ホーンが開示されている。超音波ホーンは、超音波ハンドピースの構成部材である。超音波ホーンは、少なくとも1以上の面部からなる作業部と、作業部により微細に破砕された骨組織を掻き取るためのエッジ部とを有している。超音波ハンドピースと超音波ホーンとは、硬組織の切削に使用する超音波ハンドピースにおいて、メス部の被切削部位へに過刺に起因する種々の弊害を防止して、広い視野の下にメス部の動きを精妙にコントロールし治療目的に則した正確な骨などの硬組織の切削を実現する。
米国特許第6,497,715 B2号明細書
一般的に、上述した機器による硬組織(処置対象部位)の処置(切除または切削)では、繊細な処置が困難であり、硬組織の周囲の軟組織を巻き込んでしまうために、意図しない損傷が生じてしまう。
そのため本発明は、上記課題を鑑みて、処置対象部位を容易且つ繊細に処置することができ、軟組織を巻き込むことなく処置でき、意図しない損傷を生じさせることなく処置できる超音波処置具を提供することを目的とする。
本発明は、超音波振動を発生する超音波振動子ユニットと、前記超音波振動子ユニットと基端側にて接続し、前記超音波振動子ユニットにて発生した超音波振動を基端側から先端側に伝達する伝達部材と、前記伝達部材が挿通されるシースと、前記シースの先端から突出するように前記伝達部材の先端に配設され、前記伝達部材から伝達される超音波振動によって処置対象部位を処置する処置部と、前記処置部に配設され、前記処置対象部位を処置する処置部本体部と、前記シースの先端から突出するように前記シースの中に配設され、前記処置対象部位を処置する処置部材と、前記処置部材の先端に配設され、前記処置対象部位を処置する処置部材本体部と、を具備し、前記処置部材本体部が前記処置部本体部と重なることで、前記処置部材本体部と前記処置部本体部とは前記処置対象部位を処置する超音波処置具を提供する。
本発明によれば、処置対象部位を容易且つ繊細に処置することができ、軟組織を巻き込むことなく処置でき、意図しない損傷を生じさせることなく処置できる超音波処置具を提供することができる。
図1は、本発明に係る第1の実施形態における整形外科用の超音波処置具の概略図である。 図2は、図1に示すA−A線における超音波処置具の断面を示す断面図である。 図3は、図1に示すB−B線における超音波処置具の断面を示す断面図である。 せん断部材の先端と処置部との断面図である。 図5は、せん断部材の先端と処置部との斜視図である。 図6Aは、処置部の変形例を示す図である。 図6Bは、処置部の変形例を示す図である。 図7は、本発明に係る第2の実施形態における処置部の斜視図である。 図8は、せん断部材の先端と処置部との斜視図である。 図9は、本発明に係る第3の実施形態における整形外科用の超音波処置具の概略図である。 図10は、処置部と切断部材の横断面図である。 図11は、処置部と切断部材の縦断面図である。 図12は、処置部の斜視図である。 図13は、処置部と処置部に対して回動する切断部材との状態を示す斜視図である。 図14は、処置部の変形例を示す図である。
以下、図面を参照して本発明の実施形態について詳細に説明する。
図1から図5を参照し、第1の実施形態について説明する。
図1に示すように整形外科用の超音波処置具1は、例えば整形外科手術における処置対象部位を処置する。処置対象部位とは、例えば骨や軟骨などの硬組織等である。処置とは、例えば切除や切削などである。
超音波処置具1は、超音波処置具1の基端側に配設される略円筒形状のケース11と、ケース11の先端側に配設されているシース20とを有している。
ケース11の基端側には、出力用接続ケーブル2が接続している。ケース11は、出力用接続ケーブル2を通じて図示しない超音波振動駆動装置と接続している。
図1と図2とに示すようにケース11には、超音波振動子ユニット12がケース11の内部に固定されている。超音波振動子ユニット12は、超音波振動を発生する圧電素子と、ケース11の長手軸方向において、超音波振動子ユニット12の先端側に配設され、超音波振動を増幅するホーン12aとを有している。
超音波振動子ユニット12は、電力を超音波振動に変換する部材である。この電力は、図示しない超音波振動駆動装置にて発生し、超音波振動駆動装置から出力用接続ケーブル2を通じて超音波振動子ユニット12に供給され、超音波振動に変換される。
超音波振動子ユニット12は、例えばボルト締めのランジュバン型振動子(Bolt−clamped Langevin type Transducer(BLT))である。
ホーン12aは、例えばチタンやジュラルミンやステンレス等の金属材料である。
ホーン12aの先端には、プローブ30がシース20を挿通するように取り付けられている。プローブ30は、ホーン12aで増幅された超音波振動を超音波処置具1の先端側に伝達する伝達部材である。プローブ30は、ホーン12aに対して例えばネジなどによって着脱自在に締結(固定)されている。つまりプローブ30は、プローブ30の基端側にてホーン12aを介して超音波振動子ユニット12と接続し、超音波振動子ユニット12にて発生した超音波振動をプローブ30の基端側からプローブ30の先端側(超音波処置具1の先端側)に伝達することとなる。
プローブ30は、例えばチタンやジュラルミンやステンレス等の金属材料である。
プローブ30は、プローブ30の基端側に、超音波振動子ユニット12(ホーン12a)から伝達される超音波振動をさらに増幅するホーン30dを有している。
プローブ30の先端には、処置部31がシース20の先端から突出するように配設されている。処置部31は、超音波振動子ユニット12にて発生しプローブ30から伝達される超音波振動によって処置対象部位を処置する。処置部31は、略平板形状を有している。処置部31は、処置対象部位と接触することで、超音波振動によって処置対象部位を処置する。
またプローブ30は、超音波振動の腹位置において、プローブ30をシース20内に固定するための支持部材(ゴムライニング)30eを有している。支持部材30eは、例えばシリコンゴムなどの樹脂である。
また処置部31は、ケース11の長手軸方向(プローブ30の長手軸方向)に長径なループ形状を有している。そのため処置部31には、処置部31の厚み方向に貫通している開口部31aが形成されている。プローブ30の長手軸方向における開口部31aの先端側には、後述する外刃21aと共に処置対象部位をせん断するせん断エッジ31b(図4参照)がプローブ30の長手軸方向に対して所望に傾いて形成されている。せん断エッジ31bは、ループ内のプローブ30の長手軸方向の先端側にて、プローブ30の長手軸方向に対して所望に傾いて配設されている。言い換えると、せん断エッジ31bは、処置部31の一方の面(例えば上面31c)から他方の面(例えば下面31d)に向けて所望に傾いて配設されている。せん断エッジ31bは、後述する外刃21aと共に処置対象部位をせん断により処置する処置部本体部であり、せん断部である。
またシース20には、超音波処置具1を把持するための把持部(グリップ)13が配設されている。把持部13は、弾性力を有している。把持部13は、処置部31を含むプローブ30に対して後述するせん断部材21を、プローブ30の長手軸方向に沿ってスライド(摺動)させる操作部でもある。
またケース11には、上述したようにプローブ30が挿通されるシース20がケース11の先端側において配設されている。言い換えるとシース20は、プローブ30を覆っていることとなる。
シース20は、図1乃至図3に示すように支持部材30eを覆う内側チューブ20bと、内側チューブ20bを覆う外側チューブ20cとを有している。
内側チューブ20bと外側チューブ20cとは、例えばステンレス等の金属材料である。
図3に示すように外側チューブ20cは略円筒形状を有しており、内側チューブ20bは非円形筒形状を有している。そのため外側チューブ20cと内側チューブ20bと間には、空間部20dが形成される。空間部20dは、シース20の長手軸方向に沿って配設されている。この空間部20dには、せん断部材21が配設されている。せん断部材21の基端は、図1に示すように把持部13と連結している。またせん断部材21の先端は、図1と図2に示すように処置部31と同様にシース20の先端から突出しており、金属製の外刃21aを有している。つまりせん断部材21は、シース20の先端から突出するようにシース20の中に配設され、処置対象部位をせん断するせん断部材である。言い換えると、せん断部材21は、処置対象部位をせん断により処置する処置部材である。また外刃21aは、せん断エッジ31bと共に処置対象部位をせん断により処置する処置部材本体部となる。
せん断部材21は、把持部13の操作によって、プローブ30の長手軸方向に沿って処置部31を含むプローブ30に対してスライド可能である。把持部13の操作とは、把持部13が術者によって握られたり、握りを離されることである。つまりせん断部材21は、把持部13の操作によって、処置部31を含むプローブ30に対して、シース20の長手方向に沿って、シース20内(外側チューブ20cと内側チューブ20bとの間、つまり空間部20d内)をスライド可能な形状を有している。そのためせん断部材21の形状は、空間部20dの形状と同一である必要はない。
せん断部材21がシース20の長手方向に沿って処置部31を含むプローブ30に対してスライドする際、外刃21aは、図5に示すように処置部31(上面31cと下面31d)をスライドし、せん断エッジ31bまでに移動することとなる。そのとき外刃21aがせん断エッジ31bと重なることで、外刃21aとせん断エッジ31bとは処置対象部位をせん断する。
次に本実施形態における動作方法について説明する。
処置部31が生体組織の処置対象部位に接触する。この状態で図示しない超音波振動駆動装置にて発生した電力は、図示しない超音波振動駆動装置から出力用接続ケーブル2を通じて超音波振動子ユニット12に供給され、超音波振動子ユニット12によって超音波振動に変換される。超音波振動は、ホーン12aによって増幅され、プローブ30に伝達される。このとき超音波振動は、ホーン30dによってさらに増幅され、プローブ30から処置部31を通じて処置対象部位に伝達される。つまり超音波振動は、プローブ30の基端側から先端側に伝達される。これにより処置対象部位は、処置部31にて超音波振動によって処置される。
また把持部13が術者によって握られると、せん断部材21がプローブ30の長手軸方向に沿って処置部31の先端側に向かってスライドする。これにより外刃21aは処置部31(上面31cと下面31d)をスライドし、せん断エッジ31bまでに移動することとなる。そのとき外刃21aがせん断エッジ31bと重なり、処置対象部位は、外刃21aと超音波振動しているせん断エッジ31bとによってせん断される。
また把持部13が術者によって握りを離されると、把持部13は、把持部13が有する弾性力によって、把持部13が術者によって握られる前の状態に戻る。これによりせん断部材21がプローブ30の長手軸方向に沿ってシース20の先端側に向かってスライドする。
このように本実施形態では、超音波振動によって処置部31にて処置対象部位を容易に処置することができる。また本実施形態では、把持部13を把持することによって、せん断部材21をスライドさせることができ、外刃21aと超音波振動しているせん断エッジ31bとによって処置対象部位をせん断することができる。これにより本実施形態では、処置対象部位を容易且つ繊細に処置することができ、軟組織を巻き込むことなく処置でき、意図しない損傷を生じさせることなく処置できる。
また本実施形態では、開口部31a内に処置対象部位を配置することで、超音波振動によって容易に切削等の処置を行うことができる。
このように本実施形態では、超音波振動による切削とせん断との2種類の処置方法を提供することができる。
また本実施形態では、せん断エッジ31bにおける超音波振動により処置対象部位のせん断面を滑らかにすることができ、術後における患者の痛みをやわらげることができる。
また本実施形態では、せん断部材21をスライドさせて処置対象部位を処置できるために、軟組織を巻き込むことなく処置でき、意図しない損傷を生じさせることなく処置できる(処置対象部位を損傷することを防止することができる)。
また本実施形態では、把持部13を把持することで、処置対象部位をせん断することができるために、せん断のための操作が容易である。
なおせん断エッジ31bは、図4に示す形状に限定する必要はない。
例えば図6Aに示すようにせん断エッジ31bは、処置部31の上面31cからプローブ30の長手軸方向にむけて斜めに、また処置部31の下面31dからプローブ30の長手軸方向にむけて斜めに形成されていても良い。
また図6Bに示すように、せん断エッジ31bは、処置部31の上面31cから下面31dに向けて、プローブ30の長手軸方向に対して略垂直に配設されていても良い。
次に本発明に係る第2の実施形態について図7と図8を参照して説明する。なお上述した第1の実施形態とその変形例との同一の構成については第1の実施形態と同一の参照符号を付すことにより説明を省略する。
本実施形態の処置部33は、開口部31aを有しておらず、プローブ30の長手軸方向に対して略垂直方向に起上している突起部33aを一体的に有している。つまり突起部33aを含む処置部33は、鉤形状を有している。突起部33aは、上述した略垂直方向における突起部33aの先端にせん断エッジ31bと同様のせん断部であるせん断エッジ33b(処置部本体部)を有している。突起部33aは、上述した略垂直方向において、せん断エッジ33bが外刃21aと重なる所望な高さを有している。
処置部33が処置対象部位を処置する際、処置部33はシース20の先端から突出した状態で、処置部33を含む超音波処置具1全体が移動する。処置部33は、突起部33aを処置対象部位に接触させることで、超音波振動によって処置対象部位を処置する。
また把持部13が術者によって握られると、図8に示すようにせん断部材21がプローブ30の長手軸方向に沿って突起部33aに向かってスライドする。これにより外刃21aはせん断エッジ33bに向かって移動することとなる。そのとき外刃21aがせん断エッジ33bと重なることで、処置対象部位は外刃21aとせん断エッジ33bによって切断または処置される。
このように本実施形態では、第1の実施形態と同様の効果を得ることができる。
また本実施形態の処置部33は鉤形状を有している。そのため本実施形態では、処置部33を容易に処置対象部位に引っ掛けることができ、処置をまでの動作を簡略化することができる。
次に本発明に係る第3の実施形態について図9乃至と図13を参照して説明する。なお上述した第1の実施形態とその変形例との同一の構成については第1の実施形態と同一の参照符号を付すことにより説明を省略する。
本実施形態の超音波処置具1は、操作部40が回動操作された際に、操作部40の回動操作に応じて、処置部42に対して回動する切断部材44を有している。切断部材44は、処置部42に対して回動可能であり、処置対象部位を切断により処置する処置部材である。
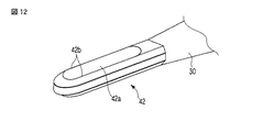
処置部42は、略平板形状を有しており、処置対象部位と接触することで、超音波振動によって処置対象部位を処置する。処置部42は、ケース11の長手軸方向(プローブ30の長手軸方向)に長径なループ形状を有している。そのため処置部42には、処置部42の厚み方向に貫通している開口部42aが形成されている。開口部42aは、開口部42aの外径において、後述する刃44aと共に処置対象部位を切断する切断部である切断エッジ42bを有している。言い換えると切断エッジ42bは、ループ内にて、プローブ30の長手軸方向に沿って配設される。切断エッジ42bは、後述する刃44aと共に処置対象部位を切断により処置する処置部本体部である。
この開口部42aには、処置部42に対して回動する切断部材44が挿入する。切断部材44は、開口部42a側に向けて形成される金属製の刃44aを有している。刃44aは、処置部材本体部となる。
切断部材44は、操作部40の操作によって、処置部42を含むプローブ30に対して回動可能である。操作部40の操作に応じて切断部材44を回動させる回動機構は、図面の簡略化のために省略するが、当業者に周知の回動機構を備えることはいうまでもない。
切断部材44が回動すると、刃44aは切断エッジ42bに向かって移動することとなる。そのとき刃44aが切断エッジ42bと重なり、刃44aと切断エッジ42bとが処置対象部位を挟むことで、刃44aと切断エッジ42bとは処置対象部位を切断する。
次に本実施形態における動作方法について説明する。
操作部40が術者によって握られると、切断部材44が開口部42aに向かって回動する。これにより刃44aは切断エッジ42bに向かって移動することとなる。
このとき処置部42と切断部材44との間には、生体組織の処置対象部位が配置される(挟み込まれる)。この状態からさらに切断部材44が開口部42aに向かい回動する。また超音波振動駆動装置にて発生した電力は、第1の実施形態と同様に超音波振動に変換される。超音波振動は、第1の実施形態と同様に増幅され、プローブ30に伝達される。このとき超音波振動は、処置部42を通じて処置対象部位に伝達される。
そのとき刃44aが切断エッジ42bと重なり、刃44aと切断エッジ42bとが処置対象部位を挟むことで、処置対象部位は刃44aと切断エッジ42bとによって切断される。
このように本実施形態では、第1の実施形態と同様の効果を得ることができる。
また本実施形態では、切断部材44を開口部42aに向かって回動させ、刃44aと切断エッジ42bとによって処置対象部位を挟むことで、処置対象部位をぶれることなく切断できる。また本実施形態では、処置対象部位を挟み込んで処置するために、厚みを有する処置対象部位でも容易に切断することができる。
なお本実施形態の処置部42の形状は、上記に限定されない。例えば図14に示すように、処置部42は、プローブ30の長手軸方向の略垂直な方向から平面視した際に、略U字形状を有していてもよい。処置部42は、処置部42を平面視した際に相対する辺の一方である第1の切断エッジ46aと、平面視した際に相対する辺の他方である第2の切断エッジ46bとを有している。第1の切断エッジ46aと第2の切断エッジ46bとは、処置部本体部である。つまり、第1の切断エッジ46aと第2の切断エッジ46bとは、平面視した際に相対するU字形状の一方の辺とU字形状の他方の辺とにそれぞれ配設されていることとなる。また第1の切断エッジ46aと第2の切断エッジ46bとは、プローブ30の長手軸方向に沿って略平行に配設されている。第1の切断エッジ46aと第2の切断エッジ46bの間の空間部48には、処置部42に対して回動する切断部材44が挿入される。
このように本発明は、上記実施形態そのままに限定されるものではなく、実施段階ではその要旨を逸脱しない範囲で構成要素を変形して具体化できる。また、上記実施形態に開示されている複数の構成要素の適宜な組み合せにより種々の発明を形成できる。
1…超音波処置具、2…出力用接続ケーブル、11…ケース、12…超音波振動子ユニット、12a…ホーン、13…把持部、20…シース、20b…内側チューブ、20c…外側チューブ、20d…空間部、21a…外刃(処置部材本体部)、21…せん断部材(処置部材)、30…プローブ(伝達部材)、30d…ホーン、30e…支持部材、31…処置部、31a…開口部、31b…せん断エッジ(処置部本体部)、31c…上面、31d…下面、33…処置部、33a…突起部、33b…せん断エッジ(処置部本体部)、40…操作部、42…処置部、42a…開口部、42b…切断エッジ(処置部本体部、切断部)、44…切断部材(処置部材、切断部材)、44a…刃(処置部材本体部)、46a…第1の切断エッジ、46b…第2の切断エッジ、48…空間部。

Claims (8)

  1. 超音波振動を発生する超音波振動子ユニットと、
    前記超音波振動子ユニットと基端側にて接続し、前記超音波振動子ユニットにて発生した超音波振動を基端側から先端側に伝達する伝達部材と、
    前記伝達部材が挿通されるシースと、
    前記シースの先端から突出するように前記伝達部材の先端に配設され、前記伝達部材から伝達される超音波振動によって処置対象部位を処置する処置部と、
    前記処置部に配設され、前記処置対象部位を処置する処置部本体部と、
    前記シースの先端から突出するように前記シースの中に配設され、前記処置対象部位を処置する処置部材と、
    前記処置部材の先端に配設され、前記処置対象部位を処置する処置部材本体部と、
    を具備し、
    前記処置部材本体部が前記処置部本体部と重なることで、前記処置部材本体部と前記処置部本体部とは前記処置対象部位を処置することを特徴とする超音波処置具。
  2. 前記処置部材は前記伝達部材の長手軸方向に沿って前記伝達部材に対してスライドするせん断部材であり、前記処置部本体部はせん断部であり、前記処置部材本体部が前記処置部本体部とは前記処置対象部位をせん断によって処置することを特徴とする請求項1に記載の超音波処置具。
  3. 前記処置部は、前記伝達部材の長手軸方向に長径なループ形状を有し、
    前記処置部本体部は、ループ内の前記伝達部材の長手軸方向の先端側にて、前記伝達部材の長手軸方向に対して所望に傾いて配設されていることを特徴とする請求項2に記載の超音波処置具。
  4. 前記処置部は、前記伝達部材の長手軸方向に長径なループ形状を有し、
    前記処置部本体部は、ループ内の前記伝達部材の長手軸方向の先端側にて、前記伝達部材の長手軸方向に対して略垂直に配設されていることを特徴とする請求項2に記載の超音波処置具。
  5. 前記処置部は、前記伝達部材の長手軸方向に対して略垂直方向に起上している突起部を有し、
    前記突起部は、略垂直方向における前記突起部の先端に前記処置部本体部を有していることを特徴とする請求項2に記載の超音波処置具。
  6. 前記処置部材は、前記処置部に対して回動可能であることを特徴とする請求項1に記載の超音波処置具。
  7. 前記処置部は、前記伝達部材の長手軸方向に長径なループ形状を有し、
    前記処置部本体部は、ループ内にて、前記伝達部材の長手軸方向に沿って配設され切断部であり、
    前記処置部材は、切断部材であり、
    前記処置部材が前記処置部に向かって回動し、前記処置部材本体部と前記処置部本体部とが重なり、前記処置部材本体部と前記処置部本体部とが前記処置対象部位を挟むことで、前記処置部材本体部と前記処置部本体部とは前記処置対象部位を切断によって処置することを特徴とする請求項6に記載の超音波処置具。
  8. 前記処置部は、前記伝達部材の長手軸方向の略垂直な方向から平面視した際に、略U字形状を有し、
    前記処置部本体部は、平面視した際に相対するU字形状の一方の辺とU字形状の他方の辺とにそれぞれ配設されていることを特徴とする請求項7に記載の超音波処置具。
JP2009018560A 2008-06-19 2009-01-29 超音波処置具 Expired - Fee Related JP5379501B2 (ja)

Applications Claiming Priority (2)

Application Number Priority Date Filing Date Title
US7389908P 2008-06-19 2008-06-19
US61/073,899 2008-06-19

Publications (2)

Publication Number Publication Date
JP2010000335A true JP2010000335A (ja) 2010-01-07
JP5379501B2 JP5379501B2 (ja) 2013-12-25

Family

ID=41278339

Family Applications (1)

Application Number Title Priority Date Filing Date
JP2009018560A Expired - Fee Related JP5379501B2 (ja) 2008-06-19 2009-01-29 超音波処置具

Country Status (3)

Country Link
US (1) US8236018B2 (ja)
EP (1) EP2135570B1 (ja)
JP (1) JP5379501B2 (ja)

Cited By (3)

* Cited by examiner, † Cited by third party
Publication number Priority date Publication date Assignee Title
JP6033503B1 (ja) * 2015-07-23 2016-11-30 オリンパス株式会社 超音波処置具及び超音波処置アッセンブリ
WO2018078970A1 (ja) * 2016-10-28 2018-05-03 オリンパス株式会社 超音波プローブ
WO2018078825A1 (ja) * 2016-10-28 2018-05-03 オリンパス株式会社 超音波プローブ

Families Citing this family (149)

* Cited by examiner, † Cited by third party
Publication number Priority date Publication date Assignee Title
US10835307B2 (en) 2001-06-12 2020-11-17 Ethicon Llc Modular battery powered handheld surgical instrument containing elongated multi-layered shaft
US8182501B2 (en) 2004-02-27 2012-05-22 Ethicon Endo-Surgery, Inc. Ultrasonic surgical shears and method for sealing a blood vessel using same
ES2598134T3 (es) 2004-10-08 2017-01-25 Ethicon Endo-Surgery, Llc Instrumento ultrasónico quirúrgico
US20070191713A1 (en) 2005-10-14 2007-08-16 Eichmann Stephen E Ultrasonic device for cutting and coagulating
US7621930B2 (en) 2006-01-20 2009-11-24 Ethicon Endo-Surgery, Inc. Ultrasound medical instrument having a medical ultrasonic blade
EP1835699A1 (de) * 2006-03-17 2007-09-19 ABB PATENT GmbH Robotersteuerung
US8911460B2 (en) 2007-03-22 2014-12-16 Ethicon Endo-Surgery, Inc. Ultrasonic surgical instruments
US20080234709A1 (en) 2007-03-22 2008-09-25 Houser Kevin L Ultrasonic surgical instrument and cartilage and bone shaping blades therefor
US8057498B2 (en) 2007-11-30 2011-11-15 Ethicon Endo-Surgery, Inc. Ultrasonic surgical instrument blades
US8226675B2 (en) 2007-03-22 2012-07-24 Ethicon Endo-Surgery, Inc. Surgical instruments
US8142461B2 (en) 2007-03-22 2012-03-27 Ethicon Endo-Surgery, Inc. Surgical instruments
US8808319B2 (en) 2007-07-27 2014-08-19 Ethicon Endo-Surgery, Inc. Surgical instruments
US8882791B2 (en) 2007-07-27 2014-11-11 Ethicon Endo-Surgery, Inc. Ultrasonic surgical instruments
US8348967B2 (en) 2007-07-27 2013-01-08 Ethicon Endo-Surgery, Inc. Ultrasonic surgical instruments
US8523889B2 (en) 2007-07-27 2013-09-03 Ethicon Endo-Surgery, Inc. Ultrasonic end effectors with increased active length
US9044261B2 (en) 2007-07-31 2015-06-02 Ethicon Endo-Surgery, Inc. Temperature controlled ultrasonic surgical instruments
US8430898B2 (en) 2007-07-31 2013-04-30 Ethicon Endo-Surgery, Inc. Ultrasonic surgical instruments
US8512365B2 (en) 2007-07-31 2013-08-20 Ethicon Endo-Surgery, Inc. Surgical instruments
US8252012B2 (en) 2007-07-31 2012-08-28 Ethicon Endo-Surgery, Inc. Ultrasonic surgical instrument with modulator
CA2701962C (en) 2007-10-05 2016-05-31 Ethicon Endo-Surgery, Inc. Ergonomic surgical instruments
US10010339B2 (en) 2007-11-30 2018-07-03 Ethicon Llc Ultrasonic surgical blades
US9089360B2 (en) 2008-08-06 2015-07-28 Ethicon Endo-Surgery, Inc. Devices and techniques for cutting and coagulating tissue
US8058771B2 (en) 2008-08-06 2011-11-15 Ethicon Endo-Surgery, Inc. Ultrasonic device for cutting and coagulating with stepped output
US9700339B2 (en) 2009-05-20 2017-07-11 Ethicon Endo-Surgery, Inc. Coupling arrangements and methods for attaching tools to ultrasonic surgical instruments
US8650728B2 (en) 2009-06-24 2014-02-18 Ethicon Endo-Surgery, Inc. Method of assembling a transducer for a surgical instrument
US9017326B2 (en) 2009-07-15 2015-04-28 Ethicon Endo-Surgery, Inc. Impedance monitoring apparatus, system, and method for ultrasonic surgical instruments
US8663220B2 (en) 2009-07-15 2014-03-04 Ethicon Endo-Surgery, Inc. Ultrasonic surgical instruments
US8461744B2 (en) 2009-07-15 2013-06-11 Ethicon Endo-Surgery, Inc. Rotating transducer mount for ultrasonic surgical instruments
US9168054B2 (en) 2009-10-09 2015-10-27 Ethicon Endo-Surgery, Inc. Surgical generator for ultrasonic and electrosurgical devices
USRE47996E1 (en) 2009-10-09 2020-05-19 Ethicon Llc Surgical generator for ultrasonic and electrosurgical devices
US11090104B2 (en) 2009-10-09 2021-08-17 Cilag Gmbh International Surgical generator for ultrasonic and electrosurgical devices
US10441345B2 (en) 2009-10-09 2019-10-15 Ethicon Llc Surgical generator for ultrasonic and electrosurgical devices
US9050093B2 (en) 2009-10-09 2015-06-09 Ethicon Endo-Surgery, Inc. Surgical generator for ultrasonic and electrosurgical devices
US8323302B2 (en) * 2010-02-11 2012-12-04 Ethicon Endo-Surgery, Inc. Methods of using ultrasonically powered surgical instruments with rotatable cutting implements
US8382782B2 (en) 2010-02-11 2013-02-26 Ethicon Endo-Surgery, Inc. Ultrasonic surgical instruments with partially rotating blade and fixed pad arrangement
US9259234B2 (en) 2010-02-11 2016-02-16 Ethicon Endo-Surgery, Llc Ultrasonic surgical instruments with rotatable blade and hollow sheath arrangements
US8531064B2 (en) 2010-02-11 2013-09-10 Ethicon Endo-Surgery, Inc. Ultrasonically powered surgical instruments with rotating cutting implement
US8469981B2 (en) 2010-02-11 2013-06-25 Ethicon Endo-Surgery, Inc. Rotatable cutting implement arrangements for ultrasonic surgical instruments
US8579928B2 (en) 2010-02-11 2013-11-12 Ethicon Endo-Surgery, Inc. Outer sheath and blade arrangements for ultrasonic surgical instruments
US8961547B2 (en) 2010-02-11 2015-02-24 Ethicon Endo-Surgery, Inc. Ultrasonic surgical instruments with moving cutting implement
US8951272B2 (en) 2010-02-11 2015-02-10 Ethicon Endo-Surgery, Inc. Seal arrangements for ultrasonically powered surgical instruments
US8486096B2 (en) * 2010-02-11 2013-07-16 Ethicon Endo-Surgery, Inc. Dual purpose surgical instrument for cutting and coagulating tissue
US8419759B2 (en) * 2010-02-11 2013-04-16 Ethicon Endo-Surgery, Inc. Ultrasonic surgical instrument with comb-like tissue trimming device
US8409235B2 (en) * 2010-04-30 2013-04-02 Medtronic Xomed, Inc. Rotary cutting tool with improved cutting and reduced clogging on soft tissue and thin bone
GB2480498A (en) 2010-05-21 2011-11-23 Ethicon Endo Surgery Inc Medical device comprising RF circuitry
US8795327B2 (en) 2010-07-22 2014-08-05 Ethicon Endo-Surgery, Inc. Electrosurgical instrument with separate closure and cutting members
US9192431B2 (en) 2010-07-23 2015-11-24 Ethicon Endo-Surgery, Inc. Electrosurgical cutting and sealing instrument
US9259265B2 (en) 2011-07-22 2016-02-16 Ethicon Endo-Surgery, Llc Surgical instruments for tensioning tissue
WO2013119545A1 (en) 2012-02-10 2013-08-15 Ethicon-Endo Surgery, Inc. Robotically controlled surgical instrument
US9237921B2 (en) 2012-04-09 2016-01-19 Ethicon Endo-Surgery, Inc. Devices and techniques for cutting and coagulating tissue
US9724118B2 (en) 2012-04-09 2017-08-08 Ethicon Endo-Surgery, Llc Techniques for cutting and coagulating tissue for ultrasonic surgical instruments
US9241731B2 (en) 2012-04-09 2016-01-26 Ethicon Endo-Surgery, Inc. Rotatable electrical connection for ultrasonic surgical instruments
US9226766B2 (en) 2012-04-09 2016-01-05 Ethicon Endo-Surgery, Inc. Serial communication protocol for medical device
US9439668B2 (en) 2012-04-09 2016-09-13 Ethicon Endo-Surgery, Llc Switch arrangements for ultrasonic surgical instruments
US20140005705A1 (en) 2012-06-29 2014-01-02 Ethicon Endo-Surgery, Inc. Surgical instruments with articulating shafts
US9351754B2 (en) 2012-06-29 2016-05-31 Ethicon Endo-Surgery, Llc Ultrasonic surgical instruments with distally positioned jaw assemblies
US9820768B2 (en) 2012-06-29 2017-11-21 Ethicon Llc Ultrasonic surgical instruments with control mechanisms
US9408622B2 (en) 2012-06-29 2016-08-09 Ethicon Endo-Surgery, Llc Surgical instruments with articulating shafts
US9226767B2 (en) 2012-06-29 2016-01-05 Ethicon Endo-Surgery, Inc. Closed feedback control for electrosurgical device
US9198714B2 (en) 2012-06-29 2015-12-01 Ethicon Endo-Surgery, Inc. Haptic feedback devices for surgical robot
US9326788B2 (en) 2012-06-29 2016-05-03 Ethicon Endo-Surgery, Llc Lockout mechanism for use with robotic electrosurgical device
US9393037B2 (en) 2012-06-29 2016-07-19 Ethicon Endo-Surgery, Llc Surgical instruments with articulating shafts
US20140005702A1 (en) 2012-06-29 2014-01-02 Ethicon Endo-Surgery, Inc. Ultrasonic surgical instruments with distally positioned transducers
US9283045B2 (en) 2012-06-29 2016-03-15 Ethicon Endo-Surgery, Llc Surgical instruments with fluid management system
EP2900158B1 (en) 2012-09-28 2020-04-15 Ethicon LLC Multi-function bi-polar forceps
US9095367B2 (en) 2012-10-22 2015-08-04 Ethicon Endo-Surgery, Inc. Flexible harmonic waveguides/blades for surgical instruments
US10201365B2 (en) 2012-10-22 2019-02-12 Ethicon Llc Surgeon feedback sensing and display methods
US20140135804A1 (en) 2012-11-15 2014-05-15 Ethicon Endo-Surgery, Inc. Ultrasonic and electrosurgical devices
US10226273B2 (en) 2013-03-14 2019-03-12 Ethicon Llc Mechanical fasteners for use with surgical energy devices
US9241728B2 (en) 2013-03-15 2016-01-26 Ethicon Endo-Surgery, Inc. Surgical instrument with multiple clamping mechanisms
US9814514B2 (en) 2013-09-13 2017-11-14 Ethicon Llc Electrosurgical (RF) medical instruments for cutting and coagulating tissue
US9265926B2 (en) 2013-11-08 2016-02-23 Ethicon Endo-Surgery, Llc Electrosurgical devices
GB2521229A (en) 2013-12-16 2015-06-17 Ethicon Endo Surgery Inc Medical device
GB2521228A (en) 2013-12-16 2015-06-17 Ethicon Endo Surgery Inc Medical device
US9795436B2 (en) 2014-01-07 2017-10-24 Ethicon Llc Harvesting energy from a surgical generator
US9554854B2 (en) 2014-03-18 2017-01-31 Ethicon Endo-Surgery, Llc Detecting short circuits in electrosurgical medical devices
US10463421B2 (en) 2014-03-27 2019-11-05 Ethicon Llc Two stage trigger, clamp and cut bipolar vessel sealer
US10092310B2 (en) 2014-03-27 2018-10-09 Ethicon Llc Electrosurgical devices
US9737355B2 (en) 2014-03-31 2017-08-22 Ethicon Llc Controlling impedance rise in electrosurgical medical devices
US9913680B2 (en) 2014-04-15 2018-03-13 Ethicon Llc Software algorithms for electrosurgical instruments
US10285724B2 (en) 2014-07-31 2019-05-14 Ethicon Llc Actuation mechanisms and load adjustment assemblies for surgical instruments
US10639092B2 (en) 2014-12-08 2020-05-05 Ethicon Llc Electrode configurations for surgical instruments
US10245095B2 (en) 2015-02-06 2019-04-02 Ethicon Llc Electrosurgical instrument with rotation and articulation mechanisms
US10342602B2 (en) 2015-03-17 2019-07-09 Ethicon Llc Managing tissue treatment
US10321950B2 (en) 2015-03-17 2019-06-18 Ethicon Llc Managing tissue treatment
US10595929B2 (en) 2015-03-24 2020-03-24 Ethicon Llc Surgical instruments with firing system overload protection mechanisms
US10034684B2 (en) 2015-06-15 2018-07-31 Ethicon Llc Apparatus and method for dissecting and coagulating tissue
US11020140B2 (en) 2015-06-17 2021-06-01 Cilag Gmbh International Ultrasonic surgical blade for use with ultrasonic surgical instruments
US11129669B2 (en) 2015-06-30 2021-09-28 Cilag Gmbh International Surgical system with user adaptable techniques based on tissue type
US10034704B2 (en) 2015-06-30 2018-07-31 Ethicon Llc Surgical instrument with user adaptable algorithms
US11141213B2 (en) 2015-06-30 2021-10-12 Cilag Gmbh International Surgical instrument with user adaptable techniques
US11051873B2 (en) 2015-06-30 2021-07-06 Cilag Gmbh International Surgical system with user adaptable techniques employing multiple energy modalities based on tissue parameters
US10898256B2 (en) 2015-06-30 2021-01-26 Ethicon Llc Surgical system with user adaptable techniques based on tissue impedance
US10357303B2 (en) 2015-06-30 2019-07-23 Ethicon Llc Translatable outer tube for sealing using shielded lap chole dissector
US10154852B2 (en) 2015-07-01 2018-12-18 Ethicon Llc Ultrasonic surgical blade with improved cutting and coagulation features
US10874417B2 (en) 2015-08-11 2020-12-29 Reach Surgical, Inc. Double hook ultrasonic surgical blade
US10194973B2 (en) 2015-09-30 2019-02-05 Ethicon Llc Generator for digitally generating electrical signal waveforms for electrosurgical and ultrasonic surgical instruments
US10595930B2 (en) 2015-10-16 2020-03-24 Ethicon Llc Electrode wiping surgical device
US10179022B2 (en) 2015-12-30 2019-01-15 Ethicon Llc Jaw position impedance limiter for electrosurgical instrument
US10575892B2 (en) 2015-12-31 2020-03-03 Ethicon Llc Adapter for electrical surgical instruments
US10842523B2 (en) 2016-01-15 2020-11-24 Ethicon Llc Modular battery powered handheld surgical instrument and methods therefor
US10716615B2 (en) 2016-01-15 2020-07-21 Ethicon Llc Modular battery powered handheld surgical instrument with curved end effectors having asymmetric engagement between jaw and blade
US11229471B2 (en) 2016-01-15 2022-01-25 Cilag Gmbh International Modular battery powered handheld surgical instrument with selective application of energy based on tissue characterization
US11129670B2 (en) 2016-01-15 2021-09-28 Cilag Gmbh International Modular battery powered handheld surgical instrument with selective application of energy based on button displacement, intensity, or local tissue characterization
US12193698B2 (en) 2016-01-15 2025-01-14 Cilag Gmbh International Method for self-diagnosing operation of a control switch in a surgical instrument system
US10555769B2 (en) 2016-02-22 2020-02-11 Ethicon Llc Flexible circuits for electrosurgical instrument
US10646269B2 (en) 2016-04-29 2020-05-12 Ethicon Llc Non-linear jaw gap for electrosurgical instruments
US10702329B2 (en) 2016-04-29 2020-07-07 Ethicon Llc Jaw structure with distal post for electrosurgical instruments
US10485607B2 (en) 2016-04-29 2019-11-26 Ethicon Llc Jaw structure with distal closure for electrosurgical instruments
US10456193B2 (en) 2016-05-03 2019-10-29 Ethicon Llc Medical device with a bilateral jaw configuration for nerve stimulation
US10245064B2 (en) 2016-07-12 2019-04-02 Ethicon Llc Ultrasonic surgical instrument with piezoelectric central lumen transducer
US10893883B2 (en) 2016-07-13 2021-01-19 Ethicon Llc Ultrasonic assembly for use with ultrasonic surgical instruments
US10842522B2 (en) 2016-07-15 2020-11-24 Ethicon Llc Ultrasonic surgical instruments having offset blades
US10376305B2 (en) 2016-08-05 2019-08-13 Ethicon Llc Methods and systems for advanced harmonic energy
US10285723B2 (en) 2016-08-09 2019-05-14 Ethicon Llc Ultrasonic surgical blade with improved heel portion
USD847990S1 (en) 2016-08-16 2019-05-07 Ethicon Llc Surgical instrument
US10952759B2 (en) 2016-08-25 2021-03-23 Ethicon Llc Tissue loading of a surgical instrument
US10779847B2 (en) 2016-08-25 2020-09-22 Ethicon Llc Ultrasonic transducer to waveguide joining
WO2018061198A1 (ja) * 2016-09-30 2018-04-05 オリンパス株式会社 超音波トランスデューサ及び超音波トランスデューサの製造方法
US10603064B2 (en) 2016-11-28 2020-03-31 Ethicon Llc Ultrasonic transducer
US11266430B2 (en) 2016-11-29 2022-03-08 Cilag Gmbh International End effector control and calibration
US10820920B2 (en) 2017-07-05 2020-11-03 Ethicon Llc Reusable ultrasonic medical devices and methods of their use
US11786259B1 (en) 2019-05-28 2023-10-17 Mirus Llc Systems and methods for ultrasonically-assisted placement of orthopedic implants
US11944366B2 (en) 2019-12-30 2024-04-02 Cilag Gmbh International Asymmetric segmented ultrasonic support pad for cooperative engagement with a movable RF electrode
US11950797B2 (en) 2019-12-30 2024-04-09 Cilag Gmbh International Deflectable electrode with higher distal bias relative to proximal bias
US11779387B2 (en) 2019-12-30 2023-10-10 Cilag Gmbh International Clamp arm jaw to minimize tissue sticking and improve tissue control
US11759251B2 (en) 2019-12-30 2023-09-19 Cilag Gmbh International Control program adaptation based on device status and user input
US12114912B2 (en) 2019-12-30 2024-10-15 Cilag Gmbh International Non-biased deflectable electrode to minimize contact between ultrasonic blade and electrode
US11660089B2 (en) 2019-12-30 2023-05-30 Cilag Gmbh International Surgical instrument comprising a sensing system
US11723716B2 (en) 2019-12-30 2023-08-15 Cilag Gmbh International Electrosurgical instrument with variable control mechanisms
US11937863B2 (en) 2019-12-30 2024-03-26 Cilag Gmbh International Deflectable electrode with variable compression bias along the length of the deflectable electrode
US12053224B2 (en) 2019-12-30 2024-08-06 Cilag Gmbh International Variation in electrode parameters and deflectable electrode to modify energy density and tissue interaction
US12262937B2 (en) 2019-12-30 2025-04-01 Cilag Gmbh International User interface for surgical instrument with combination energy modality end-effector
US12336747B2 (en) 2019-12-30 2025-06-24 Cilag Gmbh International Method of operating a combination ultrasonic / bipolar RF surgical device with a combination energy modality end-effector
US11696776B2 (en) 2019-12-30 2023-07-11 Cilag Gmbh International Articulatable surgical instrument
US11707318B2 (en) 2019-12-30 2023-07-25 Cilag Gmbh International Surgical instrument with jaw alignment features
US11911063B2 (en) 2019-12-30 2024-02-27 Cilag Gmbh International Techniques for detecting ultrasonic blade to electrode contact and reducing power to ultrasonic blade
US11786291B2 (en) 2019-12-30 2023-10-17 Cilag Gmbh International Deflectable support of RF energy electrode with respect to opposing ultrasonic blade
US12064109B2 (en) 2019-12-30 2024-08-20 Cilag Gmbh International Surgical instrument comprising a feedback control circuit
US11589916B2 (en) 2019-12-30 2023-02-28 Cilag Gmbh International Electrosurgical instruments with electrodes having variable energy densities
US12023086B2 (en) 2019-12-30 2024-07-02 Cilag Gmbh International Electrosurgical instrument for delivering blended energy modalities to tissue
US12082808B2 (en) 2019-12-30 2024-09-10 Cilag Gmbh International Surgical instrument comprising a control system responsive to software configurations
US11986201B2 (en) 2019-12-30 2024-05-21 Cilag Gmbh International Method for operating a surgical instrument
US11779329B2 (en) 2019-12-30 2023-10-10 Cilag Gmbh International Surgical instrument comprising a flex circuit including a sensor system
US12343063B2 (en) 2019-12-30 2025-07-01 Cilag Gmbh International Multi-layer clamp arm pad for enhanced versatility and performance of a surgical device
US11452525B2 (en) 2019-12-30 2022-09-27 Cilag Gmbh International Surgical instrument comprising an adjustment system
US12076006B2 (en) 2019-12-30 2024-09-03 Cilag Gmbh International Surgical instrument comprising an orientation detection system
US11812957B2 (en) 2019-12-30 2023-11-14 Cilag Gmbh International Surgical instrument comprising a signal interference resolution system
US11937866B2 (en) 2019-12-30 2024-03-26 Cilag Gmbh International Method for an electrosurgical procedure

Citations (7)

* Cited by examiner, † Cited by third party
Publication number Priority date Publication date Assignee Title
JPH05220157A (ja) * 1992-02-18 1993-08-31 Olympus Optical Co Ltd 医療用切除装置
JPH09131350A (ja) * 1995-11-10 1997-05-20 Olympus Optical Co Ltd 超音波凝固切開装置
JPH105237A (ja) * 1996-06-26 1998-01-13 Olympus Optical Co Ltd 超音波処置具
US6117152A (en) * 1999-06-18 2000-09-12 Ethicon Endo-Surgery, Inc. Multi-function ultrasonic surgical instrument
JP2001524842A (ja) * 1996-10-04 2001-12-04 ユナイテッド ステイツ サージカル コーポレイション 超音波切開および凝血システム
JP2002224133A (ja) * 2001-02-02 2002-08-13 Olympus Optical Co Ltd 超音波処置装置
JP2003116863A (ja) * 2001-10-10 2003-04-22 Olympus Optical Co Ltd 超音波処置装置

Family Cites Families (8)

* Cited by examiner, † Cited by third party
Publication number Priority date Publication date Assignee Title
US6056735A (en) * 1996-04-04 2000-05-02 Olympus Optical Co., Ltd. Ultrasound treatment system
US5906628A (en) * 1996-06-26 1999-05-25 Olympus Optical Co., Ltd. Ultrasonic treatment instrument
US6231578B1 (en) * 1998-08-05 2001-05-15 United States Surgical Corporation Ultrasonic snare for excising tissue
JP2002143177A (ja) * 2000-11-07 2002-05-21 Miwatec:Kk 超音波ハンドピ−スとこれに使用する超音波ホーン
US7229455B2 (en) * 2001-09-03 2007-06-12 Olympus Corporation Ultrasonic calculus treatment apparatus
US20030204199A1 (en) * 2002-04-30 2003-10-30 Novak Theodore A. D. Device and method for ultrasonic tissue excision with tissue selectivity
US20030212422A1 (en) * 2002-05-13 2003-11-13 Paul Fenton Ultrasonic soft tissue cutting and coagulation systems with movable vibrating probe and fixed receiving clamp
US7645278B2 (en) * 2006-02-22 2010-01-12 Olympus Corporation Coagulating cutter

Patent Citations (7)

* Cited by examiner, † Cited by third party
Publication number Priority date Publication date Assignee Title
JPH05220157A (ja) * 1992-02-18 1993-08-31 Olympus Optical Co Ltd 医療用切除装置
JPH09131350A (ja) * 1995-11-10 1997-05-20 Olympus Optical Co Ltd 超音波凝固切開装置
JPH105237A (ja) * 1996-06-26 1998-01-13 Olympus Optical Co Ltd 超音波処置具
JP2001524842A (ja) * 1996-10-04 2001-12-04 ユナイテッド ステイツ サージカル コーポレイション 超音波切開および凝血システム
US6117152A (en) * 1999-06-18 2000-09-12 Ethicon Endo-Surgery, Inc. Multi-function ultrasonic surgical instrument
JP2002224133A (ja) * 2001-02-02 2002-08-13 Olympus Optical Co Ltd 超音波処置装置
JP2003116863A (ja) * 2001-10-10 2003-04-22 Olympus Optical Co Ltd 超音波処置装置

Cited By (5)

* Cited by examiner, † Cited by third party
Publication number Priority date Publication date Assignee Title
JP6033503B1 (ja) * 2015-07-23 2016-11-30 オリンパス株式会社 超音波処置具及び超音波処置アッセンブリ
WO2018078970A1 (ja) * 2016-10-28 2018-05-03 オリンパス株式会社 超音波プローブ
WO2018078828A1 (ja) * 2016-10-28 2018-05-03 オリンパス株式会社 超音波プローブ
WO2018078825A1 (ja) * 2016-10-28 2018-05-03 オリンパス株式会社 超音波プローブ
US10987122B2 (en) 2016-10-28 2021-04-27 Olympus Corporation Ultrasonic probe

Also Published As

Publication number Publication date
EP2135570A3 (en) 2009-12-30
US8236018B2 (en) 2012-08-07
EP2135570A2 (en) 2009-12-23
EP2135570B1 (en) 2016-12-07
US20090318945A1 (en) 2009-12-24
JP5379501B2 (ja) 2013-12-25

Similar Documents

Publication Publication Date Title
JP5379501B2 (ja) 超音波処置具
US10835768B2 (en) Dual purpose surgical instrument for cutting and coagulating tissue
EP3484382B1 (en) Ultrasonic assembly for use with ultrasonic surgical instruments
EP1049411B1 (en) Ultrasonic cutting tool
JP5703360B2 (ja) 超音波手術装置
CN106034396B (zh) 用于超声外科器械的对准特征部
US8382782B2 (en) Ultrasonic surgical instruments with partially rotating blade and fixed pad arrangement
CN106068104B (zh) 超声波骨切割器械
JP2005040222A (ja) 超音波処置装置
JP2003116870A (ja) 超音波ハンドピ−スとこれに使用する超音波ホ−ン
JP6151776B2 (ja) 超音波外科用マイクロモータ
JP2009247892A (ja) 超音波針駆動装置
JPH10127654A (ja) 超音波処置具
EP3478191B1 (en) Ultrasonic surgical instrument with clamp arm deflection feature

Legal Events

Date Code Title Description
A621 Written request for application examination

Free format text: JAPANESE INTERMEDIATE CODE: A621

Effective date: 20111116

A977 Report on retrieval

Free format text: JAPANESE INTERMEDIATE CODE: A971007

Effective date: 20130225

A131 Notification of reasons for refusal

Free format text: JAPANESE INTERMEDIATE CODE: A131

Effective date: 20130312

A521 Request for written amendment filed

Free format text: JAPANESE INTERMEDIATE CODE: A523

Effective date: 20130502

TRDD Decision of grant or rejection written
A01 Written decision to grant a patent or to grant a registration (utility model)

Free format text: JAPANESE INTERMEDIATE CODE: A01

Effective date: 20130910

A61 First payment of annual fees (during grant procedure)

Free format text: JAPANESE INTERMEDIATE CODE: A61

Effective date: 20130927

R151 Written notification of patent or utility model registration

Ref document number: 5379501

Country of ref document: JP

Free format text: JAPANESE INTERMEDIATE CODE: R151

S111 Request for change of ownership or part of ownership

Free format text: JAPANESE INTERMEDIATE CODE: R313111

R350 Written notification of registration of transfer

Free format text: JAPANESE INTERMEDIATE CODE: R350

S531 Written request for registration of change of domicile

Free format text: JAPANESE INTERMEDIATE CODE: R313531

R350 Written notification of registration of transfer

Free format text: JAPANESE INTERMEDIATE CODE: R350

R250 Receipt of annual fees

Free format text: JAPANESE INTERMEDIATE CODE: R250

R250 Receipt of annual fees

Free format text: JAPANESE INTERMEDIATE CODE: R250

R250 Receipt of annual fees

Free format text: JAPANESE INTERMEDIATE CODE: R250

R250 Receipt of annual fees

Free format text: JAPANESE INTERMEDIATE CODE: R250

R250 Receipt of annual fees

Free format text: JAPANESE INTERMEDIATE CODE: R250

LAPS Cancellation because of no payment of annual fees