JP2009091663A - 金属粒子分散液、金属粒子分散液の製造方法、導電膜形成基板の製造方法、電子デバイスおよび電子機器 - Google Patents
金属粒子分散液、金属粒子分散液の製造方法、導電膜形成基板の製造方法、電子デバイスおよび電子機器 Download PDFInfo
- Publication number
- JP2009091663A JP2009091663A JP2008301183A JP2008301183A JP2009091663A JP 2009091663 A JP2009091663 A JP 2009091663A JP 2008301183 A JP2008301183 A JP 2008301183A JP 2008301183 A JP2008301183 A JP 2008301183A JP 2009091663 A JP2009091663 A JP 2009091663A
- Authority
- JP
- Japan
- Prior art keywords
- metal
- particle dispersion
- metal particle
- conductive film
- dispersion
- Prior art date
- Legal status (The legal status is an assumption and is not a legal conclusion. Google has not performed a legal analysis and makes no representation as to the accuracy of the status listed.)
- Granted
Links
- 239000002923 metal particle Substances 0.000 title claims abstract description 374
- 239000006185 dispersion Substances 0.000 title claims abstract description 317
- 239000000758 substrate Substances 0.000 title claims abstract description 39
- 238000004519 manufacturing process Methods 0.000 title claims abstract description 36
- 239000002245 particle Substances 0.000 claims abstract description 115
- 150000001875 compounds Chemical class 0.000 claims abstract description 102
- 239000007788 liquid Substances 0.000 claims abstract description 82
- 239000002612 dispersion medium Substances 0.000 claims abstract description 44
- 229910052717 sulfur Inorganic materials 0.000 claims abstract description 43
- 239000000463 material Substances 0.000 claims abstract description 9
- 150000002391 heterocyclic compounds Chemical class 0.000 claims description 57
- 229910052751 metal Inorganic materials 0.000 claims description 49
- 239000002184 metal Substances 0.000 claims description 49
- 125000003396 thiol group Chemical group [H]S* 0.000 claims description 48
- 229910000510 noble metal Inorganic materials 0.000 claims description 42
- 125000004185 ester group Chemical group 0.000 claims description 41
- 239000012071 phase Substances 0.000 claims description 31
- 125000004432 carbon atom Chemical group C* 0.000 claims description 30
- LFQSCWFLJHTTHZ-UHFFFAOYSA-N Ethanol Chemical compound CCO LFQSCWFLJHTTHZ-UHFFFAOYSA-N 0.000 claims description 29
- 238000000034 method Methods 0.000 claims description 28
- 125000004429 atom Chemical group 0.000 claims description 26
- 239000007769 metal material Substances 0.000 claims description 26
- 239000003638 chemical reducing agent Substances 0.000 claims description 19
- 125000004434 sulfur atom Chemical group 0.000 claims description 19
- 238000010438 heat treatment Methods 0.000 claims description 18
- 150000003839 salts Chemical class 0.000 claims description 18
- 230000015572 biosynthetic process Effects 0.000 claims description 16
- 238000000576 coating method Methods 0.000 claims description 15
- 239000011248 coating agent Substances 0.000 claims description 12
- 238000009826 distribution Methods 0.000 claims description 11
- 230000006870 function Effects 0.000 claims description 11
- 125000000623 heterocyclic group Chemical group 0.000 claims description 9
- 229910052757 nitrogen Inorganic materials 0.000 claims description 9
- 239000003444 phase transfer catalyst Substances 0.000 claims description 9
- 239000007791 liquid phase Substances 0.000 claims description 8
- 125000004433 nitrogen atom Chemical group N* 0.000 claims description 7
- 125000004122 cyclic group Chemical group 0.000 claims description 6
- 230000001678 irradiating effect Effects 0.000 claims description 6
- 238000002156 mixing Methods 0.000 claims description 6
- 230000008569 process Effects 0.000 claims description 4
- 125000006165 cyclic alkyl group Chemical group 0.000 claims description 3
- NINIDFKCEFEMDL-UHFFFAOYSA-N Sulfur Chemical compound [S] NINIDFKCEFEMDL-UHFFFAOYSA-N 0.000 abstract description 25
- 239000011593 sulfur Substances 0.000 abstract description 25
- 239000010970 precious metal Substances 0.000 abstract 1
- 239000010408 film Substances 0.000 description 202
- 229910052709 silver Inorganic materials 0.000 description 138
- BQCADISMDOOEFD-UHFFFAOYSA-N Silver Chemical compound [Ag] BQCADISMDOOEFD-UHFFFAOYSA-N 0.000 description 135
- 239000004332 silver Substances 0.000 description 135
- YXFVVABEGXRONW-UHFFFAOYSA-N Toluene Chemical compound CC1=CC=CC=C1 YXFVVABEGXRONW-UHFFFAOYSA-N 0.000 description 78
- 239000002270 dispersing agent Substances 0.000 description 78
- 150000003573 thiols Chemical class 0.000 description 54
- CXWXQJXEFPUFDZ-UHFFFAOYSA-N tetralin Chemical compound C1=CC=C2CCCCC2=C1 CXWXQJXEFPUFDZ-UHFFFAOYSA-N 0.000 description 48
- 239000004973 liquid crystal related substance Substances 0.000 description 31
- 238000010304 firing Methods 0.000 description 24
- WNAHIZMDSQCWRP-UHFFFAOYSA-N dodecane-1-thiol Chemical compound CCCCCCCCCCCCS WNAHIZMDSQCWRP-UHFFFAOYSA-N 0.000 description 20
- 230000000694 effects Effects 0.000 description 20
- 230000000052 comparative effect Effects 0.000 description 14
- 238000001556 precipitation Methods 0.000 description 13
- XLYOFNOQVPJJNP-UHFFFAOYSA-N water Substances O XLYOFNOQVPJJNP-UHFFFAOYSA-N 0.000 description 13
- -1 hebutylbenzene Chemical compound 0.000 description 12
- XMGQYMWWDOXHJM-UHFFFAOYSA-N limonene Chemical compound CC(=C)C1CCC(C)=CC1 XMGQYMWWDOXHJM-UHFFFAOYSA-N 0.000 description 12
- 239000008346 aqueous phase Substances 0.000 description 11
- 239000010419 fine particle Substances 0.000 description 10
- CMQCNTNASCDNGR-UHFFFAOYSA-N toluene;hydrate Chemical compound O.CC1=CC=CC=C1 CMQCNTNASCDNGR-UHFFFAOYSA-N 0.000 description 10
- OKKJLVBELUTLKV-UHFFFAOYSA-N Methanol Chemical compound OC OKKJLVBELUTLKV-UHFFFAOYSA-N 0.000 description 9
- KZCOBXFFBQJQHH-UHFFFAOYSA-N octane-1-thiol Chemical compound CCCCCCCCS KZCOBXFFBQJQHH-UHFFFAOYSA-N 0.000 description 9
- PMBXCGGQNSVESQ-UHFFFAOYSA-N 1-Hexanethiol Chemical compound CCCCCCS PMBXCGGQNSVESQ-UHFFFAOYSA-N 0.000 description 8
- 238000000354 decomposition reaction Methods 0.000 description 8
- 238000011156 evaluation Methods 0.000 description 8
- 239000000203 mixture Substances 0.000 description 8
- 239000000047 product Substances 0.000 description 8
- 238000003756 stirring Methods 0.000 description 8
- 239000000126 substance Substances 0.000 description 8
- FPVUWZFFEGYCGB-UHFFFAOYSA-N 5-methyl-3h-1,3,4-thiadiazole-2-thione Chemical compound CC1=NN=C(S)S1 FPVUWZFFEGYCGB-UHFFFAOYSA-N 0.000 description 7
- CSCPPACGZOOCGX-UHFFFAOYSA-N Acetone Chemical compound CC(C)=O CSCPPACGZOOCGX-UHFFFAOYSA-N 0.000 description 7
- MADOXCFISYCULS-UHFFFAOYSA-N octyl 2-sulfanylacetate Chemical compound CCCCCCCCOC(=O)CS MADOXCFISYCULS-UHFFFAOYSA-N 0.000 description 7
- UHOVQNZJYSORNB-UHFFFAOYSA-N Benzene Chemical compound C1=CC=CC=C1 UHOVQNZJYSORNB-UHFFFAOYSA-N 0.000 description 6
- YMWUJEATGCHHMB-UHFFFAOYSA-N Dichloromethane Chemical compound ClCCl YMWUJEATGCHHMB-UHFFFAOYSA-N 0.000 description 6
- XEKOWRVHYACXOJ-UHFFFAOYSA-N Ethyl acetate Chemical compound CCOC(C)=O XEKOWRVHYACXOJ-UHFFFAOYSA-N 0.000 description 6
- VTXVGVNLYGSIAR-UHFFFAOYSA-N decane-1-thiol Chemical compound CCCCCCCCCCS VTXVGVNLYGSIAR-UHFFFAOYSA-N 0.000 description 6
- 229940087305 limonene Drugs 0.000 description 6
- 235000001510 limonene Nutrition 0.000 description 6
- VLKZOEOYAKHREP-UHFFFAOYSA-N n-Hexane Chemical compound CCCCCC VLKZOEOYAKHREP-UHFFFAOYSA-N 0.000 description 6
- 229910000033 sodium borohydride Inorganic materials 0.000 description 6
- 239000012279 sodium borohydride Substances 0.000 description 6
- WUOACPNHFRMFPN-SECBINFHSA-N (S)-(-)-alpha-terpineol Chemical compound CC1=CC[C@@H](C(C)(C)O)CC1 WUOACPNHFRMFPN-SECBINFHSA-N 0.000 description 5
- 101100132433 Arabidopsis thaliana VIII-1 gene Proteins 0.000 description 5
- OVKDFILSBMEKLT-UHFFFAOYSA-N alpha-Terpineol Natural products CC(=C)C1(O)CCC(C)=CC1 OVKDFILSBMEKLT-UHFFFAOYSA-N 0.000 description 5
- 229940088601 alpha-terpineol Drugs 0.000 description 5
- 238000007599 discharging Methods 0.000 description 5
- 239000011521 glass Substances 0.000 description 5
- 229910052737 gold Inorganic materials 0.000 description 5
- 239000010931 gold Substances 0.000 description 5
- 239000011159 matrix material Substances 0.000 description 5
- XRCSXYDSFRSLEX-UHFFFAOYSA-N methyl 2-(1h-benzimidazol-2-yl)acetate Chemical compound C1=CC=C2NC(CC(=O)OC)=NC2=C1 XRCSXYDSFRSLEX-UHFFFAOYSA-N 0.000 description 5
- ZVEZMVFBMOOHAT-UHFFFAOYSA-N nonane-1-thiol Chemical compound CCCCCCCCCS ZVEZMVFBMOOHAT-UHFFFAOYSA-N 0.000 description 5
- IGMQODZGDORXEN-UHFFFAOYSA-N pentadecane-1-thiol Chemical compound CCCCCCCCCCCCCCCS IGMQODZGDORXEN-UHFFFAOYSA-N 0.000 description 5
- 238000002360 preparation method Methods 0.000 description 5
- GEKDEMKPCKTKEC-UHFFFAOYSA-N tetradecane-1-thiol Chemical compound CCCCCCCCCCCCCCS GEKDEMKPCKTKEC-UHFFFAOYSA-N 0.000 description 5
- IPBROXKVGHZHJV-UHFFFAOYSA-N tridecane-1-thiol Chemical compound CCCCCCCCCCCCCS IPBROXKVGHZHJV-UHFFFAOYSA-N 0.000 description 5
- CCIDWXHLGNEQSL-UHFFFAOYSA-N undecane-1-thiol Chemical compound CCCCCCCCCCCS CCIDWXHLGNEQSL-UHFFFAOYSA-N 0.000 description 5
- HEDRZPFGACZZDS-UHFFFAOYSA-N Chloroform Chemical compound ClC(Cl)Cl HEDRZPFGACZZDS-UHFFFAOYSA-N 0.000 description 4
- 108010010803 Gelatin Proteins 0.000 description 4
- 229920000084 Gum arabic Polymers 0.000 description 4
- VPIAKHNXCOTPAY-UHFFFAOYSA-N Heptane-1-thiol Chemical compound CCCCCCCS VPIAKHNXCOTPAY-UHFFFAOYSA-N 0.000 description 4
- LTEQMZWBSYACLV-UHFFFAOYSA-N Hexylbenzene Chemical compound CCCCCCC1=CC=CC=C1 LTEQMZWBSYACLV-UHFFFAOYSA-N 0.000 description 4
- KFZMGEQAYNKOFK-UHFFFAOYSA-N Isopropanol Chemical compound CC(C)O KFZMGEQAYNKOFK-UHFFFAOYSA-N 0.000 description 4
- 229910001252 Pd alloy Inorganic materials 0.000 description 4
- OFBQJSOFQDEBGM-UHFFFAOYSA-N Pentane Chemical compound CCCCC OFBQJSOFQDEBGM-UHFFFAOYSA-N 0.000 description 4
- 241000978776 Senegalia senegal Species 0.000 description 4
- 239000000205 acacia gum Substances 0.000 description 4
- 235000010489 acacia gum Nutrition 0.000 description 4
- 230000005540 biological transmission Effects 0.000 description 4
- 229920002678 cellulose Polymers 0.000 description 4
- 235000010980 cellulose Nutrition 0.000 description 4
- 238000004891 communication Methods 0.000 description 4
- 230000007423 decrease Effects 0.000 description 4
- UZILCZKGXMQEQR-UHFFFAOYSA-N decyl-Benzene Chemical compound CCCCCCCCCCC1=CC=CC=C1 UZILCZKGXMQEQR-UHFFFAOYSA-N 0.000 description 4
- GVGUFUZHNYFZLC-UHFFFAOYSA-N dodecyl benzenesulfonate;sodium Chemical compound [Na].CCCCCCCCCCCCOS(=O)(=O)C1=CC=CC=C1 GVGUFUZHNYFZLC-UHFFFAOYSA-N 0.000 description 4
- NNRLDGQZIVUQTE-UHFFFAOYSA-N gamma-Terpineol Chemical compound CC(C)=C1CCC(C)(O)CC1 NNRLDGQZIVUQTE-UHFFFAOYSA-N 0.000 description 4
- 239000008273 gelatin Substances 0.000 description 4
- 229920000159 gelatin Polymers 0.000 description 4
- 235000019322 gelatine Nutrition 0.000 description 4
- 235000011852 gelatine desserts Nutrition 0.000 description 4
- PCHJSUWPFVWCPO-UHFFFAOYSA-N gold Chemical compound [Au] PCHJSUWPFVWCPO-UHFFFAOYSA-N 0.000 description 4
- 229930195733 hydrocarbon Natural products 0.000 description 4
- 238000003384 imaging method Methods 0.000 description 4
- UAEPNZWRGJTJPN-UHFFFAOYSA-N methylcyclohexane Chemical compound CC1CCCCC1 UAEPNZWRGJTJPN-UHFFFAOYSA-N 0.000 description 4
- 239000011164 primary particle Substances 0.000 description 4
- 230000009257 reactivity Effects 0.000 description 4
- 238000000790 scattering method Methods 0.000 description 4
- IKTXPEUEHIYXND-UHFFFAOYSA-N silver nitrate hydrate Chemical compound O.[Ag+].[O-][N+]([O-])=O IKTXPEUEHIYXND-UHFFFAOYSA-N 0.000 description 4
- 229940080264 sodium dodecylbenzenesulfonate Drugs 0.000 description 4
- 239000004094 surface-active agent Substances 0.000 description 4
- VZGDMQKNWNREIO-UHFFFAOYSA-N tetrachloromethane Chemical compound ClC(Cl)(Cl)Cl VZGDMQKNWNREIO-UHFFFAOYSA-N 0.000 description 4
- QBVXKDJEZKEASM-UHFFFAOYSA-M tetraoctylammonium bromide Chemical compound [Br-].CCCCCCCC[N+](CCCCCCCC)(CCCCCCCC)CCCCCCCC QBVXKDJEZKEASM-UHFFFAOYSA-M 0.000 description 4
- IIYFAKIEWZDVMP-UHFFFAOYSA-N tridecane Chemical compound CCCCCCCCCCCCC IIYFAKIEWZDVMP-UHFFFAOYSA-N 0.000 description 4
- MCVUKOYZUCWLQQ-UHFFFAOYSA-N tridecylbenzene Chemical compound CCCCCCCCCCCCCC1=CC=CC=C1 MCVUKOYZUCWLQQ-UHFFFAOYSA-N 0.000 description 4
- 229920002554 vinyl polymer Polymers 0.000 description 4
- ZWEHNKRNPOVVGH-UHFFFAOYSA-N 2-Butanone Chemical compound CCC(C)=O ZWEHNKRNPOVVGH-UHFFFAOYSA-N 0.000 description 3
- WEVYAHXRMPXWCK-UHFFFAOYSA-N Acetonitrile Chemical compound CC#N WEVYAHXRMPXWCK-UHFFFAOYSA-N 0.000 description 3
- 102000009027 Albumins Human genes 0.000 description 3
- 108010088751 Albumins Proteins 0.000 description 3
- RTZKZFJDLAIYFH-UHFFFAOYSA-N Diethyl ether Chemical compound CCOCC RTZKZFJDLAIYFH-UHFFFAOYSA-N 0.000 description 3
- LYCAIKOWRPUZTN-UHFFFAOYSA-N Ethylene glycol Chemical compound OCCO LYCAIKOWRPUZTN-UHFFFAOYSA-N 0.000 description 3
- ZMXDDKWLCZADIW-UHFFFAOYSA-N N,N-Dimethylformamide Chemical compound CN(C)C=O ZMXDDKWLCZADIW-UHFFFAOYSA-N 0.000 description 3
- 229920003171 Poly (ethylene oxide) Polymers 0.000 description 3
- 229920002873 Polyethylenimine Polymers 0.000 description 3
- XBDQKXXYIPTUBI-UHFFFAOYSA-M Propionate Chemical compound CCC([O-])=O XBDQKXXYIPTUBI-UHFFFAOYSA-M 0.000 description 3
- BCKXLBQYZLBQEK-KVVVOXFISA-M Sodium oleate Chemical compound [Na+].CCCCCCCC\C=C/CCCCCCCC([O-])=O BCKXLBQYZLBQEK-KVVVOXFISA-M 0.000 description 3
- 150000005215 alkyl ethers Chemical class 0.000 description 3
- 150000004945 aromatic hydrocarbons Chemical class 0.000 description 3
- MTHSVFCYNBDYFN-UHFFFAOYSA-N diethylene glycol Chemical compound OCCOCCO MTHSVFCYNBDYFN-UHFFFAOYSA-N 0.000 description 3
- 235000019524 disodium tartrate Nutrition 0.000 description 3
- 125000005842 heteroatom Chemical group 0.000 description 3
- 150000002430 hydrocarbons Chemical class 0.000 description 3
- 150000008040 ionic compounds Chemical class 0.000 description 3
- WJSIUCDMWSDDCE-UHFFFAOYSA-K lithium citrate (anhydrous) Chemical compound [Li+].[Li+].[Li+].[O-]C(=O)CC(O)(CC([O-])=O)C([O-])=O WJSIUCDMWSDDCE-UHFFFAOYSA-K 0.000 description 3
- KDLHZDBZIXYQEI-UHFFFAOYSA-N palladium Substances [Pd] KDLHZDBZIXYQEI-UHFFFAOYSA-N 0.000 description 3
- 239000001508 potassium citrate Substances 0.000 description 3
- QEEAPRPFLLJWCF-UHFFFAOYSA-K potassium citrate (anhydrous) Chemical compound [K+].[K+].[K+].[O-]C(=O)CC(O)(CC([O-])=O)C([O-])=O QEEAPRPFLLJWCF-UHFFFAOYSA-K 0.000 description 3
- BDERNNFJNOPAEC-UHFFFAOYSA-N propan-1-ol Chemical compound CCCO BDERNNFJNOPAEC-UHFFFAOYSA-N 0.000 description 3
- 238000006722 reduction reaction Methods 0.000 description 3
- 235000019265 sodium DL-malate Nutrition 0.000 description 3
- HELHAJAZNSDZJO-OLXYHTOASA-L sodium L-tartrate Chemical compound [Na+].[Na+].[O-]C(=O)[C@H](O)[C@@H](O)C([O-])=O HELHAJAZNSDZJO-OLXYHTOASA-L 0.000 description 3
- 239000001509 sodium citrate Substances 0.000 description 3
- 229940023144 sodium glycolate Drugs 0.000 description 3
- WPUMTJGUQUYPIV-UHFFFAOYSA-L sodium malate Chemical compound [Na+].[Na+].[O-]C(=O)C(O)CC([O-])=O WPUMTJGUQUYPIV-UHFFFAOYSA-L 0.000 description 3
- 239000001433 sodium tartrate Substances 0.000 description 3
- YLQBMQCUIZJEEH-UHFFFAOYSA-N tetrahydrofuran Natural products C=1C=COC=1 YLQBMQCUIZJEEH-UHFFFAOYSA-N 0.000 description 3
- 235000015870 tripotassium citrate Nutrition 0.000 description 3
- JEJAMASKDTUEBZ-UHFFFAOYSA-N tris(1,1,3-tribromo-2,2-dimethylpropyl) phosphate Chemical compound BrCC(C)(C)C(Br)(Br)OP(=O)(OC(Br)(Br)C(C)(C)CBr)OC(Br)(Br)C(C)(C)CBr JEJAMASKDTUEBZ-UHFFFAOYSA-N 0.000 description 3
- HRXKRNGNAMMEHJ-UHFFFAOYSA-K trisodium citrate Chemical compound [Na+].[Na+].[Na+].[O-]C(=O)CC(O)(CC([O-])=O)C([O-])=O HRXKRNGNAMMEHJ-UHFFFAOYSA-K 0.000 description 3
- 229940038773 trisodium citrate Drugs 0.000 description 3
- RUJPNZNXGCHGID-UHFFFAOYSA-N (Z)-beta-Terpineol Natural products CC(=C)C1CCC(C)(O)CC1 RUJPNZNXGCHGID-UHFFFAOYSA-N 0.000 description 2
- KBPLFHHGFOOTCA-UHFFFAOYSA-N 1-Octanol Chemical compound CCCCCCCCO KBPLFHHGFOOTCA-UHFFFAOYSA-N 0.000 description 2
- LLCOQBODWBFTDD-UHFFFAOYSA-N 1h-triazol-1-ium-4-thiolate Chemical compound SC1=CNN=N1 LLCOQBODWBFTDD-UHFFFAOYSA-N 0.000 description 2
- GSNUFIFRDBKVIE-UHFFFAOYSA-N 2,5-dimethylfuran Chemical compound CC1=CC=C(C)O1 GSNUFIFRDBKVIE-UHFFFAOYSA-N 0.000 description 2
- SYBYTAAJFKOIEJ-UHFFFAOYSA-N 3-Methylbutan-2-one Chemical compound CC(C)C(C)=O SYBYTAAJFKOIEJ-UHFFFAOYSA-N 0.000 description 2
- DKPFZGUDAPQIHT-UHFFFAOYSA-N Butyl acetate Natural products CCCCOC(C)=O DKPFZGUDAPQIHT-UHFFFAOYSA-N 0.000 description 2
- XDTMQSROBMDMFD-UHFFFAOYSA-N Cyclohexane Chemical compound C1CCCCC1 XDTMQSROBMDMFD-UHFFFAOYSA-N 0.000 description 2
- WQZGKKKJIJFFOK-GASJEMHNSA-N Glucose Natural products OC[C@H]1OC(O)[C@H](O)[C@@H](O)[C@@H]1O WQZGKKKJIJFFOK-GASJEMHNSA-N 0.000 description 2
- PEDCQBHIVMGVHV-UHFFFAOYSA-N Glycerine Chemical compound OCC(O)CO PEDCQBHIVMGVHV-UHFFFAOYSA-N 0.000 description 2
- OAKJQQAXSVQMHS-UHFFFAOYSA-N Hydrazine Chemical compound NN OAKJQQAXSVQMHS-UHFFFAOYSA-N 0.000 description 2
- QIGBRXMKCJKVMJ-UHFFFAOYSA-N Hydroquinone Chemical compound OC1=CC=C(O)C=C1 QIGBRXMKCJKVMJ-UHFFFAOYSA-N 0.000 description 2
- LRHPLDYGYMQRHN-UHFFFAOYSA-N N-Butanol Chemical compound CCCCO LRHPLDYGYMQRHN-UHFFFAOYSA-N 0.000 description 2
- CTQNGGLPUBDAKN-UHFFFAOYSA-N O-Xylene Chemical compound CC1=CC=CC=C1C CTQNGGLPUBDAKN-UHFFFAOYSA-N 0.000 description 2
- KYQCOXFCLRTKLS-UHFFFAOYSA-N Pyrazine Chemical compound C1=CN=CC=N1 KYQCOXFCLRTKLS-UHFFFAOYSA-N 0.000 description 2
- JUJWROOIHBZHMG-UHFFFAOYSA-N Pyridine Chemical compound C1=CC=NC=C1 JUJWROOIHBZHMG-UHFFFAOYSA-N 0.000 description 2
- KAESVJOAVNADME-UHFFFAOYSA-N Pyrrole Chemical compound C=1C=CNC=1 KAESVJOAVNADME-UHFFFAOYSA-N 0.000 description 2
- WYURNTSHIVDZCO-UHFFFAOYSA-N Tetrahydrofuran Chemical compound C1CCOC1 WYURNTSHIVDZCO-UHFFFAOYSA-N 0.000 description 2
- YTPLMLYBLZKORZ-UHFFFAOYSA-N Thiophene Chemical compound C=1C=CSC=1 YTPLMLYBLZKORZ-UHFFFAOYSA-N 0.000 description 2
- KXKVLQRXCPHEJC-UHFFFAOYSA-N acetic acid trimethyl ester Natural products COC(C)=O KXKVLQRXCPHEJC-UHFFFAOYSA-N 0.000 description 2
- 239000002253 acid Substances 0.000 description 2
- 150000001338 aliphatic hydrocarbons Chemical class 0.000 description 2
- 150000004997 alkyl benzene derivatives Chemical class 0.000 description 2
- 125000000217 alkyl group Chemical group 0.000 description 2
- 229910045601 alloy Inorganic materials 0.000 description 2
- 239000000956 alloy Substances 0.000 description 2
- WUOACPNHFRMFPN-UHFFFAOYSA-N alpha-terpineol Chemical compound CC1=CCC(C(C)(C)O)CC1 WUOACPNHFRMFPN-UHFFFAOYSA-N 0.000 description 2
- WQZGKKKJIJFFOK-VFUOTHLCSA-N beta-D-glucose Chemical compound OC[C@H]1O[C@@H](O)[C@H](O)[C@@H](O)[C@@H]1O WQZGKKKJIJFFOK-VFUOTHLCSA-N 0.000 description 2
- 238000006243 chemical reaction Methods 0.000 description 2
- 239000000084 colloidal system Substances 0.000 description 2
- JHIVVAPYMSGYDF-UHFFFAOYSA-N cyclohexanone Chemical compound O=C1CCCCC1 JHIVVAPYMSGYDF-UHFFFAOYSA-N 0.000 description 2
- SQIFACVGCPWBQZ-UHFFFAOYSA-N delta-terpineol Natural products CC(C)(O)C1CCC(=C)CC1 SQIFACVGCPWBQZ-UHFFFAOYSA-N 0.000 description 2
- 238000009792 diffusion process Methods 0.000 description 2
- KWKXNDCHNDYVRT-UHFFFAOYSA-N dodecylbenzene Chemical compound CCCCCCCCCCCCC1=CC=CC=C1 KWKXNDCHNDYVRT-UHFFFAOYSA-N 0.000 description 2
- 150000002148 esters Chemical class 0.000 description 2
- WBJINCZRORDGAQ-UHFFFAOYSA-N formic acid ethyl ester Natural products CCOC=O WBJINCZRORDGAQ-UHFFFAOYSA-N 0.000 description 2
- 229960001031 glucose Drugs 0.000 description 2
- 125000005843 halogen group Chemical group 0.000 description 2
- FUZZWVXGSFPDMH-UHFFFAOYSA-M hexanoate Chemical compound CCCCCC([O-])=O FUZZWVXGSFPDMH-UHFFFAOYSA-M 0.000 description 2
- YYHYWOPDNMFEAV-UHFFFAOYSA-N icosane-1-thiol Chemical compound CCCCCCCCCCCCCCCCCCCCS YYHYWOPDNMFEAV-UHFFFAOYSA-N 0.000 description 2
- GYNNXHKOJHMOHS-UHFFFAOYSA-N methyl-cycloheptane Natural products CC1CCCCCC1 GYNNXHKOJHMOHS-UHFFFAOYSA-N 0.000 description 2
- LIXVMPBOGDCSRM-UHFFFAOYSA-N nonylbenzene Chemical compound CCCCCCCCCC1=CC=CC=C1 LIXVMPBOGDCSRM-UHFFFAOYSA-N 0.000 description 2
- TVMXDCGIABBOFY-UHFFFAOYSA-N octane Chemical compound CCCCCCCC TVMXDCGIABBOFY-UHFFFAOYSA-N 0.000 description 2
- BZXFEMZFRLXGCY-UHFFFAOYSA-N octane-2-thiol Chemical compound CCCCCCC(C)S BZXFEMZFRLXGCY-UHFFFAOYSA-N 0.000 description 2
- VXNSQGRKHCZUSU-UHFFFAOYSA-N octylbenzene Chemical compound [CH2]CCCCCCCC1=CC=CC=C1 VXNSQGRKHCZUSU-UHFFFAOYSA-N 0.000 description 2
- 230000003287 optical effect Effects 0.000 description 2
- 229910052763 palladium Inorganic materials 0.000 description 2
- FDPIMTJIUBPUKL-UHFFFAOYSA-N pentan-3-one Chemical compound CCC(=O)CC FDPIMTJIUBPUKL-UHFFFAOYSA-N 0.000 description 2
- 229920000642 polymer Polymers 0.000 description 2
- WQGWDDDVZFFDIG-UHFFFAOYSA-N pyrogallol Chemical compound OC1=CC=CC(O)=C1O WQGWDDDVZFFDIG-UHFFFAOYSA-N 0.000 description 2
- 230000009467 reduction Effects 0.000 description 2
- YGSDEFSMJLZEOE-UHFFFAOYSA-N salicylic acid Chemical compound OC(=O)C1=CC=CC=C1O YGSDEFSMJLZEOE-UHFFFAOYSA-N 0.000 description 2
- NDVLTYZPCACLMA-UHFFFAOYSA-N silver oxide Chemical compound [O-2].[Ag+].[Ag+] NDVLTYZPCACLMA-UHFFFAOYSA-N 0.000 description 2
- SQGYOTSLMSWVJD-UHFFFAOYSA-N silver(1+) nitrate Chemical compound [Ag+].[O-]N(=O)=O SQGYOTSLMSWVJD-UHFFFAOYSA-N 0.000 description 2
- 125000001424 substituent group Chemical group 0.000 description 2
- QJVXKWHHAMZTBY-GCPOEHJPSA-N syringin Chemical compound COC1=CC(\C=C\CO)=CC(OC)=C1O[C@H]1[C@H](O)[C@@H](O)[C@H](O)[C@@H](CO)O1 QJVXKWHHAMZTBY-GCPOEHJPSA-N 0.000 description 2
- 229940116411 terpineol Drugs 0.000 description 2
- 229910052718 tin Inorganic materials 0.000 description 2
- XBEADGFTLHRJRB-UHFFFAOYSA-N undecylbenzene Chemical compound CCCCCCCCCCCC1=CC=CC=C1 XBEADGFTLHRJRB-UHFFFAOYSA-N 0.000 description 2
- 239000008096 xylene Substances 0.000 description 2
- IMWCPTKSESEZCL-SPSNFJOYSA-H (e)-but-2-enedioate;iron(3+) Chemical compound [Fe+3].[Fe+3].[O-]C(=O)\C=C\C([O-])=O.[O-]C(=O)\C=C\C([O-])=O.[O-]C(=O)\C=C\C([O-])=O IMWCPTKSESEZCL-SPSNFJOYSA-H 0.000 description 1
- WSLDOOZREJYCGB-UHFFFAOYSA-N 1,2-Dichloroethane Chemical compound ClCCCl WSLDOOZREJYCGB-UHFFFAOYSA-N 0.000 description 1
- NGCDGPPKVSZGRR-UHFFFAOYSA-J 1,4,6,9-tetraoxa-5-stannaspiro[4.4]nonane-2,3,7,8-tetrone Chemical compound [Sn+4].[O-]C(=O)C([O-])=O.[O-]C(=O)C([O-])=O NGCDGPPKVSZGRR-UHFFFAOYSA-J 0.000 description 1
- TUSDEZXZIZRFGC-UHFFFAOYSA-N 1-O-galloyl-3,6-(R)-HHDP-beta-D-glucose Natural products OC1C(O2)COC(=O)C3=CC(O)=C(O)C(O)=C3C3=C(O)C(O)=C(O)C=C3C(=O)OC1C(O)C2OC(=O)C1=CC(O)=C(O)C(O)=C1 TUSDEZXZIZRFGC-UHFFFAOYSA-N 0.000 description 1
- ZRKMQKLGEQPLNS-UHFFFAOYSA-N 1-Pentanethiol Chemical compound CCCCCS ZRKMQKLGEQPLNS-UHFFFAOYSA-N 0.000 description 1
- XNWFRZJHXBZDAG-UHFFFAOYSA-N 2-METHOXYETHANOL Chemical compound COCCO XNWFRZJHXBZDAG-UHFFFAOYSA-N 0.000 description 1
- PTTPXKJBFFKCEK-UHFFFAOYSA-N 2-Methyl-4-heptanone Chemical compound CC(C)CC(=O)CC(C)C PTTPXKJBFFKCEK-UHFFFAOYSA-N 0.000 description 1
- ZNQVEEAIQZEUHB-UHFFFAOYSA-N 2-ethoxyethanol Chemical compound CCOCCO ZNQVEEAIQZEUHB-UHFFFAOYSA-N 0.000 description 1
- YNVZDODIHZTHOZ-UHFFFAOYSA-K 2-hydroxypropanoate;iron(3+) Chemical compound [Fe+3].CC(O)C([O-])=O.CC(O)C([O-])=O.CC(O)C([O-])=O YNVZDODIHZTHOZ-UHFFFAOYSA-K 0.000 description 1
- QCDWFXQBSFUVSP-UHFFFAOYSA-N 2-phenoxyethanol Chemical compound OCCOC1=CC=CC=C1 QCDWFXQBSFUVSP-UHFFFAOYSA-N 0.000 description 1
- OCVLSHAVSIYKLI-UHFFFAOYSA-N 3h-1,3-thiazole-2-thione Chemical compound SC1=NC=CS1 OCVLSHAVSIYKLI-UHFFFAOYSA-N 0.000 description 1
- FYEMIKRWWMYBFG-UHFFFAOYSA-N 8-sulfanyloctanoic acid Chemical compound OC(=O)CCCCCCCS FYEMIKRWWMYBFG-UHFFFAOYSA-N 0.000 description 1
- NLHHRLWOUZZQLW-UHFFFAOYSA-N Acrylonitrile Chemical compound C=CC#N NLHHRLWOUZZQLW-UHFFFAOYSA-N 0.000 description 1
- 241000251468 Actinopterygii Species 0.000 description 1
- 101100459319 Arabidopsis thaliana VIII-2 gene Proteins 0.000 description 1
- ZOXJGFHDIHLPTG-UHFFFAOYSA-N Boron Chemical group [B] ZOXJGFHDIHLPTG-UHFFFAOYSA-N 0.000 description 1
- BJVYLIQHNSEVAW-UHFFFAOYSA-N C1=CC=CC=C1.C(CCCCCCCCCCCCC)C1=CC=CC=C1 Chemical class C1=CC=CC=C1.C(CCCCCCCCCCCCC)C1=CC=CC=C1 BJVYLIQHNSEVAW-UHFFFAOYSA-N 0.000 description 1
- UGFAIRIUMAVXCW-UHFFFAOYSA-N Carbon monoxide Chemical compound [O+]#[C-] UGFAIRIUMAVXCW-UHFFFAOYSA-N 0.000 description 1
- RYGMFSIKBFXOCR-UHFFFAOYSA-N Copper Chemical group [Cu] RYGMFSIKBFXOCR-UHFFFAOYSA-N 0.000 description 1
- CJQWLNNCQIHKHP-UHFFFAOYSA-N Ethyl 3-mercaptopropanoic acid Chemical compound CCOC(=O)CCS CJQWLNNCQIHKHP-UHFFFAOYSA-N 0.000 description 1
- 239000001263 FEMA 3042 Substances 0.000 description 1
- MBMLMWLHJBBADN-UHFFFAOYSA-N Ferrous sulfide Chemical compound [Fe]=S MBMLMWLHJBBADN-UHFFFAOYSA-N 0.000 description 1
- 229910001111 Fine metal Inorganic materials 0.000 description 1
- UFHFLCQGNIYNRP-UHFFFAOYSA-N Hydrogen Chemical compound [H][H] UFHFLCQGNIYNRP-UHFFFAOYSA-N 0.000 description 1
- SECXISVLQFMRJM-UHFFFAOYSA-N N-Methylpyrrolidone Chemical compound CN1CCCC1=O SECXISVLQFMRJM-UHFFFAOYSA-N 0.000 description 1
- UEEJHVSXFDXPFK-UHFFFAOYSA-N N-dimethylaminoethanol Chemical compound CN(C)CCO UEEJHVSXFDXPFK-UHFFFAOYSA-N 0.000 description 1
- OHLUUHNLEMFGTQ-UHFFFAOYSA-N N-methylacetamide Chemical compound CNC(C)=O OHLUUHNLEMFGTQ-UHFFFAOYSA-N 0.000 description 1
- LRBQNJMCXXYXIU-PPKXGCFTSA-N Penta-digallate-beta-D-glucose Natural products OC1=C(O)C(O)=CC(C(=O)OC=2C(=C(O)C=C(C=2)C(=O)OC[C@@H]2[C@H]([C@H](OC(=O)C=3C=C(OC(=O)C=4C=C(O)C(O)=C(O)C=4)C(O)=C(O)C=3)[C@@H](OC(=O)C=3C=C(OC(=O)C=4C=C(O)C(O)=C(O)C=4)C(O)=C(O)C=3)[C@H](OC(=O)C=3C=C(OC(=O)C=4C=C(O)C(O)=C(O)C=4)C(O)=C(O)C=3)O2)OC(=O)C=2C=C(OC(=O)C=3C=C(O)C(O)=C(O)C=3)C(O)=C(O)C=2)O)=C1 LRBQNJMCXXYXIU-PPKXGCFTSA-N 0.000 description 1
- PCNDJXKNXGMECE-UHFFFAOYSA-N Phenazine Natural products C1=CC=CC2=NC3=CC=CC=C3N=C21 PCNDJXKNXGMECE-UHFFFAOYSA-N 0.000 description 1
- ZLMJMSJWJFRBEC-UHFFFAOYSA-N Potassium Chemical compound [K] ZLMJMSJWJFRBEC-UHFFFAOYSA-N 0.000 description 1
- XUIMIQQOPSSXEZ-UHFFFAOYSA-N Silicon Chemical group [Si] XUIMIQQOPSSXEZ-UHFFFAOYSA-N 0.000 description 1
- 229910021607 Silver chloride Inorganic materials 0.000 description 1
- QAOWNCQODCNURD-UHFFFAOYSA-L Sulfate Chemical compound [O-]S([O-])(=O)=O QAOWNCQODCNURD-UHFFFAOYSA-L 0.000 description 1
- LSNNMFCWUKXFEE-UHFFFAOYSA-N Sulfurous acid Chemical compound OS(O)=O LSNNMFCWUKXFEE-UHFFFAOYSA-N 0.000 description 1
- ATJFFYVFTNAWJD-UHFFFAOYSA-N Tin Chemical compound [Sn] ATJFFYVFTNAWJD-UHFFFAOYSA-N 0.000 description 1
- GSEJCLTVZPLZKY-UHFFFAOYSA-N Triethanolamine Chemical compound OCCN(CCO)CCO GSEJCLTVZPLZKY-UHFFFAOYSA-N 0.000 description 1
- 229910052946 acanthite Inorganic materials 0.000 description 1
- 230000032683 aging Effects 0.000 description 1
- 150000001298 alcohols Chemical class 0.000 description 1
- 125000005192 alkyl ethylene group Chemical group 0.000 description 1
- 229910052782 aluminium Inorganic materials 0.000 description 1
- XAGFODPZIPBFFR-UHFFFAOYSA-N aluminium Chemical group [Al] XAGFODPZIPBFFR-UHFFFAOYSA-N 0.000 description 1
- 125000003277 amino group Chemical group 0.000 description 1
- 239000002216 antistatic agent Substances 0.000 description 1
- 229910052785 arsenic Inorganic materials 0.000 description 1
- RQNWIZPPADIBDY-UHFFFAOYSA-N arsenic atom Chemical group [As] RQNWIZPPADIBDY-UHFFFAOYSA-N 0.000 description 1
- 150000001555 benzenes Chemical class 0.000 description 1
- 239000008280 blood Substances 0.000 description 1
- 210000004369 blood Anatomy 0.000 description 1
- 230000036772 blood pressure Effects 0.000 description 1
- 229910052796 boron Inorganic materials 0.000 description 1
- 239000004566 building material Substances 0.000 description 1
- WQAQPCDUOCURKW-UHFFFAOYSA-N butanethiol Chemical compound CCCCS WQAQPCDUOCURKW-UHFFFAOYSA-N 0.000 description 1
- 229910002091 carbon monoxide Inorganic materials 0.000 description 1
- 125000003178 carboxy group Chemical group [H]OC(*)=O 0.000 description 1
- 230000001413 cellular effect Effects 0.000 description 1
- 239000001913 cellulose Substances 0.000 description 1
- 239000003153 chemical reaction reagent Substances 0.000 description 1
- 238000005229 chemical vapour deposition Methods 0.000 description 1
- 229910052802 copper Inorganic materials 0.000 description 1
- 239000010949 copper Substances 0.000 description 1
- 229960002887 deanol Drugs 0.000 description 1
- 238000005034 decoration Methods 0.000 description 1
- 238000003618 dip coating Methods 0.000 description 1
- 238000005401 electroluminescence Methods 0.000 description 1
- 238000010894 electron beam technology Methods 0.000 description 1
- 150000002170 ethers Chemical class 0.000 description 1
- XYIBRDXRRQCHLP-UHFFFAOYSA-N ethyl acetoacetate Chemical compound CCOC(=O)CC(C)=O XYIBRDXRRQCHLP-UHFFFAOYSA-N 0.000 description 1
- 238000000605 extraction Methods 0.000 description 1
- VEPSWGHMGZQCIN-UHFFFAOYSA-H ferric oxalate Chemical compound [Fe+3].[Fe+3].[O-]C(=O)C([O-])=O.[O-]C(=O)C([O-])=O.[O-]C(=O)C([O-])=O VEPSWGHMGZQCIN-UHFFFAOYSA-H 0.000 description 1
- 239000011790 ferrous sulphate Substances 0.000 description 1
- 235000003891 ferrous sulphate Nutrition 0.000 description 1
- 239000005338 frosted glass Substances 0.000 description 1
- 125000000524 functional group Chemical group 0.000 description 1
- 239000008103 glucose Substances 0.000 description 1
- 235000011187 glycerol Nutrition 0.000 description 1
- 150000002343 gold Chemical class 0.000 description 1
- 150000008282 halocarbons Chemical class 0.000 description 1
- ORTRWBYBJVGVQC-UHFFFAOYSA-N hexadecane-1-thiol Chemical compound CCCCCCCCCCCCCCCCS ORTRWBYBJVGVQC-UHFFFAOYSA-N 0.000 description 1
- 150000002483 hydrogen compounds Chemical class 0.000 description 1
- XMBWDFGMSWQBCA-UHFFFAOYSA-N hydrogen iodide Chemical compound I XMBWDFGMSWQBCA-UHFFFAOYSA-N 0.000 description 1
- 229910000043 hydrogen iodide Inorganic materials 0.000 description 1
- 125000002887 hydroxy group Chemical group [H]O* 0.000 description 1
- 239000012535 impurity Substances 0.000 description 1
- 238000007641 inkjet printing Methods 0.000 description 1
- 229910052500 inorganic mineral Inorganic materials 0.000 description 1
- 239000012212 insulator Substances 0.000 description 1
- 230000003993 interaction Effects 0.000 description 1
- 150000002500 ions Chemical class 0.000 description 1
- 229910052741 iridium Inorganic materials 0.000 description 1
- FBAFATDZDUQKNH-UHFFFAOYSA-M iron chloride Chemical compound [Cl-].[Fe] FBAFATDZDUQKNH-UHFFFAOYSA-M 0.000 description 1
- SURQXAFEQWPFPV-UHFFFAOYSA-L iron(2+) sulfate heptahydrate Chemical compound O.O.O.O.O.O.O.[Fe+2].[O-]S([O-])(=O)=O SURQXAFEQWPFPV-UHFFFAOYSA-L 0.000 description 1
- 229910000359 iron(II) sulfate Inorganic materials 0.000 description 1
- 238000005304 joining Methods 0.000 description 1
- 125000000468 ketone group Chemical group 0.000 description 1
- 150000002576 ketones Chemical class 0.000 description 1
- 229910052749 magnesium Inorganic materials 0.000 description 1
- 239000002609 medium Substances 0.000 description 1
- 239000012528 membrane Substances 0.000 description 1
- WSFSSNUMVMOOMR-NJFSPNSNSA-N methanone Chemical compound O=[14CH2] WSFSSNUMVMOOMR-NJFSPNSNSA-N 0.000 description 1
- CRVGTESFCCXCTH-UHFFFAOYSA-N methyl diethanolamine Chemical compound OCCN(C)CCO CRVGTESFCCXCTH-UHFFFAOYSA-N 0.000 description 1
- 239000011707 mineral Substances 0.000 description 1
- 235000010755 mineral Nutrition 0.000 description 1
- 229910052759 nickel Inorganic materials 0.000 description 1
- 150000002825 nitriles Chemical class 0.000 description 1
- YNESSCJHABBEIO-UHFFFAOYSA-N nonadecane-1-thiol Chemical compound CCCCCCCCCCCCCCCCCCCS YNESSCJHABBEIO-UHFFFAOYSA-N 0.000 description 1
- QJAOYSPHSNGHNC-UHFFFAOYSA-N octadecane-1-thiol Chemical compound CCCCCCCCCCCCCCCCCCS QJAOYSPHSNGHNC-UHFFFAOYSA-N 0.000 description 1
- CMNMHJVRZHGAAK-UHFFFAOYSA-N octyl hexanoate Chemical compound CCCCCCCCOC(=O)CCCCC CMNMHJVRZHGAAK-UHFFFAOYSA-N 0.000 description 1
- 150000002894 organic compounds Chemical class 0.000 description 1
- 239000005416 organic matter Substances 0.000 description 1
- 229910052762 osmium Inorganic materials 0.000 description 1
- 230000003647 oxidation Effects 0.000 description 1
- 238000007254 oxidation reaction Methods 0.000 description 1
- MUMZUERVLWJKNR-UHFFFAOYSA-N oxoplatinum Chemical compound [Pt]=O MUMZUERVLWJKNR-UHFFFAOYSA-N 0.000 description 1
- 125000004430 oxygen atom Chemical group O* 0.000 description 1
- 150000002940 palladium Chemical class 0.000 description 1
- 229910003445 palladium oxide Inorganic materials 0.000 description 1
- PIBWKRNGBLPSSY-UHFFFAOYSA-L palladium(II) chloride Chemical compound Cl[Pd]Cl PIBWKRNGBLPSSY-UHFFFAOYSA-L 0.000 description 1
- YJVFFLUZDVXJQI-UHFFFAOYSA-L palladium(ii) acetate Chemical compound [Pd+2].CC([O-])=O.CC([O-])=O YJVFFLUZDVXJQI-UHFFFAOYSA-L 0.000 description 1
- GPNDARIEYHPYAY-UHFFFAOYSA-N palladium(ii) nitrate Chemical compound [Pd+2].[O-][N+]([O-])=O.[O-][N+]([O-])=O GPNDARIEYHPYAY-UHFFFAOYSA-N 0.000 description 1
- JQPTYAILLJKUCY-UHFFFAOYSA-N palladium(ii) oxide Chemical compound [O-2].[Pd+2] JQPTYAILLJKUCY-UHFFFAOYSA-N 0.000 description 1
- FJKROLUGYXJWQN-UHFFFAOYSA-N papa-hydroxy-benzoic acid Natural products OC(=O)C1=CC=C(O)C=C1 FJKROLUGYXJWQN-UHFFFAOYSA-N 0.000 description 1
- CMCWWLVWPDLCRM-UHFFFAOYSA-N phenidone Chemical compound N1C(=O)CCN1C1=CC=CC=C1 CMCWWLVWPDLCRM-UHFFFAOYSA-N 0.000 description 1
- MJRKFYKONYYOJX-UHFFFAOYSA-J phosphonato phosphate;tin(4+) Chemical compound [Sn+4].[O-]P([O-])(=O)OP([O-])([O-])=O MJRKFYKONYYOJX-UHFFFAOYSA-J 0.000 description 1
- 125000004437 phosphorous atom Chemical group 0.000 description 1
- 229910052698 phosphorus Inorganic materials 0.000 description 1
- 229910052697 platinum Inorganic materials 0.000 description 1
- BASFCYQUMIYNBI-UHFFFAOYSA-N platinum Substances [Pt] BASFCYQUMIYNBI-UHFFFAOYSA-N 0.000 description 1
- 150000003057 platinum Chemical class 0.000 description 1
- CLSUSRZJUQMOHH-UHFFFAOYSA-L platinum dichloride Chemical compound Cl[Pt]Cl CLSUSRZJUQMOHH-UHFFFAOYSA-L 0.000 description 1
- 229910003446 platinum oxide Inorganic materials 0.000 description 1
- 230000010287 polarization Effects 0.000 description 1
- 239000011591 potassium Substances 0.000 description 1
- 229910052700 potassium Inorganic materials 0.000 description 1
- NEYLGXVZJUUZMY-UHFFFAOYSA-K potassium;trichlorogold Chemical compound [K].Cl[Au](Cl)Cl NEYLGXVZJUUZMY-UHFFFAOYSA-K 0.000 description 1
- 238000012545 processing Methods 0.000 description 1
- FVSKHRXBFJPNKK-UHFFFAOYSA-N propionitrile Chemical compound CCC#N FVSKHRXBFJPNKK-UHFFFAOYSA-N 0.000 description 1
- UMJSCPRVCHMLSP-UHFFFAOYSA-N pyridine Natural products COC1=CC=CN=C1 UMJSCPRVCHMLSP-UHFFFAOYSA-N 0.000 description 1
- 229940079877 pyrogallol Drugs 0.000 description 1
- 229920005989 resin Polymers 0.000 description 1
- 239000011347 resin Substances 0.000 description 1
- 229910052703 rhodium Inorganic materials 0.000 description 1
- 229910052707 ruthenium Inorganic materials 0.000 description 1
- 229960004889 salicylic acid Drugs 0.000 description 1
- 238000007650 screen-printing Methods 0.000 description 1
- 239000003566 sealing material Substances 0.000 description 1
- 229910052710 silicon Inorganic materials 0.000 description 1
- 150000003378 silver Chemical class 0.000 description 1
- 239000010944 silver (metal) Substances 0.000 description 1
- CQLFBEKRDQMJLZ-UHFFFAOYSA-M silver acetate Chemical compound [Ag+].CC([O-])=O CQLFBEKRDQMJLZ-UHFFFAOYSA-M 0.000 description 1
- 229940071536 silver acetate Drugs 0.000 description 1
- SDLBJIZEEMKQKY-UHFFFAOYSA-M silver chlorate Chemical compound [Ag+].[O-]Cl(=O)=O SDLBJIZEEMKQKY-UHFFFAOYSA-M 0.000 description 1
- HKZLPVFGJNLROG-UHFFFAOYSA-M silver monochloride Chemical compound [Cl-].[Ag+] HKZLPVFGJNLROG-UHFFFAOYSA-M 0.000 description 1
- 229910001961 silver nitrate Inorganic materials 0.000 description 1
- KKKDGYXNGYJJRX-UHFFFAOYSA-M silver nitrite Chemical compound [Ag+].[O-]N=O KKKDGYXNGYJJRX-UHFFFAOYSA-M 0.000 description 1
- 229910001923 silver oxide Inorganic materials 0.000 description 1
- YPNVIBVEFVRZPJ-UHFFFAOYSA-L silver sulfate Chemical compound [Ag+].[Ag+].[O-]S([O-])(=O)=O YPNVIBVEFVRZPJ-UHFFFAOYSA-L 0.000 description 1
- 229910000367 silver sulfate Inorganic materials 0.000 description 1
- 229940056910 silver sulfide Drugs 0.000 description 1
- XUARKZBEFFVFRG-UHFFFAOYSA-N silver sulfide Chemical compound [S-2].[Ag+].[Ag+] XUARKZBEFFVFRG-UHFFFAOYSA-N 0.000 description 1
- DTNJZLDXJJGKCM-UHFFFAOYSA-K sodium;trichlorogold Chemical compound [Na].Cl[Au](Cl)Cl DTNJZLDXJJGKCM-UHFFFAOYSA-K 0.000 description 1
- 238000004528 spin coating Methods 0.000 description 1
- 235000015096 spirit Nutrition 0.000 description 1
- 238000005507 spraying Methods 0.000 description 1
- 238000004544 sputter deposition Methods 0.000 description 1
- 235000000346 sugar Nutrition 0.000 description 1
- 150000008163 sugars Chemical class 0.000 description 1
- 238000003786 synthesis reaction Methods 0.000 description 1
- LRBQNJMCXXYXIU-NRMVVENXSA-N tannic acid Chemical compound OC1=C(O)C(O)=CC(C(=O)OC=2C(=C(O)C=C(C=2)C(=O)OC[C@@H]2[C@H]([C@H](OC(=O)C=3C=C(OC(=O)C=4C=C(O)C(O)=C(O)C=4)C(O)=C(O)C=3)[C@@H](OC(=O)C=3C=C(OC(=O)C=4C=C(O)C(O)=C(O)C=4)C(O)=C(O)C=3)[C@@H](OC(=O)C=3C=C(OC(=O)C=4C=C(O)C(O)=C(O)C=4)C(O)=C(O)C=3)O2)OC(=O)C=2C=C(OC(=O)C=3C=C(O)C(O)=C(O)C=3)C(O)=C(O)C=2)O)=C1 LRBQNJMCXXYXIU-NRMVVENXSA-N 0.000 description 1
- 229940033123 tannic acid Drugs 0.000 description 1
- 235000015523 tannic acid Nutrition 0.000 description 1
- 229920002258 tannic acid Polymers 0.000 description 1
- 229920001864 tannin Polymers 0.000 description 1
- 239000001648 tannin Substances 0.000 description 1
- 235000018553 tannin Nutrition 0.000 description 1
- JZALLXAUNPOCEU-UHFFFAOYSA-N tetradecylbenzene Chemical compound CCCCCCCCCCCCCCC1=CC=CC=C1 JZALLXAUNPOCEU-UHFFFAOYSA-N 0.000 description 1
- 239000010409 thin film Substances 0.000 description 1
- 229930192474 thiophene Natural products 0.000 description 1
- XOLBLPGZBRYERU-UHFFFAOYSA-N tin dioxide Chemical compound O=[Sn]=O XOLBLPGZBRYERU-UHFFFAOYSA-N 0.000 description 1
- 229910001887 tin oxide Inorganic materials 0.000 description 1
- FAKFSJNVVCGEEI-UHFFFAOYSA-J tin(4+);disulfate Chemical compound [Sn+4].[O-]S([O-])(=O)=O.[O-]S([O-])(=O)=O FAKFSJNVVCGEEI-UHFFFAOYSA-J 0.000 description 1
- HPGGPRDJHPYFRM-UHFFFAOYSA-J tin(iv) chloride Chemical compound Cl[Sn](Cl)(Cl)Cl HPGGPRDJHPYFRM-UHFFFAOYSA-J 0.000 description 1
- YJGJRYWNNHUESM-UHFFFAOYSA-J triacetyloxystannyl acetate Chemical compound [Sn+4].CC([O-])=O.CC([O-])=O.CC([O-])=O.CC([O-])=O YJGJRYWNNHUESM-UHFFFAOYSA-J 0.000 description 1
- 238000001771 vacuum deposition Methods 0.000 description 1
- 238000005406 washing Methods 0.000 description 1
- 239000002699 waste material Substances 0.000 description 1
Images
Landscapes
- Paints Or Removers (AREA)
- Manufacture Of Metal Powder And Suspensions Thereof (AREA)
- Powder Metallurgy (AREA)
- Electrodes Of Semiconductors (AREA)
- Internal Circuitry In Semiconductor Integrated Circuit Devices (AREA)
- Conductive Materials (AREA)
- Manufacturing Of Electric Cables (AREA)
Abstract
【解決手段】本発明の金属粒子分散液は、硫黄原子を含む化合物と、貴金属材料を含む材料で構成され、粒径が1〜100nmの金属粒子と、分散媒とを含み、金属粒子が前記化合物で被包されていることを特徴とする。金属粒子は、主としてAgで構成されたものであるのが好ましい。
【選択図】なし
Description
導電性被膜の製造方法としては従来から、例えば、金属の真空蒸着、化学蒸着、イオンスパッタリング等が行われていた。しかしながら、これらの方法は真空系又は密閉系での作業を必要とするため、操作が煩雑な上、高価で量産性に乏しいという問題があった。
そこで、近年、金属粒子を分散媒に分散させた金属粒子分散液を塗布し、加熱焼成することにより導電性被膜を得る方法が提案されている(例えば、特許文献1参照)。この方法によれば、真空系または密閉系での作業を必要とせず、簡便な操作で、安価に導電性被膜を得ることができる。
しかしながら、分散性を高めるために安定な分散剤を用いると、分散剤の除去が困難であり、金属膜に変換する際に高温が必要となったりする。また、最終的な金属膜に分散剤(有機物成分)が残留しやすく金属膜の抵抗値を小さくするのが困難であった。一方で、金属膜の抵抗を小さくするために分散剤の安定性を低くすると、分散液自体の分散性が低下して十分な分散性を確保するのが困難であり、特に、長期間にわたって安定した分散状態を保持するのが困難であった。
本発明の金属粒子分散液は、硫黄原子を含む化合物と、
貴金属材料を含む材料で構成され、粒径が1〜100nmの金属粒子と、
分散媒とを含み、
前記金属粒子が前記化合物で被包されていることを特徴とする。
これにより、金属粒子の分散媒中での分散性および安定性に優れ、配線、導電性パターン等の導電膜として加工する際に紫外線照射を併用することで焼成温度を低く抑えることのできる金属粒子分散液を提供することができる。
これにより、金属粒子の分散性および安定性を特に優れたものとすることができるとともに、金属粒子分散液を用いて形成される導電膜の導電性を特に優れたものとすることができる。また、導電膜を形成する際の焼成温度をより低いものとすることができる。また、紫外線の照射条件をより穏やかなものとした場合であっても、十分な導電性の導電膜を形成することができる。
これにより、金属粒子の分散性および安定性を特に優れたものとすることができるとともに、金属粒子分散液を用いて形成される導電膜の導電性を特に優れたものとすることができる。また、導電膜を形成する際の焼成温度をより低いものとすることができる。また、このような化合物は紫外線に対する反応性が高いため、紫外線の照射条件をより穏やかなものとした場合であっても、十分な導電性の導電膜を形成することができる。
これにより、分散媒中における金属粒子の分散性を、より長期間にわたって特に優れたものとして好適に維持することができる。また、分散剤を除去する場合、より少ないエネルギーで除去することができる。
これにより、分散媒中における金属粒子の分散性を、より長期間にわたって特に優れたものとして好適に維持することができる。また、分散剤を除去する場合、より少ないエネルギーで除去することができる。
これにより、金属粒子の分散性および安定性を特に優れたものとすることができるとともに、金属粒子分散液を用いて形成される導電膜の導電性を特に優れたものとすることができる。また、導電膜を形成する際の焼成温度をより低いものとすることができる。また、紫外線の照射条件をより穏やかなものとした場合であっても、十分な導電性の導電膜を形成することができる。
これにより、分散媒中における金属粒子の分散性を、より長期間にわたって特に優れたものとして好適に維持することができる。また、分散剤を除去する場合、より少ないエネルギーで除去することができる。
これにより、分散媒中における金属粒子の分散性を、より長期間にわたって特に優れたものとして好適に維持することができる。また、分散剤を除去する場合、より少ないエネルギーで除去することができる。
これにより、例えば、金属粒子分散液を導電膜の形成に用いた場合、形成される導電膜中に、複素環式化合物、およびその分解物である有機物が残存するのをより確実に防止することができ、結果として、導電膜の導電性を特に優れたものとすることができる。
これにより、金属粒子の分散性を特に優れたものとすることができる。また、例えば、金属粒子分散液を導電膜の形成に用いた場合、形成される導電膜中に、複素環式化合物、およびその分解物である有機物が残存するのをより確実に防止することができ、結果として、導電膜の導電性を特に優れたものとすることができる。
これにより、分散媒中における金属粒子の分散性を、より長期間にわたって特に優れたものとして好適に維持することができる。また、分散剤を除去する場合、より少ないエネルギーで除去することができる。
これにより、金属粒子の分散性および安定性を特に優れたものとすることができるとともに、金属粒子分散液を用いて形成される導電膜の導電性を特に優れたものとすることができる。また、導電膜を形成する際の焼成温度をより低いものとすることができる。また、紫外線の照射条件をより穏やかなものとした場合であっても、十分な導電性の導電膜を形成することができる。
これにより、分散媒中における金属粒子の分散性を、より長期間にわたって特に優れたものとして好適に維持することができる。また、分散剤を除去する場合、より少ないエネルギーで除去することができる。
これにより、金属粒子分散液中における金属粒子の含有率が比較的高い場合であっても、金属粒子の分散性を特に優れたものとすることができる。また、例えば、当該金属粒子分散液を導電膜の形成に用いる場合、形成すべき導電膜が微細なものであっても、容易かつ確実に形成することができる。
これにより、金属粒子の分散性および安定性を特に優れたものとすることができるとともに、金属粒子分散液を用いて形成される導電膜の導電性を特に優れたものとすることができる。また、導電膜を形成する際の焼成温度をより低いものとすることができる。また、紫外線の照射条件をより穏やかなものとした場合であっても、十分な導電性の導電膜を形成することができる。
これにより、分散媒中における金属粒子の分散性を、より長期間にわたって特に優れたものとして好適に維持することができる。また、分散剤を除去する場合、より少ないエネルギーで除去することができる。
これにより、分散媒中における金属粒子の分散性を、より長期間にわたって特に優れたものとして好適に維持することができる。また、分散剤を除去する場合、より少ないエネルギーで除去することができる。
これにより、分散媒中における金属粒子の分散性を、より長期間にわたって特に優れたものとして好適に維持することができる。また、分散剤を除去する場合、より少ないエネルギーで除去することができる。
これにより、金属粒子の導電性を特に優れたものとすることができる。また、金属粒子分散液を用いて形成される導電膜の導電性を特に優れたものとすることができる。
本発明の金属粒子分散液では、前記金属粒子の含有率が、10〜60wt%であることが好ましい。
これにより、分散液における金属粒子の分散性がより優れたものとなる。
前記金属粒子を構成する貴金属元素の金属塩と、前記化合物と、水系極性液体と、当該水系極性液体と実質的に相溶しない非極性液体と、相間移動触媒とを含む二相液を調製する工程と、
前記二相液に還元剤を加え、前記化合物によって被包された前記金属粒子を形成する工程と、
前記非極性液体で構成される非極性液体相を前記金属粒子とともに分離する工程と、
分離した前記非極性液体相と炭素数が1〜3のアルコールとを混合し、前記金属粒子を沈殿させる工程と、
沈殿した前記金属粒子を分散媒として機能する液体中に分散する工程とを有することを特徴とする。
これにより、金属粒子の分散媒中での分散性および安定性に優れ、導電膜として加工する際に紫外線照射を併用することで焼成温度を低く抑えることのできる金属粒子分散液を容易かつ確実に製造することができる。
これにより、性能、信頼性に優れた導電膜形成基板を製造することができる。
本発明の導電膜形成基板の製造方法は、
前記金属粒子分散液を基板に配置し塗布膜を形成する塗布膜形成工程と、
前記塗布膜を導電膜に変換する導電膜形成工程と、を有し、
前記導電膜形成工程は、
前記塗布膜に紫外線を照射する紫外線照射工程と、
前記塗布膜に熱を加える加熱工程と、を含むことを特徴とする。
これにより、性能、信頼性に優れた導電膜形成基板を製造することができる。
これにより、製造工程における加熱温度をより低温に維持することができるため、導電膜形成基板の信頼性を特に優れたものとすることができる。
本発明の電子デバイスは、本発明の導電膜形成基板の製造方法を用いて製造されたことを特徴とする。
これにより、性能、信頼性に優れた電子デバイスを提供することができる。
本発明の電子機器は、本発明の電子デバイスを備えることを特徴とする。
これにより、性能、信頼性に優れた電子機器を提供することができる。
[金属粒子分散液]
まず、本発明の金属粒子分散液について説明する。
本発明の金属粒子分散液は、硫黄原子を含む化合物(以下、「硫黄含有化合物」とも言う)と、貴金属材料を含む材料で構成され、粒径が1〜100nmの金属粒子(分散質)と、分散媒とを含むものである。そして、金属粒子分散液中において、金属粒子は、硫黄原子を含む化合物(硫黄含有化合物)で被包されている。
なお、本発明において、金属粒子分散液とは、金属粒子が分散媒中に分散した液体のことを指し、例えば、コロイド液(コロイド溶液)を含む概念である。
まず、本発明の金属粒子分散液の第1実施形態について説明する。
本実施形態の金属粒子分散液は、主として貴金属材料で構成された金属粒子(分散質)と、分散媒と、分子内にメルカプト基およびエステル基を有する化合物(以下、「メルカプト基エステル基含有化合物」とも言う)とを含むものである。すなわち、本実施形態の金属粒子分散液は、硫黄含有化合物として、メルカプト基エステル基含有化合物を含むものである。
金属粒子は、主として貴金属材料で構成されたものである。
金属粒子が、主として貴金属材料で構成されたものであることにより、例えば、金属粒子分散液を配線、導電性パターン等の導電膜の形成に用いた場合に、形成される導電膜の導電性を特に優れたものとすることができる。特に、貴金属材料は、一般に、優れた化学的安定性を有しているため、長期間にわたって優れた導電性を保持することができる。また、貴金属材料は、後に詳述する硫黄含有化合物(本実施形態でのメルカプト基エステル基含有化合物等)との親和性に優れるものであるため、金属粒子が貴金属材料で構成されたものであることにより、金属粒子分散液中における金属粒子の分散性は特に優れたものとなる。
なお、金属粒子は、実質的に単体としての金属で構成されたものであってもよいし、合金等のように、複数の成分で構成されたものであってもよい。また、金属粒子中には、貴金属材料(貴金属原子)以外の成分が含まれていてもよい。例えば、金属粒子中には、Cu、Al、Ni、Sn、Mg等の成分が含まれていてもよい。
分散媒は、金属粒子分散液中において、金属粒子を分散させる媒体として機能するものである。
分散媒を構成する材料としては、例えば、メタノール、エタノール、イソプロパノール、ブタノール、オクタノール、エチレングリコール、ジエチレングリコール、グリセリン、テルピネオール(例えば、α−テルピネオール、β−テルピネオール、γ−テルピネオール等)等のアルコール類、メチルセロソルブ、エチルセロソルブ、フェニルセロソルブ等のセロソルブ類、ジエチルエーテル、テトラヒドロフラン、各種セロソロブ類等のエーテル類、酢酸メチル、酢酸エチル、酢酸ブチル、ギ酸エチル等のエステル類、アセトン、メチルエチルケトン、ジエチルケトン、メチルイソブチルケトン、メチルイソプロピルケトン、シクロヘキサノン等のケトン類、ぺンタン、ヘキサン、オクタン、トリデカン等の脂肪族炭化水素類(パラフィン系炭化水素類)、シクロへキサン、メチルシクロへキサン、テトラリン、リモネン等の脂環式炭化水素類、ベンゼン、トルエン、キシレン、ヘキシルベンゼン、ヘブチルベンゼン、オクチルベンゼン、ノニルベンゼン、デシルベンゼン、ウンデシルベンゼン、ドデシルベンゼン、トリデシルベンゼン、テトラデシルベンゼンのような長鎖アルキル基を有するベンゼン類(アルキルベンゼン誘導体)、テトラリン等の芳香族炭化水素類、塩化メチレン、クロロホルム、四塩化炭素、1,2−ジクロロエタン等のハロゲン化炭化水素類、ピリジン、ピラジン、フラン、ピロール、チオフェン、メチルピロリドン等の芳香族複素環類、アセトニトリル、プロピオニトリル、アクリロニトリル等のニトリル類、N,N−ジメチルホルムアミド、N,N−ジメチルアセトアミド等のアミド類、ミネラルスピリット等が挙げられ、これらのうちの1種または2種以上を組み合わせて用いることができる。この中でも、分散媒としては、分子内に環状構造を有し、かつ、前記環状構造内に不飽和結合を有するもの(例えば、テルピネオール(例えば、α−テルピネオール、β−テルピネオール、γ−テルピネオール等)、テトラリン、リモネン、各種芳香族炭化水素類、各種芳香族複素環類等)で構成されたものであるのが好ましい。分散媒が上記のような材料で構成されたものであると、金属粒子の分散性を特に優れたものとすることができる。
上述したように、本実施形態の金属粒子分散液は、分子内にメルカプト基およびエステル基を備えたメルカプト基エステル基含有化合物を含むものである。
このように、メルカプト基エステル基含有化合物を含有することにより、金属粒子分散液中における金属粒子の分散性を優れたものとすることができること、特に、攪拌等を行わなくても長期間にわたって金属粒子の分散性を優れたものとすることができることを、本発明者は見出した。
メルカプト基エステル基含有化合物が上記のような構造を有するものであることにより、金属粒子の分散性を特に優れたものとすることができる。また、例えば、金属粒子分散液を導電膜の形成に用いた場合に、形成される導電膜中に、メルカプト基エステル基含有化合物、およびその分解物である有機物が残存するのをより確実に防止することができ、結果として、導電膜の導電性を特に優れたものとすることができる。
次に、本発明の金属粒子分散液の第2実施形態について説明する。
本実施形態の金属粒子分散液は、主として貴金属材料で構成された金属粒子(分散質)と、分散媒と、分子内に窒素原子および硫黄原子を含む複素環式化合物とを含むものであり、前記複素環式化合物は、分散剤として機能するものである。すなわち、本実施形態の金属粒子分散液は、硫黄含有化合物として、分子内に硫黄原子を含む複素環式化合物を含むものである。言い換えると、本実施形態において、金属粒子分散液は、分散剤として機能する、分子内に硫黄原子を含む複素環式化合物(以下、単に「複素環式化合物」とも言う)を含有するものである。
前述した第1実施形態と同様である。
貴金属材料は、硫黄含有化合物としての複素環式化合物との親和性に優れるものであるため、金属粒子が貴金属材料で構成されたものであることにより、金属粒子分散液中における金属粒子の分散性は特に優れたものとなる。
前述した第1実施形態と同様である。
<複素環式化合物(分散剤)>
上述したように、本実施形態の金属粒子分散液は、分散剤としての複素環式化合物を含有するものである。
このように、複素環式化合物を含有することにより、金属粒子分散液中における金属粒子の分散性を優れたものとすることができること、特に、攪拌等を行わなくても長期間にわたって金属粒子の分散性を優れたものとすることができることを、本発明者は見出した。
複素環式化合物は、分子内に硫黄原子を含むものであればよいが、分子内に窒素原子を含むものであるのが好ましい。これにより、分散媒中における金属粒子の分散性を、より長期間にわたって特に優れたものとして好適に維持することができる。また、分散剤を除去する場合、より少ないエネルギーで除去することができる。
また、複素環式化合物は、環状構造に窒素原子および/または硫黄原子を含むものであるのが好ましい。これにより、例えば、金属粒子分散液を導電膜の形成に用いた場合、形成される導電膜中に、複素環式化合物、およびその分解物である有機物が残存するのをより確実に防止することができ、結果として、導電膜の導電性を特に優れたものとすることができる。
複素環式化合物としては、例えば、下記式(I)、式(II)、式(III)、式(IV)、式(V)、式(VI)、式(VII)で示される構造を有するもの等が挙げられる。
次に、本発明の金属粒子分散液の第3実施形態について説明する。
本実施形態の金属粒子分散液は、主として貴金属材料で構成された金属粒子(分散質)と、分散媒と、炭素数が8〜18のチオール(以下、単に「チオール」とも言う)とを含むものである。すなわち、本実施形態の金属粒子分散液は、硫黄含有化合物として、炭素数が8〜18のチオールを含むものである。
前述した第1実施形態と同様である。
貴金属材料は、硫黄含有化合物としてのチオールとの親和性に優れるものであるため、金属粒子が貴金属材料で構成されたものであることにより、金属粒子分散液中における金属粒子の分散性は特に優れたものとなる。
前述した第1実施形態と同様である。
<チオール>
上述したように、本実施形態の金属粒子分散液は、炭素数が8〜18のチオールを分散剤として含有するものである。
このようなチオールとしては、例えば、オクタンチオール(1−オクタンチオール、2−オクタンチオール等)、ノナンチオール、デカンチオール、ウンデカンチオール、ドデカンチオール、トリデカンチオール、テトラデカンチオール、ペンタデカンチオール、ヘキサデカンチオール、ヘプタデカンチオール、オクタデカンチオールや、これらの分子内に置換基(例えば、ハロゲン基や2個目以上のメルカプト基等)が導入された化合物等が挙げられ、これらから選択される1種または2種以上を組み合わせて用いることができる。また、炭素数が8〜18のチオールとしては、例えば、分子内に2個以上のメルカプト基を有するものを用いてもよい。
次に、本発明の金属粒子分散液の第4実施形態について説明する。
本実施形態の金属粒子分散液は、主として貴金属材料で構成された金属粒子(分散質)と、分散媒と、分散剤としての硫黄含有化合物と、分散助剤としてのβ−ケトエステルとを含むものである。すなわち、本実施形態の金属粒子分散液は、硫黄含有化合物等のほかに、さらに、β−ケトエステルを含むものである。
前述した第1実施形態と同様である。
貴金属材料は、後に詳述するβ−ケトエステル等との親和性に優れるものであるため、金属粒子が貴金属材料で構成されたものであることにより、金属粒子分散液中における金属粒子の分散性は特に優れたものとなる。
前述した第1実施形態と同様である。
<分散剤およびβ−ケトエステル>
上述したように、本実施形態の金属粒子分散液は、分散剤としての硫黄含有化合物と、分散助剤としてのβ−ケトエステルとを含むものである。
このように、分散剤と、β−ケトエステルとを含有することにより、金属粒子分散液中における金属粒子の分散性を優れたものとすることができること、特に、攪拌等を行わなくても長期間にわたって金属粒子の分散性を優れたものとすることができることを、本発明者は見出した。
これに対し、分散剤とβ−ケトエステルとを含まない場合、上記のような効果は得られない。例えば、金属粒子分散液が、分散剤を含み、かつ、β−ケトエステルを含まないものである場合や、β−ケトエステルを含み、かつ、分散剤を含まないものである場合等には、本発明の効果は得られない。
分散剤は、主として金属粒子を分散させるために必要な機能を有するものである。
分散剤としては、例えば、へキサンチオール、ヘプタンチオール、オクタンチオール、ノナンチオール、デカンチオール、ウンデカンチオール、ドデカンチオール、トリデカンチオール、テトラデカンチオール、ペンタデカンチオール等のチオール類、ドデシルベンゼンスルホン酸ナトリウム等の界面活性剤、ゼラチン、アラビアゴム、ポリビニルセルロース類、アルカンチオール類等の高分子化合物等が挙げられ、これらから選択される1種または2種以上を組み合わせて用いることができる。
また、分散剤としては、第1実施形態で説明したメルカプト基エステル基含有化合物、第2実施形態で説明した複素環式化合物等を用いてもよい。これにより、例えば、前述したような効果と、分散剤とβ−ケトエステルとを併用することによる効果とが、時相乗的に作用し、特に優れた効果が得られる。
β−ケトエステルは、エステル基を有し、そのβ位にケト基を有するものであればいかなるものであってもよいが、例えば、下記式(VIII)で示される構造を有するものであるのが好ましい。
上記のような金属粒子分散液は、いかなる方法で製造(調製)されたものであってもよいが、例えば、金属粒子を構成する貴金属元素の金属塩と、硫黄含有化合物と、水系極性液体と、水系極性液体と実質的に相溶しない非極性液体と、相間移動触媒とを含む二相液を調製する工程と、二相液に還元剤を加え、硫黄含有化合物によって被包された金属粒子を形成する工程と、非極性液体で構成される非極性液体相を金属粒子とともに分離する工程と、分離した非極性液体相と炭素数が1〜3のアルコールとを混合し、金属粒子を沈殿させる工程と、沈殿した金属粒子を分散媒として機能する液体中に分散する工程とを有する方法により、得ることができる。二相液を調製する工程においては、必要に応じて、β−ケトエステルを用いることができる。以下、金属粒子分散液の製造方法(調製方法)について、より具体的に説明する。
まず、還元剤により、金属粒子に対応する金属元素の金属塩を、水系極性液体(相間移動触媒および硫黄含有化合物を含む)と非極性液体(当該水系極性液体と実質的に相溶しない)の二相液において還元して、分散剤(硫黄含有化合物)によって保護された金属粒子を形成する。還元剤による金属塩の還元は、二相液を攪拌により行うのが好ましい。これにより、粒径のばらつきが特に小さい金属粒子を得ることができる。
金属塩としては、例えば、硝酸銀、硫酸銀、塩化銀、酸化銀、酢酸銀、亜硝酸銀、塩素酸銀、硫化銀等の銀塩、塩化金酸、塩化金カリウム、塩化金ナトリウム等の金塩、塩化白金酸、塩化白金、酸化白金、塩化白金酸カリウム等の白金塩、硝酸パラジウム、酢酸パラジウム、塩化パラジウム、酸化パラジウム、硫酸パラジウム等のパラジウム塩、その他の貴金属の金属塩等が挙げられ、これらから選択される1種または2種以上を組み合わせて用いることができる。
水系極性液体としては、水または水との相溶性に優れた極性液体(例えば、25℃における水100gに対する溶解度が30g以上の液体)を用いることができ、例えば、水、メタノール、エタノール等のアルコール類、アセトン等のケトン類等が挙げられる。
炭素数が1〜3のアルコールとしては、例えば、メタノール、エタノール、プロパノール(n−プロパノール、イソプロパノール)等が挙げられる。
次に、沈殿した金属粒子を、分散媒として機能する液体中に分散する。これにより、金属粒子分散液が得られる。
また、金属粒子分散液は、以下のようにして得ることもできる。
まず、金属粒子に対応する金属元素の金属塩と、炭素数が1〜3のアルコールとを含む液体と、硫黄含有化合物とを混合した後、還元剤を加え、攪拌する。
その後、この反応液を熟成し、金属粒子を沈殿させる。熟成期間は、特に限定されないが、例えば、5分〜20時間とすることができる。
上記のような各方法を用いることにより、金属粒子の分散性に優れた金属粒子分散液を容易かつ確実に製造することができる。また、金属配線等の導電膜の形成に好適に適用することができる金属粒子分散液を容易かつ確実に製造することができる。
上述したような金属粒子分散液は、いかなる用途に用いられるものであってもよく、例えば、装飾品の製造(装飾パターンの形成)、導電膜の形成(配線パターンの形成等)等に適用することができるが、以下、導電膜の形成方法および当該方法により形成される導電膜について説明する。
本発明の導電膜は、上述したような金属粒子分散液を用いて形成されたものである。
本発明の導電膜は、例えば、以下のようにして形成することができる。
まず、導電膜を形成すべき基材上に、金属粒子分散液を付与する。
金属粒子分散液を付与する方法(成膜方法)は、特に限定されないが、例えば、スピンコート法、ディップコート法、スプレーコート法、ロールコート法、スクリーン印刷法、液滴吐出法(例えばインクジェット印刷法)等の各種塗布法を用いることができる。中でも、液滴吐出法が好適である。液滴吐出法によれば、微細な形状の膜を容易かつ寸法精度よく形成することができる。
分散媒および分散剤の除去は、いかなる方法で行ってもよいが、加熱(焼成)により行うのが好ましい。これにより、金属粒子間での接合(拡散)が進行し、得られる導電膜は、特に優れた導電性を有するものとなり、また、信頼性に優れたものとなる。
また、加熱とともに、紫外線の照射を行うのが好ましい。これにより、比較的低い温度で、分散剤(硫黄含有化合物等)の除去を効率良く行うことができ、金属粒子間での接合(拡散)が十分に進行した導電膜を形成することができる。また、このようにして形成された導電膜は、特に優れた信頼性を有するものとなる。
また、紫外線の照射を行う場合、加熱方法は、特に限定されないが、赤外線照射により行うのが好ましい。これにより、基材温度の上昇を防止、抑制しつつ、膜を選択的に加熱することができる。
紫外光の照射時間は、特に限定されないが、1秒〜5時間程度であるのが好ましい。
なお、上記のような紫外線の照射は、例えば、加熱と同時に行うものであってもよいし、加熱処理とは時間差をもって行うもの(例えば、加熱前や加熱後に行うもの)であってもよい。
上記のようにして形成される導電膜は、特に優れた導電性を有している。
このような導電膜は、電気抵抗率(比抵抗)が10μΩcm以下であるのが好ましく、5μΩcm以下であるのがより好ましい。
次に、このような導電膜を備える本発明の電子デバイスを、アクティブマトリックス駆動方式の透過型液晶表示装置に適用した場合を一例に説明する。
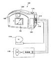
図1は、本発明を透過型液晶表示装置に適用した場合の実施形態を示す分解斜視図である。
図1に示す透過型液晶表示装置100(以下、単に「液晶表示装置100」と言う。)は、液晶パネル(表示パネル)200と、バックライト(光源)600とを有している。
この液晶表示装置100は、バックライト600からの光を液晶パネル200に透過させることにより画像(情報)を表示し得るものである。
そして、これらの第1の基板220、第2の基板230との間に、液晶層240が介挿されている。
第1の基板220は、その上面(液晶層240側の面)221に、マトリックス状(行列状)に配置された複数の画素電極223と、X方向に延在する信号電極224とが設けられ、1列分の画素電極223の各々が1本の信号電極224に、それぞれ、スイッチング素子222を介して接続されている。
ここで、スイッチング素子222には、TFD素子やTFT素子が挙げられる。
また、第1の基板220の下面には、偏光板225が設けられている。
一方、第2の基板230は、その下面(液晶層240側の面)231に、複数の帯状をなす走査電極232が設けられている。これらの走査電極232は、信号電極224とほぼ直交するY方向に沿って、互いに所定間隔をおいてほぼ平行に配置され、かつ、画素電極223の対向電極となるように配列されている。
画素電極223と走査電極232とが重なる部分(この近傍の部分も含む)が1画素を構成し、これらの電極間で充放電を行うことにより、各画素毎に、液晶層240の液晶が駆動、すなわち、液晶の配向状態が変化する。
また、第2の基板230の上面には、前記偏光板225とは偏光軸が異なる偏光板235が設けられている。
なお、本発明の電子デバイスは、上記の液晶表示装置に限られず、例えば、有機または無機のエレクトロルミネッセンス装置、有機または無機の薄膜トランジスタ、電気泳動表示装置、非接触ICカード等に適用することもできる。すなわち、本発明の導電膜は、これらの電子デバイスが備える電極や配線等に適用することができる。
次に、上記のような電子デバイス(液晶表示装置)を備えた本発明の電子機器について説明する。
図2は、本発明を適用したモバイル型(またはノート型)のパーソナルコンピュータの構成を示す斜視図である。
このパーソナルコンピュータ1100においては、表示ユニット1106が前述の液晶表示装置(電気光学装置)100を備えている。
この図において、携帯電話機1200は、複数の操作ボタン1202、受話口1204および送話口1206とともに、前述の液晶表示装置(電気光学装置)100を表示部に備えている。
デジタルスチルカメラ1300におけるケース(ボディー)1302の背面には、前述の液晶表示装置100が表示部に設けられ、CCDによる撮像信号に基づいて表示を行う構成になっており、被写体を電子画像として表示するファインダとして機能する。
また、ケース1302の正面側(図示の構成では裏面側)には、光学レンズ(撮像光学系)やCCDなどを含む受光ユニット1304が設けられている。
撮影者が液晶表示装置100に表示された被写体像を確認し、シャッタボタン1306を押下すると、その時点におけるCCDの撮像信号が、回路基板1308のメモリに転送・格納される。
例えば、本発明の金属粒子分散液の製造方法では、任意の目的の工程が1または2以上追加されてもよい。
また、本発明の金属粒子分散液は、前述したような製造方法以外の方法により、製造されたものであってもよい。例えば、前述した実施形態では、還元剤を用いて金属塩を還元するものとして説明したが、紫外線等の光、電子線、熱エネルギーを用いて還元させてもよい。
また、本発明の電子デバイスおよび電子機器では、各部の構成は、同様の機能を発揮する任意の構成のものに置換することができ、また、任意の構成を付加することもできる。
[銀分散液(金属粒子分散液)の製造]
(サンプルNo.I−1)
1.23gのn−オクチルチオグリコレート(メルカプト基エステル基含有化合物)をトルエン100mlに溶解した溶液(メルカプト基エステル基含有化合物溶液)を用意した。
一方、1.02gの硝酸銀1水和物(金属塩)を20mlの水に溶解した後、14.6gのテトラオクチルアンモニウムブロマイド(相間移動触媒)を270mlのトルエンに溶解した溶液を加え、室温で30分間攪拌した。この溶液に、上記のメルカプト基エステル基含有化合物溶液を加え、さらに30分間攪拌し、トルエン−水二相液を得た。
銀粒子の分散において、テトラリンの代わりにリモネンを用いた以外は、前記サンプルNo.I−1と同様にして銀分散液を調製した。
(サンプルNo.I−3)
銀粒子の分散において、テトラリンの代わりにα−テルピネオールを用いた以外は、前記サンプルNo.I−1と同様にして銀分散液を調製した。
メルカプト基エステル基含有化合物としてn−オクチルチオグリコレートの代わりに3−メルカプトプロピオン酸エチルを0.81g用いた以外は、前記サンプルNo.I−1〜No.I−3と同様にして銀分散液を調製した。
(サンプルNo.I−7〜No.I−9)
メルカプト基エステル基含有化合物としてn−オクチルチオグリコレートの代わりに6−メルカプトカプロン酸n−オクチルを1.57g用いた以外は、前記サンプルNo.I−1〜No.I−3と同様にして銀分散液を調製した。
メルカプト基エステル基含有化合物としてn−オクチルチオグリコレートの代わりに8−メルカプトカプリル酸n−ノニルを1.82g用いた以外は、前記サンプルNo.I−1〜No.I−3と同様にして銀分散液を調製した。
(サンプルNo.I−13)
n−オクチルチオグリコレートの代わりにカプロン酸n−オクチルを1.37g用いた以外は、前記サンプルNo.I−1と同様にして銀分散液を調製した。この場合は合成時に銀が凝集して分散液は得られなかった。
n−オクチルチオグリコレートの代わりに8−メルカプトカプリル酸を1.06g用いた以外は、前記サンプルNo.I−1と同様にして銀分散液を調製した。
(サンプルNo.I−15)
n−オクチルチオグリコレートの代わりに1−ドデカンチオールを1.22g用いた以外は、前記サンプルNo.I−1と同様にして銀分散液を調製した。
上記の各サンプルについて、それぞれ、透過型電子顕微鏡によって得られた写真像から粒度分布を調べ、その平均粒径およびピークの半値幅をそれぞれ計測した。各サンプルについての銀分散液の条件を表1にまとめて示す。
上記の各サンプルについて、それぞれ、20℃の環境下で3日間放置した後の銀粒子の分散性を以下の4段階の基準に従い評価した。
◎:分散質としての銀粒子は、極めて均一性の高い状態での分散状態を保持している。
○:銀粒子の沈殿等は認められないが、分散液中に銀粒子の大きさのばらつきに由来すると考えられる濃淡がわずかに認められる。
△:銀粒子の沈殿がわずかに認められる。
×:銀粒子の沈殿が顕著に認められる。
これらの結果を表2にまとめて示す。
(サンプルNo.II−1)
前記サンプルNo.I−1の銀分散液を、ガラス基板上に、インクジェット装置を用いて、ライン状のパターンで吐出した後、100℃で乾燥することにより成膜した。さらに、この膜上に同様に膜を形成する操作を繰り返して行った。
次に、得られた膜を150℃で60分間焼成することにより、線幅50μm、厚さ1μmの配線(導電膜)を形成した。なお、上記の焼成は、波長254nm、照射強度10mW/cm2の紫外線を照射しつつ行った。
前記サンプルNo.I−1の銀分散液の代わりに、サンプルNo.I−2〜No.I−15の銀分散液を用いた以外は、前記サンプルNo.II−1と同様にして配線(導電膜)を形成した。
(サンプルNo.III−1〜No.III−15)
焼成条件を250℃で10分間に変更した以外は、前記サンプルNo.II−1〜No.II−15と同様にして配線(導電膜)を形成した。
上記サンプルNo.II−1〜No.II−15およびサンプルNo.III−1〜No.III−15の配線(導電膜)について、それぞれ、電気抵抗率(比抵抗)を測定した。
その結果を表3に示す。
これに対し、比較例I−13は分散液ができず、II−13およびIII−13については評価することができなかった。これは、チオールがないので分散剤として働かないためである。
また、金属粒子として、金で構成された粒子、Ag−Pd合金で構成された粒子を用いた以外は、上記と同様にして金属粒子分散液を調製し、上記と同様な評価を行ったところ、上記と同様の結果が得られた。
[銀分散液(金属粒子分散液)の製造]
(サンプルNo.IV−1)
まず、下記式(IX)で示される2−メルカプト−5−メチル−1,3,4−チアジアゾール(複素環式化合物):0.72gをトルエン100mlに溶解した溶液(複素環式化合物溶液)を用意した。
次に、2.28gのホウ素化水素ナトリウム(還元剤)を140mlの水に溶解した溶液を用意し、この溶液を、強攪拌している上記のトルエン−水二相液に滴下した。滴下終了後、さらに室温で3時間攪拌することにより銀の微粒子が分散した分散液を得た。溶液の攪拌をやめてしばらく静置するとトルエン相と水相に分離し,このとき、水相は無色透明であり、銀微粒子がトルエン相に存在することを確認した。水相を分離除去した後、トルエン相に740mlのエタノールを添加し、銀粒子を沈殿させた。沈殿した銀粒子を遠心分離機により完全に沈降させた後、トルエンを除去し、銀粒子を分離した。得られた銀粒子を、銀濃度が10wt%となるように、トルエン中に分散させ、銀分散液(金属粒子分散液)を得た。得られた銀分散液中における銀粒子の粒径を動的散乱法(マルバーン社製、HPPS)により測定したところ、5nmであった。また、TEM観察でも結晶性の1次粒子が形成されていることが確認された。
2−メルカプト−5−メチル−1,3,4−チアジアゾールの使用量を変更し、銀分散液中における2−メルカプト−5−メチル−1,3,4−チアジアゾールの含有量を表4に示すように変更した以外は、前記サンプルNo.IV−1と同様にして銀分散液を調製した。
(サンプルNo.IV−4)
複素環式化合物として2−メルカプト−5−メチル−1,3,4−チアジアゾールの代わりに下記式(X)で示される2−メルカプトチアゾール(0.65g)を用いた以外は、前記サンプルNo.IV−1と同様にして銀分散液を調製した。
複素環式化合物として2−メルカプト−5−メチル−1,3,4−チアジアゾールの代わりに下記式(XI)で示される5−メルカプト−1,2,3−トリアゾール(0.55g)を用いた以外は、前記サンプルNo.IV−1と同様にして銀分散液を調製した。
分散液の調製において、複素環式化合物(分散剤)を用いなかった以外は、前記サンプルNo.IV−1と同様にして銀分散液を調製した。しかしこの場合は還元剤を添加した時点で銀が凝集し、分散液は得られなかった。
(サンプルNo.IV−7)
2−メルカプト−5−メチル−1,3,4−チアジアゾールの代わりに1−ドデカンチオール(1.1g)を用いた以外は、前記サンプルNo.IV−1と同様にして銀分散液を調製した。
2−メルカプト−5−メチル−1,3,4−チアジアゾールの代わりに2,5−ジメチルフラン(0.52g)を用いた以外は、前記サンプルNo.IV−1と同様にして銀分散液を調製した。しかし、この場合も還元剤を添加した時点で銀が凝集し、分散液は得られなかった。
上記の各サンプルについて、それぞれ、透過型電子顕微鏡によって得られた写真像から粒度分布を調べ、その平均粒径およびピークの半値幅をそれぞれ計測した。各サンプルについての銀分散液の条件を表4にまとめて示す。
上記の各サンプルについて、それぞれ、20℃の環境下で3日間放置した後の銀粒子の分散性を以下の4段階の基準に従い評価した。
◎:分散質としての銀粒子は、極めて均一性の高い状態での分散状態を保持している。
○:銀粒子の沈殿等は認められないが、分散液中に銀粒子の大きさのばらつきに由来すると考えられる濃淡がわずかに認められる。
△:銀粒子の沈殿がわずかに認められる。
×:銀粒子の沈殿が顕著に認められる。
これらの結果を表5にまとめて示す。
(サンプルNo.V−1)
前記サンプルNo.IV−1の銀分散液を、ガラス基板上に、インクジェット装置を用いて、ライン状のパターンで吐出した後、110℃で乾燥することにより成膜した。さらに、この膜上に同様に膜を形成する操作を繰り返して行った。
次に、得られた膜を150℃で60分間焼成することにより、線幅:50μm×厚さ:1μmの配線(導電膜)を形成した。なお、上記の焼成は、波長254nm、照射強度10mW/cm2の紫外線を照射しつつ行った。
前記サンプルNo.IV−1の銀分散液の代わりに、サンプルNo.IV−2〜No.IV−8の銀分散液を用いた以外は、前記サンプルNo.V−1と同様にして配線(導電膜)を形成した。
(サンプルNo.VI−1〜No.VI−8)
焼成条件を250℃10分間に変更した以外は、前記サンプルNo.V−1〜No.V−8と同様にして配線(導電膜)を形成した。
上記サンプルNo.V−1〜No.V−8、およびVI−1〜VI−8の配線(導電膜)について、それぞれ、電気抵抗率(比抵抗)を測定した。
その結果を表6に示す。
これに対し、比較例であるIV−6およびIV−8は分散液ができず、V−6およびV−8、VI−6およびVI−8については評価することができなかった。
また、比較例であるV−7は、電気伝導が発現せず抵抗値を測定することができなかった。さらに、高温で焼成した比較例であるVI−7においては、電気伝導は現れたが本発明と比べると抵抗の大きいものであった。
また、金属粒子として、金で構成された粒子、Ag−Pd合金で構成された粒子を用いた以外は、上記と同様にして金属粒子分散液を調製し、上記と同様な評価を行ったところ、上記と同様の結果が得られた。
[銀分散液(金属粒子分散液)の製造]
(サンプルNo.VII−1)
まず、1−ドデカンチオール:0.55gをトルエン10mlに溶解した溶液(チオール溶液)を用意した。
一方、5.1gの硝酸銀1水和物(金属塩)を10mlの水に溶解した後、19.6gのテトラオクチルアンモニウムブロマイド(相間移動触媒)を50mlのトルエンに溶解した溶液を加え、室温で30分間攪拌した。この溶液に、上記のチオール溶液を加え、さらに30分間攪拌し、トルエン−水二相液を得た。
ホウ素化水素ナトリウム(還元剤)の溶液をトルエン−水二相液に滴下した際における、トルエン−水二相液の攪拌および滴下条件を変更した以外は、サンプルNo.VII−1と同様にして銀分散液を調製した。
(サンプルNo.VII−4〜No.VII−8)
1−ドデカンチオールおよびテトラリンの使用量を変更し、銀分散液中における1−ドデカンチオールの含有量、銀分散液中における銀粒子の含有率を表7に示すように変更した以外は、サンプルNo.VII−1と同様にして銀分散液を調製した。
1−ドデカンチオールおよびテトラリンの使用量を変更し、銀分散液中における1−ドデカンチオールの含有量、銀分散液中における銀粒子の含有率を表7に示すように変更した以外は、サンプルNo.VII−2と同様にして銀分散液を調製した。
(サンプルNo.VII−14〜No.VII−18)
1−ドデカンチオールおよびテトラリンの使用量を変更し、銀分散液中における1−ドデカンチオールの含有量、銀分散液中における銀粒子の含有率を表7に示すように変更した以外は、サンプルNo.VII−3と同様にして銀分散液を調製した。
1−ドデカンチオールの代わりに、1−オクタンチオールを用いた以外は、サンプルNo.VII−1〜No.VII−3と同様にして銀分散液を調製した。
(サンプルNo.VII−22〜No.VII−24)
1−ドデカンチオールの代わりに、1−ヘキサンチオールを用いた以外は、サンプルNo.VII−1〜No.VII−3と同様にして銀分散液を調製した。
1−ドデカンチオールの代わりに、1−イコサンチオールを用いた以外は、サンプルNo.VII−1〜No.VII−3と同様にして銀分散液を調製した。
(サンプルNo.VII−28)
銀粒子の分散において、テトラリンの代わりにリモネンを用いた以外は、前記サンプルNo.VII−1と同様にして銀分散液を調製した。
銀粒子の分散において、テトラリンの代わりにα−テルピネオールを用いた以外は、前記サンプルNo.VII−1と同様にして銀分散液を調製した。
上記の各サンプルについて、それぞれ、透過型電子顕微鏡によって得られた写真像から粒度分布を調べ、その平均粒径およびピークの半値幅をそれぞれ計測した。各サンプルについての銀分散液の条件を表7、表8にまとめて示す。
上記の各サンプルについて、それぞれ、20℃の環境下で3日間放置した後の銀粒子の分散性を以下の4段階の基準に従い評価した。
◎:分散質としての銀粒子は、極めて均一性の高い状態での分散状態を保持している。
○:銀粒子の沈殿等は認められないが、分散液中に銀粒子の大きさのばらつきに由来すると考えられる濃淡がわずかに認められる。
△:銀粒子の沈殿がわずかに認められる。
×:銀粒子の沈殿が顕著に認められる。
これらの結果を表9にまとめて示す。
(サンプルNo.VIII−1)
前記サンプルNo.VII−1の銀分散液を、ガラス基板上に、インクジェット装置を用いて、ライン状のパターンで吐出した後、110℃で乾燥することにより成膜した。さらに、この膜上に同様に膜を形成する操作を繰り返して行った。
次に、得られた膜を150℃で60分間焼成することにより、線幅:50μm×厚さ:1μmの配線(導電膜)を形成した。なお、上記の焼成は、波長254nm、照射強度10mW/cm2の紫外線を照射しつつ行った。
前記サンプルNo.VII−1の銀分散液の代わりに、サンプルNo.VII−2〜No.VII−29の銀分散液を用いた以外は、前記サンプルNo.VIII−1と同様にして配線(導電膜)を形成した。
(サンプルNo.IX−1〜No.IX−29)
焼成条件を250℃10分間に変更した以外は、前記サンプルNo.VIII−1〜No.VIII−29と同様にして配線(導電膜)を形成した。
上記サンプルNo.VIII−1〜No.VIII−29およびNo.IX−1〜No.IX−29の配線(導電膜)について、それぞれ、電気抵抗率(比抵抗)を測定した。
その結果を表10に示す。
これに対して、比較例の配線(導電膜)は、いずれも、本発明に比べて、抵抗の大きいものであった。
また、サンプルNo.VIII−1〜No.VIII−29のうち本発明における導電膜(比較例を除く)を用いて、図1〜図4に示すような電子デバイス、電子機器を製造した。その結果、本発明の導電膜を用いることにより、信頼性に優れた電子デバイス、電子機器が得られることが確認された。
また、金属粒子として、金で構成された粒子、Ag−Pd合金で構成された粒子を用いた以外は、上記と同様にして金属粒子分散液を調製し、上記と同様な評価を行ったところ、上記と同様の結果が得られた。
[銀分散液(金属粒子分散液)の製造]
(サンプルNo.X−1)
1.2gの1−ドデカンチオール(分散剤)と、4.8gの4,4,4−トリフルオロアセト酢酸イソプロピル(β−ケトエステル)とをトルエン10mlに溶解した溶液(分散剤/β−ケトエステル溶液)を用意した。
一方、5.1gの硝酸銀1水和物(金属塩)を10mlの水に溶解した後、19.6gのテトラオクチルアンモニウムブロマイド(相間移動触媒)を50mlのトルエンに溶解した溶液を加え、室温で30分間攪拌した。この溶液に、上記の分散剤/β−ケトエステル溶液を加え、さらに30分間攪拌し、トルエン−水二相液を得た。
銀粒子の分散において、テトラリンの代わりにリモネンを用いた以外は、前記サンプルNo.X−1と同様にして銀分散液を調製した。
(サンプルNo.X−3)
銀粒子の分散において、テトラリンの代わりにα−テルピネオールを用いた以外は、前記サンプルNo.X−1と同様にして銀分散液を調製した。
4,4,4−トリフルオロアセト酢酸イソプロピル(β−ケトエステル)の使用量を変更し、銀分散液中における4,4,4−トリフルオロアセト酢酸イソプロピルの含有量を表11に示すように変更した以外は、前記サンプルNo.X−1と同様にして銀分散液を調製した。
β−ケトエステルとして4,4,4−トリフルオロアセト酢酸イソプロピルの代わりにアセト酢酸エチルを3.2g用いた以外は、前記サンプルNo.X−1〜No.X−3と同様にして銀分散液を調製した。
(サンプルNo.X−9〜No.X−11)
分散剤として1−ドデカンチオールの代わりに1−オクタンチオールを0.87g用いた以外は、前記サンプルNo.X−1〜No.X−3と同様にして銀分散液を調製した。
分散液の調製において、1−ドデカンチオールを用いなかった以外は、前記サンプルNo.X−1と同様にして銀分散液を調製した。
(サンプルNo.X−13)
分散液の調製において、4,4,4−トリフルオロアセト酢酸イソプロピルを用いなかった以外は、前記サンプルNo.X−1と同様にして銀分散液を調製した。
上記の各サンプルについて、それぞれ、透過型電子顕微鏡によって得られた写真像から粒度分布を調べ、その平均粒径およびピークの半値幅をそれぞれ計測した。各サンプルについての銀分散液の条件を表11にまとめて示す。
上記の各サンプルについて、それぞれ、20℃の環境下で3日間放置した後の銀粒子の分散性を以下の4段階の基準に従い評価した。
◎:分散質としての銀粒子は、極めて均一性の高い状態での分散状態を保持している。
○:銀粒子の沈殿等は認められないが、分散液中に銀粒子の大きさのばらつきに由来すると考えられる濃淡がわずかに認められる。
△:銀粒子の沈殿がわずかに認められる。
×:銀粒子の沈殿が顕著に認められる。
これらの結果を表12にまとめて示す。
(サンプルNo.XI−1)
前記サンプルNo.X−1の銀分散液を、ガラス基板上に、インクジェット装置を用いて、ライン状のパターンで吐出した後、110℃で乾燥することにより成膜した。さらに、この膜上に同様に膜を形成する操作を繰り返して行った。
次に、得られた膜を150℃で60分間焼成することにより、線幅:50μm×厚さ:1μmの配線(導電膜)を形成した。なお、上記のような焼成は、ピーク波長254nm、照射強度10mW/cm2の紫外線を照射しつつ行った。
前記サンプルNo.X−1の銀分散液の代わりに、サンプルNo.X−2〜No.X−13の銀分散液を用いた以外は、前記サンプルNo.XI−1と同様にして配線(導電膜)を形成した。
(サンプルNo.XII−1〜No.XII−13)
焼成条件を250℃10分に変更した以外は、前記サンプルNo.XI−1〜No.XI−13と同様にして配線(導電膜)を形成した。
上記サンプルNo.XII−1〜No.XII−13の配線(導電膜)について、それぞれ、電気抵抗率(比抵抗)を測定した。
その結果を表13に示す。
これに対して、比較例の配線(導電膜)は、いずれも、本発明に比べて、電気抵抗率が明らかに大きかった。
また、金属粒子として、金で構成された粒子、Ag−Pd合金で構成された粒子を用いた以外は、上記と同様にして金属粒子分散液を調製し、上記と同様な評価を行ったところ、上記と同様の結果が得られた。
Claims (27)
- 硫黄原子を含む化合物と、
貴金属材料を含む材料で構成され、粒径が1〜100nmの金属粒子と、
分散媒とを含み、
前記金属粒子が前記化合物で被包されていることを特徴とする金属粒子分散液。 - 前記化合物は、分子内にメルカプト基とエステル基とを有するものである請求項1に記載の金属粒子分散液。
- 前記化合物は、一般式HS(CH2)nCOOR(nは1〜5の整数、Rは炭素数1〜8の直鎖、分岐、または環状アルキル基)で表される化合物である請求項2に記載の金属粒子分散液。
- 前記化合物の含有率が、前記金属粒子を構成する金属原子に対するモル比で0.1〜1である請求項2または3に記載の金属粒子分散液。
- 前記化合物の平均分子量は、106〜260である請求項2ないし4のいずれかに記載の金属粒子分散液。
- 前記化合物は、分子内に硫黄原子を含む複素環式化合物である請求項1に記載の金属粒子分散液。
- 前記複素環式化合物の含有率が、前記金属粒子を構成する金属原子に対するモル比で0.1〜1である請求項6に記載の金属粒子分散液。
- 前記複素環式化合物は、分子内に窒素原子を含むものである請求項6または7に記載の金属粒子分散液。
- 前記複素環式化合物は、環状構造に窒素原子および/または硫黄原子を含むものである請求項6ないし8のいずれかに記載の金属粒子分散液。
- 前記複素環式化合物は、複素環に結合し、前記金属粒子を構成する金属原子に配位可能な基を有するものである請求項6ないし9のいずれかに記載の金属粒子分散液。
- 前記複素環式化合物の平均分子量は80〜300である請求項6ないし10のいずれかに記載の金属粒子分散液。
- 前記化合物は、炭素数が8〜18のチオールである請求項1に記載の金属粒子分散液。
- 前記金属粒子の平均粒径をA[nm]、前記チオールの含有率(前記貴金属原子に対するモル比)をXとしたとき、0.05/A≦X≦1/Aの関係を満足する請求項12に記載の金属粒子分散液。
- 前記金属粒子の粒度分布におけるピークの半値幅が、0.1〜3nmである請求項1ないし13のいずれかに記載の金属粒子分散液。
- 金属粒子分散液は、前記化合物、前記金属粒子および前記分散媒に加え、β−ケトエステルを含むものである請求項1ないし14のいずれかに記載の金属粒子分散液。
- 前記化合物として炭素数が8以上のチオールを含む請求項15に記載の金属粒子分散液。
- 前記β−ケトエステルの含有率が、前記金属粒子を構成する金属原子に対するモル比で0.1〜0.4である請求項15ないし17のいずれかに記載の金属粒子分散液。
- 前記β−ケトエステルの平均分子量は、140〜400である請求項15ないし18のいずれかに記載の金属粒子分散液。
- 前記貴金属はAgである請求項1ないし19のいずれかに記載の金属粒子分散液。
- 前記金属粒子の含有率が、10〜60wt%である請求項1ないし20のいずれかに記載の金属粒子分散液。
- 請求項1ないし21のいずれかに記載の金属粒子分散液を製造する方法において、
前記金属粒子を構成する貴金属元素の金属塩と、前記化合物と、水系極性液体と、当該水系極性液体と実質的に相溶しない非極性液体と、相間移動触媒とを含む二相液を調製する工程と、
前記二相液に還元剤を加え、前記化合物によって被包された前記金属粒子を形成する工程と、
前記非極性液体で構成される非極性液体相を前記金属粒子とともに分離する工程と、
分離した前記非極性液体相と炭素数が1〜3のアルコールとを混合し、前記金属粒子を沈殿させる工程と、
沈殿した前記金属粒子を分散媒として機能する液体中に分散する工程とを有することを特徴とする金属粒子分散液の製造方法。 - 請求項22に記載の金属粒子分散液の製造方法を用いることを特徴とする導電膜形成基板の製造方法。
- 請求項1ないし21のいずれかに記載の金属粒子分散液を用いた導電膜形成基板の製造方法において、
前記金属粒子分散液を基板に配置し塗布膜を形成する塗布膜形成工程と、
前記塗布膜を導電膜に変換する導電膜形成工程と、を有し、
前記導電膜形成工程は、
前記塗布膜に紫外線を照射する紫外線照射工程と、
前記塗布膜に熱を加える加熱工程と、を含むことを特徴とする導電膜形成基板の製造方法。 - 前記加熱工程は、150度以下の加熱である請求項24に記載の導電膜形成基板の製造方法。
- 請求項23ないし25のいずれかに記載の導電膜形成基板の製造方法を用いて製造されたことを特徴とする電子デバイス。
- 請求項26に記載の電子デバイスを備えることを特徴とする電子機器。
Priority Applications (1)
| Application Number | Priority Date | Filing Date | Title |
|---|---|---|---|
| JP2008301183A JP4973645B2 (ja) | 2005-03-18 | 2008-11-26 | 金属粒子分散液、金属粒子分散液の製造方法、導電膜形成基板の製造方法、電子デバイスおよび電子機器 |
Applications Claiming Priority (9)
| Application Number | Priority Date | Filing Date | Title |
|---|---|---|---|
| JP2005080734 | 2005-03-18 | ||
| JP2005080737 | 2005-03-18 | ||
| JP2005080735 | 2005-03-18 | ||
| JP2005080736 | 2005-03-18 | ||
| JP2005080734 | 2005-03-18 | ||
| JP2005080737 | 2005-03-18 | ||
| JP2005080736 | 2005-03-18 | ||
| JP2005080735 | 2005-03-18 | ||
| JP2008301183A JP4973645B2 (ja) | 2005-03-18 | 2008-11-26 | 金属粒子分散液、金属粒子分散液の製造方法、導電膜形成基板の製造方法、電子デバイスおよび電子機器 |
Related Parent Applications (1)
| Application Number | Title | Priority Date | Filing Date |
|---|---|---|---|
| JP2005352761A Division JP4293181B2 (ja) | 2005-03-18 | 2005-12-06 | 金属粒子分散液、金属粒子分散液の製造方法、導電膜形成基板の製造方法、電子デバイスおよび電子機器 |
Publications (2)
| Publication Number | Publication Date |
|---|---|
| JP2009091663A true JP2009091663A (ja) | 2009-04-30 |
| JP4973645B2 JP4973645B2 (ja) | 2012-07-11 |
Family
ID=40663929
Family Applications (1)
| Application Number | Title | Priority Date | Filing Date |
|---|---|---|---|
| JP2008301183A Expired - Lifetime JP4973645B2 (ja) | 2005-03-18 | 2008-11-26 | 金属粒子分散液、金属粒子分散液の製造方法、導電膜形成基板の製造方法、電子デバイスおよび電子機器 |
Country Status (1)
| Country | Link |
|---|---|
| JP (1) | JP4973645B2 (ja) |
Cited By (6)
| Publication number | Priority date | Publication date | Assignee | Title |
|---|---|---|---|---|
| JP2010051952A (ja) * | 2008-07-28 | 2010-03-11 | Canon Inc | ナノ粒子−分散剤複合体、ナノ粒子分散液およびナノ粒子−マトリックス材料複合体 |
| JP2012230000A (ja) * | 2011-04-26 | 2012-11-22 | Sumika Chemical Analysis Service Ltd | 微小粒子の検査方法 |
| JP2016066531A (ja) * | 2014-09-25 | 2016-04-28 | 本田技研工業株式会社 | 燃料電池用金属セパレータの製造方法 |
| JP2017221883A (ja) * | 2016-06-14 | 2017-12-21 | 日本曹達株式会社 | 単体を製造若しくは回収する方法 |
| JP2021050384A (ja) * | 2019-09-25 | 2021-04-01 | 大陽日酸株式会社 | ニッケル微粒子の製造方法 |
| CN114769577A (zh) * | 2022-03-15 | 2022-07-22 | 温州伟达贵金属粉体材料有限公司 | 一种电触头用高分散微米级银粉的制备方法 |
Citations (6)
| Publication number | Priority date | Publication date | Assignee | Title |
|---|---|---|---|---|
| JPS6310316A (ja) * | 1986-07-02 | 1988-01-16 | Fuji Photo Film Co Ltd | 磁気記録媒体 |
| JP2000504374A (ja) * | 1995-12-28 | 2000-04-11 | アール. ヒース,ジェイムズ | 有機的に官能価された金属の単分散微小結晶 |
| JP2000512339A (ja) * | 1996-03-12 | 2000-09-19 | テクル,バーハン | 超微小及び微小粒子を単離するための方法並びにその結果の粒子 |
| JP2002153738A (ja) * | 2000-11-20 | 2002-05-28 | Univ Saitama | 粒子位置の制御方法およびその制御方法を用いた粒子膜の製造方法および粒子膜 |
| JP2002329945A (ja) * | 2001-04-27 | 2002-11-15 | Harima Chem Inc | 異方性導電材料を利用する基板間導通の形成方法 |
| WO2004016376A1 (en) * | 2001-06-29 | 2004-02-26 | Nanospin Solutions | Metal nanocrystals and synthesis thereof |
-
2008
- 2008-11-26 JP JP2008301183A patent/JP4973645B2/ja not_active Expired - Lifetime
Patent Citations (6)
| Publication number | Priority date | Publication date | Assignee | Title |
|---|---|---|---|---|
| JPS6310316A (ja) * | 1986-07-02 | 1988-01-16 | Fuji Photo Film Co Ltd | 磁気記録媒体 |
| JP2000504374A (ja) * | 1995-12-28 | 2000-04-11 | アール. ヒース,ジェイムズ | 有機的に官能価された金属の単分散微小結晶 |
| JP2000512339A (ja) * | 1996-03-12 | 2000-09-19 | テクル,バーハン | 超微小及び微小粒子を単離するための方法並びにその結果の粒子 |
| JP2002153738A (ja) * | 2000-11-20 | 2002-05-28 | Univ Saitama | 粒子位置の制御方法およびその制御方法を用いた粒子膜の製造方法および粒子膜 |
| JP2002329945A (ja) * | 2001-04-27 | 2002-11-15 | Harima Chem Inc | 異方性導電材料を利用する基板間導通の形成方法 |
| WO2004016376A1 (en) * | 2001-06-29 | 2004-02-26 | Nanospin Solutions | Metal nanocrystals and synthesis thereof |
Cited By (8)
| Publication number | Priority date | Publication date | Assignee | Title |
|---|---|---|---|---|
| JP2010051952A (ja) * | 2008-07-28 | 2010-03-11 | Canon Inc | ナノ粒子−分散剤複合体、ナノ粒子分散液およびナノ粒子−マトリックス材料複合体 |
| US8541591B2 (en) | 2008-07-28 | 2013-09-24 | Canon Kabushiki Kaisha | Nanoparticle/dispersant complex, nanoparticle dispersion liquid, and nanoparticle/matrix-material complex |
| JP2012230000A (ja) * | 2011-04-26 | 2012-11-22 | Sumika Chemical Analysis Service Ltd | 微小粒子の検査方法 |
| JP2016066531A (ja) * | 2014-09-25 | 2016-04-28 | 本田技研工業株式会社 | 燃料電池用金属セパレータの製造方法 |
| JP2017221883A (ja) * | 2016-06-14 | 2017-12-21 | 日本曹達株式会社 | 単体を製造若しくは回収する方法 |
| JP2021050384A (ja) * | 2019-09-25 | 2021-04-01 | 大陽日酸株式会社 | ニッケル微粒子の製造方法 |
| JP7341820B2 (ja) | 2019-09-25 | 2023-09-11 | 大陽日酸株式会社 | ニッケル微粒子の製造方法 |
| CN114769577A (zh) * | 2022-03-15 | 2022-07-22 | 温州伟达贵金属粉体材料有限公司 | 一种电触头用高分散微米级银粉的制备方法 |
Also Published As
| Publication number | Publication date |
|---|---|
| JP4973645B2 (ja) | 2012-07-11 |
Similar Documents
| Publication | Publication Date | Title |
|---|---|---|
| JP4293181B2 (ja) | 金属粒子分散液、金属粒子分散液の製造方法、導電膜形成基板の製造方法、電子デバイスおよび電子機器 | |
| JP4973645B2 (ja) | 金属粒子分散液、金属粒子分散液の製造方法、導電膜形成基板の製造方法、電子デバイスおよび電子機器 | |
| CA2461338C (en) | Low viscosity precursor compositions and methods for the deposition of conductive electronic features | |
| EP2380688B1 (en) | Particles and Inks and Films Using Them | |
| US20080108218A1 (en) | Low viscosity precursor compositions and methods for the deposition of conductive electronic features | |
| US20170246690A1 (en) | Stabilizing agent-free metal nanoparticle synthesis and uses of metal nanoparticles synthesized therefrom | |
| CN102009184A (zh) | 金属纳米颗粒的制备方法、其组合物及形成金属框架的方法 | |
| US7390440B2 (en) | Process for producing metal-containing particles having their surface coated with at least two dispersants different in vaporization temperature | |
| Khanna et al. | Synthesis of oleic acid capped copper nano-particles via reduction of copper salt by SFS | |
| JP2011032509A (ja) | 金属ナノ粒子分散液 | |
| JP2010185140A (ja) | 有機アミン安定化銀ナノ粒子およびそれを製造するためのプロセス | |
| KR20130018536A (ko) | 은 나노입자의 제조방법 | |
| JP2011038128A (ja) | 金属ナノ粒子分散液およびその製造方法、ならびに金属ナノ粒子凝集体およびその製造方法 | |
| WO2013130450A2 (en) | Self-reducing metal complex inks soluble in polar protic solvents and improved curing methods | |
| JP2006227268A (ja) | 黒色微粒子分散液とそれを用いた黒色遮光膜及び黒色遮光膜付き基材 | |
| JP4415083B2 (ja) | 銀微粒子の製造方法 | |
| Łapiński et al. | Transformation of bimetallic Ag–Cu thin films into plasmonically active composite nanostructures | |
| DE102011006022A1 (de) | Zusatzstoff für robuste metallische Tintenformulierungen | |
| WO2006033304A1 (ja) | 黒色材料、黒色微粒子分散液とそれを用いた黒色遮光膜、並びに黒色遮光膜付き基材 | |
| JP2011109087A (ja) | 電子デバイスの導電性フィーチャ | |
| JP6476274B2 (ja) | 有機半導体デバイス用電極材料 | |
| JP2005060816A (ja) | 合金微粒子の製造方法及び合金薄膜の製造方法 | |
| JP2006083414A (ja) | 銀微粒子の製造方法、銀微粒子、導電性パターン、電子デバイスおよび電子機器 | |
| JP2007026911A (ja) | 複合金属粉体、その分散液またはペースト並びにそれらの製造法 | |
| JP2005298888A (ja) | 金属薄膜の製法 |
Legal Events
| Date | Code | Title | Description |
|---|---|---|---|
| TRDD | Decision of grant or rejection written | ||
| A01 | Written decision to grant a patent or to grant a registration (utility model) |
Free format text: JAPANESE INTERMEDIATE CODE: A01 Effective date: 20120313 |
|
| A01 | Written decision to grant a patent or to grant a registration (utility model) |
Free format text: JAPANESE INTERMEDIATE CODE: A01 |
|
| A61 | First payment of annual fees (during grant procedure) |
Free format text: JAPANESE INTERMEDIATE CODE: A61 Effective date: 20120326 |
|
| R150 | Certificate of patent or registration of utility model |
Ref document number: 4973645 Country of ref document: JP Free format text: JAPANESE INTERMEDIATE CODE: R150 Free format text: JAPANESE INTERMEDIATE CODE: R150 |
|
| FPAY | Renewal fee payment (event date is renewal date of database) |
Free format text: PAYMENT UNTIL: 20150420 Year of fee payment: 3 |
|
| S531 | Written request for registration of change of domicile |
Free format text: JAPANESE INTERMEDIATE CODE: R313531 |
|
| R350 | Written notification of registration of transfer |
Free format text: JAPANESE INTERMEDIATE CODE: R350 |
