JP2008009856A - 入力装置 - Google Patents

入力装置 Download PDF

Info

Publication number
JP2008009856A
JP2008009856A JP2006181449A JP2006181449A JP2008009856A JP 2008009856 A JP2008009856 A JP 2008009856A JP 2006181449 A JP2006181449 A JP 2006181449A JP 2006181449 A JP2006181449 A JP 2006181449A JP 2008009856 A JP2008009856 A JP 2008009856A
Authority
JP
Japan
Prior art keywords
input
contact
unit
image
panel
Prior art date
Legal status (The legal status is an assumption and is not a legal conclusion. Google has not performed a legal analysis and makes no representation as to the accuracy of the status listed.)
Pending
Application number
JP2006181449A
Other languages
English (en)
Inventor
Tetsuo Akaha
哲郎 赤羽
Current Assignee (The listed assignees may be inaccurate. Google has not performed a legal analysis and makes no representation or warranty as to the accuracy of the list.)
Victor Company of Japan Ltd
Original Assignee
Victor Company of Japan Ltd
Priority date (The priority date is an assumption and is not a legal conclusion. Google has not performed a legal analysis and makes no representation as to the accuracy of the date listed.)
Filing date
Publication date
Application filed by Victor Company of Japan Ltd filed Critical Victor Company of Japan Ltd
Priority to JP2006181449A priority Critical patent/JP2008009856A/ja
Publication of JP2008009856A publication Critical patent/JP2008009856A/ja
Pending legal-status Critical Current

Links

Images

Landscapes

  • User Interface Of Digital Computer (AREA)
  • Input From Keyboards Or The Like (AREA)
  • Position Input By Displaying (AREA)

Abstract

【課題】限られたサイズのタッチパネル画面上でも、正確な入力動作ができるようにする。
【解決手段】表示部(6)の上面に配置される入力パネル(3)の透過型の入力部5が接触状態にあり、接触箇所数検出部(8)により検出された接触数が1箇所であるとき、画面表示画像拡大部(15)により拡大された、接触位置を含むその周辺部分に表示されている周辺画像を表示部(6)に表示し、1箇所目の接触物が拡大された前記周辺画像に接触状態であると非接触瞬間検出部(9)が検出し且つ拡大された前記周辺画像への接触箇所数が2箇所であると接触箇所数検出部(8)より検出された場合に、前記接触位置検出部(7)より検出された2箇所目の接触物の接触位置情報から、前記2箇所目の接触物の選択項目を項目選択部(17)が算出し、算出された前記2箇所目の接触物の選択項目に応じた所定のイベント処理を入力装置イベント制御部(12)が実行する。
【選択図】図1

Description

本発明は、例えばカーナビゲーション等の車載機器に適用され、指などで画面に触れることで操作を行うタッチパネル式の入力装置に係り、特に限られた画面サイズの入力装置を操作した際にも、ユーザーの誤った選択入力を低減できるタッチパネル式の入力装置に関する。
ボタンやラベルや文字などを表示する液晶や有機ELなどのディスプレイパネルと、ユーザーが指などで接触した位置を検出できる抵抗膜や光学式、赤外線走査方式、超音波表面弾性波方式などのタッチパネルを共用するタッチパネル式の入力装置を用いた電子機器や電気機器が普及している。タッチパネル式の入力装置の大きさは様々であるが、ユーザーが操作入力するためのボタンを表示パネルに画像として表示する。
ところが、ユーザーが指で接触して入力すると、ユーザーが意図したボタンとは異なるボタンを誤って選択して入力してしまうことが多々ある。特に、隣接する位置にあるボタンを誤って接触してしまうと、意図しないイベント処理が実行されてしまうことになる。
そこで、タッチパネル式の入力装置による誤った選択入力を防ぐため、複数キーが同時に押されたときに画面を拡大表示する手段(例えば、特許文献1参照)や、キーを押し、接触している位置の周辺を拡大して、接触したまま指をスライドさせてパネルを離した位置によってイベント処理を実行する手段(例えば、特許文献2参照)が開示されている。
特開平8−234909号公報 特開2002−91677号公報
しかしながら、特許文献1あるいは特許文献2によれば、タッチパネル式の入力画面を指で押した際、接触位置を含む周辺部の拡大により、ユーザーの操作性は向上することができるが、誤った位置を指で押してしまったときはユーザーが意図しない周辺部が拡大されてしまう。その拡大された周辺部の画像の中にユーザーが選択したい部分が表示されていないとき、表示位置の修正をすることもできず、指を離すとユーザーが意図しないイベント処理が実行されてしまうという問題があった。
本発明は、以上のような問題を鑑みてなされたものであり、限られた画面サイズのタッチパネル式の入力装置においても、ユーザーが意図しないイベントの実行の防止と操作性の向上を実現する入力装置を提供することを目的とする。
上記課題を解決するために、本発明に係る入力装置の特徴は、画像を表示する表示部と、ユーザーによりパネルに接触されることでその接触位置に割り当てられている選択項目が選択入力される前記表示部の上面に配置される透過型の入力部とを有する入力パネルと、前記入力パネルの入力部が接触状態にあるとき、その接触位置を検出する接触位置検出手段と、前記入力パネルの入力部が接触状態にあるとき、その接触箇所数を検出する接触箇所数検出手段と、前記入力パネルの入力部で選択入力される選択項目に応じた画像の表示を前記表示部に指示する選択可能項目指示手段と、前記入力パネルの入力部が接触状態であり、かつ、前記接触箇所数検出手段で検出された接触箇所数が1箇所の場合に、前記接触位置検出手段で検出される接触位置が前記入力パネルの表示部に画像表示されている選択項目のうちのどの選択項目に対応するかを検出する接触画像検出手段と、前記入力パネルの表示部に表示された画像のうち、前記接触画像検出手段により検出された前記選択項目に対応する画像を含む所定領域の画像を検出する周辺画像情報検出手段と、前記周辺画像情報検出手段により検出された前記所定領域の画像を拡大して前記入力パネルの表示部に表示すると共に、この拡大した画像に応じて前記入力パネルの入力部の選択項目の割り当てを変更する拡大手段と、前記拡大手段によって、前記所定領域の画像が前記入力パネルの表示部に拡大表示されている状態において、前記入力パネルの入力部の新たな箇所が接触状態にされて、前記接触箇所数検出手段で検出した接触箇所数が2箇所になった場合に、前記接触位置検出手段により検出された前記新たな箇所の接触位置に基づいて前記接触画像検出手段によって検出された前記選択項目に応じた所定のイベント処理を実行するイベント実行手段とを備えることにある。
尚、上記入力装置は、前記拡大手段によって、前記所定領域の画像が前記入力パネルの表示部に拡大表示されている状態において、前記入力パネルの入力部が接触状態から非接触状態にされた場合、前記拡大表示された前記所定領域の画像を拡大前の画像の表示に戻すと共に、前記入力パネルの入力部の選択項目の割り当てを前記拡大前の画像の表示に応じた状態に戻す全画面表示画像手段を更に備えるものである。
本発明によれば、限られた画面サイズのタッチパネル式の入力装置においても、ユーザーの誤った選択入力を低減し、ユーザーが意図しないイベントの実行の防止と操作性の向上を実現する入力装置を提供することができる。
本実施形態における入力装置は、小型のタッチパネル式の入力装置でも、多数のボタンやラベルを表示している画面の中から、ユーザーがパネルを複数箇所接触することにより選択入力できる入力装置である。
以下、図面を参照しながら、本発明の実施形態について詳しく説明する。尚、各図面を通じて同一もしくは同等の部位や構成要素には、同一もしくは同等の参照符号を付し、その説明を省略もしくは簡略化する。
図1は本実施形態におけるタッチパネル式の入力装置の概略構成図の一例であり、入力装置はタッチパネル入力部1と制御部2とを備えている。
タッチパネル入力部1は、入力パネル3と、入力検出部4とを備えている。さらに、入力パネル3は、入力部5と表示部6とを備えている。
入力パネル3の入力部5は、ユーザーによりパネルに接触されることでその接触位置に割り当てられている選択項目が選択入力され、表示部6の上面に配置される透過型の入力パネルであって、パネルへの接触や非接触の情報を入力検出部4に情報送信する。
入力パネル3の表示部6は、制御部2から送信される画像情報を受信して、選択入力するためのボタンやラベルや文字などの画像をパネルに表示する。
入力検出部4は、接触位置検出部7と、接触箇所数検出部8と、非接触瞬間検出部9と、パネル情報送信部10とを備え、ユーザーが入力パネル3の入力部5に2箇所以上を同時に接触したとき2箇所以上の接触した位置と接触箇所数を光学的に検出する。
接触位置検出部7は、入力パネル3の入力部5に接触物(例えば指)が1箇所以上接触した情報と、その接触物が接触した各接触位置を検出する。
接触箇所数検出部8は、接触物が入力パネル3の入力部5に接触したとき、接触している接触物の箇所の数を検出する。
非接触瞬間検出部9は、入力パネル3の入力部5に接触物が接触している状態から、その接触物が離れた(非接触状態になった)1箇所以上の瞬間情報を検出する。
パネル情報送信部10は、タッチパネル入力部1で取得した各種情報を制御部2へ送信する。
制御部2は、パネル情報受信部11と、入力装置イベント制御部12と、選択可能項目指示部13と、画面表示画像情報検出部14、画面表示画像拡大部15と、全画面表示画像部16と、項目選択部17とを備えている。
パネル情報受信部11は、パネル情報送信部10を介して、タッチパネル入力部1からの各種情報を受信する。
入力装置イベント制御部12は、タッチパネル入力部1による情報に応じた、本実施形態における入力装置のイベント処理を制御する。
選択可能項目指示部13は、入力パネル3の入力部5から選択入力される選択項目に応じた画像や文字を入力パネル3の表示部6に指示する。
画面表示画像情報検出部14は、入力パネル3の表示部6が表示しているボタンやラベルや文字などの画像、特に接触物が接触している部分及びその周辺が入力パネル3の表示部6に表示されている画像の送信情報を検出する。
画面表示画像拡大部15は、タッチパネル入力部1と画面表示画像情報検出部14による情報に応じて、接触物の接触位置周辺の画像を拡大し、拡大した拡大画像情報を入力パネル3の表示部6に送信して表示させる。また、この拡大した画像に応じて入力パネル3の入力部5の選択項目の割り当てを変更する機能を有する。
全画面表示画像部16は、タッチパネル入力部1による情報に応じて拡大画像を表示している入力パネル3の表示部6に、拡大する前に入力パネル3の表示部6に表示していた全画面表示画像情報を送信する。また、入力パネル3の入力部5の選択項目の割り当てを前記拡大前の画像の表示に応じた状態に戻す機能を有する。
項目選択部17は、タッチパネル入力部1と画面表示画像情報検出部14による情報より、接触物が接触した位置がどの選択項目(ボタンやラベルや文字などの画像)に該当するかを算出し、算出した選択項目情報を入力装置イベント制御部12へ送信する。
図2は、本実施形態における入力装置にキーボタンK1等を表示した画面の一例である。制御部2より全画面画像情報がタッチパネル入力部1に送信されて、全画面画像情報を入力パネル3の表示部6で表示している例を示している。タッチパネル入力部1に接触物が接触しない限り、図2に示した全画面画像が表示されたまま、何のイベントも発生しない。
[実施例1]
次に、図6に示すフローチャートを参照しながら、本実施形態における入力装置の選択入力時の処理動作例について説明する。
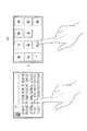
図3は、ユーザーが「し」の文字を本実施形態における入力装置にて選択入力するために、図2に例示した画面からユーザーが「し」のキーボタンK1の周辺部にある「ち」のキーボタンK1を接触し、それに応じて制御部2により拡大画像情報をタッチパネル入力部1に送信することにより、「ち」のキーボタンK1の周辺画像を表示した画面例である。
入力装置は接触されるまで待機しており、項目選択部17がユーザーの指で「ち」のキーボタンK1部分が接触されたことを検出すると(ステップS1)、接触位置検出部7は接触されている入力パネル3の入力部5の接触位置が「ち」のキーボタンK1であることを含む接触位置情報(ステップS2)を検出し、接触箇所数検出部8は入力パネル3の入力部5の接触箇所数情報を検出し(ステップS3)、検出された各情報はパネル情報送信部10及びパネル情報受信部11を介して制御部2に送られる。
ステップS2において検出された接触位置がキーボタンK1部分であり、ステップS3において検出された接触箇所数が1箇所である場合、画面表示画像情報検出部14は接触されている接触位置「ち」のキーボタンK1を含むその周辺部分に表示されている画像を検出し、画面表示画像拡大部15は画面表示画像情報検出部14により検出された周辺部分の画像を画像を拡大して、タッチパネル入力部1に拡大画像情報を送信し、周辺部分の拡大画像を表示させる。また、この拡大した画像に応じて入力パネル3の入力部5の選択項目の割り当てを変更する処理を実行する(ステップS4)。タッチパネル入力部1には、ユーザーが入力パネル3の入力部5から指を離さない限り、拡大画像を表示する。
尚、ステップS2において検出された接触位置がキーボタンK1部分以外の部分であるか、あるいはステップS3において検出された接触箇所数が2箇所以上である場合、ステップS1に戻り、入力装置は接触されるまで待機する。
1箇所のみ接触している指が入力パネル3の入力部5から離れると(ステップS5)、非接触瞬間検出部9は指が入力パネル3の入力部5から離れたことを示す非接触瞬間情報を検出し、接触箇所数検出部8は接触箇所が0箇所であるという接触箇所数情報を検出し、検出された各情報はパネル情報送信部10及びパネル情報受信部11を介して制御部2に送られる。そして、全画面表示画像部16は拡大する前にタッチパネル入力部1に表示されていた全画面表示画像情報(図2を参照)を送信して全画面表示画像に戻して表示させる。また、入力パネル3の入力部5の選択項目の割り当てを前記拡大前の画像の表示に応じた状態に戻す処理を実行した後、ステップS1に戻る(ステップS6)。
図4は、ステップS2において表示された周辺部分の拡大画面にて、ユーザーによって「し」の文字が選択入力される場合の手順を例示した図である。「ち」のキーボタンK1を接触されたことによる「ち」のキーボタンK1周辺部を拡大表示した画像の中に、ユーザーが選択したい「し」のキーボタンK2が表示している。ユーザーが「ち」のキーボタンK2を接触した状態で、選択入力できるボタンは、図4に例示するように、拡大表示している12個のキーボタンK2である。項目選択部17は、「ち」のキーボタンK1を接触した指をタッチパネル入力部1から離さなかった第1の接触位置情報と、拡大表示している「し」のキーボタンK1の位置を接触された第2接触位置情報と、2箇所同時におされている接触箇所数情報を、接触位置検出部7と接触箇所数検出部8とからそれぞれ受信することにより(ステップS7)、選択項目が「し」のキーボタンK2であることを算出する(ステップS8)。そして、入力装置イベント制御部12は「し」の文字入力に対応する所定のイベント処理を実行する(ステップS9)。イベント処理が終了したら、再度入力パネル3の入力部5への接触待ち(ステップS1)に戻る。また、ステップS7において、2箇所目が接触されていることが検出されない場合、ステップS5に戻って2箇所同時に接触されるのを待つ。
[実施例2]
図5は、本実施形態の入力装置において、図2に例示した画面からユーザーが「れ」のキーボタンK1を接触して、「れ」のキーボタンK1部分の周辺拡大画面を表示した一例である。「し」の文字の周辺部を接触するつもりが、誤接触してしまい、「れ」のキーボタンK1を接触して、「れ」のキーボタンK2の周辺部が拡大表示されている(ステップS4)。拡大表示画面の中には「し」のキーボタンは表示していない。よって、接触した指をタッチパネル入力部1から離し(ステップS5)、図2に示した元の全画面表示に戻り、再度入力待ち状態となる(ステップS1)。「れ」のキーボタンK2周辺部を拡大表示した画面の中で、いずれかのキーボタンK2をもう1本の指で接触しない限り、何もイベント処理は実行されない。
これにより、接触したキーボタンK1部分が、ユーザーが意図したキーボタンK1部分から大きく外れていたとしても、簡単に元の全画面表示に戻すことができる。
以上、本発明の一実施形態について説明したように、限られた大きさのタッチパネルに表示された複数の選択可能な項目(キーボタンK1)の中から選択入力する際に、接触されたキーボタンK1部分の周辺部分に表示されている画像を拡大表示し、それに接触することで、拡大表示された所望のキーボタンK2を正確に効率よく選択することができる。従って、限られた画面サイズのタッチパネル式の入力装置においても、ユーザーの誤った選択入力を低減し、ユーザーが意図しないイベントの実行の防止と操作性の向上を実現する入力装置を提供することができる。
また、所望のキーボタンK1から大きく離れたキーボタンK1に接触して、拡大表示された画面の中に所望のキーボタンK2が含まれていない場合、1箇所のみ接触している状態でその指を拡大表示画面から離すだけで、簡単に元の全画面表示に戻すことができ、容易にリトライすることができる。
以上、本発明の実施の形態を詳細に説明したが、本発明は、その精神または主要な特徴から逸脱することなく、他の色々な形で実施することができる。従って、前述の各実施例はあらゆる点で単なる例示に過ぎず、限定的に解釈してはならない。
例えば、本実施形態では50音配列のキーボタンをもつ画面を例示したが、例えばJIS配列のキーボタンを備えていても良いし、キーボタンに限らず、アイコンやマーク等の画像が入力部分として配列されていても良い。
また、拡大表示する画面に表示するキーボタンの数は12個に限らず、画面のサイズやキーボタンの大きさに応じて適宜変更できる。
更に、非接触瞬間検出部9が検出する非接触状態の時間的長さは、使い勝手等に応じて適宜変更可能である。
また、本実施形態では光学式タッチパネルを例に説明したが、これに限定されず、例えば感圧式や静電式で接触を感知するようなタッチパネルを用いても良い。
このように、本発明の範囲は、特許請求の範囲によって示すものであって、明細書本文には何ら拘束されない。更に、特許請求の範囲の均等範囲に属する変形や変更は、全て本発明の範囲内のものである。
加えて、本発明は、上述した入力装置の機能をコンピュータに実現させるためのプログラムを含むものである。これらのプログラムは、記録媒体から読み取られてコンピュータに取り込まれても良いし、通信ネットワークを介して伝送されてコンピュータに取り込まれても良い。
本発明の一実施形態におけるタッチパネル式の入力装置の概略構成図である。 本発明の一実施形態における表示パネル部に表示されるキーボタンの一例である。 図2に例示した画面からユーザーが「ち」のキーボタンを接触して、全画面表示から拡大画面表示をした一例である。 図2に例示した拡大画面から、ユーザーが「し」の文字を選択入力する手段を示した図である。 図2に例示した画面からユーザーが「れ」のキーボタンを接触して表示した画面である。 本実施形態における入力装置により選択入力する際の、入力装置の処理動作を例示するフローチャートである。
符号の説明
1…タッチパネル入力部
2…制御部
3…入力パネル
4…入力検出部
5…入力部
6…表示部
7…接触位置検出部
8…接触箇所数検出部
9…非接触瞬間検出部
10…パネル情報送信部
11…パネル情報受信部
12…入力装置イベント制御部(イベント処理実行手段)
13…選択可能項目指示部
14…画面表示画像情報検出部(周辺画像情報検出手段)
15…画面表示画像拡大部(拡大手段)
16…全画面表示画像部
17…項目選択部(接触画像検出手段)
K1…キーボタン (全画面)
K2…キーボタン (拡大画面)

Claims (2)

  1. 画像を表示する表示部と、ユーザーによりパネルに接触されることでその接触位置に割り当てられている選択項目が選択入力される前記表示部の上面に配置される透過型の入力部とを有する入力パネルと、
    前記入力パネルの入力部が接触状態にあるとき、その接触位置を検出する接触位置検出手段と、
    前記入力パネルの入力部が接触状態にあるとき、その接触箇所数を検出する接触箇所数検出手段と、
    前記入力パネルの入力部で選択入力される選択項目に応じた画像の表示を前記表示部に指示する選択可能項目指示手段と、
    前記入力パネルの入力部が接触状態であり、かつ、前記接触箇所数検出手段で検出された接触箇所数が1箇所の場合に、前記接触位置検出手段で検出される接触位置が前記入力パネルの表示部に画像表示されている選択項目のうちのどの選択項目に対応するかを検出する接触画像検出手段と、
    前記入力パネルの表示部に表示された画像のうち、前記接触画像検出手段により検出された前記選択項目に対応する画像を含む所定領域の画像を検出する周辺画像情報検出手段と、
    前記周辺画像情報検出手段により検出された前記所定領域の画像を拡大して前記入力パネルの表示部に表示すると共に、この拡大した画像に応じて前記入力パネルの入力部の選択項目の割り当てを変更する拡大手段と、
    前記拡大手段によって、前記所定領域の画像が前記入力パネルの表示部に拡大表示されている状態において、前記入力パネルの入力部の新たな箇所が接触状態にされて、前記接触箇所数検出手段で検出した接触箇所数が2箇所になった場合に、前記接触位置検出手段により検出された前記新たな箇所の接触位置に基づいて前記接触画像検出手段によって検出された前記選択項目に応じた所定のイベント処理を実行するイベント実行手段と
    を備えることを特徴とする入力装置。
  2. 請求項1に記載の入力装置において、
    前記拡大手段によって、前記所定領域の画像が前記入力パネルの表示部に拡大表示されている状態において、前記入力パネルの入力部が接触状態から非接触状態にされた場合、前記拡大表示された前記所定領域の画像を拡大前の画像の表示に戻すと共に、前記入力パネルの入力部の選択項目の割り当てを前記拡大前の画像の表示に応じた状態に戻す全画面表示画像手段を更に備えることを特徴とする入力装置。
JP2006181449A 2006-06-30 2006-06-30 入力装置 Pending JP2008009856A (ja)

Priority Applications (1)

Application Number Priority Date Filing Date Title
JP2006181449A JP2008009856A (ja) 2006-06-30 2006-06-30 入力装置

Applications Claiming Priority (1)

Application Number Priority Date Filing Date Title
JP2006181449A JP2008009856A (ja) 2006-06-30 2006-06-30 入力装置

Publications (1)

Publication Number Publication Date
JP2008009856A true JP2008009856A (ja) 2008-01-17

Family

ID=39067981

Family Applications (1)

Application Number Title Priority Date Filing Date
JP2006181449A Pending JP2008009856A (ja) 2006-06-30 2006-06-30 入力装置

Country Status (1)

Country Link
JP (1) JP2008009856A (ja)

Cited By (7)

* Cited by examiner, † Cited by third party
Publication number Priority date Publication date Assignee Title
JP2010055469A (ja) * 2008-08-29 2010-03-11 Casio Hitachi Mobile Communications Co Ltd 端末装置及びプログラム
JP2012014508A (ja) * 2010-07-01 2012-01-19 Nikon Corp 入力装置
JP2012074089A (ja) * 2012-01-19 2012-04-12 Sharp Corp 情報処理装置及びプログラム
JP2012208633A (ja) * 2011-03-29 2012-10-25 Ntt Docomo Inc 情報端末、表示制御方法及び表示制御プログラム
JP2016501490A (ja) * 2012-12-17 2016-01-18 ▲華▼▲為▼▲終▼端有限公司 タッチスクリーン電子デバイスの入力方法及び装置
JP2016177508A (ja) * 2015-03-19 2016-10-06 富士ゼロックス株式会社 選択支援装置及びプログラム
JP2021176049A (ja) * 2020-05-01 2021-11-04 レノボ・シンガポール・プライベート・リミテッド 情報処理装置、及び情報処理方法

Citations (3)

* Cited by examiner, † Cited by third party
Publication number Priority date Publication date Assignee Title
JPH08185265A (ja) * 1994-12-28 1996-07-16 Fujitsu Ltd タッチパネル制御装置
JP2005266850A (ja) * 2004-03-16 2005-09-29 Kyocera Mita Corp 表示入力操作装置
JP2006059238A (ja) * 2004-08-23 2006-03-02 Denso Corp 情報入力表示装置

Patent Citations (3)

* Cited by examiner, † Cited by third party
Publication number Priority date Publication date Assignee Title
JPH08185265A (ja) * 1994-12-28 1996-07-16 Fujitsu Ltd タッチパネル制御装置
JP2005266850A (ja) * 2004-03-16 2005-09-29 Kyocera Mita Corp 表示入力操作装置
JP2006059238A (ja) * 2004-08-23 2006-03-02 Denso Corp 情報入力表示装置

Cited By (7)

* Cited by examiner, † Cited by third party
Publication number Priority date Publication date Assignee Title
JP2010055469A (ja) * 2008-08-29 2010-03-11 Casio Hitachi Mobile Communications Co Ltd 端末装置及びプログラム
JP2012014508A (ja) * 2010-07-01 2012-01-19 Nikon Corp 入力装置
JP2012208633A (ja) * 2011-03-29 2012-10-25 Ntt Docomo Inc 情報端末、表示制御方法及び表示制御プログラム
JP2012074089A (ja) * 2012-01-19 2012-04-12 Sharp Corp 情報処理装置及びプログラム
JP2016501490A (ja) * 2012-12-17 2016-01-18 ▲華▼▲為▼▲終▼端有限公司 タッチスクリーン電子デバイスの入力方法及び装置
JP2016177508A (ja) * 2015-03-19 2016-10-06 富士ゼロックス株式会社 選択支援装置及びプログラム
JP2021176049A (ja) * 2020-05-01 2021-11-04 レノボ・シンガポール・プライベート・リミテッド 情報処理装置、及び情報処理方法

Similar Documents

Publication Publication Date Title
JP3630153B2 (ja) 情報表示入力装置及び情報表示入力方法、並びに情報処理装置
EP2718788B1 (en) Method and apparatus for providing character input interface
JP4372188B2 (ja) 情報処理装置および表示制御方法
US8519977B2 (en) Electronic apparatus, input control program, and input control method
JP2006031499A (ja) 情報入力表示装置
US20100207870A1 (en) Device and method for inputting special symbol in apparatus having touch screen
US20140351761A1 (en) Method and apparatus for displaying picture on portable device
US20110187647A1 (en) Method and apparatus for virtual keyboard interactions from secondary surfaces
JP2006059238A (ja) 情報入力表示装置
JP2011192215A (ja) 文字入力装置、文字入力方法及び文字入力プログラム
JP2004070492A (ja) タッチパネルを備えた表示装置及び情報処理方法
JPWO2011135944A1 (ja) 情報処理端末およびその操作制御方法
EP2400380A2 (en) Display apparatus and control method thereof
US8694885B2 (en) Keyboard input method and assistant system thereof
US20110025718A1 (en) Information input device and information input method
US20150160826A1 (en) Electronic Device
JP2014016743A (ja) 情報処理装置、情報処理装置の制御方法、および情報処理装置の制御プログラム
JP4871251B2 (ja) 情報処理装置
EP2818984B1 (en) Touch panel input device and control method for same
JP2008009856A (ja) 入力装置
JP2013073365A (ja) 情報処理装置
US8310449B1 (en) Touch interface device, system, and method
KR20090049153A (ko) 터치스크린을 구비한 단말기 및 그 문자 입력 방법
JP2008065504A (ja) タッチパネル制御装置およびタッチパネル制御方法
US8711126B2 (en) Optical input device

Legal Events

Date Code Title Description
A621 Written request for application examination

Free format text: JAPANESE INTERMEDIATE CODE: A621

Effective date: 20080630

A977 Report on retrieval

Free format text: JAPANESE INTERMEDIATE CODE: A971007

Effective date: 20100520

A131 Notification of reasons for refusal

Free format text: JAPANESE INTERMEDIATE CODE: A131

Effective date: 20100525

A521 Request for written amendment filed

Free format text: JAPANESE INTERMEDIATE CODE: A523

Effective date: 20100723

A02 Decision of refusal

Free format text: JAPANESE INTERMEDIATE CODE: A02

Effective date: 20110222