JP2007312445A - Management system for insulation monitoring device - Google Patents

Management system for insulation monitoring device Download PDF

Info

Publication number
JP2007312445A
JP2007312445A JP2006135868A JP2006135868A JP2007312445A JP 2007312445 A JP2007312445 A JP 2007312445A JP 2006135868 A JP2006135868 A JP 2006135868A JP 2006135868 A JP2006135868 A JP 2006135868A JP 2007312445 A JP2007312445 A JP 2007312445A
Authority
JP
Japan
Prior art keywords
current
test
insulation monitoring
monitoring device
phase
Prior art date
Legal status (The legal status is an assumption and is not a legal conclusion. Google has not performed a legal analysis and makes no representation as to the accuracy of the status listed.)
Pending
Application number
JP2006135868A
Other languages
Japanese (ja)
Inventor
Yoshikazu Inoue
善和 井上
Tsutomu Yagi
力 八木
Masatoshi Kajimura
正俊 梶村
Current Assignee (The listed assignees may be inaccurate. Google has not performed a legal analysis and makes no representation or warranty as to the accuracy of the list.)
GS Yuasa Corp
Original Assignee
GS Yuasa Corp
Priority date (The priority date is an assumption and is not a legal conclusion. Google has not performed a legal analysis and makes no representation as to the accuracy of the date listed.)
Filing date
Publication date
Application filed by GS Yuasa Corp filed Critical GS Yuasa Corp
Priority to JP2006135868A priority Critical patent/JP2007312445A/en
Publication of JP2007312445A publication Critical patent/JP2007312445A/en
Pending legal-status Critical Current

Links

Images

Landscapes

  • Testing Of Short-Circuits, Discontinuities, Leakage, Or Incorrect Line Connections (AREA)
  • Emergency Protection Circuit Devices (AREA)

Abstract

<P>PROBLEM TO BE SOLVED: To perform precision test of an insulation monitoring device under a hot-line state of electric path while reducing the burden of work required for precision test of the insulation monitoring device. <P>SOLUTION: In the management system for an insulation monitoring device comprising an insulation monitoring device IO for monitoring insulation of an electric path based on the detection information of a zero-phase current sensor, and a test current generator 5 feeding a test current for performing precision test of the insulation monitoring device IO, a management server computer CS for managing the operating state of the insulation monitoring device IO from a remote place through a communication line CL is provided. The insulation monitoring device IO is arranged to transmit the detection information of insulating state of the electric path to the management server computer CS through the communication line CL, and test wiring 8 for feeding a test current is sustained in a state fixed to a fixing position for conducting the test current regardless of whether precision test of the insulation monitoring device IO is performed. <P>COPYRIGHT: (C)2008,JPO&INPIT

Description

本発明は、1線が接地された単相交流又は3相交流の電路の零相電流を検出する零相電流検出センサの検出情報に基づいて前記電路の絶縁監視を行う絶縁監視装置と、前記絶縁監視装置の精度試験を行うための試験用電流を流す試験電流発生装置とが備えられた絶縁監視装置用の管理システムに関する。   The present invention relates to an insulation monitoring device that performs insulation monitoring of the electric circuit based on detection information of a zero-phase current detection sensor that detects a zero-phase current of a single-phase AC circuit or a three-phase AC circuit whose one line is grounded, The present invention relates to a management system for an insulation monitoring device provided with a test current generator that supplies a test current for performing an accuracy test of the insulation monitoring device.

かかる絶縁監視装置用の管理システムは、例えば下記特許文献1に記載のような絶縁監視装置が、適正に電路の絶縁状態を監視できているかを管理するためのシステムである。
従来、絶縁監視装置が適正に動作しているか否かを管理するための作業として、定期的に(例えば、1年に1回)検査技術員が絶縁監視装置の設置箇所に赴いて絶縁監視装置の精度試験を行っていた。
この絶縁監視装置の精度試験の試験手順を簡単に説明すると、先ず絶縁監視装置の監視対象となっている電路を停電させて、絶縁監視装置の零相電流検出センサを電路における検出対象箇所から取外す。
更に、その取外した零相電流検出センサに、試験電流発生装置にて生成する試験用電流を検出させるように接続し、試験電流発生装置から供給される試験用電流によって絶縁監視装置が規定通りの動作を行うか否かを確認する。
この後、零相電流検出センサを電路における検出対象箇所に取り付け、電路を停電から通常の状態に復帰させて作業が完了する。
特開2002−125313号公報
Such a management system for an insulation monitoring device is a system for managing whether or not an insulation monitoring device such as that described in Patent Document 1 below can properly monitor the insulation state of the electric circuit.
Conventionally, as an operation for managing whether or not the insulation monitoring device is operating properly, an inspection engineer visits the installation location of the insulation monitoring device periodically (for example, once a year). An accuracy test was conducted.
The test procedure of the accuracy test of the insulation monitoring device will be briefly described. First, the electric circuit that is the monitoring target of the insulation monitoring device is blacked out, and the zero-phase current detection sensor of the insulation monitoring device is removed from the detection target portion in the electric circuit. .
Further, the removed zero-phase current detection sensor is connected so that the test current generated by the test current generator is detected, and the insulation monitoring device is controlled according to the test current supplied from the test current generator. Check whether to perform the operation.
Thereafter, the zero-phase current detection sensor is attached to the detection target location in the electric circuit, and the electric circuit is restored from the power failure to the normal state, thereby completing the operation.
JP 2002-125313 A

従って、上記従来構成では、検査技術員が絶縁監視装置の設置箇所に赴く必要があり、絶縁監視装置の管理のための作業負担を増大させてしまうと共に、監視対象の電路を停電させることでその電路から電力供給をうける業務が停止してしまうことになってしまう。
本発明は、かかる実情に鑑みてなされたものであって、その目的は、絶縁監視装置の精度試験に要する作業負担を可及的に軽減させると共に、電路を活線状態としたままで絶縁監視装置の精度試験を行えるようにする点にある。
Therefore, in the above-described conventional configuration, it is necessary for an inspection engineer to go to the installation location of the insulation monitoring device, which increases the work load for the management of the insulation monitoring device, and causes the power circuit to be monitored by power failure. The work that receives power supply from the company will be stopped.
The present invention has been made in view of such circumstances, and its purpose is to reduce the work burden required for the accuracy test of the insulation monitoring device as much as possible and to perform insulation monitoring while keeping the electric circuit in a live line state. The point is to be able to test the accuracy of the equipment.

本出願の第1の発明は、1線が接地された単相交流又は3相交流の電路の零相電流を検出する零相電流検出センサの検出情報に基づいて前記電路の絶縁監視を行う絶縁監視装置と、前記絶縁監視装置の精度試験を行うための試験用電流を流す試験電流発生装置とが備えられた絶縁監視装置用の管理システムにおいて、前記絶縁監視装置の動作状態を遠隔地から通信回線を経て管理する管理用サーバコンピュータが備えられ、前記絶縁監視装置は、前記電路の絶縁状態の検出情報を前記管理用サーバコンピュータに前記通信回線を経て送信するように構成され、前記試験電流発生装置にて生成された試験用電流を流す試験用配線は、前記絶縁監視装置の精度試験を行うか否かに拘わらず、前記絶縁監視装置の精度試験のために前記試験用電流を通電するための取り付け位置に取り付けられた状態に維持され、前記試験電流発生装置は、前記通信回線を経て前記管理用サーバコンピュータから送られてきた試験開始指令により、又は、予め設定されている試験スケジュールに従って、前記試験用電流を流すように構成されている。   The first invention of the present application is an insulation that monitors insulation of the electric circuit based on detection information of a zero-phase current detection sensor that detects a zero-phase current of a single-phase AC circuit or a three-phase AC circuit whose one line is grounded. In a management system for an insulation monitoring device provided with a monitoring device and a test current generator for supplying a test current for performing an accuracy test of the insulation monitoring device, the operation state of the insulation monitoring device is communicated from a remote location A management server computer for management via a line, and the insulation monitoring device is configured to transmit the detection information of the insulation state of the electric circuit to the management server computer via the communication line, and to generate the test current The test wiring for supplying the test current generated by the apparatus uses the test current for the accuracy test of the insulation monitoring device regardless of whether the accuracy test of the insulation monitoring device is performed or not. The test current generator is maintained in a state where it is attached to an attachment position for electricity, and the test current generator is a test set in advance by a test start command sent from the management server computer via the communication line. The test current is made to flow according to a schedule.

すなわち、試験電流発生装置により生成した試験用電流を流して絶縁監視装置がその試験用電流を適正に検出するかを試験する絶縁監視装置の精度試験を、通信回線を介して、遠隔地から管理用サーバコンピュータにて管理する。
それも、絶縁監視装置の設置箇所に検査技術員を派遣せずに一連の精度試験が行われるように、試験電流発生装置は、絶縁監視装置の精度試験を行うか否かに拘わらず、試験用電流を流せる接続状態に維持される状態で設置されており、絶縁監視装置の精度試験のためにいつでも試験用電流を流せるようになっているので、試験用電流の通電のために人手を必要とせず、又、監視対象の電路を停電させる必要もない。
That is, the accuracy test of the insulation monitoring device that tests whether the insulation monitoring device detects the test current properly by supplying the test current generated by the test current generator from a remote location via a communication line Managed by server computer.
The test current generator is used for testing regardless of whether or not the insulation monitoring device accuracy test is performed so that a series of accuracy tests are performed without dispatching an inspection engineer to the installation location of the insulation monitoring device. It is installed in a state where it is maintained in a connection state that allows current to flow, and since it is possible to flow a test current at any time for the accuracy test of the insulation monitoring device, it requires no human power to pass the test current. In addition, there is no need to power out the monitored circuit.

絶縁監視装置の精度試験は一般に定期的に行われるものであるが、精度試験の開始タイミングについては、管理用サーバコンピュータから前記通信回線を介して試験電流発生装置に指示することも可能であるし、試験電流発生装置側にカレンダー機能等を持たせて、予め設定した試験スケジュールで精度試験を開始するようにもできる。
更に、試験用電流の電流値の設定についても、管理用サーバコンピュータから前記通信回線を介して試験電流発生装置に指示することも可能であるし、試験電流発生装置側に試験用電流の電流値を予め設定しておくようにもできる。
The accuracy test of the insulation monitoring device is generally performed periodically, but the start timing of the accuracy test can be instructed from the management server computer to the test current generator via the communication line. The accuracy test can be started with a preset test schedule by providing a calendar function or the like on the test current generator side.
Further, the setting of the current value of the test current can also be instructed from the management server computer to the test current generator via the communication line, and the current value of the test current is sent to the test current generator side. Can be set in advance.

絶縁監視装置は、試験用電流が流されている状態で電路の絶縁状態を検出しており、管理用サーバコンピュータ側では、前記試験用電流が流されるに伴って絶縁監視装置がどのように動作したかに関する情報を前記通信回線を経て取得することで、検査技術員を絶縁監視装置の設置箇所に派遣しなくても、派遣して精度試験を行った場合と同様の情報を取得できる。   The insulation monitoring device detects the insulation state of the electric circuit in the state where the test current is flowing, and how the insulation monitoring device operates as the test current flows on the management server computer side By acquiring the information regarding whether or not it has been performed through the communication line, it is possible to acquire the same information as in the case of performing an accuracy test without dispatching an inspection engineer to the installation location of the insulation monitoring device.

又、本出願の第2の発明は、上記第1の発明の構成に加えて、前記絶縁監視装置は、前記電路の絶縁状態の検出情報として、前記零相電流検出センサの検出情報に基づく検出電流値が設定電流値より大となったことを示す警報とそのときの検出電流値とを、前記通信回線を経て前記管理用サーバコンピュータに送信するように構成され、前記管理用サーバコンピュータは、前記試験用電流を流すことによって前記絶縁監視装置に検出させる目標電流値と、前記試験用電流を流したときに前記絶縁監視装置から送られてきた前記電路の絶縁状態の検出情報とに基づいて、前記絶縁監視装置が適正に動作しているか否かを判定するように構成されている。   According to a second invention of the present application, in addition to the configuration of the first invention, the insulation monitoring device detects, based on detection information of the zero-phase current detection sensor, as detection information of an insulation state of the electric circuit. An alarm indicating that the current value is larger than a set current value and a detected current value at that time are configured to be transmitted to the management server computer via the communication line, and the management server computer is Based on the target current value to be detected by the insulation monitoring device by flowing the test current and the detection information of the insulation state of the electric circuit sent from the insulation monitoring device when the test current is supplied. The insulation monitoring device is configured to determine whether or not it is operating properly.

すなわち、管理用サーバコンピュータは、試験電流発生装置にて生成した試験用電流を流した状態で、目標電流値と絶縁監視装置から送られてくる検出電流値とから、絶縁監視装置が適正に動作しているかどうかを判断する。
試験用電流を流すことによって前記絶縁監視装置に検出させる目標電流値の情報については、管理用サーバコンピュータが目標電流値を指示する場合は、自身がその情報を保持しているものであるし、試験電流発生装置が独自に目標電流値を設定する場合では、試験電流発生装置が設定した目標電流値を前記通信回線を経て取得するようにすれば良い。
In other words, the management server computer operates the insulation monitoring device properly from the target current value and the detected current value sent from the insulation monitoring device with the test current generated by the test current generator flowing. Determine whether you are doing.
For information on the target current value to be detected by the insulation monitoring device by flowing a test current, when the management server computer indicates the target current value, the information is held by itself. In the case where the test current generator sets the target current value independently, the target current value set by the test current generator may be obtained via the communication line.

又、本出願の第3の発明は、上記第1又は第2の発明の構成に加えて、前記試験用電流を流すことによって前記絶縁監視装置に検出させる目標電流値と、前記試験用電流を流したときの前記絶縁監視装置による前記電路の絶縁状態の検出情報とに基づいて、前記絶縁監視装置が適正に動作しているか否かを判定する動作状態判定装置が設けられ、前記動作状態判定装置は、前記絶縁監視装置が適正に動作しているか否かの判定結果を、前記通信回線を経て前記管理用サーバコンピュータへ送信するように構成されている。
すなわち、絶縁監視装置が適正に動作しているか否かの判定機能を、絶縁監視装置の設置箇所側に持たせる構成とし、管理用サーバコンピュータは前記通信回線を経て判定された結果を取得する形態で、絶縁監視装置を管理する。
According to a third invention of the present application, in addition to the configuration of the first or second invention, a target current value to be detected by the insulation monitoring device by flowing the test current, and the test current are set. An operation state determination device is provided for determining whether or not the insulation monitoring device is operating properly based on the detection information of the insulation state of the electric circuit by the insulation monitoring device when flowing; The apparatus is configured to transmit a determination result as to whether or not the insulation monitoring apparatus is operating properly to the management server computer via the communication line.
That is, a configuration in which the determination function as to whether or not the insulation monitoring device is operating properly is provided on the installation location side of the insulation monitoring device, and the management server computer acquires the result determined through the communication line In this way, the insulation monitoring device is managed.

又、本出願の第4の発明は、上記第1〜第3のいずれかの発明の構成に加えて、前記絶縁監視装置は、前記零相電流に含まれる抵抗性の電流成分を抽出して前記電路の絶縁監視を行うように構成され、前記試験電流発生装置は、前記零相電流の検出情報と、前記試験用電流を流すことによって前記絶縁監視装置に検出させる前記抵抗性の電流成分の目標電流値と、前記抵抗性の電流成分の位相を特定するための情報として予め設定されている基準位相情報とに基づいて、前記零相電流に含まれる抵抗性の電流成分に足し合わせたときに前記抵抗性の電流成分の目標電流値が得られる前記試験用電流を生成するように構成されている。   According to a fourth invention of the present application, in addition to the configuration of any of the first to third inventions, the insulation monitoring device extracts a resistive current component included in the zero-phase current. It is configured to monitor insulation of the electric circuit, and the test current generator is configured to detect the detection information of the zero-phase current and the resistive current component to be detected by the insulation monitor by flowing the test current. When adding the resistive current component included in the zero-phase current based on the target current value and the reference phase information set in advance as information for specifying the phase of the resistive current component And generating the test current from which a target current value of the resistive current component is obtained.

すなわち、零相電流Ioは、図7に示すように、ベクトル記号法によって、電圧Vと同相の抵抗性の電流成分Irと、その抵抗性の電流成分と90°位相が異なる容量性の電流成分Icとのベクトル和として表されるので、種々の方法により測定した電圧Vの位相(すなわち抵抗性の電流成分Irの位相)を特定するための情報が基準位相情報として与えられていれば、零相電流Ioの振幅及び位相と前記基準位相情報とから抵抗性の電流成分Irすなわち純粋の地絡電流を求めることができる。
絶縁監視装置が電路の絶縁監視を行う際にも、又、その絶縁監視装置の精度試験を行う際にも、単純な零相電流の電流値ではなく、零相電流に含まれる抵抗性の電流成分に着目して検出することで、絶縁監視装置による電路の絶縁監視を高い検出精度で行うことができ、又、その絶縁監視装置の精度試験も高い精度で行うことができる。
しかも、このような形態で絶縁監視装置の精度試験を行うための試験電流発生装置の配線接続を、精度試験を行うとき以外の通常の監視状態においても維持するようにしても全く支障がなく、検査技術員を派遣することなく絶縁監視装置の精度試験を行うこととの適合性が極めて良好である。
That is, as shown in FIG. 7, the zero-phase current Io is divided into a resistive current component Ir in phase with the voltage V and a capacitive current component having a phase difference of 90 ° from the resistive current component by the vector symbol method. Since it is expressed as a vector sum with Ic, if information for specifying the phase of the voltage V measured by various methods (that is, the phase of the resistive current component Ir) is given as the reference phase information, zero A resistive current component Ir, that is, a pure ground fault current can be obtained from the amplitude and phase of the phase current Io and the reference phase information.
When the insulation monitoring device monitors the insulation of the circuit, and when performing the accuracy test of the insulation monitoring device, the resistance current contained in the zero-phase current is not a simple zero-phase current value. By detecting by paying attention to the components, the insulation monitoring of the electric circuit by the insulation monitoring device can be performed with high detection accuracy, and the accuracy test of the insulation monitoring device can be performed with high accuracy.
Moreover, there is no problem even if the wiring connection of the test current generator for performing the accuracy test of the insulation monitoring device in such a form is maintained even in a normal monitoring state other than when performing the accuracy test, The compatibility with the accuracy test of the insulation monitoring device without dispatching an inspection engineer is very good.

上記第1の発明によれば、絶縁監視装置の設置箇所側では、試験用電流の通電のために人手を必要とせず、又、監視対象の電路を停電させる必要もなく、管理用サーバコンピュータ側では、前記検出対象箇所に試験用電流が流されるに伴って絶縁監視装置がどのように動作したかに関する情報を前記通信回線を経て取得することで、検査技術員を絶縁監視装置の設置箇所に派遣しなくても、派遣して精度試験を行った場合と同様の情報を取得できるので、絶縁監視装置の精度試験に要する作業負担を可及的に軽減させると共に、電路を活線状態のままで絶縁監視装置の精度試験を行えるものとなった。   According to the first aspect of the present invention, on the installation location side of the insulation monitoring device, no manual operation is required for energizing the test current, and it is not necessary to cause a power failure of the monitoring target electric circuit, so that the management server computer side Then, an inspection engineer is dispatched to the location where the insulation monitoring device is installed by acquiring information on how the insulation monitoring device has been operated as a test current flows through the detection target location via the communication line. Even if you do not, you can obtain the same information as when you sent the accuracy test, so you can reduce the work load required for the accuracy test of the insulation monitoring device as much as possible, and keep the electric circuit in a live state It became possible to test the accuracy of the insulation monitoring device.

又、上記第2の発明によれば、管理用サーバコンピュータが主体となって、絶縁監視装置の設置箇所側の情報を収集して、絶縁監視装置が適正に動作しているかどうかを判断するので、管理用サーバコンピュータ側において、絶縁監視装置の設置箇所側の状態を的確に管理できる。
又、上記第3の発明によれば、絶縁監視装置が適正に動作しているか否かの判定機能を、絶縁監視装置の設置箇所側に持たせる構成とすることで、管理用サーバコンピュータの処理負荷を軽減できる。
又、上記第4の発明によれば、管理用サーバコンピュータでの絶縁監視装置の検出精度の管理を高精度で行うことができる。
According to the second aspect of the invention, the management server computer mainly takes the information on the installation location side of the insulation monitoring device and judges whether the insulation monitoring device is operating properly. On the management server computer side, the state on the installation location side of the insulation monitoring device can be accurately managed.
According to the third aspect of the present invention, the function of determining whether or not the insulation monitoring device is operating properly is provided on the installation location side of the insulation monitoring device. The load can be reduced.
Further, according to the fourth aspect of the invention, it is possible to manage the detection accuracy of the insulation monitoring device with the management server computer with high accuracy.

以下、本発明の絶縁監視装置用の管理システムの実施の形態を図面に基づいて説明する。
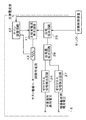
<第1実施形態>
電力需要家の電源受配電設備付近での機器の接続形態を概略的に示す図1のように、配電線から引込み線にて電源受配電設備に引込まれた6.6kVの高圧は、変圧器TRにて200Vの3相3線,単相3線、あるいは、100Vの単相2線等の低電圧に変圧される。
変圧器TRの2次側(低圧側)はB種接地線にて接地され、例えば、3相3線については3相の線のうちの1相の線が接地されている。
この接地線ELには、零相電流を検出する零相電流検出センサZTである零相変流器1が取り付けられ、更に、その零相変流器1の検出情報に基づいてこの電路の絶縁監視を行う絶縁監視装置IOが備えられている。
この絶縁監視装置IOの動作状態は、遠隔地に位置する監視センターOCの管理用サーバコンピュータCSによって通信回線CLを経て管理され、絶縁監視装置IOは、監視対象の電路の絶縁状態の検出情報を管理用サーバコンピュータCSへ送信するように構成されている。
Embodiments of a management system for an insulation monitoring apparatus according to the present invention will be described below with reference to the drawings.
<First Embodiment>
The high voltage of 6.6 kV drawn into the power receiving / distributing facility from the distribution line by the lead-in line as shown in FIG. 1 schematically showing the connection form of the equipment in the vicinity of the power receiving / distributing facility of the power consumer is a transformer. It is transformed into low voltage such as 200V 3-phase 3-wire, single-phase 3-wire, or 100V single-phase 2-wire by TR.
The secondary side (low voltage side) of the transformer TR is grounded by a class B ground wire. For example, for a three-phase three-wire, one phase of the three-phase wires is grounded.
A zero-phase current transformer 1 which is a zero-phase current detection sensor ZT for detecting a zero-phase current is attached to the ground line EL. Further, based on the detection information of the zero-phase current transformer 1, the electric circuit is insulated. An insulation monitoring device IO for monitoring is provided.
The operation state of the insulation monitoring device IO is managed via the communication line CL by the management server computer CS of the monitoring center OC located at a remote location, and the insulation monitoring device IO receives the detection information of the insulation state of the electric circuit to be monitored. It is configured to transmit to the management server computer CS.

〔絶縁監視装置IOの構成〕
絶縁監視装置IOには、零相変流器1の検出情報に基づいて地絡電流を検出する地絡電流検出装置2と、地絡電流検出装置2が設定電流値より大となる地絡電流を検出したときに各種の警報機器に警報信号を出力して報知するための警報信号出力装置3と、絶縁監視装置IOが遠隔地に存在する監視センターOCの管理用サーバコンピュータCSと通信回線CLを通じて通信するための通信回路4と、地絡電流検出装置2の動作試験(精度試験)を行うための試験用電流を生成する試験電流発生装置5と、地絡電流検出装置2の動作試験の実行を制御する試験制御装置6とが備えられている。
試験電流発生装置5にて生成した試験用電流は、零相変流器1に通した(巻回した)テスト巻線7にて、零相変流器1の検出対象箇所に供給される。
試験電流発生装置5の端子からテスト巻線7までの、試験用電流を流す試験用配線8は、上記電路の絶縁監視のために絶縁監視装置IOを現地に設置する際に、図1に概略的に示す、絶縁監視装置IOの精度試験のために試験用電流を通電するための取り付け位置に取り付けられ、その後は、前記絶縁監視装置IOの精度試験を行うか否かに拘わらず、その取り付けられた状態が維持される。
[Configuration of insulation monitoring device IO]
The insulation monitoring device IO includes a ground-fault current detection device 2 that detects a ground-fault current based on detection information of the zero-phase current transformer 1, and a ground-fault current that causes the ground-fault current detection device 2 to be larger than a set current value. Alarm signal output device 3 for outputting an alarm signal to various alarm devices when it is detected, the server computer CS for management of the monitoring center OC where the insulation monitoring device IO exists at a remote location, and the communication line CL A communication circuit 4 for communicating through the test circuit, a test current generator 5 for generating a test current for performing an operation test (accuracy test) of the ground fault current detector 2, and an operation test of the ground fault current detector 2 And a test control device 6 for controlling execution.
The test current generated by the test current generator 5 is supplied to the detection target portion of the zero-phase current transformer 1 through the test winding 7 that is passed (wound) through the zero-phase current transformer 1.
The test wiring 8 for passing a test current from the terminal of the test current generator 5 to the test winding 7 is schematically shown in FIG. 1 when the insulation monitoring device IO is installed on site to monitor the insulation of the electric circuit. The insulation monitoring device IO is attached to an attachment position for supplying a test current for the accuracy test of the insulation monitoring device IO, and thereafter the attachment is performed regardless of whether or not the accuracy test of the insulation monitoring device IO is performed. Maintained.

地絡電流検出装置2は、零相変流器1の検出電流から、監視対象の電圧と同位相の電流成分(抵抗性の電流成分)をベクトル演算によって抽出する。
抵抗性の電流成分を抽出するための具体的な手法としては、零相電流の位相と電圧位相との位相差を検出し、その位相差(角度)から零相電流の抵抗性成分をベクトル計算する手法でも良いし、上記特許文献1に記載のように、線間電圧から生成した位相判定信号を利用してベクトル演算を行う手法でも良い。
地絡電流検出装置2の動作は、後述する絶縁監視装置IOの精度試験の説明において、併せて説明している。
The ground fault current detection device 2 extracts a current component (resistive current component) in phase with the voltage to be monitored from the detected current of the zero-phase current transformer 1 by vector calculation.
As a specific method for extracting the resistive current component, the phase difference between the phase of the zero-phase current and the voltage phase is detected, and the resistance component of the zero-phase current is calculated from the phase difference (angle). Alternatively, as described in Patent Document 1, a vector calculation may be performed using a phase determination signal generated from a line voltage.
The operation of the ground fault current detection device 2 is also described in the description of the accuracy test of the insulation monitoring device IO described later.

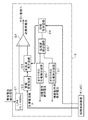
試験電流発生装置5には、図2のブロック図に示すように、零相変流器1が検出した零相電流をそのまま電圧信号に変換したものを地絡電流検出装置2から受け取って高周波成分をカットするローパスフィルタ21と、零相変流器1の検出対象箇所に流れるトータルの電流(接地線ELに流れる電流とテスト巻線7に流れる電流とを足し合わせた電流)の制御目標を設定するための正弦波発生回路22と、正弦波発生回路22にて生成する正弦波電圧の振幅を試験制御装置6から送られてくる目標電流値Itに応じて設定する振幅設定回路23と、ローパスフィルタ21の出力と正弦波発生回路22の出力とを入力とする演算増幅回路24(いわゆる、オペアンプ)と、正弦波発生回路22で生成する正弦波電圧の位相を設定する位相指示回路25と、絶縁監視の対象箇所の電圧位相を検出するゼロクロス位相検出回路26と、絶縁監視装置IOの動作用電源として使用している交流電源の電圧位相を検出するゼロクロス位相検出回路27と、ゼロクロス位相検出回路26,27の差をとって両者の位相差を求める位相差検出回路28とが備えられている。   As shown in the block diagram of FIG. 2, the test current generator 5 receives from the ground-fault current detector 2 the converted zero-phase current detected by the zero-phase current transformer 1 as a voltage signal and receives a high-frequency component. And a control target of the total current flowing through the detection target location of the zero-phase current transformer 1 (the current obtained by adding the current flowing through the ground line EL and the current flowing through the test winding 7). A sine wave generation circuit 22 for performing the operation, an amplitude setting circuit 23 for setting the amplitude of the sine wave voltage generated by the sine wave generation circuit 22 in accordance with the target current value It sent from the test control device 6, and a low-pass An operational amplifier circuit 24 (so-called operational amplifier) having the output of the filter 21 and the output of the sine wave generation circuit 22 as inputs, and a phase indication circuit for setting the phase of the sine wave voltage generated by the sine wave generation circuit 22 25, a zero-crossing phase detection circuit 26 for detecting the voltage phase of the target location for insulation monitoring, a zero-crossing phase detection circuit 27 for detecting the voltage phase of an AC power supply used as an operation power supply for the insulation monitoring device IO, and a zero-crossing A phase difference detection circuit 28 is provided which calculates the difference between the phase detection circuits 26 and 27 to obtain the phase difference between them.

演算増幅回路24には、テスト巻線7,零相変流器1,地絡電流検出装置2及びローパスフィルタ21を帰還ループの経路とする帰還回路が形成されている。
従って、演算増幅回路24は、ローパスフィルタ21からの入力信号と正弦波発生回路22からの入力信号とが一致するように試験用電流を制御する。
振幅設定回路23は、試験制御装置6から目標電流値Itが指示されたときに、地絡電流検出装置2において零相電流を電圧に変換する変換特性を基礎として、実効値が「It」の正弦波電流を零相変流器1が検出したときに地絡電流検出装置2からローパスフィルタ21へ送られてくる零相電流検出信号に一致する振幅の正弦波電圧を生成するように正弦波発生回路22に指示する。
正弦波発生回路22が生成する正弦波電圧の周波数は、監視対象の電圧の周波数と一致させてある。
正弦波発生回路22が生成する正弦波電圧の位相は、位相指示回路25,ゼロクロス位相検出回路26,27及び位相差検出回路28によって設定される。
すなわち、絶縁監視装置IOを設置したときに、監視対象の電路の電圧と絶縁監視装置IOの動作用電源として使用している交流電源の電圧との位相差を基準位相情報として位相指示回路25に記憶させておき、自己の動作用電源の電圧位相と、記憶している位相差とから、監視対象の電路の電圧位相に一致する位相の正弦波電圧を生成するように正弦波発生回路22へ位相指示信号を出力する。
位相指示回路25に記憶されている前記基準位相情報は、監視対象の電路から絶縁監視装置IOの動作用電源に至るまでの電圧器の結線方式に依存し、30°の整数倍となるが、配線を変更しない限り不変である。
The operational amplifier circuit 24 is formed with a feedback circuit having the test winding 7, the zero-phase current transformer 1, the ground fault current detection device 2, and the low-pass filter 21 as a feedback loop path.
Therefore, the operational amplifier circuit 24 controls the test current so that the input signal from the low-pass filter 21 and the input signal from the sine wave generation circuit 22 match.
The amplitude setting circuit 23 has an effective value of “It” based on the conversion characteristic of converting the zero-phase current into voltage in the ground fault current detection device 2 when the target current value It is instructed from the test control device 6. A sine wave is generated so as to generate a sine wave voltage having an amplitude matching the zero phase current detection signal sent from the ground fault current detection device 2 to the low pass filter 21 when the zero phase current transformer 1 detects the sine wave current. The generation circuit 22 is instructed.
The frequency of the sine wave voltage generated by the sine wave generation circuit 22 is matched with the frequency of the voltage to be monitored.
The phase of the sine wave voltage generated by the sine wave generation circuit 22 is set by a phase indication circuit 25, zero-cross phase detection circuits 26 and 27, and a phase difference detection circuit 28.
That is, when the insulation monitoring device IO is installed, the phase difference between the voltage of the monitored electric circuit and the voltage of the AC power supply used as the operation power supply of the insulation monitoring device IO is used as the reference phase information in the phase indicating circuit 25. The sine wave generation circuit 22 is configured to generate a sine wave voltage having a phase that matches the voltage phase of the monitoring target electric circuit from the voltage phase of its own operation power supply and the stored phase difference. Outputs phase indication signal.
The reference phase information stored in the phase indication circuit 25 is an integer multiple of 30 ° depending on the connection method of the voltage device from the monitoring target circuit to the power source for operation of the insulation monitoring device IO. It is unchanged unless the wiring is changed.

このように試験電流発生装置5を構成することで、零相変流器1の検出対象箇所には元々の零相電流とテスト巻線7に供給される試験用電流とが足し合わさった結果として、正弦波電流が流れることになり、その正弦波電流の位相は監視対象の電路の電圧位相と一致しているので、零相変流器1の検出にかかる正弦波電流は抵抗性の電流成分のみによって構成されることになる。
この試験用電流の生成過程をまとめると、試験電流発生装置5は、前記零相電流の検出情報と、試験用電流を流すことによって絶縁監視装置IOの検出にかかる抵抗性の電流成分の目標電流値Itと、抵抗性の電流成分の位相を特定するための情報である前記基準位相情報とに基づいて、前記零相電流(接地線ELの零相電流)に含まれる抵抗性の電流成分と足し合わせたときに前記目標電流値Itが得られる試験用電流を生成していることになる。
以上から、正弦波発生回路22,振幅設定回路23及び位相指示回路25は、前記目標電流値Itと、前記基準位相情報とに基づいて設定した振幅と位相とを有する正弦波を生成する目標正弦波生成手段として機能し、演算増幅回路24が、検出対象箇所の零相電流の検出情報と前記目標正弦波生成手段にて生成した正弦波とを入力として、その2入力が一致するように試験用電流を生成する。
By configuring the test current generator 5 in this way, the detection target location of the zero-phase current transformer 1 is the result of adding the original zero-phase current and the test current supplied to the test winding 7 together. Since the sine wave current flows and the phase of the sine wave current coincides with the voltage phase of the circuit to be monitored, the sine wave current detected by the zero-phase current transformer 1 is a resistive current component. It will be composed only of.
Summarizing the generation process of this test current, the test current generator 5 detects the zero-phase current detection information and the target current of the resistive current component applied to the insulation monitoring device IO by flowing the test current. Based on the value It and the reference phase information that is information for specifying the phase of the resistive current component, the resistive current component included in the zero-phase current (zero-phase current of the ground line EL) This means that a test current that produces the target current value It when it is added is generated.
From the above, the sine wave generation circuit 22, the amplitude setting circuit 23, and the phase indication circuit 25 generate the target sine wave that generates a sine wave having the amplitude and phase set based on the target current value It and the reference phase information. The operational amplifier circuit 24 functions as a wave generation means, and the operational amplifier circuit 24 uses the detection information of the zero-phase current at the detection target portion and the sine wave generated by the target sine wave generation means as inputs, and tests so that the two inputs coincide Generate current.

〔絶縁監視装置IOの動作試験〕
絶縁監視装置IOの動作試験は、監視センターOCの管理用サーバコンピュータCSの管理下で実行される。
監視センターOCでは、定期的に、管理下にある多数の絶縁監視装置IOの精度試験を行っており、管理用サーバコンピュータCSは、定期的に図3に示す動作試験処理を実行する。
図3の処理が開始されると、先ず、管理用サーバコンピュータCSから試験制御装置6に対して、絶縁監視装置IOの精度試験を開始する旨の信号(試験開始指令)を送信する(ステップ#1)。
試験制御装置6は、この信号を通信回路4を介して受信すると、絶縁監視装置IOの警報信号出力装置3に対して、警報信号の出力を停止させる。
もちろん、監視対象の電路は停電されることなく、活線状態が維持される。
[Operation test of insulation monitoring device IO]
The operation test of the insulation monitoring device IO is executed under the management of the management server computer CS of the monitoring center OC.
The monitoring center OC periodically performs an accuracy test on a number of insulation monitoring devices IO under management, and the management server computer CS periodically performs an operation test process shown in FIG.
When the processing of FIG. 3 is started, first, a signal (test start command) for starting the accuracy test of the insulation monitoring device IO is transmitted from the management server computer CS to the test control device 6 (step #). 1).
When the test control device 6 receives this signal via the communication circuit 4, the test control device 6 causes the alarm signal output device 3 of the insulation monitoring device IO to stop outputting the alarm signal.
Of course, the monitored electric circuit is maintained in a live state without being interrupted.

次ぎに、管理用サーバコンピュータCSは、試験用電流を流すことによって絶縁監視装置IOに検出させる目標電流値Itの初期値を試験制御装置6へ送信する(ステップ#2)。本第1実施形態での目標電流値Itは、上述のように、試験電流発生装置5に生成させた試験用電流を零相変流器1の検出対象箇所に流したときに絶縁監視装置IOの検出にかかる抵抗性の電流成分の目標電流値Itである。この目標電流値Itの初期値は、絶縁監視装置IOが地絡事故が発生したと検出する電流値よりも十分に小さい値に設定されている。
試験制御装置6は、管理用サーバコンピュータCSから目標電流値Itの更新データを受け取る度に、その受け取った目標電流値Itのデータを試験電流発生装置5の振幅設定回路23へ送って、試験用電流の振幅を設定しており、これに伴って、上述のようにして試験電流発生装置5にて試験用電流が生成され、テスト巻線7に供給される。
絶縁監視装置IOにおける絶縁監視の動作としては、警報信号出力装置3が警報信号の出力を停止している点を除いて、この精度試験においても通常の絶縁監視における動作と全く変わりなく動作しており、地絡電流検出装置2が、監視対象の電路の電圧位相と同相の抵抗性の電流成分と、その抵抗性の電流成分と90°位相が異なる容量性の電流成分との合成電流である零相変流器1の検出電流から、ベクトル計算により抵抗性の電流成分を抽出し、その抵抗性の電流成分が設定電流値(例えば数十mA)より小であるときは何もせず、前記設定電流値よりも大となったことを検出すると、その旨を示す警報を警報信号出力装置3へ送ると共に、通信回路4を経て管理用サーバコンピュータCSへ送る。更に、管理用サーバコンピュータCSに対しては、そのときの検出電流値も併せて送る。
Next, the management server computer CS transmits an initial value of the target current value It to be detected by the insulation monitoring device IO by flowing a test current to the test control device 6 (step # 2). As described above, the target current value It in the first embodiment is the insulation monitoring device IO when the test current generated by the test current generator 5 is passed through the detection target location of the zero-phase current transformer 1. This is the target current value It of the resistive current component related to the detection of. The initial value of the target current value It is set to a value that is sufficiently smaller than the current value that the insulation monitoring device IO detects that a ground fault has occurred.
Each time the test control device 6 receives update data of the target current value It from the management server computer CS, the test control device 6 sends the received data of the target current value It to the amplitude setting circuit 23 of the test current generator 5 for testing. The amplitude of the current is set, and accordingly, a test current is generated by the test current generator 5 as described above and supplied to the test winding 7.
As an operation of insulation monitoring in the insulation monitoring device IO, except for the point that the warning signal output device 3 stops outputting the warning signal, this accuracy test also operates completely the same as the operation in normal insulation monitoring. The ground fault current detection device 2 is a combined current of a resistive current component in phase with the voltage phase of the circuit to be monitored and a capacitive current component that is 90 ° out of phase with the resistive current component. A resistive current component is extracted from the detected current of the zero-phase current transformer 1 by vector calculation. When the resistive current component is smaller than a set current value (for example, several tens of mA), nothing is done. When it is detected that the current value is larger than the set current value, an alarm indicating that is sent to the alarm signal output device 3 and also sent to the management server computer CS via the communication circuit 4. Furthermore, the detected current value at that time is also sent to the management server computer CS.

管理用サーバコンピュータCS側では、試験制御装置6に指示する前記目標電流値Itを、試験用電流の上限値を超えない範囲で徐々に上昇させながら(ステップ#4,#5)、地絡電流検出装置2が警報(厳密には、検出した抵抗性の電流成分が設定電流値よりも大となったことを示す信号)を出力するか否かを監視し(ステップ#3)、警報を出力すると、試験制御装置6へ試験用電流の生成の停止を指示して(ステップ#6)、その警報と共に送られてきた検出電流値によって、絶縁監視装置IOの検出精度が適正か否かを判定する(ステップ#7)。
すなわち、絶縁監視装置IO(より具体的には、地絡電流検出装置2)から警報が送られてきた時点で試験制御装置6へ指示していた目標電流値Itと、地絡電流検出装置2から警報と共に送られてきた検出電流値とを比較して、両者の差が許容範囲内であれば、絶縁監視装置IOが十分な精度で適正に動作しているものと判定し、許容範囲を超えていれば、絶縁監視装置IOの検出精度が十分ではなく、適正に動作していないと判定する。
その判定結果は、管理用サーバコンピュータCSのモニタに表示され(ステップ#8)、絶縁監視装置IOの検出精度が十分ではないと判定した旨の表示がなされたときは、監視センターOCでは、技術者を絶縁監視装置IOの設置箇所へ派遣して、必要な措置をとらせる。
試験制御装置6側では、管理用サーバコンピュータCSから試験用電流の生成停止の指示を受け取ると、試験電流発生装置5の作動を停止させると共に、警報信号出力装置3を警報信号の出力を許容する状態に復帰させる。
又、上述のように前記目標電流値Itを徐々に上昇させて行く過程で、地絡電流検出装置2から警報を受け取らないまま、前記目標電流値Itが上限値に到達してしまったときは(ステップ#4)、上記と同様にして試験用電流の供給を停止させ(ステップ#6)、絶縁監視装置IOの検出精度が適正か否かを判定する(ステップ#7)のであるが、この場合は当然に、検出精度が異常であると判断する。
On the management server computer CS side, the target current value It instructed to the test control device 6 is gradually increased within a range not exceeding the upper limit value of the test current (steps # 4 and # 5), and the ground fault current Monitors whether the detection device 2 outputs an alarm (strictly, a signal indicating that the detected resistive current component has become larger than the set current value) (step # 3), and outputs an alarm Then, the test control device 6 is instructed to stop generating the test current (step # 6), and it is determined whether or not the detection accuracy of the insulation monitoring device IO is appropriate based on the detected current value sent together with the alarm. (Step # 7).
That is, the target current value It instructed to the test control device 6 at the time when an alarm is sent from the insulation monitoring device IO (more specifically, the ground fault current detection device 2), and the ground fault current detection device 2 If the difference between the two is within the allowable range, the insulation monitoring device IO is determined to be operating properly with sufficient accuracy, and the allowable range is determined. If it exceeds, it is determined that the detection accuracy of the insulation monitoring device IO is not sufficient and is not operating properly.
The determination result is displayed on the monitor of the management server computer CS (step # 8), and when it is determined that the detection accuracy of the insulation monitoring device IO is not sufficient, the monitoring center OC A person is dispatched to the installation location of the insulation monitoring device IO to take necessary measures.
When the test control device 6 receives an instruction to stop generation of the test current from the management server computer CS, the test control device 6 stops the operation of the test current generator 5 and allows the alarm signal output device 3 to output an alarm signal. Return to the state.
Further, when the target current value It reaches the upper limit without receiving an alarm from the ground fault current detection device 2 in the process of gradually increasing the target current value It as described above. (Step # 4) In the same manner as described above, the supply of the test current is stopped (Step # 6), and it is determined whether or not the detection accuracy of the insulation monitoring device IO is appropriate (Step # 7). Of course, it is determined that the detection accuracy is abnormal.

尚、以上は、試験電流発生装置5にて生成する試験用電流をテスト巻線7に流した状態で零相変流器1の検出にかかる検出対象箇所に流れる電流(試験用電流と元々の零相電流を足し合わせた電流)が、監視対象の電路の電圧位相と同位相で、抵抗性の電流成分のみの正弦波電流として構成する場合を例示しているが、位相指示回路25で指示する位相を上記の電圧位相からある程度位相ずれさせても良い。このように位相ずれさせた場合でも、零相変流器1の検出にかかる電流のうちの抵抗性の電流成分が目標電流値Itとなるようにするために、振幅設定回路23は発生させる位相ずれに応じて正弦波電圧の振幅を大きめに設定する。
このように位相ずれさせた電流が零相変流器1の検出にかかるように試験用電流を供給しても、地絡電流検出装置2の抵抗性の電流成分を抽出する機能が適正に機能していれば、上記の試験と同じ結果が得られるはずであり、地絡電流検出装置2の機能をより広い範囲でチェックできることになる。
In the above, the current that flows through the detection target location for the detection of the zero-phase current transformer 1 in a state where the test current generated by the test current generator 5 is passed through the test winding 7 (the test current and the original current). The case where the current is the sum of the zero-phase currents) is the same phase as the voltage phase of the circuit to be monitored and is configured as a sine wave current having only a resistive current component. The phase to be shifted may be shifted from the voltage phase to some extent. Even when the phase is shifted in this way, the amplitude setting circuit 23 generates a phase so that the resistive current component of the current applied to the detection of the zero-phase current transformer 1 becomes the target current value It. The amplitude of the sine wave voltage is set to be large according to the deviation.
Even if the test current is supplied so that the phase-shifted current is detected by the zero-phase current transformer 1, the function of extracting the resistive current component of the ground fault current detecting device 2 functions properly. If so, the same result as the above test should be obtained, and the function of the ground fault current detection device 2 can be checked in a wider range.

更に、零相変流器1の検出にかかる電流の位相を監視対象の電圧位相と一致させて抵抗性の電流成分のみとしてテスト巻線に供給して行う試験と、零相変流器1の検出にかかる電流の位相を監視対象の電圧位相からずらせてテスト巻線に供給して行う試験との両方の試験を行うことで、より厳密に試験を行うようにしても良い。
又、図3の処理では、検出対象箇所に流れる電流の電流値を徐々に変化させるために、管理用サーバコンピュータCSから前記目標電流値Itを徐々に変化させる指令を送信しているが、この目標電流値Itの設定変更は試験制御装置6等の絶縁監視装置IO側の機器に委ねるようにしても良い。
この場合でも、管理用サーバコンピュータCSは、試験制御装置6から目標電流値Itの情報を逐次に受け取ること等によって、目標電流値Itの情報を取得できる。
Furthermore, a test that is performed by matching the phase of the current applied to the detection of the zero-phase current transformer 1 with the voltage phase to be monitored and supplying only the resistive current component to the test winding, and the zero-phase current transformer 1 The test may be performed more strictly by performing both the test performed by shifting the phase of the current applied to the detection from the voltage phase to be monitored and supplying it to the test winding.
In the process of FIG. 3, a command for gradually changing the target current value It is transmitted from the management server computer CS in order to gradually change the current value of the current flowing through the detection target portion. The setting change of the target current value It may be left to the equipment on the insulation monitoring device IO side such as the test control device 6.
Even in this case, the management server computer CS can acquire the target current value It information by sequentially receiving the target current value It information from the test control device 6.

<第2実施形態>
上記第1実施形態では、零相変流器1の検出対象箇所に元々流れる電流に試験用電流を追加した結果の電流値が前記目標電流値Itとなるように試験用電流を生成する場合を例示しているが、本第2実施形態では、絶縁監視装置IOの精度試験のために試験用電流をテスト巻線7に流すときに、接地線ELに元々流れる電流が影響しないように構成している。
本第2実施形態における、電力需要家の電源受配電設備付近での機器の接続形態を概略的に示す図4に示すように、絶縁監視用の零相変流器1とは別に、テスト巻線7のみを通した(巻回した)試験用の零相変流器31を備えると共に、絶縁監視用の零相変流器1又は試験用の零相変流器31のいずれか一方を選択的に地絡電流検出装置2へ接続するためのスイッチ32が備えられている。
スイッチ32は、試験制御装置6の制御により、通常の絶縁監視動作においては、接地線ELを検出対象とする絶縁監視用の零相変流器1からの配線を地絡電流検出装置2へ接続し、絶縁監視装置IOの精度試験を行うときのみ、試験用の零相変流器31からの配線を地絡電流検出装置2へ接続するように切換え動作する。
このような配線を行う本第2実施形態においても、試験電流発生装置5の端子からテスト巻線7までの、試験用電流を流す試験用配線8は、上記電路の絶縁監視のために絶縁監視装置IOを現地に設置する際に、図4に概略的に示す、絶縁監視装置IOの精度試験のために試験用電流を通電するための取り付け位置に取り付けられ、その後は、前記絶縁監視装置IOの精度試験を行うか否かに拘わらず、その取り付けられた状態が維持される。
Second Embodiment
In the first embodiment, the case where the test current is generated so that the current value as a result of adding the test current to the current originally flowing in the detection target portion of the zero-phase current transformer 1 becomes the target current value It is described. Although illustrated, in the second embodiment, when a test current is passed through the test winding 7 for an accuracy test of the insulation monitoring device IO, the current that originally flows through the ground line EL is not affected. ing.
In the second embodiment, as shown in FIG. 4 schematically showing the connection form of equipment in the vicinity of the power supply / distribution facility of the power consumer, a test winding is provided separately from the zero-phase current transformer 1 for insulation monitoring. A test zero-phase current transformer 31 that passes only (wound) the wire 7 is provided, and either the zero-phase current transformer 1 for monitoring insulation or the zero-phase current transformer 31 for testing is selected. In particular, a switch 32 for connection to the ground fault current detection device 2 is provided.
In the normal insulation monitoring operation, the switch 32 connects the wiring from the insulation monitoring zero-phase current transformer 1 for detecting the ground wire EL to the ground fault current detection device 2 under the control of the test control device 6. Only when the accuracy test of the insulation monitoring device IO is performed, the switching operation is performed so that the wiring from the test zero-phase current transformer 31 is connected to the ground fault current detection device 2.
Also in the second embodiment in which such wiring is performed, the test wiring 8 for supplying the test current from the terminal of the test current generator 5 to the test winding 7 is insulated for monitoring the insulation of the electric circuit. When the device IO is installed in the field, it is attached to an attachment position for supplying a test current for an accuracy test of the insulation monitoring device IO schematically shown in FIG. Regardless of whether or not the accuracy test is performed, the attached state is maintained.

このように、接地線ELに流れる電流の影響を受けない試験用の零相変流器31を備えて絶縁監視装置IOの精度試験を行うようにすることに伴って、試験電流発生装置5の構成も上記第1実施形態とは異なってくる。
すなわち、本第2実施形態における試験電流発生装置5は、図5のブロック図に示すように、試験用電流としてテスト巻線7に供給する正弦波電流を生成する正弦波電流発生回路41と、試験制御装置6から指示される前記目標電流値Itに基づいて正弦波電流発生回路41で生成する正弦波電流の振幅を調整するゲイン調整回路42と、正弦波電流発生回路41で生成する正弦波電流の位相を設定する位相指示回路25とが備えられる他、正弦波電流発生回路41から出力する正弦波電流をモニタするためのシャント抵抗43と、絶縁監視の対象箇所の電圧位相を検出するゼロクロス位相検出回路26と、絶縁監視装置IOの動作用電源として使用している交流電源の電圧位相を検出するゼロクロス位相検出回路27と、ゼロクロス位相検出回路26,27の差をとって両者の位相差を求める位相差検出回路28とが備えられている。
上記第1実施形態と同一符号で示すゼロクロス位相検出回路26,27、位相差検出回路28及び位相指示回路25は、構成及び動作が上記第1実施形態と全く同一である。
As described above, the test current generator 5 includes the test zero-phase current transformer 31 that is not affected by the current flowing through the ground line EL and performs the accuracy test of the insulation monitoring device IO. The configuration is also different from that of the first embodiment.
That is, the test current generator 5 in the second embodiment includes a sine wave current generation circuit 41 that generates a sine wave current to be supplied to the test winding 7 as a test current, as shown in the block diagram of FIG. A gain adjustment circuit 42 that adjusts the amplitude of the sine wave current generated by the sine wave current generation circuit 41 based on the target current value It instructed from the test control device 6, and a sine wave generated by the sine wave current generation circuit 41. In addition to the phase indicating circuit 25 for setting the phase of the current, the shunt resistor 43 for monitoring the sine wave current output from the sine wave current generating circuit 41, and the zero cross for detecting the voltage phase of the target location for insulation monitoring A phase detection circuit 26, a zero-cross phase detection circuit 27 for detecting the voltage phase of an AC power source used as an operation power source for the insulation monitoring device IO, and a zero-cross phase detection A phase difference detection circuit 28 for determining the phase difference between taking the difference between the circuits 26 and 27 are provided.
The zero-crossing phase detection circuits 26 and 27, the phase difference detection circuit 28, and the phase instruction circuit 25 denoted by the same reference numerals as those in the first embodiment are the same as those in the first embodiment.

ゲイン調整回路42は、正弦波電流発生回路41から出力される正弦波電流(シャント抵抗43でモニタする電流)の実効値が前記目標電流値Itとなるように、その正弦波電流波形の振幅を調整する。
正弦波電流発生回路41にて生成される正弦波電流の周波数は、監視対象の電圧の周波数と一致させてあり、位相は位相指示回路27にて指定される。
従って、本第2実施形態においても、その正弦波電流の位相は監視対象の電路の電圧位相と一致しているので、試験用の零相変流器31の検出にかかる正弦波電流は抵抗性の電流成分のみによって構成されることになる。
もちろん、正弦波電流の位相を意図的にずらせても良い点も上記第1実施形態と同様である。
The gain adjustment circuit 42 adjusts the amplitude of the sine wave current waveform so that the effective value of the sine wave current (current monitored by the shunt resistor 43) output from the sine wave current generation circuit 41 becomes the target current value It. adjust.
The frequency of the sine wave current generated by the sine wave current generation circuit 41 matches the frequency of the voltage to be monitored, and the phase is designated by the phase indication circuit 27.
Accordingly, also in the second embodiment, since the phase of the sine wave current matches the voltage phase of the monitored electric circuit, the sine wave current required for detection by the test zero-phase current transformer 31 is resistant. It is comprised only by the current component.
Of course, the point that the phase of the sine wave current may be intentionally shifted is the same as in the first embodiment.

以上のように構成した絶縁監視装置IOに対して、それの精度試験を行う場合の管理用サーバコンピュータCSの動作は、上記第1実施形態と共通であり、図3のフローチャートの動作試験処理を実行することによって、上述のように、絶縁監視装置IOの検出精度の判定を行う。
絶縁監視装置IOの精度試験において上記第1実施形態と異なるのは、試験制御装置6の制御において、図3のステップ#1における試験を開始する旨の信号を管理用サーバコンピュータCSから受け取ったときに、スイッチ32の接続状態を、絶縁監視用の零相変流器1を地絡電流検出装置2へ接続する状態から、試験用の零相変流器31を地絡電流検出装置2へ接続する状態に切換える操作が加わる点と、図3のステップ#6における試験用電流の生成を停止する旨の指示を管理用サーバコンピュータCSから受け取ったときに、スイッチ32の接続状態を、試験用の零相変流器31を地絡電流検出装置2へ接続する状態から、絶縁監視用の零相変流器1を地絡電流検出装置2へ接続する状態に切換えて、通常の絶縁監視動作に復帰させる操作が加わる点である。
The operation of the management server computer CS when performing an accuracy test on the insulation monitoring device IO configured as described above is the same as that in the first embodiment, and the operation test process of the flowchart of FIG. 3 is performed. By executing, the detection accuracy of the insulation monitoring device IO is determined as described above.
In the accuracy test of the insulation monitoring device IO, the difference from the first embodiment is that, in the control of the test control device 6, when a signal indicating that the test in step # 1 in FIG. 3 is started is received from the management server computer CS. In addition, the connection state of the switch 32 is changed from the state in which the zero-phase current transformer 1 for monitoring insulation is connected to the ground-fault current detector 2 to the connection of the test zero-phase current transformer 31 to the ground-fault current detector 2. When an instruction to stop the generation of the test current in step # 6 in FIG. 3 is received from the management server computer CS, the connection state of the switch 32 is changed to the test state. Switching from the state in which the zero-phase current transformer 31 is connected to the ground-fault current detection device 2 to the state in which the zero-phase current transformer 1 for monitoring insulation is connected to the ground-fault current detection device 2 is performed to perform a normal insulation monitoring operation. Reinstate Operation is a point to join.

<第3実施形態>
上記第1実施形態及び上記第2実施形態では、管理用サーバコンピュータCSにて実行される図3のフローチャートによって、絶縁監視装置IOの動作が適正か否かの判定を管理用サーバコンピュータCS側で行う場合を例示しているが、本第3実施形態では、絶縁監視装置IOの動作が適正か否かの判定機能を絶縁監視装置IO側に備えるものとしている。
具体的には、試験制御装置6が図6に示す処理を実行する。
それ以外の構成要素の動作等は、上記第1実施形態あるいは上記第2実施形態と共通であり、上記第1実施形態における試験制御装置6及び管理用サーバコンピュータCS、並びに、上記第2実施形態における試験制御装置6及び管理用サーバコンピュータCSを、以下で説明する試験制御装置6及び管理用サーバコンピュータCSで置き換えることができる。
<Third Embodiment>
In the first embodiment and the second embodiment, the management server computer CS determines whether or not the operation of the insulation monitoring device IO is appropriate according to the flowchart of FIG. 3 executed by the management server computer CS. Although the case where it performs is illustrated, in this 3rd Embodiment, the determination function whether the operation | movement of insulation monitoring apparatus IO is appropriate shall be provided in the insulation monitoring apparatus IO side.
Specifically, the test control device 6 executes the process shown in FIG.
The operations of other components are the same as those in the first embodiment or the second embodiment. The test control device 6 and the management server computer CS in the first embodiment, and the second embodiment. The test control device 6 and the management server computer CS can be replaced by the test control device 6 and the management server computer CS described below.

試験制御装置6は、絶縁監視装置IOの精度試験を開始する指令(試験開始指令)を管理用サーバコンピュータCSから受け取ると、図6の処理を開始する。
先ず、警報信号出力装置3が警報信号を出力しないように設定する(ステップ#21)。この際、上記第2実施形態の図4のように構成する場合には、スイッチ32の接続状態を、絶縁監視用の零相変流器1を地絡電流検出装置2へ接続する状態から、試験用の零相変流器31を地絡電流検出装置2へ接続する状態に切換える。
この後、前記目標電流値Itを初期設定し(ステップ#22)、試験電流発生装置5への通電を開始することでテスト巻線7への試験用電流の供給を開始する(ステップ#23)。この後、前記目標電流値Itを徐々に上昇させながら(ステップ#26)、地絡電流検出装置2が警報(厳密には、抵抗性の電流成分が設定電流値より大となったことを示す信号)を出力するか否かを監視し(ステップ#24)、警報を出力すると、試験電流発生装置5への通電を停止して試験用電流の供給を停止した(ステップ#27)後、その時の目標電流値Itによって絶縁監視装置IOの動作が適正か否かの判定を行う(ステップ#28)。
When the test control device 6 receives a command (test start command) for starting the accuracy test of the insulation monitoring device IO from the management server computer CS, the test control device 6 starts the process of FIG.
First, the alarm signal output device 3 is set not to output an alarm signal (step # 21). At this time, when configured as shown in FIG. 4 of the second embodiment, the connection state of the switch 32 is changed from a state in which the zero-phase current transformer 1 for insulation monitoring is connected to the ground fault current detection device 2. The test zero-phase current transformer 31 is switched to a state where it is connected to the ground fault current detection device 2.
Thereafter, the target current value It is initialized (step # 22), and supply of test current to the test winding 7 is started by starting energization of the test current generator 5 (step # 23). . Thereafter, while gradually increasing the target current value It (step # 26), the ground fault current detecting device 2 gives an alarm (strictly, the resistance current component indicates that it is larger than the set current value). Signal) is output (step # 24), and when an alarm is output, energization of the test current generator 5 is stopped and the supply of test current is stopped (step # 27). It is determined whether or not the operation of the insulation monitoring device IO is appropriate based on the target current value It (step # 28).

この絶縁監視装置IOの動作が適正か否かの判定においては、地絡電流検出装置2が上記の警報と共に、その時点の検出電流値を試験制御装置6へ出力するように構成しておき、その検出電流値と前記目標電流値Itとを比較して、両者の差が許容範囲内であれば、絶縁監視装置IOが十分な精度で動作しているものと判定し、許容範囲を超えていれば、絶縁監視装置IOの検出精度が十分ではないと判定する。
もちろん、地絡電流検出装置2は検出電流値を出力せず、上記の警報のみを出力する構成として、前記目標電流値Itを細かく変化させる過程のどの時点で警報を出力したかのみによって、絶縁監視装置IOの検出精度が十分であるか否かを判定するようにしても良い。
従って、試験制御装置6は、試験用電流を流すことによって絶縁監視装置IOに検出させる目標電流値Itと、試験用電流を流したときの絶縁監視装置IOによる電路の絶縁状態の検出情報(具体的には、地絡電流検出装置2の検出電流値又は上記警報)とに基づいて、絶縁監視装置IOが適正に動作しているか否かを判定する動作状態判定装置JOとして機能する。
In determining whether the operation of the insulation monitoring device IO is appropriate, the ground fault current detection device 2 is configured to output the detected current value at that time to the test control device 6 together with the above-described alarm, The detected current value is compared with the target current value It, and if the difference between the two is within an allowable range, it is determined that the insulation monitoring device IO is operating with sufficient accuracy, and the allowable range is exceeded. If so, it is determined that the detection accuracy of the insulation monitoring device IO is not sufficient.
Of course, the ground fault current detection device 2 does not output the detected current value, but outputs only the above-mentioned alarm, so that the insulation is only performed depending on at which point the alarm is output in the process of finely changing the target current value It. It may be determined whether the detection accuracy of the monitoring device IO is sufficient.
Therefore, the test control device 6 detects the target current value It detected by the insulation monitoring device IO by flowing the test current, and detection information (specifically, the insulation state of the electric circuit by the insulation monitoring device IO when the test current is supplied). Specifically, it functions as an operation state determination device JO that determines whether or not the insulation monitoring device IO is operating properly based on the detected current value of the ground fault current detection device 2 or the alarm).

この絶縁監視装置IOが適正に動作しているか否かの判定の結果は、通信回路4から通信回線CLを経て、管理用サーバコンピュータCSへ送信され(ステップ#29)、その後、警報信号出力装置3が警報信号を出力する設定に戻して(ステップ#30)、処理を終了する。
この際、上記第2実施形態の図4のように構成する場合には、スイッチ32の接続状態を、試験用の零相変流器31を地絡電流検出装置2へ接続する状態から、絶縁監視用の零相変流器1を地絡電流検出装置2へ接続する状態に切換える。
図6の処理のステップ#29で管理用サーバコンピュータCSへ送られた上記の判定結果は、管理用サーバコンピュータCSのモニタに表示され、絶縁監視装置IOの検出精度が十分ではないと判定した旨の表示がなされたときは、監視センターOCでは、技術者を絶縁監視装置IOの設置箇所へ派遣して、必要な措置をとらせる。
The result of the determination as to whether or not the insulation monitoring device IO is operating properly is transmitted from the communication circuit 4 to the management server computer CS via the communication line CL (step # 29), and then the alarm signal output device. 3 returns to the setting for outputting an alarm signal (step # 30), and the process is terminated.
In this case, when the second embodiment is configured as shown in FIG. 4, the connection state of the switch 32 is insulated from the state in which the test zero-phase current transformer 31 is connected to the ground fault current detection device 2. The monitoring zero-phase current transformer 1 is switched to a state in which it is connected to the ground-fault current detector 2.
The determination result sent to the management server computer CS in step # 29 of the process of FIG. 6 is displayed on the monitor of the management server computer CS, and it is determined that the detection accuracy of the insulation monitoring device IO is not sufficient. Is displayed, the monitoring center OC dispatches an engineer to the installation location of the insulation monitoring device IO to take necessary measures.

<その他の実施形態>
以下、本発明のその他の実施形態を列記する。
(1)上記第1実施形態〜第3実施形態では、零相電流に含まれる抵抗性の電流成分を抽出して、絶縁監視装置IOによる絶縁監視及び絶縁監視装置IOの精度試験を行う場合を例示しているが、単に零相電流の絶対値によって絶縁監視装置IOによる絶縁監視及び絶縁監視装置IOの精度試験を行うように構成しても良い。
(2)上記第1実施形態〜第3実施形態では、零相電流検出センサZTとして零相変流器1を例示しているが、十分な感度を有するものであれば変流器を用いても良い。
これは、第2実施形態における零相変流器31についても同様である。
(3)上記第1実施形態〜第3実施形態では、試験電流発生装置5を絶縁監視装置IOに内蔵する場合を例示しているが、試験電流発生装置5は、絶縁監視装置IOとは別個独立の装置として備えるようにしても良い。
(4)上記第1実施形態〜第3実施形態では、監視対象の電路が3相3線の交流である場合を例示したが、中性線を接地線ELにて接地する単相3線の交流や、2線のうちの1線を接地線ELにて接地する単相2線の交流の電路の絶縁監視を行う場合にも本発明を適用できる。
<Other embodiments>
Hereinafter, other embodiments of the present invention will be listed.
(1) In the first to third embodiments, the resistive current component included in the zero-phase current is extracted, and the insulation monitoring by the insulation monitoring device IO and the accuracy test of the insulation monitoring device IO are performed. Although illustrated, the insulation monitoring by the insulation monitoring device IO and the accuracy test of the insulation monitoring device IO may be performed simply by the absolute value of the zero-phase current.
(2) In the first to third embodiments, the zero-phase current transformer 1 is exemplified as the zero-phase current detection sensor ZT. However, a current transformer is used if it has sufficient sensitivity. Also good.
The same applies to the zero-phase current transformer 31 in the second embodiment.
(3) In the first to third embodiments, the case where the test current generating device 5 is built in the insulation monitoring device IO is illustrated, but the test current generating device 5 is separate from the insulation monitoring device IO. You may make it provide as an independent apparatus.
(4) In the first to third embodiments described above, the case where the monitored electric circuit is a three-phase three-wire AC is illustrated, but a single-phase three-wire that grounds a neutral wire with a ground wire EL The present invention can also be applied to the case where the insulation monitoring is performed on an alternating current circuit or a single-phase two-wire AC circuit in which one of the two wires is grounded by the ground wire EL.

(5)上記第1実施形態〜第3実施形態では、零相電流検出センサZTの検出対象箇所を接地線ELとした場合を例示しているが、零相電流を検出できる位置であれば任意の位置を零相電流検出センサZTの検出対象箇所としても良い。
(6)上記第1実施形態では、零相電流の検出情報を得るために絶縁監視装置IOの零相変流器1の検出情報を取得しているが、試験電流発生装置5で独自の零相電流検出センサを備えても良い。
(7)上記第1実施形態〜第3実施形態では、前記目標電流値Itを実効値で指定する場合を例示しているが、必ずしも実効値である必要はない。
(8)上記第1実施形態〜第3実施形態では、監視センターOCからの試験開始指令によって絶縁監視装置IOの動作試験を行う場合を例示しているが、試験制御装置6自体に、例えば定期的に試験電流発生装置5にて試験用電流を生成して絶縁監視装置IOの動作試験を行うような試験スケジュールを記憶させておき、その試験スケジュールに従って、試験制御装置6が自発的に絶縁監視装置IOの動作試験を行って、その結果を監視センターOCの管理用サーバコンピュータCSに報告するように構成しても良い。
(5) In the above first to third embodiments, the case where the detection target portion of the zero-phase current detection sensor ZT is the ground line EL is illustrated, but any position that can detect the zero-phase current is arbitrary. May be the detection target location of the zero-phase current detection sensor ZT.
(6) In the first embodiment, the detection information of the zero-phase current transformer 1 of the insulation monitoring device IO is acquired in order to obtain the detection information of the zero-phase current. A phase current detection sensor may be provided.
(7) In the first to third embodiments, the target current value It is specified as an effective value. However, the target current value It is not necessarily an effective value.
(8) In the first to third embodiments, a case where the operation test of the insulation monitoring device IO is performed by a test start command from the monitoring center OC is illustrated. The test current generator 5 generates a test current and stores a test schedule for performing an operation test of the insulation monitoring device IO, and the test control device 6 voluntarily monitors the insulation according to the test schedule. The operation test of the device IO may be performed, and the result may be reported to the management server computer CS of the monitoring center OC.

本発明の第1実施形態にかかる全体ブロック構成図1 is an overall block configuration diagram according to a first embodiment of the present invention. 本発明の第1実施形態にかかる試験電流発生装置のブロック構成図The block block diagram of the test current generator concerning 1st Embodiment of this invention. 本発明の第1実施形態及び第2実施形態にかかるフローチャートThe flowchart concerning 1st Embodiment and 2nd Embodiment of this invention 本発明の第2実施形態にかかる全体ブロック構成図Whole block block diagram concerning 2nd Embodiment of this invention. 本発明の第2実施形態にかかる試験電流発生装置のブロック構成図The block block diagram of the test current generator concerning 2nd Embodiment of this invention. 本発明の第3実施形態にかかるフローチャートThe flowchart concerning 3rd Embodiment of this invention. 零相電流に含まれる抵抗性の電流成分を説明する図The figure explaining the resistive current component contained in the zero phase current

符号の説明Explanation of symbols

CL 通信回線
CS 管理用サーバコンピュータ
IO 絶縁監視装置
JO 動作状態判定装置
ZT 零相電流検出センサ
5 試験電流発生装置
8 試験用配線
CL communication line CS management server computer IO insulation monitoring device JO operation state determination device ZT zero-phase current detection sensor 5 test current generator 8 test wiring

Claims (4)

1線が接地された単相交流又は3相交流の電路の零相電流を検出する零相電流検出センサの検出情報に基づいて前記電路の絶縁監視を行う絶縁監視装置と、
前記絶縁監視装置の精度試験を行うための試験用電流を流す試験電流発生装置とが備えられた絶縁監視装置用の管理システムであって、
前記絶縁監視装置の動作状態を遠隔地から通信回線を経て管理する管理用サーバコンピュータが備えられ、
前記絶縁監視装置は、前記電路の絶縁状態の検出情報を前記管理用サーバコンピュータに前記通信回線を経て送信するように構成され、
前記試験電流発生装置にて生成された試験用電流を流す試験用配線は、前記絶縁監視装置の精度試験を行うか否かに拘わらず、前記絶縁監視装置の精度試験のために前記試験用電流を通電するための取り付け位置に取り付けられた状態に維持され、
前記試験電流発生装置は、前記通信回線を経て前記管理用サーバコンピュータから送られてきた試験開始指令により、又は、予め設定されている試験スケジュールに従って、前記試験用電流を流すように構成されている絶縁監視装置用の管理システム。
An insulation monitoring device that performs insulation monitoring of the electric circuit based on detection information of a zero-phase current detection sensor that detects a zero-phase current of a single-phase AC circuit or a three-phase AC circuit in which one wire is grounded;
A management system for an insulation monitoring device provided with a test current generator for supplying a test current for performing an accuracy test of the insulation monitoring device,
A management server computer for managing the operating state of the insulation monitoring device from a remote location via a communication line;
The insulation monitoring device is configured to transmit detection information of an insulation state of the electric circuit to the management server computer via the communication line,
The test wiring for supplying the test current generated by the test current generator is used for the accuracy test of the insulation monitoring device regardless of whether or not the accuracy test of the insulation monitoring device is performed. Maintained in the mounting position for energizing the
The test current generator is configured to cause the test current to flow according to a test start instruction sent from the management server computer via the communication line or according to a preset test schedule. Management system for insulation monitoring equipment.
前記絶縁監視装置は、前記電路の絶縁状態の検出情報として、前記零相電流検出センサの検出情報に基づく検出電流値が設定電流値より大となったことを示す警報とそのときの検出電流値とを、前記通信回線を経て前記管理用サーバコンピュータに送信するように構成され、
前記管理用サーバコンピュータは、前記試験用電流を流すことによって前記絶縁監視装置に検出させる目標電流値と、前記試験用電流を流したときに前記絶縁監視装置から送られてきた前記電路の絶縁状態の検出情報とに基づいて、前記絶縁監視装置が適正に動作しているか否かを判定するように構成されている請求項1記載の絶縁監視装置用の管理システム。
The insulation monitoring device includes an alarm indicating that a detected current value based on detection information of the zero-phase current detection sensor is larger than a set current value as detection information of the insulation state of the electric circuit, and a detected current value at that time And is transmitted to the management server computer via the communication line,
The management server computer has a target current value to be detected by the insulation monitoring device by flowing the test current, and an insulation state of the electric circuit sent from the insulation monitoring device when the test current is flowed The management system for an insulation monitoring device according to claim 1, wherein the management system is configured to determine whether or not the insulation monitoring device is operating properly based on the detected information.
前記試験用電流を流すことによって前記絶縁監視装置に検出させる目標電流値と、前記試験用電流を流したときの前記絶縁監視装置による前記電路の絶縁状態の検出情報とに基づいて、前記絶縁監視装置が適正に動作しているか否かを判定する動作状態判定装置が設けられ、
前記動作状態判定装置は、前記絶縁監視装置が適正に動作しているか否かの判定結果を、前記通信回線を経て前記管理用サーバコンピュータへ送信するように構成されている請求項1又は2記載の絶縁監視装置用の管理システム。
Based on a target current value to be detected by the insulation monitoring device by flowing the test current, and detection information of the insulation state of the electric circuit by the insulation monitoring device when the test current is supplied. An operation state determination device for determining whether or not the device is operating properly is provided,
The operation state determination device is configured to transmit a determination result as to whether or not the insulation monitoring device is operating properly to the management server computer via the communication line. Management system for insulation monitoring equipment.
前記絶縁監視装置は、前記零相電流に含まれる抵抗性の電流成分を抽出して前記電路の絶縁監視を行うように構成され、
前記試験電流発生装置は、前記零相電流の検出情報と、前記試験用電流を流すことによって前記絶縁監視装置に検出させる前記抵抗性の電流成分の目標電流値と、前記抵抗性の電流成分の位相を特定するための情報として予め設定されている基準位相情報とに基づいて、前記零相電流に含まれる抵抗性の電流成分に足し合わせたときに前記抵抗性の電流成分の目標電流値が得られる前記試験用電流を生成するように構成されている請求項1〜3のいずれか1項に記載の絶縁監視装置用の管理システム。
The insulation monitoring device is configured to extract a resistive current component included in the zero-phase current and perform insulation monitoring of the electric circuit,
The test current generator includes detection information of the zero-phase current, a target current value of the resistive current component that is detected by the insulation monitoring device by flowing the test current, and a current value of the resistive current component. Based on the reference phase information set in advance as information for specifying the phase, the target current value of the resistive current component is obtained when added to the resistive current component included in the zero-phase current. The management system for an insulation monitoring apparatus according to any one of claims 1 to 3, wherein the management system is configured to generate the obtained test current.
JP2006135868A 2006-05-15 2006-05-15 Management system for insulation monitoring device Pending JP2007312445A (en)

Priority Applications (1)

Application Number Priority Date Filing Date Title
JP2006135868A JP2007312445A (en) 2006-05-15 2006-05-15 Management system for insulation monitoring device

Applications Claiming Priority (1)

Application Number Priority Date Filing Date Title
JP2006135868A JP2007312445A (en) 2006-05-15 2006-05-15 Management system for insulation monitoring device

Publications (1)

Publication Number Publication Date
JP2007312445A true JP2007312445A (en) 2007-11-29

Family

ID=38844794

Family Applications (1)

Application Number Title Priority Date Filing Date
JP2006135868A Pending JP2007312445A (en) 2006-05-15 2006-05-15 Management system for insulation monitoring device

Country Status (1)

Country Link
JP (1) JP2007312445A (en)

Cited By (7)

* Cited by examiner, † Cited by third party
Publication number Priority date Publication date Assignee Title
JP2011128041A (en) * 2009-12-18 2011-06-30 Hitachi Industrial Equipment Systems Co Ltd Property monitoring apparatus for current transformer or electric transformer
JP2014511474A (en) * 2010-12-10 2014-05-15 ラリタン アメリカズ,インコーポレイテッド Method and apparatus for detecting ground faults and automated self-diagnosis thereof
JP2019109192A (en) * 2017-12-20 2019-07-04 株式会社日立産機システム Insulation monitoring device and insulation monitoring system
JP2020180853A (en) * 2019-04-25 2020-11-05 ミドリ電子株式会社 Insulation monitoring device, device and method for testing accuracy of insulation monitoring device, and program
CN114545316A (en) * 2021-12-24 2022-05-27 江苏镇安电力设备有限公司 Detection system and detection method for detecting insulation monitoring device
CN115128417A (en) * 2022-08-31 2022-09-30 江苏鑫洋智能电力科技有限公司 Intelligent on-line monitoring device for insulation performance of pagoda-structure electrical equipment
JP2023105867A (en) * 2022-01-20 2023-08-01 佐鳥電機株式会社 INSULATION MONITORING DEVICE, OPERATION TEST SYSTEM FOR INSULATION MONITORING DEVICE, OPERATION TESTING METHOD FOR INSULATION MONITORING DEVICE, AND OPERATION TEST PROGRAM FOR INSULATION MONITORING DEVICE

Citations (3)

* Cited by examiner, † Cited by third party
Publication number Priority date Publication date Assignee Title
JP2000035452A (en) * 1998-05-11 2000-02-02 Toyo Commun Equip Co Ltd Insulation resistance measuring device
JP2002125313A (en) * 2000-10-16 2002-04-26 Kansai Denki Hoan Kyokai Leakage detector, and leakage alarm and leakage breaker therewith
JP2004077251A (en) * 2002-08-15 2004-03-11 Meidensha Corp Performance test system of protection relay

Patent Citations (3)

* Cited by examiner, † Cited by third party
Publication number Priority date Publication date Assignee Title
JP2000035452A (en) * 1998-05-11 2000-02-02 Toyo Commun Equip Co Ltd Insulation resistance measuring device
JP2002125313A (en) * 2000-10-16 2002-04-26 Kansai Denki Hoan Kyokai Leakage detector, and leakage alarm and leakage breaker therewith
JP2004077251A (en) * 2002-08-15 2004-03-11 Meidensha Corp Performance test system of protection relay

Cited By (9)

* Cited by examiner, † Cited by third party
Publication number Priority date Publication date Assignee Title
JP2011128041A (en) * 2009-12-18 2011-06-30 Hitachi Industrial Equipment Systems Co Ltd Property monitoring apparatus for current transformer or electric transformer
US8604805B2 (en) 2009-12-18 2013-12-10 Hitachi Industrial Equipment Systems Co., Ltd. Property monitoring apparatus for current transformer or electric transformer
JP2014511474A (en) * 2010-12-10 2014-05-15 ラリタン アメリカズ,インコーポレイテッド Method and apparatus for detecting ground faults and automated self-diagnosis thereof
JP2019109192A (en) * 2017-12-20 2019-07-04 株式会社日立産機システム Insulation monitoring device and insulation monitoring system
JP2020180853A (en) * 2019-04-25 2020-11-05 ミドリ電子株式会社 Insulation monitoring device, device and method for testing accuracy of insulation monitoring device, and program
JP7187379B2 (en) 2019-04-25 2022-12-12 ミドリ電子株式会社 INSULATION MONITORING DEVICE, ACCURACY TESTING DEVICE FOR INSULATION MONITORING DEVICE, ACCURACY TESTING METHOD AND PROGRAM FOR INSULATION MONITORING DEVICE
CN114545316A (en) * 2021-12-24 2022-05-27 江苏镇安电力设备有限公司 Detection system and detection method for detecting insulation monitoring device
JP2023105867A (en) * 2022-01-20 2023-08-01 佐鳥電機株式会社 INSULATION MONITORING DEVICE, OPERATION TEST SYSTEM FOR INSULATION MONITORING DEVICE, OPERATION TESTING METHOD FOR INSULATION MONITORING DEVICE, AND OPERATION TEST PROGRAM FOR INSULATION MONITORING DEVICE
CN115128417A (en) * 2022-08-31 2022-09-30 江苏鑫洋智能电力科技有限公司 Intelligent on-line monitoring device for insulation performance of pagoda-structure electrical equipment

Similar Documents

Publication Publication Date Title
CN110887995B (en) Method for insulation monitoring of a power supply system supplied by a converter
KR102050255B1 (en) Method and test device for testing wiring of transducers
JP3763852B2 (en) Method and circuit for monitoring insulation and fault current in AC power supply
KR100883777B1 (en) How to generate fault indication of terminal equipment in distribution automation system
TWI221906B (en) Measuring devices
US11009539B2 (en) Device and method for insulation monitoring including identification of a faulty outer conductor in a three-phase ungrounded power supply system
JP5255554B2 (en) Characteristic monitoring device for current transformers or transformers
US8072716B2 (en) AFCI device
CN113161995B (en) Apparatus and method for fault current detection
JP2009115754A (en) Device and method for measuring leakage current in electric equipment
JP4796429B2 (en) Test device for test current generator and insulation monitoring device
JP5305070B2 (en) Detection device
CN110865311B (en) Device for detecting direct or alternating current, module and protection unit comprising same
JP2007312445A (en) Management system for insulation monitoring device
US20150102824A1 (en) Locating loose connections in an electrical circuit
JP2011153913A (en) Leak current measuring device and measurement method in electric apparatus
KR101708334B1 (en) The method and apparatus for identifying the power cable with time synchronized measuring function
JP2012078241A (en) Instantaneous voltage drop detector and semiconductor testing device
JP2010060329A (en) Apparatus and method for measuring leakage current of electrical path and electric instrument
EP1875252B1 (en) Method and apparatus for monitoring the earth loop impedance of an electrical installation
WO2022018305A1 (en) Methods, devices and systems for detecting an isolation fault in an electrical installation
JP4821992B2 (en) Ground fault detection device
JP5026906B2 (en) Ground fault occurrence bank identification method and ground fault occurrence bank identification device
KR20110096282A (en) Leakage Current Remote Detection System for Street Light
KR100953684B1 (en) Tunnel lamp control panel with electrical fault detection

Legal Events

Date Code Title Description
A621 Written request for application examination

Free format text: JAPANESE INTERMEDIATE CODE: A621

Effective date: 20090512

A711 Notification of change in applicant

Free format text: JAPANESE INTERMEDIATE CODE: A711

Effective date: 20090519

A521 Written amendment

Free format text: JAPANESE INTERMEDIATE CODE: A821

Effective date: 20090519

A711 Notification of change in applicant

Free format text: JAPANESE INTERMEDIATE CODE: A712

Effective date: 20100507

A977 Report on retrieval

Free format text: JAPANESE INTERMEDIATE CODE: A971007

Effective date: 20100625

A131 Notification of reasons for refusal

Free format text: JAPANESE INTERMEDIATE CODE: A131

Effective date: 20100817

RD02 Notification of acceptance of power of attorney

Free format text: JAPANESE INTERMEDIATE CODE: A7422

Effective date: 20101013

A02 Decision of refusal

Free format text: JAPANESE INTERMEDIATE CODE: A02

Effective date: 20110517