JP2007182675A - Guide of top-hinged swinging door - Google Patents

Guide of top-hinged swinging door Download PDF

Info

Publication number
JP2007182675A
JP2007182675A JP2005380639A JP2005380639A JP2007182675A JP 2007182675 A JP2007182675 A JP 2007182675A JP 2005380639 A JP2005380639 A JP 2005380639A JP 2005380639 A JP2005380639 A JP 2005380639A JP 2007182675 A JP2007182675 A JP 2007182675A
Authority
JP
Japan
Prior art keywords
guide
substrate
floor surface
swinging door
thickness direction
Prior art date
Legal status (The legal status is an assumption and is not a legal conclusion. Google has not performed a legal analysis and makes no representation as to the accuracy of the status listed.)
Withdrawn
Application number
JP2005380639A
Other languages
Japanese (ja)
Inventor
Norio Takahashi
典男 高橋
Current Assignee (The listed assignees may be inaccurate. Google has not performed a legal analysis and makes no representation or warranty as to the accuracy of the list.)
Frontier Co Ltd
Original Assignee
Frontier Co Ltd
Priority date (The priority date is an assumption and is not a legal conclusion. Google has not performed a legal analysis and makes no representation as to the accuracy of the date listed.)
Filing date
Publication date
Application filed by Frontier Co Ltd filed Critical Frontier Co Ltd
Priority to JP2005380639A priority Critical patent/JP2007182675A/en
Publication of JP2007182675A publication Critical patent/JP2007182675A/en
Withdrawn legal-status Critical Current

Links

Images

Landscapes

  • Closing And Opening Devices For Wings, And Checks For Wings (AREA)
  • Support Devices For Sliding Doors (AREA)

Abstract

<P>PROBLEM TO BE SOLVED: To provide a guide of a top-hinged swinging door, which enables a top-hinged swinging door body to travel without swinging along the central axis in a width direction, which can bring about a flat floor surface while facilitating mounting and adjustment, and which is excellent in economic efficiency, for example, because the guide can also adapt to a type using a conventional guide pin. <P>SOLUTION: This guide 1 of the top-hinged swinging door is installed to regulate the swing of the top-hinged swinging door body in the thickness direction during traveling by being fitted and inserted into a U-shaped cross-section traveling groove which is opened downward and formed along a lower end surface of the top-hinged swinging door body. The guide 1 comprises a base plate 2 which is arranged on the floor surface, a pair of guide rollers 3a and 3b which are erected on the base plate 2, and mounting screws 71, 72 and 73 for mounting the base plate 2 on the floor surface. In the base plate 2, a circular shank hole 21, into which a shank 71a of the mounting screw 71 can be inserted, is formed at least in the central position in the width direction (the thickness direction of the top-hinged swinging door). The pair of guide rollers 3a and 3b is erected in predetermined positions symmetrical to each other in the width direction (the thickness direction of the top-hinged swinging door) and the length direction (the traveling direction of the top-hinged swinging door) across the shank hole 21. <P>COPYRIGHT: (C)2007,JPO&INPIT

Description

本発明は、吊戸本体の下端面に沿って形成された下方に開放した断面コ時形の走行溝に嵌挿することにより吊戸本体の走行時における厚み方向の振れを規制するために床面に設置される吊戸のガイドに関するものである。   The present invention relates to a floor for restricting runout in the thickness direction during travel of the hanging door body by being inserted into a traveling groove having a cross-sectionally open cross-section formed along the lower end surface of the hanging door body. The present invention relates to a guide for a hanging door installed on a surface.

従来、出入口枠の鴨居などに付設したレールに走行可能に吊戸本体が吊り下げ保持された吊戸が知られており、吊戸は吊戸本体が上端においてだけ支持されていることから走行時(開閉時)に前後方向に振れることがあり、これを防止する目的で前記吊戸本体に係着するガイドを床面に設置している。   Conventionally, a suspension door is known in which a suspension door body is suspended and held on a rail attached to an entrance frame of the entrance / exit frame, and the suspension door is supported only at the upper end during traveling. In order to prevent this from swinging in the front-rear direction (when opening and closing), a guide that is attached to the suspension door body is installed on the floor surface.

そして、吊戸のガイドとして吊戸本体の下端面に沿って形成された下方に開放した断面コ字形の走行溝に嵌挿する型式のものが知られており、例えば、ガイドピンに磁石を設けたものが特開平8−326402号公報に、縦軸にローラを軸支したガイドローラを基板に吊戸本体の厚さ方向に移動可能に立設したものが特開2002−138772号公報などに提示されている。   And, as a guide for the sliding door, a type that is fitted into a traveling groove having a U-shaped cross section opened downwardly formed along the lower end surface of the hanging door body is known. For example, a guide pin is provided with a magnet. In Japanese Patent Laid-Open No. 8-326402, a guide roller having a roller supported on the vertical axis is erected on a substrate so as to be movable in the thickness direction of the suspension door body. Presented.

ところが、前記公報に提示されているガイドピンやガイド板を設けたものは吊戸本体とガイドとの摩擦を考慮すると両者が密接した状態で配置すると吊戸本体の走行が困難となり開閉しづらくなり、両者の間に一定の隙間を形成することが必要でがたつきを解消することができない。また、ガイドピンの場合には一定の間隔で複数個を床面に配置する必要があり、平滑な床面を得ることができず、更に吊戸本体とガイドピンとが直接的に当接しているので、例えば吊戸本体に衝撃が加わった場合に破損してしまうという問題もある。   However, when the guide pin and the guide plate provided in the above publication are provided, considering the friction between the suspension door main body and the guide, if the two are arranged in close contact with each other, it becomes difficult to run the suspension door main body and it becomes difficult to open and close. It is necessary to form a certain gap between the two and rattling cannot be eliminated. In the case of guide pins, a plurality of guide pins need to be arranged on the floor surface at regular intervals, and a smooth floor surface cannot be obtained, and the suspension door body and the guide pin are in direct contact with each other. Therefore, for example, when an impact is applied to the suspension door main body, there is a problem that it is damaged.

また、前記公報に提示されている縦軸にローラを軸支したガイドローラを基板に吊戸本体の厚さ方向に移動可能に設置したものは、ガイドローラを厚さ方向に移動させることにより吊戸のガイド溝にガイドローラを接した状態で走行させることが可能であるが、移動は前方または後方の何れか一方に限られることから、例えばシール機能を有する吊戸の閉成箇所について使用する場合には都合がよいが、吊戸本体を走行方向へ延びる中心軸線に沿って移動させることは困難である。
特開平8−326402号公報 特開2002−138772号公報
In addition, a guide roller that is supported by a roller on the vertical axis shown in the above publication is installed on the substrate so as to be movable in the thickness direction of the hanging door body. The guide roller is suspended by moving the guide roller in the thickness direction. It is possible to run with the guide roller in contact with the guide groove of the door, but since the movement is limited to either the front or the rear, for example, it is used for a closed part of a hanging door having a sealing function In some cases, it is convenient, but it is difficult to move the suspension door body along the central axis extending in the traveling direction.
JP-A-8-326402 Japanese Patent Laid-Open No. 2002-138772

本発明は上記実情に鑑みてなされたものであり、吊戸本体を厚さ方向の中心軸線に沿って振れることなく走行させることができるばかりか、取付、調整も容易で平坦な床面を得ることができ、吊戸に加えられた衝撃を吸収し、従来のガイドピンを用いたものにも適応することができるなど経済的にも優れた吊戸のガイドを提供するものである。   The present invention has been made in view of the above circumstances, and it is possible not only to move the suspension door main body along the central axis in the thickness direction, but also to obtain a flat floor surface that is easy to install and adjust. Therefore, the present invention provides a guide for a suspension door that is economically superior in that it can absorb an impact applied to the suspension door and can be applied to a conventional guide pin.

上記目的を達成するためになされた本発明である吊戸のガイドは、吊戸本体の下端面に沿って形成された下方に開放した断面コ字形の走行溝に嵌挿することにより吊戸本体の走行時における厚さ方向の振れを規制するために床面に設置される吊戸のガイドであって、床面に配置される基板と、前記基板に立設した一対のガイドローラと、前記基板を床面に取り付けるための取付ねじとからなり、前記基板は少なくとも幅方向(吊戸の厚さ方向)の中心位置に取付ねじの軸部が挿通可能な円形の軸孔が形成されているとともに、前記一対のガイドローラが前記軸孔を挟んで幅方向(吊戸の厚さ方向)並びに長さ方向(吊戸の走行方向)に対称となる所定の位置に前記ガイドローラが立設されていることを特徴とする。   The guide of the hanging door according to the present invention made to achieve the above object is inserted into a U-shaped traveling groove opened downward and formed along the lower end surface of the hanging door body. A guide for a suspension door installed on the floor surface in order to regulate the deflection in the thickness direction during traveling, a substrate disposed on the floor surface, a pair of guide rollers erected on the substrate, The board includes a mounting screw for mounting the board to the floor surface, and the board has a circular shaft hole into which the shaft portion of the mounting screw can be inserted at least at the center position in the width direction (thickness direction of the hanging door). In addition, the pair of guide rollers are erected at predetermined positions that are symmetrical in the width direction (thickness direction of the hanging door) and the length direction (traveling direction of the hanging door) across the shaft hole. It is characterized by.

床面に設置した基板を厚さ方向の中心位置に配置される軸孔において回転させることにより、一対のガイドローラを吊戸本体の下端面に沿って形成されたガイド溝の前後の内側面にそれぞれ当接させることにより吊戸本体を厚さ方向の中心位置に沿ってがたつくことなく走行させる。   By rotating the substrate placed on the floor surface in the shaft hole arranged at the center position in the thickness direction, the pair of guide rollers are placed on the inner side surfaces before and after the guide groove formed along the lower end surface of the suspension door body. By making each contact, the suspension door body is allowed to travel without rattling along the center position in the thickness direction.

また、本発明において、前記基板を床面に固定するために基板における走行方向の端部に形成した取付けねじ孔の少なくとも一方が前記軸孔を中心とした円周上に位置する円弧状である場合には、止めねじを前記止めねじ孔を貫通して床面に仮止めした状態で基板を回転させてガイドローラを吊戸本体の下端面に沿って形成されたガイド溝の前後の内側面に当接させることにより、容易に所定の回転位置で基板を床面に設置することができる。   Further, in the present invention, at least one of the mounting screw holes formed at the end portion in the running direction of the substrate in order to fix the substrate to the floor surface has an arc shape positioned on the circumference centering on the shaft hole. In this case, the inner surface of the front and rear of the guide groove formed along the lower end surface of the suspension door by rotating the substrate while the set screw passes through the set screw hole and is temporarily fixed to the floor surface The substrate can be easily placed on the floor surface at a predetermined rotational position.

更に、本発明において、前記基板の下面に前記基板を前記支軸を中心として回転可能に且つ所望の回転位置で固定可能に支持した床面取付板が付設されている場合には、更に調整が容易であるばかりか例えば床面取付板に前後方向(吊戸の厚さ方向)に移動可能な取付部を設けることもできる。   Further, in the present invention, when a floor surface mounting plate that supports the substrate so as to be rotatable about the support shaft and can be fixed at a desired rotational position is attached to the lower surface of the substrate, further adjustment is possible. In addition to being easy, for example, the floor mounting plate can be provided with a mounting portion movable in the front-rear direction (thickness direction of the hanging door).

以上、本発明によれば、吊戸本体を確実に且つ円滑に吊戸本体の厚さ方向の中心位置に沿って走行させることができる。また、取付、調整も容易であり、従来のガイドピンのように床面に多数のガイドピンが突設することもなく、製造も容易であり、安価に提供擦ることも可能で経済的にも優れている。   As mentioned above, according to this invention, a suspension door main body can be reliably and smoothly run along the center position of the thickness direction of a suspension door main body. In addition, it is easy to install and adjust, so that many guide pins do not protrude from the floor as in the case of conventional guide pins, and it is easy to manufacture, can be provided at low cost, and is economical. Are better.

次に、本発明の好ましい実施の形態を図面に基づいて詳細に説明する。   Next, a preferred embodiment of the present invention will be described in detail with reference to the drawings.

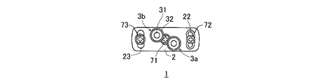
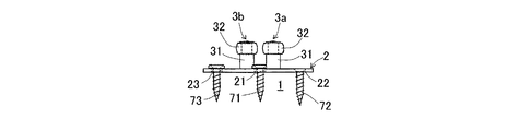
図1乃至図3は本発明の好ましい実施の形態を示すものであり、本発明である吊戸のガイド1は、所定幅(例えば使用する吊戸の下面に形成されるガイド溝の幅程度)で適宜の長さと厚さを有するほぼ横長矩形状を呈する金属製の基板1とこの基板2上に立設された一対のガイドローラガイドローラ3a,3bと、前記基板2を床面に設置するための取付ねじ71,72,73とから構成される。   1 to 3 show a preferred embodiment of the present invention, and the guide 1 of the suspension door according to the present invention has a predetermined width (for example, the width of a guide groove formed on the lower surface of the suspension door to be used). The metal substrate 1 having a substantially horizontally long rectangular shape having an appropriate length and thickness, a pair of guide rollers guide rollers 3a and 3b erected on the substrate 2, and the substrate 2 are installed on the floor surface. Mounting screws 71, 72, and 73.

更に詳しく説明すると、基板2は中心位置に取付ねじ71の軸部71aを挿通可能な円形を呈する軸孔21が形成されているとともに、この軸孔21を挟んで長さ方向並びに幅方向に対称となる所定の位置に前記ガイドローラ3a,3bが斜め方向に対向して立設されている。   More specifically, the substrate 2 is formed with a circular shaft hole 21 that can be inserted through the shaft portion 71a of the mounting screw 71 at the center position, and is symmetrical in the length direction and the width direction across the shaft hole 21. The guide rollers 3a and 3b are erected so as to face each other at a predetermined position.

このガイドローラ3a,3bは従来周知のものであり、基板2に植設された金属製の縦軸31に機能性を有する硬質合成樹脂製のローラ本体32が回転可能に軸支されたものであり、必要であればベアリングなどの潤滑部材(図示せず)を備えても良い。また、基板2の長さ方向の両端部には前記軸孔21を中心とする所定の円周上に位置する円弧状に形成されている取付けねじ孔22,23が形成されている。   The guide rollers 3a and 3b are well known in the art, and a roller body 32 made of hard synthetic resin having functionality is rotatably supported on a metal vertical axis 31 implanted in the substrate 2. Yes, if necessary, a lubricating member (not shown) such as a bearing may be provided. At both ends in the length direction of the substrate 2, mounting screw holes 22, 23 formed in an arc shape located on a predetermined circumference centering on the shaft hole 21 are formed.

このように構成される本実施の形態は図4に示すように、例えば、鴨居4に取り付けたレール41に懸吊された吊戸本体5の引き込み側の下端部に位置する床面6に取り付けて使用される。   As shown in FIG. 4, this embodiment configured as described above is attached to the floor surface 6 positioned at the lower end portion on the pull-in side of the suspension door body 5 suspended from the rail 41 attached to the Kamoi 4, for example. Used.

図5及び図6は取付状態及び調整状態を示すものであり、始めに図5に示すように床面6の吊戸本体5の走行方向の中心に沿う中心軸線Cの所定位置に軸孔21を合わせて例えば図示のように基端側のガイドローラ3aが吊戸本体5の下端に沿って形成されたガイド溝51の引き込み側の内側面51cに当接する位置に配置するとともに、軸孔21および取付けねじ孔22,23に取付ねじ71,72,73をそれぞれ挿入して床面6に仮止めしておく。   FIGS. 5 and 6 show an attachment state and an adjustment state. First, as shown in FIG. 5, the shaft hole 21 is located at a predetermined position of the central axis C along the center in the traveling direction of the suspension door body 5 on the floor surface 6. For example, as shown in the figure, the guide roller 3a on the base end side is disposed at a position where it abuts on the inner side surface 51c on the drawing side of the guide groove 51 formed along the lower end of the suspension door body 5, and the shaft hole 21 And the attachment screws 71, 72, and 73 are inserted into the attachment screw holes 22 and 23, respectively, and temporarily fixed to the floor surface 6.

そして、次に、図6に示すように、基板2を取付ねじ61である支軸を中心として水平方向に回転させ、例えば基端側のガイドローラ3aのローラ本体32をガイド溝51の手前側の内側面51aに、先端側のガイドローラ3bのローラ本体32をガイド溝51の手前側の内側面51bにそれぞれ当接させる。   Next, as shown in FIG. 6, the substrate 2 is rotated in the horizontal direction around the support shaft that is the mounting screw 61, and the roller main body 32 of the guide roller 3 a on the proximal end side, for example, is on the front side of the guide groove 51. The roller main body 32 of the guide roller 3b on the front end side is brought into contact with the inner side surface 51b on the front side of the guide groove 51, respectively.

このとき、ガイドローラ3a,3bは吊戸本体5をガイドすればよく、圧接すると接触抵抗が増して吊戸本体5の走行に影響を与えるので注意を要する。   At this time, the guide rollers 3a and 3b only have to guide the suspension door body 5, and when pressed, the contact resistance increases and affects the traveling of the suspension door body 5, so care must be taken.

そして、基板の所定のり回転位置が定まったならば、前記取付ねじ71,72,73を螺締して基板2を床面6に固定する。   When the predetermined rotational position of the substrate is determined, the mounting screws 71, 72, 73 are screwed to fix the substrate 2 to the floor surface 6.

このようにして床面6に設置された本実施の形態であるガイド1によると、基端側のガイドローラ3aのローラ本体32をガイド溝51の手前側の内側面51aに、先端側のガイドローラ3bのローラ本体32をガイド溝51の手前側の内側面51bにそれぞれ当接しているので、吊戸本体5は図6の(a)に図示したように、矢印で示すA方向には振れない。また、先端側のガイドローラ3bはガイド溝51の手前側の内側面51bに当接しているので振れることになるが吊戸本体5は基本的に前記図4に示したように直線上のレール41によって移動を規制されているのでガイドローラ3a,3bはいずれもガイドとしての役割を果たしているので厚さ方向に振れる心配はない。また、このように本実施の形態では、ガイドローラ3a,3bと吊戸本体5とが強制的に接していないので、例えば吊戸本体5に衝撃が加わっても吊戸本体5がガイド1により破損したりする心配がない。   In this way, according to the guide 1 according to the present embodiment installed on the floor surface 6, the roller body 32 of the guide roller 3 a on the proximal end side is placed on the inner side surface 51 a on the front side of the guide groove 51, and the guide on the distal end side. Since the roller body 32 of the roller 3b is in contact with the inner side surface 51b on the front side of the guide groove 51, the suspension door body 5 swings in the A direction indicated by the arrow as shown in FIG. Absent. Further, since the guide roller 3b on the front end side is in contact with the inner side surface 51b on the front side of the guide groove 51, it swings, but the suspension door body 5 is basically a linear rail as shown in FIG. Since the movement is restricted by 41, both the guide rollers 3a and 3b serve as guides, so there is no fear of swinging in the thickness direction. Further, in this embodiment, since the guide rollers 3a and 3b and the suspension door body 5 are not forcibly in contact with each other, for example, even if an impact is applied to the suspension door body 5, the suspension door body 5 is moved by the guide 1. There is no worry about damage.

尚、本実施の形態では、吊戸5の引き込み側に手前側のガイドローラ3aを配置したが、これに限るものでなく、ガイドローラ3a,3bの位置は逆であっても良い。また、本実施の形態では前記取付ねじ71,72,73をいずれも床面6に螺締するものを用いたが、その内の少なくとも1つは床面6に対して支点としての働きをすればよく、螺締するものでなくても良い。   In the present embodiment, the front guide roller 3a is disposed on the retracting side of the suspension door 5. However, the present invention is not limited to this, and the positions of the guide rollers 3a and 3b may be reversed. In this embodiment, the mounting screws 71, 72, 73 are all screwed to the floor surface 6, but at least one of them serves as a fulcrum for the floor surface 6. It does not have to be screwed.

図7及び図8は本発明の異なる実施の形態を示すものであり、基板2及びガイドローラ3a,3bなどの構成は前記実施の形態とほぼ同様であるが、前記基板2の下面に基板2を前記軸孔21において挿通支持した支軸24によりこの支軸24中心として回転可能に床面取付板8が付設されている点が異る。   7 and 8 show different embodiments of the present invention, and the configuration of the substrate 2 and the guide rollers 3a and 3b is substantially the same as that of the above-described embodiment. The floor mounting plate 8 is attached to the support shaft 24 that is inserted and supported in the shaft hole 21 so as to be rotatable about the support shaft 24.

特に本実施の形態では、基板2には軸孔21を中心とした1つの円弧状の取付けねじ孔22が形成されて、その下方に位置する床面取付板8形成したねじ孔81に短尺の止めねじ74を螺締するものであり、回転調整が1つの止めねじ74で可能とされており、更に、床面取付板8の走行方向の両端に幅方向に延びるねじ孔82,83が形成されており、取り付けねじ75,76により厚さ方向(前後方向)に移動可能に床面6に取り付けることができる。   In particular, in the present embodiment, one arcuate mounting screw hole 22 centering on the shaft hole 21 is formed in the substrate 2, and a short length is formed in the screw hole 81 formed on the floor surface mounting plate 8 positioned below the mounting hole. The set screw 74 is screwed, and the rotation adjustment is possible with one set screw 74. Further, screw holes 82 and 83 extending in the width direction are formed at both ends in the traveling direction of the floor mounting plate 8. The mounting screws 75 and 76 can be attached to the floor surface 6 so as to be movable in the thickness direction (front-rear direction).

尚、図9は従来のガイドピン形のガイドローラを用いた従来例に本発明を実施した場合の一例を示すものであり、このようにガイド1を変更するだけで従来の吊戸5を用いても実施することができる。   FIG. 9 shows an example in which the present invention is applied to a conventional example using a conventional guide pin type guide roller, and the conventional hanging door 5 is used only by changing the guide 1 in this way. Can also be implemented.

本発明の好ましい実施の形態を示す斜視図。The perspective view which shows preferable embodiment of this invention. 図1に示した実施の形態を示す平面図。The top view which shows embodiment shown in FIG. 図1に示した実施の形態を示す側面図。The side view which shows embodiment shown in FIG. 図1に示した実施の形態の使用箇所を示す説明図。Explanatory drawing which shows the use location of embodiment shown in FIG. 図1に示した実施の形態についての取り付け状態を示す説明図であり、(a)は平面から見た説明図、(b)は側面から見た説明図。It is explanatory drawing which shows the attachment state about embodiment shown in FIG. 1, (a) is explanatory drawing seen from the plane, (b) is explanatory drawing seen from the side. 図1に示した実施の形態についての調整状態を示す説明図であり、(a)は平面から見た説明図、(b)は側面から見た説明図。図1に示した実施の形態の異なる使用状態を示す説明図。It is explanatory drawing which shows the adjustment state about embodiment shown in FIG. 1, (a) is explanatory drawing seen from the plane, (b) is explanatory drawing seen from the side. Explanatory drawing which shows the different use condition of embodiment shown in FIG. 本発明の異なる実施の形態についての取り付け状態を示す説明図であり、(a)は平面から見た説明図、(b)は側面から見た説明図。It is explanatory drawing which shows the attachment state about different embodiment of this invention, (a) is explanatory drawing seen from the plane, (b) is explanatory drawing seen from the side. 図7に示した実施の形態についての調整状態を示す説明図であり、(a)は平面から見た説明図、(b)は側面から見た説明図。It is explanatory drawing which shows the adjustment state about embodiment shown in FIG. 7, (a) is explanatory drawing seen from the plane, (b) is explanatory drawing seen from the side. 本発明の更に異なるた実施の形態についての調整状態を示す説明図であり、(a)は平面から見た説明図、(b)は側面から見た説明図。It is explanatory drawing which shows the adjustment state about further different embodiment of this invention, (a) is explanatory drawing seen from the plane, (b) is explanatory drawing seen from the side.

符号の説明Explanation of symbols

1 ガイド、 2 基板、 3a,3bガイドローラ、 4 支持部片、5 吊戸本体、 6 床面、 8 床面取付板、 21 軸孔、 22 取付けねじ孔、 23 取付けねじ孔、 71,72,73 取付ねじ
DESCRIPTION OF SYMBOLS 1 Guide, 2 Board | substrate, 3a, 3b Guide roller, 4 Support part piece, 5 Sliding door main body, 6 Floor surface, 8 Floor surface mounting plate, 21 Shaft hole, 22 Mounting screw hole, 23 Mounting screw hole, 71, 72, 73 Mounting screw

Claims (4)

吊戸本体の下端面に沿って形成された下方に開放した断面コ字形の走行溝に嵌挿することにより吊戸本体の走行時における厚さ方向の振れを規制するために床面に設置される吊戸のガイドであって、床面に配置される基板と、前記基板に立設した一対のガイドローラと、前記基板を床面に取り付けるための取付ねじとからなり、前記基板は少なくとも幅方向(吊戸の厚さ方向)の中心位置に取付ねじの軸部が挿通可能な円形の軸孔が形成されているとともに、前記一対のガイドローラが前記軸孔を挟んで幅方向(吊戸の厚さ方向)並びに長さ方向(吊戸の走行方向)に対称となる所定の位置に前記ガイドローラが立設されていることを特徴とする吊戸のガイド。   Installed on the floor to regulate the swing of the sliding door body in the thickness direction during running by inserting it into a running groove with a U-shaped cross section opened downward and formed along the lower end surface of the hanging door body. And a pair of guide rollers erected on the substrate, and mounting screws for attaching the substrate to the floor surface, the substrate having at least a width. A circular shaft hole into which the shaft portion of the mounting screw can be inserted is formed at the center position in the direction (thickness direction of the hanging door), and the pair of guide rollers sandwich the shaft hole in the width direction (hanging door). The guide roller is erected at a predetermined position that is symmetric in the thickness direction) and the length direction (traveling direction of the hanging door). 前記基板を床面に固定するために基板における走行方向の端部に形成した取付ねじ孔の少なくとも一方が前記軸孔を中心とした円周上に位置する円弧状である請求項1記載の吊戸のガイド。   The suspension according to claim 1, wherein at least one of the mounting screw holes formed at the end portion in the running direction of the substrate in order to fix the substrate to the floor surface has an arc shape located on a circumference centered on the shaft hole. Door guide. 前記基板の下面に前記基板を前記支軸を中心として回転可能に且つ所望の回転位置で固定可能に支持した床面取付板が付設されている請求項1または2記載の吊戸のガイド。   The suspension door guide according to claim 1 or 2, wherein a floor surface mounting plate is attached to the lower surface of the substrate so as to support the substrate so as to be rotatable about the support shaft and to be fixed at a desired rotational position. 前記床面取付板が吊戸本体の厚さ方向に移動可能な取付部を有する請求項3記載の吊戸のガイド。
The guide of the sliding door of Claim 3 with which the said floor surface mounting plate has a mounting part which can move to the thickness direction of a hanging door main body.
JP2005380639A 2005-12-29 2005-12-29 Guide of top-hinged swinging door Withdrawn JP2007182675A (en)

Priority Applications (1)

Application Number Priority Date Filing Date Title
JP2005380639A JP2007182675A (en) 2005-12-29 2005-12-29 Guide of top-hinged swinging door

Applications Claiming Priority (1)

Application Number Priority Date Filing Date Title
JP2005380639A JP2007182675A (en) 2005-12-29 2005-12-29 Guide of top-hinged swinging door

Publications (1)

Publication Number Publication Date
JP2007182675A true JP2007182675A (en) 2007-07-19

Family

ID=38338987

Family Applications (1)

Application Number Title Priority Date Filing Date
JP2005380639A Withdrawn JP2007182675A (en) 2005-12-29 2005-12-29 Guide of top-hinged swinging door

Country Status (1)

Country Link
JP (1) JP2007182675A (en)

Cited By (3)

* Cited by examiner, † Cited by third party
Publication number Priority date Publication date Assignee Title
CN104563698A (en) * 2014-12-25 2015-04-29 广西优窗特投资有限公司 Door-window sliding device
CN105525823A (en) * 2016-01-29 2016-04-27 林维海 Adjustable movable door bumper stopper
CN111719982A (en) * 2020-06-02 2020-09-29 南京天普机电产品制造有限公司 High-speed railway door with prevent pressing from both sides function

Cited By (3)

* Cited by examiner, † Cited by third party
Publication number Priority date Publication date Assignee Title
CN104563698A (en) * 2014-12-25 2015-04-29 广西优窗特投资有限公司 Door-window sliding device
CN105525823A (en) * 2016-01-29 2016-04-27 林维海 Adjustable movable door bumper stopper
CN111719982A (en) * 2020-06-02 2020-09-29 南京天普机电产品制造有限公司 High-speed railway door with prevent pressing from both sides function

Similar Documents

Publication Publication Date Title
JP2013508585A (en) Roller assembly for vehicle sliding opening / closing body
JP2007182675A (en) Guide of top-hinged swinging door
EP2913467A1 (en) Sliding door upper guide
KR20180001371U (en) Stay Bar for Turning Type Window
JP3007619B1 (en) Sliding door device
JP7116601B2 (en) sliding door device
JP2010111991A (en) Upper-roller supporting and load urging arm of draft mechanism
JP6082590B2 (en) Runner structure for sliding doors
KR200188830Y1 (en) Roller assembly for sliding door
KR101698458B1 (en) Interlocking device for sliding windows and doors
JP4207575B2 (en) Elevator door equipment
JP2005113396A (en) Smoke shielding type sliding door device
JP3107342B2 (en) sliding door
KR20210074886A (en) Structure of x-type guide bar for preventing movement of opposed type sliding doors
JP4347605B2 (en) Sliding door runner device
KR200332006Y1 (en) Roller device for sliding door
JP2006131314A (en) Door device for elevator
JP4477462B2 (en) Door sealing device
JP2002138740A (en) Sliding door
JP3041316U (en) Door car
CN110273608B (en) Door and window pulley, door and window sash body and door and window
JP3590691B2 (en) Door opening and closing device
JP6585004B2 (en) Joinery
JPH11172994A (en) Slide door
JP2539225Y2 (en) Detachment device for the pull-out sash

Legal Events

Date Code Title Description
A300 Withdrawal of application because of no request for examination

Free format text: JAPANESE INTERMEDIATE CODE: A300

Effective date: 20090303